Крупнейшая бесплатная информационно-справочная система онлайн доступа к полному собранию технических нормативно-правовых актов РФ. Огромная база технических нормативов (более 150 тысяч документов) и полное собрание национальных стандартов, аутентичное официальной базе Госстандарта. GOSTRF.com - это более 1 Терабайта бесплатной технической информации для всех пользователей интернета. Все электронные копии представленных здесь документов могут распространяться без каких-либо ограничений. Поощряется распространение информации с этого сайта на любых других ресурсах. Каждый человек имеет право на неограниченный доступ к этим документам! Каждый человек имеет право на знание требований, изложенных в данных нормативно-правовых актах!

  


 

ТИПОВЫЕ ТЕХНОЛОГИЧЕСКИЕ КАРТЫ
НА ПРОИЗВОДСТВО ОТДЕЛЬНЫХ ВИДОВ РАБОТ

РАЗДЕЛ 04

ТИПОВАЯ ТЕХНОЛОГИЧЕСКАЯ КАРТА
НА БЕТОННЫЕ И ЖЕЛЕЗОБЕТОННЫЕ РАБОТЫ
(МОНОЛИТНЫЙ БЕТОН)

4.01.01.63

УСТРОЙСТВО ПЛОСКИХ МОНОЛИТНЫХ ЖЕЛЕЗОБЕТОННЫХ
ФУНДАМЕНТНЫХ ПЛИТ В ЗДАНИЯХ И СООРУЖЕНИЯХ
ОБЩЕГО НАЗНАЧЕНИЯ ПРИ ТОЛЩИНЕ ПЛИТЫ ДО 1200 мм

МОСКВА – 1989

РАЗРАБОТАНА

Институтом Промстройпроект Госстроя СССР

Главный инженер института       В.И. Королев

Начальник отдела                          Б.М. Тиунов

Главный инженер проекта           Ю.С. Езерский

СОГЛАСОВАНО

Отделом механизации и технологии

строительства Госстроя СССР

Письмо от 14.12.1988 г. № 23-712

Введена в действие с 1 февраля 1989 г.

1. ОБЛАСТЬ ПРИМЕНЕНИЯ

Типовая технологическая карта разработана на устройство плоских монолитных железобетонных фундаментных плит в зданиях и сооружениях общего назначения при толщинах плит до 1200 мм.

Параметры монолитной железобетонной плиты технологического подвала приняты усредненно на основании реально примененных в проектах института Промстройпроект.

Армирование конструкций фундаментной плиты принято плоскими сетками и пространственными каркасами; стыки арматуры сеток и каркасов выполняются внахлестку, без сварки, с расположением их вразбежку.

Калькуляция затрат труда, график выполнения работ, потребность в материально-технических ресурсах, технико-экономические показатели выполнены для плиты размером 37,2 ´ 44,35 м (температурный блок) толщиной 1,2 м (базовый вариант).

Данная карта позволяет также с помощью фасетов произвести расчет вышеперечисленных показателей для плиты толщиной 0,8 и 0,4 м.

Технологической картой предусматривается устройство монолитной фундаментной плиты с применением унифицированной разборно-переставной опалубки «Монолит-77», укрупненной в опалубочные панели.

В технологической карте приняты 3 варианта подачи и укладки бетонной смеси: автобетононасосом СБ-126А (базовый вариант), рельсовыми кранами КБ-404 (вариант 2) и бетоноукладчиком ЛБУ-20 (вариант 3).

Погрузо-разгрузочные, арматурные и опалубочные работы выполняются автомобильным краном грузоподъемностью 6,3 т.

При привязке технологической карты к конкретному объекту и условиям строительства уточняются объемы работ, калькуляция затрат труда, средства механизации с учетом использования наличного парка машин, оборудования и приспособлений.

2. ОРГАНИЗАЦИЯ И ТЕХНОЛОГИЯ ВЫПОЛНЕНИЯ РАБОТ

До начала устройства фундаментной плиты должны быть выполнены следующие работы:

организован отвод поверхностных вод от котлована;

устроены подъездные пути и автодороги;

обозначены пути движения механизмов, места складирования арматурных сеток и укрупнения опалубки, подготовлена монтажная оснастка и приспособления;

выполнена бетонная подготовка под фундаменты;

завезены арматурные сетки, каркасы и комплекты опалубки в количестве, обеспечивающем бесперебойную работу не менее, чем в течение двух смен;

составлены акты приемки основания фундаментов в соответствии с исполнительной схемой;

устроено временное электроосвещение рабочих мест и подключены электросварочные аппараты;

произведена геодезическая разбивка осей и разметка положения фундаментной плиты в соответствии с проектом; на поверхность бетонной подготовки краской нанесены риски, фиксирующие положение рабочей плоскости щитов опалубки.

В состав работ, рассматриваемых картой, входят:

вспомогательные (разгрузка, складирование, сортировка арматурных сеток, армокаркасов и комплектов опалубки);

опалубочные;

арматурные;

бетонные.

Весь комплекс работ выполняется в соответствии со СНиП 3.03.01-87.

Разгрузку и раскладку арматурных сеток, армокаркасов, элементов опалубки, а также монтаж армокаркасов, сеток и панелей опалубки выполняют с помощью автокрана КС-2561Д.

Арматурные сетки и армокаркасы поступают на стройплощадку в собранном виде.

Сборку опалубочных панелей производят на монтажных площадках в определенной последовательности:

щиты укладывают рабочей поверхностью вниз, в местах установки монтажных и рабочих креплений кладут деревянные рейки;

выверяют габаритные размеры панелей, по контуру панелей прибивают деревянные бруски-ограничители;

щиты соединяют между собой пружинными скобами или криками;

в местах расположения деревянных реек щиты соединяют болтами;

в деревянных рейках в местах пропуска стяжек просверливают отверстия диаметром 18 - 20 мм;

поверх щитов раскладывают схватки;

схватки со щитами соединяют натяжными крюками с клиновым или винтовым запором;

поверх схваток перпендикулярно им укладывают связи жесткости, для чего используют те же схватки;

схватки со связями соединяют болтами;

на верхнем ярусе схваток укрепляют монтажные петли;

к нижним ярусам схваток или связям жесткости прикрепляют подкосы, обеспечивающие устойчивость панелей в вертикальном положении.

Опалубку собирают из укрупненных щитов на температурный блок 37,2 ´ 44,35 м.

Арматурные работы выполняются в следующей очередности:

устанавливают нижние сетки на фиксаторы, обеспечивающие защитный слой бетона по проекту;

укладывают армокаркасы;

устанавливают верхние сетки на каркасы;

укладывают отдельные арматурные стержни.

При укладке арматурных сеток и каркасов к последним следует крепить щиты опалубки через отверстия в деревянных рейках проволокой.

В пределах температурного блока бетонирование фундаментной плиты ведется сменными захватками. Количество сменных захваток определяется исходя из производительности принятых механизмов для бетонирования.

В пределах сменной захватки бетонирование следует производить без перерыва.

При устройстве рабочего шва на границах сменных захваток в качестве опалубки рекомендуется применять металлическую тканую сетку с мелкими ячейками.

Подача бетонной смеси к месту укладки производится с помощью автобетононасоса (базовый вариант), башенными кранами (вариант 2), бетоноукладчиком (вариант 3).

Бетонирование плиты с помощью автобетононасоса в сочетании с необходимым количеством автобетоносмесителей производится на первой захватке с бровки котлована, на последующих захватках - с забетонированных ранее захваток фундаментной плиты.

Бетонная смесь должна иметь осадку конуса в пределах 4 - 12 см.

Состав бетонной смеси подбирают в строительной лаборатории.

При бетонировании плиты башенным краном подача бетонной смеси производится в поворотных бункерах. Строповку бункера производят двухветвевым стропом грузоподъемностью 5 т.

При бетонировании плиты бетоноукладчиком ЛБУ-2 бетонная смесь должна иметь осадку конуса в пределах 1 - 4 см.

Бетонную смесь укладывают горизонтальными слоями толщиной 0,3 - 0,5 м.

Каждый слой бетона тщательно уплотняют глубинными вибраторами. Перекрытие предыдущего слоя бетона последующим должно быть выполнено до начала схватывания бетона в предыдущем слое.

Мероприятия по уходу за бетоном в период набора прочности, порядок и сроки их проведения, контроль за выполнением этих мероприятий необходимо осуществлять в соответствии с требованиями СНиП 3.03.01-87. Открытые поверхности бетона плиты необходимо защитить от потерь влаги путем поливки водой или укрытия их влажными материалами. Сроки выдерживания и периодичность поливки назначает строительная лаборатория.

При производстве работ в зимних условиях принимают меры по обеспечению нормального твердения бетона при ожидаемой среднесуточной температуре наружного воздуха ниже 5 °С и минимальной суточной температуре ниже 0 °С в соответствии со СНиП 3.03.01-87.

Таблица 1

Варианты рекомендуемых машин и оборудования при устройстве монолитной железобетонной фундаментной плиты

Наименование комплекта машин и оборудования

Вариант (фасет-код)

Техническая характеристика

Марка

Количество, шт.

Кран монтажный

1, 2, 3

(20-1)

Кран автомобильный грузоподъемностью 6,3 т

КС-2561Д

2

Машины для бетонирования

1

(20-3)

Автобетононасос производительностью 17 м3

СБ-126А

1

2

(20-2)

Кран рельсовый грузоподъемностью до 10 т

КБ-404

2

3

(20-4)

Бетоноукладчик производительностью 7 м3

ЛБУ-20

1

3. ТРЕБОВАНИЯ К КАЧЕСТВУ И ПРИЕМКЕ РАБОТ

При приемке материалов, изделий и инвентаря на объекте проверяют их размеры, предельные отклонения положения элементов опалубки, арматурных изделий относительно разбивочных осей или ориентирных рисок. Отклонения не должны превышать величин, указанных в СНиП 3.03.01-87.

При приемке работ предъявляют журналы сварочных работ, документы лабораторных анализов и испытаний строительных лабораторий, акты освидетельствования скрытых работ.

Средства контроля операций и процессов приводятся в табл. 2.

Таблица 2

Наименование процессов, подлежащих контролю

Предмет контроля

Инструмент и способ контроля

Периодичность контроля

Ответственный за контроль

Технические критерии оценки качества

Приемка арматуры

Соответствие арматурных сеток и каркасов проекту по паспорту

Визуально

До начала установки сеток и каркасов

Производитель работ

В соответствии с требованиями ГОСТа или ТУ (рабочие чертежи)

Складирование арматурных сеток и каркасов

Правильность складирования, хранения

То же

До установки сеток и каркасов

Мастер

В соответствии с требованиями СНиП III-4-80

Установка сеток и каркасов

Соответствие проекту

«

В процессе установки

То же

В соответствии с проектом

Приемка опалубки и сортировка

Наличие комплектов элементов опалубки. Маркировка элементов

«

В процессе разгрузки

Производитель работ

В соответствии с ППР

Установка опалубки

Соответствие установки элементов опалубки проекту. Допускаемые отклонения положения установленной опалубки по отношению к осям и отметкам. Правильность положения вертикальных плоскостей

Теодолит, нивелир, рулетка, отвес

После установки опалубки

Мастер, геодезическая служба

В соответствии с требованиями СНиП 3.03.01-87 и проектом

Укладка бетонной смеси

Качество бетонной смеси

Конус СтройЦНИЛпресс (ПСУ-500). Лабораторный контроль

До бетонирования

Мастер, лаборант

То же

Правильность технологии укладки бетонной смеси

Визуально

В процессе укладки

Мастер

 

Шаг перестановки и глубина погружения вибраторов, правильность установки вибраторов, толщина бетонного слоя при уплотнении

Визуально, стальная линейка

В процессе уплотнения

Мастер

В соответствии с требованиями СНиП 3.03.01-87 и проектом

Уход за бетоном при твердении

Соблюдение влажностного и температурного режимов

Термометр, влагомер. Лабораторный контроль

В процессе твердения

То же, лаборант

То же

Разборка опалубки

Технологическая последовательность разборки элементов опалубки

Визуально, лабораторный контроль

После набора прочности бетоном

«

«

Подготовка опалубки

Очистка элементов опалубки от бетонных наплывов

Визуально

После разборки опалубки

Мастер

«


СХЕМА УСТАНОВКИ ОПАЛУБКИ ФУНДАМЕНТНОЙ ПЛИТЫ

1 - автомобильный кран КС-2561Д; 2 - укрупненные элементы опалубки; 3 - склад элементов опалубки; 4 - стеллажи для сборки панелей, 5 - склад арматурных сеток и каркасов; 6 - добор по месту из отдельных щитов; 7 - бетонная подготовка под фундаментную плиту; 8 - щиты; 9 -схватки; 10 - деревянные рейки; 11 - связи жесткости и подкосы; В.У.Ш. - временный усадочный шов

 направление установки панелей опалубки


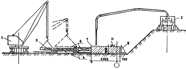
СХЕМА УСТРОЙСТВА ФУНДАМЕНТНОЙ ПЛИТЫ ПРИ УКЛАДКЕ БЕТОННОЙ СМЕСИ АВТОБЕТОНОНАСОСОМ (вариант 1)

СХЕМЫ РАСПОЛОЖЕНИЯ СМЕННЫХ ЗАХВАТОК И ПОСЛЕДОВАТЕЛЬНОСТЬ БЕТОНИРОВАНИЯ

БЕТОНИРОВАНИЕ ФУНДАМЕНТНОЙ ПЛИТЫ АВТОБЕТОНОНАСОСОМ (1 этап)

БЕТОНИРОВАНИЕ ФУНДАМЕНТНОЙ ПЛИТЫ АВТОБЕТОНОНАСОСОМ (2 этап)

1 - автомобильный кран КС-2561Д; 2 - автобетононасос; 3 - автобетоносмеситель; 4 - нижние арматурные сетки; 5 - поддерживающие каркасы; 6 - верхние арматурные сетки; 7 - металлическая сетка с ячейками; 8 - опалубка щитовая; 9 - склад арматурных сеток и каркасов; 10 - обратная засыпка; 11 - вибратор поверхностный ИВ-2А; В.У.Ш. - временный усадочный шов

  - направление движения бетононасоса

      - стоянки автобетононасоса


СХЕМА УСТРОЙСТВА ФУНДАМЕНТНОЙ ПЛИТЫ ПРИ УКЛАДКЕ БЕТОННОЙ СМЕСИ С ПОМОЩЬЮ КPAHОB КБ-404 (вариант 2)

1 - кран КБ-404, 2 - автобетоносмеситель; 3 - бункер поворотный; 4 - опалубка крупнощитовая; 5 - арматурные сетки и каркасы; 6 - металлическая сетка с ячейками 4 ´ 4 мм; 7 - захватки суточные; 8 - технологические швы бетонирования; 9 - бетонная подготовка; 10 - вибратор поверхностный ИВ-2А; В.У.Ш. - временный усадочный шов


СХЕМА УСТРОЙСТВА ФУНДАМЕНТНОЙ ПЛИТЫ ПРИ УКЛАДКЕ БЕТОННОЙ СМЕСИ БЕТОНОУКЛАДЧИКОМ (ВАРИАНТ 3)

СХЕМА РАСПОЛОЖЕНИЯ СМЕННЫХ ЗАХВАТОК ПРИ БЕТОНИРОВАНИИ ФУНДАМЕНТНОЙ ПЛИТЫ БЕТОНОУКЛАДЧИКОМ

БЕТОНИРОВАНИЕ ФУНДАМЕНТНОЙ ПЛИТЫ БЕТОНОУКЛАДЧИКОМ (1 этап)

БЕТОНИРОВАНИЕ ФУНДАМЕНТНОЙ ПЛИТЫ БЕТОНОУКЛАДЧИКОМ (2 этап)

1 - автомобильный кран КС-2561Д; 2 - бетоноукладчик; 3 - автобетоносмеситель; 4 - нижние арматурные сетки; 5 - поддерживающие каркасы; 6 - верхние арматурные сетки; 7 - металлическая сетка с ячейками 4 ´ 4 мм; 8 - опалубка щитовая; 9 - склад арматурных сеток и каркасов; 10 - обратная засыпка; 11 - вибратор поверхностный ИВ-2а; В.У.Ш. - временный осадочный шов


4. КАЛЬКУЛЯЦИЯ ЗАТРАТ ТРУДА, МАШИННОГО ВРЕМЕНИ, ЗАРАБОТНОЙ ПЛАТЫ НА 1 ЗАХВАТКУ

Таблица 3

Наименование процессов

Номер фасет для пересчета показателей

Единица измерения

Объем работ

Обоснование (ЕНиР и др. нормы)

Норма времени

Расценка, р.-к.

Затраты труда

Заработная плата, р.-к.

Время пребывания машины на объекте, маш.-ч

Заработная плата машиниста с учетом пребывания машины на объекте, р.-к.

рабочих, чел.-ч

машиниста, чел.-ч (маш.-ч)

рабочих

машиниста

рабочих, чел.-ч

машиниста, чел.-ч (маш.-ч)

рабочих

машиниста

1. Разгрузка с автотранспорта приспособлений, инвентаря, арматурных сеток и каркасов, элементов опалубки

01, 02

100 т

3,91

ЕНиР, §Е1-5, табл. 2, п. 4 ПР-3

7,2

3,6

4-61

3-29

28,15

14,08

18-03

12-86

14,08

12-86

2. Сортировка и подача арматурных изделий и элементов опалубки к месту работ

03

1 т

389,6

ЕНиР, §Е5-1-1, п.п. 1, 2

0,65

0,32

0-48,4

0-33,9

253,24

124,67

188-57

132-07

124,67

132,07

3. Укрупнительная сборка панелей опалубки из отдельных щитов

04

1 м2

147

ЕНиР, §E4-1-40, п. 1

0,38

-

0-28,3

-

55,86

-

41-60

-

-

-

4. Установка крупнощитовой опалубки

04

1 м2

147

ЕНиР, §Е4-1-37, табл. 4, п. 1

0,28

0,09

0-20,4

0-08,2

41,16

13,23

29-99

12-05

13,23

12-05

5. Установка опалубки из доборных щитов

05

1 м2

10

ЕНиР, §Е4-1-37, табл. 2, п. 1

0,39

-

0-29,1

-

3,9

-

2-91

-

-

-

6. Установка арматурных сеток

06

1 сетка

266

ЕНиР, §Е4-1-44, табл. 1, п. 1в

1,4

0,35

0-94,9

0-31,9

372,4

93,1

252-43

84-85

93,1

84-85

7. Установка арматурных каркасов

07, 08

1 т

232

ВНиР, §В14-1-10, табл. 2, п. 1д ПР-3

1,43

0,36

1-08,9

0-32,8

331,76

83,52

252-65

77-00

85,9

78-17

8. Установка арматуры отдельными стержнями

09, 10

1 т

1,1

ЕНиР, §Е4-1-46, п. 1д

5,6

-

4-00

-

6,16

-

4-40

-

-

-

9. Монтажная сварка

11

100 соединений

21,76

ВНиР, §В14-1-13, табл. 4, п. 2в ПР-8

1,3

-

1-18,3

-

28,29

-

25-74

-

-

-

10. Установка металлической сетки для устройства опалубки вертикального рабочего шва (ВРШ)

12

т

0,912

ЕНиР, §Е4-1-45, п. 1

6,4

-

4-29

-

5,84

-

3-91

-

-

-

11. Прием бетонной смеси

13, 26

100 м3

19,8

ЕНиР, §Е4-1-54, п. 20

0

0

0

0

0

0

0

0

-

-

12. Подача бетонной смеси

14, 15

1 т

4950

ЕНиР, §24-13

0

0

0

0

0

0

0

0

-

-

13. Укладка бетонной смеси

16, 17

1 м3

I980

Расчет № 1

0,18

0,125

0-11,4

0-11,9

356,4

247,5

225-72

235-62

118,8

216-22

14. Уход за бетоном

18, 27

100м2

221,46

ЕНиР, §Е4-1-54, п. 9

0,14

-

0-09

-

31,0

-

19-93

-

-

-

15. Разборка крупнощитовой опалубки

04

1 м2

147

ЕНиР, §Е4-1-37, табл. 4, п. 1

0,11

0,037

0-07,3

0-03,4

16,17

5,44

10-73

5-00

5,44

5-00

16. Разборка опалубки из доборных щитов

05

1 м2

10

ЕНиР, §Е4-1-37, табл. 2, п. 2

0,21

-

0-14,1

-

2,1

-

1-41

-

-

-

17. Погрузка на автотранспорт приспособлений, инвентаря и элементов опалубки

19

100 т

0,125

ЕНиР, §Е1-5, табл. 2, п. 1 ПР-3

22

11

14-09

10-03

2,75

1,38

1-76

1-25

1,57

1-43

Итого:

 

 

 

 

 

 

 

 

1535,18

582,92

1079-78

560-70

456,79

542-65

Калькуляция затрат труда, машинного времени и заработной платы составлена для варианта возведения монолитной фундаментной плиты толщиной 1,2 м при бетонировании с помощью автобетононасоса.

5. ГРАФИК ПРОИЗВОДСТВА РАБОТ

График производства работ составлен для варианта возведения монолитной фундаментной плиты толщиной 1,2 м при бетонировании с помощью автобетононасоса.


6. МАТЕРИАЛЬНО-ТЕХНИЧЕСКИЕ РЕСУРСЫ

Потребность в инструментах, инвентаре и приспособлениях приведена в табл. 5.

Таблица 5

Наименование

Марка, техническая характеристика, ГОСТ, № чертежа

Количество по вариантам

Назначение

1

2

3

Бункер поворотный

ГОСТ 21807-76

-

2

-

Подача бетонной смеси

Вибратор глубинный

ИВ-47А

ТУ-22-4666-80

1

1

1

Вибрирование уложенной бетонной смеси

Строп двухветвевой

2СК-5, 0, 500

ГОСТ 25573-82

1

1

1

Подъем элементов

Строп четырехветвевой

4СК-1-0,8

ГОСТ 25573-82

1

1

1

То же

Трансформатор понижающий

ИВ-9

Мощность 1,5 кВт

1

1

1

Сварка соединений

Трансформатор сварочный

ТД-300

ГОСТ 95-77

Мощность 19,4 кВа

1

1

1

То же

Уровень строительный

Тип УС2

ГОСТ 9416-83

1

1

1

Проверка установки элементов опалубки

Ключ гаечный разводной

ГОСТ 7275-75

2

2

2

Установка опалубки

Термометр стеклянный технический

ГОСТ 2823-73*Е

(СТ СЭВ 2944-81)

1

1

1

Проверка температурного режима при твердении бетона

Влагомер

ГОСТ 15528-86

1

1

1

Проверка влажностного режима при твердении бетона

Отвес строительный

ОТ-400

ГОСТ 7948-80

1

1

1

Проверка установки опалубки и армокаркасов

Метр складной деревянный

РСТ 149-76

2

2

2

Обмер конструктивных элементов

Рулетка металлическая

РС-20

ГОСТ 7502-80*

1

1

1

Обмер конструктивных элементов

Молоток слесарный

ГОСТ 2310-77

2

2

2

Крепление элементов опалубки

Щетка стальная

ТУ-36-2460-82

10

10

10

Очистка опалубки

Кисть маховая

КМ-65

ГОСТ 10597-80*

2

2

2

Смазка поверхности опалубки эмульсией

Лом стальной

ЛО-24

ГОСТ 1405-83

1

1

1

Установка опалубки

Домкрат ручной

ГОСТ 18042-72

1

1

1

Распалубка

Поливочный рукав

длина 40 м

1

1

1

Поливка бетонных поверхностей

Вибратор поверхностный

ИВ-2А

1

1

1

Вибрирование уложенной бетонной смеси

Лопата растворная

ГОСТ 3620-76

2

2

2

Разравнивание бетонной смеси

Потребность в материалах и полуфабрикатах для выполнения работ по устройству монолитной железобетонной плиты размером 37,2 ´ 44,35 м приведена в табл. 6.

Таблица 6

Наименование материала, полуфабриката, конструкции (марка, ГОСТ)

Номер фасет

Исходные данные

Потребность в материалах

измерения

Объем работ в нормативных единицах

Принятая норма расхода материалов

Унифицированная разборно-переставная опалубка ЦНИИОМТП «Монолит-77»

21, 22

м2

157

0,0795 т

12,49 т

Арматурные изделия

16, 23

м3 плиты

I980

0,19 т

376,2 т

Сетки тканые с ячейкой 4 ´ 4 мм для ВРШ

24

м2

365

2,5 кг

912,5 кг

Электроды Э42

25

100 сварных соединений

21,76

37

805

Бетонная смесь В10, В15

14

м3

1980

1,015 м3

2010 м3

Эмульсия ЭКС

19

м2 опалубки

157

0,35 кг

54,95 кг

7. ТЕХНИКА БЕЗОПАСНОСТИ

Устройство монолитной фундаментной плиты необходимо выполнять в соответствии со СНиП III-4-80, «Правилами пожарной безопасности при производстве строительно-монтажных работ» ГУНО 1978 г. и «Правилами устройства и безопасной эксплуатации грузоподъемных кранов» Госгортехнадзора СССР. Применяемое оборудование должно отвечать требованиям безопасности в соответствии с ГОСТ 12.1-013-78.

8. ТЕХНИКО-ЭКОНОМИЧЕСКИЕ ПОКАЗАТЕЛИ

1. Нормативные затраты труда рабочих, чел.-ч.:

на весь объем - 1535,18

на 100 м3 - 77,53.

2. Нормативные затраты машинного времени, маш.-ч.:

на весь объем - 582,92

на 100 м3 - 29,44.

3. Заработная плата рабочих-монтажников, р.-к.:

на весь объем - 1079-78.

4. Заработная плата механизаторов, р.-к.:

на весь объем - 542-65.

5. Продолжительность выполнения работ, смена - 32.

6. Выработка на одного рабочего в смену, м3 - 10,57; с учетом механизаторов - 8,15.

7. Условные затраты на механизацию для базового варианта, р.-к. - 3012-60.

8. Сумма изменяемых затрат, р.-к. - 4092-38.

9. ФАСЕТНЫЙ КЛАССИФИКАТОР

Привязка типовой технологической карты к конкретным условиям производится с помощью фасетного классификатора факторов, влияющих на расход материально-технических ресурсов, затрат труда, зарплату.

В фасетах содержится информация по всем вариантам производства работ, предусмотренных в ТТК.

При выборе одного из этих вариантов необходимо произвести пересчет базовой калькуляции затрат труда, машинного времени и зарплаты, входящей в ТТК.

Для автоматизации расчетов калькуляций при привязке ТТК ЦНИИОМТП Госстроя СССР разработана программа для ЭВМ. Она позволяет использовать библиотеки ТТК и фасет на машинных носителях, производить в диалоговом режиме расчеты калькуляций.

Привязка калькуляции заключается в коррекции базовой калькуляции в соответствии с выбранными из фасет вариантами.

Фасет 01

Масса грузов при разгрузке, 100 т

Наименование фактора

Обоснование

Код

Значение фактора

Фундаментная плита толщиной, м:

 

 

 

1,2

По проекту

1

3,91

0,8

«

2

2,09

0,4

«

3

0,79

Фасет 02

Нормы времени и расценки на погрузку и выгрузку материалов кранами

Наименование фактора

Обоснование

Код

Значение фактора

При работе автомобильным краном и массе поднимаемого груза, т, до:

 

 

 

3

ЕНиР, §Е1-5, табл. 2, п. 5, ПР-3

1

Н. вр. для рабочих - 5,4;

для машиниста - 2,7.

Расц. для рабочих - 3-46;

для машиниста - 2-46.

2

То же, п. 4, ПР-3

2

По калькуляции

1

То же, п. 2, ПР-3

3

Н. вр. для рабочих - 12;

для машиниста - 6,1.

Расц. для рабочих - 7-68;

для машиниста - 5-56.

0,5

То же, п. 1, ПР-3

4

Н. вр. для рабочих - 22;

для машиниста - 11.

Расц. для рабочих - 14-09;

для машиниста - 10-03.

При работе рельсовым краном и массе поднимаемого груза, т, до:

 

 

 

3

ЕНиР, §Е1-7, п. 30

5

Н. вр. для рабочих - 5,6;

для машиниста - 2,8.

Расц. для рабочих - 3-58;

для машиниста - 2-55.

2

То же, п. 29

6

Н. вр. для рабочих - 9;

для машиниста - 4,4.

Расц. для рабочих - 5-76;

для машиниста - 4-00.

1

То же, п. 28

7

Н. вр. для рабочих - 13;

для машиниста - 6,4.

Расц. для рабочих - 0-32;

для машиниста - 8-82.

Фасет 03

Масса грузов при сортировке, т

Наименование фактора

Обоснование

Код

Значение фактора

Фундаментная плита толщиной, м:

 

 

 

1,2

По проекту

1

389,6

0,8

«

2

207,9

0,4

«

3

78,2

Фасет 04

Площадь крупнощитовой опалубки, м2

Наименование фактора

Обоснование

Код

Значение фактора

Фундаментная плита толщиной, м:

 

 

 

1,3

По проекту

1

147

0,8

«

2

98

0,4

«

3

0

Фасет 05

Площадь мелкощитовой опалубки, м2

Наименование фактора

Обоснование

Код

Значение фактора

Фундаментная плита толщиной, м:

 

 

 

1,2

По проекту

1

10

0,8

«

2

6

0,4

«

3

52

Фасет 06

Нормы времени и расценки на 1 сетку

Наименование фактора

Обоснование

Код

Значение фактора

Масса сеток, т, до:

 

 

 

1

ЕНиР, §Е4-1-44, табл. 1, п. 1в

1

По калькуляции

0,6

ЕНиР, §Е4-1-44, табл. 1, п. 1б

2

Н. вр. и расц. умножить на 0,58

0,3

ЕНиР, §Е4-1-44, табл. 1, п. 1а

3

Н. вр. и расц. умножить на 0,3

Фасет 07

Нормы времени и расценки на установку арматурных каркасов

Наименование фактора

Обоснование

Код

Значение фактора

Масса армокаркасов, т, до:

 

 

 

2

ВНиР, §В14-1-10, табл. 2, п. 1д, ПР-3

1

По калькуляции

1

То же, п. 1г, ПР-3

2

Н. вр. для рабочих - 1,87;

для машиниста - 0,468.

Расц. для рабочих - 1-42;

для машиниста - 0-42,6.

0,6

То же, п. 1в. ПР-3

3

Н. вр. для рабочих - 2-15;

для машиниста - 0,538.

Расц. для рабочих - 1-63;

для машиниста - 0-49.

0,4

То же, п. 1б, ПР-3

4

Н. вр. для рабочих - 2.64;

для машиниста - 0,66.

Расц. для рабочих - 2-01;

для машиниста - 0-60.

0,2

То же. п. 1а, ПР-3

5

Н. вр. для рабочих - 3,58;

для машиниста - 0,895.

Расц. для рабочих - 2-72;

для машиниста - 0-81,4.

Фасет 08

Масса устанавливаемых армокаркасов, т

Наименование фактора

Обоснование

Код

Значение фактора

Фундаментная плита толщиной, м:

 

 

 

1,2

По проекту

1

232

0,8

«

2

122

0,4

«

3

45,1

Фасет 09

Масса отдельных стержней арматуры, т

Наименование фактора

Обоснование

Код

Значение фактора

Фундаментная плита толщиной, м:

 

 

 

1,2

По проекту

1

1,1

0,8

«

2

0,6

0,4

«

3

0,3

Фасет 10

Нормы времени и расценки на 1 т устанавливаемой арматуры

Наименование фактора

Обоснование

Код

Значение фактора

Диаметр арматуры, мм, до:

 

 

 

26

ЕНиР, §Е4-1-46, п. 1д

1

По калькуляции

18

ЕНиР, §Е4-1-46, п. 1г

2

Н. вр. и расц. умножить на 1,43

12

ЕНиР, §Е4-1-46, п. 1в

3

Н. вр. и расц. умножить на 2,14

8

ЕНиР, §Е4-1-46, п. 1б

4

Н. вр. и расц. умножить на 3,13

6

ЕНиР, §Е4-1-46, п. 1а

5

Н. вр. и расц. умножить на 4,65

Фасет 11

Нормы времени и расценки на 100 сварных соединений

Наименование фактора

Обоснование

Код

Значение фактора

Наименьший диаметр арматурных стержней до 12 мм и наибольший диаметр, мм, до:

 

 

 

40

ВНиР, §В14-1-13, табл. 4, п. 2в, ПР-8

1

По калькуляции

22

То же, п. 2б, ПР-8

2

Н. вр. для рабочих - 0,78;

Расц. - 0-70,8

Фасет 12

Масса металлической сетки, т

Наименование фактора

Обоснование

Код

Значение фактора

Фундаментная плита толщиной, м:

 

 

 

1,2

По проекту

1

0,912

0,8

«

2

0,758

0,4

«

3

0,453

Фасет 13

Количество принимаемой бетонной смеси, 100 м3

Наименование фактора

Обоснование

Код

Значение фактора

Фундаментная плита толщиной, м:

 

 

 

1,2

Объем плиты площадью 36 ´ 43,6

1

19,8

0,8

«

2

13,2

0,4

«

3

6,1

Фасет 14

Масса подаваемой бетонной смеси, т

Наименование фактора

Обоснование

Код

Значение фактора

Фундаментная плита толщиной, м:

 

 

 

1,2

2,5 т / м3 ´ V плиты, м3

1

4950

0,8

«

2

3300

0,4

«

3

1650

Фасет 15

Норма времени и расценка на подачу бетонной смеси

Наименование фактора

Обоснование

Код

Значение фактора

При работе:

 

 

 

стрелового крана

ЕНиР, 1973 г., §24-13, табл. 2, п. 9

ЕНиР 1987 г. Общ. часть

1

Н. вр. для рабочих - 0,17;

для машиниста - 0,035.

Расц. для рабочих - 0-11,4;

для машиниста - 0-07,7.

автобетононасоса

-

2

По калькуляции

бетоноукладчика

-

3

По калькуляции

Фасет 16

Количество укладываемой бетонной смеси, 1 м3

Наименование фактора

Обоснование

Код

Значение фактора

Фундаментная плита толщиной, м:

 

 

 

1,2

Объем плиты

1

1980

0,8

«

2

1320

0,4

«

3

610

Фасет 17

Норма времени и расценка на укладку бетонной смеси

Наименование фактора

Обоснование

Код

Значение фактора

При работе:

 

 

 

автобетононасоса

Расчет № 1

1

По калькуляции

бетоноукладчика

Расчет № 2

2

Н. вр. для рабочих- 0,43;

для машиниста - 0,143.

Расц. для рабочих - 0-28;

для машиниста - 0-13.

рельсового крана

ЕНиР §Е4-1-49, табл. 1, п. 6

3

Н. вр. для рабочих- 0,22;

для машиниста - 0.

Расц. для рабочих - 0-15,7;

для машиниста - 0.

Фасет 18

Уход за бетоном, 100 м2

Наименование фактора

Обоснование

Код

Значение фактора

Поливка водой поверхностей фундаментной плиты толщиной, м:

 

 

 

1,2

Площади горизонтальных и вертикальных поверхностей плиты

1

221,46

0,8

2

213,63

0,4

3

205,80

Покрытие рогожами поверхности фундаментной плиты

Площадь фундаментной плиты

4

16,5

Фасет 19

Масса грузов при погрузке после демонтажа, 100 т

Наименование фактора

Обоснование

Код

Значение фактора

Фундаментная плита толщиной, м:

 

 

 

1,2

По проекту

1

0,125

0,8

«

2

0,091

0,4

«

3

0,045

Фасет 20

Стоимость 1 маш.-ч работы строительных машин, руб.*

Наименование фактора

Обоснование

Код

Значение фактора

Кран автомобильный грузоподъемностью 6,3 т

СНиП IV-3-82 Приложение. Табл. 10

1

4,01

Кран рельсовый передвижной грузоподъемностью 10 т

СНиП IV-3-82 Приложение. Табл. 10

2

6,11

Автобетононасос

Расчет экономической эффективности автобетононасоса ЦНИИОМТП, 1981 г.

3

13,95

Бетоноукладчик

СНиП IV-3-82 Приложение. Табл. 19

4

3,12

* Стоимость маш.-часов механизмов указана для территориального пояса № 1.

Фасет 21

Площадь опалубки плиты, м2

Наименование фактора

Обоснование

Код

Значение фактора

Фундаментная плита толщиной, м:

 

 

 

1,2

По проекту

1

157

0,8

«

2

104

0,4

«

3

52

Фасет 22

Норма расхода материалов на 1 м2 опалубки, т

Наименование фактора

Обоснование

Код

Значение фактора

Фундаментная плита толщиной, м:

 

 

 

1,2

По проекту

1

0,0795

0,8

«

2

0,0878

0,4

«

3

0,0873

Фасет 23

Норма расхода арматуры на 1 м3 плиты, т

Наименование фактора

Обоснование

Код

Значение фактора

Фундаментная плита толщиной, м:

 

 

 

1,2

По проекту

1

0,19

0,8

«

2

0,15

0,4

«

3

0,12

Фасет 24

Расход металлической сетки для ВРШ на плиту, м2

Наименование фактора

Обоснование

Код

Значение фактора

Фундаментная плита толщиной, м:

 

 

 

1,2

По проекту

1

365

0,8

«

2

303

0,4

«

3

181

Фасет 25

Норма расхода электродов на 100 сварных соединений, кг

Наименование фактора

Обоснование

Код

Значение фактора

Максимальный диаметр свариваемых стержней, мм:

 

 

 

16

Формула, подсчета

(0,058d2 - 8,5)

1

6,3

18

«

2

10,3

20

«

3

14,7

22

«

4

19,6

24

«

5

24,9

26

«

6

30,7

28

«

7

По калькуляции

30

«

8

43,7

32

«

9

50,9

Фасет 26

Норма времени и расценка на прием бетонной смеси

Наименование фактора

Обоснование

Код

Значение фактора

При работе:

 

 

 

стрелового крана или бетоноукладчика

ЕНиР, §Е4-1-54, п. 20

1

Н. вр. для рабочих - 5,7;

Расц. для рабочих - 3-65.

автобетононасоса

-

2

По калькуляции

Фасет 27

Норма времени и расценка на уход за бетоном

Наименование фактора

Обоснование

Код

Значение фактора

Поливка бетонных поверхностей водой

ЕНиР, §Е4-1-54, п. 9

1

По калькуляции

Покрытие бетонных поверхностей рогожами или матами

ЕНиР, §Е4-1-54, п. 10

2

Н. вр. для рабочих - 0,21;

Расц. для рабочих - 0-13,4

Расчет № 1

Норма времени и расценка на прием, подачу и укладку бетонной смеси автобетононасосом с очисткой бетоновода

А. Норма времени и расценка на прием, подачу и укладку бетонной смеси автобетононасосом.

Эксплуатационная среднечасовая производительность составляет:

Пэ = Пт ´ Кт ´ Кпр м3/ч,

где: Пт = 60 м3/ч - техническая производительность автобетононасоса (паспортная);

Кт = 0,4 - коэффициент перехода от технической производительности к эксплуатационной;

Кпр = 0,7 - коэффициент, учитывающий простои.

Коэффициенты Кт и Кпр взяты из «Инструкции по определению экономической эффективности новых строительных, дорожных, мелиоративных машин; противопожарного оборудования; лифтов; изобретений и рационализаторских предложений. Часть II, 1978 г.».

Эксплуатационная среднечасовая производительность составит:

Пэ = 60 ´ 0,4 ´ 0,7 = 17 м3/ч.

Измеритель - 1 м3 бетонной смеси.

Время бетонирования 1 м3 составит: 1 : 17 = 0,06 ч.

Состав звена: машинист 5 разр. - 1 чел., оператор 5 разр. - 1 чел., бетонщики 3 разр. - 1 чел., 2 разр. - 2 чел.

Норма времени на измеритель составит:

для машиниста - 0,06 чел.-ч;

для оператора - 0,06 чел.-ч;

для остального звена - 0,06 ´ 3 = 0,18 чел.-ч.

Б. Норма времени на очистку бетоновода.

Согласно ЕНиР §Е4-1-48, табл. 6 (К = 0,3 на очистку 100 м бетоновода сжатым воздухом) норма времени составляет 1,89 чел.-ч. Для принятой длины бетоновода (20 м) норма времени составит:

1,89 ´ 0,2 = 0,378 чел.-ч.

Очистка бетоновода проводится один раз в смену. За это время будет уложено:

17 ´ 8,2 = 139,4 м3 бетонной смеси.

Приведенная норма времени на очистку бетоновода на измеритель (1 м3) составит:

0,378 : 139,4 = 0,0027 чел.-ч.

В. Общая норма времени на прием, подачу, укладку бетонной смеси и очистку бетоновода составит:

для рабочих - 0,18 чел.-ч;

для машиниста и оператора - (0,06 + 0,0027) ´ 2 = 0,125 чел.-ч.

Расценка составит:

для рабочих - (18/3)·(0-70 + 0-64 + 0-64) = 0-11,9 руб.

для машиниста и оператора - 0-91 ´ 0,125 = 0-11,4 руб.

Расчет № 2

Норма времени и расценка на подачу и укладку бетонной смеси бетоноукладчиком

Эксплуатационная среднечасовая производительность составляет:

Пэ = Пт ´ Кт ´ Кпр м3/ч,

где: Пт = 25 м3/ч - техническая производительность бетоноукладчика (паспортная);

Кт = 0,4 - коэффициент перехода от технической производительности к эксплуатационной;

Кпр = 0,7 - коэффициент, учитывающий простои.

Коэффициенты Кт и Кпр взяты из «Инструкции по определению экономической эффективности новых строительных, дорожных, мелиоративных машин; противопожарного оборудования; лифтов; изобретений и рационализаторских предложений. Часть II, 1978 г.».

Эксплуатационная среднечасовая производительность составит:

Пэ = 25 ´ 0,4 ´ 0,7 = 7 м3/ч.

Измеритель - 1 м3 бетонной смеси.

Время бетонирования 1 м3 составит: 1 : 7 = 0,143 ч.

Состав звена: машинист 5 разр. - 1 чел., бетонщики 3 разр. - 1 чел., 2 разр. - 2 чел.

Норма времени на измеритель составит:

для рабочих - 0,143 ´ 3 = 0,43 чел.-ч;

для машиниста - 0,143 чел.-ч.

Расценка составит:

для рабочих - (0,43/3)·(0-70 + 0-64 + 0-64) = 0-28 руб.

для машиниста - 0,143 ´ 0-91 = 0-13 руб.

СОДЕРЖАНИЕ

 

 




ГОСТЫ, СТРОИТЕЛЬНЫЕ и ТЕХНИЧЕСКИЕ НОРМАТИВЫ.
Некоммерческая онлайн система, содержащая все Российские Госты, национальные Стандарты и нормативы.
В Системе содержится более 150000 файлов нормативно-технической документации, действующей на территории РФ.
Система предназначена для широкого круга инженерно-технических специалистов.

Рейтинг@Mail.ru Яндекс цитирования

Copyright © www.gostrf.com, 2008 - 2026