Крупнейшая бесплатная информационно-справочная система онлайн доступа к полному собранию технических нормативно-правовых актов РФ. Огромная база технических нормативов (более 150 тысяч документов) и полное собрание национальных стандартов, аутентичное официальной базе Госстандарта. GOSTRF.com - это более 1 Терабайта бесплатной технической информации для всех пользователей интернета. Все электронные копии представленных здесь документов могут распространяться без каких-либо ограничений. Поощряется распространение информации с этого сайта на любых других ресурсах. Каждый человек имеет право на неограниченный доступ к этим документам! Каждый человек имеет право на знание требований, изложенных в данных нормативно-правовых актах!

  


 

МЕЖГОСУДАРСТВЕННЫЙ СТАНДАРТ

ВИНТЫ С НАКАТАННОЙ ГОЛОВКОЙ
НЕВЫПАДАЮЩИЕ КЛАССА ТОЧНОСТИ В

Конструкция и размеры

Knurled-he ad non-falling-out screws, product grade В.
Design and dimensions

ГОСТ
10344-80

Взамен
ГОСТ 10344-63

Постановлением Государственного комитета СССР по стандартам от 7 июля 1980 г. № 3429 дата введения установлена

01.01.82

Ограничение срока действия снято по протоколу № 7-95 Межгосударственного совета по стандартизации, метрологии и сертификации (ИУС 11-95)

Издание с Изменением № 1, утвержденным в декабре 1986 г. (ИУС 2-87) и Поправкой (ИУС 4-90).

Настоящий стандарт распространяется на винты с накатанной головкой невыпадающие класса точности В с номинальным диаметром резьбы от 2,5 до 12 мм.

(Введено дополнительно, Изм. 1).

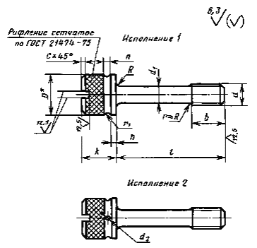
1. Размеры винтов должны соответствовать указанным на чертеже и в табл. 1 и 2.

* D - размер до накатки.

Таблица 1

Номинальный диаметр резьбы d

2,5

3

4

5

6

8

10

12

Диаметр стержня d1 (пред. откл. h13)

1,6

2,0

2,8

3,5

4,0

5,5

7,0

9,0

Длина резьбы b

3

4

5

6

8

10

12

16

Диаметр головки D (пред. откл. h14)

5

6

8

9

11

14

18

20

Высота головки k (пред. откл. h14)

4,0

4,8

6,5

7,5

9,0

11,00

14,0

16,0

Высота подголовка h

0,8

1,0

1,6

2,0

2,

5

3,0

Ширина канавки n

0,8

1,0

1,6

2,0

2,5

3,0

4,0

Радиус канавки rl

0,4

0,5

0,8

1,0

1,25

1,5

2,0

Фаска С, не более

0,5

0,7

0,8

1,0

1,2

1,5

1,8

Радиус под головкой R, не более

0,2

0,4

0,5

0,6

Диаметр отверстия в головке d2

-

1,5

2,5

Таблица 2

Длина винта l,
мм

Диаметр резьбы d, мм

2,5

3

4

5

6

8

10

12

6

 

 

-

-

-

-

-

-

8

 

 

 

-

-

-

-

-

10

 

 

 

 

-

-

-

-

12

 

 

 

 

 

-

-

-

(14)

 

 

 

 

 

-

-

-

16

 

 

 

 

 

-

-

-

(18)

 

 

 

 

 

-

-

-

20

-

 

 

 

 

-

-

-

(22)

-

 

 

Стандартные длины

 

-

25

-

 

 

 

-

(28)

-

 

 

 

 

32

-

 

 

 

 

 

 

 

(36)

-

 

 

 

 

 

 

 

40

-

 

 

 

 

 

 

 

(45)

-

 

 

 

 

 

 

 

50

-

 

 

 

 

 

 

 

(55)

-

 

 

 

 

 

 

 

60

-

 

 

 

 

 

 

 

(70)

-

-

-

 

 

 

 

 

80

-

-

-

 

 

 

 

 

Примечание. Длины винтов, заключенные в скобки, применять не рекомендуется.

Пример условного обозначения винта исполнения 1, диаметром резьбы d = 8 мм, с полем допуска 6g, длиной l = 25 мм, класса прочности 5.8, без покрытия:

Винт M8-6g×25.58 ГОСТ 10344-80

То же, исполнения 2, класса прочности 8.8, из стали марки 35Х, с цинковым покрытием толщиной 9 мкм, хроматированным:

Винт 2M8-6g×25.88.35X.019 ГОСТ 10344-80

2. Резьба - по ГОСТ 24705-2004, шаг резьбы - крупный. Сбег резьбы - по ГОСТ 10549-80.

1, 2. (Измененная редакция, Изм. № 1).

2а. Допуски и методы контроля размеров и отклонений формы и расположения поверхностей - по ГОСТ 1759.1-82.

2б. Дефекты поверхности и методы контроля - по ГОСТ 1759.2-82.

2в. Шлицы прямые - по ГОСТ 24669-81.

2а-2в. (Введены дополнительно, Изм. № 1).

3. Технические требования - по ГОСТ 1759.0-87.

4. Теоретическая масса винтов указана в приложении 1.

5. (Исключен, Изм. № 1).

ПРИЛОЖЕНИЕ 1
Справочное

Длина винта l,
мм

Теоретическая масса 1000 шт. стальных винтов, кг,
при номинальном диаметре резьбы d, мм

2,5

3

4

5

6

8

10

12

6

0,685

1,164

-

-

-

-

-

-

8

0,717

1,214

2,745

-

-

-

-

-

10

0,749

1,263

2,841

4,304

-

-

-

-

12

0,781

1,312

2,938

4,455

7,600

-

-

-

(14)

0,813

1,361

3,035

5,611

7,797

-

-

-

16

0,845

1,410

3,131

4,757

7,994

-

-

-

(18)

0,877

1,459

3,228

4,908

8,192

-

-

-

20

-

1,508

3,324

5,059

8,389

-

-

-

(22)

-

1,557

3,421

5,210

8,589

16,87

33,55

-

25

-

1,634

3,566

5,436

8,833

17,45

34,45

-

(28)

-

1,708

3,711

5,663

9,179

17,99

35,36

50,64

32

-

1,807

3,904

5,965

9,574

18,74

36,57

52,64

(36)

-

1,905

4,097

6,267

10,070

19,49

37,78

54,64

40

-

2,004

4,290

6,569

10,360

20,24

38,98

56,64

(45)

-

2,128

4,552

6,946

10,860

21,17

40,49

59,13

50

-

2,251

4,773

7,324

11,350

22,11

42,00

61,63

(55)

-

2,375

5,015

7,701

11,840

23,04

43,51

64,13

60

-

2,498

5,256

8,079

12,840

23,98

45,02

66,63

(70)

-

-

-

8,834

13,320

25,84

48,04

71,63

80

-

-

-

9,589

14,310

27,72

51,06

76,63

Примечание. Для определения массы винтов из латуни массы, указанные в таблице, следует умножить на коэффициент 1,08.

ПРИЛОЖЕНИЕ 2. (Исключено, Изм. № 1).

 




ГОСТЫ, СТРОИТЕЛЬНЫЕ и ТЕХНИЧЕСКИЕ НОРМАТИВЫ.
Некоммерческая онлайн система, содержащая все Российские Госты, национальные Стандарты и нормативы.
В Системе содержится более 150000 файлов нормативно-технической документации, действующей на территории РФ.
Система предназначена для широкого круга инженерно-технических специалистов.

Рейтинг@Mail.ru Яндекс цитирования

Copyright © www.gostrf.com, 2008 - 2026