Крупнейшая бесплатная информационно-справочная система онлайн доступа к полному собранию технических нормативно-правовых актов РФ. Огромная база технических нормативов (более 150 тысяч документов) и полное собрание национальных стандартов, аутентичное официальной базе Госстандарта. GOSTRF.com - это более 1 Терабайта бесплатной технической информации для всех пользователей интернета. Все электронные копии представленных здесь документов могут распространяться без каких-либо ограничений. Поощряется распространение информации с этого сайта на любых других ресурсах. Каждый человек имеет право на неограниченный доступ к этим документам! Каждый человек имеет право на знание требований, изложенных в данных нормативно-правовых актах!

  


 

МЕЖГОСУДАРСТВЕННЫЙ СТАНДАРТ

ОПОРЫ РЕГУЛИРУЕМЫЕ С ШАРОВОЙ ГОЛОВКОЙ

Конструкция

Adjustable stays with ball headed. Design

ГОСТ

12481-67

Дата введения 01.07.67

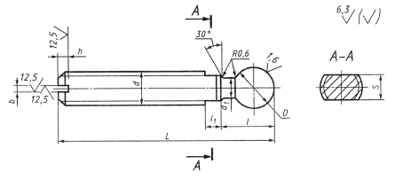
1. Конструкция и размеры регулируемых опор с шаровой головкой должны соответствовать чертежу и таблице.

Размеры, мм

Обозначения опор

Применяемость

d

L

D по h11

d 1

l

l1

S

h13

d

h

Масса, кг

7035-0151

 

М6

40

8

4

10

4

4,0

1,0

2,0

0,009

7035-0152

 

50

0,011

7035-0153

 

60

0,013

7035-0154

 

М8

50

10

6

14

5,5

1,2

2,5

0,018

7035-0155

 

60

0,022

7035-0156

 

80

0,034

7035-0157

 

М10

60

12

7

16

6

8,0

1,6

3,0

0,034

7035-0158

 

80

0,046

7035-0159

 

100

0,058

7035-0160

 

М12

80

16

9

20

6

10,0

2,0

3,5

0,110

7035-0161

 

100

0,143

7035-0162

 

125

0,182

7035-0163

 

М16

100

20

12

22

14,0

0,140

7035-0164

 

125

0,287

7035-0165

 

160

0,373

Пример условного обозначения регулируемой опоры с шаровой головкой размерами d = М6; L = 40 мм:

Опора 7035-0151 ГОСТ 12481-67

(Измененная редакция, Изм. 1, 2).

2. Материал - сталь марки 45 по ГОСТ 1050. Допускается замена на стали других марок с механическими свойствами не ниже, чем у стали марки 45.

3. Твердость головки - 41,5 ... 46,5 HRCэ.

4. Неуказанные предельные отклонения размеров: Н14, h14, ±

5. Резьба метрическая - по ГОСТ 24705. Поле допуска резьбы - 6g по ГОСТ 16093.

3-5. (Измененная редакция, Изм. 2).

6. Размер фасок для резьбы - по ГОСТ 10549.

(Измененная редакция, Изм. № 1).

7. (Исключен, Изм. № 1).

8. Покрытие - Хим. Окс. прм (обозначение покрытия - по ГОСТ 9.306).

9. Маркировать партию деталей одного типоразмера на таре или упаковке с указанием условного обозначения.

8,9. (Измененная редакция, Изм. 2).

11. Пример применения регулируемых опор указан в приложении.

(Введен дополнительно, Изм. 2).

ПРИЛОЖЕНИЕ
Справочное
ПРИМЕР ПРИМЕНЕНИЯ РЕГУЛИРУЕМЫХ ОПОР

ИНФОРМАЦИОННЫЕ ДАННЫЕ

1. РАЗРАБОТАН И ВНЕСЕН Министерством тяжелого, энергетического и транспортного машиностроения СССР

Министерством станкостроительной и инструментальной промышленности СССР

РАЗРАБОТЧИКИ

В.В. Андреев; В.Н. Дзегиленок, канд. техн. наук; В.А. Петрова; К.И. Сокольский; А.З. Старосельский (руководитель темы); А.В. Хренова; Т.А. Шестакова

2. УТВЕРЖДЕН И ВВЕДЕН В ДЕЙСТВИЕ Постановлением Комитета стандартов, мер и измерительных приборов при Совете Министров СССР от 03.03.67 № 57

3. Взамен МН 5420-64

4. ССЫЛОЧНЫЕ НОРМАТИВНО-ТЕХНИЧЕСКИЕ ДОКУМЕНТЫ

Обозначение НТД, на который дана ссылка

Номер пункта

ГОСТ 9.306-85

ГОСТ 1050-88

ГОСТ 10549-80

ГОСТ 16093-81

ГОСТ 24705-81

8

2

6

5

5

5. Постановлением Госстандарта СССР от 17.03.88 № 569 снято ограничение срока действия

6. ПЕРЕИЗДАНИЕ (ноябрь 1999 г.) с Изменениями № 1, 2, утвержденными в июне 1980 г., марте 1988 г. (ИУС 9-80, 6-88)

 




ГОСТЫ, СТРОИТЕЛЬНЫЕ и ТЕХНИЧЕСКИЕ НОРМАТИВЫ.
Некоммерческая онлайн система, содержащая все Российские Госты, национальные Стандарты и нормативы.
В Системе содержится более 150000 файлов нормативно-технической документации, действующей на территории РФ.
Система предназначена для широкого круга инженерно-технических специалистов.

Рейтинг@Mail.ru Яндекс цитирования

Copyright © www.gostrf.com, 2008 - 2026