Крупнейшая бесплатная информационно-справочная система онлайн доступа к полному собранию технических нормативно-правовых актов РФ. Огромная база технических нормативов (более 150 тысяч документов) и полное собрание национальных стандартов, аутентичное официальной базе Госстандарта. GOSTRF.com - это более 1 Терабайта бесплатной технической информации для всех пользователей интернета. Все электронные копии представленных здесь документов могут распространяться без каких-либо ограничений. Поощряется распространение информации с этого сайта на любых других ресурсах. Каждый человек имеет право на неограниченный доступ к этим документам! Каждый человек имеет право на знание требований, изложенных в данных нормативно-правовых актах!

  


 

Государственный комитет Совета Министров СССР

по делам строительства (Госстрой СССР)

Временная инструкция

по проектированию сооружений

для очистки поверхностных сточных вод

СН 496-77

Утверждена

постановлением Государственного комитета

Совета Министров СССР по делам строительства

от 23 июня 1977 г. № 78

Москва 1978

СОДЕРЖАНИЕ

 

“Временная инструкция по проектированию сооружений для очистки поверхностных сточных вод” составлена в развитие главы СНиП II-32-74 “Канализация. Наружные сети и сооружения”

Временная инструкция разработана проектным институтом Мосинжпроект Главного Архитектурно-планировочного Управления Москвы.

Редакторы - инженеры Б. В. Тамбовцев (Госстрой СССР) и В. Е. Хазанов (Мосинжпроект).

Государственный

комитет Совета

Министров СССР

по делам строительства

(Госстрой СССР)

Строительные нормы

СН 496-77

Временная инструкция

по проектированию

сооружений

для очистки

поверхностных

сточных вод

 

1. Общие положения

1.1. Требования настоящей Инструкции должны выполняться при проектировании сооружений для очистки поверхностных сточных вод с селитебных территорий городов и других населенных пунктов (жилых кварталов и микрорайонов, участков зданий управлений и общественных зданий, улиц и площадей) перед сбросом их в водоем из коллекторов при раздельной системе канализации.

1.2. При проектировании общесплавной и полураздельной систем канализования следует руководствоваться указаниями главы СНиП по проектированию наружных сетей и сооружений канализации.

1.3. Поверхностные сточные воды с внеселитебных территорий (промышленных предприятий, складских хозяйств, автохозяйств и др.), а также с особо загрязненных участков, расположенных на селитебных территориях городов (бензозаправочные станции, стоянки автомашин, крупные автобусные станции и др.), должны подвергаться очистке на локальных или кустовых очистных сооружениях перед сбросом их в водоемы или сеть дождевой канализации.

1.4. Очистные сооружения должны размещаться на устьевых участках главных коллекторов дождевой канализации перед выпуском в водоем. В случае, когда по условиям сложившейся застройки такое размещение не представляется возможным, очистные сооружения должны располагаться выше по течению или на наиболее крупных притоках к главному коллектору дождевой канализации.

В этих случаях с части водосборного бассейна поверхностный сток сбрасывается в водоем без очистки.

1.5. Допускается сбрасывать в водоемы поверхностные воды без очистки:

с городских лесопарков;

с водосборов площадью до 20 га, имеющих самостоятельный выпуск в водоем.

Эти требования не распространяются на самостоятельные выпуски в водоемы, предназначенные к использованию для питьевого водоснабжения.

1.6. На очистные сооружения должна отводиться наиболее загрязненная часть поверхностного стока, которая образуется в период выпадения дождей, таяния снежного покрова и мойки дорожных покрытий.

Пиковые расходы, относящиеся к наиболее интенсивной части дождя и наибольшему стоку талых вод, сбрасываются в водоем без очистки.

1.7. По коллекторам дождевой канализации на очистные сооружения могут поступать условно-чистые воды, которые допускается сбрасывать в городскую сеть дождевой канализации:

условно-чистые производственные воды;

конденсационные и от охлаждения производственной аппаратуры, не требующие очистки;

грунтовые (дренажные) воды;

воды от мойки автомашин после их очистки на локальных очистных сооружениях.

1.8. В районах нового строительства очистные сооружения должны входить в состав проектов коллекторов дождевой канализации.

Внесены

институтом

Мосинжпроект

ГлавАПУ Москвы

Утверждена

постановлением

Государственного комитета

Совета Министров СССР

по делам строительства

от 23 июня 1977 г. № 78

Срок

введения

в действие

1 января 1978 г.

В проектах планировки этих районов должны быть предусмотрены места для размещения очистных сооружений.

1.9. На сооружениях для очистки поверхностных сточных вод следует учитывать предельно допустимые накопления загрязнений, при этом:

слой твердого осадка не должен превышать проектную глубину осадочной части сооружения;

слой маслонефтепродуктов не должен превышать 25 мм;

задержанный в решетках плавающий мусор не должен закрывать площадь прозоров более чем на 50 %.

2. Очистные сооружения

2.1. Для очистки загрязненной части поверхностных вод перед выпусками в водоемы надлежит устраивать сооружения следующих типов:

пруды-отстойники;

стационарные щитовые заграждения в акватории водоема;

сооружения закрытого типа (подземные).

2.2. Тип очистного сооружения следует принимать в зависимости от площади водосборного бассейна, характера застройки и планировочных условий с учетом развития коллекторов дождевой канализации. При этом следует учитывать, что наиболее эффективным сооружением для очистки поверхностных вод являются пруды-отстойники.

2.3. Очистные сооружения должны устраиваться для каждого водосборного бассейна, имеющего самостоятельный выпуск.

В отдельных случаях допускается устройство общих очистных сооружений для нескольких водосборов, объединенных коллектором, подводящим воду на очистное сооружение.

2.4. Очистные сооружения следует принимать в виде отстойников, оборудованных устройством для улавливания плавающего мусора и нефтепродуктов.

2.5. Для улавливания плавающего мусора в головной части сооружения должны устанавливаться съемные решетки или другое оборудование, позволяющее механизировать удаление накопленного мусора.

2.6. Влекомые и взвешенные твердые частицы, должны задерживаться в осадочной части очистного сооружения.

Осаждение твердых взвешенных частиц должно быть обеспечено при скорости протекания воды v=10 мм/с и времени отстоя, указанном в п. 3.5.

2.7. Нефтепродукты должны задерживаться в отстойных отсеках при помощи полупогружных щитов, устанавливаемых на глубине 0,60,8 м от уровня воды в сооружении.

Всплытие частиц нефтепродуктов, содержащихся в толще воды, должно обеспечиваться режимом работы отстойного сооружения.

Нефтепродукты, задержанные перед полупогружными щитами, по мере накопления должны отводиться при помощи специальных приспособлений и трубопроводов в подземные емкости-накопители.

2.8. Очистные сооружения могут состоять из нескольких параллельно или последовательно расположенных секций.

2.9. При параллельном расположении секций вода должна равномерно распределяться по всем секциям.

2.10. При последовательном расположении нижняя секция должна служить для дополнительной очистки воды, прошедшей через верхнюю секцию.

Верхняя секция может служить одновременно регулятором расходов, поступающих в нижнюю секцию.

2.11. Для подачи воды на очистное сооружение на коллекторе дождевой канализации должно предусматриваться устройство распределительной камеры, имеющей порог, направляющий воду из коллектора в трубопровод, подводящий ее к очистному сооружению.

Высота порога должна соответствовать высоте наполнения коллектора при расчетном расходе воды, направляемой на очистное сооружение.

2.12. Распределительную камеру рекомендуется устраивать перед перепадом на коллекторе.

При одновременном строительстве коллектора и очистного сооружения следует предусматривать перепад на коллекторе.

2.13. В конец подводящего трубопровода следует предусматривать устройство (поперечный лоток, труба), обеспечивающее равномерное распределение воды по ширине отстойника или между его секциями, а также возможность выключения отдельных секций на время очистки их от накопленных загрязнений.

2.14. Водосброс из очистного сооружения должен иметь порог водослива на отметке расчетного горизонта воды в сооружении.

Отводящий трубопровод водосброса должен иметь выпуск в низовой участок коллектора или непосредственно в водоем.

2.15. Площадки очистных сооружений должны иметь искусственное освещение и подъездные дороги.

Площадки для прудов-отстойников. должны быть озеленены и в случае необходимости иметь ограждения.

Пруды-отстойники

2.16. Пруды-отстойники устраиваются:

изолированные от водоема с водосбросным устройством в водоем или в коллектор дождевой канализации (рис. 1-3 прил. 1);

каскадного типа с двумя последовательными секциями, расположенными в разных уровнях (рис. 4 прил. 1);

на сопряжении с водоемом и устройством отделяющей плотины сборно-разборного типа (рис. 5 прил. 1).

2.17. Пруды-отстойники должны состоять из следующих основных элементов:

отсеков для задержания плавающих нефтепродуктов;

разделительных продольных и поперечных стенок или дамб;

водосбросных устройств для сброса воды из верхних секций в нижние и перепуска очищенной воды в водоем или коллектор.

2.18. Кроме указанных основных элементов, пруд-отстойник должен иметь оборудование для сбора нефтепродуктов и подземные емкости-накопители для них.

2.19. Секции в прудах-отстойниках образуются продольными и поперечными разделительными стенками или дамбами. В каждой верхней секции пруда должны быть устроены отсеки для задержания нефтепродуктов, ограждаемые полупогружными щитами. В случае, когда пруд-отстойник разделен на секции поперечной стенкой или дамбой, отсеки для задержания нефтепродуктов допускается устраивать только в верхней секции пруда, а нижняя секция используется для дополнительного отстаивания. Ширину отсеков рекомендуется принимать не менее 6 м. Длина их определяется расчетом.

При проектировании прудов-отстойников должна предусматриваться возможность самостоятельной работы каждой секции за счет специальных устройств по переключению загрязненного расхода в одну из секций.

2.20. При площади водосборного бассейна не более 100 га допускается устраивать односекционные пруды-отстойники.

2.21. Максимальное отношение ширины пруда-отстойника, к его длине, следует принимать равным 1:4.

Стационарные щитовые заграждения

2.22. Стационарные щитовые заграждения (рис. 6 прил. 1) устраиваются в русле реки ниже существующих выпусков коллекторов, где по планировочным условиям и другим причинам устройство очистных сооружений типа прудов-отстойников или сооружений закрытого типа не представляется возможным.

2.23. Постоянный расход и загрязненная часть поверхностных вод от коллектора к щитовому заграждению подводится трубопроводом или направляющей стенкой типа "шпора".

2.24. В стационарных щитовых заграждениях должен полностью задерживаться плавающий мусор и частично нефтепродукты, и твердый сток.

Глубина погружения стационарных щитов - 0,8 м.

2.25. Расположение стационарного щитового заграждения в русле реки и его размеры должны быть согласованы с речным пароходством и Республиканским бассейновым управлением или Инспекцией по регулированию использования и охране вод.

2.26. Размеры щитового заграждения должны назначаться из условия захода в его акваторию плавсредств с механизмами для производства работ по очистке от донных отложений и сбора плавающих загрязнений.

2.27. Конструкцию щитового заграждения следует принимать из железобетона с учетом возможности швартовки плавсредств, производящих очистку огражденной акватории.

Стационарные щитовые заграждения должны быть оборудованы предупредительными сигнальными огнями.

Сооружения закрытого типа

2.28. Очистные сооружения закрытого типа (подземные) (рис. 7 прил. 1) следует предусматривать на выпусках сети дождевой канализации в городские водоемы и на устьевых участках притоков к главным коллекторам при площади водосборного бассейна до 300 га.

2.29. В зависимости от размеров водосборного бассейна очистное сооружение закрытого типа может состоять из двух или более секций.

2.30. Каждая секция сооружения должна состоять из входной, проточной, осадочной частей и отсека для фильтров доочистки.

2.31. Загрязненные воды надлежит подводить к очистному сооружению специальным трубопроводом, подключенным к распределительному устройству.

На входе следует предусматривать установку решетки с прозорами 10 мм для улавливания и сбора плавающего мусора.

Перед выходом воды из проточной части надлежит предусматривать оборудование для сбора и удаления нефтепродуктов в подземные емкости-накопители.

2.32. Фильтры доочистки следует принимать для задержания эмульгированных нефтепродуктов, при этом фильтрации воды производится снизу вверх в направлении сброса.

Площадь фильтров доочистки должна быть не менее площади поперечного сечения проточной части каждой секции сооружения.

В качестве заполнителей фильтров доочистки рекомендуется применять материалы, обладающие высокой адсорбирующей способностью: сипрон, визапрон, древесную стружку, вспученный вермикулит и др.

2.33. Технологическая схема очистного сооружения должна учитывать местные потери напора в соответствии с указаниями п. 4.30.

2.34. В сооружениях закрытого типа должны предусматриваться съемные перекрытия в местах установки фильтров доочистки и мусороулавливающих решеток.

2.35. Конструкции очистных сооружений закрытого типа следует выполнять из сборно-монолитного или монолитного железобетона и рассчитывать на восприятие постоянных нагрузок и временной, принимаемой в соответствии с главой СНиП на проектирование мостов и труб.

3. Расчетные показатели по загрязнениям поверхностных вод и степени их очистки

3.1. Количество загрязнений в поверхностном стоке рекомендуется принимать по табл. 1, при этом расчетные показатели, допускается уточнять в зависимости от местных условий и характеристик поверхностного стока по отдельным видам (дождевые, талые, моечные воды) с учетом возможного изменения загрязненности поверхностного стока, зависящего от места отбора проб (улицы магистральные, местные; внутриквартальные территории) и характера стока (интенсивность, продолжительность, начало, середина, конец стока, продолжительность сухого периода).

Таблица 1

п/п

Характерные зоны в водосборном бассейне

Количество загрязнений в поверхностном стоке для расчета очистных сооружений

Взвешенные вещества, мг/л

Эфирорастворимые вещества, мг/л

Плавающий мусор, м3/1000 га

дождевые воды

талые воды

моечные воды

дождевые воды

талые воды

моечные воды

дождевые воды

талые воды

моечные воды

1

Жилые кварталы и микрорайоны

250

3500

200

35

40

75

0,1

0,3

0,1

2

Территории промышленных предприятий и сооружений с повышенным загрязнением, расположенные в населенных пунктах

2000

4500

2000

250

70

150

0,2

0,3

0,2

3

Площади и улицы, с которых уборка осуществляется машинами с пневматическим забором мусора в кузов

200

2500

200

30

45

75

0,1

0,3

0,1

4

Автомагистрали с интенсивным движением грузового автомобильного транспорта

1300

2700

1300

60

65

100

0,2

0,3

0,2

Примечание. Для определения количества нефтепродуктов, поступающих на очистное сооружение, рекомендуется вводить коэффициент К = 0,4 к данным по содержанию эфирорастворимых веществ.

На основании анализов отбираемых проб поверхностного стока должны быть выведены расчетные показатели по загрязнениям всех видов поверхностных вод.

3.2. Содержание загрязнений в воде, протекающей по коллекторам дождевой канализации, в сухое время при отсутствии моечных вод должно определяться на основании анализов проб этой воды.

3.3. Степень очистки воды на очистных сооружениях следует определять расчетом и принимать не ниже значений, приведенных в табл. 2 и 3.

Таблица 2

№ п/п

 

Вид загрязнений

 

Степень очистки воды в прудах-отстойниках, % количества поступающих загрязнений, при расчетном времени отстоя воды, ч

2

4

6

8

10

1

Взвешенные вещества

80

85

90

95

95

2

Нефтепродукты при содержании, мг/л:

 

 

 

 

 

 

до 50

80

80

90

90

90

 

до 100

85

85

87

90

90

3

Плавающий мусор

100

100

100

100

100

Таблица 3

№ п/п

Вид загрязнений

Степень очистки воды в сооружениях закрытого типа, % количества поступающих загрязнений, при расчетном времени отстоя воды 60 мин

1

Взвешенные вещества

80

2

Нефтепродукты при содержании, мг/л:

 

 

до 50

80

 

до 100

80

3

Плавающий мусор

100

3.4. Время отстоя воды Тотст, ч, следует принимать:

для прудов-отстойников - не менее 2;

для сооружений закрытого типа - 1.

3.5. Для воды, поступающей в сухое время года, степень очистки от взвешенных веществ и нефтепродуктов следует принимать не менее 80%.

3.6. Для стационарных щитовых заграждений принимается полная очистка воды от плавающего мусора; степень очистки воды от взвешенных веществ и нефтепродуктов настоящей Инструкцией не нормируется.

4. Расчет очистных сооружений

4.1. Гидрологические, гидравлические и санитарно-технические расчеты проектов очистных сооружений должны состоять из следующих разделов:

определение расчетных расходов загрязненной части дождевых вод;

определение объема всех видов вод, поступающих на очистное сооружение;

определение размеров очистного сооружения;

определение количества загрязнений, задержанных в очистном сооружении.

4.2. Исходными данными для расчета очистных сооружений являются:

площадь водосборного бассейна в расчетном створе и гидравлический расчет коллектора;

расчетные концентрации загрязнений поверхностных вод;

принятая степень очистки загрязненных вод.

Расчетные расходы и среднегодовые объемы воды, направляемой на очистные сооружения

4.3. Для расчета очистных сооружений следует принимать норму интенсивности стока дождевых вод qc = 4,5 л/с с 1 га при расчетной продолжительности дождя Т = 20 мин. При этой норме период превышения расчетной интенсивности дождя будет иметь значение Р в зависимости от климатических характеристик географических районов.

4.4. Расчетный расход следует определять как сумму расхода дождевых вод и расхода других вод, протекающих по коллектору дождевой канализации, при возможности совпадения этих расходов во времени.

4.5. Расход дождевых вод Q, л/с, следует определять по формуле

                                                                                                   (1)

где  - интенсивность дождевого стока, л/с с 1 га;

*  коэффициент, учитывающий неравномерность выпадения дождя по площади, определяется по табл. 4;

*  площадь стока, га.

Таблица 4

Площадь стока, га

50

100

200

300

500

1000

2000

Значение коэффициента h

0,99

0.98

0.97

0.96

0.94

0.91

0.86

Площадь стока, га

3000

4000

50000

10000

20000

30000

 

Значение коэффициента h

0,83

0,80

0,78

0,73

0,68

0,65

 

Примечание. При площади бассейна до 50 га коэффициент h = 1.

Территории садов и парков, расположенные вне кварталов и микрорайонов, из площади стока исключаются.

4.6. Расчетную интенсивность дождевых вод, л/с, следует определять по формуле

,                                                                                                    (2)

где n параметр, определяемый по прил. 4;

Т расчетная продолжительность дождя, мин.

Интенсивность дождевых вод в зависимости от величины n и Т принимается по табл. 5 и прил. 7.

Таблица 5

Т,

мин

Величина qc, л/с, в зависимости от значения параметра n

n = 0,5

n = 0,55

n = 0,6

n = 0,65

n = 0,7

n = 0,75

20

4,5

4,5

4,5

4,5

4,5

4,5

21

4,4

4,4

4,4

4,35

4,35

4,35

22

4,3

4,3

4,25

4,25

4,2

4,2

23

4,2

4,2

4,15

4,1

4,1

4,05

24

4,1

4,1

4

4

3,95

3,9

25

4

4

3,95

3,9

3,85

3,8

26

3,95

3,9

3,85

3,8

3,75

3,7

27

3,9

3,8

3,75

3,7

3,65

3,6

28

3,8

3,75

3,7

3,6

3,55

3,5

29

3,75

3,7

3,6

3,5

3,5

3,4

30

3,7

3,6

3,5

3,45

3,4

3,3

31

3,6

3,55

3,45

3,4

3,3

3,24

32

3,55

3,5

3,4

3,3

3,25

3,17

33

3,5

3,4

3,3

3,25

3,15

3,1

34

3,45

3,35

3,25

3,2

3,1

3,05

35

3,4

3,3

3,2

3,1

3,05

3

36

3,35

3,25

3,15

3,07

3

2,9

37

3,3

3,2

3,1

3,03

2,9

2,85

38

3,25

3,15

3,05

3

2,85

2,8

39

3,2

3,1

3

2,9

2,8

2,75

40

3,1

3,05

2,95

2,85

2,75

2,7

42

3,05

3

2,9

2,8

2,7

2,6

44

3

2,9

2,8

2,7

2,6

2,5

46

2,95

2,85

2,75

2,6

2,5

2,4

48

2,9

2,75

2,65

2,5

2,45

2,3

50

2,85

2,7

2,6

2,4

2,35

2,2

55

2,7

2,6

2,45

2,3

2,2

2,1

60

2,6

2,45

2,3

2,2

2,1

2

65

2,5

2,35

2,2

2,1

2

1,85

70

2,4

2,25

2,1

2

1,9

1,75

75

2,3

2,2

2

1,9

1,8

1,7

80

2,25

2,1

1,95

1,8

1,7

1,6

85

2,2

2,05

1,9

1,75

1,6

1,5

90

2,1

1,95

1,8

1,7

1,55

1,45

95

2,05

1,9

1,75

1,65

1,5

1,4

100

2

1,85

1,7

1,6

1,4

1,3

110

1,9

1,75

1,6

1,5

1,3

1,25

120

1,8

1,6

1,5

1,4

1,25

1,2

130

1,75

1,5

1,45

1,35

1,2

1,1

140

1,7

1,47

1,4

1,3

1,15

1,05

150

1,65

1,44

1,35

1,2

1,1

1

160

1,6

2,42

1,3

1,17

1,05

0,95

170

1,55

1,4

1,25

1,13

1

0,9

180

1,5

1,35

1,2

1,08

0,97

0,87

190

1,45

1,3

1,15

1,04

0,93

0,83

200

1,4

1,25

1,1

1

0,9

0,8

220

1,35

1,2

1,08

0,95

0,85

0,75

240

1,3

1,15

1

0,9

0,8

0,7

260

1,25

1,1

0,97

0,85

0,75

0,67

280

1,2

1,05

0,93

0,8

0,7

0,63

300

1,16

1

0,9

0,78

0,68

0,6

320

1,12

0,98

0,87

0,75

0,65

0,57

340

1,1

0,95

0,83

0,72

0,62

0,55

360

1,07

0,92

0,8

0,68

0,6

0,52

380

1,03

0,9

0,77

0,65

0,57

0,5

400

1

0,85

0,73

0,62

0,53

 

450

0,95

0,8

0,7

0,6

0,5

 

500

0,9

0,77

0,65

0,57

 

 

550

0,85

0,73

0,6

0,53

 

 

600

0,8

0,7

0,57

0,5

 

 

700

0,75

0,65

0,53

 

 

 

800

0,7

0,6

0,5

 

 

 

900

0,67

0,55

 

 

 

 

1000

0,63

0,5

 

 

 

 

1200

0,6

 

 

 

 

 

1400

0,55

 

 

 

 

 

1600

0,5

 

 

 

 

 

Примечание. Расчетные интенсивности подсчитаны для условий стока с жилых районов и микрорайонов.

4.7. Расчетную продолжительность дождя Т, мин, следует принимать равной времени протекания воды по поверхности и трубам от наиболее удаленного участка водосборного бассейна до очистного сооружения и определять по формуле

,                                                                          (3)

где tконц - время поверхностной концентрации дождевого стока при отсутствии внутриквартальных дождевых сетей следует определять по расчету и принимать в населенных местах равным не менее 10 мин; при наличии внутриквартальных закрытых дождевых сетей равным 5 мин;

lтр - длины расчетных участков коллектора, м;

vтр - скорости течения воды на соответствующих участках, м/с, при полном наполнении труб;

КI - коэффициент, учитывающий увеличение времени протекания при уменьшении расхода воды, направляемой на очистные сооружения (принимается по табл. 6 в зависимости от величины q20).

Таблица 6

q20

20

30 

40 

50 

60 

70 

80 

90 

100

120

150

200

KI

1 

1,22

1,37

1,53

1,62

1,72

1,89

1,98

2,06

2,28

2,49

2,97

Карта значений величин интенсивности q20 дана в прил. 3.

При расстоянии от границы водосбора до начала коллектора более 150 м к расчетной продолжительности дождя следует добавлять время протекания воды по лоткам дорог, мин, определяемое по формуле

,                                                                                        (4)

где lл длина лотка, м, принимаемая на 150 м меньше расстояния от границы бассейна до начала коллектора;

vл скорость течения воды по лотку, м/с.

При T < 20 мин расчетную продолжительность дождя принимать равной 20 мин.

4.8. Для ориентировочных расчетов расход дождевых вод допускается определять по формуле

                                                                                                 (5)

где   удельный расход дождевых вод, л/с с 1 га, определяемый в зависимости от площади стока по табл. 7;

*  коэффициент, учитывающий изменение удельного расхода в зависимости от среднего уклона коллектора (или поверхности по трассе) и принимаемый по табл. 8.

Таблица 7

F,

га

Величина qуд, л/с, в зависимости от значения параметра n

n = 0,5

n = 0,55

n = 0,6

n = 0,65

n = 0,7

n = 0,75

при времени поверхностной концентрации tконц, мин

5

10

5

10

5

10

5

10

5

10

5

10

20

4,1

3,5

4,1

3,4

4

3,3

4

3,25

3,95

3,15

3,9

3,1

50

3,4

3

3,3

2,9

3,2

2,8

3,15

2,7

3,05

2,6

3

2,5

100

3

2,7

2,9

2,6

2,8

2,45

2,7

2,3

2,6

2,2

2,5

2,1

300

2,5

2,3

2,35

2,15

2,2

2

2,15

1,9

2

1,8

1,9

1,7

1000

2

1,85

1,85

1,75

1,75

1,6

1,6

1,5

1,45

1,35

1,35

1,25

3000

1,5

1,45

1,35

1,25

1,25

1,2

1,15

1,1

1,05

1

1

0,9

10 000

1,1

1,05

1

0,95

0,9

0,85

0,8

0,75

0,7

0,65

0,65

0,6

30 000

0,8

0,8

0,7

0,7

0,65

0,65

0,55

0,55

0,5

0,6

0,45

0,45

Примечания: 1. Значения  даны для районов с q20 = 80 л/с.

2. Для остальных районов величины подсчитаны для соответствующих значений q20 и приведены в прил. 2.

Таблица 8

iср

 

Значение коэффициента К2 в зависимости от параметра n

n = 0,5

n = 0,55

n = 0,6

n = 0,65

n = 0,7

n = 0,75

0,001

0,64

0,61

0,58

0,56

0,53

0,51

0,003

0,84

0,83

0,81

0,8???

0,78

0,77

0,005

0,96

0,95

0,95

0,94

0,94

0,93

0,006

1

1

1

1

1

1

0,008

1,04

1,04

1,04

1,05

1,05

1,05

0,010

1,14

1,15

1,16

1,18

1,19

1,21

0,015

1,26

1,29

1,32

1,35

1,38

1,41

0,020

1,35

1,39

1,43

1,48

1,52

1,57

0,025

1,43

1,48

1,54

1,59

1,65

1,71

0,030

1,49

1,56

1,62

1,69

1,75

1,83

0,035

1,55

1,62

1,7

1,77

1,85

1,94

0,040

1,61

1,68

1,77

1,85

1,94

2,04

0,045

1,66

1,74

1,83

1,92

2,02

2,13

0,050

1,7

1,79

1,89

1,99

2,1

2,22

4.9. Расходы условно-очистных вод, протекающих по коллекторам дождевой канализации, следует определять по фактическим измерениям, которые необходимо производить в сухое время, исключая утреннее время, в которое осуществляется массовый полив улиц и территорий кварталов населенных пунктов.

При отсутствии данных о фактическом расходе следует учитывать возможный расход в размере 0,1 л/с с 1 га площади водосбора.

4.10. Среднегодовые объемы дождевых вод, поступающих на очистные сооружения, м3 с 1 га, следует определять по формуле

                                                                                            (6)

где   среднегодовое количество дождевых осадков, мм, определяемое по данным ближайшей метеостанции;

  коэффициент, учитывающий объем дождевых вод, направляемых на очистные сооружения, и принимаемый по табл. 9.

Таблица 9

q20

20

30

40

50

60

70

80

90

100

120

150

200

К3

0,96

0,91

0,87

0,82

0,78

0,75

0,71

0,68

0,65

0,6

0,53

0,45

4.11. Среднегодовое количество талых вод, поступающих на очистное сооружение, Wт, м3 с 1 га, следует определять по формуле

,                                                                                             (7)

где средний слой весеннего стока, мм, определяемый по данным ближайшей метеостанции или прил. 3 к СН 435-72;

*  коэффициент, учитывающий объем талых вод, направляемых на очистное сооружение и принимаемый по табл. 10.

Примечание. Формулой учитывается, что 20% объема воды от таяния снега на очистные сооружения не поступают, так как часть снега вывозится с городских территорий.

Таблица 10

Вероятность превышения,%

Значение коэффициента К4 для различных районов весеннего стока

1

2

3

4

50

0,56

0,66

0,8

1

20

0,47

0,56

0,69

0,77

10

0,4

0,47

0,63

0,56

4

0,35

0,41

0,54

0,47

2

0,3

0,37

0,47

0,4

Примечание. Карта районирования весеннего стока дана в прил. 6.

4.12. Среднегодовое количество моечных вод, м3, с 1 га следует определять по формуле

                                                                                                  (8)

где количество воды, л, затрачиваемой в год на поливку и мойку 1 м2 дорог и тротуаров, определяется по данным управлений городского хозяйства.

Для приближенных расчетов объем моечных вод допускается принимать равным 150200 м3 с 1 га в год.

4.13. Расходы дождевых вод, определяемые по пп. 4.6, 4.8 и 4.10, действительны для водосборных бассейнов со средними условиями застройки, в которых площадь водонепроницаемых поверхностей (кровли зданий, дороги, тротуары и другие площади с водонепроницаемыми покрытиями) занимает от 35 до 45 % всей площади водосборного бассейна.

Для водосборных бассейнов с условиями застройки, отличающимися от средних, к указанным значениям величин следует вводить поправку, которая учитывается коэффициентом К5, принимаемым по табл. 11, в зависимости от процентного отношения площади водонепроницаемых поверхностей к общей площади водосборного бассейна.

Таблица 11

Площадь водонепроницаемой поверхности, % к площади бассейна

10

20

30

40

50

60

70

80

90

100

К5

0,4

0,6

0,8

1

1,2

1,4

1,6

1,8

2

2,2

4.14. Количество моечных вод, определенное по п. 4.12, действительно для водосборов со средними условиями планировки, при которых суммарная площадь дорог, тротуаров и других водонепроницаемых покрытий (кровли зданий не учитываются) занимает 2030 % всей площади водосбора.

Для водосборов, отличающихся от средних по условиям планировки, количество моечных вод следует определять по фактическим затратам воды, принимая средний коэффициент стока 0,5.

Определение размеров очистных сооружений

4.15. Размеры проточной части прудов-отстойников и очистных сооружений закрытого типа следует определять по формулам:

;                                                                                                       (9)

;                                                                                                     (10)

;                                                                                         (11)

,                                                                                                       (12)

где  - расчетный расход воды, м3/с;

* - скорость протекания воды в проточной части, м/с;

 - время отстоя воды, ч, принимаемое в соответствии с п. 3.5;

* - живое сечение проточной части, м2;

В - ширина проточной части, м;

* - глубина проточной части, м;

 - длина проточной части, м;

 - коэффициент, учитывающий удлинение сооружения за счет успокоительной части, принимаемый равным 1,1-1,2;

L - общая длина проточной и успокоительной части, м.

4.16. Скорость протекания воды должна быть не более 0,01 м/с.

4.17. Ширину проточной части или отдельных секций следует принимать:

для прудов-отстойников не более 40 м,

для сооружений закрытого типа не более 4 м.

4.18. Принятые размеры проточной части должны быть проверены расчетом на осаждение твердых взвешенных частиц по формулам:

;                                                                                                       (13)

;                                                                                                   (14)

,                                                                                               (15)

где uср средняя скорость осаждения частиц, мм/с;

ro вертикальная составляющая скорости осаждения, мм/с;

uo гидравлическая крупность осаждаемых частиц, мм/с.

4.19. Размеры очистного сооружения должны обеспечивать выпадение минеральных частиц диаметром 0,05 мм с гидравлической крупностью uo = 1,73 мм/с.

4.20. Общая длина проточной и успокоительной части или длина отсека для задержания нефтепродуктов должна быть проверена расчетом на всплытие нефтяных частиц по формуле

,                                                                                              (16)

где umin скорость всплытия частиц нефтепродуктов, см/с;

a коэффициент, определяемый по п. 4.22.

4.21. Длина сооружения (или отсека) должна обеспечивать всплытие нефтепродуктов с крупностью частиц:

для прудов-отстойников - 80-100 мкм,

для сооружений закрытого типа – 100-120 мкм.

Скорость всплытия частиц нефтепродуктов, мкм, следует принимать:

при крупности 120 umin = 0,102 см/с;

при крупности 100 umin = 0,071 см/с;

при крупности   80 umin = 0,0465  см/с.

4.22. Коэффициент a, учитывающий турбулентность и струйность потока, в расчетах для прудов-отстойников следует принимать в зависимости от отношения :

при ;

при .

В расчетах для сооружений закрытого типа с фильтрами доочистки следует принимать коэффициент a равным 1,2.

4.23. Ширину отсека в прудах-отстойниках для задержания нефтепродуктов рекомендуется принимать не менее 6 м.

4.24. Количество загрязнений, задержанных в очистном сооружении за год, следует определять исходя из начального содержания загрязнений, принятой степени очистки и объема поступающей воды.

Количество задержанных загрязнений следует определять отдельно для дождевых, талых и моечных вод, а также для других вод, поступающий на очистное сооружение.

4.25. Объем твердого осадка за год Wo, м3 с 1 га следует определять по формуле

,                                                                                            (17)

где С начальное содержание твердых взвешенных частиц, т на 1000 м3 воды;

Э степень очистки, % начального содержания;

Wo объем воды, поступающей на очистное сооружение за год, тыс. м3;

g объемный вес осадка, т/м3;

F площадь водосбора, га.

4.26. Объем и глубину осадочной части hос сооружения следует определять по суммарному объему твердого осадка от всех видов вод и частоты очистки.

Расчет следует производить отдельно для периода весеннего снеготаяния (талые воды) и для теплого периода (дождевые и моечные воды).

В случае работы очистного сооружения в зимний период следует учитывать также объем твердого осадка, задержанного за это время.

4.27. При определении объема и глубины осадочной части следует учитывать возможную неравномерность слоя осадка по площади.

Полученную расчетом глубину осадочной части рекомендуется увеличивать до 30 %.

4.28. Полную глубину сооружения следует определять как сумму глубин осадочной и проточной части и превышения строительной высоты сооружения.

4.29. Превышение строительной высоты сооружения над расчетным уровнем воды рекомендуется принимать:

для прудов-отстойников 0,5 м;

для сооружений закрытого типа 1 м.

4.30. Сумма всех потерь напора, при прохождении расчетного расхода воды от распределительной камеры на коллекторе до выпуска в низовой участок коллектора или водоем не должна превышать разности горизонтов воды в этих местах.

Потери напора следует определять в зависимости от характера местных сопротивлений расхода и скорости течения воды.

Потери напора в мусоро - и нефтеуловителях, при скорости течения воды 0,01 м/с и меньше, допускается не учитывать.

Потери напора в фильтрах сооружений закрытого типа следует принимать в пределах 0,250,5 м.

Приложение 1

Схемы очистных сооружений

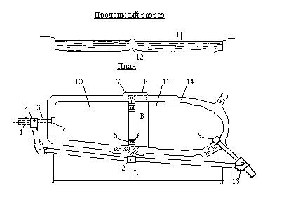
Рис. 1. Схема двухсекционного пруда-отстойника

1 коллектор дождевой канализации; 2 распределительная камера; 3 подводящий трубопровод; 4 отсек для задержания маслонефтепродуктов; 5 секция отстойника; 6 мусороулавливающая решетка; 7 полупогружные щиты; 8 приемник маслонефтепродуктов; 9 емкость для отстаивания маслонефтепродуктов; 10 водозаборный колодец; 11 камера сброса очищенной воды; 12 подъездная дорога; 13 разделительная дамба

Рис. 2. Схема четырехсекционного пруда-отстойника

1 - коллектор дождевой канализации; 2 - распределительная камера; 3 - подводящий трубопровод; 4 - камера переключения; 5 - рассеивающий выпуск; 6 мусороулавливающая решетка; 7 - полупогружные щиты; 8 - емкость для отстаивания маслонефтепродуктов; 9 - водосброс; 10 - приемник маслонефтепродуктов; 11 - отсек для задержания маслонефтепродуктов; 12 секция отстойника; 13 - разделительная дамба; 14 - камера сброса очищенной воды; 15 - подъездная дорога; 16 - водозаборные колодцы

Рис. 3. Схема пруда-отстойника с секцией дополнительного

отстаивания1 коллектор дождевой канализации; 2 распределительная камера; 3 подводящий трубопровод; 4 выпуск; 5 поворотная щелевая труба; 6 полупогружные щиты; 7 емкость для отстаивания маслонефтепродуктов; 8 водозаборный колодец; 9 водосброс; 10 секция отстойника; 11 секция дополнительного отстаивания; 12 распределительная дамба; 13 камера сброса очищенной воды; 14 подъездная дорога

Рис. 4. Схема каскадного пруда-отстойника с фильтром

1 секция первичного отстойника; 2 секция дополнительного отстаивания; 3 фильтр доочистки; 4 мусороулавливающая решетка; 5 приспособление для сгона маслонефтепродуктов; 6 приемник маслонефтепродуктов; 7 полупогружные щиты; 8 водосброс; 9 рассеивающий выпуск; 10 водослив; 11 водосброс для работы в зимний период; 12 щелевая труба; 13 галерея для сброса очищенной воды; 14 донный выпуск; 15 емкость для отстаивания маслонефтепродуктов; 16 водозаборный колодец; 17 площадка с фильтром для складирования твердого осадка; 18 разделительная дамба; 19 коллектор дождевой канализации; 20 распределительная камера; 21 подводящий трубопровод; 22 подъездная дорога; 23 отверстия для выпуска воды из фильтра в галерею

Рис. 5. Схема пруда-отстойника на сопряжении с водоемом

1 коллектор дождевой канализации; 2 распределительная камера; 3 отсек для задержания маслонефтепродуктов; 4 секция отстойника; 5 приемник маслонефтепродуктов; 6 емкость для отстаивания маслонефтепродуктов; 7 водозаборный колодец; 8 полупогружные щиты; 9 разборная плотина; 10 разделительная дамба; 11 подъездная дорога

Рис. 6. Схема стационарного щитового заграждения

1 коллектор дождевой канализации; 2 распределительная камера;  3 подводящий трубопровод; 4 плавающее бонное заграждение; 5 железобетонная навесная стенка; 6 щитовой затвор

Рис. 7. Схема двухсекционного очистного сооружения  закрытого типа

1 распределительная камера; 2 подводящий трубопровод; 3 камера переключения; 4 распределительный лоток; 5 мусороулавливающая решетка; 6 секция отстойника; 7 приемник маслонефтепродуктов; 8 емкость для отстаивания маслонефтепродуктов; 9 водозаборный колодец; 10 фильтр доочистки; 11 галерея для сбора очищенной воды; 12 коллектор дождевой канализации

Приложение 2

Величины qуд, л/с, в зависимости от значения параметра n, времени поверхностной концентрации tконц и площади водосборного бассейна F при различных значениях q20

F,

га

Величина qуд, л/с, в зависимости от значения параметра n

n = 0,5

n = 0,55

n = 0,6

n = 0,65

n = 0,7

n = 0,75

при времени поверхностной концентрации tконц, мин

5

10

5

10

5

10

5

10

5

10

5

10

1. q20 = 20 л/с с 1 га

20

4,5

4,5

4,5

4,5

4,5

4,5

4,5

4,5

4,5

4,5

4,5

4,5

50

4,5

4,15

4,5

4,15

4,5

4,1

4,5

4,05

4,5

4,05

4,5

4

100

4,15

3,75

4,15

3,7

4,1

3,65

4,05

3,6

4,05

3,55

4,05

3,5

300

3,45

3,2

3,4

3,1

3,3

3

3,2

2,9

3,15

2,85

3,1

2,75

1000

2,70

2,6

2,6

2,45

2,5

2,35

2,4

2,25

2,3

2,15

2,2

2

3000

2,1

2

2

1,9

1,85

1,8

1,8

1,7

1,7

1,60

1,6

1,5

10000

1,5

1,45

1,4

1,35

1,3

1,25

1,2

1,15

1,1

1,05

1,05

1

30000

1,1

1,1

0,95

0,95

0,9

0,9

0,85

0,85

0,75

0,75

0,7

0,7

2. q20 = 30 л/с с 1 га

20

4,5

4,35

4,5

4,35

4,5

4,3

4,5

4,3

4,5

4,25

4,5

4,25

50

4,25

3,75

4,25

3,7

4,20

3,65

4,2

3,6

4,15

3,55

4,15

3,5

100

3,75

3,4

3,7

3,3

3,65

3,2

3,6

3,15

3,55

3,05

3,5

3

300

3,1

2,9

3

2,8

2,95

2,7

2,9

2,6

2,8

2,5

2,7

2,4

1000

2,45

2,35

2,35

2,2

2,2

2,1

2,1

2

2

1,9

1,9

1,8

3000

1,9

1,85

1,8

1,7

1,65

1,6

1,55

1,5

1,5

1,35

1,4

1,3

10000

1,35

1,3

1,25

1,15

1,15

1,1

1,05

1

0,95

0,9

0,9

0,85

30000

1

1

0,9

0,9

0,85

0,85

0,75

0,75

0,65

0,65

0,6

0,6

3. q20 = 40 л/с с 1 га

20

4,5

4,1

4,5

4,1

4,5

4

4,5

4

4,5

3,95

4,5

3,9

50

4

3,5

4

3,45

3,95

3,35

3,9

3,25

3,85

3,2

3,8

3,15

100

3,5

3,2

3,45

3,1

3,4

3

3,35

2,95

3,25

2,8

3,2

2,7

300

2,9

2,75

2,8

2,6

2,7

2,5

2,6

2,3

2,5

2,25

2,4

2,1

1000

2,35

2,2

2,2

2,05

2,05

1,9

1,95

1,8

1,9

1,75

1,8

1,6

3000

1,8

1,7

1,7

1,6

1,55

1,45

1,45

1,4

1,3

1,25

1,25

1,2

10000

1,3

1,25

1,1

1,05

1,05

1

1

0,95

0,9

0,85

0,85

0,8

30000

0,95

0,95

0,85

0,85

0,75

0,75

0,7

0,7

0,6

0,6

0,55

0,55

4. q20 = 50 л/с с 1 га

20

4,50

3,90

4,50

3,80

4,50

3,75

4,5

3,7

4,5

3,65

4,5

3,6

50

3,8

3,35

3,75

3,25

3,7

3,15

3,6

3,05

3,55

3

3,5

2,95

100

3,35

3

3,25

2,95

3,15

2,85

3,05

2,75

3

2,65

2,95

2,55

300

2,8

2,6

2,65

2,5

2,55

2,35

2,4

2,2

2,35

2,1

2,2

2

1000

2,2

2,1

2,05

2

1,9

1,8

1,8

1,75

1,7

1,65

1,6

1,5

3000

1,7

1,65

1,55

1,5

1,45

1,4

1,35

1,3

1,25

1,15

1,15

1,05

10000

1,25

1,2

1,1

1,05

1,05

1

0,95

0,9

0,85

0,8

0,75

0,75

30000

0,9

0,9

0,8

0,8

0,75

0,7

0,65

0,6

0,55

0,55

0,5

0,5

5. q20 = 60 л/с с 1 га

20

4,45

3,8

4,45

3,75

4,45

3,65

4,4

3,55

4,4

3,5

4,4

3,45

50

3,7

3,25

3,65

3,15

3,55

3,05

3,45

3

3,4

2,85

3,35

2,8

100

3,25

2,9

3,15

2,8

3,05

2,7

3

2,6

2,9

2,5

2,8

2,4

300

2,75

2,5

2,6

2,35

2,5

2,2

2,3

2,1

2,25

2

2,1

1,9

1000

2,15

2,05

2

1,9

1,85

1,75

1,75

1,65

1,65

1,55

1,55

1,45

3000

1,65

1,6

1,55

1,45

1,4

1,35

1,35

1,25

1,15

1,1

1,1

1,05

10000

1,2

1,15

1,1

1,05

1

0,95

0,9

0,85

0,8

0,75

0,75

0,7

30000

0,9

0,85

0,8

0,75

0,7

0,65

0,6

0,6

0,55

0,5

0,5

0,45

6. q20 = 70 л/с с 1 га

20

4,3

3,7

4,3

3,6

4,25

3,5

4,25

3,45

4,2

3,4

4,2

3,3

50

3,55

3,1

3,5

3,05

3,4

2,95

3,35

2,85

3,25

2,75

3,2

2,7

100

3,15

2,85

3,05

2,7

2,95

2,6

2,85

2,45

2,75

2,35

2,7

2,25

300

2,6

2,45

2,5

2,3

2,35

2,15

2,2

2,05

2,1

1,95

2

1,85

1000

2,05

2

1,95

1,85

1,8

1,75

1,7

1,6

1,6

1,45

1,5

1,35

3000

1,6

1,55

1,5

1,4

1,35

1,3

1,25

1,2

1,1

1,05

1,05

1

10000

1,15

1,1

1,05

1

0,95

0,9

0,85

0,8

0,75

0,7

0,7

0,65

30000

0,85

0,85

0,75

0,75

0,7

0,65

0,6

0,6

0,55

0,5

0,45

0,45

7. q20 = 90 л/с с 1 га

20

4

3,4

4

3,3

3,95

3,2

3,9

3,1

3,85

3,05

3,8

3

50

3,35

2,95

3,25

2,85

3,15

2,75

3,05

2,6

3

2,5

2,9

2,4

100

2,9

2,65

2,8

2,55

2,7

2,4

2,6

2,25

2,5

2,15

2,4

2,05

300

2,45

2,25

2,3

2,15

2,15

1,95

2,05

1,9

1,95

1,8

1,85

1,7

1000

1,9

1,8

1,75

1,7

1,65

1,55

1,55

1,45

1,4

1,3

1,3

1,2

3000

1,45

1,4

1,3

1,25

1,25

1,2

1,15

1,1

1,05

1

0,95

0,9

10000

1,1

1,05

1

0,95

0,85

0,8

0,75

0,7

0,7

0,65

0,65

0,6

30000

0,8

0,8

0,7

0,7

0,6

0,6

0,55

0,5

0,45

0,45

0,4

0,4

8. q20 = 100 л/с с 1 га

20

3,95

3,35

3,9

3,25

3,85

3,15

3,8

3,05

3,75

3

3,7

2,9

50

3,3

2,9

3,2

2,75

3,1

2,65

3

2,5

2,9

2,45

2,8

2,3

100

2,9

2,6

2,75

2,5

2,65

2,3

2,5

2,2

2,4

2,1

2,35

2,05

300

2,4

2,2

2,25

2,1

2,1

1,9

2

1,8

1,9

1,75

1,8

1,65

1000

1,9

1,8

1,75

1,65

1,6

1,55

1,5

1,45

1,4

1,25

1,3

1,15

3000

1,45

1,4

1,25

1,2

1,2

1,15

1,1

1,05

1

0,95

0,95

0,9

10000

1,05

1

0,95

0,9

0,85

0,8

0,75

0,7

0,7

0,65

0,6

0,55

30000

0,8

0,75

0,7

0,65

0,6

0,6

0,5

0,5

0,45

0,45

0,4

0,4

9. q20 = 120 л/с с 1 га

20

3,75

3,1

3,7

3,05

3,6

2,95

3,5

2,85

3,45

2,75

3,4

2,7

50

3,05

2,7

3

2,6

2,9

2,45

2,8

2,3

2,7

2,2

2,6

2,1

100

2,75

2,5

2,65

2,35

2,5

2,2

2,35

2,1

2,25

2

2,1

1,85

300

2,25

2,15

2,15

2

2

1,90

1,9

1,7

1,75

1,6

1,65

1,5

1000

1,8

1,7

1,65

1,5

1,55

1,4

1,45

1,3

1,25

1,2

1,15

1,1

3000

1,4

1,35

1,2

1,15

1,15

1,1

1

0,95

0,95

0,9

0,85

0,8

10000

1

0,95

0,9

0,85

0,8

0,75

0,7

0,65

0,65

0,6

0,55

0,5

30000

0,75

0,75

0,65

0,65

0,55

0,55

0,5

0,5

0,45

0,4

0,4

0,35

10. q20 = 150 л/с с 1 га

20

3,6

3

3,55

2,9

3,45

2,8

3,35

2,7

3,3

2,6

3,2

2,5

50

2,95

2,6

2,85

2,45

2,75

2,3

2,6

2,2

2,5

2,1

2,4

2

100

2,65

2,35

2,55

2,2

2,4

2,05

2,25

1,95

2,15

1,85

2,05

1,7

300

2,15

2

2

1,85

1,85

1,75

1,75

1,65

1,65

1,5

1,55

1,4

1000

1,7

1,6

1,55

1,4

1,45

1,35

1,35

1,25

1,15

1,1

1,1

1,05

3000

1,35

1,3

1,2

1,15

1,1

1,05

1

0,95

0,85

0,8

0,8

0,75

10000

0,95

0,95

0,85

0,85

0,75

0,75

0,7

0,65

0,6

0,6

0,55

0,5

30000

0,7

0,7

0,6

0,6

0,55

0,55

0,45

0,45

0,4

0,4

0,35

0,35

11. q20 = 200 л/с с 1 га

20

3,3

2,75

3,2

2,65

3,1

2,55

3

2,35

2,9

2,25

2,8

2,15

50

2,7

2,4

2,6

2,25

2,45

2,1

2,3

2

2,2

1,9

2,1

1,75

100

2,4

2,2

2,25

2,05

2,1

1,9

2

1,75

1,9

1,6

1,7

1,5

300

2

1,8

1,85

1,7

1,7

1,55

1,6

1,45

1,5

1,25

1,45

1,2

1000

1,6

1,5

1,35

1,3

1,3

1,25

1,2

1,1

1,1

1

1

0,9

3000

1,2

1,15

1,1

1,05

1

0,95

0,90

0,85

0,8

0,75

0,7

0,65

10000

0,9

0,85

0,8

0,75

0,7

0,65

0,6

0,55

0,5

0,5

0,45

0,45

30000

0,65

0,65

0,55

0,55

0,5

0,5

0,4

0,4

0,35

0,35

0,3

0,3

Приложение 3

Карта значений величин интенсивности q20

Приложение 4

Карта значений величин параметра n

Приложение 5

Карта значений величин коэффициента С

 

Приложение 6

Карта районирования снегового стока

Приложение 7

График интенсивностей стока в зависимости от расчетной продолжительности Т и параметра n

Таблица соотношений между некоторыми единицами физических величин, подлежащими изъятию, и единицами СИ

Наименование

величины

Единица

Соотношение

единиц

подлежащая изъятию

СИ

наименование

обозначение

наименование

обозначение

Сила; нагрузка; вес

килограмм -сила

кгс

 

1 кгс ~ 9,8 Н ~ 10 Н

 

тоннасила

тс.

Н

1 тс ~ 9,8×103Н ~ 10кН

 

граммсила

гс

 

1 гс ~ 9,8×103Н ~ 0мН

Линейная нагрузка

килограммсила на метр

кгс/м

ньютон на метр

Н/м

1 кгс/м ~ 10 Н/м

Поверхностная нагрузка

килограммсила на квадратный метр

кгс/м2

ньютон на квадратный метр

Н/м2

1 кгс/м2 ~ 10 Н/м2

Давление

килограммсила на квадратный сантиметр

кгс/см2

 

1 кгс/см2 ~ 9,8×104Па ~ 0,1 МПа

 

миллиметр водяного столба

миллиметр

 

Па

1 мм вод. ст. ~ 9,8 Па ~ 10 Па

 

миллиметр ртутного столба

 

 

1 мм рт. ст. ~ 133,3Па

Механическое напряжение

килограммсила на квадратный миллиметр

кгс/мм2

Па

1 кгс/мм2 ~ 9,8×108Па ~ 107Па ~ 10 МПа

Модуль продольной упругости; модуль объемного сжатия

килограммсила на квадратный сантиметр

кгс/см2

1 кгс/см2 ~ 9,8×104Па ~ 105Па ~ 0,1 МПа

Удельная теплоемкость

калория на граммградус Цельсия

кал/

×°С)

джоуль на килограммкельвии

Дж/(кг´К)

1 кал/(г×°С) ~ 4,2×103 Дж/(кг×К)

 

килокалория на килограммградус Цельсия

ккал/

(кг×°С

 

1 ккал/(кг×°С) ~ 4,2 кДж/(кг×К)

Теплопроводность

калория в секунду на квадратный сантиметрградус Цельсия

кал/

×см2×°С)

Вт(м×К)

1 кал/(с×см2×°С) ~ 420 Вт(м×К)

 

килокалория в час на квадратный метрградус Цельсия

ккал/

×м2×°С)

1 ккал/(ч×м2×°С) ~ 1,16 Вт(м×К)

Коэффициент теплообмена (теплоотдачи); коэффициент теплопередачи

калория в секунду на квадратный сантиметрградус Цельсия

кал/

×см2×°С)

Вт(м2×К)

1 кал/(с×см2×°С) ~ 42 кВт(м2×К)

 

килокалория в час на квадратный метрградус Цельсия

ккал/

×м2×°С)

1 ккал/(ч×м2×°С) ~ 1,16 кВт(м2×К)

Момент силы; момент пары сил

килограммсиламетр

кгс×м

ньютонметр

Н×м

1 кгс×м ~ 9,8 Н×м ~ 10 Н×м

Работа (энергия)

килограммсиламетр

кгс×м

джоуль

Дж

1 кгс×м ~ 9,8 Дж ~ 10 Дж

Количество теплоты

калория

килокалория

кал

ккал

джоуль

Дж

1 кал ~ 4,2 Дж

1 ккал ~ 4,2 кДж

Мощность

килограммсиламетр в секунду

кгс×м/с

Вт

1 кгс×м/с ~ 9,8 Вт ~ 10 Вт

 

лошадиная сила

л. с.

1 л. с. ~ 735,5 Вт

 

калория в секунду

кал/с

 

1 кал/с ~ 4,2 Вт

 

килокалория в час

ккал/ч

1 ккал/ч ~ 1,16 Вт

 

 




ГОСТЫ, СТРОИТЕЛЬНЫЕ и ТЕХНИЧЕСКИЕ НОРМАТИВЫ.
Некоммерческая онлайн система, содержащая все Российские Госты, национальные Стандарты и нормативы.
В Системе содержится более 150000 файлов нормативно-технической документации, действующей на территории РФ.
Система предназначена для широкого круга инженерно-технических специалистов.

Рейтинг@Mail.ru Яндекс цитирования

Copyright © www.gostrf.com, 2008 - 2026