Крупнейшая бесплатная информационно-справочная система онлайн доступа к полному собранию технических нормативно-правовых актов РФ. Огромная база технических нормативов (более 150 тысяч документов) и полное собрание национальных стандартов, аутентичное официальной базе Госстандарта. GOSTRF.com - это более 1 Терабайта бесплатной технической информации для всех пользователей интернета. Все электронные копии представленных здесь документов могут распространяться без каких-либо ограничений. Поощряется распространение информации с этого сайта на любых других ресурсах. Каждый человек имеет право на неограниченный доступ к этим документам! Каждый человек имеет право на знание требований, изложенных в данных нормативно-правовых актах!

  


 

ГОСТ 25244-82

МЕЖГОСУДАРСТВЕННЫЙ СТАНДАРТ

СТЫК УПРАВЛЯЮЩЕГО
ВЫЧИСЛИТЕЛЬНОГО КОМПЛЕКСА

С ПЕРИФЕРИЙНЫМ ОБОРУДОВАНИЕМ
АВТОМАТИЧЕСКИХ ТЕЛЕФОННЫХ
СТАНЦИЙ

ТРЕБОВАНИЯ К ФУНКЦИОНАЛЬНО-ВРЕМЕННЫМ
ХАРАКТЕРИСТИКАМ МАГИСТРАЛИ СТЫКА

ИПК ИЗДАТЕЛЬСТВО СТАНДАРТОВ

Москва

МЕЖГОСУДАРСТВЕННЫЙ СТАНДАРТ

СТЫК УПРАВЛЯЮЩЕГО ВЫЧИСЛИТЕЛЬНОГО КОМПЛЕКСА С ПЕРИФЕРИЙНЫМ ОБОРУДОВАНИЕМ АВТОМАТИЧЕСКИХ ТЕЛЕФОННЫХ СТАНЦИЙ

Требования к функционально-временным характеристикам магистрали стыка

Control computing system and automatic telephone stations peripheral equipment joint. Joint main functional-temporal characteristics requirements

ГОСТ
25244-82

Дата введения 01.07.83

Настоящий стандарт распространяется на магистральный стык между управляющим вычислительным комплексом (УВК) и устройствами сопряжения телефонного периферийного оборудования (УСТПО) автоматических телефонных станций (АТС) с централизованным и иерархическим управлением.

(Измененная редакция, Изм. № 1).

1. ОБЩИЕ ПОЛОЖЕНИЯ

1.1. Стык УВК с УСТПО осуществляют на базе двух или более независимых магистралей передачи информации, состоящих из функциональных линий взаимодействия. Структура подключения УСТПО к УВК на базе двух магистралей показана на черт. 1.

Черт. 1

1.2. Процедуру взаимодействия УСТНО с УВК в системе строят таким образом, что в любой момент времени в обмене информацией по магистрали участвуют только два устройства, связанные между собой как ведущее (управляющее обменом) устройство и ведомое (управляемое) устройство. Ведущим и ведомым устройствами могут быть УВК и УСТПО.

Магистраль используется УВК и всеми УСТПО в режиме разделения времени в соответствии с принятой системой приоритетов устройств. Последовательность занятия магистрали в текущий момент и выбор ведущего устройства на магистрали устанавливает УВК.

1.3. Связь УВК с УСТПО по магистрали асинхронна и определяется последовательностью управляющих сигналов.

1.4. Все линий магистрали по способу передачи сигналов делят на два типа:

- к первому типу относят линии магистрали, используемые для двухсторонней передачи сигналов. К этим линиям все УСТПО подключают параллельно. Этим линиям в физической реализации магистрали соответствует один контакт, к которому подключены как вход, так и выход соответствующих магистральных элементов;

- ко второму типу относят линии, сигналы на которых проходят последовательно через все устройства, подключенные к магистрали. Каждой из этих линий в физической реализации соответствуют два контакта, обозначенные для принимаемого сигнала буквой R, представляемой после названия сигнала (PЗPR, ЗПРК), и Т - для передаваемого сигнала (РЗРТ).

2. ТРЕБОВАНИЯ К ФУНКЦИОНАЛЬНО-ВРЕМЕННЫМ ХАРАКТЕРИСТИКАМ МАГИСТРАЛИ СТЫКА

2.1. Состав и физическая реализация линий магистрали

2.1.1. Магистраль передачи информации состоит из 86 функциональных линий, в том числе:

66 линий обмена данными;

19 линий для выбора ведущего устройства;

одной служебной линии.

Наименование линий магистрали, их условное обозначение, структурные характеристики (источника и приемника сигналов, направленность линий, уровень логической «1» сигнала) приведены в табл. 1.

Таблица 1

Наименование линий (сигналов)

Обозначений линий (сигналов)

Число линий

Источник сигнала

Приемник сигнала

Направленность линий

Уровень логической «1» на линии

1. Линии обмена данными

Адрес

А (19-00)

20

Ведущий

Ведомый

Двунаправленная

Низкий

Данные

Д (31-00)

32

»

Ведомый

»

Ведущий

»

»

»

»

Управление

У (0, 1)

2

Ведущий

Ведомый

»

»

Сопровождение от ведущего

ВДЩ

1

»

»

»

»

Сопровождение от ведомого

ВДМ

1

Ведомый

Ведущий

»

»

Прерывание

ПРЕР

1

УСТПО

УВК

Однонаправленная

»

Контроль

К (0-6)

7

Ведущий

Ведомый

Ведомый

Ведущий

Двунаправленная

»

»

»

Ошибка ведомого

ОШВ

1

»

»

»

»

Зависание

ЗВС

1

Ведущий

Все устройства

»

»

2. Линия передачи управления

Запрос магистрали

ЗПР (0-7)

8

УСТПО

УВК

Однонаправленная

»

Разрешение

РЗР (0-7)

8

УВК

УСТПО

»

Высокий

Подтверждение запроса

ПТЗ

1

УСТПО

УВК

Однонаправленная

Низкий

Занято

ЗАН

1

Ведущий

Все устройства

Двунаправленная

»

Работа

РАБ

1

»

»

»

»

3. Служебная линия

Установка

УСТ

1

УВК

УСТПО

Однонаправленная

Низкий

2.1.2. Любая линия магистрали может находиться в одном из двух возможных состояний: активном и пассивном.

В зависимости от значений напряжений сигнала в пассивном и активном состоянии линии делят на две группы. Значения напряжения сигналов для обеих групп приведены в табл. 2.

Таблица 2

Группа

Состав группы по линиям

Число линий

Напряжение сигнала, В

пассивное (логический «0»)

активное (логическая «1»)

1

РЗР

8

+0,4

2,4

2

А, Д, РАБ, У, ВДЩ, ВДМ, К, ЗВС, ОШВ, ЗПР, ПТЗ, ЗАН, УСТ, ПРЕР

78

2,4

+0,4

2.1.3. Вторая (основная) группа линий магистрали (78 линий) характеризуется представлением логической «1» низким уровнем напряжения.

Линии первой группы характеризуются представлением логической «1» высоким уровнем напряжения. Все линии первой и второй групп должны быть организованы по схеме с параллельным согласованием. В начале и конце каждой линии включаются согласующие резисторы.

Линии второй группы не всегда должны проходить от одного физического конца магистрали до другого. Любая из линий этой группы может прерываться на каждом УСТПО, находящемся на данном уровне приоритета на магистрали, или продолжаться далее, если данное устройство не является источником запроса.

2.1.4. Организация приема - передачи двунаправленного сигнала показана на черт. 2.

(Т) - передаваемый сигнал; (R) - принимаемый сигнал

Черт. 2

Параметры магистральных усилителей должны обеспечивать возможность подключения к УВК не менее 20 УСТПО, удаленных на расстояние до 30 м от УВК.

При передаче сигналов по линиям магистрали на расстояние более 30 м и подключении более 20 УСТПО допускается использовать ретрансляторы магистрали.

2.2. Назначение линий

2.2.1. Линии «Адрес» А (19-00) используются ведущим устройством для выбора ведомого в процессе передачи данных по магистрали. Линии А (19-00) могут использоваться всеми устройствами на магистрали для обращения к ячейкам памяти и регистрам УСТПО, а также ячейкам памяти УВК.

Черт. 3

Устройство, реагирующее на выставленный адрес, является ведомым в данной операции обмена. Формат адресного слова, передаваемого по линиям А (19-00), показан на черт. 3.

Старший разряд адреса передается по линии А (19), младший - по линии А (00).

Допускается уменьшение числа линий А (19-00) до 8. При этом не используются линии со старшими номерами.

2.2.2. Линии «Данные» Д (31-00) используются для передачи информации между устройствами, подключенными к магистрали. Передаваемое по линиям Д (31-00) слово содержит четыре 8-разрядных байта информации. Младший байт передается по линиям Д (07-00), старший байт - по Д (31-24).

Допускается уменьшение числа используемых линий Д (31-00) до 8. При этом не используются линии со старшими номерами. Формат данных, передаваемых по линиям Д (31-00), показан на черт. 4.

Черт. 4

Таблица 3

Код операции обмена

Наименование операции

У0

У1

0

0

Чтение информации

1

0

Запись информации

0

1

Запись - чтение данных

2.2.3. Линии «Управление» У (0, 1) используются ведущим устройством для передачи ведомому кода операции, которую оно должно выполнить.

В табл. 3 приведены коды операций обмена, передаваемые по линиям У (0, 1).

2.2.4. Линия «Сопровождение от ведущего» (ВДЩ) используется для передачи сигнала синхронизации от ведущего устройства ведомому.

Сигнал на линии ВДЩ указывает ведомому устройству, определяемому адресом, установленным на линиях А (19-00), на необходимость выполнения операции, определяемой кодом на линиях У (0, 1).

Сброс сигнала на линии ВДЩ информирует ведомое устройство о том, что ведущее устройство считает операцию передачи данных завершенной.

2.2.5. Линия «Сопровождение от ведомого» (ВДМ) используется для передачи сигнала синхронизации от ведомого устройства к ведущему.

Сигнал на линии ВДМ указывает ведущему устройству о завершении ведомым своей части операции обмена.

Сброс сигнала на линии ВДМ указывает на то, что ведомое устройство зафиксировало сброс сигнала на линии ВДЩ. При выполнении операции «Прерывание» сброс сигнала ВДМ указывает на то, что сброс сигнала ПРЕР был воспринят УВК.

2.2.6. Линия «Прерывание» (ПРЕР) функционально аналогична линии ВДЩ. Сигнал на линии ПРЕР устанавливается УСТПО после того, как оно стало ведущим на магистрали. Сигнал ПРЕР информирует УВК о необходимости произвести прерывание выполнения программы.

2.2.7. Линии «Контроль» К (0-6) предназначены для передачи контрольных разрядов (дополнение до нечетности) для информации, передаваемой по линиям А (19-00), Д (31-00), У (0, 1).

По линии К0 передается контрольный разряд для информации, передаваемой по линиям А (19-16) и У (0, 1).

По линии К1 передается контрольный разряд для информации, передаваемой по линиям А (15-08).

По линии К2 передается контрольный разряд для информации, передаваемой по линиям А (07-00).

По линии КЗ передается контрольный разряд для информации, передаваемой по линиям Д (31-24).

По линии К4 передается контрольный разряд для информации, передаваемой по линиям Д (23-16).

По линии К5 передается контрольный разряд для информации, передаваемой по линиям Д (15-08).

По линии К6 передается контрольный разряд для информации, передаваемой по линиям Д (07-00).

2.2.8. Линия «Ошибка ведомого» (ОШВ) используется ведомым устройством для передачи сигнала об ошибке, обнаруженной ведомым устройством в процессе выполнения операции обмена.

2.2.9. Линия «Зависание» (ЗВС) используется ведущим устройством для информирования всех устройств, подключенных к магистрали, о том, что отсутствует сигнал ВДМ в течение 30 мкс после выдачи сигнала ВДЩ.

2.2.10. Линии «Запрос магистрали» ЗПР (0-7) используются активными УСТНО при выполнении операции «Захват магистрали». Каждой линии ЗПР присвоен уровень приоритета, причем сигнал, передаваемый по линии ЗПР7, имеет наивысший приоритет, а ЗПРО - низший.

Если к одной и той же линии ЗПР подключено более одного периферийного устройства, то устройство, расположенное в электрической цепи ближе к УВК, имеет более высокий приоритет, чем находящийся дальше от него.

2.2.11. Линии «Разрешение» РЗР (0-7) используются УВК для передачи сигналов РЗР (0-7) в ответ на соответствующие сигналы ЗПР (т.е. РЗР7 является ответом на ЗПР7, РЗР6 - ответом на ЗПР6 и т.д.).

2.2.12. Линия «Подтверждение запроса» (ПТЗ) используется УСТПО, выставившим сигнал ЗПР, для информирования УВК о получении сигнала РЗР. УСТПО, установившее сигнал ПТЗ, занимает магистраль по окончании текущего обмена.

2.2.13. Линия «Работа» (РАБ) используется УВК для передачи в УСТПО сигнала, указывающего, по какой из двух магистралей должна осуществляться операция обмена УВК и УСТПО.

При использовании в составе стыка более двух магистралей допускается увеличение числа линий РАБ.

Все сигналы на линиях обмена данными и передачи управления действительны только при наличии сигнала на линии РАБ.

При получении сигнала РАБ по двум магистралям УСТПО осуществляет обмен по обеим магистралям.

2.2.14. Линия «Занято» (ЗАН) используется ведущим устройством для информирования всех устройств, подключенных к магистрали, о том, что магистраль занята.

2.2.15. Линия «Установка» (УСТ) используется УВК для передачи сигнала, устанавливающего все устройства, подключенные к магистрали, в исходное состояние.

2.3. Взаимодействие устройств по линиям магистрали

2.3.1. На магистрали определены два типа взаимодействий между устройствами:

- выбор ведущего устройства;

- обмен информацией.

Выбор ведущего устройства и обмен информацией могут быть совмещены во времени. Передача сигналов по магистрали осуществляется потенциальным или импульсным способом.

2.3.2. Выбор ведущего устройства осуществляет УВК по запросам от УСТПО. Каждому активному УСТПО присваивают один или несколько приоритетных уровней, задаваемых номером линии «Запрос магистрали». Устройство, готовое стать ведущим, выполняет операцию «Захват магистрали» в последовательности, показанной на черт. 5:

- устанавливает сигнал на линию ЗПР своего приоритетного уровня;

- после получения сигнала по соответствующей линии РЗР устанавливает сигнал на линии ПТЗ и снимает сигнал с линии ЗПР. Если в момент установки сигнала на линии ЗПР на входе УСТПО уже был установлен сигнал на линии РЗР, УСТПО ожидает сброса и новой установки сигнала на линии РЗР;

- если сигнал на линии ЗАН отсутствует, УСТПО устанавливает сигнал ЗАН;

- если сигнал на линии ЗАН присутствует, УСТПО ожидает его сброса, после чего само устанавливает сигнал на линию ЗАН.

Сигнал на линии РЗР, устанавливаемый УВК, поступает на вход наиболее приоритетного из УСТПО данного приоритетного уровня. Если УСТПО не готово стать ведущим, оно формирует сигнал РЗРТ на своем выходе, который поступает на вход следующего за ним по приоритету УСТПО на линии данного приоритетного уровня.

tрл - время распространения сигналов по линиям магистрали от УСТПО до УВК; tПТЗ - время ожидания УВК сброса сигнала ПТЗ с момента прихода ЗПР; tзу - задержка сигнала УСТПО при передаче сигнала РЗР последующему устройству; п - число устройств, через которые проходит сигнал РЗР до устройства, выставившего сигнал ЗПР

Черт. 5

2.3.3. Обмен информацией по магистрали начинается в момент установки сигнала на линии ЗАН и состоит из одной или нескольких операций передачи данных.

Операция передачи данных продолжается с момента установки ведущим устройством сигнала на линии ВДЩ или ПРЕР до сброса ведомым устройством сигнала на линии ВДМ.

На магистрали установлены четыре типа операций передачи данных:

«Чтение данных»;

«Запись данных»;

«Запись - чтение данных»;

«Прерывание».

При передаче информации по магистрали возможен разброс во времени прихода сигналов в устройство по различным линиям, даже если они были переданы одновременно. В связи с этим сигнал на линии ВДЩ (признак достоверности информации) устанавливается (сбрасывается) с временной задержкой t = 100 нс относительно информации, которую он сопровождает.

2.3.4. При выполнении операции «Чтение данных» осуществляется передача данных от ведомого устройства ведущему, при этом сигналы по магистрали передаются в последовательности, показанной на черт. 6:

- ведущее устройство ожидает сброса сигнала на линии ВДМ, установленного в предыдущей операции обмена;

- ведущее устройство устанавливает адрес ведомого устройства по линии А (19-00) код, соответствующий операции «Чтение данных» на линии У (0, 1), контрольные разряды на линии К (0-2);

- через t = 100 нс ведущее устройство устанавливает сигнал на линию ВДЩ;

- ведомое устройство, обнаружившее сигнал на линии ВДЩ и опознавшее свой адрес на линиях А (19-00), осуществляет подготовку данных и формирование необходимых признаков для передачи их ведущему устройству. После завершения подготовки информации ведомое устройство устанавливает данные на линии Д (31-00), контрольную информацию на линии К (3-6), сигнал на линию ОШВ, если в процессе обмена ведомым устройством была обнаружена ошибка по четности в принимаемом адресе, и сигнал на линию ВДМ;

- при получении сигнала по линии ВДМ ведущее устройство осуществляет прием информации с линий Д (31-00), К (3-6), ОШВ и осуществляет сброс сигнала на линии ВДЩ;

- через t = 100 нс ведущее устройство прекращает выдачу сигналов на линии А (19-00), У (0, 1) и К (0-2);

- при обнаружении сброса сигнала на линии ВДЩ ведомое устройство прекращает выдачу сигналов по линиям Д (31-00), К (3-6), ОШВ и ВДМ.

tрл - время распространения сигнала по линиям магистрали между ведущим и ведомым устройствами; tчт - время чтения

Черт. 6

При выполнении операции «Запись данных» осуществляется передача данных от ведущего устройства ведомому, при этом сигналы по магистрали передаются в последовательности, показанной на черт. 7:

- ведущее устройство ожидает сброса сигнала ВДМ, установленного в предыдущей операции обмена;

- ведущее устройство устанавливает: адрес ведомого устройства на линии А (19-00); код, соответствующий операции «Запись данных» на линии У (0, 1); данные, передаваемые ведомому устройству на линии Д (31-00); контрольные разряды на линии К (0-6);

- через t = 100 нс ведущее устройство устанавливает сигнал на линию ВДЩ;

- ведомое устройство, опознавшее свой адрес и обнаружившее сигналы на линиях ВДЩ и У (0, 1), осуществляет прием информации с линий Д (31-00) и К (0-6), после чего устанавливает

сигнал на линию ВДМ. На линию ОШВ ведомое устройство устанавливает сигнал совместно с сигналом на линию ВДМ, если в принятой от ведущего устройства информации или адресе обнаружена ошибка по четности;

- ведущее устройство сбрасывает сигнал ВДЩ после обнаружения сигнала на линии ВДМ;

- через t = 100 нс ведущее устройство прекращает выдачу сигналов на линии А (19-00); У (0, 1); К (0-6);

- ведомое устройство снимает сигналы с линии ВДМ и линии ОШВ, если сигнал на линии ОШВ был установлен, при обнаружении сброса сигнала на линии ВДЩ.

tрл - время распространения сигналов по линиям магистрали между ведущим и ведомым устройствами; tзл - время записи информации

Черт. 7

2.3.5. При выполнении операции «Запись - чтение данных» в одном цикле обмена осуществляется передача данных от ведущего устройства ведомому и от ведомого - ведущему. Ведущим устройством в данной операции может быть только УВК. При этом сигналы по магистрали передаются в последовательности, показанной на черт. 8:

- ведущее устройство ожидает сброса сигнала ВДМ, установленного в предыдущей операции обмена;

- ведущее устройство устанавливает: адрес ведомого устройства на линии А (19-00); данные на линии Д (31-00); код соответствующей операции «Запись - чтение данных» на линии У (0, 1); контрольные разряды на линии К (0-6);

- через t = 100 нс ведущее устройство устанавливает сигнал на линию ВДЩ;

- ведомое устройство, опознавшее свой адрес и обнаружившее сигналы на линиях ВДЩ и У (0, 1), осуществляет прием информации с линий Д (31-00) и К (0-6), после чего устанавливает сигнал на линию ВДМ. На линию ОШВ ведомое устройство устанавливает сигнал совместно с сигналом на линию ВДМ, если в принятой от ведущего устройства информации или адресе обнаружена ошибка по четности;

- ведущее устройство сбрасывает сигнал ВДЩ после обнаружения сигнала на линии ВДМ;

- через t = 100 нс ведущее устройство прекращает выдачу сигналов на линии А (19-00), Д (31-00), У (0, 1), К (0-6);

- ведомое устройство устанавливает данные на линии Д (31-00) и контрольную информацию на линии К (3-6);

- через t = 100 нс ведомое устройство снимает сигналы с линии ВДМ и линии ОШВ, если сигнал на ней был установлен;

- через t > 3 мкс ведомое устройство прекращает выдачу сигналов на линии Д (31-00) и К (3-6).

tрл - время распространения сигналов по линиям магистрали между ведущим и ведомым устройствами; tзп - время записи информации

Черт. 8

2.3.6. При выполнении операции «Прерывание» УСТПО, получившее разрешение на управление магистралью, осуществляет передачу команды, прерывающей выполнение текущей программы в УВК, и переход к выполнению программы, адрес которой передается УСТПО в УВК по линиям Д (31-00).

Сигналы, передаваемые по магистрали, при выполнении операции «Прерывание» передаются в следующей последовательности, показанной на черт. 9:

- УСТПО ожидает сброса сигнала на линии ВДМ, установленного в предыдущей операции обмена;

- УСТПО устанавливает сигнал на линию ПРЕР, на линии Д (31-00) адрес программы обработки прерывания, на линии А (19-00) (при необходимости) адрес УСТПО, выставившего прерывание, и контрольную информацию на линии К (3-6).

При обнаружении сигнала на линии ПРЕР УВК осуществляет прием информации с линий Д (31-00), А (19-00), К (3-6) и устанавливает сигнал на линию ВДМ;

УСТПО сбрасывает сигналы с линий Д, А, К и ПРЕР при обнаружении сигнала на линии ВДМ. УВК сбрасывает сигнал с линии ВДМ при обнаружении сброса сигнала ПРЕР.

tрл - время распространения сигналов на линиях магистрали между ведущим и ведомым устройствами; tпр - время, затрачиваемое УВК на фиксацию кода и адреса программы прерывания

Черт. 9

Примечания:

1. На черт. 4 - 9 верхний уровень соответствует установленному сигналу, нижний - сброшенному.

2. Алгоритмы обмена информацией по магистрали приведены в приложении к настоящему стандарту.

ПРИЛОЖЕНИЕ

Справочное

АЛГОРИТМЫ ОБМЕНА ИНФОРМАЦИЕЙ УВК С УСТПО

1. УСТПО, входящие в состав АТС, реализуют алгоритмы обмена:

- алгоритм работы ведомого устройства («Запись данных», «Чтение данных», «Запись - чтение данных»);

- алгоритм работы ведущего устройства («Захват магистрали», «Запись данных», «Чтение данных», «Прерывание»).

2. УВК при обмене информацией с УСТПО реализует следующие алгоритмы:

- алгоритм работы ведущего устройства («Запись данных», «Чтение данных», «Запись - чтение данных»);

- алгоритм работы при передаче управления магистралью;

- алгоритм работы ведомого устройства («Прерывание», «Запись данных», «Чтение данных»).

3. Алгоритм работы ведомого УСТПО

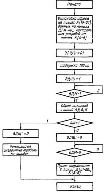
3.1. Ведомое УСТПО участвует только в операциях передачи данных по магистрали. Тип операции, выполняемой ведомым УСТПО, определяется кодом, установленным ведущим устройством (УВК) на линиях У. Алгоритм работы ведомого УСТПО показан на черт. 1.

4. Алгоритм работы ведущего УСТПО

4.1. УСТПО, работающее в режиме ведущего, при организации взаимодействия с УВК осуществляет захват магистрали и выполнение одной или нескольких операций обмена.

Ведущее УСТПО после выполнения операции захвата может осуществить выполнение операций «Прерывание», «Чтение данных», «Запись данных», «Запись - чтение данных».

4.2. При выполнении операций «Чтение данных», «Запись данных», «Запись - чтение данных» УСТПО осуществляет обмен информацией с запоминающими устройствами УВК, подсоединенными к магистрали.

Операции «Чтение данных», «Запись данных», «Запись - чтение данных» могут осуществляться в монопольном и мультиплексном режимах. В мультиплексном режиме УСТПО каждый раз перед выполнением операции обмена осуществляет захват магистрали. В монопольном режиме УСТПО один раз производит операцию захвата магистрали и до окончания обмена удерживает сигнал на линии ПТЗ, запрещая этим УВК осуществлять операцию передачи управления магистралью. По завершении операций «Чтение данных», «Запись - чтение данных», «Запись данных» УСТПО может осуществить выполнение операции «Прерывание».

Алгоритм работы ведущего УСТПО показан на черт. 2 и 3.

5. Алгоритм работы УВК

5.1. Алгоритм работы УВК при выполнении операций «Чтение данных», «Запись данных» аналогичен алгоритму работы УСТПО (см. черт. 1, 2) при выполнении этих операций. Алгоритм работы УВК при выполнении операции «Чтение - запись данных» показан на черт. 4.

5.2. При реализации алгоритма передачи управления магистралью УВК (при отсутствии сигнала на линии ПТЗ) осуществляет анализ наличия сигналов на линиях ЗПР. При обнаружении сигнала на одной из линий ЗПР, УВК формирует сигнал на соответствующей линии РЗР, тем самым разрешая УСТПО, выставившему запрос, захватить магистраль при отсутствии сигнала на линии ЗАН. Алгоритм передачи управления, реализуемый УВК, показан на черт. 5.

5.3. При реализации алгоритма операции «Прерывание», УВК, обнаружив сигнал на линии ПРЕР, осуществляет прием адреса программы прерывания УВК от УСТПО, выставившего прерывание, и осуществляет переход к реализации программы прерывания (черт. 6).

5.4. Если при реализации алгоритмов обмена ведущее устройство обнаружило наличие сигнала на линии ОШВ, оно переходит к реализации алгоритмов обработки ошибок. Алгоритмы обработки ошибок при обмене информацией по магистрали не регламентируются.

Черт. 1

Черт. 2

Черт. 3

Черт. 4

Черт. 5

Черт. 6

ИНФОРМАЦИОННЫЕ ДАННЫЕ

1. УТВЕРЖДЕН И ВВЕДЕН В ДЕЙСТВИЕ Постановлением Государственного комитета СССР по стандартам от 30.04.82 № 1760

2. ВВЕДЕН ВПЕРВЫЕ

3. Ограничение срока действия снято по протоколу № 3-93 Межгосударственного совета по стандартизации, метрологии и сертификации (ИУС 5-6-93)

4. ИЗДАНИЕ (март 2004 г.) с Изменением № 1, утвержденным в декабре 1987 г. (ИУС 3-88)

СОДЕРЖАНИЕ

 

 




ГОСТЫ, СТРОИТЕЛЬНЫЕ и ТЕХНИЧЕСКИЕ НОРМАТИВЫ.
Некоммерческая онлайн система, содержащая все Российские Госты, национальные Стандарты и нормативы.
В Системе содержится более 150000 файлов нормативно-технической документации, действующей на территории РФ.
Система предназначена для широкого круга инженерно-технических специалистов.

Рейтинг@Mail.ru Яндекс цитирования

Copyright © www.gostrf.com, 2008 - 2026