Крупнейшая бесплатная информационно-справочная система онлайн доступа к полному собранию технических нормативно-правовых актов РФ. Огромная база технических нормативов (более 150 тысяч документов) и полное собрание национальных стандартов, аутентичное официальной базе Госстандарта. GOSTRF.com - это более 1 Терабайта бесплатной технической информации для всех пользователей интернета. Все электронные копии представленных здесь документов могут распространяться без каких-либо ограничений. Поощряется распространение информации с этого сайта на любых других ресурсах. Каждый человек имеет право на неограниченный доступ к этим документам! Каждый человек имеет право на знание требований, изложенных в данных нормативно-правовых актах!

  


 

ГОСУДАРСТВЕННЫЙ СТАНДАРТ СОЮЗА ССР

ЕДИНАЯ СИСТЕМА ЗАЩИТЫ ОТ КОРРОЗИИ И СТАРЕНИЯ

КЛЕИ

МЕТОДЫ ИСПЫТАНИЙ КЛЕЕВЫХ СОЕДИНЕНИЙ РЕЗИНЫ
С РЕЗИНОТКАНЕВЫМИ МАТЕРИАЛАМИ И МЕТАЛЛАМИ
НА СТОЙКОСТЬ К ВОЗДЕЙСТВИЮ ЖИДКИХ
АГРЕССИВНЫХ СРЕД

ГОСТ 9.712-86

ГОСУДАРСТВЕННЫЙ КОМИТЕТ СССР ПО СТАНДАРТАМ

Москва

ГОСУДАРСТВЕННЫЙ СТАНДАРТ СОЮЗА ССР

Единая система защиты от коррозии и старения

КЛЕИ

Методы испытаний клеевых соединений резины
с резинотканевыми материалами и металлами
на стойкость к воздействию жидких
агрессивных сред

Unified system of corrosion and ageing protection.

Adhesives. Test methods of adhesive bonds of rubber
with rubber-fabric materials and metals for resistance
to the influence of liquid agressive media

ГОСТ
9.712-86

Взамен
ГОСТ 9.043-75 и ГОСТ 9.063-75

Постановлением Государственного комитета СССР по стандартам от 23 июня 1986 г. № 1749 срок действия установлен

с 01.07.87

до 01.07.92

Несоблюдение стандарта преследуется по закону

Настоящий стандарт распространяется на клеевые соединения резины с резинотканевыми материалами и металлами и устанавливает методы испытаний на стойкость к воздействию жидких агрессивных сред по одному из показателей:

продолжительности испытаний до разрушения образцов (резина - резина, резина - резинотканевый материал, резинотканевый материал - резинотканевый материал) при постоянной статической нагрузке и заданной температуре - метод А;

скорости отслаивания резины от металла при воздействии постоянной отслаивающей нагрузки и заданной температуры - метод Б;

изменению прочности связи резины с металлом после воздействия жидкой агрессивной среды при заданных температуре и продолжительности - метод В.

Методы предназначены для определения работоспособности клеевых соединений в жидких агрессивных средах.

1. МЕТОД А

1.1. Отбор образцов

1.1.1. Образцы для испытаний должны быть изготовлены из одной закладки резины, одной партии резинотканевого материала и одной партии клея.

Способ изготовления образцов устанавливают в стандартах или технических условиях на клеи.

1.1.2. Образцы изготовляют в виде полос длиной (110,0 ± 1,0) мм, шириной (10,0 ± 0,5) мм, склеенных внахлестку (черт. 1).

1 - склеиваемый материал; 2 - клеевое соединение

Черт. 1

1.1.3. Количество образцов для испытаний должно быть не менее пяти.

1.2. Аппаратура, среды

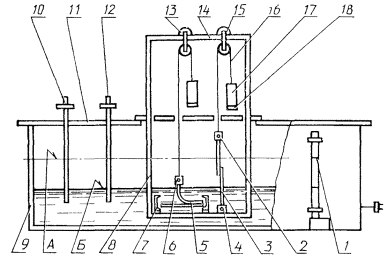
1.2.1. Прибор типа ИКСР-13, рекомендуемая схема которого приведена на черт. 2.

Прибор включает в себя следующие основные узлы:

корпус;

камеру для испытаний, в которую вмонтированы электронагревательные элементы по ГОСТ 13268-83, имеющую сливной штуцер и закрывающуюся крышкой;

уровнемер, состоящий из вентиля, прокладок, чехла, стеклянной трубки, на которой имеются две риски, указывающие объем заполнения камеры средой;

съемный каркас для закрепления образцов. В верхней части каркаса закреплены направляющие, по которым перемещаются каретки; на каретке имеются два ролика. Верхний ролик перемещается по направляющей и вращается вместе с лимбом, шкала которого отградуирована в миллиметрах. По лимбу определяют длину участка, на котором произошло отслаивание склеенных материалов. Через нижний ролик металлическим тросом связаны верхние зажимы образцов с грузами;

система нагружения образцов, состоящая из платформы массой (0,500 ± 0,001) кг и съемных грузов массой (0,500 ± 0,001) кг каждый в количестве 45 шт. Периодичность поверки массы платформы и грузов не реже одного раза в два года;

источник обогрева, включающий электроконтактный термометр по ГОСТ 9871-75 с диапазоном измерения 0 - 150 °С и ценой деления 2 °С и стеклянный термометр по ГОСТ 2823-73 с диапазоном измерения 0 - 100 °С и ценой деления 1 °С.

1 - уровнемер; 2, 6 - верхний зажим для образца; 3, 5 - образец; 4, 7 - нижний зажим для образца; 8 - каркас; 9 - камера для испытаний; 10 - электроконтактный термометр; 11 - крышка; 12 - стеклянный термометр; 13 - каретка; 14 - направляющая каркаса; 15 - ролик; 16 - металлический трос; 17 - груз; 18 - платформа для груза; А - уровень жидкости по методу А; Б - уровень жидкости по методу Б

Черт. 2

Прибор должен обеспечивать:

отслаивание материала под углом (90 ± 5)° и (180 ± 5)°;

поддержание температуры среды с предельнодопустимым отклонением ±2 °С;

усилие отслаивания от 0,5097 Н (0,5 кг) до 5,097 Н (5 кг) с погрешностью ±0,5 %;

измерение длины отслаивания с погрешностью не более 1 мм;

одновременное испытание пяти образцов.

Прибор должен быть изготовлен из материалов, стойких по отношению к среде, в которой проводят испытания.

1.2.2. Часы электрические вторичные показывающие по ГОСТ 22527-77.

1.2.3. Штангенциркуль по ГОСТ 166-80 с погрешностью не более 0,05 мм.

1.2.4. Среды в соответствии с рекомендуемым приложением 1, разд. 1.

1.3. Подготовка к испытаниям

1.3.1. Продолжительность выдержки образцов перед испытаниями устанавливают в стандартах или технических условиях на клеи.

1.3.2. Образцы маркируют с помощью ярлыка, который прикрепляют к образцу у верхнего зажима.

1.3.3. Готовят среду необходимой концентрации. Тип и концентрацию среды устанавливают в соответствии со стандартами или техническими условиями на клеи.

1.4. Проведение испытаний

1.4.1. Температуру среды для испытаний устанавливают в стандартах или технических условиях на клеи, которую выбирают из ряда: 23, 50, 70 и 100 °С.

1.4.2. Камеру заполняют средой по уровнемеру до верхней риски. Включают источник обогрева и нагревают среду до заданной температуры испытаний.

1.4.3. Образцы закрепляют в зажимах каркаса, который помещают в камеру со средой.

1.4.4. Образцы перед испытаниями выдерживают в камере со средой при температуре испытаний (10 ± 1) мин.

1.4.5. Подвешивают к металлическому тросу платформу, на которую помещают груз.

Масса груза с платформой должна быть равна одному из следующих значений: 0,500; 1,000; 2,000; 3,000; 4,000; 5,000 кг.

Массу груза с платформой устанавливают в стандартах или технических условиях на клеи.

1.4.6. Устанавливают шкалу лимба на «0» и начинают отсчет продолжительности испытаний. Окончание испытаний фиксируют падением груза.

Общая продолжительность испытаний не должна превышать 4 ч.

Среду меняют не реже, чем через 8 ч.

1.4.7. Каркас вынимают из камеры, образцы освобождают из зажимов и определяют характер разрушения образцов:

по клею (К);

по границе клей - резина (КР);

по границе клей - ткань (КТ).

1.4.8. Результаты испытаний записывают в протокол испытаний (рекомендуемое приложение 2).

1.5. Обработка результатов

1.5.1. За результат испытаний принимают среднее арифметическое продолжительности испытаний до разрушения не менее пяти образцов, которое вычисляют в соответствии с требованиями ГОСТ 269-66.

1.5.2. Сопоставимыми считают результаты испытаний при одинаковых материалах, способе изготовления образцов, условиях испытаний и типе среды.

2. МЕТОД Б

2.1. Отбор образцов

2.1.1. Образцы для испытаний должны быть изготовлены из одной закладки резины, марки металла и партии клея.

Способ изготовления образцов устанавливают в стандартах или технических условиях на клеи.

2.1.2. Форма и размеры образцов должны соответствовать требованиям ГОСТ 411-77, методы Б и В.

2.1.3. Количество образцов для испытаний должно быть не менее пяти.

2.2. Аппаратура, среды

2.2.1. Аппаратура и среды для испытаний по пп. 1.2.1 - 1.2.4.

2.3. Подготовка к испытаниям - по ГОСТ 411-77.

2.4. Проведение испытаний

2.4.1. Проводят испытания по пп. 1.4.1 - 1.4.5, при этом камеру заполняют средой до нижней риски уровнемера.

Масса груза должна обеспечивать отслаивание резины от металла с участием клеевого соединения со скоростью не менее 2 мм в течение 1 ч.

Устанавливают шкалу лимба на «0» и начинают отсчет продолжительности испытаний.

2.4.2. Продолжительность испытаний устанавливают в стандартах или технических условиях на клеи. После окончания испытания фиксируют на шкале лимба длину участка, на котором произошло отслаивание резины от металла. Образцы освобождают от нагрузки и извлекают из среды.

Среду меняют не реже, чем через 8 ч.

2.4.3. Определяют характер разрушения образцов:

по резине (Р);

по границе резина - клей (РК);

по клею (К);

по границе клей - металл (КМ).

2.4.4. Результаты испытаний записывают в протокол испытаний (рекомендуемое приложение 3).

2.5. Обработка результатов

2.5.1. Скорость отслаивания резины от металла (V) в миллиметрах в минуту вычисляют по формуле

V = ,

где l - длина участка, на котором произошло отслаивание резины от металла, мм;

t - продолжительность испытаний, в течение которой произошло отслаивание резины от металла, мин.

2.5.2. За результат испытания принимают среднее арифметическое результатов испытаний не менее пяти образцов, которое вычисляют в соответствии с ГОСТ 269-66.

2.5.3. Сопоставимыми считают результаты испытаний при одинаковых материалах, способе изготовления и размерах образцов, условиях испытаний и типе среды.

3. МЕТОД В

3.1. Отбор образцов

3.1.1. Образцы должны быть изготовлены, как указано в п. 2.1.1.

3.1.2. Форма и размеры образцов должны соответствовать требованиям ГОСТ 209-75.

3.1.3. Количество образцов для испытаний должно быть:

не менее пяти - для определения исходного показателя;

не менее пяти - для определения показателя после воздействия среды.

3.2. Аппаратура, реактивы, среды

3.2.1. Эксикатор по ГОСТ 23932-79 для испытания образцов в средах при температуре (23 ± 2) °С.

3.2.2. Контейнер, представляющий собой металлический толстостенный цилиндр с крышкой, которая снабжена прокладкой, обеспечивающей герметичность контейнера, для проведения испытаний при повышенном давлении (выше (98 ± 10) кПа) и температуре выше точки кипения, но ниже температуры самовоспламенения среды. Конструкция контейнера должна быть рассчитана на давление, возникающее при испытаниях, с учетом не менее трехкратного запаса прочности. Контейнер и прокладка должны быть изготовлены из материалов, стойких по отношению к среде.

Эксикатор и контейнер должны иметь устройство для подвешивания образцов.

3.2.3. Термостат камерного типа в соответствии с требованиями ГОСТ 209-75.

3.2.4. Часы электрические по п. 1.2.2.

3.2.5. Машина разрывная в соответствии с требованиями ГОСТ 209-75.

3.2.6. Бумага фильтровальная по ГОСТ 12026-76.

3.2.7. Спирт этиловый ректификованный технический по ГОСТ 18300-72.

3.2.8. Бензин-растворитель по ГОСТ 443-76.

3.2.9. Вода дистиллированная по ГОСТ 6709-72.

3.2.10. Среды в соответствии с рекомендуемым приложением 1, разд. 2.

3.3. Подготовка к испытаниям

3.3.1. Образцы перед испытаниями выдерживают как указано в п. 1.3.1.

3.3.2. Образцы маркируют ярлыком и подготавливают в соответствии с требованиями ГОСТ 209-75.

3.3.3. Тип и концентрацию среды устанавливают в соответствии со стандартами или техническими условиями на клеи.

3.3.4. Тип емкости для испытаний устанавливают в зависимости от температуры испытания.

Загрузка емкости не должна превышать 75 % ее вместимости, при этом уровень среды над образцом должен быть не менее 10 мм, а объем среды на один образец должен быть (45 ± 5) см3.

3.4. Проведение испытаний

3.4.1. Определяют исходное значение показателя прочности связи резины с металлом и характер разрушения образца по ГОСТ 209-75.

3.4.2. Образцы размещают в емкости. Расстояние между образцами, а также образцами и внутренними поверхностями емкости должно быть не менее 5 мм.

3.4.3. Заполняют емкость с образцами средой, плотно закрывают и при испытаниях при повышенной температуре помещают в термостат, предварительно нагретый до заданной температуры.

3.4.4. Отсчет продолжительности испытаний начинают с момента погружения образцов в среду.

3.4.5. Температуру среды для испытаний устанавливают из ряда: 23, 50, 70, 100, 125, 150, 175, 200, 250 °С.

Продолжительность испытаний образцов в среде устанавливают из 24, 72, 168 ч (и кратное 168 ч) с допускаемым предельным отклонением ± 1 ч.

Допускается проводить испытания при повышенной температуре циклами с периодическим охлаждением. Не допускается перерыв в испытаниях более 72 ч.

Условия испытаний устанавливают в стандартах или технических условиях на клеи.

3.4.6. Среду меняют не реже, чем в сроки, указанные в рекомендуемом приложении 1. При замене среды емкость перед заполнением очищают, промывают легко испаряющейся жидкостью, растворяющей среду (бензином, этиловым спиртом), просушивают до удаления промывной жидкости.

3.4.7. После испытаний при повышенной температуре емкость с образцами охлаждают до температуры (23 ± 2) °С на воздухе.

Извлекают образцы из емкости и помещают их в сосуд с промывной жидкостью (бензин, этиловый спирт) на (45 ± 15) с.

Промывную жидкость меняют не реже, чем после промывания 50 образцов.

Объем промывной жидкости для 50 образцов должен быть не менее 2 дм3.

3.4.8. Промытые образцы вытирают фильтрованной бумагой и выдерживают от 4 до 24 ч при температуре (23 ± 2) °С в условиях, исключающих воздействие прямых солнечных лучей.

3.4.9. Определяют значение показателя прочности связи резины с металлом и характер разрушения образцов после воздействия среды по ГОСТ 209-75.

3.4.10. Результаты испытаний записывают в протокол испытаний (рекомендуемое приложение 4).

3.5. Обработка результатов

3.5.1. Изменение прочности связи резины с металлом (s) после воздействия среды для каждого образца вычисляют по формуле

s = ,

где s1 - значение показателя до воздействия среды МПа (кгс/см2), определяемое по п. 3.4.1.

s2 - значение показателя после воздействия среды, МПа (кгс/см2), определяемое по п. 3.4.9.

Изменение показателя прочности связи резины с металлом вычисляют при одинаковом характере разрушения образцов до и после воздействия среды.

3.5.2. Сопоставимыми считают результаты испытаний при одинаковых материалах, способе изготовления образцов, условиях испытаний и типе среды.

4. ТРЕБОВАНИЯ БЕЗОПАСНОСТИ

4.1. Помещение для испытаний должно быть оборудовано приточно-вытяжной вентиляцией и соответствовать требованиям ГОСТ 12.1.004-76 и ГОСТ 12.1.005-76.

4.2. При подготовке и проведении испытаний должны соблюдаться типовые правила пожарной безопасности промышленных предприятий, утвержденные ГУПО МВД СССР и установленные ГОСТ 12.3.002-75.

4.3. Аппаратура в части электробезопасности должна соответствовать требованиям ГОСТ 12.1.019-79 и ГОСТ 12.1.030-81.

4.4. Не допускается производить ремонт при включенной в сеть энергопитания аппаратуре.

4.5. Работы с контейнерами должны проводиться в отдельном помещении, в вытяжном шкафу.

4.6. Контейнер должен иметь паспорт с указанием вместимости, даты изготовления, марки металла, способа проверки герметизации, даты очередного испытания на герметичность.

4.7. Работающие должны быть обеспечены резиновыми перчатками, спецодеждой и защитными очками.

4.8. Каждый работающий должен пройти инструктаж по работе с горючими и легковоспламеняющимися веществами, изучить инструкцию по эксплуатации термостата и контейнера, получить допуск к работе.

4.9. На каждом рабочем месте должны быть инструкции по технике безопасности и промышленной санитарии.

ПРИЛОЖЕНИЕ 1

Рекомендуемое

СРЕДЫ, ПРИМЕНЯЕМЫЕ ПРИ ИСПЫТАНИЯХ

1. При испытаниях по методам А и Б применяют:

воду питьевую по ГОСТ 2874-73;

воду дистиллированную по ГОСТ 6709-72;

соль морскую в воде, 5 %-ный раствор (по массе).

2. При испытаниях по методу В применяют среды, приведенные в таблице.

Наименование среды

Сроки замены среды, ч, при температуре, °С

23

50 и 70

100

125

150

175

200

250

Масло Б-3В

1000

500

500

250

180

150

100

-

Масло 36/1-К

1000

500

500

250

180

150

100

-

Масло МС-20 по ГОСТ 21743-76

1000

500

500

250

180

150

100

-

Смесь масла трансформаторного по ГОСТ 982-80 и масла МС-20 в соотношении 20 : 80 (по массе)

1000

250

150

100

50

-

-

-

Масло ВНИИ НП-7 по ГОСТ 12246-66

1000

250

150

100

50

-

-

-

Масло МГЕ-10А

1000

400

-

-

-

-

-

-

Топливо Т-1 или ТС-1 по ГОСТ 10227-62

1000

500

500

500

300

200

50

-

Топливо «нафтил»

1000

500

500

500

300

200

50

24

Жидкость рабочая 7-50с-3 по ГОСТ 20734-75

1000

500

500

300

200

150

24

-

Жидкость НГЖ-4

200

100

100

50

-

-

-

-

Жидкость СЖР-1-

200

150

100

100

50

50

24

24

Жидкость СЖР-2

200

150

100

50

50

24

24

-

Жидкость CЖР-3

200

100

50

24

24

-

-

-

ПРИЛОЖЕНИЕ 2

Рекомендуемое

ПРОТОКОЛ ИСПЫТАНИЙ ПО МЕТОДУ А

Протокол испытаний должен содержать следующие данные:

дату изготовления и начала испытаний образцов;

номер партии резины, резинотканевого материала и клея;

способ изготовления образцов;

количество образцов для испытаний;

условия испытаний (тип среды; температура, °С; масса груза, кг);

характер разрушения образца;

продолжительность испытания до разрушения каждого образца, ч;

средняя продолжительность испытания до разрушения, ч.

ПРИЛОЖЕНИЕ 3

Рекомендуемое

ПРОТОКОЛ ИСПЫТАНИЙ ПО МЕТОДУ Б

Протокол испытаний должен содержать следующие данные:

даты изготовления и начала испытаний образцов;

марки резины, металла и партии клея;

способ изготовления образцов;

количество образцов для испытаний;

условия испытаний (тип среды; температура, °С; масса груза, кг; продолжительность испытаний, мин);

длину участка, на котором произошло отслаивание резины от металла (l) для каждого образца, мм;

характер разрушения образца;

скорость отслаивания резины от металла для каждого образца, мм/мин;

среднюю скорость отслаивания резины от металла, мм/мин.

ПРИЛОЖЕНИЕ 4

Рекомендуемое

ПРОТОКОЛ ИСПЫТАНИЙ ПО МЕТОДУ В

Протокол испытаний должен содержать следующие данные:

даты изготовления и начала испытаний образцов;

марки резины, металла и партии клея;

способ изготовления образцов;

количество образцов для испытаний:

для определения исходного показателя,

для определения показателя после воздействия среды;

условия испытаний (тип среды; температура, °С; продолжительность испытаний, мин);

максимальная сила, МН (кгс);

площадь поперечного сечения образца, см2;

прочность связи резины с металлом каждого образца до воздействия среды, МПа (кгс/см2);

характер разрушения каждого образца до воздействия среды;

среднее значение прочности связи резины с металлом до воздействия среды, МПа (кгс/см2);

прочность связи резины с металлом каждого образца после воздействия среды, МПа (кгс/см2);

характер разрушения каждого образца после воздействия среды;

среднее значение прочности связи резины с металлом после воздействия среды, МПа (кгс/см2);

изменение прочности связи резины с металлом после воздействия среды.

СОДЕРЖАНИЕ

 

 




ГОСТЫ, СТРОИТЕЛЬНЫЕ и ТЕХНИЧЕСКИЕ НОРМАТИВЫ.
Некоммерческая онлайн система, содержащая все Российские Госты, национальные Стандарты и нормативы.
В Системе содержится более 150000 файлов нормативно-технической документации, действующей на территории РФ.
Система предназначена для широкого круга инженерно-технических специалистов.

Рейтинг@Mail.ru Яндекс цитирования

Copyright © www.gostrf.com, 2008 - 2026