Крупнейшая бесплатная информационно-справочная система онлайн доступа к полному собранию технических нормативно-правовых актов РФ. Огромная база технических нормативов (более 150 тысяч документов) и полное собрание национальных стандартов, аутентичное официальной базе Госстандарта. GOSTRF.com - это более 1 Терабайта бесплатной технической информации для всех пользователей интернета. Все электронные копии представленных здесь документов могут распространяться без каких-либо ограничений. Поощряется распространение информации с этого сайта на любых других ресурсах. Каждый человек имеет право на неограниченный доступ к этим документам! Каждый человек имеет право на знание требований, изложенных в данных нормативно-правовых актах!

  


 

ГОСТ 9841-94
(ИСО 5633-84)

МЕЖГОСУДАРСТВЕННЫЙ СТАНДАРТ

Бумага и картон

МЕТОД ОПРЕДЕЛЕНИЯ
ВОДОНЕПРОНИЦАЕМОСТИ

МЕЖГОСУДАРСТВЕННЫЙ СОВЕТ
ПО СТАНДАРТИЗАЦИИ, МЕТРОЛОГИИ И СЕРТИФИКАЦИИ
Минск

Предисловие

1 РАЗРАБОТАН Украинским научно-исследовательским институтом целлюлозно-бумажной промышленности (УкрНИИБ)

ВНЕСЕН Межгосударственным Советом по стандартизации, метрологии и сертификации

2 ПРИНЯТ Межгосударственным Советом по стандартизации, метрологии и сертификации (протокол № 6-94 от 21 октября 1994 г.)

За принятие проголосовали:

Наименование государства

Наименование национального органа по стандартизации

Азербайджанская Республика

Азгосстандарт

Республика Армения

Армгосстандарт

Республика Беларусь

Госстандарт Беларуси

Грузия

Грузстандарт

Республика Казахстан

Госстандарт Республики Казахстан

Киргизская Республика

Киргизстандарт

Республика Молдова

Молдовастандарт

Российская Федерация

Госстандарт России

Республика Узбекистан

Узгосстандарт

3 Настоящий стандарт соответствует международному стандарту ИСО 5633-84 «Бумага и картон. Определение водонепроницаемости», кроме дополнений, внесенных в разделы и пункты: 2; 5; 6.1.1; 6.1.2; 7.1; 8; 9.2 - 9.4; 10.2; 10.3; 11.2; 12, которые в стандарте выделены курсивом

4 Постановлением Государственного комитета Российской Федерации по стандартизации и метрологии от 28 декабря 1998 г. № 464 Межгосударственный стандарт ГОСТ 9841-94 (ИСО 5633-84) введен в действие непосредственно в качестве государственного стандарта Российской Федерации с 1 января 2000 г.

5 ВЗАМЕН ГОСТ 9841-83

СОДЕРЖАНИЕ

ГОСТ 9841-94
(ИСО 5633-84)

МЕЖГОСУДАРСТВЕННЫЙ СТАНДАРТ

Бумага и картон

МЕТОД ОПРЕДЕЛЕНИЯ ВОДОНЕПРОНИЦАЕМОСТИ

Paper and board. Determination of resistance to water penetration

Дата введения 2000-01-01

Свойство бумаги и картона оказывать сопротивление проникновению воды с одной стороны листа на другую достигается поверхностной проклейкой или проклейкой в массе, путем ламинирования водонепроницаемыми материалами и другими способами.

1 Область применения

Настоящий стандарт устанавливает метод определения водонепроницаемости и распространяется на бумагу и картон.

Метод не распространяется на гофрированный картон, но может быть применим к компонентам таких видов картона.

2 Нормативные ссылки

В настоящем стандарте использованы ссылки на следующие стандарты:

ГОСТ 6709-72 Вода дистиллированная. Технические условия

ГОСТ 8047-93 (ИСО 186-85) Бумага и картон. Правила приемки. Отбор проб для определения среднего качества

ГОСТ 13523-78 Полуфабрикаты волокнистые, бумага и картон. Метод кондиционирования образцов

3 Определения

В настоящем стандарте принят следующий термин и определение:

водонепроницаемость - свойство бумаги (картона) не пропускать воду с поверхности одной стороны листа на другую.

4 Сущность метода

Сущность метода заключается в измерении времени, по истечении которого вода проникает через образец бумаги (картона) на другую сторону при условиях, установленных настоящим стандартом.

5 Реактивы

Дистиллированная вода по ГОСТ 6709.

Краситель - эозин (1 г на 1000 см3 воды).

Примечания

1 Допускается применение другого красителя при условии, что его концентрация соответствует концентрации эозина. Применение другого красителя оговаривается в протоколе испытаний.

2 Температура воды должна соответствовать режиму кондиционирования, указанному в нормативной документации на продукцию.

6 Аппаратура

6.1 Для испытаний применяют следующую аппаратуру:

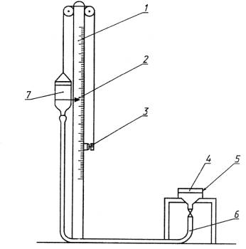
6.1.1 Прибор для определения водонепроницаемости (рисунок 1), который имеет:

1 - шкала с ценой деления 1 мм; 2 - подъемное устройство; 3 - указатель; 4 - зажим; 5 - испытуемый образец; 6 - резиновая трубка; 7 - сосуд для воды

Рисунок 1 - Схема прибора

- цилиндрическую металлическую камеру внутренним диаметром (112,8 ± 0,2) мм, соединенную трубкой с краном для подвода и слива воды. Допускается применение камеры внутренним диаметром (80,0 ± 0,1) мм;

- металлическое съемное кольцо внутренним диаметром (112,8 ± 0,2) мм, обеспечивающим герметичность при зажатии образца. Допускается применение кольца внутренним диаметром (80,0 ± 0,1) мм;

- резиновую прокладку внутренним диаметром (112,8 ± 0,2) мм. Допускается применение прокладки внутренним диаметром (80,0 ± 0,1) мм;

- зажимное устройство;

- манометр водяной, позволяющий измерять давление воды до 1000 мм (9,80 кПа).

Примечание - Допускается применение других типов приборов, принцип измерения которых представлен на рисунке. Применение другого типа прибора отмечают в протоколе испытаний.

6.1.2 Хронометр или другое средство для измерения времени.

7 Отбор проб

7.1 Отбор проб для испытания проводят по ГОСТ 8047 со следующим дополнением: из листов пробы произвольно отбирают четыре листа для испытания.

8 Кондиционирование

Кондиционирование испытуемых образцов проводят по ГОСТ 13523. Режим и продолжительность кондиционирования - по нормативной документации на продукцию.

9 Подготовка к испытаниям

9.1 Подготовку образцов к испытанию проводят в тех же условиях, что и кондиционирование.

9.2 Из каждого листа пробы вырезают по два испытуемых образца размером 175 ´ 175 мм. Допускается вырезать образцы размером (100 ± 2) ´ (100 ± 2) мм.

Примечание - Испытуемые образцы могут быть других размеров в соответствии с конструкцией применяемого аппарата.

9.3 На каждом образце отмечают верхнюю и сеточную стороны.

9.4 Испытуемые образцы не должны иметь складок, вмятин, морщин, дырчатости, минеральных включений, костры.

10 Проведение испытаний

10.1 Испытания образцов бумаги (картона) проводят в тех же условиях, что и кондиционирование.

10.2 Испытывают четыре образца с верхней и четыре с сеточной сторон или четыре с одной из них в соответствии с указаниями нормативной документации на продукцию.

10.3 Испытуемый образец помещают на резиновую прокладку и прижимают его металлическим кольцом к камере. Предварительно поворотом крана пропускают подкрашенную воду и вытесняют воздух, находящийся под образцом. Поступление воды прекращают при достижении гидростатического давления (500 ± 5) мм (4,90 ± 0,05) кПа и включают хронометр.

Испытания могут проводиться и при другом давлении воды в соответствии с указаниями нормативной документации на продукцию.

При испытаниях давление воды поддерживают постоянным. По мере необходимости доливают недостающий объем воды.

Визуально наблюдают и фиксируют время появления первого пятна на поверхности испытуемого образца.

Процедуру повторяют, используя ту же сторону другого образца.

Примечание - В случае проникновения воды на поверхность хотя бы одного образца раньше установленного времени испытание прекращают и считают бумагу (картон) не выдержавшим испытания.

11 Обработка результатов

11.1 Результаты выражают для каждого испытуемого образца:

а) если время до проникновения воды составляет менее 2 ч - с точностью до 1 мин;

б) если время до проникновения воды составляет от 2 до 6 ч - с точностью до 15 мин;

в) если время до проникновения воды составляет от 6 до 24 ч - записывают «от 6 до 24 ч»;

г) если время до проникновения воды составляет от 24 ч до 10 сут - с точностью до одних суток;

д) если время до проникновения воды составляет свыше 10 сут - записывают «более 10 сут».

11.2 Бумагу (картон) считают водонепроницаемой, если в течение времени, установленного нормативной документацией на продукцию, на поверхности каждого испытуемого образца отсутствуют признаки проникновения воды.

12 Протокол испытаний

Протокол испытаний должен включать следующие пункты:

а) ссылку на настоящий стандарт;

б) количество испытуемых образцов;

в) режим кондиционирования;

г) указания относительно испытуемой стороны образцов;

д) результат для каждого испытуемого образца (выраженный в соответствии с разделом 11);

е) гидростатическое давление;

ж) внутренний диаметр камеры или площадь поперечного сечения камеры, если камера нестандартная;

з) детали любых операций, не указанные настоящим стандартом или считающиеся необязательными, которые могут отрицательно повлиять на результаты.

Ключевые слова: метод, определение, водонепроницаемость, стандарт

 




ГОСТЫ, СТРОИТЕЛЬНЫЕ и ТЕХНИЧЕСКИЕ НОРМАТИВЫ.
Некоммерческая онлайн система, содержащая все Российские Госты, национальные Стандарты и нормативы.
В Системе содержится более 150000 файлов нормативно-технической документации, действующей на территории РФ.
Система предназначена для широкого круга инженерно-технических специалистов.

Рейтинг@Mail.ru Яндекс цитирования

Copyright © www.gostrf.com, 2008 - 2026