Крупнейшая бесплатная информационно-справочная система онлайн доступа к полному собранию технических нормативно-правовых актов РФ. Огромная база технических нормативов (более 150 тысяч документов) и полное собрание национальных стандартов, аутентичное официальной базе Госстандарта. GOSTRF.com - это более 1 Терабайта бесплатной технической информации для всех пользователей интернета. Все электронные копии представленных здесь документов могут распространяться без каких-либо ограничений. Поощряется распространение информации с этого сайта на любых других ресурсах. Каждый человек имеет право на неограниченный доступ к этим документам! Каждый человек имеет право на знание требований, изложенных в данных нормативно-правовых актах!

  


 

МИНИСТЕРСТВО ЭНЕРГЕТИКИ
РОССИЙСКОЙ ФЕДЕРАЦИИ

ОТКРЫТОЕ АКЦИОНЕРНОЕ ОБЩЕСТВО
«АКЦИОНЕРНАЯ КОМПАНИЯ ТРУБОПРОВОДНОГО ТРАНСПОРТА
НЕФТЕПРОДУКТОВ «ТРАНСНЕФТЕПРОДУКТ»

ИНСТРУКЦИЯ
ПО ЛИКВИДАЦИИ АВАРИЙ
И ПОВРЕЖДЕНИЙ НА ПОДВОДНЫХ ПЕРЕХОДАХ
МАГИСТРАЛЬНЫХ
НЕФТЕПРОДУКТОПРОВОДОВ

РД 153-39.4-074-01

Москва, 2001

ПРЕДИСЛОВИЕ

1 РАЗРАБОТАНА многопрофильной научно-производственной фирмой (МНПФ) «Санретро» при участии специалистов института проблем транспорта энергоресурсов (ИПТЭР) и ОАО «АК» Транснефтепродукт»: Гумерова А.Г., Векштейна М.Г., Гараевой В.А., Султанова М.Х., Бадритдиновой Г.Р., Идрисова Р.Х., Нефедовой Н.Ф.

2 ВНЕСЕНА Открытым акционерным обществом «Акционерная компания трубопроводного транспорта нефтепродуктов «ТРАНСНЕФТЕПРОДУКТ».

3 СОГЛАСОВАНА Госгортехнадзором России (письмо от 8 сентября 1999 года № 10-03/585), Министерством транспорта России (письмо от 27 декабря 2000 года № АН-3/1403-Ж), Минприроды России (письмо от 26 октября 1999 года № НП-42/5074).

4 УТВЕРЖДЕНА И ВВЕДЕНА В ДЕЙСТВИЕ приказом Минэнерго России от 06.06.01 № 166.

5 ВВОДИТСЯ ВПЕРВЫЕ

СОДЕРЖАНИЕ

1 Общие положения. 1

2 Характеристика возможных аварий и повреждений на ПП МНПП.. 6

3 Организационная структура подразделений, предназначенных для ликвидации аварий и их последствий на подводном переходе МНПП.. 7

4 Порядок взаимодействия с организациями-владельцами коммуникаций, проходящих в одном техническом коридоре, землевладельцами, административными и надзорными органами. 12

5 Ликвидация аварий на ПП МНПП.. 14

6 Техника безопасности. 31

7 Пожарная безопасность. 34

8 Охрана окружающей среды.. 35

Приложение А Перечень технического оснащения патрульной группы.. 37

Приложение Б Техническая характеристика средств малой механизации. 37

Приложение В Краткие технические характеристики течеискателей. 38

Приложение Г Характеристика ледорезных машин. 38

Приложение Д Сводная таблица технических характеристик биопрепаратов. 38

Приложение Е Библиография. 39

1 ОБЩИЕ ПОЛОЖЕНИЯ

1.1 Область применения

1.1.1 Настоящая «Инструкция по ликвидации аварий и повреждений на подводных переходах магистральных нефтепродуктопроводов» (далее РД) устанавливает:

-   виды возможных аварий на подводных переходах магистральных нефтепродуктопроводов, их характерные особенности и причины возникновения;

-   основные положения по организации производства аварийно-восстановительных работ, порядок их выполнения с учетом мер безопасности на подводных переходах магистральных нефтепродуктопроводов.

1.1.2 РД распространяется на подводные переходы действующих магистральных нефтепродуктопроводов, принадлежащие предприятиям топливно-энергетического комплекса, независимо от их принадлежности и форм собственности и расположенные на территории Российской Федерации, а также на территории других государств в части, не противоречащей их законодательству.

1.1.3 РД разработан с учетом действующих нормативных и руководящих документов по ремонту магистральных трубопроводов, результатов законченных научно-исследовательских и опытно-конструкторских работ, а также опыта эксплуатации и их ремонта.

1.1.4 РД обязателен для всех работников акционерных обществ, входящих в акционерную компанию трубопроводного транспорта нефтепродуктов, и других организаций, привлекаемых для ликвидации аварий и производства аварийно-восстановительных работ на подводных переходах магистральных нефтепродуктопроводов или взаимодействующих с предприятиями трубопроводного транспорта нефтепродуктов в части, их касающейся.

1.1.5 При организации АВР на подводных переходах необходимо руководствоваться требованиями настоящего РД и действующими нормами и правилами следующих руководящих документов:

-   Инструкции по ликвидации аварий и повреждений на магистральных нефтепродуктопроводах [1];

-   Правил технической эксплуатации магистральных нефтепродуктопроводов [2];

-   Правил охраны магистральных трубопроводов [3];

-   Положения о взаимоотношении ведомств, коммуникации которых проходят в одном техническом коридоре [4];

-   Правил пожарной безопасности в РФ [5];

-   Типовой инструкции по общим правилам безопасности [6];

-   Правил техники безопасности и промышленной санитарии при эксплуатации магистральных нефтепродуктопроводов [7];

-   Табеля технического оснащения аварийно-восстановительных пунктов магистральных нефтепродуктопроводов [8];

-   Инструкции по производству строительных работ в охранных зонах магистральных трубопроводов [9];

-   Порядка уведомления и предоставления территориальным органам госгортехнадзора информации об авариях, аварийных утечках и опасных условиях эксплуатации объектов магистрального трубопроводного транспорта газов и опасных жидкостей [10];

-   Правил пожарной безопасности для предприятий АК «Транснефтепродукт» [14];

-   Типовой план по организации и технологии работ по ликвидации аварийных разливов нефтепродуктов при авариях и повреждениях переходов магистральных нефтепродуктопроводов через крупные водные преграды [24].

-   Правил по охране труда при эксплуатации магистральных нефтепродуктопроводов [28];

-   Положения о порядке представления, регистрации и анализа в органах Госгортехнадзора России информации об авариях, несчастных случаях и утратах взрывчатых материалов [32];

-   других действующих в ОАО «АК «Транснефтепродукт» ведомственных нормативно-технических документов.

1.2 Нормативные ссылки

В настоящем РД используются ссылки на следующие нормативные документы:

ГОСТ 17.5.1.01-83. Охрана природы. Рекультивация земель. Термины и определения;

ГОСТ 14192-96. Маркировка грузов;

ГОСТ 19179-73*. Гидрология суши. Термины и определения;

ГОСТ 27.002-89. Надежность в технике. Основные понятия. Термины и определения;

ГОСТ 18322-78*. Система технического обслуживания и ремонта техники. Термины и определения.

ГОСТ 26600-85. Знаки и огни навигационные внутренних водных путей. Общие технические условия.

СНиП 2.05.06-85*. Магистральные трубопроводы.

СНиП 3.02.01-87. Земляные сооружения. Основания и фундаменты.

1.3 Определения и принятые сокращения

1.3.1 В настоящем РД приняты следующие термины и определения.

Таблица

№№ п/п

Термин

Определение

Наименование источника

1

Авария

Событие, связанное с возникновением неконтролируемой утечки нефтепродукта в результате разрушения (разгерметизации) трубопровода, запорной арматуры, устройств трубопровода и т.п.

РД 153-39.4-041-99 [2]

2

Аварийный ремонт

Ремонт, обусловленный необходимостью ликвидации аварий и повреждений на трубопроводах

РД 153-39.4-041-99 [2]

3

Донные наносы

Наносы, формирующие речное русло, пойму или ложе водоема и находящиеся во взаимодействии с водными массами

ГОСТ 19179-73*. Гидрология суши. Термины и определения

4

Исправное состояние

Состояние объекта, при котором он соответствует всем требованиям нормативно-технической и (или) конструкторской (проектной) документации

ГОСТ 27.002-89. Надежность в технике. Основные понятия. Термины и определения.

5

Кромка льда

Граница раздела ледяного покрова и открытой водной поверхности

ГОСТ 19179-73*. Гидрология суши. Термины и определения

6

Магистральный нефтепродуктопровод (МНПП)

Трубопровод с избыточным давлением до 10 Мпа, с комплексом подземных, наземных, надземных и подводных сооружений, предназначенный для транспортирования подготовленных в соответствии с требованиями государственных стандартов и технических условий нефтепродуктов от пунктов приема до пунктов сдачи, технологического хранения или перевалки (передачи) на другой вид транспорта

РД 153-39.4-041-99 [2]

7

Майна

Пространство открытой воды в ледяном покрове, искусственно создаваемое для ремонтных работ на ПП МНПП

ГОСТ 19179-73*. Гидрология суши. Термины и определения

8

Межень

Фаза водного режима реки, ежегодно повторяющаяся в одни и те же сезоны, характеризующаяся малой водностью, длительным стоянием низкого уровня, и возникающая вследствие уменьшения питания реки

ГОСТ 19179-73*. Гидрология суши. Термины и определения

9

Надежность

Свойство объекта сохранять во времени в установленных пределах значения всех параметров, характеризующих способность выполнять требуемые функции в заданных режимах и условиях применения, технического обслуживания, хранения и транспортирования

ГОСТ 27.002-89. Надежность в технике. Основные понятия. Термины и определения.

10

Неисправное состояние

Состояние объекта, при котором он не соответствует хотя бы одному из требований нормативно-технической и (или) конструкторской (проектной) документации

ГОСТ 27.002-89. Надежность в технике. Основные понятия. Термины и определения.

11

Неработоспособное состояние

Состояние объекта, при котором значение хотя бы одного параметра, характеризующего способность выполнять заданные функции, не соответствует требованиям нормативно-технической и (или) конструкторской документации

ГОСТ 27.002-89. Надежность в технике. Основные понятия. Термины и определения.

12

Охранная зона МНПП

Территория вдоль МНПП и вокруг технологических объектов МНПП, необходимая для обеспечения безопасной эксплуатации объектов МНПП. Участок земли вдоль трассы МНПП, ограниченный условными линиями, находящимися в 25 м от оси трубопровода с каждой стороны (для однониточного) и в 25 м от осей крайних трубопроводов с каждой стороны - для многониточных трубопроводов

РД 153-39.4-041-99 [2]

13

Охранная зона ПП МНПП

Участок от водной поверхности до дна, заключенный между параллельными плоскостями, отстоящими от осей крайних ниток трубопровода на 100 м с каждой стороны

РД 153-39.4-041-99 [2]

14

Подводный переход магистральных нефтепродуктопроводов (ПП МНПП)

Система сооружений одного или нескольких трубопроводов при пересечении реки или водоема

РД 153-39.4-041-99 [2]

15

Повреждение

Нарушение исправного состояния ПП МНПП при сохранении его работоспособности

РД 153-39.4-041-99 [2]

16

Паводок

Фаза водного режима реки, которая может многократно повторяться в различные сезоны года, характеризуется интенсивным, обычно кратковременным, увеличением расходов и уровней воды и вызывается дождями или снеготаянием во время оттепелей

ГОСТ 19179-73*. Гидрология суши. Термины и определения

17

Пойма

Часть дна речной долины, сложенная наносами и периодически заливаемая в половодье и паводки

ГОСТ 19179-73*. Гидрология суши. Термины и определения

18

Работоспособное состояние

Состояние объекта, при котором значения всех параметров, характеризующих способность выполнять заданные функции, соответствуют требованиям нормативно-технической и (или) конструкторской (проектной) документации

ГОСТ 27.002-89. Надежность в технике. Основные понятия. Термины и определения

19

Ремонт

Комплекс операций по восстановлению исправности или работоспособности объекта и восстановлению ресурсов объекта или их составных частей

РД 153-39.4-041-99 [2]

20

Рекультивация

Комплекс работ, направленных на восстановление продуктивности и народно-хозяйственной ценности нарушенных земель, а также на улучшение условий окружающей среды в соответствии с интересами общества

ГОСТ 17.5.1.01-83. Охрана природы. Рекультивация земель. Термины и определения

21

Сорбенты

Жидкие или твердые вещества, применяемые для поглощения из окружающей среды газообразных, парообразных или растворенных в воде нефтепродуктов

 

22

Техническое состояние

Совокупность определенных величин (параметров), характеризуемых в определенный момент времени признаками (свойствами объекта), установленными технической документацией. Видами технического состояния являются исправное, неисправное, работоспособное, неработоспособное состояния

РД 153-39.4-041-99 [2]

23

Техническое обслуживание

Комплекс операций по поддержанию работоспособности или исправности объекта при использовании по назначению, ожидании, хранении и транспортировании

ГОСТ 18322-78. Система технического обслуживания и ремонта. Термины и определения

24

Технический коридор

Система параллельно проложенных трубопроводов по одной трассе, предназначенных для транспортирования нефти, нефтепродуктов, в том числе сжиженных углеводородных газов, или газа (газового конденсата)

СНиП 2.05.06-85*. Магистральные трубопроводы

1.3.2 В РД используются следующие сокращения.

АК -                Акционерная Компания

АО -               Акционерное общество

АВР -              Аварийно-восстановительные работы

АТХ -             Автотранспортное хозяйство

БЗ -                 Боновое заграждение

ВОХР -           Военизированная охрана

ГК -                Пикет

ГУГПС -        Главное управление Государственной противопожарной службы МВД РФ

ГСМ -             Горюче-смазочные материалы

КР -                Капитальный ремонт

КИК -             Контрольно-измерительная колонка

ЛПДС -          Линейно-производственная диспетчерская станция

ЛФМ -            Ледорезная фрезерная машина

МНПП -         Магистральный нефтепродуктопровод

МДП -            Местный диспетчерский пункт

НП -                Наливной пункт

НСБ -             Нефтесборщик

НТД -             Нормативно-техническая документация

ОАВП -          Опорный аварийно-восстановительный пункт

ПО -               Производственное отделение

ПС -                Перекачивающая станция

ПТО -             Производственно-технический отдел

ПП МНПП -   Подводный переход магистрального нефтепродуктопровода

ППР -             Проект производства работ

ПСД -             Проектно-сметная документация

ПТР -              Подводно-технические работы

ПЛА -             План ликвидации возможных аварий

ПИЛ -             Полевая исследовательская лаборатория

РСУ -             Ремонтно-строительное управление

РСК -             Ремонтно-строительная колонна

РДП -             Районный диспетчерский пункт

РД -                Руководящий документ

РП -                Рабочий проект

СКЗ -              Станция катодной защиты

СДЗ -              Станция дренажной защиты

СИЗ -              Средства индивидуальной защиты

ЭХЗ -              Электрохимическая защита

2 ХАРАКТЕРИСТИКА ВОЗМОЖНЫХ АВАРИЙ И ПОВРЕЖДЕНИЙ НА ПП МНПП

2.1 Виды аварий и повреждений и причины, сопутствующие этим ситуациям, представлены в таблице 1.

Таблица 1

Виды аварий и повреждений

№№ п/п

Виды аварий и повреждений

Характерные особенности

Причины

1

Свищи (одиночные)

Сквозные локальные поражения стенок трубопровода, заводских продольных (спиральных) швов на малой площади

Коррозионный износ трубопровода, накопление коррозионных повреждений в металле трубы, повышенное содержание солей в водоеме, выполняющих роль электролитов, действия физических лиц (засверловка) с целью хищения нефтепродукта

2

Свищи (групповые)

Сквозные поражения стенок трубопровода и продольных (спиральных) швов площадью до 5 мм2

Дефекты сварочных работ, дефекты изоляции, дефекты коррозионного происхождения

3

Трещины

Трещины в стенке или сварных швах трубопровода, на соединительных деталях (переходнике и т.д.)

Концентрация напряжений, обуславливаемых дефектами сварных швов, отклонения геометрического сечения труб выше нормы и т.п., механические повреждения, неудовлетворительные условия опирания на естественные выступы дна или искусственные конструкции

4

Разрывы

Разрывы по целому металлу, по кольцевому монтажному шву, по околошовной зоне заводского (спирального) шва и т.д., сопровождаются деформацией разорванных кромок

Неблагоприятный режим эксплуатации (резкое повышение давления), низкое качество сварных швов (поры, неметаллические включения, непровары, подрезы сварных швов), расслоение металла, макро- и микротрещины, возникающие от задиров, вмятин, царапин и т.п.

5

Пробоины

Нарушение герметичности в теле трубы вследствие внешнего ударного воздействия на трубопровод

Воздействие волокуш, якорей, действия сторонних организаций, чьи трубопроводы находятся в одном техническом коридоре, действия физических лиц

6

Повреждения

Различные по происхождению дефекты стенки трубы в виде местных углублений (каверн, вмятин, забоин), гофр, царапин, задиров (повреждений с зазубренными краями), а также сварных соединений: непровары, поры, шлаковые включения, прожоги, подрезы и т.д.;

дефекты изоляционных покрытий: нарушение сплошности покрытия, гофры, задиры, царапины и др.;

отклонения геометрического сечения труб выше нормы;

Дефекты строительства и изготовления;

размыв ложа трубопровода;

воздействие гидродинамической силы; вибрация трубопровода на провисшем участке;

местная эрозия;

взаимодействие трубопровода с потоком воды;

деформация и изменение проектного положения трубопровода

нарушение устойчивости земляных масс в береговой зоне, вызываемое изменениями прочностных свойств грунтов

2.2 В зависимости от расположения на трубопроводе аварии подразделяются:

-   по основному металлу труб;

-   в сварных соединениях (продольный или поперечный швы);

-   на запорной арматуре;

-   на устройствах трубопровода (вантузы, отборы давления и манометрические сборки, указатель прохождения средств очистки и диагностики и др.).

3 ОРГАНИЗАЦИОННАЯ СТРУКТУРА ПОДРАЗДЕЛЕНИЙ, ПРЕДНАЗНАЧЕННЫХ ДЛЯ ЛИКВИДАЦИИ АВАРИЙ И ИХ ПОСЛЕДСТВИЙ НА ПОДВОДНОМ ПЕРЕХОДЕ МНПП

3.1 Организация ликвидации аварий на ПП МНПП

3.1.1 Аварийно-восстановительная служба АО по ликвидации аварий включает:

-   аварийно-восстановительные пункты, создаваемые на ЛПДС, перекачивающих станциях или наливных пунктах;

-   центральные (опорные) аварийно-восстановительные пункты при производственных отделениях (ПО) и акционерных обществах.

3.1.2 Подразделения АВП для работы на подводных переходах должны быть оснащены в соответствии с «Табелем технической оснащенности служб подводных переходов магистральных нефтепродуктопроводов» [11].

3.1.3 Работы по ликвидации аварий на ПП МНПП должны производиться на основе разработанного ранее, согласованного в установленном порядке и утвержденного главным инженером АО, эксплуатирующего ПП МНПП, плана ликвидации возможных аварий.

3.1.4 План ликвидации возможных аварий должен находиться:

у главного инженера ПО, сменного диспетчера РДП, начальника АВП и других лиц согласно приказу по ПО АО или АО о назначении ответственных за организацию подготовки персонала к ликвидации возможных аварий на МНПП.

У сменного оператора ЛПДС, начальника караула ВОХР и подразделений ОАО «Телекомнефтепродукт» должны находиться выписки из разделов плана, касающиеся этих служб.

3.1.5 Оперативный персонал ЛПДС, ПС, НП (оператор или другой работник), получивший информацию об обнаружении выхода нефтепродукта, размыве берегоукреплений и других повреждений на ПП МНПП, после выполнения в случае необходимости действий, предусмотренных должностными инструкциями, доводит ее до руководства ПО, диспетчера и руководства АО и дальше действует в соответствии с их указаниями.

К проверке принимается вся информация об обнаружении выхода нефтепродукта, независимо от источника поступления.

3.1.6 Информация регистрируется оператором ЛПДС, ПС, НП, диспетчером РДП, которыми принимаются меры по проверке данной информации (проверка и подтверждение технологических параметров перекачки: давления, производительности по участкам нефтепродуктопровода). Все результаты регистрируются и докладываются руководству.

3.1.7 После получения сообщения об аварии, для обнаружения ее точного места и определения характера, руководитель ЛПДС организует сбор и выезд патрульной группы (аварийной бригады).

3.1.8 Все группы индивидуального действия (патрульная по определению района загрязнения и выхода нефтепродукта, группа выполнения работ по ликвидации аварии) должны быть обеспечены двусторонней связью с диспетчером РДП.

3.1.9 Информация о результатах обследования старшим группы (аварийной бригады) передается оператору ПС, диспетчеру РДП, ответственному руководителю работ, назначенному приказом по АО, ПО из числа руководителей АО, ПО, АВС, ЛПДС, ПС. Очередность передачи информации определяется оперативной обстановкой и инструкциями.

3.1.10 Вся информация о ходе работ по ликвидации аварии в начальный период фиксируется диспетчером РДП ПО АО, а при организации штаба по ликвидации аварии эта функция передается назначенному ответственному лицу. В этом случае штаб или назначенное ответственное лицо периодически (но не реже, чем один раз в два часа) информируют о ходе работ на месте аварии диспетчера РДП ПО АО, АО.

3.1.11 Информации об аварии передается диспетчером АО незамедлительно в АК.

3.1.12 Информации об аварии для контролирующих организаций надзора, территориальных органов Минтранса России (государственные бассейновые управления водных путей и судоходства, государственные речные судоходные инспекции бассейнов, отделения Российской транспортной инспекции) и других, передаются за подписью руководства АО или лица, назначенного ответственным за ликвидацию аварии.

3.1.13 О случившейся аварии АО, эксплуатирующее подводный переход МНПП, должно уведомить органы Госгортехнадзора России в соответствии с РД 08-204-98 [10], РД 04-383-00 [32] и со схемой оповещения, приведенной в РД 153-39.4-058-00 [24], если загрязнение любого водотока, реки, озера, водохранилища или другого водоема:

-   превысило установленный стандартами уровень качества или вызвало изменение окраски поверхности воды или берегов, или привело к образованию эмульсии, находящейся ниже уровня воды, или к выпадению осадка на дно и берега;

-   превысило 10 м нефтепродукта по объему утечки.

3.1.14 После определения характера и категории аварии руководством ПО принимается решение о направлении сил и средств для ликвидации аварии (собственными силами, по согласованию с АО, с привлечением сторонних близлежащих организаций).

3.1.15 Организационная структура работ по ликвидации аварии и ее последствий приведена в таблице 2.

3.1.16 Порядок и сроки оформления установленной документации в процессе и после аварии представлены в таблице 3.

3.2 План ликвидации возможных аварий на подводном переходе МНПП

3.2.1 При разработке планов ликвидации возможных аварий должны быть проработаны различные варианты ликвидации аварий с учетом местных условий.

3.2.2 План ликвидации аварий на ПП МНПП должен содержать:

-   оперативную часть;

-   техническую часть.

Таблица 2

Организационная структура обнаружения и ликвидации аварий на ПП МНПП

№№ п/п

Наименование этапов работ

Исполнители

Ответственные лица

Примечание

1

Обнаружение аварии

Обходчики ЛПДС, ПС, НП, АВП, патрульная бригада на транспортном средстве или воздушном судне - визуально; диспетчерская служба - по изменению технологических параметров перекачки продукта

Диспетчер ПО, начальник ЛПДС

 

2

Оповещение должностных лиц АО, АК о случившейся аварии

Диспетчерская служба

Диспетчер ПО

После уточнения правильности сообщения диспетчера патрульной группой

3

Оповещение вышестоящих инстанций и организаций в соответствии с планом ликвидации аварий (ПЛА)

Диспетчерская служба

Руководство АО

4

Поиск точного места аварии и определение характера повреждения

Патрульная группа

Начальник ЛПДС, руководитель АВР

 

5

Подготовка технических средств и ремонтной техники, определение объема потребных материалов, завоз их в район выполняемых работ

Служба АТХ и служба снабжения

Начальник АТХ, начальник отдела снабжения

 

6

Сбор, выезд и доставка персонала с техническими средствами к местам:

- производства АВР на трубопроводе;

- локализации разлитого нефтепродукта на поверхности

Служба АТХ

Специализированные подразделения ПТР

Руководитель АТХ

Руководитель АВР

 

7

Выполнение АВР:

герметизация утечки, опорожнение нефтепродуктопровода от продукта и заливка водой

АВБ, спецподразделения ПТР

Руководитель АВР

 

8

Ликвидация последствий аварийного загрязнения водоема

АВБ

Руководитель АВР

 

9

Расследование причин аварии, определение нанесенного ущерба, оформление необходимой документации

Комиссия по расследованию причин аварии

Председатель комиссии

 

Перечень и сроки оформления установленной документации при ликвидации возможных аварий на ПП МНПП

Таблица 3

№ п/п

Наименование работ

Сроки исполнения

Ответственные за исполнение

Примечания

1 Организация ликвидации и расследование причин аварии

1.1

Издание приказа о назначении ответственного руководителя по ликвидации аварии

2-3 часа после получения сигнала об аварии

Ген. директор АО, нач. ПО, нач. ЛПДС, НП, ПС

В зависимости от категории аварии

1.2

Издание приказа о привлечении соседних ПО АО МНПП к ликвидации аварии

6 часов после получения сообщения о характере аварии

Ген. директор АО МНПП

В зависимости от категории аварии

1.3

Издание приказа об организации комиссии по расследованию причин аварии

В течение 24 часов

Ген. директор АО МНПП

В зависимости от категории аварии

1.4

Выдача наряд-допуска на водолазные работы

По мере производства работ

Лицо, ответственное за ПТР

 

1.5

Расследование причин аварии и выдача заключений

В течение 10 дней. В зависимости от характера аварии и необходимости проведения дополнительных исследований и экспертиз срок расследования может быть увеличен

Председатель комиссии по расследованию

С указанием времени обнаружения места аварии, выезда и приезда АВБ, ликвидации аварии и т.д. согласно соответствующим пунктам акта технического расследования аварий

1.6

Издание приказа по результатам расследования причин аварии

Не позднее 10-ти дней после выдачи заключения о причинах аварии

Ген. директор АО МНПП, нач. ПО, нач. ЛПДС

 

2 Оформление документации о ходе ликвидации аварии

2.1

Ведение оперативного журнала по ликвидации аварии

В течение хода работ

Ответственные за ликвидацию аварии

 

2.2

Изучение исполнительной документации и подбор труб, электродов, оборудования, материалов для ремонта

6-8 часов

ОЭ ПО АО, ОЭ АО

 

2.3

Подготовка сертификатов на материалы, актов опрессовки труб, паспортов на оборудования

6-8 часов

ОЭ ПО АО, ОЭ АО

В зависимости от вида повреждения

2.4

Оформление наряд-допуска на проведение огневых или газоопасных работ

После подготовки места ремонта к ведению огневых работ

Лицо, ответственное за данный вид работ

Независимо от подчиненности, в т.ч. для привлеченных бригад

2.5

Ведение журнала сварки, оформление схемы монтажа участка труб, муфт, задвижек и т.д.

В течение хода монтажных работ

ОЭ ПО АО, ОЭ АО

 

2.6

Оформление результатов просвечивания сварных соединений, выдача заключений о качестве сварных швов

В течение 2-х часов после просвечивания

Нач. ПИЛ

 

2.7

Оформление телефонограммы диспетчеру об окончании монтажных работ и готовности к пуску МНПП

После выдачи заключения по просвечиванию стыков и подготовки МНПП к пуску в работу, включая необходимые технологические переключения

Руководитель работ по ликвидации аварии

При положительных результатах контроля качества сварных соединений

3

Оформление исполнительной технической документации на отремонтированный участок, внесение изменения в паспорт и другую документацию МНПП

От 3-х до 9-ти дней после ликвидации аварии

Нач. отдела эксплуатации АО, ПО

 

3.2.3 Оперативная часть плана ликвидации аварий должна содержать:

-   мероприятия по спасению и защите людей (кратчайшие пути вывоза людей из опасной зоны, населенного пункта, зоны затопления);

-   мероприятия по предотвращению распространения нефтепродукта по воде;

-   мероприятия по обследованию состояния подводного перехода после ликвидации аварии;

-   мероприятия по сбору и утилизации разлитого нефтепродукта;

-   мероприятия по ликвидации последствий разлива нефтепродукта;

-   мероприятия, направленные на предупреждение возникновения пожара;

-   перечень и обязанности лиц, ответственных за выполнение предусмотренных планом мероприятий, и конкретных исполнителей мероприятий;

-   места нахождения средств по спасению людей и ликвидации аварии (противогазы, аптечка, аварийная техника и технические средства, инструменты и материалы);

-   действия лиц технического персонала подразделений АВП (ОАВП, водолазные бригады групп подводно-технических работ и др.), по проведению предусмотренных планом технических мероприятий;

-   схемы отключения поврежденного участка (закрытие задвижек);

-   схемы и порядок расстановки на путях подхода к опасным зонам постов для контроля за пропуском в опасную зону лиц, привлеченных к ликвидации аварии;

-   состав бригады по ликвидации аварии и распределение обязанностей между отдельными ее лицами;

-   порядок оповещения и привлечения при необходимости дополнительного персонала или бригад из других подразделений к ликвидации крупных аварий;

-   местонахождение персонала и оборудования, привлекаемых к работе, способы ускоренного вызова и доставки к месту аварии;

-   списки и обязанности лиц, ответственных за выполнение отдельных подготовительных мероприятий;

-   списки должностных лиц и учреждений, которые должны быть извещены об аварии, порядок их оповещения, телефоны и домашние адреса;

-   оперативный журнал ликвидации аварии.

3.2.4 Техническая часть плана ликвидации аварии должна содержать:

-   перечень необходимой технической документации для организации работ по ликвидации аварии на ПП МНПП;

-   план и профиль участка перехода с указанием глубины залегания; схему подъезда к подводному переходу;

-   виды возможных аварий и методы их ликвидации;

-   перечень необходимых для устранения аварии технических средств в зависимости от ее характера;

-   примерный график выполнения работ по ликвидации аварии.

3.2.5 В планах ликвидации аварий на подводных переходах МНПП должны быть отражены вопросы организации взаимодействия эксплуатирующей организации в чрезвычайных ситуациях с

-   органами местной власти;

-   землевладельцами;

-   владельцами прилегающих к трассе перехода трубопроводов коммуникаций, проложенных в одном техническом коридоре;

-   бассейновым управлением участков водных путей, технические ресурсы которого могут быть использованы при ликвидации аварии;

-   ближайшими авиаотрядами;

-   штабом по делам ГО и ЧС;

-   районным управлением внутренних дел;

-   местными органами ГУГПС МВД России.

3.2.6 Планы ликвидации возможных аварий на ПП МНПП разрабатываются эксплуатирующим МНПП АО, при необходимости с привлечением специализированной проектной организации, на основании топографических съемок береговых участков реки, данных о скоростных потоках реки, с учетом времени доставки средств БЗ, средств сбора разлившегося нефтепродукта к местам ликвидации аварии и ее последствий в летний и зимний периоды года.

3.2.7 Планы ликвидации возможных аварий на ПП МНПП согласовываются с территориальными органами Госгортехнадзора России, ГУГПС МВД России, Минприроды России, Минтранса России, по делам ГО и ЧС, федеральными органами власти, организациями, коммуникации которых проходят в одном техническом коридоре с нефтепродуктопроводом.

3.2.8 Планы ликвидации возможных аварий должны быть тщательно изучены и отработаны всеми лицами, участвующими в организации и проведении работ по обнаружению и ликвидации аварии и ее последствий.

Знание плана проверяется во время учебно-тренировочных занятий.

4 ПОРЯДОК ВЗАИМОДЕЙСТВИЯ С ОРГАНИЗАЦИЯМИ-ВЛАДЕЛЬЦАМИ КОММУНИКАЦИЙ, ПРОХОДЯЩИХ В ОДНОМ ТЕХНИЧЕСКОМ КОРИДОРЕ, ЗЕМЛЕВЛАДЕЛЬЦАМИ, АДМИНИСТРАТИВНЫМИ И НАДЗОРНЫМИ ОРГАНАМИ

4.1 При получении информации об аварии на ПП МНПП АО обязано незамедлительно уведомить об этом по телефону территориальный орган Госгортехнадзора России, осуществляющий надзор за МНПП, а также направить в его адрес информацию в письменном виде [10], [32].

4.2 Не позднее 30 дней после даты обнаружения аварии или аварийной утечки АО, эксплуатирующее подводный переход МНПП, согласно [10] должно направить в адрес территориального органа Госгортехнадзора России отчет по установленной в [10] форме.

4.3 При получении информации об аварии на ПП МНПП, проходящем в одном техническом коридоре с другими коммуникациями, лицо, руководитель работ по ликвидации аварии (самостоятельно или через диспетчера ПО АО, АО), сообщает о случившемся организациям - владельцам этих коммуникаций по телефону согласно прилагаемому к ПЛА списку.

4.4 Диспетчер и организации-владельцы коммуникаций действуют согласно Плану ликвидации возможных аварий и Положению о взаимоотношениях [4].

4.5 При получении сообщения об аварии на ПП МНПП руководитель работ по ликвидации аварии, диспетчер или руководитель ПО АО, АО действуют в зависимости от тяжести аварии и возможных ее последствий.

При аварии с последствиями I-II категории руководитель работ по ликвидации аварии должен:

-   вызвать ответственных представителей владельцев коммуникаций на место аварии;

-   создать объединенный штаб по ликвидации последствий аварии с включением в него представителей владельцев коммуникаций;

-   запросить при необходимости от организаций-владельцев коммуникаций техническую помощь для участия в ликвидации аварии;

-   действовать в соответствии с согласованными ранее инструкциями, принимать меры, направленные на организацию устранения имеющейся опасности выхода из строя коммуникаций, проходящих в одном техническом коридоре;

-   составить, при необходимости, и согласовать план-график производства совместных работ по ликвидации последствий аварии;

-   организовать совместно с представителями организаций устранение последствий аварии;

-   организовать безопасные условия работ для работников, прикомандированных для оказания помощи, согласно существующим правилам;

-   оформлять в установленном порядке наряд-допуски, разрешения на выполнение огневых и газоопасных работ привлеченными организациями;

-   составить совместные акты о выполненных работах по устранению последствий аварии и причиненном ущербе владельцам сооружений технического коридора вследствие аварии.

4.6 При аварии с последствиями II-й категории (с минимальными возможными последствиями, влияющими на окружающую среду), при отсутствии угрозы соседним коммуникациям и объектам, лицо, диспетчер или руководитель работ по ликвидации аварии (или лицо, уполномоченное им) по согласованию с руководителем ПО АО, АО сообщают о случившемся:

-   местным органам власти - главе или дежурному администрации района (города), поселка, села;

-   представителям Минприроды России;

-   инспектору по надзору за МНПП;

-   представителям ГУГПС МВД России;

-   представителям Минтранса России (государственные бассейновые управления водных путей и судоходства, государственные речные судоходные инспекции бассейнов, отделения Российской транспортной инспекции);

-   землевладельцу.

4.7 При авариях с последствиями I-й категории (с возможными последствиями, влияющими на окружающую среду, с попаданием разлившегося нефтепродукта в реку, при наличии угрозы соседним коммуникациям), руководитель ПО АО, АО или по его поручению руководитель работ по ликвидации аварии сообщают о случившемся:

-   местным органам власти - главе или дежурному администрации района (города), поселка, села (по месту аварии);

-   в соответствующие структуры МЧС России (подразделения по делам ГО );

-   в территориальные органы Госгортехнадзора России, СЭН, Энергонадзора России, курирующие рассматриваемый переход МНПП;

-   представителям Минприроды России, ГУГПС МВД России Госкомрыболовства России, Минтранса России (государственные бассейновые управления водных путей и судоходства, государственные речные судоходные инспекции бассейнов, отделения Российской транспортной инспекции) инспекции водных путей (для судоходных рек);

-   землевладельцу.

Взаимодействие с ними производится в зависимости от конкретной обстановки на месте аварии.

4.8 При авариях с последствиями I-й категории, попаданием нефтепродукта в реку и водоемы, при наличии угрозы соседним коммуникациям, ближайшим населенным пунктам, сооружениям руководство АО организует сообщение об аварии всем организациям и местным органам власти согласно перечню, приведенному в ПЛА.

4.9 В зависимости от создавшейся ситуации руководитель ПО АО, АО или по его поручению руководитель работ по ликвидации аварии организует:

-   штаб по ликвидации последствий аварии с включением в его состав представителей владельцев сооружений технического коридора, ГО района, УВД, землевладельца, инспекции и служб городской (районной) администрации, назначенных этими организациями;

-   подключение, при необходимости, сил и средств ГО для эвакуации населения и вывоза имущества из опасных зон, оповещение (совместно с местными органами власти) населения об опасности;

-   охрану мест разлива нефтепродукта с привлечением сил УВД;

-   выполнение работ по предупреждению и тушению пожара, при необходимости, силами привлеченных частей УВД в случае загораний;

-   взаимодействие с представителями инспекций водных путей (для судоходных рек), по рыбнадзору и др. (в целях обеспечения оперативного и безопасного ведения работ по ликвидации аварии);

-   разработку совместно с организациями, привлекаемыми к ликвидации аварии, дополнительных мероприятий в зависимости от ситуации, направленных на уменьшение потерь от аварии и охрану окружающей среды.

5 ЛИКВИДАЦИЯ АВАРИЙ НА ПП МНПП

5.1 Ликвидация аварии на ПП МНПП включает следующие этапы работ:

-   обнаружение места аварии;

-   подготовительные работы;

-   локализация и сбор разлившегося нефтепродукта и выполнение аварийно-восстановительных работ на ПП МНПП;

-   ликвидация последствий аварии.

5.2 Обнаружение места аварии

5.2.1 При получении сигнала об аварии на ПП МНПП (по падению давления в трубопроводе, при обнаружении следов выхода продукта на поверхность водоема, реки и т.д.) диспетчер должен действовать согласно плана ликвидации возможных аварий, оповестить руководство ПО АО и принять меры необходимые по отключению ПП МНПП запорной арматурой, выслать патрульную группу для контрольного осмотра подводного перехода.

5.2.2 Патрульная группа, выезжающая на контрольный осмотр ПП МНПП должна быть обеспечена средствами индивидуальной защиты, сигнальными знаками для ограждения места разлива нефтепродукта, необходимым инструментом, инвентарем, материалами и средствами связи.

В группе назначается старший (руководитель).

Перечень технической оснащенности патрульной группы приведен в приложении А.

5.2.3 При обнаружении следов выхода нефтепродукта на поверхность патрульная группа должна:

-   немедленно сообщить о месте и характере выхода нефтепродукта начальнику ЛПДС (диспетчеру);

-   по согласованию с диспетчером закрыть задвижки, отсекающие переход через реку на обоих берегах (если они не закрыты);

-   оградить место аварии знаками, запрещающими приближение людей и техники;

-   разведать подъезды к руслу реки, выбрать место для установки боновых заграждений;

-   сообщить диспетчеру или руководству ЛПДС уточненный маршрут к месту аварии;

-   действовать по прибытию аварийных бригад в их составе согласно плану ликвидации возможных аварий.

5.2.4 Диспетчер РДП по согласованию с руководством ПО одно, временно с наземным контрольным осмотром места аварии патрульной службой, в течение 1 часа в рабочее время и не позднее 2-х часов в нерабочее время может организовать отправку вертолетов для доставки группы воздушного патрулирования. Патрульная группа оснащается также, как и наземная (см. п. 5.2.2, приложение А).

5.2.5 Обнаружение точного места дефекта на ПП МНПП при малых утечках может производиться с помощью течеискателей АЭТ-1 МСС, ТЭА-11 или другими приборами, а также визуально при водолазном обследовании.

5.3 Подготовительные работы

5.3.1 Проведению АВР на ПП МНПП предшествуют подготовительные организационно-технические мероприятия и работы, предусмотренные РД 153-112-014-97 [1] и, кроме того, другие работы, обусловленные спецификой производства АВР на подводных переходах:

-   водолазное обследование зоны разработки грунта и очистка ее от топляков, деревьев, пней, кустарника, металлического лома и камней;

-   установка вех и светящихся буев для обозначения положения трассы ПП МНПП, места отвала грунта, расположенного вблизи судоходного фарватера (в зимнее время - колышками на льду);

-   прокладка по дну троса, служащего водолазу ориентиром (трос окрашивают в белый цвет).

5.3.2 Подготовка, организация и проведение водолазного обследования, а также конструкция снаряжения должны соответствовать требованиям РД 31.84.01-90 [21].

5.3.3 Подготовительные работы и мероприятия выполняются в соответствии с утвержденным планом ликвидации возможных аварий, РД 153-112-014-97 [1], инструкциями по эксплуатации используемых технических средств, а также требованиями безопасности, регламентируемыми действующей НТД в системе магистрального транспорта нефтепродуктов.

5.4 Ремонт дефектного участка подводного перехода трубопровода

5.4.1 Конкретный способ ремонта дефектного участка ПП МНПП выбирается в зависимости от вида и месторасположения дефекта, ширины пересекаемой водной преграды, наличия резервной нитки и др. условий.

5.4.2 Ремонт дефектного участка в подводной части трубопровода включает следующие виды работ:

-   подводные земляные работы и ликвидация повреждения;

-   освобождение аварийного участка от нефтепродукта и промывка его водой;

-   очистка дефектного участка от старого покрытия (футеровки, изоляции);

-   герметизация места повреждения или замена дефектного участка;

-   изоляция трубопровода.

5.4.3 В зависимости от принятой схемы ремонта земляные работы могут включать:

-   планировку или устройство площадок для размещения ремонтной техники и обустройство подъездных путей;

-   вскрытие ремонтируемого трубопровода в русловых и береговых участках;

-   устройство земляного амбара или котлована для складирования откачиваемого продукта из аварийного участка нефтепродуктопровода;

-   устройство ремонтного котлована;

-   засыпку отремонтированного участка.

5.4.4 Устройство площадки для размещения необходимых технических средств для выполнения АВР и устройство земляного амбара или обвалования для сбора нефтепродукта осуществляются в береговой зоне в соответствии с требованиями РД 153-112-014-97 [1].

5.4.5 Земляные работы по вскрытию подводного трубопровода в месте расположения дефекта производятся, как правило, с помощью передвижных насосных установок со сменными рабочими органами (гидромониторов, грунтососов, гидроэжекторов и др.).

5.4.6 При принятии решения о замене участка ПП МНПП большой протяженности, прокладки новой нитки, ремонте с подъемом над поверхностью воды, земляные работы проводятся такими же средствами, что и при строительстве.

5.4.7 При выборе типа механизма для подводной разработки траншеи необходимо учитывать:

-   физико-механические свойства грунтов;

-   характеристику водной преграды (ширину, глубину, скорость течения, волнения, судоходность);

-   технические и технико-экономические показатели применяемых средств;

-   условия транспортировки грунта в места отвалов с учетом требований охраны окружающей среды;

-   возможность доставки техники на ремонтируемый переход.

5.4.8 До начала производства подводных земляных работ должны быть выполнены подготовительные работы, указанные в п. 5.3.1.

5.4.9 Так как отрываемая траншея (ремонтный котлован) под действием движения донных отложений заносится грунтом, в плане ликвидации возможных аварий должен быть указан расчетный суточный объем наносов, откладывающихся по всей длине траншеи на русловом участке со средними скоростями 0,5 м/с и более. Общая суточная производительность землеройных машин, работающих на этом участке, должна не менее чем в 2 раза превышать расчетный суточный объем наносов, откладывающихся по всей длине траншеи.

5.4.10 Ширину траншей по дну без учета заносимости определяют по формуле

,

где

Dн - наружный диаметр вскрываемого трубопровода с учетом изоляции и футеровки;

Δbв - расстояние от поверхности конструкции трубопровода подошвы откоса, необходимое для работы водолаза или аквалангиста, принимаемое равным 0,7 м;

Δbр - производственные отклонения размеров разрабатываемой траншеи от проектных величин согласно СНиП 3.02.01-87, для земснарядов и гидроэжекторов составляет 1,2-1,6 м;

Δbt - отклонение оси трубопровода от оси траншеи.

Таблица 4

Крутизна откосов подводных и береговых траншей

Наименование грунтов

Подводные траншеи

Береговые траншеи

глубина, м

до 2,5

более 2,5

до 2,5

более 2,5

Пески пылеватые и мелкие

1:2,5

1:3

-

-

Пески мелкие

 

 

1:1,15

1:2

Пески средней крупности

1:2

1:2,5

1:1,25

1:1,5

Пески неоднородного зернового состава

1:1,8

1:2,3

 

 

Пески крупные

1:1,5

1:1,8

1:1,25

1:1,5

Пески гравийные и галечниковые

1:1

1:1,5

1:0,75

1:1

Супеси

1:1,5

1:2

-

-

Суглинки

1:1

1:1,5

1:0,67

1:1,25

Глины

1:0,5

1:1

1:0,5

1:0,75

Предварительно разрыхленный скальный грунт

1:0,5

1:1

1:0,25

1:0,25

Заторфованные

по проекту

по проекту

-

-

В соответствии с указанными размерами дна траншеи и учетом крутизны откоса, принимаемой по таблице 4, определяется суммарный объем разрабатываемой траншеи, необходимый для выполнения ремонтно-восстановительных работ на ПП МНПП.

5.4.11 При разработке траншеи гидромонитором, гидроэлеватором или эрлифтом водолазом устраивается забой, направлением струи вниз под углом 40-50 град. к горизонтальной поверхности.

5.4.12 При отрицательных температурах разработка подводного грунта выполняется при условии:

-   утепления рабочих мест и вспомогательных трубопроводов;

-   устранения течей воды в стыках трубопроводов, из задвижек и клапанов;

-   готовности технических средств для устройства и поддержания майн и для выполнения ледокольных работ.

5.4.13 Для сохранения в районе работ незамерзающей майны на дно укладываемой трубы с отверстиями до 2 мм просверленными с интервалом 0,5-1 м, через которые подается сжатый воздух от компрессора или незамерзающая акватория в зоне работы механизмов поддерживается с помощью потокообразователя, пневматической установки или подачи на акваторию теплоносителя (пара или горячей воды).

5.4.14 Для транспортировки грунтосмеси зимой по пульпопроводу на льду в местах его шарнирных соединений устраиваются санные полозья.

5.4.15 Для предупреждения промерзания пульпопровода и образования в нем пробок, пульпопровод укладывается с уклоном, а также промывается чистой водой перед каждой остановкой.

5.4.16 Разработку грунта небольшими земснарядами рекомендуется вести с санного основания, которое представляет собой рамную конструкцию, изготовленную из труб. При этом необходимо определить грузоподъемность льда.

Толщина льда для безопасного размещения груза при отсутствии вблизи вскрытых майн и трещин определяется с помощью формулы:

h = (13...15) · Р,

где

h - толщина покрова (льда), см;

P - вес груза, установленного на лед, т.

Допустимая толщина монолитного льда при перемещении по нему людей и транспорта приведена в таблице 5.

Таблица 5

Допустимая толщина монолитного льда при перемещении по нему людей и транспорта

Наименование груза

Вес, т

Толщина льда при температуре от -1 до -20 °С (пресного), см

Минимальное расстояние до кромки льда, м

Человек с ношей

0,1

10

5

Гужевой транспорт

1,2

20

11

Автомашина с грузом

3,5

25

19

То же

6,5

35

25

То же

10,0

40

26

Трактор с грузом

20,0

55

30

То же

40,0

95

38

Допустимая толщина монолитного льда при перемещении по нему людей и транспорта.

5.4.17 Засыпается ремонтный котлован под водой методом рефулирования.

Для уменьшения уноса грунта на несудоходных реках небольшой глубины применяют систему направляющих, состоящих из отдельных секций, подвешенных друг к другу.

Грунт подается с берега через приемный бункер, работающий по принципу эжектирования и транспортировки по пульпопроводу. Бункер загружается с помощью бульдозера или экскаватора.

Освобождение аварийного участка ПП МНПП от нефтепродукта и промывка его водой

5.4.18 Работы по опорожнению аварийного участка ПП нефтепродуктопровода от продукта и промывка его водой необходимо выполнять в следующей последовательности:

-   закрыть береговые задвижки, отсекающие аварийный участок;

-   врезать вантузы и подготовить обвязку для откачки нефтепродукта в резинотканевый резервуар или закачки его в параллельный трубопровод, закачки воды (воздуха);

-   подготовить котлован или емкость для сбора нефтепродукта;

-   подсоединить необходимые механизмы и оборудование;

-   вытеснить нефтепродукт из трубопровода в параллельный трубопровод или котлован путем принудительной подачи воды (воздуха) в аварийный участок (или иным способом).

Одна из возможных схем вытеснения нефтепродукта в параллельный трубопровод представлена на рисунке 1.

5.4.19 В зависимости от характера аварии и от местных условий для сбора вытесненного нефтепродукта и водоэмульсионной нефтепродуктопроводной смеси могут использоваться следующие емкости и сооружения:

-   резервуарные парки близлежащих перекачивающих станций;

-   неповрежденные участки аварийного трубопровода или параллельно проложенные трубопроводы;

-   земляные амбары, котлованы, обвалования или ямы-накопители;

-   мягкие резинотканевые резервуары или другие емкости. Вытесненный из аварийного участка нефтепродукт заменяется водой.

5.4.20 Решение о виде ремонта аварийного участка принимается в зависимости от вида дефекта и конструктивной особенности ПП МНПП, степени его загрузки.

5.4.21 Перед проведением работ по герметизации необходимо уравновесить внутреннее гидростатическое давление, т.к. избыточное давление способствует образованию зоны нарушения адгезионной связи (при ремонте клеевыми композициями).

5.4.22 В зависимости от характера повреждения трубы применяются методы герметизации, представленные в таблице 6.

Рисунок 1. Схема опорожнения аварийного участка со сбросом вытесненного нефтепродукта в параллельный трубопровод:

1 - передвижной насосный агрегат; 2 - насос; 3-8 - отключающие задвижки; 9 - обратный клапан; 10 - поролоновый разделитель; 11-12 - вантуз

Схема расстановки машин и механизмов при герметизации поврежденного участка трубопровода представлена на рисунке 2.

5.4.23 Работы по герметизации дефектов с применением клеевых композиций включают следующие этапы:

-   разметка ремонтируемого участка и очистка от старого покрытия;

-   установка кондуктора, обеспечивающего точное размещение заплаты и элементов крепления (рисунок 3);

-   подгонка заплаты по всему профилю дефектного участка (зазор не более 0,5 мм, а длина нахлеста не менее 50 мм);

-   покрытие заплаты и ремонтируемого участка слоем клея;

-   накладывание заплаты на дефектное место с небольшими возвратно-поступательными движениями в разные направления;

-   фиксация заплаты 4-8 слоями стеклоленты или металлическими хомутами;

-   восстановление нарушенной изоляции;

-   испытание отремонтированного участка [12].

Таблица 6

Методы герметизации

№№ п/п

Характер повреждения

Метод ремонта

1

Свищ или трещина длиной менее 50 мм

Установка пробок (рисунок 4), аварийных хомутов, разъемных зажимов (рисунок 5), заплаты с последующим бандажированием [12].

2

Свищ площадью более 5 см2

Накладка на дефектный участок металлической пластины толщиной 0,5-0,2 мм с перекрытием дефекта на 5-10 мм на сторону, далее формирование под водой пластыря путем вырезки склеивания из холста 4-8 заготовок размером на 150-200 мм больше дефекта

3

Свищ более 10 см2

Накладка пластыря: на неотвердевший пластырь накладывается стеклопластиковый бандаж или постоянный металлический хомут (разъемный зажим). Накладка заплаты из листовой стали толщиной 1-2 мм, алюминиевой фольги 0,05 мм или из стекловолокнистого материала с прихваткой ленточными хомутами

4

Наличие на небольшом участке нескольких свищей или значительная длина дефекта на трубе

Установка муфты (рисунок 6), которую заливают клеевым компаундом [12]

5.4.24 Аварийный ремонт подводного трубопровода с заменой дефектного участка может выполняться:

-   с использованием конструкции «труба в трубе»;

-   с заменой дефектного участка:

-   с подъемом участка ПП над поверхностью воды (льда);

-   с применением кессонов (полукессонов).

Рисунок 2. Схема расстановки машин и механизмов при герметизации поврежденного участка трубопровода:

1 - ремонтируемый трубопровод; 2 - плавучая площадка; 3 - водолазный бот; 4 - шлюпка; 5 - передвижная насосная установка; 6 - грузоподъемное устройство; 7 - буй

Рисунок 3. Установка кондуктора

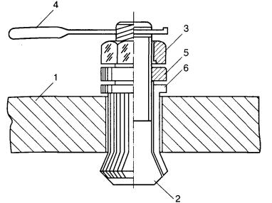
Рисунок 4. Конструкция заглушки для герметизации свищей в трубопроводе:

1 - стенка трубы; 2 - болт с конической головкой; 3 - гайка; 4 - держатель; 5 - шайба; 6 - уплотняющая втулка

5.4.25 Замена поврежденных участков под водой осуществляется с помощью кессона, с двумя вариантами входа и выхода:

через шахтный колодец (сухой способ);

со дна (мокрый способ).

Кессоны рассчитаны для работы на глубинах до 10 м, если водолазы спускаются с поверхности воды, и до 30 м - при их входе в кессон со дна.

Для работы с кессонами необходимо оборудование, обеспечивающее их функции.

5.4.26 Для выполнения ремонта поврежденного трубопровода с применением кессонов комплектуется водолазная станция. Кроме основного состава, в состав водолазной станции назначается дополнительный персонал для проведения сварочных работ, монтажа и демонтажа кессона, подачи новой катушки и выполнения других подсобных работ.

Рисунок 5. Зажим разъемный:

1 - корпус зажима; 2 - болт; 3 - уплотняющая прокладка; 4 - ремонтируемый трубопровод

Рисунок 6. Муфта заливочная:

1 - манжетка; 2 - обечайка; 3, 4 - отверстия для выхода воды и заливки компаунда; 5 - хомут

Порядок пуска нефтепродуктопровода после ликвидации аварии

После завершения всех аварийно-восстановительных работ, при положительных результатах качества выполненных работ руководитель работ по ликвидации аварии организует:

-   доставку групп для открытия задвижек;

-   сообщение телефонограммой диспетчеру ПО об окончании работ и готовности трубопровода к возобновлению перекачки;

-   открытие береговых задвижек по указанию диспетчера ПО, проверку герметичности отремонтированного участка статическим давлением;

-   проверку на герметичность и прочность отремонтированного участка и технологических соединений после вывода нефтепродуктопровода на режим перекачки.

При удовлетворительном состоянии участка в дальнейшем выполняется:

-   очистка и изоляция мест присоединения отремонтированного участка к нефтепродуктопроводу;

-   засыпка ремонтного котлована;

-   установка на вантузах заглушек, установки щитов с запрещающими знаками по ГОСТ 26600-85.

5.5 Локализация и сбор разлившегося нефтепродукта

5.5.1 Работы по локализации разливов нефтепродукта на акватории рек и водоемов включают следующие операции:

-   ограничение движения пятна нефтепродукта к береговым зонам базирования народнохозяйственных объектов, населенных пунктов, водозаборов и т.д.;

-   локализацию разлива нефтепродукта;

-   сбор разлившегося нефтепродукта.

5.5.2 Ограничение направления движения и локализация пятна нефтепродукта производятся установкой плавучих боновых заграждений.

5.5.3 Установка боновых заграждений при локализации разливов нефтепродукта должна производиться в соответствии с инструкцией, разработанной изготовителем данного типа боновых заграждений, и включает следующие технологические операции:

-   выбор площадки на берегу для расстановки оборудования для развертывания и установки бонов;

-   расстановка береговых мертвых опор для крепления секций боновых ограждений;

-   развертывание на берегу, подготовка и сборка секций боновых ограждений;

-   спуск собранных секций на воду;

-   расстановка и крепление боновых ограждений в русловой части реки;

-   окончательная расстановка боновых заграждений в русловой части реки и крепление их к береговым опорам.

5.5.4 Место локализации (установки БЗ) определяет руководитель АВР с таким расчетом, чтобы к моменту подхода головной части пятна нефтепродукта были закончены работы по установке БЗ и подготовке к работе сборщиков нефтепродукта.

5.5.5 Варианты расстановки БЗ выбираются в зависимости от конкретных условий с учетом скорости течения реки и категорий рек.

Для несудоходных рек может быть предложен вариант полного перекрытия реки, а для судоходных рек по схемам:

серия «елочка» (колос), каскад. Возможные варианты расстановки БЗ приведены на схемах рисунка 7.

Установка БЗ перпендикулярно к течению может осуществляться при скорости течения до 0,35 м/с. При больших скоростях течения БЗ устанавливаются под углом.

Рекомендуемые варианты расстановки БЗ

Схема установки

Категория рек

 Сплошное

Несудоходные реки V1,0 м/с

 Стропильное

Несудоходные реки V 1,0 м/с

 «Колос»

Судоходные реки V 1,0 м/с

 Каскад

Судоходные реки V > 1,0 м/с

Угол и длина установки БЗ выбираются по номограмме (рисунок 8) или рассчитываются по формуле:

,

где

Θ - угол установки БЗ в плане,

V - скорость течения реки, м/с.

Рисунок 8. Номограмма для определения длины и углы установки бонового заграждения и точки расположения береговых анкерных креплений

Примечание:

Длина и угол установки боновых заграждений с помощью номограммы определяются в следующей последовательности:

1. В зависимости от скорости течения реки V выбирается луч, исходящий из точки анкерного крепления А, который соответствует мглу установки боновых заграждений Θ.

2. Из точки, соответствующей ширине перекрываемого русла R, опускается перпендикуляр до пересечения с выбранной линией заграждения.

3. Полученный отрезок прямой проектируется на вертикальную ось, расположенную на номограмме справа. Длина проекции (отрезка на вертикальной оси справа) определяет величину расстояния до анкерного крепления заграждения вниз по течению D.

4. Длина заграждения реки L определяется по формуле:

.

5.5.6 Длина секций заграждения определяется расчетом при условии, что общее продольное усилие, действующее на БЗ и нефтесборщик, не превышало допустимую нагрузку на несущие элементы БЗ.

5.5.7 Эффективность работы БЗ зависит от их правильно крепления на берегу и в воде. Для закрепления оттяжек БЗ необходимо применять заглубленные или поверхностные якоря.

Разборные якоря, состоящие из бетонных элементов, соединяются между собой с помощью болтовых соединений. Габаритные размеры и масса заглубленных и поверхностных бетонных якорей определяется в зависимости от сил трения якоря о грунт и силы воздействия грунта на переднюю упорную плоскость якоря.

Необходимо производить расчет бетонных якорей на устойчивость от опрокидывания и сдвиг.

Поверхностные якоря, состоящие из металлической рамы и бетонных блоков (камней) для увеличения сопротивления сдвигу изготовляются с вертикальными ножами, заглубленными в грунт. В этом случае производится расчет сил трения металлической рамы о грунт и сопротивления грунта резанию (проверка на устойчивость от опрокидывания).

Кроме анкеровки оттяжки, удерживающей плавучее заграждение, необходимо дополнительно закрепить секцию, примыкающую к берегу, с таким расчетом, чтобы предотвратить смещение при изменении положения БЗ.

5.5.8 Эффективность боновых заграждений определяется следующими показателями:

-   временем подготовки заграждений к установке;

-   временем развертывания и крепления заграждений на воде;

-   оптимальным углом установки, обеспечивающим устойчивость заграждения на течении;

-   эффективностью локализации и удержания нефтепродукта;

-   максимальным усилием при перемещении заграждения;

-   максимальным усилием при удержании боновых заграждений в рабочем положении.

Характеристика боновых заграждений приведена в таблице 7.

5.5.9 Сбор и утилизация нефтепродукта включает следующие технологические операции:

-   расстановку сборщиков нефтепродукта на воде в соответствии с принятой схемой и подсоединение их к ограждениям;

-   подсоединение сети энергоснабжения и трубопроводной системы отвода собранной водонефтепродуктовой смеси;

-   расстановку накопительных емкостей и подсоединение к трубопроводной системе;

-   сбор нефтепродукта с подачей в накопительные емкости;

-   транспортировку собранной водонефтепродуктовой смеси к местам утилизации продукта;

-   разделение водоэмульсионной смеси, утилизация нефтепродукта и очистка воды до санитарных норм.

Таблица 7

Сводная таблица характеристики боновых заграждений

Характеристика

Ед. изм.

Типы БЗ

АО «АЦКБ»

РОЗ АЗС

Уж

Аэрозур Балевар 323

Металлические БЗ из труб Ø 720 мм

Металлические БЗ из труб Ø 720 мм с юбкой из металлических пластин

Скорость течения, при которой БЗ сохраняет устойчивость

м/с

0,25

0,5

1,5

1,5

1,5

1,5

Скорость ветра

м/с

12

10

 

 

 

 

Высота волн

м

1,25

1,25

 

 

 

 

Срок службы

лет

 

2

 

 

не реглам.

не реглам.

Компактность укладки для транспортировки и хранения

м3/м

 

 

0,03

 

 

 

Масса 1 м. п.

кг

4,75

6,0

4,5

8,0

140

171,2

Интервал рабочих температур

°С

-30...+40

0...+40

-5...+35

-20...+70

 

 

Длина секции

м

20

100

50

10

10-12

10-12

Высота экрана:

м

 

 

 

 

 

 

надводная

 

0,15

0,2

0,20

0,37

0,45

0,2

подводная

 

0,45

0,5

0,48

0,53

0,27

0,92

Разработчик

 

АО «АЦКБ» г. Астрахань

СКВ «ТНА» г. Астрахань

г. Уфа

Франция

АООТ УСМН

АООТ УСМН

5.5.10 Механический сбор плавающего на воде нефтепродукта осуществляется нефтесборщиками, к месту утечки должны быть также подведены средства, которые могут принимать с нефтесборщиков собранный нефтепродукт - танкеры, баржи и т.д.

5.5.11 Если для локализации утечки используется несамоходный сборщик нефтепродукта, без собственных энергетических средств, то на место разлива должны быть доставлены технические средства, обеспечивающие его нормальную работу (буксиры, катера, вакуумные автоцистерны, пожарные автомашины).

5.5.12 Сбор продукта нефтесборщиком должен вестись согласно инструкции по эксплуатации нефтесборщика.

5.5.13 Технические характеристики нефтесборщиков приведены в таблице 8.

5.5.14 Нефтепродукт или водонефтепродуктовая смесь от НСБ собирается в емкости (резинотканевые резервуары, амбары), расположенные на берегу или плавсредствах.

Для предотвращения перелива продукта организуется дежурство, при котором обеспечивается подсыпка обвалования котлована при гарантированной разнице уровня нефтепродукта в котловане и верха обвалования в 0,5 м.

5.5.15 Собираемый нефтепродукт НСБ откачивается в специально подготовленные емкости. Схема установки боновых заграждений и нефтесборщиков в потоке представлена на рисунке 9.

5.5.16 В тех случаях, когда сбор с поверхности воды нефтепродукта механическими средствами и другими методами невозможен, принимается решение об удалении нефтепродукта с помощью впитывающих препаратов (сорбентов).

В качестве сорбентов могут применяться следующие материалы:

-   неорганические - перлит, вермикулит (после специальной обработки);

-   органические - вылущенные початки кукурузы, солома, измельченный торф, опилки, волокна целлюлозы;

-   синтетические - пенопласт, полиуретан, полипропилен, обрезки тканей и т.д.

Таблица 8

Сводная таблица технических данных нефтесборщиков

Характеристики

Тип нефтесборщика

НС «Дружба»

Диск (скимер) Эгмомоль

Салаватский

НСДУ-2

Легкий нефтесборщик скимер

НА-15 М

Установка вакуумная пр. 4765

Эгморапид

Производительность, м3/час

до 10

40-60

до 4

15

10

до 15

10-15

20-100

Габаритные размеры, м:

 

 

 

 

 

 

 

 

длина (диаметр)

0,96

1,8

2,07

1,5

0,96

 

2,85

10,0

ширина

0,96

1,3

1,34

1,5

0,98

3,0

2,06

2,5

высота

0,34

0,8

0,74

0,3

0,34

1,0

1,7

3,2

Осадка, м

0,17

 

0,24

0,2

0,17

0,3

 

1,15-0,43

Масса, кг

23

120

200

20

23

250

1450

 

Обслуживающий персонал, чел.

2

2-3

1

2

2

1-2

2

2

Привод, тип

электрический

дизель гидравлический

электродвигатель 2,2 кВт

работают совместно с вакуумируемой автоцистерной или любым самовсасывающим насосом

электрический

электрический

дизель

дизель гидравлический

Изготовители:

АО «Дружба»

Франция

г. Салават РБ

ИПТЭР, АО «УСМН»

АО МН «Дружба»

АО «УСМН»

ЦКБ «Астрахань»

Франция

Рисунок 9. Схема установки БЗ и НМСБ в потоке:

1 - емкость для сброса нефтепродуктов; 2 - отводящий рукав; 3, 5 - нефтесборщики; 4 - боновое заграждение

Порядок и условия применения сорбирующих материалов для локализации утечки, необходимое их количество, способы нанесения на поверхность воды и сбора с поверхности, методы утилизации собранного нефтепродукта и повторного использования сорбентов определяются инструкциями заводов-изготовителей сорбирующих материалов.

Во всех случаях порядок и условия применения сорбентов должны быть предварительно согласованы с природоохранными органами.

5.5.17 Технические характеристики сорбентов и результаты лабораторных испытаний приведены в таблице 9.

Таблица 9

Технические характеристики сорбентов

Сорбенты

Основа сорбента

Форма представления

Плотность, г/см

Нефтеемкость, г/г

Нефтеемкость при t = +4 ºС, г/г

Плавучесть, ч

Водопоглощение, г/г

Токсичность

Стоимость 1 кг, долл

Способ утилизации

Упаковка, кг

1

2

3

4

5

6

7

8

9

10

11

12

ПИТ СОРБ

Торф

Крошка / мелкодиспер. крошка

- / 0,16

6...7 / 4

- / 3,6

240

Гидрофобное / 1,64

Безвреден

7

Сжигание, захорон.

22 (п/э мешок)

Турбосорбент

Торф

Крошка / полидисп. крошка

- / 0,11

3,6

- / 3,6

-

Гидрофобное / 2,03

Безвреден

5,8

Сжигание при t = 365 ºС

30 (п/э мешок)

Пауэрсорбент

Полотно нетканое

Рулон, лист, тампон / рулон

-

13...25 / 12

- / 11,4

Не огранич.

Гидрофобное / 0,06

-

-

Отжатие

Рулон

КФП-сорбент

Карбамидная пена

Крошка / крошка

0,010...0,015 / 0,011

40...60 / 51

- / 52

Не огранич.

Гидрофобное / 19,5

Нет документ.

-

-

-

Сибсорбент

Торф

Крошка / естеств. структура

- / 0,08

7,6...9,3 / 5

- / 5

72

Гидрофобное / 3,29

Безвреден

0,4

Сжигание

П/э мешок

БТИ-1

Торф

Крошка / мелкодиспер. крошка

- / 0,06

12...15 / 11

5 / -

24

Гидрофобное / 5,21

Безвреден

7

Сжигание

15 (п/э мешок)

ИПМ-3

Ткань (пропит. ОДП-240)

Мат / мат

-

8 / 10

- / 9,4

Не огранич.

Гидрофобное / 0,15

Безвреден

-

Регенерация, сжигание

10...15 (рулон)

Примечание: В числителе - технические характеристики разработчиков, в знаменателе - результаты лабораторных испытаний. Стоимость договорная.

5.5.18 В особых случаях, когда применение нефтесборщиков и сорбентов невозможно, разлитый продукт, по согласованию с органами пожарной охраны и местными природоохранными органами сжигается. Это происходит в основном в местах скопления нефтепродукта перед металлическими боновыми заграждениями и там, где горение нефтепродукта не представляет опасности для близлежащих объектов.

Особенности локализации и сбора пролитого нефтепродукта на водных объектах в зимнее время при наличии ледового покрова

5.5.19 Локализация пятна нефтепродукта и направление его в зону сбора при наличии ледового покрова производится с помощью создания во льду направляющих прорезей.

5.5.20 Прорези располагаются под углом к течению реки в зависимости от скорости течения (в соответствии с рекомендуемыми углами установки БЗ). В конце направляющей прорези устраивается майна для размещения нефтесборщика и вспомогательного оборудования. Для направления нефтепродукта к месту сбора устанавливается заграждение в виде непрерывного полотна из листовых материалов с вмораживаемой верхней кромкой, опускаемого под лед на глубину 0,5-0,7 м.

Схема локализации и направления пятна нефтепродукта к месту сбора в зимних условиях представлена на рисунке 10.

5.5.21 Ширина прорези выбирается с учетом всплытия частиц нефтепродукта и зависит от скорости течения и толщины льда.

Для сооружения майн и прорезей при небольших толщинах ледового покрова рекомендуется использовать цепные бензопилы (электро) «Дружба». При толщине льда от 0,25 до 1,1 м рекомендуется применять ледорезную несамоходную фрезерную машину ЛФМ.

При толщине льда более 1,0 м применяется двухбаровая машина БР-000-00.

5.5.22 Ледорезные работы при глубине воды более 0,5 м допускается выполнять после определения приведенной толщины ледяного покрова и его способности выдержать нагрузку (работающей техники).

При измерении толщины ледяного покрова в расчет берется только прочный лед, а слой снежного и пористого пропитанного водой льда не учитывается.

При расчете нагрузки на лед следует учитывать, что прочность льда весной уменьшается вдвое.

Рисунок 10. Схема локализации и направления пятна нефтепродукта в зимних условиях:

1 - майна; 2 - полотно заграждения; 3 - прорезь; 4 - утяжеляющий груз

Измерение толщины льда в местах передвижения людей и техники производится:

·      зимой - один раз в десять дней, на быстром течении реки - один раз в неделю;

·      осенью, весной - ежедневно.

5.5.23 Для предохранения прорези и майн от промерзания необходимо применять меры по утеплению. Для утепления могут создаваться каркасные укрытия парникового типа с подачей вовнутрь тепла. При этом необходимо обеспечивать контроль изменения толщины льда с целью обеспечения безопасности работающего персонала. Кроме мер по утеплению для предохранения майн от промерзания могут применяться другие методы.

5.5.24 Технологическая последовательность ледорезных работ заключается в:

-   очистке льда от снега;

-   разбивке створа и установке вешек на льду;

-   установке ледорезной машины в створе;

-   резке льда ледорезной машиной;

-   извлечении карт льда (участки ледового покрытия водоема (реки), вырезанные в процессе сооружения майны) из майны;

-   удалении карт льда от майны.

5.6 Ликвидация последствий аварии на ПП МНПП

5.6.1 Ликвидация последствий аварии ведется параллельно с работами по устранению дефекта на трубопроводе.

5.6.2 В процессе ликвидации последствий аварии проводятся работы по закачке собранного в приготовленных емкостях нефтепродукта в резервную нитку ПП МНПП, бензовозы или отремонтированный трубопровод и работы по уборке замазученной территории и рекультивации почвы. При этом выполняются:

-   прокладка трубопроводов от емкостей до передвижных насосных агрегатов и от них до трубопроводов, закачка нефтепродукта насосными агрегатами в нефтепродуктопровод;

-   при отсутствии возможности закачки нефтепродукта в трубопровод - вывоз его бензовозами;

-   сооружение дренажных канав к ямам-накопителям для притока остатков нефтепродукта.

5.6.3 Ликвидация остатков нефтепродукта на водной поверхности выполняется:

-   нанесением сорбентов или адсорбентов (торфа, сорбентов БТИ и т.д.) на замазученную поверхность водоема;

-   сбором пропитанных нефтепродуктами сорбентов, их утилизацией, очисткой от нефтепродукта механическим способом.

5.6.4 Уничтожение остатков нефтепродукта в труднодоступных местах при невозможности сбора его существующими способами производится выжиганием (см. п. 5.5.14; 5.5.15).

5.6.5 После устранения замазученности, очистки поверхности земли, ям-накопителей от нефтепродукта выполняются:

-   демонтаж трубопроводов, других устройств и уборка территории производства работ;

-   рекультивация земель, поврежденных в результате аварии;

-   засыпка ям-накопителей, амбаров, канав и траншей землей;

-   передача земли землевладельцам для дальнейшего использования по назначению.

5.6.6 Все работы по охране окружающей среды и мероприятия по ликвидации последствий аварии производятся по согласованию с представителями контролирующих органов и инспекций с соблюдением существующих норм и правил.

5.6.7 К особенностям ликвидации последствий аварии в зимних условиях относится необходимость уборки загрязненного льда и снега.

5.6.8 Утилизация льда может производиться на месте путем его растапливания в емкостях и последующим разделением водоэмульсионной смеси на нефтепродукт и воду.

5.6.9 Смыв загрязнения с берегов производится струями воды от пожарных стволов или специальных устройств.

5.7 Оформление исполнительно-технической документации

5.7.1 В ходе выполнения и после окончания ремонтных работ на поврежденном участке ПП нефтепродуктопровода производится оформление исполнительной технической документации на отремонтированный участок ПП МНПП в соответствии с требованиями НТД и оформлением актов по установленным формам.

5.7.2 Материалы по расследованию причин аварии, заключение комиссии, акты экспертизы катушек или образцов труб, предписания инспектирующих органов и другие материалы о мероприятиях по расследованию аварии, хранятся в отдельной папке.

5.7.3 В паспорт ПП МНПП вносятся краткие записи о характере аварии и выполненных ремонтных работах, причинах и категории аварии, способе ликвидации, км, ГК, диаметр и толщина смонтированных катушек или труб, тип изоляции. При наличии компьютерной базы данных (паспорта) на ПП МНПП эти данные вносятся в соответствующую базу данных или табличные формы.

5.7.4 Оформление исполнительной технической документации выполняется техническим персоналом ЛПДС, при авариях I и II категорий - отделом эксплуатации ПО.

6 ТЕХНИКА БЕЗОПАСНОСТИ

6.1 Организация и производство аварийно-восстановительных работ на ПП МНПП должны соответствовать требованиям:

-   Правил технической эксплуатации магистральных нефтепродуктопроводов [2];

-   Правил пожарной безопасности для предприятий АК «Транснефтепродукт» [14];

-   ПОТ РО 112-002-98. Правила по охране труда при эксплуатации магистральных нефтепродуктопроводов [28];

-   Правил техники безопасности и промышленной санитарии при эксплуатации магистральных нефтепродуктопроводов [7];

-   Типовых инструкций по охране труда и пожарной безопасности для предприятий АК «Транснефтепродукт» [29];

-   Типовой инструкции по общим правилам безопасности при проведении огневых работ [6];

-   Типового плана по организации и технологии работ по ликвидации аварийных разливов нефтепродуктов при авариях и повреждениях переходов магистральных нефтепродуктопроводов [24];

-   Отраслевых норм бесплатной выдачи спецодежды и других средств индивидуальной защиты [20];

-   РД 102-011-89. Охрана труда. Организационно-методические документы [13];

-   РД 31.84.01-90. Единые правила безопасности труда на водолазных работах [21]

-   и настоящим РД.

6.2 Перед началом работ ответственный руководитель АВР на ПП МНПП обязан:

-   дополнительно проинструктировать всех работающих о необходимых мерах безопасности с обязательной записью в журнале регистрации инструктажей на рабочем месте;

-   проверить наличие и исправность водолазного снаряжения, инструмента, приспособлений и СИЗ;

-   принять меры по установке предупреждающих знаков на подходе к аварийному участку, по ограждению места разлива нефтепродукта красными флажками, а в темное время - световыми сигналами и по освещению аварийного участка, другие меры, предусмотренные ПЛА;

-   определить места безопасной расстановки техники, места отдыха и питания работающих;

-   убедиться в отсутствии загрязненности, ям, скользкой поверхности в местах приготовления клея;

-   иметь техническую документацию, утвержденную главным инженером ПО.

6.3 Все работы по ликвидации аварий необходимо выполнять в соответствии с ПЛА для данного объекта (участка), составленного с учетом требований настоящего РД и других НТД.

6.4 Производство работ на участках судового хода должно быть предварительно согласовано с судовой инспекцией. При этом необходимо создать условия, исключающие внезапное появление судов и пересечение ими трассы во время работы.

6.5 При ликвидации аварии в темное время для освещения места работы необходимо применять взрывозащищенные светильники напряжением не более 12 В с уровнем взрывозащиты, соответствующим категории и группе взрывоопасной смеси.

6.6 К подводно-техническим работам допускаются водолазы не моложе 20 лет, имеющие свидетельство о специальной подготовке, личную книжку водолаза и личную медицинскую книжку, в которой должны быть отражены соответственно практическая деятельность и состояние его здоровья.

6.7 Руководитель водолазных работ должен лично осмотреть спускающегося водолаза, проверить комплектность и правильность снаряжения.

6.8 Перед производством подводно-технических работ на судоходных реках и водохранилищах необходимо установить регулярную связь с гидрометеослужбой, чтобы получать от нее ежедневные прогнозы погоды.

6.9 Все работы с плавучих средств и спуск водолазов в воду можно проводить при волнении водной поверхности до трех баллов. На судоходных участках места, где проводятся водолазные работы, ограждаются предупреждающими сигналами: в светлое время суток - двумя зелеными флагами 1000×700 мм, в темное время - двумя зелеными огнями. Флаги и огни располагают один над другим так, чтобы расстояние между ними было 1-2 м. Эти сигналы укрепляются на хорошо видимой мачте водолазного бота. После выхода водолазов из воды сигналы опускаются. Если водолазы находятся под водой, проходящие мимо суда и плавучие средства, заметив сигналы, должны снизить ход и следовать на расстоянии не менее 50 м от водолазного бота.

6.10 Подготовка, организация и проведение водолазных работ конструкция снаряжения и средств обеспечения водолазных погружений должны соответствовать требованиям РД 31.84.01-90 [21].

6.11 Перед началом земляных работ водолазная служба должна обследовать участок дна реки или водоема на ширину подводной траншеи и выявить засоренность его посторонними предметами.

6.12 При разработке грунта гидромонитором под водой необходимо соблюдать следующие правила техники безопасности:

-   водолаз должен следить за состоянием откосов траншеи и не допускать образования козырьков грунта в забое;

-   моторист гидромониторной установки обязан строго выполнять все команды, подаваемые водолазом;

-   мелкие камни водолаз должен поднимать в бадье или корзине, а крупные - посредством специальных захватных устройств;

-   после строповки поднимаемых со дна предметов водолаз должен выходить на поверхность. Запрещается находиться под поднимаемым грузом, а также подниматься на поверхность вместе с ним.

6.13 Разработанный грунт не должен препятствовать судоходству или сплаву леса. В местах отвала грунта следует вывешивать плакаты с надписями о запрещении выхода людей на намытый грунт.

6.14 Перед началом работ на льду следует тщательно проверить его состояние и определить надежность. Лед необходимо обследовать группой в составе не менее трех человек. Расстояние между рабочими, ведущими обследование, должно быть не менее 2,5 м. Запрещается ходить по льду при его толщине менее 10 см в зимнее время и менее 20 см - в весеннее время, а также передвигаться на машинах ближе 100 м от кромки майны.

6.15 При устройстве майн необходимо выполнять следующие требования:

-   вести наблюдение, периодически замерять ледовый покров (в весенний период ежедневно);

-   регулярно получать сводки метеорологической службы;

-   движение любых транспортных средств по необследованным участкам ледового покрова не разрешается;

-   у майн в месте производства работ должны находиться спасательные средства: спасательные круги, багры, шесты и спасательные концы;

-   рабочие должны быть одеты в спасательные жилеты и иметь пояс со страховым концом;

-   для переходов через майну устанавливаются трапы. Трапы должны иметь ограждения высотой не менее 1 м и перекрывать кромку льда не менее, чем на 1 м с каждой стороны.

6.16 Во время работы двухбаровой машины дверцы кабины трактора должны быть открыты, машинист должен быть одет в спасательный жилет.

Не разрешается оставлять бар машины в прорези во льду при выключенной цепи рабочего органа. Цепь рабочего органа выключается только после того, как подняты бары.

6.17 Для разрезания льда на карты в поперечном направлении баровую машину следует ставить перпендикулярно к майне от края ее не менее 0,5 м при условии, что лед не поврежден на краях майны.

6.18 При удалении карт льда кран или трубоукладчик не должен находиться ближе 1 м от края майны. Строповка карт льда производится специальной сеткой или универсальным стропом (в виде удавки), ветви стропа должны располагаться на 1/4 длины карты с одной стороны [19].

6.19 Принимать карту краном можно только после того, как такелажник отошел на безопасное расстояние, определяемое требованиями действующей НТД [18, 19] и конкретной обстановкой. Такелажники должны пользоваться переносными трапами из досок с поперечными планками.

Трапы, укладываемые поперек майны, должны опираться на ее края не менее чем на 1 м. По краям майны также должны быть уложены дощатые щиты.

6.20 Подводные трубопроводы должны ремонтироваться в соответствии с разработанным планом проведения работ, инструкцией по безопасному ведению этих работ и технологической картой при наличии наряд-допуска.

Эти документы до начала ремонтных работ должны быть утверждены главным инженером ПО.

6.21 В плане проведения ремонтных работ должны быть точно определены место, объем и порядок проведения подготовительных и основных работ, применяемые приспособления, инструменты и методы, обеспечивающие безопасность работающих.

К плану должны быть приложены схемы ремонтируемого объекта и технологическая карта ремонтных работ.

План проведения ремонтных работ составляет руководитель работ, согласовывая его со службой охраны труда. Утверждается план главным инженером ПО.

6.22 Персонал, занятый ремонтом изоляции ПП МНПП, должен знать о пожароопасных и вредных для человека свойствах клея и его компонентов и строго соблюдать меры безопасности при работе с ними.

6.23 Перед курением, приемом пищи и при перерывах в работе необходимо вымыть руки и лицо с мылом, обтереть полотенцем или салфеткой разового пользования.

6.24 Постоянный контроль за соблюдением правил безопасности осуществляется руководителем работ или лицом, его замещающим.

6.25 Нарушение правил производства работ, охраны труда, техники безопасности, пожарной безопасности, срывов срока ликвидации аварии влечет персональную ответственность в установленном порядке в зависимости от степени и характера нарушений в соответствии с должностными инструкциями.

7 ПОЖАРНАЯ БЕЗОПАСНОСТЬ

7.1 Работы по ликвидации аварий и их последствий должны выполняться с соблюдением требований пожарной безопасности, изложенных в ППБ-01-93 «Пожарная безопасность в РФ», в ВППБ 01-03-96 «Правила пожарной безопасности для предприятий АК «Транснефтепродукт» и другой действующей НТД.

7.2 К производству работ по ликвидации аварий на ПП МНПП допускаются лица, прошедшие вводный (первичный) инструктаж о мерах пожарной безопасности и курс обучения по пожарно-техническому минимуму.

Занятия по пожарно-техническому минимуму проводятся один раз в год по программе, разработанной в соответствии с действующей НТД по правилам пожарной безопасности в РФ и в ОАО «АК «Транснефтепродукт» [5, 17] и утвержденной руководителем АО. ПО АО. Результаты обучения проверяются зачетами и удостоверяются соответствующим документом.

7.3 Перед началом работ руководитель АВР должен дополнительно проинструктировать персонал АВБ и привлеченных к ликвидации аварии работников о правилах пожарной безопасности, методах и способах ведения работ во взрыво- и пожароопасных условиях.

7.4 Ответственность за обеспечение пожарной безопасности при проведении АВР на ПП МНПП возлагается на начальника АВП (ОАВП) или лицо, назначенное приказом по ПО АО, АО, который наряду с выполнением общих требований пожарной безопасности обязан:

-   обеспечить исправность и готовность к действию, замену использованных и пришедших в негодность первичных средств пожаротушения, пожарной техники и других средств пожаротушения;

-   обеспечить наличие, исправность и проверку средств связи;

-   обеспечить исправное состояние дорог, проездов и путей следования пожарной техники к аварийному участку ПП МНПП;

-   обеспечить немедленный вызов пожарных подразделений в случае пожара или опасности его возникновения при аварии на ПП МНПП;

-   приступить к ликвидации пожара имеющимися в наличии силами и средствами.

7.5 Ответственность за соблюдение противопожарных мероприятий при выполнении АВР возлагается на непосредственных исполнителей работ.

7.6 На месте производства аварийно-восстановительных работ должны находиться:

-   пожарный автомобиль пенного тушения или цистерна (емкость) вместимостью на менее 1500 л, заполненная пенораствором, с пожарной мотопомпой;

-   первичные средства пожаротушения (кошма, асбестовое полотно, огнетушители и т.д.) в количестве, предусмотренном нарядопуском на выполнение работ повышенной опасности;

-   аптечка с медикаментами и перевязочными материалами, укомплектованная в соответствии с утвержденным перечнем.

7.7 При проведении огневых работ в случае необходимости должны выставляться пожарные посты из членов добровольной пожарной дружины или личного состава пожарной охраны.

7.8 В случае возникновения пожароопасной ситуации на ПП МНПП персонал АВП и лица, ответственные за обеспечение его пожарной безопасности, должны действовать в соответствии с Инструкцией по мерам пожарной безопасности и утвержденным планом ликвидации аварии.

7.9 План ликвидации аварии должен содержать мероприятия, направленные на предупреждение возникновения пожара:

-   определение газоопасных и пожароопасных зон на акватории и в прибрежной полосе на пути распространения аварийного разлива нефтепродукта;

-   введение режима запрета допуска в опасные зоны посторонних лиц и транспортных средств, не принимающих участия в аварийных работах;

-   введение режима допуска на территорию опасных зон персонала и техники, участвующих в ликвидации последствий аварийного выхода нефтепродуктов;

-   оповещение об опасности жителей населенных пунктов расположенных по пути распространения аварийного разлива нефтепродукта, а также производителей работ (сельскохозяйственные рабочие, водители автотранспорта, рыболовы и т.п.), которые могут оказаться в опасных зонах;

-   порядок, условия и маршруты эвакуации населения и производителей работ с прибрежной территории, а также по пути распространения аварийного разлива нефтепродукта;

-   порядок определения концентрации и температуры вспышки паров нефтепродукта в воздушной среде рабочей зоны;

-   требования по взрывозащите к техническим средствам, применяемым при ликвидации аварийного разлива нефтепродукта;

-   порядок ввода особого противопожарного режима и др. мероприятия.

7.10 Все электрооборудование, металлическая облицовка и рама передвижного вагончика, используемого для отдыха рабочих, обогрева и приема пищи в период выполнения АВР, должны быть надежно заземлены. Подача электроэнергии в незаземленные вагончики не допускается.

7.11 Для местного освещения вагончика должны применяться светильники взрывозащищенного исполнения.

7.12 В помещении вагончика не разрешается:

-   хранить смазочные масла и горючие жидкости;

-   сушить спецодежду на нагревательных приборах;

-   хранить обтирочный материал, одежду и другие предметы, пропитанные легковоспламеняющимися и горючими жидкостями.

7.13 При ремонте изоляционного покрытия ПП МНПП с помощью клеевых композиций к выполнению работ могут допускаться лица, прошедшие специальную подготовку по правилам производства работ и пожарной безопасности.

7.14 Рабочие места для приготовления клеевых композиций должны быть оборудованы средствами пожаротушения, а персонал, работающий с ними должен уметь пользоваться средствами пожаротушения и содержать их в исправности.

8 ОХРАНА ОКРУЖАЮЩЕЙ СРЕДЫ

8.1 С целью охраны окружающей среды при АВР на ПП МНПП должны предусматриваться:

-   соблюдение всех действующих стандартов, норм и правил в области охраны окружающей среды, а также СНиП 2.05.06-85*; СНиП III-42-80*; ВСН 014-89;

-   рациональное использование природных ресурсов;

-   своевременная ликвидация последствий загрязнения окружающей среды (локализация нефтепродукта в местах утечки с применением боновых заграждений, сбор нефтепродукта с поверхности водоема путем отвода в котлован, с помощью распыления перлита);

-   разработка и осуществление на всех уровнях управления производством мероприятий по охране окружающей среды и сокращению потерь нефтепродуктов.

8.2 Подводно-технические работы, производимые при АВР на ПП МНПП, подлежат согласованию с организациями по регулированию и охране вод, местными органами власти и др. инспектирующими органами.

8.3 Организация, выполняющая АВР на ПП МНПП, несет ответственность за соблюдение проектных решений, связанных с охраной окружающей среды, а также за соблюдение государственного законодательства и международных соглашений по охране природы.

8.4 Не допускается сливать в реки, озера и другие водоемы воду, вытесненную из трубопровода, без предварительной ее очистки.

8.5 В процессе разработки и засыпки подводных траншей защита окружающей среды сводится к снижению потерь грунта в процессе транспортирования и укладки его в речной поток до значения, при котором мутность осветленной пульпы, уносимой потоком в зоне засыпки траншеи, не превышала бы величины, допустимой нормами для конкретного водоема.

8.6 При разработке грунта с помощью землесосных снарядов мощность всасывающих насадок должна быть значительно больше размывных. В местах нереста рыб необходима перекачка пульпы на берег.

8.7 Представленные АО, ПО во временное пользование сельскохозяйственные и лесные угодья должны быть возвращены в соответствии с «Основными положениями о рекультивации земель, снятии сохранении и рациональном использовании плодородного слоя» [25].

8.8 В соответствии с «Правилами охраны поверхностных вод» (типовые положения) [26] концентрация вредных частиц на расстоянии 500 м от створа производства работ не должна увеличиваться:

- более чем на 2,5 · 10-4 кг/м3 - при использовании водоема для хозяйственно-питьевого водоснабжения и для воспроизводства ценных пород рыб;

- более чем на 7,5 · 10-4 кг/м3 - при использовании водоема для рыбохозяйственных целей, а также для купания, спорта, отдыха населения;

- более чем на 5 % - для водоемов, содержащих в межень более 3 · 10-2 кг/м3 природных минеральных веществ.

8.9 При разработке подводных траншей грунторазрабатывающими средствами в воду не должны попадать топливо, масло, производственные и бытовые отходы, а также следует исключать просор извлекаемого грунта в объемах, создающих опасность загрязнения водной среды.

8.10 При проведении АВР на ПП МНПП должны быть определены мероприятия по опорожнению ремонтируемого участка ПП.

8.11 Прибрежные и береговые котлованы должны быть сооружены ниже по течению. По согласованию с природоохранными органами могут быть использованы незначительные протоки, озера, заливы, все котлованы должны иметь противофильтрационные экраны.

Объем котлована должен быть не менее объема ремонтируемого участка подводного трубопровода.

Сбор нефтепродукта и пленки из прибрежных котлованов производится одним из существующих методов, принятым в ППР, а также в зависимости от принятой технологии опорожнения трубопровода.

8.12 После окончания АВР на ПП МНПП должна быть проведена рекультивация нарушенных при ремонте территорий, береговых участков, нарушенных в результате прохода ремонтной техники, загрязненных производственными и бытовыми отходами, нефтепродуктами.

8.13 Рекультивация нарушенных земель в соответствии с [25] осуществляется последовательно в два этапа:

технический и биологический.

Технический этап рекультивации земель - этап, включающий их подготовку для последующего целевого использования в народном хозяйстве.

Технический этап предусматривает планировку, формирование откосов, снятие и нанесение плодородного слоя почвы, устройство гидротехнических и мелиоративных сооружений, захоронение токсичных вскрышных пород, а также проведение других работ, создающих необходимые условия для дальнейшего использования рекультивированных земель по целевому назначению или для проведения мероприятий по восстановлению плодородия почв (биологический этап).

Биологический этап включает комплекс агротехнических и фитомелиоративных мероприятий по восстановлению плодородия нарушенных земель.

8.14 С целью равномерного очищения почвы по всей длине применяются биопрепараты, технические характеристики некоторых из которых приведены в Приложении Д.

8.15 Применение различных видов биологических методов восстановления нарушенных земель предусматривает посадку растений-пескозакрепителей, дерновку на береговых и прибрежных участках.

ПРИЛОЖЕНИЕ А

(рекомендуемое)

Перечень технического оснащения патрульной группы

№ п/п

Наименование

Количество

Примечание

1

Манометр на Р - 100 кг/см2

2

 

2

Газоанализатор, шт

1

 

3

Лопата штыковая, шт

1

 

4

Лопата совковая, шт

1

 

5

Топор плотничный, шт

1

 

6

Лампа паяльная, шт

1

 

7

Обтирочный материал, кг

1

 

8

Канат пеньковый с карабином, м

20

 

9

Спички в непромокаемой упаковке, упаковок

2

 

10

Рукавицы брезентовые, пара

1

на человека

11

Сумка санитарная с набором медикаментов, комплект

1

 

12

Средство от комаров, фл.

2

летом

13

Фонарь В ЗТ-200-А2, шт

2

 

14

Компас, шт

2

 

15

Сигнальные ракеты, шт

5

 

16

Радиостанция типа «Моторолла»

1

 

17

Суточный запас питания

1

на человека

18

Палатка двухместная, шт

1

 

19

Технологическая схема аварийного участка нефтепродуктопровода с указаниями всех задвижек

1

 

20

Флажки или предупредительные знаки, шт

10

 

ПРИЛОЖЕНИЕ Б

(справочное)

Техническая характеристика средств малой механизации

Техническая характеристика

Единица измерения

Универсальный подводный гидромонитор УПГМ-360

Гидроэжекторные установки, тип

Гидромониторные установки

ГМ-4

ГМ-60

ГМ-100

КСМ-100

АН-2

МГ-1

Производительность по грунту

м3

 

 

 

 

 

8,7

3,8

Насос марки:

 

2В200 4

-

-

-

-

ЦНС-300 (ЦНСМ-300)

ЦНС-180 (ЦНСМ-180)

производительность по воде

м3

360

50

125

90

100

 

 

высота всасывания

м

-

7,5

6

6

7

40

40

напор

м

160

150

-

90

90

65...55

55...45

Тип двигателя:

 

ЗД12

ЗИЛ-16

ЗИЛ-164

ЗИЛ-120

КАЗ-120

-

-

мощность

кВт

220

75

73,4

66

62

140-150

60...65

частота вращения

об/мин

1450

-

-

-

-

-

-

Масса

кг

-

1550

2290

1650

2120

-

-

Габариты:

мм

 

 

 

 

 

 

 

длина

 

15300

2800

3050

1260

3550

-

-

ширина

 

5500

800

920

660

1040

-

-

высота

 

-

1450

1670

-

1550

-

-

диаметр улитки

 

-

-

-

660

-

-

-

высота с надстройкой

 

4300

-

-

-

-

-

-

высота борта

 

1800

-

-

-

-

-

-

ПРИЛОЖЕНИЕ В

(справочное)

Краткие технические характеристики течеискателей

Показатель работы

ТЭА-11

АЭТ-1 МСС

Максимальная глубина погружения, м

50

30

Допустимая глубина залегания трубопровода под слоем грунта, м

Не более 2,5

Не более 2,5

Точность определения места положения, м

+1,5

+1,5

Габаритные размеры, мм:

 

 

преобразователя

850×250×250

340×225×70

блока индикации

200×180×150

30×30×295

Масса на воздухе, кг:

 

 

преобразователя

3,5

4

блока индикации

2,5

0,7

ПРИЛОЖЕНИЕ Г

(справочное)

Характеристика ледорезных машин

Наименование, марка

Завод-изготовитель

Техническая характеристика, ГОСТ

Ледорезная машина ЛОМ-0,25-1,1

Судоремонтный завод, (Великий Устюг)

Максимальная толщина резания льда, м - 1,1

Диаметр фрезы, мм - 250

Длина фрезы, м - 1,133

Максимальная длина рези с одной стоянки, м - 50

Скорости движения при работе, м/мин:

I скорость 1,5

II скорость 2,5

III скорость 5,0

Двигатель: марка «Урал» ЗИЛ-353Л N, кВт - 66,2 (90 л.с.)

Габариты, м: 4,77×0,8×1,47

Масса, кг: 1300

Двухбаровая машина БР-000-00

Завод им. Кирова (С.-Петербург)

Базовая машина - трактор Т - 100 м

Максимальная толщина резания льда, м - 2,2

Длина бара, мм - 2800

Расстояние между барами, мм - 700

Ширина прорезаемой щели, мм - 140

Средняя производительность, м/ч - 50

Габариты, м: 7×2,46×3,06

Масса, т 15,76

ПРИЛОЖЕНИЕ Д

(справочное)

Сводная таблица технических характеристик биопрепаратов

№№ п/п

Показатели

Ед. измерения

Биопрепараты

путидойл

биоприн (Омоворин)

1

Исходный материал

 

природный штамм бактерий «Псевдомаспутида»

штамм Acigetobactek

2

Форма представления

 

порошок

порошок

3

Среда нефтеокисления

 

вода, почва

вода, почва

4

Токсичность

 

не токсичен

не токсичен

5

Упаковка

 

пакет 1-10 кг

мешок 1-10 кг

6

Срок хранения

Мес.

12

12

7

Вид удобрения

 

нитроаммофос

диаммофос, аммофос

8

Разработчик

 

ЗапсибНИГНИ

ВНИИсинтезбелок

9

Интервал рабочих температур

°С

+10...+40

+10...+35

10

Продолжительность обработки

Дни

24

24

ПРИЛОЖЕНИЕ Е

БИБЛИОГРАФИЯ

1 РД 153-112-014-97. Инструкция по ликвидации аварий и повреждений на магистральных нефтепродуктопроводах. - М.: Нефть и газ, 1997 г.

2 РД 153-39.4-041-99. Правила технической эксплуатации магистральных нефтепродуктопроводов. - М.: 1999 г.

3 Правила охраны магистральных трубопроводов. - Уфа: ВНИИСПТнефть, 1991 г.

4 Положение о взаимоотношениях ведомств, коммуникации которых проходят в одном техническом коридоре. - Уфа: ВНИИСПТнефть, 1985 г.

5 ППБ-01-93. Правила пожарной безопасности в РФ. - М.: Инфра, 1994 г.

6 Типовая инструкция по общим правилам безопасности при проведении огневых работ. - М.: Роснефтепродукт, 1992 г.

7 Правила техники безопасности и промышленной санитарии при эксплуатации магистральных нефтепродуктопроводов. - М.: Недра, 1979 г.

8 РД 153-39.4Р-002-96. Табель технического оснащения аварийно-восстановительных пунктов магистральных нефтепродуктопроводов. - М.: АК «Транснефтепродукт», 1996 г.

9 ВСН 31-81. Инструкция по производству строительных работ в охранных зонах магистральных трубопроводов.

10 РД 08-204-98. Порядок уведомления и предоставления территориальным органам Госгортехнадзора информации об авариях, аварийных утечках и опасных условиях эксплуатации объектов магистрального трубопроводного транспорта газов и опасных жидкостей. - М.: Пост. Госгортехнадзора России № 23 от 2 апреля 1998 г.

11 Табель технической оснащенности служб подводных переходов магистральных нефтепродуктопроводов. - М.: ГК «Роснефтепродукт» от 13.12.1991 г.

12 Каталог типовых технологических схем ремонта подводных переходов магистральных нефтепродуктопроводов. - Уфа: ВНИИСПТнефть, 1986 г.

13 РД 102-011-89. Охрана труда. Организационно-методические документы. - М.: Миннефтегазстрой, 1990 г.

14 ВППБ 01-03-96. Правила пожарной безопасности для предприятий АК «Транснефтепродукт». - М.: 1996 г.

15 Система управления охраной труда в системе ГК «Роснефтепродукт». - М.: 1992 г.

16 Система технического обслуживания и ремонта линейной части магистральных нефтепродуктопроводов. - М.: ГК «Роснефтепродукт» от 13.12.91 г.

17 Руководство по технике безопасности при инженерной подготовке трассы при строительстве магистральных трубопроводов. - М.: ВНИИСТ, 1978 г.

18 Основные положения об организации работ по охране труда в нефтяной промышленности (ОПОРОТ НП). - М.: Минтопэнерго РФ от 11.03.94 г.

19 Технологическая карта на устройство майн ледорезными машинами при строительстве подводных переходов магистральных трубопроводов. - М.: 1986 г.

20 Отраслевые нормы бесплатной выдачи спецодежды, спецобуви и других средств индивидуальной защиты. - М.: 1976 г.

21 РД 31.84.01-90. Единые правила безопасности труда на водолазных работах. - М.: Мортехинформреклама, 1992 г.

22 Российская Федерация, ФЗ от 19.12.1991 г. № 2060-1 «Об охране окружающей природной среды». - М.: 1992 г.

23 Каталог технических средств по сбору нефти с поверхности воды. - Уфа: ВНИИСПТнефть, 1987 г.

24 РД 153-39.4-058-00. Типовой план по организации и технологии работ по ликвидации аварийных разливов нефтепродуктов при авариях и повреждениях переходов магистральных нефтепродуктопроводов через крупные водные преграды. М.: ОАО «АК «Транснефтепродукт», 2000 г.

25 Основные положения о рекультивации земель, снятии, сохранении и рациональном использовании плодородного слоя почвы. - М.: приказ Минприроды РФ № 525, Роскомзема № 67 от 22.12.95.

26 Правила охраны поверхностных вод (типовые положения). - М.: утв. Госкомприроды, 1991.

27 РД 39-30-497-85. Методические указания по классификации подводных переходов магистральных нефтепроводов при техническом обслуживании и ремонте. - Уфа: ВНИИСПТнефть, 1986.

28 ПОТ РО 112-002-98. Правила по охране труда при эксплуатации магистральных нефтепродуктопроводов.

29 Сборник типовых инструкций по охране труда и пожарной безопасности для предприятий АК «Транснефтепродукт». - М.: АК «Транснефтепродукт», 1996 г.

30 Положение о водоохранных зонах водных объектов и их прибрежных защитных полосах. - М.: Пост. Правительства № 1404 от 23.11.1996 г.

31 Российская Федерация, ФЗ от 21.07.97. № 116-ФЗ «О промышленной безопасности опасных производственных объектов».

32 РД 04-383-00. Положение о порядке представления, регистрации и анализа в органах Госгортехнадзора России информации об авариях, несчастных случаях и утратах взрывчатых материалов. Утверждено приказом Госгортехнадзора России от 02.10.00 № 101.

Ключевые слова: магистральный нефтепродуктопровод, перекачивающая станция, линейно-производственная диспетчерская станция, наливной пункт, подводный переход, водная преграда, повреждение, авария, аварийный разлив нефтепродукта, аварийно-восстановительный пункт, аварийно-ремонтная служба, план ликвидации аварий, майна, пойма, паводок, сорбенты, нефтесборщик

 




ГОСТЫ, СТРОИТЕЛЬНЫЕ и ТЕХНИЧЕСКИЕ НОРМАТИВЫ.
Некоммерческая онлайн система, содержащая все Российские Госты, национальные Стандарты и нормативы.
В Системе содержится более 150000 файлов нормативно-технической документации, действующей на территории РФ.
Система предназначена для широкого круга инженерно-технических специалистов.

Рейтинг@Mail.ru Яндекс цитирования

Copyright © www.gostrf.com, 2008 - 2025