Крупнейшая бесплатная информационно-справочная система онлайн доступа к полному собранию технических нормативно-правовых актов РФ. Огромная база технических нормативов (более 150 тысяч документов) и полное собрание национальных стандартов, аутентичное официальной базе Госстандарта. GOSTRF.com - это более 1 Терабайта бесплатной технической информации для всех пользователей интернета. Все электронные копии представленных здесь документов могут распространяться без каких-либо ограничений. Поощряется распространение информации с этого сайта на любых других ресурсах. Каждый человек имеет право на неограниченный доступ к этим документам! Каждый человек имеет право на знание требований, изложенных в данных нормативно-правовых актах!

  


 

ГОСУДАРСТВЕННЫЙ СТАНДАРТ СОЮЗА ССР

МОНТАЖ ЭЛЕКТРИЧЕСКИЙ
РАДИОЭЛЕКТРОННОЙ АППАРАТУРЫ
И ПРИБОРОВ

ТЕХНИЧЕСКИЕ ТРЕБОВАНИЯ К МОНТАЖУ
СОЕДИНИТЕЛЕЙ
PC И МР

ГОСТ 23589-79

ИПК ИЗДАТЕЛЬСТВО СТАНДАРТОВ

Москва

ГОСУДАРСТВЕННЫЙ СТАНДАРТ СОЮЗА ССР

МОНТАЖ ЭЛЕКТРИЧЕСКИЙ
РАДИОЭЛЕКТРОННОЙ АППАРАТУРЫ
И ПРИБОРОВ

Технические требования к монтажу соединителей PC и МР

Mounting of electric radioelectronic equipment and instruments. Technical requirements for mounting of connectors PC and MP

ГОСТ
23589-79

Дата введения 01.07.80

1. Настоящий стандарт распространяется на электрический монтаж (далее - монтаж) радиоэлектронной аппаратуры и приборов.

Стандарт устанавливает требования к монтажу приборных частей электрических соединителей PC и МР.

Термины, примененные в стандарте, соответствуют ГОСТ 21962 и ГОСТ 14312.

2. Монтаж соединителей PC и МР должен производиться в соответствии с требованиями настоящего стандарта, нормативной документации (НД), конструкторской и технологической документации, утвержденной в установленном порядке.

3. Монтаж однотипных соединителей в изделии должен быть идентичным.

4. Для обеспечения идентичности монтажа соединителей следует изготовлять контрольный образец монтажа, утвержденный в установленном порядке.

Для опытных образцов изделий контрольные образцы монтажа не устанавливают.

5. Требования к монтажу приборных частей соединителей PC и МР, установленные настоящим стандартом, должны быть указаны в конструкторской документации.

Пример: «Технические требования к электромонтажу приборных частей соединителей PC по ГОСТ 23589».

6. Дополнительные требования к монтажу соединителей, не снижающие его качество, должны указываться в конструкторской и технологической документации.

7. Площадь сечения проводов, подводимых к контакт-деталям (далее - контакт) соединителей PC и МР, не должна превышать площади сечения, установленной в технических условиях на соединители конкретных типов, и соответствовать указанным в таблице.

Соединитель

Диаметр контакта, мм

Наибольшая площадь сечения припаиваемого провода, мм2

Длина паяной части провода

PC

МР

1,0

0,6

0,50

0,14

2,8 - 3,2

2,3 - 2,7

 (Измененная редакция, Изм. № 1).

8. Если в одно отверстие контакта соединителя необходимо впаять несколько проводов меньшего сечения, то жилы всех проводов должны быть скручены вместе, а суммарный диаметр облуженных проводов должен быть меньше диаметра соответствующего отверстия в контакте соединителя.

9. Длина паяной части провода, входящего в отверстие крепежной части контакта, должна быть равна длине монтажной части внутренней полости контакта и соответствовать указанной в таблице и на черт. 1-2.

1 - припой; 2 - жила; 3 - изоляционная трубка; 4 - провод; 5 - соединитель

Черт. 1

Черт. 2

(Измененная редакция, Изм. № 2).

10. При монтаже соединителей не допускается применять провода, у которых наружный диаметр по изоляции вместе с надеваемой на провод изоляционной трубкой больше, чем расстояние между осями контактов в соединителе.

11. Резервные контакты в соединителе необходимо запаять отрезками проводов одной из марок, которыми производится монтаж. Рекомендуемая длина проводов 40 - 100 мм.

12. Резервные контакты не следует запаивать в соединителях, заливаемых герметиком или работающих непродолжительное время (до 15 мин разового действия) при воздействии вибрации, соответствующей техническим условиям на соединители.

13. Концы резервных проводов следует заделать в общий жгут в соответствии с черт. 3-6.

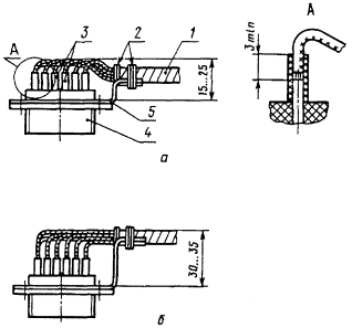
14. Монтаж проводов с полиэтиленовой и фторопластовой изоляцией в соединители должен соответствовать:

черт. 7а - если общая высота кронштейна и диаметра жгута не превышает 15 мм;

черт. 7б - если общая высота кронштейна и диаметра жгута превышает 15 мм.

При отсутствии кронштейна учитывают только диаметр жгута.

(Измененная редакция, Изм. № 1).

15. Высота укладки проводов с поливинилхлоридной изоляцией площадью сечения 0,20 мм2 от основания корпуса соединителя не должна быть более 25 мм.

16. Провода, заделываемые в соединители, должны быть закреплены у корпуса соединителя с применением кронштейнов или на панели.

17. Рихтовка проводов после пайки не допускается.

18. Перемычки в соединителе, выполненные монтажным проводом, следует выводить петлей в жгут. Петли перемычек следует располагать ступенчато. Длина петли в этом случае не должна превышать 100 мм от крепления жгута у соединителя.

Необходимость введения перемычек петлей в жгут определяет разработчик конструкторской документации.

(Измененная редакция, Изм. № 2).

19. Перемычки выполняются в соответствии с черт. 8 только при заливке соединителей компаундом или герметиком. При этом петли должны быть минимального размера, позволяющего на контакты соединителя надеть изоляционные трубки.

1 - жгут; 2 - изоляционная лента; 3 - резервные провода

Черт. 3

1 - жгут; 2 - нитяной бандаж; 3 - изоляционная трубка; 4 - провод

Черт. 4

1 - провод; 2 - нитяной бандаж

Черт. 5

1 - провод; 2 - изоляционная трубка

Черт. 6

1 - жгут; 2 - нитяной бандаж (скоба); 3 - изоляционные трубки; 4 - соединитель; 5 - кронштейн

Черт. 7

1 - жгут; 2 - изоляционная трубка; 3 - скоба; 4 - соединитель; 5 - кронштейн; 6 - перемычка

Черт. 8

1 - соединитель; 2 - цепи жгута; 3 - перемычки; 4 - жгут; 5 - кронштейн

Черт. 9

20. При большом количестве перемычек в соединителе и малом количестве цепей (до 10 цепей) перемычки следует выводить ступенчато в ствол жгута в соответствии с черт. 9.

Длина части перемычки в стволе жгута не должна превышать 100 мм.

21. Заливка или обволакивание монтажной части соединителя для защиты от пыли и влаги производится герметиком или компаундом в соответствии с черт. 10.

22. Провода при монтаже не должны иметь повреждений (поджогов, надрезов) и других дефектов, снижающих механическую и электрическую прочность.

23. Провода к контактам соединителей должны подходить свободно без натяжения, быть отрихтованы и для соединителя PC иметь запас по длине на одну перепайку. При заливке компаундом запас может отсутствовать.

24. Зачистку проводов от изоляции следует производить на длину 8 - 10 мм.

25. Жилы проводов следует скрутить в сторону повива, облудить и отрезать в размер.

1 - первый слой герметика; 2 - второй слой герметика; 3 - изоляционная трубка

Черт. 10

Черт. 11

26. Монтаж соединителей с плавающими контактами не допускается производить жесткими одно-проволочными проводами.

27. Монтаж, заливку и обволакивание соединителей с плавающими контактами производить с технологической ответной частью.

28. При заделке в соединители экранированных проводов, разделанных по ГОСТ 23585, не допускается, чтобы оплетка экранов этих проводов входила в изоляционные трубки, надеваемые на контакт соединителей.

29. Перед пайкой концы проводов жгута следует продеть в отверстие специального шаблона (имитатор контактного поля соединителя) для предупреждения перекрещивания проводов в зоне монтажа.

30. Перед пайкой в контакты соединителей на провода должны быть надеты изоляционные трубки диаметром, обеспечивающим плотную посадку их после пайки на контакте и (или) проводе (проводах).

Если соединители подлежат заливке или обволакиванию, возможны два варианта монтажа:

а) с трубками;

б) без трубок - в соответствии с черт. 10.

Для соединителей МР допускается надевать изоляционные трубки через контакт в шахматном порядке.

(Измененная редакция, Изм. № 1, 2).

31. Длина изоляционных трубок, надеваемых на контакты соединителей, должна быть:

7 - 8 мм - для соединителей PC;

6 - 7 мм - для соединителей МР.

32. Соединитель при монтаже следует установить в положение, исключающее затеки флюса внутрь соединителя, так, чтобы срезанная часть контактов была направлена в сторону электромонтажника.

33. Пайку проводов к соединителю следует производить по рядам контактов, начиная с нижнего ряда в направлении слева направо.

34. В расчлененном состоянии контактная сторона соединителя должна быть закрыта технологической крышкой.

35. При пайке жил проводов в соединители выбор мощности паяльника следует производить в соответствии с указаниями НД на соединители.

(Измененная редакция, Изм. № 2).

36. В контакты соединителя МР после разогрева в соответствии с техническими условиями на соединители крепежной части контактов следует закладывать припой ПОС 61 по ГОСТ 21931 из проволоки диаметром 0,5 мм длиной 3 мм или равные объемы других припоев, не снижающих качества монтажа.

37. Время пайки жил проводов в контакты соединителей устанавливают в соответствии с указаниями НД на соединители.

(Измененная редакция, Изм. № 2).

38. В негерметичных соединителях PC перепайка контактов диаметром 1 мм не производится более одного раза. Перепайка соединителя МР не допускается.

39. Паяная поверхность монтажных соединений должна быть блестящей или матовой без темных пятен, трещин, раковин, загрязнений, острых выпуклостей и посторонних включений. Припой должен заливать место соединения со всех сторон, заполняя щели и зазоры между жилами проводов и контактов, с незначительными наплывами припоя на наружной поверхности контакта (черт. 11). Количество припоя, необходимого для пайки, должно быть минимальным.

Качество пайки в соединителях следует проверять после пайки каждого ряда контактов.

40. При выполнении монтажа не должно нарушаться защитное покрытие деталей соединителя, а также покрытие деталей, на которых производится монтаж соединителей.

41. По окончании монтажа соединители должны быть очищены от остатков монтажных материалов и загрязнений.

Требование не распространяется на монтаж с применением флюсов, допускающих не производить очистку.

(Измененная редакция, Изм. № 1).

42. Качество пайки соединителей проверяется при межоперационном контроле до надевания на контакты изоляционных трубок.

43. После монтажа и проверки качества пайки изоляционные трубки должны быть надвинуты на контакты до упора в изолятор соединителя.

44. Прозвонку соединителей следует производить с применением технологической ответной части.

ИНФОРМАЦИОННЫЕ ДАННЫЕ

1. РАЗРАБОТАН И ВНЕСЕН Минобщемашем СССР

2. УТВЕРЖДЕН И ВВЕДЕН В ДЕЙСТВИЕ Постановлением Государственного комитета СССР по стандартам от 26.04.79 № 1535

3. ССЫЛОЧНЫЕ НОРМАТИВНО-ТЕХНИЧЕСКИЕ ДОКУМЕНТЫ

Обозначение НТД, на который дана ссылка

Номер пункта

ГОСТ 14312-79

1

ГОСТ 21931-76

36

ГОСТ 21962-76

1

ГОСТ 23585-79

28

4. ПЕРЕИЗДАНИЕ, февраль 1998 г., с Изменениями № 1, 2, утвержденными в декабре 1983 г. и марте 1990 г.

 




ГОСТЫ, СТРОИТЕЛЬНЫЕ и ТЕХНИЧЕСКИЕ НОРМАТИВЫ.
Некоммерческая онлайн система, содержащая все Российские Госты, национальные Стандарты и нормативы.
В Системе содержится более 150000 файлов нормативно-технической документации, действующей на территории РФ.
Система предназначена для широкого круга инженерно-технических специалистов.

Рейтинг@Mail.ru Яндекс цитирования

Copyright © www.gostrf.com, 2008 - 2026