|
|
|
МИНИСТЕРСТВО ТОПЛИВА И ЭНЕРГЕТИКИ РОССИЙСКОЙ ФЕДЕРАЦИИ РОССИЙСКОЕ АКЦИОНЕРНОЕ ОБЩЕСТВО ЭНЕРГЕТИКИ И ЭЛЕКТРИФИКАЦИИ "ЕЭС РОССИИ"
ПРАВИЛА ПРОЕКТИРОВАНИЯ, СТРОИТЕЛЬСТВА И ЭКСПЛУАТАЦИИ ВОЛОКОННО-ОПТИЧЕСКИХ ЛИНИЙ СВЯЗИ НА ВОЗДУШНЫХ ЛИНИЯХ ЭЛЕКТРОПЕРЕДАЧИ НАПРЯЖЕНИЕМ 110 KB И ВЫШЕ РД 153-34.0-48.518-98 (в четырех частях) 1-я редакция Обязательны для организаций и предприятий любой формы собственности, занимающихся проектированием, строительством и эксплуатацией волоконно-оптических линий связи по воздушным линиям электропередачи напряжением 110 кВ и выше. УДК 621.311. : 621.315 РАЗРАБОТЧИКИ: БП Электросетьсервис, институт "Энергосетьпроект", НТЦ связи "ЦНИИС-РТК", ГП Отделение Дальних Передач, АО "Фирма ОРГРЭС", ТОО "ВИТА", ОАО "Оргэнергострой"
РЕДАКЦИОННАЯ КОМИССИЯ: В.В. Кудрявый (председатель), Н.С. Мардер (заместитель председателя), Р.Б. Крейнин, Н.М. Коробков, Ю.А. Толмачев, В.Х. Ишкин, А.С. Воронцов, И.И. Батюк, А.П. Котельников, А.Н. Печенкин, И.З. Глускин, А.Ю. Цым, Б.И. Механошин, Э.В. Кокасадзе, В.Г. Ходатай, В.Н. Тулинов, Л.И. Измайлова, В.М. Шедько, Е.А. Хволес, Б.И. Смирнов, С.В. Коробанов.
Содержание
ЧАСТЬ 1
|
|||||||||||||||||||||||||||||||||||||||||||||||||||||||||||||||||||||||||||||||||||||||||||||||||||||||||||||||||||||||||||||||||||||||||||||||||||||||||||||||||||||||||||||||||||||||||||||||||||||||||||||||||||||||||||||||||||||||||||||||||||||||||||||||||||||||||||||||||||||||||||||||||||||||||||||||||||||||||||||||||||||||||||||||||||||||||||||||||||||||||||||||||||||||||||||||||||||||||||||||||||||||||||||||||||||||||||||||||||||||||||||||||||||||||||||||||||||||||||||||||||||||||||||||||||||||||||||||||||||||||||||||||||||||||||||||||||||||||||||||||||||||||||||||||||||||||||||||||||||||||||||||||||||||||||||||||||||||||||||||||||||||||||||||||||||||||||||||||||||||||||||||||||||||||||||||||||||||||||||||||||||||||||||||||||||||||||||||||||||||||||||||||||||||||||||||||||||||||||||||||||||||||||||||||||||||||||||||||||||||||||||||||||||||||||||||||||||||||||||||||||||||||||||||||||||||||||||||||||||||||||||||||||||||||||||||||||||||||||||||||||||||||||||||||||||||||||||||||||||||
|
Наименование |
Элемент конструкции, характеристика |
|
Технические параметры |
Механическая прочность при воздействии гололеда и ветра, герметичность, влагостойкость, стойкость к термическому воздействию токов короткого замыкания, стойкость к прямому воздействию ударов молнии, коррозиестойкость, стойкость к воздействию соляного тумана, стойкость к воздействию высоких и низких температур. Срок службы не менее 25 лет. |
2.1.31. При выборе ОКГТ должна учитываться его термическая стойкость при воздействии токов короткого замыкания (ТКЗ) с учетом перспективы увеличения нагрузки и времени срабатывания основной защиты и аппаратуры повторного включения (АПВ).
При наличии зоны нечувствительности основной защиты, термическая стойкость должна дополнительно проверяться по времени действия защиты, реагирующей на повреждение в этой зоне.
В случае необходимости в проекте ВОЛС-ВЛ должны быть разработаны мероприятия по обеспечению термической стойкости ОКГТ (по снижению ТКЗ и времени его воздействия).
2.1.32. При выборе ОКГТ должны учитываться условия образования на поверхности кабеля электрической короны в соответствии с требованиями пункта 1.3.33 ПУЭ.
2.1.33. В районах, где опытом эксплуатации установлено разрушение сталеалюминевых проводов от коррозии (побережье морей, соленых озер, промышленные районы, районы засоленных песков, прилежащие к ним районы с атмосферой воздуха типов II и III), а также в местах, где такое разрушение ожидается на основании данных изысканий, следует применять ОКГТ повышенной коррозионной стойкости.
На равнинной местности при отсутствии данных эксплуатации ширину прибрежной полосы, к которой относится указанное требование, следует принимать равной 5 км, а полосы от химических предприятий - 1,5 км.
2.1.34. Перечень основных технических параметров приведен в таблице 2.1.34.
Таблица 2.1.34.
|
Наименование |
Требования |
|
Технические параметры |
Механическая прочность при воздействии гололеда и ветра, герметичность, влагостойкость, стойкость к воздействию высоких и низких температур, стойкость к воздействию напряженности электрического поля ВЛ. Срок службы не менее 25 лет. |
2.1.35. При выборе ОКСН должна учитываться его стойкость к воздействию электрического поля (ЭП) межфазового пространства ВЛ при условии возможного загрязнения и увлажнения поверхности ОК. Допускаемые параметры воздействия ЭП должны соответствовать рекомендациям фирмы-изготовителя.
2.1.36. Параметры, необходимые для механического расчета ОКГТ и ОКСН (допускаемые тяжения или напряжения и физико-механические характеристики), должны определяться по данным фирм-изготовителей или на основе специальных испытаний, проводимых на стадии разработки конструкции.
2.1.37. Механический расчет должен производиться на основании следующих исходных условий:
при наибольшей нормативной и расчетной нагрузке от гололеда и ветра; при низшей температуре и отсутствии внешних нагрузок;
при среднегодовой температуре и отсутствии внешних нагрузок.
2.1.38. Допустимые тяжения для исходных условий механического расчета кабеля приведены в табл. 2.1.38.
Табл. 2.1.38.
|
Исходные условия |
Допустимые тяжения |
Относительное удлинение ОВ в % |
||
|
Определения |
Значения в % от разрушающей нагрузки |
|||
|
окгт |
ОКСН |
|||
|
Нормативная наибольшая внешняя нагрузка; низшая температура при отсутствии внешних нагрузок |
Тяжение, при котором обеспечивается стабильная прочность и оптические характеристики волокна в течении всего срока службы |
40-45 |
40-45 |
0 |
|
Среднегодовая температура при отсутствии внешних нагрузок (everyday stress) |
Тяжение, при котором обеспечивается прочность ОК на усталость (оптических волокон и несущих элементов) при вибрации и ветре, в случае установки гасителей вибрации в течении всего срока службы |
16-18 |
25-35 |
0 |
|
Расчетная наибольшая внешняя нагрузка от гололеда и ветра |
Максимальное допустимое тяжение по предельному удлинению оптического волокна по его прочности при перегрузках от гололеда с ветром с расчетной повторяемостью (см. п. 2.1.16.) |
65-70 |
65-70 |
0,22 |
|
Разрушающая нагрузка (breaking stress) |
Минимальное тяжение, при котором повреждаются несущие элементы кабеля или оптические волокна |
100 |
100 |
- |
____________
2 Для конструкций ОКГТ фирмы Alcoa Fujikura - до 0,7%
2.1.39. При расчете стрел провеса ОК тяжения не должны превышать допустимых в табл. 2.1.38.
2.1.40. Минимально допустимые сечения несущей части ОКГТ и ОКСН приведены в табл. 2.1.40.
Табл. 2.1.40.
|
Характеристика ВОЛС-ВЛ |
Сечение несущей части кабеля, мм2 |
|
|
ОКСН* |
ОКГТ |
|
|
ВОЛС-ВЛ без пересечений |
50 |
70 |
|
Пролеты пересечений с инженерными сооружениями и судоходными реками |
95 |
70 |
___________
* Для несущих элементов из стеклопластика
2.1.41. Выбор ОКГТ и ОКСН должен производиться с учетом несущей способности элементов опор и фундаментов (заделок опор), на которых они должны быть подвешены.
2.1.42. Типы и схемы установки гасителей вибрации на ОК в пролетах ВЛ должны приниматься по данным фирм-изготовителей или по результатам специальных стендовых или полевых испытаний.
2.1.43. При выборе ОК необходимо учитывать, что ОК при монтаже может находиться на опоре в раскаточном устройстве без установки гасителей вибрации не более 48 часов.
2.1.44. При выборе ОК необходимо учитывать, что минимальная температура и допустимый радиус изгиба, при которых допускается монтаж ОК, должны соответствовать значениям, указанным в нормативной документации на кабель.
2.1.45. При выборе типа кабеля необходимо учитывать, что ОКНН может навиваться на нерасщепленном грозозащитном тросе, а также на фазном проводе без дистанционных распоров.
2.1.46. При выборе ОКНН для навивки на фазном проводе следует учитывать:
- стойкость кабеля при воздействии напряженности электрического поля на поверхности проводов;
- стойкость при нагреве провода рабочим током и током короткого замыкания;
- физическое состояние провода и его соединительных зажимов.
2.1.47. При выборе ОКНН для навивки на грозозащитном тросе следует также учитывать:
- стойкость кабеля при воздействии токов короткого замыкания;
- стойкость кабеля при воздействии наведенного электрического напряжения на тросе;
- стойкость кабеля при воздействии в трос прямых ударов молнии;
- физическое состояние троса и соединительных зажимов.
2.1.48. При выборе ОКНН для навивки на фазный провод и грозозащитный трос следует также учитывать:
- увеличение внешних нагрузок на провод и грозозащитный трос, на котором навит кабель, на элементы ВЛ (опоры, фундаменты, изоляторы и пр.) при ветре и гололеде;
- тяжение по кабелю, возникающее при изменении длины (или стрелы провеса) провода или грозозащитного троса при воздействии температуры воздуха или гололеда и ветра..
2.1.49. Количество оптических волокон в ОК следует определять с учетом определенной перспективы роста трафика.
2.1.50. Перечень технических параметров и диапазон их значений для ОКГТ и ОКСН приведены в таблице п. 5.1. приложения 5.
Основные параметры оптических волокон кабелей приведены в таблице п. 5.2. приложения 5.
2.1.51. При размещении ОКГТ на опорах ВЛ должны учитываться следующие условия:
- защита ВЛ от грозовых перенапряжений;
- коронирование ОКГТ в электрическом поле проводов ВЛ;
- условия работы ОКГТ в пролетах при сближении кабеля и фазных проводов при гололеде и ветре;
- пляска проводов ВЛ.
2.1.52. Размещение ОКГТ по условиям защиты ВЛ от грозовых перенапряжений должна производиться в соответствии с требованиями пп. 2.5.66, 2.5.67 ПУЭ, как подвеска грозозащитного троса.
2.1.53. Выбор расстояния между проводами и ОКГТ по условию работы в пролете должен производиться по п. 2.5.51 и 2.5.55 ПУЭ, как для грозозащитного троса.
2.1.54. Расстояние между проводом и ОКГТ должно быть проверено по условиям сближения, свободных от гололеда проводов и ОКГТ, который покрыт гололедом. При этом расстояние между проводом и ОКГТ должно быть не менее указанных в табл. 2.5.20 ПУЭ по рабочему напряжению.
2.1.55. При подвеске ОКГТ допускается применение гасителей пляски проводов согласно "Методическим указаниям по районированию территорий энергосистем и трасс ВЛ по частоте повторяемости и интенсивности пляски проводов" (РД 34.20.184-91).
2.1.56. При выборе места размещения ОКСН на опорах ВЛ должны учитываться следующие условия:
- удобство монтажа и последующего технического обслуживания;
- воздействие электрического поля (ЭП) межфазного пространства ВЛ при реальных условиях загрязнения и увлажнения оболочки кабеля;
- условия работы ОКСН в пролетах.
2.1.57. При выборе расположения ОКСН относительно фазных проводов по воздействию ЭП параметры электрического поля должны соответствовать указанным в нормативной документации на кабель.
2.1.58. В целях предотвращения случайного механического повреждения ОКСН рекомендуется подвеска кабеля выше нижних проводов ВЛ.
2.1.59. Расстояния ОКСН до поверхности земли при наибольшей стреле провеса должны быть не менее приведенных в табл. 2.5.23 и 2.5.24 ПУЭ и по величине соответствовать классу напряжения ВЛ, на которой размещается кабель. Допускается при необходимости расстояние до земли принимать как для ВЛ 110 кВ.
2.1.60. Расстояния ОКСН до инженерных сооружений при наибольшей стреле провеса должны быть не менее приведенных в табл. 2.5.25, 2.5.28, 2.5.31, 2.5.32, 2.5.33, 2.5.34, 2.5.35 ПУЭ и по величине соответствовать классу напряжения ВЛ, на которой подвешивается кабель.
2.1.61. Выбранная точка подвески ОКСН должна быть проверена по условию сближения ОКСН в середине пролета с проводом или грозозащитным тросом.
Проверка должна производиться при наибольшей стреле провеса, соответствующей габаритному пролету при нормативных нагрузках и при отсутствии ветра.
Расстояние проверяется по параметрам провода, грозозащитного троса и ОКСН и должно быть не менее 1,0 м.
2.1.62. При подвеске ОКСН допускается применение гасителей пляски проводов согласно "Методическим указаниям по районированию территории энергосистем и трасс ВЛ по частоте повторяемости и интенсивности пляски проводов" (РД 34.20.184-91).
2.1.63. Соединение разных строительных длин ОК выполняется на промежуточных и анкерных опорах. При этом следует отдавать предпочтение анкерным опорам.
2.1.64. Выбор места установки соединительных муфт (СМ) рекомендуется выполнять по результатам натурного обследования трассы ВОЛС-ВЛ.
2.1.65. К опорам, где устанавливается СМ должен обеспечиваться проезд машин со сварочной и измерительной техникой в любое время года.
2.1.66. Крепление СМ на опоре осуществляется на высоте не менее 6 метров.
2.1.67. Запас длины ОК с учетом соединения строительных длин в СМ должен быть выбран с учетом возможности выполнения сварки оптических волокон на земле в передвижной лаборатории.
2.1.68. Нижняя точка спуска ОКГТ и ОКСН при входе в СМ должна располагаться на высоте не менее 5,0 м.
2.1.69. Радиусы изгиба ОК должны быть не менее указанных в нормативно-технической документации.
2.1.70. Устройство крепления СМ на опоре должно обеспечивать демонтаж и монтаж СМ в эксплуатации в любое время года.
2.1.71. Крепление запасов длины ОК в местах установки СМ рекомендуется выполнять с помощью специальных барабанов.
2.1.72. На промежуточных опорах, где установлены СМ, кабели должны крепиться с помощью натяжных зажимов или с помощью подвесного устройства с двумя натяжными зажимами.
2.1.73. Пластмассовые СМ должны применяться с металлическим защитным кожухом. Корпус металлических СМ или защитный кожух неметаллических СМ должны быть заземлены.
2.1.74. Монтаж СМ на опорах ВЛ допускается производить при температуре не ниже указанной в нормативной документации на кабель.
2.1.75. Арматура для подвески кабеля должна соответствовать ГОСТ или техническим условиям, утвержденным в установленном порядке.
2.1.76. При выборе конструкций натяжных и поддерживающих зажимов кабелей следует использовать зажимы спирального типа, при которых обеспечивается снижение поперечных нагрузок на оптические волокна кабеля.
2.1.77. Натяжные и поддерживающие зажимы для ОКСН должны обеспечивать надежную работу ОКСН в электрическом поле ВЛ.
2.1.78. Зажимы кабеля для ОКГТ должны быть стойкими при протекании по ним токов короткого замыкания и токов молнии.
2.1.79. Прочность заделки ОК в натяжных зажимах должна составлять не менее 90 % разрывной прочности кабеля.
2.1.80. Заделка ОК в поддерживающем зажиме должна исключать перемещение кабеля относительно оси подвески в эксплуатации при гололеде и ветре.
2.1.81. Коэффициент запаса прочности линейной арматуры, входящей в состав крепления кабелей, т.е. отношение минимальной разрушающей нагрузки к нормативной нагрузке, воспринимаемой арматурой, должен быть не менее 2,5 при работе ВОЛС-ВЛ в нормальном режиме.
2.1.82. Защита линейной арматуры от коррозии должна осуществляться согласно требованиям ГОСТ 13276 "Арматура линейная. Общие технические условия".
В местах, где наблюдается разрушение арматуры ВЛ от коррозии, должна применяться арматура в специальном коррозиестойком исполнении.
2.1.83. Размеры натяжного и поддерживающего зажима рекомендуется выбирать с учетом возможности установки на них динамического гасителя вибраций (с грузами).
2.1.84. Динамические гасители вибрации (с грузами) должны устанавливаться либо на протекторы натяжных или поддерживающих зажимов, либо на отдельные протекторы.
2.1.85. При применении кабелей иностранных фирм рекомендуется использовать арматуру (поддерживающие, натяжные зажимы и гасители вибрации и др.) фирмы-поставщика. При применении для крепления кабеля арматуры других фирм допустимость их применения должна быть обоснована.
2.1.86. Крепление зажимов к опорам должно осуществляться шарнирно.
2.1.87. Крепления ОКГТ должны быть заземлены на каждой опоре.
2.1.88. Сопротивление заземления опор на новых и действующих ВЛ при подвеске ВОЛС-ВЛ не должно быть более указанного в таблице 2.5.22 ПУЭ.
2.1.89. Заземление креплений ОКГТ должно выполняться отдельным заземляющим проводником.
2.2.1. На открытой части подстанций (ПС) волоконно-оптический кабель должен размещаться следующими способами:
- подвеска с использованием существующих сооружений (опоры ВЛ, порталы, антенные опоры и др.) и вновь устанавливаемых ж/б стоек;
- прокладка в кабельной канализации, кабельных лотках и грунте.
2.2.2. Подвеска оптических кабелей с использованием существующих сооружений (опоры ВЛ, порталы, антенные опоры и др.) и вновь устанавливаемых ж/б стоек должна производиться по правилам раздела 2.2. настоящих правил.
2.2.3. Подвеска оптических кабелей не должна препятствовать использованию механизмов и инвентарных устройств, их подъезду к элементам подстанций при эксплуатации и ремонтных работах в соответствии с действующими нормами и правилами.
2.2.4. В кабельной канализации и грунте должен прокладываться оптический кабель, влагоустойчивый, с защитой от грызунов, как правило, без металлических элементов. Тип кабеля определяется при конкретном проектировании.
2.2.5. Прокладка оптического кабеля в кабельной канализации и земле должна производиться в соответствии с "Инструкцией по проектированию линейно-кабельных сооружений", ВСН-116-93, Минсвязь России, 1993 г.:
- в кабельной канализации - п.п. 6.3.1. - 6.3.2;
- в грунте - п.п. 6.2.1., 6.2.2., 6.2.4. (разработка грунта), 6.2.5. (глубина прокладки).
2.2.6. В кабельных лотках совместно с силовыми и контрольными кабелями должен прокладываться оптический кабель на расстоянии 0,25 м от них без металлических элементов, влагоустойчивый и не распространяющий горение.
2.2.7. В случае, если раздавливающее усилие, которое выдерживает кабель, меньше 200 кг/см, кабель должен быть защищен от механических повреждений пластиковой пожаробезопасной трубой, выдерживающей указанную раздавливающую нагрузку.
2.3.1. В создаваемой Единой сети электросвязи и телемеханики электроэнергетики средства связи должны выбираться, исходя из обеспечения энергетических объектов необходимыми каналами телефонной связи для нужд оперативно-диспетчерского и производственно-хозяйственного управления, каналами системной автоматики (ПА) и релейной защиты (РЗ), каналами передачи данных, электронной почты, каналами связи для совещаний, факса и абонентского телеграфа.
Проектирование и внедрение средств связи по ВОЛС-ВЛ должно осуществляться на основе определения объемов и потоков информации для каждого уровня управления и выполнения требований по обмену информацией с вышестоящим уровнем управления.
Проектируемые средства связи должны обеспечивать возможность развития системы управления данного уровня на перспективу.
Средства связи на энергообъектах должны выбираться с учетом требований по надежности, достоверности и быстродействию.
Согласно "Руководящим указаниям по выбору объемов информации в энергосистемах" (Москва, 1991 г. "Союзтехэнерго") коэффициент готовности должен быть не менее:
- для диспетчерско-телефонной связи - 0,98
- для систем АРЧМ - 0,997
- для систем ПА и РЗ - 0,998
2.3.2. Проектирование ВОЛС-ВЛ должно включать разработку схемы организации связи, определение требуемой надежности, расчет длин регенерационных участков, выбор вида цифровой технологии (PDH, SDH, ATM и др.) и типа оборудования ЦСП. Проектирование установок оборудования ВСС РФ и других сетей энергообъектов необходимо осуществлять с учетом ОСТ 45.86-96 "Линейно-аппаратные цеха оконечных междугородных станций, сетевых узлов, усилительных и регенерационных пунктов".
2.3.3. В структуре современной цифровой сети связи выделяют сеть доступа и транспортную сеть. ВОЛС - ВЛ используются для построения транспортной сети с помощью транспортных модулей STM-N синхронной цифровой иерархии.
Для единой сети электросвязи и телемеханики электроэнергетики России (ЕСЭТЭ) допускается использование аппаратуры плезиохронной цифровой иерархии.
Специальные требования к аппаратуре не предъявляются.
2.3.4. Иерархические параметры транспортных модулей даны в таблице 2.3.4.
Таблица 2.3.4
|
Наименование аппаратуры |
Скорость передачи Мбит/с |
Количество потоков Е1 |
Количество ОЦК |
|
STM-1 |
155 |
63 |
1890 |
|
STM-4 |
620 |
252 |
7560 |
|
STM-16 |
2500 |
1008 |
30240 |
|
STM-64 |
10000 |
4032 |
120960 |
2.3.5. Аппаратура должна соответствовать настоящим требованиям и рекомендациям МСЭ-Т: G.703, G.707, G.708, G.709, G.712, G.742, G.751, G.773, G.811, G.812, G.821, G.823, G.825, G.826, G.921 М.20, М.2100, М.2101, М.3010, Х.25, а также проектам новых рекомендаций: G.81s, G.82x, G.747, G.752, G.755, G.957, G.958 и М.550.
2.3.6. В состав обслуживаемых станций ВОЛС - ВЛ должны входить:
мультиплексоры оконечные,
мультиплексоры ввода/вывода,
устройства оперативного переключения,
аппаратура автоматизированного технического обслуживания,
аппаратура системы служебной связи,
оборудование для ремонта,
комплект испытательного и измерительного оборудования для обслуживания линии.
2.3.7. Комплекс аппаратуры необслуживаемых промежуточных станций (для установки в помещениях или в контейнерах) должен включать в себя:
регенераторы цифрового потока (с оптическими усилителями или без них),
установки бесперебойного питания,
аппаратуру телеконтроля,
аппаратуру служебной связи,
устройства кондиционирования воздуха при необходимости,
датчик воды и сигнализации несанкционированного доступа (для контейнера).
Поставщик аппаратуры должен обеспечить Сертификат соответствия и Сертификат безопасности поставляемого оборудования.
2.3.8. По условиям эксплуатации аппаратура, устанавливаемая в помещениях с регулируемым климатом (ОРП и НРП), как правило, должна удовлетворять следующим требованиям:
диапазон рабочих температур 5 °С ... 40 °С,
низкое атмосферное давление 60 кПа (450 мм рт. ст.),
относительная влажность: 80 % при 25 °С.
2.3.9. Аппаратура должна отвечать требованиям стандартов по электромагнитной совместимости:
МЭК 801-2, 1991 Электрические разряды, испытательный уровень 4;
МЭК 801-3, Устойчивость против излучений, уровень 3;
МЭК 801-4, 1988 Электрические переходные процессы, уровень 2;
МЭК 801-5 Устойчивость против импульсов;
МЭК 801-6 Наводимое влияние, уровень 2.
2.3.10. Аппаратура ВОЛС-ВЛ должна отвечать следующим требованиям по надежности:
среднее расчетное время наработки до отказа одного комплекта аппаратуры не менее 20 лет3 (критерий отказа - превышение коэффициента ошибок 10Е(-3) в течение последовательных 10 секунд), среднее время восстановления обслуживаемых станций (при использовании блоков из ЗИП) не более 10 мин. на одну неисправность,
____________
3 Допускается применение резервирования
среднее время восстановления необслуживаемых станций (при использовании блоков из ЗИП) не более 30 мин. на одну неисправность без учета времени локализации и подъезда к месту повреждения,
срок службы аппаратуры (долговечность) не менее 20 лет, гарантийный срок с момента отгрузки ее заводом изготовителем не менее 2,5 года, включая срок хранения не более 1 года,
коэффициент готовности ОЦК на эталонной гипотетической цепи (ЭГЦ) длиной 13900 км не менее 0,995.
2.3.11. Аппаратура ВОЛС - ВЛ должна отвечать следующим требованиям к качеству передачи:
джиттер в трактах, образованных с помощью аппаратуры СЦИ, должен соответствовать Рекомендациям G.825, G.958 (STM-N), G.823 и G.783,
верность передачи в цифровых трактах, образованных с помощью аппаратуры СЦИ, должна соответствовать требованиям рекомендаций МЭС-Т G.826 (долговременные нормы) и М.2100, М.2101 (оперативные нормы).
2.3.12. Комплект аппаратуры обслуживаемых станций должен питаться от источника постоянного тока с заземленным плюсом и номинальным напряжением питания 48/68 В при изменениях напряжения на вводах питания в пределах от 41,8 до 72 В.
Аппаратура необслуживаемых станций должна питаться от источника бесперебойного питания (ИБП), рассчитанного на работу от промышленной сети переменного тока 50 Гц.
2.3.13. В случае, когда очевидна необходимость увеличения в ближайшем будущем пропускной способности ВОЛС - ВЛ, целесообразно использовать аппаратуру спектрально-волнового уплотнения.
Это позволяет увеличить пропускную способность последовательным добавлением до 7 новых цифровых потоков STM-16 в специальное оптическое волокно типа "True Wave".
2.3.14. При выборе типа оборудования ЦСП для ЕСЭТЭ должно учитываться следующее:
- на магистральных и межсистемных ВОЛС-ВЛ (уровень ЦДУ-ОДУ, ОДУ между собой) рекомендуется применять системы передачи со скоростью передачи 155/622 МБит/с (технология SDH);
- на зоновых (внутрисистемных) ВОЛС-ВЛ (уровень ОДУ-АО-энерго, АО-энерго ПЭС, РЭС) - со скоростью передачи 2, 8, 34 МБит/с (технология PDH).
2.3.15. При выборе оборудования ЦСП должны учитываться следующие факторы:
- параметры каналов (речевой или передачи данных, число каналов, скорость передачи информации в каждом канале);
- перекрываемое затухание (энергетический ресурс);
- параметры оптического волокна;
- способ резервирования;
- необходимость служебной связи (групповой или селективный вызов);
- тип АТС или УАТС, к которому подключается канал;
- напряжение питания;
- габариты оборудования.
2.3.16. При комплектации оборудования связи должно быть учтено кроссовое оборудование (телефонные, цифровые и оптические кроссы) и измерительные приборы.
2.3.17. Оборудование связи должно размещаться, как правило, в существующих помещениях узлов связи электрических подстанций. Допускается размещение оборудования в других помещениях, подземных контейнерах или наземных шельтерах. Помещения должны удовлетворять требованиям действующих норм к помещениям связи.
2.3.18. Автоматическая междугородная связь должна быть организована с помощью электронной аппаратуры дальней автоматической связи (АДАСЭ) в том случае, если в составе оборудования коммутационной станции нет комплекта двухчастотной связи (1200, 1600 Гц).
2.3.19. Специальное оборудование связи для энергетики (например, АДАСЭ), средства телемеханики и кабельной продукции должно иметь Сертификат соответствия.
2.3.20. Преимущественное право использования каналов энергосистем должно всегда предоставляться оперативному персоналу.
2.3.21. Аппаратуру цифровых систем передачи целесообразно размещать в общем помещении с другим оборудованием проводной связи. Требования к помещениям должны соответствовать нормам и стандартам, приведенным в п.п. 2.3.2 и 2.3.9.
2.3.22. При размещении в отдельном помещении в зависимости от ширины помещения расположение аппаратуры цифровых систем передачи может быть осуществлено односторонними или двухсторонними рядами по одной или обеим сторонам от главного прохода.
При одностороннем расположении главный проход должен находиться между стеной без окон и рядами аппаратуры.
2.3.23. В первом ряду в непосредственной близости от места ввода ОК должны устанавливаться вводно-коммутационные устройства.
Парные ряды с аппаратурой цифровых систем передачи должны располагаться лицевыми сторонами друг к другу. При компоновке рядов следует в одних рядах сосредотачивать однотипную аппаратуру цифровых систем передачи с учетом группировки по отдельным направлениям.
2.3.24. Размеры эксплуатационных проходов при размещении в отдельном помещении должны учитывать следующее:
- при размещении оборудования в существующих нетиповых зданиях эксплуатационные проходы определяются исходя из фактически допустимой нагрузки на перекрытие, определяемой расчетом;
- стойки аппаратуры цифровых систем передачи, конструкция которых позволяет в процессе монтажа, эксплуатации и измерений доступ к ее элементам с лицевой стороны, могут устанавливаться монтажными сторонами друг к другу или монтажной стороной вплотную к стене.
2.3.25. При совмещенном размещении аппаратуры цифровых систем передачи с оборудованием ЛАЦ или УАТС расположение аппаратуры должно соответствовать принципам расположения основного оборудования.
Расстояние между выступающими частями лицевой стороны стоек аппаратуры цифровых систем передачи и выступающими частями других видов оборудования должны соответствовать:
- проход между рядами - 1200 мм;
- проход между рядом и стеной - 1000 мм;
- боковой проход между торцом ряда и стеной - 600 мм.
2.3.26. Вводы оптических кабелей в помещения узлов связи энергообъектов для подключения кабелей к аппаратуре связи оконечных и промежуточных пунктов должны осуществляться:
- для оптических кабелей ОК, прокладываемых в траншее, телефонной канализации, кабельных лотках, - через специальные помещения ввода кабелей (шахты), размещаемые, как правило, в подвальном (цокольном) помещении, а в зданиях без под валов - на первом этаже с устройством приямков в полу помещения. При отсутствии в зданиях скрытых каналов, технических подполий или подвалов кабель следует вводить в здания открытым способом по стенам зданий, как правило, боковым или со стороны двора;
- для самонесущих оптических кабелей возможен заход воздушным путем на крышу или стену здания с прокладкой кабеля открытым способом по стенам зданий, как правило, боковым или со стороны двора.
2.3.27. Разработку проектных решений по вводу кабелей в технические задания предприятий связи следует осуществлять с учетом обеспечения минимальной длины прокладки их внутри помещений, наименьшего количества изгибов, обеспечения допустимых радиусов изгиба кабелей, максимального использования существующего вводно-кабельного оборудования и металлоконструкций.
2.3.28. Для ввода кабелей в проем фундамента или стены здания узлов связи следует закладывать вводный блок из асбестоцементных (бетонных) труб с внутренним диаметром каналов 100 мм и вводные колодцы. Количество и длина труб, необходимость колодцев определяется проектом в зависимости от числа вводимых кабелей с учетом запасных каналов на развитие.
2.3.29. Необходимо обеспечить герметичность ввода оптических кабелей в здания для исключения попадания природного газа, грунтовых вод и осадков, а также промерзания крепежных металлоконструкций.
2.3.30. Оптические кабели внутри помещения служб связи должны соединяться со станционными кабелями с использованием устройств соединения станционного и линейного кабеля или оптических кроссов. Допускается соединение кабелей с помощью соединительных муфт, размещаемых на металлоконструкциях ЛАЦа.
2.3.31. Прокладка линейных оптических кабелей из помещения ввода кабелей в ЛАЦ до места установки блоков линейных трактов аппаратуры связи, устройств соединения станционного и линейного кабеля (УССЛК), оптических кроссов должна осуществляться по воздушным желобам и вертикальным шахтам.
2.3.32. Оптический кабель с внешней горючей полиэтиленовой оболочкой на всей длине прокладки в линейно-аппаратном цехе (ЛАЦе) до устройств стыка оптических станционного и линейного кабелей (УССЛК) должен обматываться поливинилхлоридной лентой с перекрытием 25%, прокладываться в ПВХ трубе или покрываться специальной мастикой.
2.3.33. При использовании для прокладки по территории энергетических объектов волоконно-оптических кабелей с металлической броней часть кабеля, вводимая в здание, освобождается от брони на длине 100-150 мм; броня кабеля должна быть соединена с контуром заземления здания.
2.3.34. При проектировании заземляющих устройств следует руководствоваться требованиями и нормами ГОСТ 464-79, "Руководством по проектированию, строительству и эксплуатации заземлений в установках проводной связи и радиотрансляционных узлов", Минсвязи СССР, а также "Рекомендациями по вопросам оборудования заземлений и заземляющих проводок ЛАЦ и НУП, Минсвязь СССР.
2.3.35. Аппаратура цифровых систем передачи ВОЛС-ВЛ должна питаться от источников гарантированного электропитания и не допускающих перерывов при коммутациях основного и резервного вводов входного напряжения переменного и постоянного тока.
2.3.36. Совмещение электропитания аппаратуры цифровых систем передачи ВОЛС-ВЛ с электропитанием существующей аппаратуры связи решается проектом.
2.3.37. Заземление устройств электропитания ВОЛС-ВЛ должно осуществляться в соответствии с ГОСТ 464-79, "Руководством по проектированию, строительству и эксплуатации заземлений в установках проводной связи и радиотрансляционных узлов" Минсвязи СССР, "Рекомендациям по вопросу оборудования заземлений и заземляющих проводок ЛАЦ и НУП", Минсвязь СССР и ВСН 332-93 "Инструкция по проектированию электроустановок предприятий и сооружений электросвязи".
2.3.38. При расчете емкости кабелей ВОЛС магистральной и распределительной сети следует учитывать:
- генеральную схему развития магистральных ВОЛС-ВЛ (принятую Департаментом электрических сетей и ЦДУ РАО "ЕЭС России") и ее реализацию по регионам;
- требования энергослужб по техническим условиям развития средств связи с выходом на ВСС РФ и междугородную связь;
- требования по техническим условиям других ведомств и организаций Госкомсвязи.
2.3.39. В общей емкости проектируемой ВОЛС должен учитываться резерв.
2.3.40. Число соединительных линий с УАТС определяется в соответствии с "Ведомственными нормами технологического проектирования. Станции городских и сельских телефонных сетей." ВНТП 112-86, Минсвязи СССР.
2.3.41. Число соединительных линий межстанционной связи определяется расчетом в соответствии с требованиями ВНТП 112-86.
2.3.42. Для эксплуатационно-технического обслуживания ВОЛС-ВЛ с аппаратурой цифровых систем передачи должны организовываться служебные каналы связи между оконечными пунктами (ОП), а также между ОП и РП.
2.3.43. Для линейно-эксплуатационного обслуживания ВОЛС-ВЛ персонал должен быть обеспечен подвижной беспоисковой радиосвязью в диапазоне частот, выделенном для энергетики.
2.3.44. При проектировании ВОЛС-ВЛ следует предусматривать измерительную аппаратуру, предназначенную для эксплуатационного обслуживания и ремонта.
3.1.1. Настоящие правила устанавливают требования к организации, управлению, планированию и ведению строительства волоконно-оптических линий связи на воздушных линиях электропередачи напряжением 110 кВ и выше на всех этапах подготовки и проведения строительства.
3.1.2. Правила распространяются на сооружение ВОЛС-ВЛ на строящихся и действующих ВЛ 110 кВ и выше.
3.1.3. Рассматривается сооружение ВОЛС-ВЛ с подвеской трех типов волоконно-оптического кабеля связи: встроенного в грозозащитный трос - ОКГТ, самонесущего неметаллического - ОКСН и навивного - ОКНН.
3.1.4. При разработке решений по организации строительства необходимо руководствоваться требованиями законодательных и нормативных актов Российской Федерации, строительными нормами и правилами, стандартами, инструкциями и указаниями, утвержденными в установленном порядке (Приложение 3).
3.1.5. В процессе подготовки к строительству ВОЛС-ВЛ должны быть выполнены следующие основные мероприятия:
а) изучена проектно-сметная документация;
б) изучены и уточнены трассы и расстояния между опорами ВЛ, а также условия производства работ;
в) изучен и уточнен по согласованию с заказчиком проект организации строительства (ПОС);
г) составлены проект производства работ (ППР) и графики их выполнения;
д) определены потребности в рабочей силе (по профессиям) и инженерно-технических специалистах;
е) определены потребности и подготовлены механизмы, автотранспорт и измерительная аппаратура;
ж) произведен расчет, обоснование и заявлено материально-техническое обеспечение (инструменты, материалы, в том числе горючесмазочные, нетиповые конструкции, монтажные детали, соединительные муфты и др.);
з) организованы и размещены на трассе строительно-монтажные подразделения.
3.1.6. Заказчик, как правило, за шесть месяцев до начала планируемого года должен передать подрядной строительной организации4 утвержденную к производству проектную документацию.
______________
4 Строительная организация выбирается по результатам конкурса (тендера), проводимого, как правило, заказчиком.
3.1.7. До начала строительства административно-технический персонал должен ознакомиться с трассой ВЛ.
При этом особое внимание должно быть обращено на сложные участки: речные переходы, пересечения железных и автомобильных дорог, пересечения с другими ВЛ, заходы на подстанции, планируемые места размещения соединительных муфт и регенерационных пунктов, другие коммуникации, заболоченные и скальные участки, населенные пункты и т.д.
Особое внимание уделяется точности измерения расстояний между опорами ВЛ.
3.1.8. Организация и проведение подготовительных работ должны осуществляться в соответствии с утвержденными планами строительства и планами инвестиций ВОЛС-ВЛ, графиком материально-технического обеспечения и проектом организации строительства (ПОС), разработанным проектной организацией и являющимся неотъемлемой частью проекта (рабочего проекта).
Для ВОЛС на вновь строящихся ВЛ раздел ППР, относящийся к подвеске и монтажу ОК, является частью общего ППР на сооружение линии электропередачи.
Для строительства ВОЛС-ВЛ на эксплуатирующихся ВЛ разрабатывается самостоятельный ППР.
3.1.9. Проект производства работ разрабатывается генеральным подрядчиком строительно-монтажной организации. На отдельные виды монтажных и специальных работ проекты производства работ разрабатываются организациями, выполняющими эти работы. Проекты производства работ по заказу генеральной подрядной или субподрядной строительно-монтажной организации могут разрабатываться проектными, а также проектно-технологическими учреждениями (институтами).
3.1.10. Исходными материалами для разработки проекта производства работ по строительству ВОЛС-ВЛ должны служить:
- задание на разработку ППР, выдаваемое строительной организацией как заказчиком ППР, с обоснованием необходимости его разработки и указанием сроков разработки;
- проект организации строительства;
- необходимая рабочая документация;
- условия поставки конструкций, готовых изделий и материалов, использования строительных машин и транспортных средств.
3.1.11. В состав проекта производства работ по строительству ВОЛС-ВЛ включается:
- календарный план производства работ;
- схематический план трассы ВОЛС-ВЛ;
- график поступления на трассу конструкций, изделий и материалов;
- график потребности в рабочих кадрах;
- график потребности в машинах и монтажных механизмах;
- технология монтажа ОК;
- документация для осуществления контроля и оценки качества строительно-монтажных работ;
- перечень используемых технологических карт;
- чертежи;
- пояснительная записка.
Пояснительная записка должна содержать:
- техническую характеристику ВОЛС-ВЛ, объемы строительно-монтажных работ;
- обоснование решений по производству работ, в том числе, выполняемых в зимнее время;
- организационную структуру строительства;
- материально-техническое обеспечение строительства;
- расход ГСМ и вспомогательных материалов;
- перечень временных зданий и сооружений;
- связь между руководством строительства, монтажными участками и бригадами;
- требования техники безопасности и производственной санитарии;
- технико-экономические показатели.
3.1.12. ППР должен содержать согласованный график отключений ВЛ для обеспечения производства работ.
3.1.13. В ППР должны быть приведены следующие основные технико-экономические показатели: себестоимость строительно-монтажных работ, продолжительность строительства, трудоемкость строительно-монтажных работ, затраты труда на единицу строительной продукции (например, на 1 км ВОЛС-ВЛ).
3.1.14. Плановые расчеты, выполняемые на уровне строительно-монтажной организации, базируются на технологической документации (ПОС и ППР), календарных графиках производства работ, поступления материально-технических ресурсов и движения рабочей силы.
Планирование потребности в материальных средствах осуществляется в натуральных измерителях с указанием по проектным спецификациям типоразмеров, марок и т.п.
Формы оперативного планирования должны содержать все данные для отчетности.
3.1.15. Проект организации строительства ВОЛС-ВЛ (ПОС), как правило, включает:
а) краткие положения технологической части проекта (методы производства работ, системы передачи, типы ОК, протяженность и схему трассы, расположение соединительных муфт, НРП и подстанций, конструкции муфт и НРП, варианты и схемы резервирования ВЛ и др.);
б) характеристику местности, в том числе по участкам ВОЛС-ВЛ с указанием административных районов и собственников территорий;
в) метеорологические сведения по трассе с рекомендациями, определяющими период времени выполнения работ;
г) характеристику проектируемых оптических кабелей и их количество по участкам и строительным длинам;
д) проектируемый объем основных работ и способы их производства;
е) ведомость потребного количества мехколонн, механизмов и машин;
ж) календарный план строительства;
з) схемы расположения баз, расстановки мехколонн и развозки кабеля по трассе;
и) расчет потребности рабочей силы;
к) ведомость поставки оборудования, основных материалов, арматуры и кабельных изделий;
л) схему организации связи во время строительства.
3.1.16. Если после утверждения рабочего проекта до начала строительства объекта прошло несколько лет, то перед началом работ заказчик и генподрядчик должны проверить проектную документацию в части возможного изменения (старения) организации и технологии строительства, условий поставки материалов, транспортных схем, в том числе изменений, связанных с введением в действие новых нормативных документов, и провести необходимые пересогласования.
Если к началу строительства ПОС устарел и решения в его составе не соответствуют современному техническому уровню, а также при применении более современных машин, оборудования и прогрессивной технологии производства строительно-монтажных работ, производится переработка ПОС или его корректировка с переутверждением в составе утвержденной проектно-сметной документации в установленном порядке.
3.1.17. Основным звеном управления строительным производством на конкретном объекте является подрядная организация.
Строительство ВОЛС-ВЛ может осуществляться на действующих и вновь строящихся ВЛ по общему или отдельному титулу.
3.1.18. Основные формы управления - контроль за выполнением работ, их непрерывный учет и регулирование, координация деятельности строительных подразделений и поставщиков материально-технических ресурсов, авторский надзор, осуществляемый проектной организацией.
Оперативное управление, как часть организации строительного производства, должно способствовать своевременному проведению строительно-монтажных работ в предусмотренной технологической последовательности.
Контроль и надзор, осуществляемые заказчиком, подрядчиком, проектной организацией и соответствующими государственными органами на всех стадиях строительства сопровождается ведением производственной документации.
3.1.19. Объект строительства обеспечивается материально-техническими ресурсами в соответствии с потребностью, определяемой проектно-сметной документацией, в строгом соответствии с технологической последовательностью производства работ в сроки, установленные договором подряда, календарным планом и графиком поставок.
Организация обеспечения объекта материалами и оборудованием, конструкциями и изделиями входит в обязанность подрядчика, если договором строительного подряда не предусмотрено, что обеспечение строительства в целом или в определенной части осуществляет заказчик.
При осуществлении строительства на базе импортного оборудования по контрактам с иностранными фирмами заказчик может привлекать подрядные организации для участия в согласовании условий и сроков поставки оборудования.
3.1.20. Механизация работ по строительству ВОЛС должна быть комплексной и осуществляться с помощью специальных машин, оборудования, средств механизации и необходимой технологической оснастки.
Виды и количество средств механизации принимаются в ПОС и ППР, исходя из конструктивных особенностей ОК, объемов работ, темпов и условий производства работ с учетом имеющегося парка машин и возможностей использования импортной техники.
Средства механизации и технологическая оснастка должны быть скомплектованы в нормокомплекты в соответствии с технологией производства работ.
При определении потребностей в механизмах следует исходить из объема механизированных работ, предусмотренных проектом, с уточнениями, произведенными в результате обследования трассы ВЛ в натуре, в том числе:
а) расчистка леса;
б) подготовка дорог и подъездных путей;
в) погрузка и разгрузка кабеля, арматуры и другого оборудования и приспособлений;
г) транспортировка и размотка кабеля;
д) подвеска кабеля на ВЛ;
е) монтаж и наладка НРП;
ж) проведение измерений.
3.1.21. Комплектование подразделений средствами механизации должно осуществляться с расчетом их экономически целесообразного использования. При этом должны учитываться конкретные природные условия и период производства работ.
3.1.22. Направляемые на трассу работ механизмы до отправки должны быть тщательно проверены, приведены в исправное состояние, укомплектованы инструментами, приспособлениями и запасными частями, необходимыми для их нормальной эксплуатации.
3.1.23. Организация транспортных работ основывается на транспортной схеме, разрабатываемой в ПОС, в которой определяются средневзвешенные расстояния транспортировки грузов от центрального склада до приобъектного склада и от приобъектного склада по трассе ВЛ.
3.1.24. Строительной организацией должна проводиться рациональная подготовка рабочих мест с обеспечением материалами и средствами механизации; расположением мест хранения материалов и инструмента; правильной расстановкой рабочих и координацией их действий; проведением защитных мероприятий по технике безопасности, особенно на действующих ВЛ, вблизи действующих ВЛ и на пересечениях.
3.1.25. Подготовка строительного производства должна обеспечивать планомерное ведение строительно-монтажных работ и взаимоувязанную деятельность всех участников строительства объекта.
3.1.26. На вновь строящихся ВЛ к началу основных работ в пролете, подготавливаемом к монтажу кабеля, должна быть закончена установка всех опор с проверкой надежности их закрепления и соответствия их нормам и допускам, а также устроено заземление на всех опорах.
3.1.27. Особенностью подготовительного периода при строительстве ВОЛС на действующих ВЛ является необходимость проведения предварительного обследования существующей трассы с целью уточнения фактических длин пролетов и углов поворота линии, так как достоверная проектная документация по построенным линиям электропередачи может отсутствовать. Для замеров используются приборы, гарантирующие достаточную точность измерений.
Проверке в натуре подлежат также величины стрел провеса грозозащитного троса.
При обследовании ВЛ, исходя из строительной длины кабеля, уточняются места установки соединительных муфт с учетом характера трассы, наличия переходов и пересечений, и выбираются площадки для расстановки монтажных машин.
3.1.28. На подготовительной стадии достигается принципиальная договоренность с организацией, эксплуатирующей ВЛ, о предстоящих работах и возможности отключения ВЛ (отдельных цепей) в сроки, предусмотренные календарным планом работ.
К началу монтажных работ должна быть закончена установка конструкций, к которым подвешивается кабель, проверена пригодность подъездов к монтажным площадкам, а также возможность подъема монтажников на опоры.
Состав бригады рассчитан для подвески одной строительной длины ОК в день на ВЛ 110-220 кВ для условий работ средней сложности.
3.2.1. Работы по монтажу ОК должны производиться по ППР, разработанному для конкретной ВОЛС-ВЛ на основании материалов обследования ВЛ с учетом реальных условий монтажа.
запрещается осуществление работ без утвержденных ПОС и ППР. Отступления от принятых в них решений должны быть согласованы и утверждены организациями, разработавшими и утвердившими их.
3.2.2. Организацию рабочего места, состав бригады (звена), технико-экономические показатели следует принимать по технологическим картам на монтаж ОК.
Примерный состав комплексной бригады для монтажа ОКГТ и ОКСН приведены в приложении 7, а для монтажа ОКНН - в приложении 8.
3.2.3. При работах по монтажу ОК используются инструкции и руководства по применению конкретных машин, механизмов и монтажных приспособлений. Примерный перечень машин, механизмов, монтажных приспособлений и приборов, используемых для монтажа ВОЛС-ВЛ приведен в приложении 9.
3.2.4. При работе с ОК необходимо учитывать специфические особенности оптического кабеля, чувствительного к раздавливающим усилиям и изгибам.
При монтаже необходимо соблюдать допустимые значения монтажных тяжений и радиусов изгиба, установленные технической документацией для конкретного типа ОК.
3.2.5. К монтажу ОК следует привлекать специализированные организации, имеющие лицензию на выполнение данного вида работ, укомплектованные рабочими соответствующей квалификации и оснащенные необходимыми средствами механизации, приборами и оборудованием для выполнения работ.
3.2.6. При монтаже ОК должны соблюдаться требования техники безопасности, изложенные в общестроительных правилах и нормативных документах, относящихся к электросетевым объектам.
Специальные требования, связанные со спецификой ОК, отражены в главе 3.5 настоящих "Правил строительства".
3.2.7. Фактическая стрела провеса кабеля, подвешенного на ВЛ, не должна отличаться от проектного значения стрелы провеса в большую или меньшую сторону более, чем на 5% (с учетом температуры воздуха в момент замера).
3.2.8. Расстояние между осью гасителя вибрации и осью поддерживающего зажима или шарнира натяжного зажима не должно отличаться от проектного значения более, чем на 10 мм.
3.2.9. Диапазон температуры окружающего воздуха, при которой допускается монтаж ОК, устанавливается технической документацией для конкретного типа кабеля.
Монтаж не должен производиться при гололеде, осадках в виде дождя или снега, грозе, скорости ветра более 10 м/с.
3.2.10. Работы по монтажу ОК должны производиться в соответствии с инструкциями и руководствами по применению конкретных типов кабеля, машин, механизмов и приспособлений.
3.2.11. Для монтажа ВОЛС на действующих ВЛ необходимо провести согласование с организацией, эксплуатирующей ВЛ, на которой будут осуществляться работы, а также с организациями - владельцами пересекаемых линий и оформить наряд-допуск в установленном порядке.
3.2.12. Для определения возможности монтажа ОК на конкретной действующей ВЛ должно быть проведено ее обследование с целью определения технического состояния элементов ВЛ.
При проведении обследования особое внимание должно уделяться:
- при монтаже ОКГТ и ОКНН - состоянию грозозащитного троса, узлов его крепления и соединений;
- при монтаже ОКСН - состоянию будущих мест крепления кабеля на траверсах и других элементах опор.
3.2.13. До начала монтажа ОКНН на опорах, где закреплены несколько грозотросов, при необходимости, должны быть проведены работы по временному переносу мест крепления тросов, препятствующих прохождению навивочного устройства.
3.2.14. Выявленные при обследовании дефекты и повреждения элементов ВЛ должны быть устранены до начала работ по монтажу ОК.
3.2.15. За месяц до начала монтажных работ руководителю бригады (производителю работ) должна быть передана следующая техническая документация:
- проект линейной части подвески ОК на ВЛ;
- проект организации работ;
- проект производства работ.
3.2.16. На основании технической документации по ВЛ (паспорт, профили, эксплуатационные схемы) и результатов обследования определяются номера опор, на которых будут установлены муфты, определяются строительные длины кабеля.
3.2.17. Строительные длины ОК на барабанах рассчитываются, исходя из расстояния между опорами и стрел провеса с учетом технологического запаса на монтаж соединительных муфт (расстояние от раскаточного ролика до земли плюс 15-20 м).
Каждому барабану с ОК присваивается номер, соответствующий номеру определенного строительного участка. На бирке, закрепленной на барабане, должны быть указаны тип кабеля, его длина, и номер барабана.
3.2.18. До начала производства работ по монтажу кабеля на переходах через линии связи, автоблокировки, ВЛ, железные и шоссейные дороги, судоходные реки строительно-монтажной организацией совместно с заинтересованными организациями (владельцами пересекаемых объектов) составляются протоколы взаимного согласования с указанием:
- дат и часов производства монтажа кабеля;
- дат и часов отключения контактных сетей железных дорог, ВЛ;
- продолжительности "окон";
- фамилий ответственных руководителей работ (от строительно-монтажной организации) и наблюдающих (от организации, эксплуатирующей пересекаемый объект);
- организационных мероприятий по подготовке и безопасному выполнению работ.
На переходах должны быть установлены или подвешены специальные защитные приспособления (прилож. 9, рис. п. 9.1).
3.2.19. К опорам ВЛ, на которых предусмотрена установка соединительных муфт, должен быть обеспечен подъезд автотранспорта и выбраны места для размещения монтажной техники.
3.2.20. До начала монтажа должен быть проведен внешний осмотр и проверка работоспособности используемых при монтаже ОК машин, механизмов и монтажных приспособлений.
До начала работы на основании инструкции по применению машин для раскатки кабеля с учетом конкретных условий проводится инструктаж бригады электролинейщиков.
Средства механизации, монтажные приспособления и такелаж должны быть скомплектованы и подготовлены для вывоза на трассу.
3.2.21. К началу монтажных работ должна быть обеспечена готовность пролета, соответствующего строительной длине кабеля, закончена установка опор ВЛ, на которых подвешивается ОК, проверена пригодность подъездов к монтажным площадкам, а также возможность подъема к рабочим местам на опорах.
Для подвески ОКСН должны быть установлены на опорах ВЛ узлы крепления.
3.2.22. Предназначенный для монтажа кабель и линейная арматура должны пройти входной контроль качества в соответствии с главой 3.3 настоящих "Правил строительства".
3.2.23. Монтаж ОКГТ и ОКСН должен производиться с отключением ВЛ, на которой эти работы ведутся.
Монтаж ОКГТ и ОКСН при креплении его на уровне нижней траверсы у стойки опоры допускается производить на ВЛ без ее отключения с соблюдением необходимых мер безопасности, которые должны быть отражены в ППР.
Монтаж муфт и их закрепление на опорах может производиться как с отключением ВЛ, так и на ВЛ, находящейся под напряжением.
3.2.24. Раскатка ОК ведется под тяжением с применением раскаточных устройств (тяговой и тормозной машин, раскаточных роликов и т.д.) и использованием специальных монтажных приспособлений и инструмента (ручных лебедок, трапов и т.п.).
Принципиальная схема монтажа ОКГТ на ВЛ представлена в прилож. 10 на рис. п. 10.2.
3.2.25. Во время раскатки ОК под тяжением между всеми наблюдателями и операторами машин должна быть обеспечена надежная радиотелефонная связь. При нарушении радиосвязи раскатка немедленно прекращается.
3.2.26. Запрещается производить раскатку ОК по земле. В отдельных случаях, при монтаже вручную одного-двух пролетов, допускается опускание на землю только небольших концов кабеля, при этом он должен быть уложен на подкладки из дерева, соломы и т.п.
3.2.27. Минимальное расстояние установки раскаточных машин от граничных опор монтируемого участка должно составлять тройную высоту от земли до места подвески раскаточного ролика.
Расположение машин должно обеспечить отсутствие трения кабеля о щеки барабана, а также касания кабеля о другие конструкции или предметы.
3.2.28. Раскаточные машины на месте установки до начала работ должны быть надежно закреплены (заякорены) от сползания и заземлены.
3.2.29. Для раскатки ОК должен применяться "трос-лидер" из синтетического материала или стальной плетеный нераскручивающийся канат. "Трос-лидер" и ОК соединяются между собой специальными монтажными чулками, надеваемыми на их концы (прилож. 9, рис. п. 9.3.).
На время раскатки с целью предотвращения скручивания ОК между "тросом-лидером" и кабелем необходимо устанавливать вертлюг, а на начало кабеля - два балансира, первый из которых должен располагаться примерно на расстоянии 4 метра от начала кабеля; расстояние между балансирами также должно составлять около 4-х метров.
Возможность использования демонтируемого грозозащитного троса в качестве "троса-лидера" обусловлена его состоянием - отсутствием повреждений, которые могут привести к нарушениям раскатки при прохождении троса по роликам.
3.2.30. Раскаточные ролики, подвешиваемые на каждой опоре монтируемого участка, должны обеспечивать допустимый для данного типа кабеля радиус изгиба, при котором исключается повреждение оптических волокон кабеля.
3.2.31. При раскатке ОК на прямых участках ВЛ применяются раскаточные ролики с внутренним диаметром, рекомендованным технической документацией для данного типа кабеля. На анкерно-угловых опорах с углом поворота более 30 град, необходимо применять ролики большего диаметра или сдвоенные (2 ролика на одном коромысле).
3.2.32. Раскаточные ролики должны иметь шлифованные или обрезиненные желоба. Малейшие неровности необходимо отшлифовать наждачной бумагой для обеспечения гладкой поверхности. Ролики в блоках должны легко вращаться.
На граничных опорах монтируемого участка, на угловых опорах с углом поворота больше 10 град., а также на высоких угловых опорах (с суммой углов более 10 град.) должны применяться гуммированные ролики диаметром не менее 60 см.
На угловых опорах с поворотом более 30 град, эти ролики должны быть заменены двойными диаметром не менее 350 мм, расположенными последовательно.
3.2.33. В процессе раскатки в монтируемом пролете должны находиться сигнальщики с биноклями и носимыми радиостанциями для постоянного наблюдения за прохождением "троса-лидера" и ОК по роликам. Узел соединения "троса-лидера" и ОК сопровождается сигнальщиком в процессе его движения по монтируемому участку.
При прохождении узла соединения ОК с "тросом-лидером" по роликам скорость раскатки должна снижаться до минимума.
При заедании в роликах "троса-лидера", ОК, узла их соединения или возникновения других неисправностей по сигналу "Стоп" раскатка немедленно прекращается.
Раскатка продолжается только после устранения неисправности.
3.2.34. При перерывах в раскатке ОКСН и ОКГТ необходимо исключить сползание его в пролет.
3.2.35. Перекладка ОК из роликов в арматуру должна производиться не позднее 48 часов после его раскатки с одновременной установкой гасителей вибрации, если они предусмотрены проектом (прилож. 10, рис. п. 10.4)*.
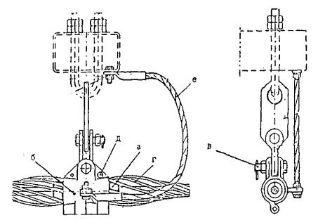
3.2.36. Поддерживающий спиральный зажим, состоит из следующих деталей:
1 - подушки из неопрена, состоящей из 2-х половинок;
2 - корпуса зажима из алюминиевого литья;
3 - двух болтов для стяжки корпуса зажима;
4 - защитной обмотки из проволок алюминиевого сплава;
5 - болта с гайкой и шплинтом ;
6 - заземляющего тросика (шунта).
Подушка из неопрена предохраняет кабель в поддерживающем зажиме от повреждения при воздействии на него механических нагрузок (от веса кабеля и силы сжатия в зажиме). Спиральная обмотка фиксирует подушку на кабеле и защищает ее от излишних механических воздействий при установке на ней корпуса зажима. Со сцепной арматурой подвески зажим соединяется с помощью болта, гайки и шплинта.
3.2.37. Порядок монтажа зажима:
Отметить фломастером (краской) на ОК центр установки зажима.
Наложить одну половину подушки на кабель сверху, другую - снизу, обеспечивая совпадение отметок, указывающих центр подушек, с отметкой на кабеле. Для удержания половин подушек вместе намотать вокруг них несколько витков липкой ленты (изоленты). Лента удерживает половину подушек от смещения, пока спиральная обмотка из проволок алюминиевого сплава устанавливается на свое место.
Установить первую проволоку из комплекта обмотки так, чтобы отметки середины на проволоке и подушке совпали. Поддержать проволоку параллельно образующей подушки и закрутить по 2-3 витка вокруг провода с обеих сторон подушки.
Уложить вторую проволоку напротив первой (на 180 град.) и закрутить 2-3 витка вокруг провода.
Остальные проволоки из комплекта защитной обмотки с равными промежутками монтируются вокруг подушек и закручиваются 2-3 витками вокруг кабеля. Затем все проволоки закручиваются до их конца, пока они не защелкнутся.
Раскрыть половинки корпуса и установить их срединой в центре защитной обмотки. Половины корпуса стянуть друг с другом болтами. Установить скобу для подвески зажима, зафиксировать ее болтами, закрутить гайку и поставить шплинт.
3.2.38. Анкерное крепление ОК с помощью натяжного спирального зажима осуществляется на анкерных опорах и показано в прил. 9 на рис. п. 9.2.
Полуанкерное крепление осуществляется на промежуточных опорах, где устанавливаются соединительные муфты при невозможности их установки на анкерных опорах (прил. 9 рис. п. 9.13)
Натяжной спиральный зажим (прил. 9 рис. п. 9.10) состоит из протектора (прокладки) и натяжной спирали.
Протектор, навиваемый на кабель, выполняет роль прокладки и предохраняет его от излишних механических воздействий.
Протектор и натяжная спираль зажима имеют цветные метки, которые при монтаже должны совпадать между собой.
Нанесение меток на ОКГТ и ОКСН при монтаже натяжного спирального зажима приведено в прилож. 9 на рис. п. 9.12.
3.2.39. Порядок монтажа натяжного зажима (прилож. 9 рис. п. 9.10):
Отметить на кабеле фломастером (краской) место установки зажима по его цветной метке.
Совместить цветные метки на кабеле и проволоках протектора, навить протектор пучками, состоящими из 3-4 проволок. Все проволоки пучка должны встать на свое место.
На протектор навить натяжную спираль, совмещая цветные метки протектора и спирали. При этом наложить одну ветвь спирали на протектор и сделать один-два витка вокруг провода; затем так же навивать другую ветвь спирали.
Скрутить обе ветви спирали до конца. Концы проволок спирали сами устанавливаются в правильном положении. Если этого сделать не удается, то с помощью отвертки концы проволок по одной устанавливаются на свое место.
Установить в изогнутую часть натяжной спирали коуш и соединить его со сцепной арматурой натяжной подвески.
3.2.40. Повторное применение натяжного зажима не допускается.
3.2.41. Для монтажа натяжных зажимов в натяжной подвеске целесообразно предусматривать натяжное звено ПТМ.
3.2.42. Перед началом монтажа производится балансировка навивочной машины с установленным на ней барабаном с кабелем (прилож. 9., рис. п. 9.5) и регулировка требуемого усилия натяжения кабеля.
3.2.43. На тросостойку опоры поднимают по частям и устанавливают поворотное устройство и монтажный трап (прилож. 9, рис. п. 9.6). Один конец трапа должен крепиться к основанию поворотного устройства, а другой с помощью крюка навешивается на грозотрос. Подъем поворотного устройства и трапа может осуществляться как вручную (с помощью бесконечного каната), так и с использованием механизмов (лебедки, электрокабестана, гидроподъемника и т.д.).
3.2.44. На тросостойку опоры поочередно поднимают и устанавливают на грозотрос стабилизирующую тележку и навивочную машину.
Подъем и установка указанных механизмов должны производиться с помощью поворотного устройства и тяговых механизмов (ручная лебедка или электрокабестан).
Установка навивочной машины на грозотрос должна осуществляться не менее чем двумя электромонтерами, один из которых должен располагаться на тросостойке, а другой на подвесном трапе (прилож. 9, рис. п. 9.7).
3.2.45. После установки навивочной машины на грозотрос с барабана вручную должен быть смотан конец кабеля, длина которого равна высоте опоры плюс 15-20 м (технологический запас на монтаж соединительной муфты). Смотанный в бухту кабель следует закрепить на опоре на уровне нижней траверсы.
3.2.46. На опорах ВЛ обводные .петли ОКНН крепятся к грозотросу и металлоконструкциям с помощью специальных зажимов, один из которых навешивается на грозотрос со стороны подхода навивочной машины, а другой - с противоположной стороны в следующем пролете.
3.2.47. На следующей (в направлении монтажа ОКНН) опоре должны быть установлены поворотное устройство и два трапа, один из которых навешивается на грозотрос со стороны подхода навивочной машины, а другой с противоположной стороны опоры.
3.2.48. Навивочная машина перемещается по грозотросу в пролете ВЛ либо вручную, либо с использованием электрокабестана или тягового механизма. Скорость перемещения машины не должна превышать 3 км/ч.
3.2.49 Перемещение навивочной машины вручную осуществляется непосредственно с земли с помощью каната, верхний конец которого должен быть прикреплен к стабилизирующей тележке.
3.2.50. При использовании электрокабестана перемещение навивочной машины производится с помощью тягового каната, пропущенного через ролик, закрепленный на тросостойке ближайшей (по направлению монтажа ОКНН) опоры и навитого на барабан электрокабестана, установленного у основания стойки опоры (прилож. 9, рис. п. 9.8).
3.2.51. При перемещении навивочной машины вручную или с использованием электрокабестана, при необходимости, производится притормаживание машины (при спуске от опоры до середины пролета) с помощью фала, закрепленного за стабилизирующую тележку.
3.2.52. Перемещение навивочной машины может производиться с помощью тягового механизма с электрическим или бензиновым двигателем, передвигающегося самостоятельно по грозотросу. В этом случае стабилизирующая тележка не используется, и навивочная машина крепится непосредственно к тяговому механизму.
Усилие выхода ОКНН из натяжного устройства машины для навивки кабеля не должно превышать значения, указанного в технической документации для данного типа кабеля.
3.2.53. При подходе навивочной машины к опоре ВЛ она должна быть закреплена за тросостойку страховочным фалом.
С барабана машины, соблюдая допустимый радиус изгиба, необходимо смотать кусок кабеля, достаточный для монтажа обводной петли вокруг тросостойки.
3.2.54. Перенос стабилизирующей тележки и навивочной машины в следующий пролет производится с помощью поворотного устройства, установленного на тросостойке опоры.
3.2.55. Дальнейшая навивка ОКНН на грозотрос производится в последовательности, указанной в пп. 3.2.47 - 3.2.53.
3.2.56. На граничной опоре монтируемого участка ОКНН специальным зажимом крепится к грозотросу. Свободный конец ОКНН длиной не менее высоты опоры плюс 15-20 м сматывается в бухту и временно до начала монтажа соединительной муфты крепится на опоре на уровне нижней траверсы.
3.2.57. Для дальнейшего монтажа ОКНН на ВЛ должны выполняться технологические операции, описанные выше - установка нового барабана с ОКНН на навивочной машине, балансировка и установка тяжения, подъем и установка навивочной машины с кабелем на грозотрос и навивка ОКНН.
3.2.58. Монтаж муфты производится после завершения монтажа двух строительных длин кабеля.
3.2.59. Соединительные муфты устанавливаются, как правило, на анкерных опорах. При невозможности установки соединительной муфты на анкерной опоре она может быть установлена на промежуточной. При этом подвеска ОК к опоре осуществляется полуанкерным креплением (прилож. 9 рис. п. 9.13).
При монтаже полуанкерного крепления ОК предусматривается временная оттяжка к опоре (на период наличия одностороннего тяжения на опору).
3.2.60. Спуски ОК на граничных опорах временно, до начала монтажа соединительных муфт, должны быть свернуты в бухты и закреплены на опоре на уровне нижней траверсы.
Длина спусков определяется высотой подвески раскаточного ролика на граничной опоре до земли с добавлением технологической длины (15-20 м).
3.2.61. Для каждого типа муфт и кабеля фирма-производитель должна предоставить инструкции по монтажу.
Перед разделкой кабеля необходимо убедиться, что длина конца, оставленного для монтажа муфты, достаточна. Для этого надо произвести разметку согласно инструкции фирмы-поставщика. Разметка выполняется подматыванием полимерной ленты либо водостойким маркером.
Разделка должна производиться специальным инструментом, указанным в инструкции по монтажу. Разделка кабеля производится строго на указанную в инструкции длину. В процессе разделки не должен быть поврежден оптический модуль, а также верхний повив кабеля (в случае полимерного покрытия - оболочка). Необходимо следить за тем, чтобы оптический модуль не контактировал с водой.
Внутри муфты должен помещаться достаточный технологический запас волокна, обеспечивающий сварку и возможность производить в дальнейшем ремонт, а при необходимости, вносить изменения в схему коммутации без перезаделки кабеля. Величина технологического запаса определяется инструкцией по монтажу для данного типа муфт.
Разделка кабеля и крепление его в муфте производится согласно инструкции на данный тип муфт. Крепление должно обеспечивать достаточную механическую прочность заделки и герметичность ввода.
После того, как оптические модули разделаны, освободившиеся волокна в защитной оболочке (покрытии) должны быть тщательно очищены от заполнявшего оптический модуль гидрофоба. Для этого должен быть предусмотрен комплект салфеток из мягкой бумаги и растворитель, марка которого указана в инструкции по монтажу. Муфта должна быть зафиксирована на монтажном столе так, чтобы обеспечить удобство сварки и укладки волокон на плату, при этом исключив возможность случайного повреждения оптических волокон.
3.2.62. Перед началом работ по соединению ОВ в муфте необходимо произвести контроль их целостности и определить коэффициент затухания.
Контроль производится при помощи рефлектометра. Результаты измерений сравниваются с результатами, полученными при входном контроле данной строительной длины. Замер достаточно произвести с одной стороны. На полученных рефлектограммах должны отсутствовать изломы и пики характеристики, которые свидетельствуют о повреждении кабеля.
В случае, если в кабеле используются неокрашенные волокна, или встречаются волокна одного цвета, необходимо провести идентификацию волокон.
3.2.63. Работы по соединению концов ОК производятся в специально оборудованной передвижной лаборатории - ПЛМД (передвижная лаборатория для монтажа и диагностики).
Основные данные по составу ПЛМД приведены в приложении 11.
Соединение может производиться с помощью механических соединителей, обеспечивающих норму затухания и механическую прочность в сростке в диапазоне рабочих температур. Вопрос использования механических соединителей согласовывается с заказчиком.
После удаления защитного покрытия с помощью специального инструмента волокно протирается салфеткой, смоченной в спирте, и производится скол с помощью специального инструмента. Результат сварки во многом зависит от качества скола. Плоскость скола должна быть перпендикулярна оси ОВ и не иметь дефектов и загрязнений.
Затем производится сварка ОВ и герметизация места соединения.
Когда все пары волокон сварены и уложены на плату (кассету), плата устанавливается на свое место в муфте, как указано в инструкции по монтажу. Оптические модули внутри муфты и оптические волокна на плате должны располагаться таким образом, чтобы избежать критических радиусов изгиба.
После этого муфта заделывается и устанавливается на опоре.
3.2.64. Полностью смонтированная муфта должна быть поднята на опору и закреплена. Крепление муфт и спусков ОКНН на опоре осуществляется в соответствии с проектом и ППР специальными деталями и зажимами, разработанными для конкретных конструкций опор.
3.2.65. Контроль качества соединений ОВ в муфтах должен производиться в соответствии с п.п. 3.3.19 - 3.3.23.
3.2.66. Состав оборудования для соединения оптического кабеля в муфтах и монтажа оптических волокон приведен в таблице приложения 12.
3.2.67. Спуски оптического кабеля с опор ВЛ выполняются с целью обеспечения производства сварки оптических волокон и оптических измерений кабеля без подъема сварочной и измерительной техники, а также персонала, выполняющего эти работы, на опоры.
3.2.68. Спуски выполняются тем же кабелем, который размещается на ВЛ.
3.2.69. Длина кабеля в спусках должна обеспечивать возможность снятия соединительной муфты с опоры и выполнения сварочных и измерительных работ на земле в передвижной лаборатории в непосредственной близости от опоры, а также возможность перемонтажа кабеля в муфте во время эксплуатации.
3.2.70. Кабель спуска должен быть надежно прикреплен к телу опоры с помощью специальных конструкций с зажимами.
Конструкция зажимов должна исключать возможность повреждения кабеля при креплении.
3.2.71. Расстояние между зажимами определяется инструкцией по монтажу кабеля и должно исключать возможность раскачивания участков кабеля между зажимами. При отсутствии указаний в инструкции поставщика кабеля это расстояние не должно превышать 2 м.
3.2.72. Свободная длина кабеля спуска после монтажа соединительной муфты и ее закрепления на опоре должна быть также закреплена на опоре с соблюдением требований п. 3.2.71.
Для закрепления свободной длины кабеля могут использоваться специальные конструкции, на которые наматывается излишняя часть кабеля и которые в свою очередь прикрепляются к опоре. При этом намотанный на такую конструкцию кабель должен быть надежно закреплен на ней.
3.2.73. Свободная длина кабеля спусков может быть также прикреплена непосредственно к опоре с образованием необходимого количества петель. При этом размеры петель должны быть таковы, чтобы исключались недопустимые изгибы кабеля (радиус изгиба кабеля не менее 20 его диаметров).
3.2.74. Высота расположения муфт на опоре должна затруднять несанкционированный доступ к муфте и при расположении муфт на опорах ВЛ вне территории электросетевых или энергетических объектов должна быть не менее 5,5 м от земли.
При установке муфт на опорах, расположенных на территории электросетевых или энергетических объектов, а также на порталах подстанций, высота расположения муфты может выбираться, исходя из удобства ее обслуживания и возможности выполнения измерительных работ без снятия муфты. Однако при этом должно быть исключено затопление муфты паводковыми водами и засыпание ее снегом, если использована такая же конструкция муфты, как и на всей ВЛ.
3.2.75. При использовании в качестве концевых муфт, предназначенных для установки на подземных кабелях, правила их установки определяются соответствующими инструкциями поставщика.
3.2.76. На открытой части подстанций могут использоваться кабели ОКГТ и ОКСН, подвешиваемые на специальных опорах. В качестве таких опор могут использоваться имеющиеся на открытой части подстанции конструкции: прожекторные мачты, опоры молниеотводов и антенные опоры.
3.2.77. Волоконно-оптический кабель также может подвешиваться на специальных опорах с использованием несущего троса. Крепление ОК к тросу осуществляется с помощью специальных зажимов, чтобы исключить возникновение недопустимых растягивающих усилий в кабеле.
3.2.78. Волоконно-оптический кабель может прокладываться в кабельных сооружениях (лотках, каналах, эстакадах и др.) или непосредственно в земле.
3.2.79. Прокладка кабеля на специальных опорах или в земле не должна препятствовать использованию механизмов и инвентарных устройств и их проезду к месту работ во время производства работ на территории подстанции в соответствии с действующими нормами.
3.2.80. Допускается прокладка волоконно-оптического кабеля совместно с другими типами кабелей. При совместной прокладке ОК с силовыми кабелями волоконно-оптический кабель должен быть изготовлен с использованием негорючих материалов.
3.2.81. При прокладке волоконно-оптического кабеля в земле или в кабельных конструкциях должна быть обеспечена защита кабеля от повреждений грызунами. Для этого может использоваться бронированный кабель или кабель со специальным покрытием.
3.2.82. При прокладке кабеля в кабельных лотках или каналах должны быть приняты меры, исключающие раздавливание кабеля при случайном опускании на него крышки лотка или канала. С этой целью должен использоваться бронированный кабель или укрытие кабеля в канале или лотке, например, с помощью металлических уголков или швеллеров.
3.2.83. При прокладке волоконно-оптического кабеля по территории подстанции должны обеспечиваться минимально допустимые радиусы изгибов кабеля при поворотах трассы, оговоренные в технических условиях или каталогах на кабель.
Если такие указания в документации на кабель отсутствуют, то минимально-допустимый радиус изгиба кабеля должен приниматься равным 20 диаметрам кабеля.
3.2.84. При прокладке кабеля в земле может быть использован кабелеукладчик или отрытая траншея. Глубина заложения кабеля в грунт - не менее 1,2 м от поверхности земли. В случае наличия по трассе кабеля пучинистых грунтов должны быть приняты меры, исключающие повреждение кабеля силами морозного пучения.
3.2.85. При входе в здания металлические элементы кабеля должны быть надежно соединены с заземляющим контуром зданий во избежание попадания на аппаратуру ВОЛС высокого потенциала с открытой части подстанции.
Броню и другие металлические элементы с части кабеля, прокладываемой внутри зданий, необходимо удалять.
При прокладке по стенам зданий и сооружений волоконно-оптический кабель должен быть надежно закреплен на стенах. При этом расстояния между точками крепления кабеля к стене должны быть такими, чтобы исключалось недопустимое провисание кабеля, а масса кабеля между двумя точками крепления вертикальных участков не создавала недопустимых растягивающих усилий по кабелю.
3.2.86. Крепления кабеля к стенам не должны вызывать повреждений наружной оболочки кабеля и не должны создавать недопустимых сдавливающих нагрузок на сам кабель.
3.2.87. При наличии внутри здания кабельных конструкций прокладку волоконно-оптического кабеля целесообразно вести с использованием этих конструкций.
3.3.1. Контроль качества строительно-монтажных работ производится с целью обеспечения пригодности сооружаемой ВОЛС-ВЛ к выполнению всех предусмотренных функций в условиях эксплуатации объекта.
3.3.2. Производственный контроль качества строительно-монтажных работ должен включать: входной контроль рабочей документации, конструкций, изделий и материалов; операционный контроль отдельных производственных операций; приемочный контроль строительно-монтажных работ линейного и стационарного оборудования.
3.3.3. При входном контроле рабочей документации проверяется ее комплектность и достаточность содержащейся в ней технической информации для производства работ.
3.3.4. На центральном складе СМО проводится входной контроль поступивших для строящейся ВОЛС-ВЛ материалов, изделий и конструкций.
На приобъектном складе входной контроль осуществляется при комплектации материалов, изделий и конструкций для очередного монтируемого пролета перед вывозкой их на трассу к месту производства работ.
При входном контроле внешним осмотром проверяется соответствие их требованиям стандартов или других нормативных документов и рабочей документации, также наличие и содержание паспортов и других сопроводительных документов.
3.3.5. Все барабаны с кабелем по мере поступления от поставщика, должны быть зарегистрированы с указанием наименования, марки, заводского номера, даты поступления, номера транспортного документа (накладной, акта).
После вскрытия обшивки барабана проверяют наличие заводского паспорта (обычно укрепляемого заводом на внутренней стороне щеки); соответствие маркировки строительной длине, указанной в паспорте, и указанной на барабане; проверяют внешнее состояние кабеля на отсутствие вмятин, порезов, пережимов, перекруток и т.п. В паспорте на кабель должен быть указан тип кабеля, производитель, номер барабана, строительная длина кабеля, коэффициент затухания оптических волокон на рабочей длине волны, показатель преломления ОВ.
3.3.6. В процессе входного контроля производится визуальный осмотр ОК измерение коэффициента затухания. Кабель, не соответствующий нормам и требованиям стандартов (технических условий), монтажу не подлежит.
3.3.7. Барабаны должны быть обшиты сплошным рядом досок.
На щеке барабана с ОК должна быть предупредительная надпись "не класть плашмя", стрелка, указывающая направление вращения барабана при его перекатывании и размотке ОК.
3.3.8. Нижний конец ОК длиной не менее 2-х метров должен быть выведен за щеку барабана и закреплен.
Концы кабеля должны быть защищены от внешних механических повреждений, проникновения влаги внутрь кабеля и вытекания заполнителя.
3.3.9. Если при внешнем осмотре установлена неисправность барабана или обшивки, то обнаруженные незначительные повреждения должны быть устранены собственными силами на месте. Если барабан на месте отремонтировать невозможна то, с согласия заказчика, кабель с него должен быть перемотан на исправный барабан плотными и ровными витками.
Не допускается перемотка с барабана на барабан, установленный на щеку. При перемотке необходимо осуществлять визуальный контроль целостности кабеля.
3.3.10. Внешний осмотр барабана с ОК на приобъектном складе производиться так же, как это приведено в п. 3.3.6 - 3.3.9. При наличии внешних повреждений барабана, его обшивки и нарушении герметизации защиты концов ОК или его вздутии, производится контроль на целостность ОВ.
3.3.11. Результаты входного контроля должны фиксироваться в протоколах. В случае выявления дефектов, снижающих качество и надежность кабеля, должен быть составлен акт с участием подрядчика, заказчика и других заинтересованных организаций.
3.3.12. Измерение затухания оптического кабеля проводится в сухих отапливаемых помещениях, имеющих освещение и возможность подключения электрических приборов.
Если кабель имеет какие-либо повреждения или отклонения, выявленные при осмотре на центральном складе, измерения коэффициента затухания данной строительной длины кабеля не проводят. Вопрос о применении этого кабеля решается заказчиком.
3.3.13. Разделку кабеля производят на длине, достаточной для проведения измерений (1 - 1,5 м). Для ОК, встроенных в грозозащитный трос, силовые металлические элементы должны быть скреплены одним - двумя бандажами для предотвращения раскручивания и распушения повивов. Оптический модуль разделывается инструментом, исключающим повреждение оптического волокна.
При наличии гидрофобного заполнителя ОВ протираются специальным растворителем.
Проводится визуальный контроль поверхности покрытия ОВ.
Обнаруженные дефекты (нарушение покраски, некачественное защитное покрытие) фиксируются в протоколе.
Снятие защитного покрытия производится специальным инструментом. ОВ протирается спиртом и производится скол, перпендикулярный оси ОВ.
В процессе проведения входного контроля ОК проверяется целостность всех ОВ, определяется оптическая длина кабеля и коэффициент затухания.
3.3.14. Измерение коэффициента затухания и оптической длины кабеля производится по методу обратного рассеяния (описанному в п. 34 метода измерения CIC, ГОСТ Р МЭК 793-1-93) с помощью рефлектометра в двух направлениях на рабочих длинах волн с использованием компенсационной катушки с ОВ длиной не менее 700 м. (По согласованию с заказчиком допускается проведение измерений затухания в одном направлении).
Измерения необходимо проводить в соответствии с рекомендациями и техническим описанием приборов.
В процессе измерений снимается кривая обратного рассеяния, по характеру изменения которой оценивается состояние ОВ. Кривая должна иметь плавный спадающий характер без каких-либо изломов, ступенек, пиков и т.п.
Полученные результаты измерений сравниваются с паспортными данными на соответствующей длине волны.
После проведения измерений конец кабеля должен быть загерметизирован.
По результатам визуального контроля и измерений составляется протокол.
3.3.15. При операционном контроле проверяется соблюдение технологии выполнения работ; соответствие их рабочим чертежам, строительным нормам, правилам и стандартам.
3.3.16. При контроле, осуществляемом непосредственно в процессе монтажа ОК, проверяется следующее:
направление вращения барабана с ОК,
предупреждение перехлестывания ОК,
защита концов ОК от влаги,
усилие тяжения по ОК,
температура окружающего воздуха во время монтажа ОК,
соответствие диаметров желобов роликов раскаточных блоков марке кабеля,
стрелы провеса ОК,
качество крепления ОК на опорах,
качество сварки оптических волокон кабеля, монтажа соединительных муфт.
3.3.17. Характерные неисправности ОК, фиксируемые при контроле качества:
наличие оборванных (лопнувших) проволок или вспучивания верхнего повива на ОКГТ, оголение кабеля;
обрывы и механические повреждения (местные разрушения полиэтиленовой оболочки) ОКОН и ОКНН;
нарушение нормируемых величин стрел провеса и расстояний от ОК до проводов;
отсутствие гасителей вибрации, предусмотренных проектом, или их смещение с места установки;
неисправности в подвеске (некачественный монтаж защитной обмотки поддерживающего зажима, смещение подушек из неопрена относительно друг друга, слабая затяжка поддерживающего зажима, трещины в корпусе зажима, смещение меток при монтаже натяжного зажима, отсутствие гаек и шплинтов);
неисправности соединений в муфте (вырывы ОК из заделки, вмятины и отверстия в корпусе);
повреждения (дефекты) узлов крепления ОК к грозотросу и к опорам.
Перечисленные внешние повреждения выявляются путем визуального наблюдения, измерений при помощи геодезического инструмента, рулетки и метра. Повреждения ОК и его соединений в муфтах определяются с помощью рефлектометров и тестеров.
3.3.18. В процессе производства работ должно осуществляться ведение журнала выполнения работ, отражающего последовательность, сроки, качество работ, готовность отдельных участков (пролетов), а также журнала авторского надзора проектной организации и заказчика.
При контроле качества следует руководствоваться допусками, приведенными в п. 3.2.7 - 3.2.9. настоящих "Правил строительства".
3.3.19. Контроль качества выполненного соединения осуществляется путем измерения оптических потерь в сварке в процессе проведения монтажа муфты или после монтажа участка трассы или всей трассы. Одновременно проводятся измерения оптического затухания (a) в линии с целью выявления возможных повреждений ОВ в смонтированных строительных длинах кабеля.
3.3.20. Потери в сварках и затухание в ОВ определяются методом обратного рассеяния (ГОСТ Р МЭК 793-1-93) с помощью оптического рефлектометра. Измерения проводят в двух направлениях. Потери в сварках и затухание в линии рассчитываются по следующей формуле:
,
где Аа-в - потери в сварном соединении или ОВ в направлении от А к В;
Ав-а - потери в сварном соединении или ОВ в направлении от В к А.
Потери в сварке не должны превышать величины, указанной в технических требованиях на монтаж линии.
3.3.21. При монтаже муфт для ведения контроля качествам сварках с помощью рефлектометра требуется дополнительное транспортное средство, удобное для ведения измерений (например, автомобиль на шасси УАЗ - 3303 или ГАЗ - 66), размещаемое на другом конце строительной длины кабеля.
3.3.22. Измерение потерь в сварке можно проводить как с двух концов линии (что не удобно), так и с одного.
Для удобства проведения измерений в двух направлениях из одной точки (В) на конце линии (А) устанавливается измерительная муфта (3), в которой ОВ попарно свариваются друг с другом. Перед установкой измерительной муфты проводится контроль состояния ОВ смонтированных строительных длин кабеля.
|
Рефлектометр |
В |
|
А |
3 |
|
|
|
|
||
|
|
2 |
|
1 |
|
|
|
Монтируемая муфта |
|
||
1, 2 - строительные длины оптического кабеля; 3 - измерительная муфта.
3.3.23. После стыковки каждой пары ОВ в очередной монтируемой муфте проводятся измерения потерь в сварке и затухания в очередной строительной длине.
3.3.24. При приемочном контроле необходимо производить проверку качества выполненных работ, и в первую очередь соединений ОК в муфтах.
Завершающей операцией перед приемкой ВОЛС-ВЛ является контроль величины затухания между пунктами регенерации.
3.3.25. Приемочный контроль осуществляется при завершении монтажа отельных участков (или между пунктами регенерации) линейной части объекта. Такой контроль позволяет определить готовность участков к эксплуатации.
Результаты приемочного контроля фиксируются в актах освидетельствования проведенных работ, актах испытания объекта под нагрузкой и других документах, предусмотренных действующими нормативами по приемке строительных работ.
Более подробно приемочный контроль освещен в главе 3.4 Правил.
3.3.26. Контроль качества строительно-монтажных работ в ходе сооружения ВОЛС-ВЛ выполняют ИТР и линейный персонал подрядчика, обладающий соответствующей квалификацией и оснащенный необходимыми приборами.
3.3.27. Приемо-сдаточные измерения оптических волокон ОК на ВОЛС-ВЛ следует производить в соответствии с требованиями приложения 12 "Приемо-сдаточные измерения кабельных секций".
3.4.1. Для сдачи-приемки ВОЛС-ВЛ в эксплуатацию создаются рабочая и приемочная комиссии.
3.4.2. Рабочая комиссия назначается решением организации заказчика. Порядок и продолжительность работы рабочей комиссии определяется заказчиком по согласованию с генеральным подрядчиком.
В состав рабочей комиссии включают представителей заказчика (председатель комиссии), генерального подрядчика, субподрядных организаций, эксплуатационной организации, генерального проектировщика, государственных органов надзора.
Рабочая комиссия создается не позднее, чем в пятидневный срок после получения письменного извещения генерального подрядчика о готовности объекта к сдаче.
3.4.3. В соответствии с требованиями СНиП 3.01.04-87 "Приемка в эксплуатацию законченных строительством объектов. Основные положения. М., 1988", СНиП 3.05.06-85 "Электротехнические устройства. Госстрой СССР. М, 1988", а также "Руководства по приемке в эксплуатацию линейных сооружений проводной связи и проводного вещания" подрядные организации обязаны представить рабочей комиссии исполнительную документацию на принимаемые в эксплуатацию линейные сооружения.
3.4.4. Исполнительная документация представляется в одном экземпляре в составе, предусмотренном "Единым руководством по составлению исполнительной документации на законченные строительством линейные сооружения проводной связи. Утверждено зам. Министра связи СССР, 01.10.91, М., СКТБ, 1990".
3.4.5. Исполнительная документация должна быть подписана главным инженером подрядной организации, а также должностными лицами, ответственными за достоверность приведенных в документации данных (старшим прорабом, прорабом, мастером, измерителем и др.) и согласована с проектной организацией.
3.4.6. Состав исполнительной документации на законченную строительством волоконно-оптическую кабельную линию связи:
паспорт ВОЛС-ВЛ;
рабочие чертежи на строительство ВОЛС-ВЛ в объеме, полученном от заказчика, откорректированные в соответствии с выполненными в натуре работами;
протоколы измерений оптического кабеля на регенерационных участках ВОЛС-ВЛ;
укладочные ведомости строительных длин оптического кабеля.
3.4.7. Сдача-приемка вновь строящейся ВЛ, на которой выполнен монтаж ОК осуществляется одновременно со сдачей-приемкой ВОЛС-ВЛ. При этом устраняются все недоделки, препятствующие нормальной эксплуатации ВЛ и ВОЛС-ВЛ.
Если ВОЛС-ВЛ, непосредственно относящаяся к сдаваемой ВЛ, но представляющая самостоятельный объект, не закончена строительством, то она учитывается как недоделка.
3.4.8. Рабочая комиссия до предъявления приемочной комиссии к приемке в эксплуатацию ВОЛС-ВЛ обязана:
- проверить соответствие выполненных строительно-монтажных работ проектно-сметной документации, стандартам, строительным нормам и правилам производства работ;
- при приемке механической части ВОЛС-ВЛ произвести сплошной визуальный осмотр трассы ВЛ, на которой подвешен кабель; проверке подлежат: внешнее состояние кабеля (ОКГТ, ОКСН, ОКНН), соответствие стрел провеса кабеля (троса) проекту, количество навитых проволок, качество затяжки болтов и гаек, наличие шплинтов в поддерживающих и натяжных спиральных зажимах, правильность установки гасителей вибрации, правильность установки соединительных муфт на опорах ВЛ;
- при приемке оптической части ВОЛС-ВЛ произвести аттестацию каждого регенерационного участка кабельной линии;
- произвести измерение оптических потерь (затухания оптического сигнала) с помощью оптического рефлектометра и тестера с определением параметров каждого регенерационного участка в прямом и обратном направлениях;
- проверить готовность ВОЛС-ВЛ, предъявляемой приемочной комиссии в эксплуатацию, к оказанию услуг связи, предусмотренных проектом, и бесперебойной работе;
- проверить укомплектование объекта эксплуатационными кадрами и обеспечение энергоресурсами;
- проверить соответствие параметров цифровых каналов и трактов требованиям "Норм на электрические параметры цифровых каналов и трактов магистральной и внутренних первичных сетей" (приказ Минсвязи РФ № 92 от 10.08.96 г.) в объеме программы приемо-сдаточных испытаний, согласованной с Заказчиком.
3.4.9. Устранение дефектов и недоделок, обнаруженных рабочей комиссией, производится строительно-монтажной организацией в кратчайший технически возможный срок. После устранения дефектов и недоделок рабочая комиссия вторично осматривает соответствующие участки, узлы, элементы ВОЛС-ВЛ.
3.4.10. В процессе работы рабочей комиссии составляется следующая документация:
- протокол обследования законченной строительством ВОЛС-ВЛ;
- справка об устранении недоделок, выявленных рабочей комиссией;
- акт рабочей комиссии о готовности законченной строительством ВОЛС-ВЛ для предъявления приемочной комиссии.
Вся перечисленная в п. 3.4.6 документация составляется по формам, регламентируемым СНиП 3.01.04-87 "Приемка в эксплуатацию законченных строительством объектов. Основные положения. М., 1988".
3.4.11. Вся документация после окончания работы рабочей комиссии должна храниться у заказчика.
3.4.12. Для ускорения работ по сдаче ВОЛС-ВЛ в эксплуатацию строительно-монтажная организация по договоренности с заказчиком может предъявлять рабочей комиссии к осмотру и проверке отдельные законченные строительством и монтажом регенерационные участки, не ожидая окончания работ по всей линии.
3.4.13. В состав приемочной комиссии включаются: представители заказчика, эксплуатационной организации (служба связи энергосистемы), генерального подрядчика, генерального проектировщика, органов государственного надзора и финансирующего банка, а при необходимости также представители предприятий-изготовителей оборудования и аппаратуры.
Председателем комиссии назначается руководящий работник органа, назначившего эту комиссию, или руководящий работник организации, непосредственно подчиненной этому органу.
Приемочную комиссию следует назначать не позднее, чем за 3 месяца до установленного срока сдачи объекта. При этом должны быть определены даты начала и окончания работы комиссии с учетом установленного срока ввода объекта в эксплуатацию.
3.4.14. Заказчик представляет приемочной комиссии документацию, перечисленную в п. 3.4.6 и 3.4.10.
Указанную документацию после приемки объекта в эксплуатацию следует хранить у заказчика или у соответствующих эксплуатационных организаций.
3.4.15. Приемочная комиссия обязана проверить: устранение недоделок, выявленных рабочей комиссией; готовность объекта к приемке в эксплуатацию; соответствие параметров вводимой ВОЛС-ВЛ утвержденному проекту; соответствие фактической стоимости (для заказчика) сметной стоимости строительства.
В случае отклонений следует проанализировать причины их возникновения, а результаты анализа с соответствующими предложениями представить органам, назначившим комиссию.
3.4.16. После окончания работы приемочная комиссия представляет в орган, назначивший ее, следующие материалы:
- акт приемочной комиссии о приемке ВОЛС-ВЛ в эксплуатацию;
- краткую докладную записку к акту о приемке, содержащую выводы комиссии о подготовленности объекта к нормальной эксплуатации, обеспечении его необходимыми для эксплуатации материально-техническими ресурсами, а также кадрами и предназначенными для его обслуживания санитарно-бытовыми помещениями;
- проект решения органа, назначившего приемочную комиссию, об утверждении акта о приемке ВОЛС-ВЛ.
При выявлении непригодности объекта к эксплуатации комиссия направляет заключение об этом в орган, назначивший комиссию, а копии - заказчику и генеральному подрядчику.
3.4.17. Акт о приемке в эксплуатацию ВОЛС-ВЛ утверждается решением (приказом, постановлением и др.) органа, назначившего комиссию.
3.4.18. Приемка ВОЛС-ВЛ, строительство которой осуществляется на основе контрактов с иностранными фирмами, производится приемочной комиссией после подписания заказчиком с иностранными фирмами протоколов о выполнении ими обязательств, предусмотренных контрактами.
3.4.19. Полномочия приемочной комиссии прекращаются с момента утверждения акта о приемке ВОЛС-ВЛ в эксплуатацию.
3.5.1. При производстве строительно-монтажных работ на ВОЛС-ВЛ следует соблюдать требования техники безопасности, изложенные в руководящей нормативно-технологической документации, перечисленной в приложении 3. В настоящем разделе освещаются специальные требования, связанные со спецификой ОК и особенностями его монтажа.
3.5.2. К монтажу ОК допускаются монтажники, прошедшие специальный курс обучения технологическим правилам и приемам монтажа.
3.5.3. Перед монтажом все опоры, не рассчитанные на одностороннее тяжение грозозащитных тросов с ОК и временно подвергаемые такому тяжению, должны быть укреплены во избежание их деформации.
Выбирать схему подъема монтажных приспособлений, грузов и размещать блоки на опоре следует с таким расчетом, чтобы не возникали усилия, которые могут вызвать деформацию опоры или ее элементов.
До начала работы на основании инструкции по применению раскаточных машин с учетом конкретных условий должен проводиться инструктаж по работе с данным типом машин.
3.5.4. При работе на ВЛ, находящихся в эксплуатации, равно как в охранной зоне или вблизи действующих ВЛ, должны соблюдаться требования по защите работающих от поражения электрическим током и осуществляться мероприятия, перечисленные в п.п. 3.5.5. - 3.5.24 настоящих требований.
3.5.5. Основные работы по монтажу ВОЛС-ВЛ на действующих ВЛ проводятся, как правило, с отключением линий, для чего необходимо провести согласование с организацией, эксплуатирующей ВЛ, на которой будут осуществляться работы, а также с организациями - владельцами пересекаемых линий и оформить наряд-допуск в установленном порядке.
В наряде-допуске указываются защитные мероприятия по технике безопасности. Если работы ведутся на отключенной ВЛ, то за предотвращение подачи рабочего напряжения на участки, куда допускается персонал строительно-монтажной организации, отвечает эксплуатационное предприятие.
В целях сокращения продолжительности перерывов в электроснабжении работы должны строиться таким образом, чтобы максимальное число подготовительных и вспомогательных операций производилось до отключения или после включения линий. Только на время выполнения работ, связанных с прикосновением и опасным приближением к токоведущим частям, напряжение снимается.
3.5.6. Монтаж ОК без отключения ВЛ (под напряжением) осуществляется на линиях электропередачи напряжением 110 - 500 кВ, когда могут быть обеспечены достаточные воздушные промежутки на опорах, позволяющие выполнять безопасный подъем на высоту и работу на опоре.
При этом должны использоваться защитные приспособления в соответствии с требованиями техники безопасности при работе в действующих электроустановках. Меры безопасности должны быть отражены в ППР.
Минимальные расстояния, на которые допускается приближение к токоведущим частям приведены в таблице 3.5.6.
Таблица 3.5.6.
|
Напряжение ВЛ, кВ |
Минимальное расстояние до токоведущих частей (проводов), м |
|
|
от людей и применяемых ими инструментов и приспособлений |
от механизмов и грузоподъемных машин в рабочем и транспортном положении, от стропов, грузозахватных приспособлений и грузов |
|
|
35-100 |
1,0 |
1,5 |
|
150 |
1,5 |
2,0 |
|
220 |
2,0 |
2,5 |
|
330 |
2,5 |
3,5 |
|
400-500 |
3,5 |
4,5 |
3.5.7. При работе с кабелем во время монтажа соединительных муфт необходимо избегать прикосновений оптических волокон к телу, чтобы предотвратить попадание стеклянных частиц волокон на кожу и в организм.
3.5.8. При осуществлении строительства ВОЛС-ВЛ на линиях электропередачи проходящих на участках сложившейся городской застройки, должны быть выделены опасные зоны, границы подземных и наземных сооружений и коммуникаций. Пути движения монтажных механизмов и места складирования материалов назначаются с учетом местных условий с обеспечением схем безопасного движения транспорта и пешеходов.
3.5.9. Создание безопасных условий для производства строительно-монтажные работ в условиях влияния действующих ВЛ сводится к обеспечению допустимых уровней напряженности электрического поля и наведенного напряжения на рабочих местах; ограничению времени пребывания в зоне повышенной напряженности; соблюдению нормируемых расстояний до элементов, которые могут оказаться под опасным потенциалом; устройству защитного заземления; применению средств коллективной и индивидуальной защиты.
3.5.10. Безопасными для работающих без применения электрозащитных средств являются значения напряженности электрического поля не более 5 кВ/м и наведенного напряжения не выше 42 В.
Гигиенические нормативы пребывания в электрическом поле, установленные исходя из непосредственного (биологического) воздействия на человека, приведены в таблице 3.5.10.
Таблица 3.5.10
|
Напряженность, кВ/м (Е) |
Допустимое время пребывания, мин (Т) |
Условия работы |
|
До 5 включительно |
не ограничивается |
Без средств защиты |
|
10 |
180 |
|
|
15 |
80 |
|
|
20-25 |
10 |
|
|
более 25 |
Один рабочий день |
С применением специальных средств защиты |
Допустимая продолжительность пребывания персонала без средств защиты в течение суток вычисляется по формуле:
,
где Т - допустимое время пребывания в электрическом поле при соответствующем уровне напряженности, ч;
Е - напряженность воздействующего электрического поля в контролируемой зоне, кВ/м.
Любые работы без применения средств защиты и без ограничения по характеру и продолжительности могут производиться в местах, где напряженность электрического поля не превышает 5 кВ/м.
Если напряженность электрического поля на рабочем месте превышает 25 кВ/м, пребывание в поле без средств защиты недопустимо (независимо от продолжительности).
Уровень напряженности принимается по результатам измерений.
Приведенные нормативы действительны при условии исключения воздействия на работающих электрических разрядов.
Указанное в таблице время может быть реализовано одноразово или дробно в течение рабочего дня. В остальное рабочее время необходимо использовать средства защиты или находиться в электрическом поле напряженностью до 5 кВ/м.
3.5.11. В ППР (технологических картах) должны быть указаны организационные и технические мероприятия по обеспечению безопасности при работе вблизи действующих ВЛ (обозначены места наложения защитных заземлений, указаны средства защиты работающих от поражения электрическим током и т.п.).
3.5.12. Организационными мероприятиями по технике безопасности, подлежащими выполнению являются:
назначение лиц, ответственных за безопасное ведение работ,
оформление работ нарядом-допуском,
допуск к работе,
осуществление надзора во время работы.
Ответственными за безопасное ведение работ являются:
выдающий наряд -допуск,
руководитель работ,
допускающий,
производитель работ (прораб, мастер, бригадир)
исполнители (члены бригады).
3.5.13. Наряд-допуск составляется руководителем работ на основании письменного разрешения организации, эксплуатирующей влияющую линию электропередачи. При наличии нескольких ВЛ, принадлежащих разным владельцам, необходимо получить разрешение каждого из них.
Допуск к работе по нарядам производится непосредственно на рабочем месте. Он выполняется после подготовки рабочих мест и проверки осуществления предусмотренных технических мероприятий, в первую очередь наложения заземлений.
Проверка производится ответственным лицом путем личного осмотра.
Перед допуском проверяется соответствие состава бригады указанному в наряде по именным удостоверениям; проводится инструктаж, включая ознакомление бригады с содержанием наряда, указание границ рабочего места и показ частей, к которым запрещается приближаться независимо от того, находятся они под напряжением или нет; показываются бригаде установленные заземления или проверяется отсутствие напряжения.
При допуске производится также инструктаж о мерах по безопасному ведению работ, включая их технологию, использование приспособлений, инструмента, механизмов и грузоподъемных машин.
3.5.14. Основным техническим мероприятием электробезопасности является защитное заземление частей, контакт с которыми опасен для человека.
Заземление ВЛ после ее отключения производится персоналом эксплуатирующей организации во всех РУ и у секционирующих коммутационных аппаратов, где отключена линия.
На рабочих местах перед началом строительно-монтажных работ наложение заземлений производится обычно персоналом строительно-монтажной организации.
3.5.15. Заземлению при производстве строительно-монтажных работ подлежат все металлические конструкции, элементы ВЛ, механизмы, оборудование и оснастка, находящиеся в зоне влияния и изолированные от земли. Прикасаться к отключенным, но не заземленным токоведущим частям без средств защиты запрещается.
При раскатке грозозащитного троса с ОК предусматривается применение на нем скользящих заземлений.
Для обеспечения безопасности "трос-лидер" и ОКГТ (ОКСН) должны быть заземлены около раскаточных машин или у граничных опор монтируемого участка, а также в пределах монтируемого участка у раскаточных роликов, как минимум, через каждые 1000 м.
Незаземленные провода и тросы отключенной линии считаются находящимися под напряжением.
Приспособления и оснастка, которые могут оказаться изолированными от земли, также должны быть заземлены.
По окончании раскатки данного барабана кабель (трос) в этом месте заземляют. Последние 5-6 витков снимаются с барабана вручную в диэлектрических перчатках.
3.5.16. В качестве заземлителя может использоваться заземление опоры, а при его отсутствии или при производстве работ на удалении от опоры - инвентарный заземлитель, изготовленный из круглой стали диаметром не менее 16 мм или газовой трубы диаметром 32 мм, погружаемый вертикально в грунт на глубину 0,5 м при помощи кувалды. Запрещается установка заземлителей в случайные навалы грунта.
3.5.17. В качестве заземляющих спусков защитных заземлений применяются инвентарные переносные заземления, состоящие из зажимов для присоединения к частям, которые подлежат заземлению, проводника из голого медного многожильного провода сечением не менее 25 мм2 и наконечника или струбцины для присоединения к инвентарному заземлителю или заземленным конструкциям. Элементы переносного заземления должны быть прочно и надежно соединены путем опрессовки, сварки или болтами. Применение для этой цели пайки запрещается.
При присоединении переносного заземления к заземляющим спускам на опорах следует проверить целостность этих спусков (отсутствие обрывов).
Места присоединения переносных заземлений на конструкциях должны быть очищены от краски.
Запрещается пользоваться проводниками, не предназначенными для целей заземления, и присоединять заземляющие провода путем скрутки.
3.5.18. Наложение заземления производится в следующей последовательности: сначала переносное заземление присоединяется к заземлителю ("к земле"), а затем после проверки отсутствия напряжения - к заземляемым элементам и конструкциям.
Снимается заземление в обратном порядке: сначала отсоединяется от заземляемых (токоведущих) частей, а затем от заземлителя.
3.5.19. Установка и снятие переносных заземлений выполняется в диэлектрических перчатках с применением штанги для наложения заземлений. Закреплять зажимы переносных заземлений следует этой же штангой, а если переносное заземление не снабжено приспособлением, допускающим его наложение и снятие с помощью штанги, то операции выполняются непосредственно руками в диэлектрических перчатках. Очистка поверхностей от краски производится вручную в диэлектрических перчатках.
3.5.20. К защитным средствам относятся:
- изолирующие штанги и штанги для наложения и снятия заземлений,
- диэлектрические перчатки и боты,
- экранирующие устройства,
- индивидуальные экранирующие комплекты.
Выбор необходимых средств защиты регламентируется соответствующими нормами и правилами, а также определяется местными условиями на основании требований этих документов.
При длительности работы в зоне влияния ВЛ, превышающей допустимую продолжительность, указанную в таблице(п. 3.5.10.), а также если работы в зоне влияния связаны с подъемом на опору на высоту более 3 м, средства защиты должны применяться вне зависимости от наличия других факторов.
3.5.21. Основным средством защиты от непосредственного воздействия электрического поля при работах под напряжением и в зоне влияния ВЛ 330 кВ и выше является индивидуальный экранирующий комплект.
Учитывая, что работающие в электрическом поле подвергаются помимо прямого биологического влияния еще и опасному воздействию электрических разрядов и токов стекания, возникающих при контакте с заряженными предметами, изолированными от земли, рекомендуется использовать эти комплекты в качестве наиболее надежного средства электрозащиты независимо от напряженности электрического поля.
В случае невозможности получения необходимых данных о напряженности электрического поля путем измерений при работах на грозозащитном тросе необходимо пользоваться индивидуальными экранирующими комплектами.
Экранирующий комплект включает в себя спецодежду, спецобувь, средства защиты головы и рук, защитный экран для лица, заземляющие проводники со струбцинами.
Все элементы комплекта должны быть снабжены контактными выводами с кнопками для надежного соединения их между собой и создания электрической связи при заземлении экранирующей спецодежды через обувь или проводник, оканчивающийся струбциной. При работе в экранирующем комплекте на заземленных металлоконструкциях или непосредственно на грунте с достаточно высокой проводимостью заземления костюма не требуется. В холодное время года комплект можно применять с зимней спецодеждой общего назначения, надеваемой сверху.
3.5.22. Производство работ по монтажу ОК в пролетах пересечений с действующими линиями без отключения последних, допускается только в том случае, если линия, на которой производятся работы, проходит под проводами линии, находящейся под напряжением.
При прохождении линии над действующей ВЛ или контактной сетью последние должны быть отключены и заземлены.
Заземления необходимо установить на опоре, на которой ведется работа, а провода должны быть заземлены с обеих сторон от места пересечения.
При обнаружении на действующей линии оборвавшегося и лежащего на земле или провисающего провода запрещается приближаться к нему ближе чем на 8 м. В этом месте необходимо разместить предупредительные знаки, устроить ограждение или выставить охрану. О месте обрыва необходимо сообщить в эксплуатационное предприятие.
Допуск ответственного исполнителя каждой бригады строительно-монтажной организации к работам в пролете пересечения с действующими ВЛ осуществляется допускающими из персонала эксплуатационного предприятия.
Эксплуатационное предприятие отвечает за предотвращение подачи рабочего напряжения на пересекаемые ВЛ, над которыми ведутся монтажные работы.
3.5.23. При работе в зоне влияния необходимо соблюдать допустимые расстояния до элементов ВЛ, находящихся под напряжением, указанные в таблице 3.5.6.
3.5.24. Машины и механизмы на пневмоколесном ходу, находящиеся в зоне влияния электрического поля, должны быть заземлены. При их передвижении в пределах охранной зоны линии, находящейся под напряжением, для снятия наведенного потенциала следует применять металлическую цепь, присоединенную к шасси или кузову и касающуюся земли. При работе грузоподъемных машин (в стационарном положении) они должны быть дополнительно заземлены переносным заземлением, соединенным с инвентарным заземлителем.
Машины на гусеничном ходу не заземляются.
3.6.1. Перевозку барабанов с ОК производят без перегрузки:
по железной дороге;
автотранспортом по дорогам с асфальтовым и бетонным покрытием на расстояние до 200 км, по булыжным и грунтовым дорогам на расстояние до 50 км со скоростью до 40 км/час.
Допускается перевозка с общим числом перегрузок не более двух при различных видах транспорта (воздушный или железнодорожный) совместно с автомобильным.
3.6.2. Барабаны с ОК в транспортных средствах устанавливают и крепят вертикально в соответствии с правилами, действующими на транспорте данного вида.
3.6.3. Перевозку барабанов с кабелем на трассу ВЛ к месту монтажа производят в потребительской таре (в контейнерах или на поддонах).
3.6.4. Транспортировка ОК может производиться при температуре воздуха от +50 град. С до -50 град. С.
Допускается транспортировать барабаны с ОК при интенсивности дождя не более 3 мм/мин (ливень).
3.6.5. Погрузка и выгрузка барабанов с ОК производится с помощью грузоподъемных механизмов. Сбрасывать барабаны с платформы транспортного средства категорически запрещено.
3.6.6. Организация складирования и хранения волоконно-оптического кабеля должна исключать возможность его повреждения.
3.6.7. Барабаны с кабелем, по мере поступления от поставщиков, должны быть зарегистрированы с указанием наименования, марки, заводского номера, даты поступления, номера транспортного документа (накладной, акта).
По мере вывозки кабеля на трассу в документах следует фиксировать, на какой участок (пункт) и когда он отправлен.
3.6.8. Барабаны с ОК, поступившие в строительно-монтажную организацию, хранят в потребительской таре (в контейнерах или на поддонах) предприятия - изготовителя в вертикальном положении.
3.6.9. Барабаны с ОК размещают на складах в местах, в которых влажность и температура воздуха соответствуют требованиям ТУ на хранение кабеля.
Проезды, проходы и разрывы между складируемыми изделиями должны соответствовать габаритам транспортных и грузоподъемных механизмов.
3.6.10. Склады, где хранится ОК, могут располагаться в районах с умеренным и холодным климатом в атмосфере любых типов:
температура воздуха от +50 град. С до -50 град. С;
относительная влажность воздуха (среднегодовое значение) 80% при 15 град. С.
3.6.11. Количество барабанов с ОК и сроки хранения кабеля на приобъектном складе определяются графиком производства работ по монтажу ВОЛС-ВЛ.
3.6.12. Барабан с частично смотанным ОК должен пройти входной контроль качества (см. раздел 3), после чего его обшивают сплошным рядом досок, на бирке и в паспорте указывают новую длину кабеля и оставляют на хранение до востребования.
Конец кабеля должен быть защищен от проникновения влаги и вытекания заполнителя.
3.6.13. Перед транспортировкой на трассу ОК и другие материалы и изделия должны пройти приемо-сдаточный контроль качества (Глава 3.3).
Деревянную обшивку барабана разрешается снимать только непосредственно перед установкой его на раскаточное устройство.
3.7.1. Требования к маркировке и пломбированию элементов ВОЛС-ВЛ составляются в каждом конкретном случае, исходя из требований удобства эксплуатирующей организации (заказчика).
3.7.2. Маркировать кабельные барабаны следует сквозной нумерацией с указанием порядкового номера как на барабанах, так и в монтажной ведомости, где указываются номера участков, строительная длина ОК и номера барабанов.
Иногда вместо сквозной нумерации на барабанах указывают номера участков ВЛ (номера опор, между которыми располагается данная строительная длина ОК).
3.7.3. Маркировка соединительных муфт ведется только в монтажной ведомости и номера их соответствуют номерам опор, на которых они устанавливаются.
3.7.4. Маркировка ответвительных муфт (на три, четыре кабеля), маркировка кабеля (по просьбе заказчика) производится с указанием номера ОК или соответствующего участка ВОЛС-ВЛ.
3.7.5. Маркировка оптических разъемов на оптических кроссах выполняется в виде сквозной нумерации.
На схеме соединений оптических волокон с разъемами указываются соответственно номера разъемов и цвет волокна.
3.7.6. Пломбирование муфт производится только по просьбе заказчика. Краской помечаются винтовые соединения, обеспечивающие герметичность муфт.
3.8.1. Договор на строительство ВОЛС-ВЛ
3.8.2. Согласованный список замечаний и изменений к проектно-сметной документации.
3.8.3. График поставки оборудования заказчиком.
3.8.4. График выполнения строительно-монтажных работ.
3.8.5. Протокол утверждения плана работ, включая сроки приемочных испытаний.
3.8.6. Протокол согласования с организацией, эксплуатирующей ВЛ, на которой будет осуществляться монтаж ОК.
3.8.7. Протоколы взаимного согласования с владельцами пересекаемых объектов (переходы через ВЛ, линии связи, железные и автомобильные дороги, внутренние водные пути).
3.8.8. Акт готовности участка ВЛ для монтажа ВОЛС-ВЛ.
3.8.9. Акты передачи оборудования.
3.8.10. Акт приемочного контроля ОК.
3.8.11. Акт-допуск для производства строительно-монтажных работ в охранной зоне действующих ВЛ (на территории действующих ПС).
3.8.12. Протокол входного контроля оптических параметров кабеля, поставляемого на ВОЛС-ВЛ.
3.8.13. Наряд-допуск на производство работ повышенной опасности.
3.8.14. Журнал производства работ по монтажу ВОЛС-ВЛ.
3.8.15. Журнал авторского надзора за строительством ВОЛС-ВЛ.
3.8.16. Протокол измерений оптического кабеля на регенерационном участке ВОЛС-ВЛ.
3.8.17. Укладочная ведомость строительных длин ОК.
3.8.18. Уведомление об окончании работ и готовности ВОЛС-ВЛ (участка между пунктами регенерации).
3.8.19. Протокол обследования законченной строительством ВОЛС-ВЛ.
3.8.20. Паспорт магистральной ВОЛС-ВЛ.
3.8.21. Акт рабочей комиссии о готовности законченной строительством ВОЛС-ВЛ для предъявления приемочной комиссии.
3.8.22. Справка об устранении недоделок, выявленных рабочей комиссией по приемке ВОЛС-ВЛ.
3.8.23. Акт приемочной комиссии о приемке в эксплуатацию законченной строительством ВОЛС-ВЛ.
3.8.24. Рекомендуемые документы, имеющих шифр ВОЛС-ВЛ, приведены в Пособиях к настоящим Правилам.
3.8.25. Остальные документы составляются по произвольной форме.
4.1.1. Настоящие "Правила технической эксплуатации ВОЛС-ВЛ" (далее "Правила эксплуатации") относятся к волоконно-оптическим линиям связи на воздушных линиях электропередачи 110 кВ и выше и устанавливают основные принципы ведения эксплуатации ВОЛС-ВЛ.
4.1.2. "Правила эксплуатации" разработаны с учетом требований "Правил технической эксплуатации электрических станций и сетей Российской Федерации" (15-ое издание, 1997).
4.1.3. Основной задачей эксплуатации ВОЛС-ВЛ является обеспечение ее заданной надежности. Эксплуатация ВОЛС-ВЛ должна технологично сочетаться с эксплуатацией воздушной линии электропередачи, на которой она организована.
4.1.4. Эксплуатация аппаратуры связи ВОЛС-ВЛ, кроме аппаратуры на линиях, не выходящих на ВСС РФ, должна производиться в соответствии с правилами, нормами и техническими условиями, утвержденными Госкомсвязью РФ.
4.1.5. Численность и структура персонала для эксплуатации ВОЛС-ВЛ, оснащение предприятий транспортом, оборудованием и материалами определяется на этапе проектирования конкретной ВОЛС-ВЛ.
4.1.6. Организация эксплуатации ВОЛС-ВЛ включает выполнение следующих организационно-технических мероприятий:
- приемка ВОЛС-ВЛ в эксплуатацию;
- распределение зон обслуживания ВОЛС-ВЛ между энергетическими системами и их предприятиями с обязательным назначением лиц, ответственных за эксплуатацию;
- обеспечение слаженного взаимодействия технического обслуживания ВОЛС-ВЛ с техническим обслуживанием ВЛ;
- планирование работ по эксплуатации;
- подготовка и допуск обслуживающего инженерно-технического и ремонтного персонала;
- техническое обслуживание;
- ремонт;
- сбор и анализ информации по технической эксплуатации;
- ведение эксплуатационно-технической документации, компьютерного банка данных.
4.1.7. Основные обязанности работников, эксплуатирующих ВОЛС-ВЛ:
- обеспечение заданного качества связи;
- содержание линейно-кабельных сооружений и оборудования связи в состоянии эксплуатационной готовности;
- соблюдение технологической дисциплины.
4.1.8. Приемка в эксплуатацию ВОЛС-ВЛ или участков ВОЛС-ВЛ производится в соответствии с "Правилами строительства ВОЛС-ВЛ", часть 3, глава 3.4. "Сдача-приемка в эксплуатацию ВОЛС-ВЛ".
Приемка в эксплуатацию смонтированного (подвешенного) на опорах ВЛ оптического кабеля с несогласованными отступлениями от проекта, недоделками и дефектами не допускается.
4.1.9. При техническом обслуживании должны производиться работы по предотвращению преждевременного износа элементов ВОЛС-ВЛ путем устранения повреждений и неисправностей, выявленных при осмотрах, проверках и измерениях.
4.1.10. При капитальном ремонте ВОЛС-ВЛ должен быть выполнен комплекс мероприятий, направленных на поддержание или восстановление первоначальных эксплуатационных характеристик ВОЛС-ВЛ в целом или отдельных ее элементов путем замены их новыми, повышающими их надежность и улучшающими эксплуатационные характеристики.
4.1.11. Аварийно-восстановительные работы организуются немедленно после получения информации о любом виде отказа линейных сооружений ВОЛС-ВЛ и должны вестись непрерывно и в объемах, обеспечивающих восстановление работоспособности ВОЛС-ВЛ в кратчайшие сроки.
4.1.12. Техническое обслуживание и ремонтные работы по ВОЛС-ВЛ должны быть организованы, как правило, комплексно путем проведения всех необходимых работ с максимально возможным сокращением продолжительности отключения ВЛ.
4.1.13. Техническое обслуживание и ремонт ВОЛС-ВЛ должны выполняться с использованием специальных машин, механизмов, транспортных средств, такелажа, оснастки, инструмента и приспособлений.
Средства механизации должны быть укомплектованы в соответствии с нормами и размещены на ремонтно-производственных базах (РПБ) предприятий и их подразделений.
4.1.14. Техническое обслуживание и ремонт ВОЛС-ВЛ, связанные с подъемом на опору (спуском и подъемом кабеля, закреплением соединительных муфт на опорах ВЛ), производится персоналом, обслуживающим линии электропередачи.
Техническое обслуживание и ремонт ВОЛС-ВЛ выполняемые без подъема на опору (соединение оптических волокон, монтаж муфт), осуществляется работниками службы связи, в присутствии представителя службы линий.
4.1.15. Техническое обслуживание и ремонт ВОЛС-ВЛ в зависимости от вида работ, наличия соответствующих приспособлений, подготовки персонала и др. условий могут выполняться со снятием и без снятия напряжения с токоведущих частей ВЛ.
4.1.16. Для контроля за выполнением работ по техническому обслуживанию и ремонту ВОЛС-ВЛ следует использовать существующие формы отчетности по линиям электропередачи: листки обходов, ведомости и журналы неисправностей, ведомости измерений габаритов и стрел провеса, журналы учета работ, а также компьютер.
4.1.17. При эксплуатации ВОЛС-ВЛ должны соблюдаться правила охраны электрических сетей и контролироваться их выполнение.
Организация, эксплуатирующая ВОЛС-ВЛ и ВОЛС на самостоятельных опорах, должна информировать предприятия и организации, находящиеся в районе прохождения ВОЛС, о требованиях указанных правил.
4.1.18. Организация, эксплуатирующая ВОЛС-ВЛ, должна содержать в исправном состоянии постоянные знаки, установленные на опорах в соответствии с проектом обозначения ВОЛС в местах установки соединительных муфт.
4.1.19. Конструктивные изменения элементов ВОЛС-ВЛ должны выполняться только при наличии технической документации, согласованной с проектной и эксплуатирующими организациями.
4.2.1. Задачей технического обслуживания является проведение профилактических и ремонтных текущих работ с целью предупреждения отказов ВОЛС-ВЛ.
4.2.2.Техническое обслуживание включает в себя осмотры элементов ВОЛС-ВЛ, измерение оптических параметров ОК, а также - текущий ремонт.
При осмотрах производят проверку внешнего состояния ОК, арматуры подвески и другой арматуры ОК, креплений зажимов и заземляющих спусков ОК, муфт и др.
Путем измерений оптических параметров производят проверку состояния оптических волокон ОК. Измерения затухания оптического сигнала ОВ проводят с помощью рефлектометра. В случае обрыва оптического волокна при этом определяют расстояние до места обрыва.
Текущий ремонт производится по результатам осмотров и измерений.
График периодических осмотров и измерений должен быть утвержден техническим руководителем эксплуатирующей организации.
4.2.3. Объем и периодичность проведения работ при техническом обслуживании ОК приведен в таблице 4.2.3.
Таблица 4.2.3.
Перечень работ, выполняемых при техническом обслуживании ОК
|
№ п/п |
Наименование |
Сроки проведения |
Примечание |
|
1 |
2 |
3 |
4 |
|
1 |
Осмотры |
|
|
|
1.1 |
Периодические осмотры в дневное время без подъема на опору |
Не реже 1 раза в 6 мес. |
По графику, утвержденному главным инженером пэс |
|
1.2 |
Верховые осмотры с выборочной проверкой кабеля в зажимах |
В первый год 1 раз в 6 мес., далее по мере необходимости |
При обнаружении повреждения кабеля от вибрации производится сплошная проверка с выемкой кабеля из зажимов |
|
1.3 |
Осмотр заземляющих спусков арматуры ОК |
Не реже 1 раза в 6 лет |
|
|
1.4 |
Выборочные осмотры, выполняемые инженерно-техническими работниками электросетей |
Не реже 1 раза в год |
|
|
1.5 |
Внеочередные осмотры в условиях, которые могут привести к повреждениям ОК |
После окончания активного грозового сезона. После образования гололеда на тросах ВЛ и ОК |
По решению главного инженера ПЭС, начальника службы линий |
|
2 |
Проверка коэффициента затухания оптических волокон и потерь на стыках оптических волокон (в муфтах) с использованием оптического рефлектометра (методом обратного рассеяния) |
Не реже 1 раза в 6 мес. и при аварийных ситуациях |
Замеряется величина затухания оптического сигнала ОВ. В аварийной ситуации определяется место повреждения ОК |
|
3 |
Проверка расстояний от ОК до провода, измерение стрелы провеса ОК |
По мере необходимости |
После проведения ремонтных работ на ОК, после образования гололеда на проводах, тросах, ВЛ и ОК |
|
4 |
Наблюдение за образованием гололеда на ОК |
При атмосферных условиях, способствующих образованию гололеда |
Отмечается толщина стенки гололеда, изменение стрел провеса, наличие пляски ОК |
|
5 |
Проверка (измерение) сопротивления заземления опор, на которых установлены соединительные муфты ОК |
Не реже 1 раза в 6 лет |
- |
|
6 |
Текущий ремонт |
По мере необходимости |
- |
4.2.4. Периодические осмотры проводятся в дневное время для подетальной тщательной проверки состояния кабеля, элементов его подвески и крепления.
4.2.5. Осмотры производятся без подъема на опоры и с подъемом на высоту (верховые осмотры) с выборочной проверкой состояния кабеля в поддерживающих и натяжных зажимах.
4.2.6. Верховые осмотры кабеля производятся для выявления неисправностей крепления ОК, проскальзывания кабеля в поддерживающем зажиме, степени коррозии арматуры, затяжки болтов арматуры, состояния кабеля в натяжном зажиме, состояния крепления кабеля к телу опоры в местах его соединения.
При этом особое внимание уделяется надежности установки гасителей вибрации.
Кроме того на ВЛ 110 кВ и выше, где возможно изменение структуры наружной оболочки самонесущего кабеля (ОКСН) под действием электрического поля, осматривается кабель на выходе из зажимов.
4.2.7. Периодические осмотры ОК производятся выборочно с ревизией натяжных и поддерживающих зажимов. Осмотры производятся также после окончания ремонтных работ на ОК.
4.2.8. Внеочередные осмотры проводятся для выявления неисправностей ОК, которые могут возникнуть после стихийных явлений или в условиях, приводящих к повреждению всей ВЛ (сверхрасчетный гололед, пожары вблизи ВЛ, ураганы, пляска проводов и др.).
4.2.9. Для проверки соответствия фактических расстояний от кабеля до проводов или земли, предусмотренных проектом, следует производить их измерение. Расстояния могут измеряться:
- без снятия напряжения с помощью геодезического угломерного инструмента (теодолита), специальных оптических приборов, изолирующих канатов;
- со снятием напряжения при помощи рулетки, каната или рейки.
4.2.10. При измерениях стрел провеса следует фиксировать температуру воздуха. Фактическая стрела провеса сравнивается с расчетной при данной температуре.
4.2.11. При наблюдении за образованием гололеда необходимо учитывать следующее:
- гололед образуется в холодное время года в результате оседания переохлажденной воды, находящейся в воздухе в виде тумана, мороси, дождя или налипания мокрого снега;
- образование гололеда может происходить интенсивно, в течение непродолжительного времени.
4.2.12. Для своевременного обнаружения образования на ОК гололедных отложений необходимо вести специальные наблюдения на ВЛ при атмосферных условиях, способствующих образованию гололеда.
4.2.13. При наблюдении за образованием гололеда по возможности следует фиксировать:
- вид отложений;
- диаметр отложения;
- массу отложения;
- метеоусловия (температура воздуха, направление и скорость ветра и др.);
- наличие пляски кабеля.
4.2.14. Неисправности на тросе:
- наличие набросов, оборванных (лопнувших) или перегоревших проволок, следов оплавления или вспучивания верхнего повива ("фонари");
- изменение стрел провеса и расстояний от троса до проводов;
- наличие коррозии;
- отсутствие гасителей вибрации, предусмотренных проектом, или их смещение с места установки.
4.2.15. Неисправности в подвеске:
- некачественный монтаж защитной обмотки поддерживающего зажима;
- смещение подушек из неопрена относительно друг друга;
- слабая затяжка поддерживающего зажима, трещины в корпусе зажима;
- смещение меток при монтаже натяжного зажима;
- отсутствие гаек и шплинтов;
- коррозия арматуры и заземляющего троса.
4.2.16. Неисправности ОКГТ и соединительных муфт выявляют как при визуальном осмотре, так и путем измерений с помощью оптического рефлектометра.
4.2.17. Визуально могут быть выявлены явные обрывы ОК и повреждения, при которых элементы ОКГТ оказываются оголены. Кроме того, визуально определяются повреждения соединительных муфт:
- вырывы ОКГТ из заделки в муфты;
- наружные повреждения муфт, могущие привести к повреждению оптических волокон; такие как: вмятины в корпусе муфт, отверстия и т.п.
4.2.18. Неисправное состояние ОКСН и соединительных муфт выявляют при визуальном осмотре и путем измерений с помощью оптического рефлектометра.
4.2.19. Визуально могут быть выявлены обрывы ОКСН, механические электрические повреждения полиэтиленовой оболочки кабеля (изменение цвета, шелушение, образование каверн, местные разрушения оболочки, главным образом, в местах выхода кабеля из натяжных зажимов). Кроме того, визуально определяются повреждения соединительных муфт:
- вырывы ОКСН из заделки в муфты;
- наружные повреждения муфт, могущие привести к повреждению кабеля и оптических волокон.
4.2.20. Неисправности в подвеске аналогичны приведенным в п. 4.2.15.
4.2.21. Визуально могут быть выявлены следующие неисправности:
- обрывы ОКНН;
- механические повреждения наружной оболочки кабеля (например, в результат "ухода" гасителя вибрации на грозотросе, на котором навит ОКНН и др.);
- электрические повреждения наружной оболочки ОК (изменение цвета, образование каверн, шелушение, оплавления и т.п.);
- вырывы ОКНН из заделки в соединительной муфте;
- наружные повреждения соединительных муфт;
- повреждения (дефекты) узлов крепления ОКНН к грозотросу и телу опоры.
4.2.22. Результаты осмотров, проверок и измерений, проведенных на ОК, должны быть записаны в листках осмотра, ведомости и журнале неисправностей или заведены в компьютер.
4.2.23. Неисправности (повреждения) кабеля должны быть подробно записаны электромонтером, производящим осмотр, в "Листок осмотра", который по окончании осмотра передается мастеру.
4.2.24. Отмеченные в "Листке осмотра" неисправности должны быть занесены в журнал неисправностей ВЛ или компьютер. Начальник службы линий совместно с главным инженером предприятия электрических сетей выносят решение о сроке и способе ликвидации неисправностей и об этом ставят в известность соответствующую службу (подразделение) связи, в ведении которой находится эта линия связи. При устранении неисправностей должны быть внесены замечания, сделанные при осмотрах ВЛ инженерно-техническими работниками ПЭС.
4.3.1. При эксплуатации ВОЛС-ВЛ производятся следующие ремонты:
- текущий ремонт;
- капитальный ремонт;
- аварийно-восстановительные работы.
При текущем ремонте выполняются работы, необходимость которых выявляется при техническом обслуживании.
При капитальном ремонте ВОЛС-ВЛ должен быть выполнен комплекс мероприятий, направленных на поддержание или восстановление первоначальных эксплуатационных характеристик ВОЛС-ВЛ в целом или отдельных его элементов (арматура кабеля, соединительных муфт, элементов ВЛ), повышающих их надежность и улучшающих эксплуатационные характеристики ВОЛС-ВЛ. Капитальный ремонт ВОЛС-ВЛ должен выполняться исходя из реального износа ВОЛС-ВЛ по решению технических руководителей эксплуатации ВОЛС-ВЛ и ВЛ. Ремонт ВОЛС-ВЛ и ВЛ должны производиться, как правило, одновременно.
Аварийно-восстановительные работы выполняются в соответствии с требованиями главы 4.4. настоящих "Правил эксплуатации".
4.3.2. Ремонт ВОЛС-ВЛ, проходящих по сельскохозяйственным угодьям, должен производиться по согласованию с землепользователями и, как правило, в период, когда эти угодья не заняты сельскохозяйственными культурами. Аварийно-восстановительные работы на ВОЛС-ВЛ производятся без согласования с землепользователями, но с уведомлением их о проведении работ.
После выполнения указанных работ организация, эксплуатирующая ВЛ, должна привести земляные угодья в состояние, пригодное для их использования по целевому назначению, а также возместить пользователям убытки, причиненные при производстве работ.
4.3.3. Длина заменяемого участка ОК определяется работниками службы связи, эксплуатирующими эту линию связи, совместно с линейным персоналом. Длина поврежденного участка может быть ограничена одним или несколькими промежуточными пролетами. Если установка дополнительных соединительных муфт недопустима, длина заменяемого поврежденного участка определяется строительной длиной ОК.
4.3.4. Ремонт производится в соответствии с технологическими картами на замену ОК и установку ремонтной муфты.
4.3.5. Для монтажа и ремонта должны применяться спиральные зажимы и ремонтные муфты, предназначенные для конкретной марки ОК. Ремонтной муфтой является протектор спирального натяжного зажима. Для бандажа навивного ОК применяется термоусадочная лента из сэвилена.
4.3.6. Ремонтные работы должны производиться как в плановом, так в неплановом порядке. Объем работ определяется на основе данных осмотров, зафиксированных в журнале неисправностей или компьютере.
4.3.7. Если стрелы провеса ОКГТ и ОКСН, подвешенных на ВЛ, отличаются от допустимых, должен быть произведен перемонтаж ОК и регулировка стрел провеса с помощью промзвеньев.
Увеличение или уменьшение стрел провеса производится за счет изменения длины петли на анкерных опорах, не нарушая целостности соединений троса в муфтах.
4.3.8. Повреждения соединительных муфт устраняются заменой их на новые.
4.3.9. Повреждения отдельных оптических волокон или мест их сварки в соединительных муфтах устраняются путем вскрытия муфты и повторной сварки волокон.
4.3.10. После проведения ремонтных работ, связанных с устранением повреждений ОК или восстановлением его целостности, необходимо провести оптические измерения оптического тракта (затухания сигнала в нем).
Увеличение затухания оптического сигнала, вызванное проведенными работами, не должно быть выше допустимого.
4.3.11. При эксплуатации ВОЛС-ВЛ с ОКГТ допускается уменьшение поперечного сечения грозотроса за счет обрывов проволок из алюминиевого сплава до 15% общего сечения металлической части троса, но не более четырех проволок из алюминиевого сплава наружного повива. При этом на поврежденное место устанавливается ремонтная муфта (см. 4.4.4.).
При одновременном обрыве трех алюминиевых проволок и местном повреждении одной стальной проволоки (для сталеалюминевого ОКГТ) также ставится ремонтная муфта. Местным повреждением проволок, подлежащих ремонту, считается вмятина (раковина, оплавление) на глубину, превышающую половину диаметра. Условно принимается, что местное повреждение трех проволок соответствует обрыву двух проволок.
При одновременном обрыве трех алюминиевых проволок и одной стальной (для сталеалюминевого ОКГТ), а также при обрыве двух стальных проволок (для стального ОКГТ) временно, на срок не более одного месяца, на поврежденное место может быть установлена ремонтная муфта. За этот срок следует вырезать поврежденный участок и сделать кабельную вставку (см. п. 4.3.3.).
При повреждении более двух стальных проволок вставка делается немедленно.
4.3.12. Неисправный участок грозотроса должен быть заменен отрезком нового троса той же марки, что и поврежденный.
4.3.13. Расстояние между ремонтными муфтами не регламентируется.
4.3.14. При замене натяжных зажимов необходимо применять конструкции зажимов, обеспечивающих прочность заделки ОКГТ не менее 90% предела прочности кабеля на разрыв (минимального разрушающего усилия).
4.3.15. Натяжные и поддерживающие зажимы должны перемонтироваться, если монтаж зажимов выполнен с нарушением инструкции по их монтажу (меньшее количество навитых проволок, слабая затяжка болтов и гаек, отсутствие шплинтов).
4.3.16. Фактическая стрела провеса грозозащитного троса не должна отличаться от проектного значения более, чем на ± 5% (с учетом температуры воздуха в момент замера).
4.3.17. Расстояние между осью гасителя вибрации и осью поддерживающего зажима или шарнира в коуше натяжного зажима не должно отличаться от проектного значения более чем на ± 25 мм.
4.3.18. Монтаж кабельной вставки выполняется в соответствии с требованиям по монтажу ОКГТ (см. раздел 3.2.).
4.3.19. Схема производства и монтажа кабельных вставок могут быть разными в зависимости от места расположения повреждения ОКГТ (в середине пролета, вблизи опоры) и от характера повреждения (повреждения ОКГТ, повреждение опор или их элементов).
4.3.20. При эксплуатации ОКСН, размещенного на опорах ВЛ, допускается уменьшение поперечного сечения кабеля до 20% общего сечения за счет поврежденной наружной оболочки и армирующего элемента. При этом на поврежденное место устанавливается ремонтная муфта, обеспечивая при этом герметизацию оболочки кабеля (см. п. 4.3.5.).
Если в качестве армирующих применяются стеклопластиковые элементы, допускается обрыв одного из них с установкой ремонтной муфты.
При одновременном обрыве двух стеклопластиковых элементов в течение месяца следует вырезать поврежденный участок и сделать кабельную вставку. До этого на поврежденное место может быть временно установлена ремонтная муфта.
При повреждении более двух армирующих стеклопластиковых элементов кабельная вставка делается немедленно.
4.3.21. Неисправный участок ОКСН должен быть заменен кабельной вставкой нового кабеля той же марки, что и поврежденный.
4.3.22. При замене натяжных зажимов необходимо применять конструкции зажимов, обеспечивающих прочность заделки ОКСН, равную растягивающей нагрузке, соответствующей 1%-ому удлинению кабеля (до которой гарантируется целостность оптического волокна).
4.3.23. Натяжные и поддерживающие зажимы должны перемонтироваться, если их монтаж выполнен с нарушением технологической инструкции (меньшее количество навитых проволок, слабая затяжка болтов и гаек, отсутствие шплинтов).
4.3.24. Фактическая стрела провеса ОКСН не должна отличаться от проектного значения с поправкой на температуру воздуха в момент замера более, чем на ± 5 %.
4.3.25. При повреждении наружной оболочки ОКСН на поврежденное место устанавливается бандаж, обеспечивающий герметизацию оболочки. Для бандажа применяется термоусадочная лента из сэвилена.
4.3.26. При повреждении одного-двух армирующих стеклопластиковых элементов на поврежденное место накладывается бандаж из термоусадочной ленты, а поверх бандажа - ремонтная муфта. В качестве ремонтной муфты используется протектор от натяжного зажима.
4.3.27. При повреждении наружной оболочки ОКНН ремонт производится аналогично приведенному в п. 4.3.25.
4.3.28. При нахождении места повреждения наружной оболочки навитого на грозотрос ОКНН (5-4 м от тросостойки опоры) ремонт может производиться с применением трапов, навешиваемых на грозотрос. При установке трапа навитый на грозотрос ОКНН не должен попадать под крепление (крюк) трапа на грозотросе.
4.3.29. При повреждении наружной оболочки ОК в пролете ВЛ ремонтные работы могут проводиться с применением автотелевышки или гидроподъемника.
4.3.30. Ремонт (замена) арматуры (специальных зажимов для крепления навивного ОК и т.п.) производится с опоры, трапа, навешиваемого на грозотрос, из корзины автотелевышки (гидроподъемника).
4.3.31. В случае повреждения навитого ОКНН, вызвавшего потерю его работоспособности (повреждение оптических волокон, разрыв ОКНН), проводятся работы по замене участка поврежденного ОКНН между соединительными муфтами.
4.3.32. Длина заменяемого участка ОК определяется персоналом связи, эксплуатирующими данную линию связи совместно с линейным персоналом, в ведении которого находится ВЛ. Длина поврежденного участка может быть ограничена одним или несколькими промежуточными пролетами. Если установка дополнительных соединительных муфт недопустима, длина поврежденного участка определяется строительной длиной ОКНН между соединительными муфтами.
4.3.33. Перед навивкой нового ОКНН проводятся работы по демонтажу поврежденного участка кабеля.
4.3.34. Для демонтажа поврежденного ОКНН может использоваться гидроподъемник (автотелевышка) или стабилизирующая тележка, используемая при навивке ОК в комплекте с навивочным устройством.
4.3.35. Демонтаж поврежденного ОКНН в пролетах ВЛ с использованием гидроподъемника (автотелевышки) производится электромонтером из корзины. Гидроподъемник (автотелевышка) перемещается последовательно (участками) вдоль пролета, при этом кабель сматывается с грозотроса и собирается в бухту, либо отрезается кусками.
4.3.36. Работы по демонтажу поврежденного ОКНН с использованием стабилизирующей тележки проводятся в следующей последовательности: на граничную опору, где установлена соединительная муфта, поднимается стабилизирующая тележка и устанавливается на грозотрос в сторону пролетов с поврежденным ОКНН. Поврежденный ОКНН перерезается около опоры, его конец крепится к упору впереди тележки; тележка перемещается по грозотросу с помощью тягового каната с земли или с применением других тяговых приспособлений (например с помощью электрокабестана и отводных блоков, установленных на следующей опоре). Перемещаясь по грозотросу, тележка собирает ОКНН в петли, которые скользят по грозотросу впереди нее. ОКНН собирается в петли до следующей опоры, где затем он может быть смотан или срезан с грозотроса. При этом следует учитывать, что в случае установки соединительной муфты на данной опоре должен быть оставлен и смотан в бухту конец ОКНН длиной не менее высоты опоры плюс 15 м. Таким же образом, при необходимости, ОКНН демонтируется в последующих пролетах.
4.4.1. Аварийно-восстановительные работы представляют ряд мероприятий для восстановления связи в кратчайшее время, как правило, по следующим этапам:
- определение места повреждения, уточнение характера и объема повреждений;
- установка временной оптической кабельной вставки (ВОКВ);
- проведение ремонта ВОЛС-ВЛ и снятие ВОКВ с восстановлением связи на постоянной основе.
4.4.2. Норматив времени на определение места повреждений, уточнение характера и объема повреждений; установку ВОКВ принять равным среднему времени между отказами ВОЛС-ВЛ (см. приложение 4 "Надежность ВОЛС-ВЛ", п. П4.5) и составляет 10 часов.
4.4.3. Все работы, связанные с восстановлением и заменой ОК, должны проводиться по технологическим картам5, учитывающим конструкции опор ВЛ (металлическая, железобетонная, двухцепная, одноцепная и т.п.), место повреждения ОК, класс напряжения ВЛ, условия прохождения трассы ВЛ и т.п.
_____________
5 Технологические карты на аварийно-восстановительные работы выпускаются отдельным сборником
4.4.4. Работы, связанные с восстановлением ОК, производятся с отключением ВЛ, а работы по монтажу соединительных муфт ОК на опорах могут производиться на ВЛ, находящихся под напряжением.
4.4.5. Аварийно-восстановительные работы производятся предприятиями, обслуживающими линии, а также специализированными организациями. Работы производятся комплексной бригадой. Списочный состав бригады определяется приказом по предприятию. В приказе приводится перечень транспортных средств, используемых при аварийно-восстановительных работах.
4.4.6. Ответственный руководитель составляет график ежегодного проведения практических занятий (тренировок) со всеми членами комплексной бригады по проведению восстановительных работ с учетом конкретных условий прохождения трассы ВЛ и требований по монтажу ОК.
4.4.7. Ответственный руководитель совместно с производителем работ составляет перечень обязанностей и действий конкретно для каждого члена бригады при возникновении аварийной ситуации.
4.4.8. Ответственный руководитель работ должен предусмотреть и разработать схему оповещения и сбора всех членов бригады в момент аварийной ситуации.
4.4.9. В случаях выхода из состава бригады ее члена в результате увольнения, болезни, отпуска и т.п. ответственный руководитель должен предусматривать замену.
4.4.10. Все транспортные средства, предусмотренные к использованию в восстановительных работах, должны быть всегда в технически исправном состоянии. В случаях вывода их в ремонт должна быть предусмотрена замена.
4.4.11. Примерный состав комплексной бригады приведен в таблице 4.4.11.
Таблица 4.4.11.
|
Профессия (должность) |
Разряд |
Кол-во чел. |
Примечания |
|
Производитель работ |
ИТР |
1 |
|
|
Электролинейщик |
5 |
3 |
Прокладка временного ОК, монтаж заменяемого ОК |
|
Электролинейщик |
4 |
3 |
-"- |
|
Электролинейщик |
3 |
2 |
-"- |
|
Связист |
ИТР |
2 |
Соединение оптических волокон, монтаж соединительных муфт, измерения |
|
Водитель бригадной машины |
|
1 |
Участие в низовых работах |
|
Водитель грузовой машины (лаборатории) |
|
1 |
Участвует в подготовительных работах по монтажу муфт |
|
Водитель грузовой машины |
|
1 |
Перевозка материалов и оборудования |
|
Всего |
|
14 |
|
4.4.12. Механическое повреждение ОК с обрывом оптических волокон, не связанное с повреждением элементов ВЛ.
4.4.13. Обрыв ОК.
4.4.14. Деформация элемента опоры, вызвавшая обрыв ОК.
4.4.15. Падение опоры (опор), вызвавшее обрыв ОК.
4.4.16. При обрыве ОК возможны два вида восстановления кабеля:
- вставка ОК на длине одного-двух промежуточных пролетов ВЛ с установкой одной или двух дополнительных соединительных муфт (см. приложение 13, рис. П13.1 - П13.2). Расстояние от опоры до места повреждения ОК в пролете (опоры № 4 и № 5, приложение 13, рис. П13.2) должно быть не менее расстояния, равного высоте опоры № 4;
- замена строительной длинны ОК (от муфты до муфты).
Возможность установки дополнительных муфт определяет служба связи.
4.4.17. Восстановление линии связи рассматривается по двум схемам: временной и постоянной.
4.4.18. Временная схема предусматривает восстановление связи по временному кабелю, проложенному между концами оборванного ОК или между соединительными муфтами на участке поврежденного кабеля (приложение 13, рис. П13.3), например, ВОКВ, разработанный ЦНИСК-РТК.
Для этого применятся специальный диэлектрический ОК, определяемый при проектировании ВОЛС-ВЛ.
После восстановления поврежденных элементов ВЛ и замены поврежденной ОК временный кабель демонтируется.
4.4.19. Если восстановление поврежденного элемента ВЛ не требует значительного времени, используется постоянная схема восстановления ОК, которая не требует применения специального временного кабеля. При этом поврежденный ОК заменяется на новый.
4.4.20. Монтаж ОК при восстановлении связи по постоянной схеме выполняется в соответствии с требованиями по монтажу данного типа ОК6 и не требует выполнения дополнительных технических мероприятий.
______________
6 см. раздел 3.4. "Правил строительства", часть 3
4.4.21. Восстановление связи по временной схеме требует выполнения следующих операций:
- проверки отсутствия заметных деформаций ОК у ближайших к месту обрыва опор, особенно в его подвесках на опорах; если деформации на кабеле имеют место, переходить на следующую от места обрыва опору; при отсутствии заметных деформаций на оптическом кабеле отрезать его на расстоянии 10-15 м от опоры;
- разделать концы кабеля у опор; оптическим рефлектометром проверить состояние волокон кабеля у обеих опор; при наличии дефекта разделать его у следующей опоры;
- прокладки временного ОК между концами оборванного ОК или от одной соединительной муфты до другой, между которыми поврежден кабель; желательно концы временного кабеля разделать заранее во временных муфтах, защищающих место соединения оптических волокон;
- соединить оптические волокна временного оптического кабеля с волокнами кабеля на ВЛ; соединение волокон производится сваркой или с помощью механических соединителей; смонтировать временные муфты, защищающие место соединения оптических волокон.
4.4.22. Производятся ремонтно-восстановительные работы на ВЛ с заменой ОК на поврежденном участке. После окончания ремонтно-восстановительных работ на ВЛ восстанавливается связь по постоянной схеме.
4.4.23. Демонтируется временная схема (кабель, арматура, временные опоры и т.п.), диэлектрический кабель наматывается на барабан; все демонтированные материалы и приспособления, пригодные для дальнейшего применения, отправляются на склад аварийного запаса.
4.4.24. Прокладка временного диэлектрического ОК осуществляется по опорам ВЛ, на стойках которых подвешиваются монтажные раскаточные ролики. Радиус роликов должен быть не менее 20 диаметров ОК. Концевые ролики (на опорах, где производится соединение ОК) должны иметь радиус в два раза больше.
4.4.25. Протяжка временного кабеля по роликам может быть выполнена с пониженным тяжением, которое обеспечивает некасание кабеля земли и других предметов и может создаваться вручную. Высота подвески роликов к телу опоры выбираете такой, чтобы при необходимости был обеспечен достаточный габарит кабеля над поверхностью земли для прохода людей и техники. Проложенный временный кабель на время восстановительных работ на ВЛ остается в роликах и не перекладывается в зажимы.
4.4.26. У концевых роликов устанавливаются временные натяжные монтажные зажимы.
4.4.27. Если по каким-либо причинам для подвески временного кабеля не может быть использована опора ВЛ (например, деформация опоры (требующая ее замены), то на этом участке могут применяться временные легкие сборные стойки.
4.4.28. После окончания ремонта ОК оформляется Акт об устранении повреждения.
Акт должен содержать:
- описание характера повреждения;
- анализ причин повреждения;
- описание технологии устранения повреждения.
4.4.29. На основании Акта вносятся коррективы в Паспорт ВЛ:
- тип кабеля вставки и его основные технические данные;
- длина вставки;
- тип и технические характеристики дополнительных муфт;
- номера опор, на которых расположены дополнительные муфты;
- при необходимости внести изменения в схему ВОЛС на ВЛ;
- указать новые данные по затуханию оптических волокон на участке кабеля.
4.4.30. Ответственный руководитель работ составляет перечень материалов, приспособлений и оборудования аварийного запаса. Составленный перечень утверждается руководителем предприятия.
Примерный перечень основного оборудования, приспособлений и инструмента для восстановительных работ на ОК, подвешенном на опорах ВЛ, приведен в приложении 8.
4.4.31. В перечень аварийного запаса на один эксплуатационный участок должны входить ОК максимальной строительной длины, арматура подвески (натяжные, поддерживающие зажимы и др.) кабеля для монтажа одной строительной длины, несколько соединительных муфт, временная оптическая кабельная вставка (со специальным диэлектрическим ОК) и 5-10 легких сборных стоек для монтажа одной строительной длины ОК.
4.4.32. В перечень аварийного запаса должны входить: как минимум одна максимальная длина ОК (полный барабан ~ 6000 м), специальный диэлектрический ОК для временной кабельной вставки длиной ~ 2000 м, натяжные зажимы для диэлектрического кабеля, несколько соединительных муфт и 5-10 легких сборных стоек, комплект поддерживающей и натяжной арматуры для монтажа одной максимальной строительной длины ОК.
4.4.33. Состояние аварийного запаса регулярно проверяется ответственным руководителем работ.
4.4.34. При проведении аварийно-восстановительных работ должны соблюдаться требования техники безопасности, изложенные в главе 3.5. "Правил строительства ВОЛС-ВЛ", часть 3.
|
№ |
Термины и сокращения |
Определения |
|
1. |
Воздушная линия электропередачи (ВЛ) |
Устройство для передачи электроэнергии по проводам, расположенным на открытом воздухе и прикрепленным с помощью изоляторов и арматуры к опорам или кронштейнам и стойкам на инженерных сооружениях |
|
2. |
Волоконно-оптическая линия связи (ВОЛС) |
Линия передачи, в которой средой распространения являются световоды из оптического волокна (ОВ) |
|
3. |
Волоконно-оптическая линия связи на воздушных линиях электропередачи (ВОЛС-ВЛ) |
Линия связи, включающая в себя оптический кабель, размещаемый на ВЛ, и волоконно-оптические системы передачи (ВОСП) |
|
4. |
Магистральная ВОЛС-ВЛ |
ВОЛС-ВЛ, проходящая по территории объединенной энергетической системы (ОЭС) и выходящая за ее границы |
|
5. |
Межсистемная ВОЛС-ВЛ |
ВОЛС-ВЛ, проходящая по территории нескольких энергосистем АО-энерго в границах одной ОЭС |
|
6. |
Зоновая (внутрисистемная) ВОЛС-ВЛ |
ВОЛС-ВЛ, проходящая по территории одной энергосистемы АО-Энерго |
|
7. |
Волоконно-оптический кабель (ОК) |
Кабельное изделие, содержащее оптические волокна, предназначенные для передачи информации с помощью световых сигналов |
|
8. |
Волоконно-оптический кабель, встроенный в грозозащитный трос (ОКГТ) |
ОК, встроенный в грозозащитный трос, предназначенный для защиты ВЛ от прямых ударов молнии. |
|
9. |
Волоконно-оптический кабель самонесущий неметаллический(ОКСН) |
ОК, с армирующими элементами, выполненными из стеклопластиковых прутков или синтетических нитей |
|
10. |
Волоконно-оптический кабель неметаллический навивной (ОКНН) |
ОК, навиваемый на фазный провод или грозозащитный трос ВЛ |
|
11. |
Волоконно-оптическая система передачи (ВОСП) |
Цифровая система передачи с оптическими окончаниями, обеспечивающими передачу информации по ОК |
|
12. |
Цифровая система передачи (ДСП) |
Комплекс технических средств с временным разделением каналов, обеспечивающих образование типовых групповых трактов и каналов первичной связи |
|
13. |
Регенерационный пункт (РП) |
Промежуточная станция ЦСП, обеспечивающая восстановление цифрового сигнала и отбор информации |
|
14. |
Оператор связи |
Организация, ведущая обслуживание технологической системы управления сети связи |
|
15. |
Заход ВОЛС-ВЛ на регенерационный пункт |
Участок ВОЛС от ВЛ до РП, построенный на пересекаемых ВЛ, на самостоятельных опорах, в грунте |
|
16. |
Линия привязки |
Линия связи (ВОЛС, КЛС, РРП или спутниковая с ДСП) между оконечной станцией (или РП) ВОЛС-ВЛ и узлом связи электроэнергетики или узлом связи, АО "Ростелеком" |
|
17. |
Узел связи (УС) электроэнергетики |
Узлы связи энергообъекта РАО "ЕЭС России", энергообъектов региональных энергосистем (АО-энерго) и их структурных единиц - предприятий электрических сетей (ПЭС), районов электрических сетей (РЭС), а также узлы связи пунктов различных уровней оперативно-диспетчерского, технологического, организационно-экономического, административно-хозяйственного управления ЕЭС России |
|
18. |
Действующая ВЛ |
ВЛ или ее участки, которые находятся под напряжением, либо на которые напряжение может быть подано включением коммутационных аппаратов |
|
19. |
Нормативно-технические документы (НТД) |
Действующие документы по проектированию, сооружению и эксплуатации |
|
20. |
Эксплуатация ВОЛС-ВЛ |
Техническое обслуживание, ремонт, аварийно-восстановительные работы ВОЛС-ВЛ |
|
21. |
Плановый ремонт |
Ремонт ВОЛС-ВЛ, осуществляемый по предварительному назначению |
|
22. |
Отказ ВОЛС-ВЛ, элементов ВОЛС-ВЛ |
Событие, заключающееся в нарушении работоспособности ВОЛС-ВЛ или элементов ВОЛС-ВЛ |
|
23. |
Техперевооружение ВЛ |
Техническое перевооружение, реконструкция и модернизация ВЛ |
|
24. |
Трасса ВОЛС-ВЛ |
Полоса земли, на которой сооружена ВЛ |
|
25. |
Линейная арматура, арматура |
Совокупность крепежных, защитных и других изделий для размещения ОК на ВЛ |
|
26. |
Строительно-монтажная организация (СМО) |
Специализированная организация, имеющая соответственную лицензию и являющаяся подрядчиком по сооружению ВОЛС-ВЛ |
|
27. |
Должно, необходимо, следует |
Означает обязательность выполнения требований настоящих Правил |
|
28. |
Допускается, разрешается |
Означает, что данное требование применяется в виде исключения |
|
29. |
Линейно-кабельные сооружения (ЛКС) |
Волоконно-оптические кабели, размещаемые на ВЛ (в том числе - ОКГТ) и на территории электрических подстанций, арматура кабелей для подвески, прокладки и заземления (ОКГТ), муфты, подземные контейнеры и наземные шельтеры НРП, оптические кроссы оконечных пунктов |
|
30. |
Строительная длина кабеля |
Элемент заводского изготовления, поставляемый на строительство в готовом виде. |
|
31. |
Анкерное крепление ОК |
Крепление кабеля на анкерной опоре, предназначенное для восприятия тяжения кабеля в пролете. |
|
32 |
Полуанкерное крепление OK |
Крепление кабеля на промежуточной опоре, предназначенное для восприятия тяжения кабеля в пролете. |
|
33 |
Поддерживающее крепление ОК |
Крепление кабеля на промежуточной опоре, предназначенное для восприятия массы подвешенного кабеля |
|
34 |
Переход |
Часть ВОЛС-ВЛ, проходящая через железную дорогу, ВЛ и другие инженерные сооружения. |
|
35 |
Окно |
Время, в течение которого прекращается эксплуатация пересекаемого объекта (закрывается движение на железной, шоссейной дороге, отключается ВЛ и т.п.) для производства работ по монтажу ОК на переходе ВОЛС-ВЛ через эти объекты |
|
36 |
Охранная зона ВЛ и ВОЛС-ВЛ |
Зона вдоль ВЛ и ВОЛС-ВЛ в виде земельного участка и воздушного пространства, ограниченная вертикальными плоскостями, отстоящими по обе стороны линии от крайних проводов при неотклоненном их положении на расстоянии, м: |
|
|
|
для ВЛ 35 кВ. ............... 15, |
|
|
|
для ВЛ 110 кВ .............. 20, |
|
|
|
для ВЛ 150, 220 кВ....... 25, |
|
|
|
для ВЛ 330, 500 кВ ...... 30, |
|
|
|
для ВЛ 750 кВ. ............. 40, |
|
|
|
для ВЛ 1150 кВ............. 55 |
|
37 |
Воздушная линия под наведенным напряжением |
ВЛ и ВОЛС-ВЛ, проходящая по всей длине или на отдельных участках общих длиной не менее 2-х км на расстоянии от оси другой ВЛ напряжением 110 кВ и выше, м.: |
|
|
|
для ВЛ 110 кВ ............. 100,: |
|
|
|
для ВЛ 150, 220 кВ...... 150, |
|
|
|
для ВЛ 330, 500 кВ .… 200, |
|
|
|
для ВЛ 750 - 1150 кВ .. 250. |
|
38 |
Акт-допуск |
Документ, дающий право строительно-монтажной организации на производство работ на действующей воздушной линии электропередачи. |
|
39 |
Наряд-допуск |
Составленное на специальном бланке распоряжение на безопасное проведение работы повышенной опасности, определяющее ее содержание, место, время начала и окончания, необходимые меры безопасности, состав бригады и лиц, ответственных за безопасное выполнение работы. |
|
40 |
Проект организации строительства (ПОС) |
Составная часть технического проекта, определяющая общую продолжительность и промежуточные сроки строительства, распределение капвложений и объемов строительно-монтажных работ, материально-технические, трудовые ресурсы и источники их покрытия, основные методы выполнения строительно-монтажных работ и структуру управления строительством объекта. |
|
41 |
Проект производства работ (ППР) |
Проект, определяющий технологию, сроки выполнения и порядок обеспечения ресурсами строительно-монтажных работ и служащий основным руководящим документом при организации производственных процессов. |
|
42 |
Технико-экономическое обоснование (ТЭО) |
Исходные материалы для разработки проекта ВОЛС, обосновывающие хозяйственную необходимость и экономическую целесообразность строительства данного объекта. |
|
43 |
Энергосистема |
Организация, являющаяся собственником воздушной линии электропередачи, на которой монтируется волоконно-оптический кабель (РАО "ЕЭС России", АО-Энерго), или эксплуатирующая такую ВЛ (филиал АО-Энерго - бывшее предприятие электрических сетей). Энергосистема может выступать в роли заказчика строящейся ВОЛС-ВЛ. |
|
44 |
Заказчик |
Организация (юридическое лицо, фирма), которая обратилась к другому лицу с заявкой (заказом) на выполнение каких-либо работ, услуг. |
|
45 |
Подрядчик |
Специализированная организация, выполняющая строительно-монтажные работы на основе договоров строительного подряда. |
|
46 |
"Форс-мажор" |
Обстоятельства непреодолимой силы, могущие повлечь изменение условий договора по независящим от того причинам |
|
АДАСЭ |
- аппаратура дальней автоматической связи электроэнергетики |
|
АПВ |
- аппаратура повторного включения |
|
ВЛ |
- воздушная линия электропередачи |
|
ВОКВ |
- временная оптическая кабельная вставка |
|
ВОЛС |
- волоконно-оптическая линия связи |
|
ВОЛС-ВЛ |
- волоконно-оптическая линия связи на воздушных линиях электропередачи |
|
ВОСП |
- волоконно-оптическая система передачи |
|
ВСС РФ |
- взаимоувязанная сеть связи Российской Федерации |
|
ГТ |
- грозозащитный трос |
|
Е1 |
- первичный цифровой поток со скоростью 2048 кБит/с |
|
ЕСЭТЭ |
- единая сеть электросвязи и телемеханики электроэнергетики |
|
ЕЭС России |
- Единая энергетическая система России |
|
ИБП |
- источник бесперебойного питания |
|
ЛАЦ |
- линейно-аппаратный цех |
|
ЛКС |
- линейно-кабельные сооружения |
|
МСЭ-Т |
- сектор стандартизации международного союза по электросвязи (ранее МККП) |
|
НРП |
- необслуживаемый регенерационный пункт |
|
НТД |
- нормативно-технические документы |
|
ОК |
- волоконно-оптический кабель |
|
ОКГТ |
- оптический кабель, встроенный в грозозащитный трос |
|
ОКНН |
- волоконно-оптический кабель, неметаллический навивной |
|
ОКСН |
- самонесущий неметаллический волоконно-оптический кабель |
|
ОРП |
- обслуживаемый регенерационный пункт |
|
ОП |
- оконечный пункт |
|
ОЦК |
- основной цифровой канал со скоростью 64 кБит/с |
|
ПА |
- противоаварийная автоматика |
|
ПЛМД |
- передвижная лаборатория для монтажа и диагностики |
|
ПС |
- подстанция |
|
ПОС |
- проект организации строительства |
|
ППР |
- проект производства работ |
|
ПТМ |
- промежуточное трехлапчатое монтажное (звено) |
|
ПУЭ |
- правила устройства электроустановок |
|
ПЭС |
- предприятие электрических сетей |
|
РАО |
- Российское акционерное общество |
|
РЗ |
- релейная защита |
|
РП |
- регенерационный пункт |
|
РЭС |
- районные электрические сети |
|
СМ |
- соединительная муфта |
|
СМО |
- строительно-монтажная организация |
|
ТКЗ |
- ток короткого замыкания |
|
ТЦМС |
- территориальный центр магистральной сети |
|
ТЭО |
- технико-экономическое обоснование |
|
УС |
- узел связи электроэнергетики |
|
УССЛК |
- устройство соединения стационарного и линейного кабелей |
|
ЦСП |
- цифровая система передачи |
|
ЭГЦ |
- эталонная гипотетическая цепь |
|
ЭП |
- электрическое поле |
|
Е( ) |
- "exponent", показатель степени по основанию 10 |
|
G.652 |
- рекомендации МСЭ-Т серии G, .652 |
|
M-20 |
- рекомендации МСЭ-Т серии М, .20 |
|
RTS |
- "rated tensile strengh" допустимое растягивающее усилие, определяемое при 1%-ном удлинении ОКГТ |
|
STM |
- "synchronous transport module" синхронный транспортный модуль |
|
X.25 |
- рекомендации МСЭ-Т серии X.25 |
Программы, концепция, правила
1. Программа совместных работ РАО "ЕЭС России", АО "Ростелеком" и НТЦ связи "ЦНИИС-РТК" по созданию нормативно-технической документации по проектированию, строительству и эксплуатации ВОЛС-ВЛ, 1996 г.
2. Концепция создания Единой сети электросвязи и телемеханики электроэнергетики на период до 2005 г. Учреждена президентом РАО "ЕЭС России" 04.12.95 г.
3. Положение о порядке координации работ по развитию взаимоувязанной сети связи Российской Федерации. Одобрено решением ГКЭС России от 30.08.95, № 126. Введено в действие 01.03.96 г. решением ГКЭС России от 31.01.96, № 145.
4. Правила устройства электроустановок (ПУЭ-86), шестое издание, 1986 г. - М.: Энергоиздат с учетом приказа Минэнерго СССР от 01.08.88 № 376 "О внесении изменений в гл. 2.5 ПУЭ шестого издания".
5. Правила технической эксплуатации электрических станций и сетей Российской Федерации, 15-ое изд., перераб. и доп. - М.: СПО "ОРГРЭС" ,1996 г.
6. Правила техники безопасности при эксплуатации электроустановок. - М.: Энергоатомиздат, 1987 г.
7. Правила охраны электрических сетей напряжением свыше 1000 вольт. - М.: Энергоатомиздат, 1985 г.
8. Правила приемки в эксплуатацию отдельных пусковых комплексов и законченных строительством электростанций, объектов электрических и тепловых сетей ВСН 37-88. - М.: СПО Союзтехэнерго, 1987 г.
9. Правила техники безопасности при производстве электромонтажных работ на объектах Минэнерго СССР. - М.: Информэнерго, 1984 г.
10. Правила устройства и безопасной эксплуатации грузоподъемных кранов. М.: Недра, 1985.
11. Правила техники безопасности при эксплуатации электроустановок. М. Энергоатомиздат, 1989.
12. Правила применения и испытания средств защиты, используемых в электроустановках, технические требования к ним. М. Главгосэнергонадзор, 1993.
13. Правила приемки в эксплуатацию отдельных пусковых комплексов и законченных строительством электростанций, объектов электрических и тепловых сетей ВСН 37-86. - М.: СПО Союзтехэнерго, 1987 г.
14. Правила приемки в эксплуатацию энергообъектов электростанций, электрических и тепловых сетей после технического перевооружения: ПР 34-70-002-83. - М.: СПО Союзтехэнерго, 1987 г.
15. Правила производства и приемки работ. Техника безопасности в строительстве, III-44-80, 1988 г. - М.: Госстрой СССР, 1980 г.
ГОСТ'ы, нормы
16. ГОСТ 13276-79, Арматура линейная. Общие технические условия. Типовые требования к разработке и аттестации методик испытаний для целей сертификации. Департамент науки и техники РАО "ЕЭС России", 1997 г.
17. ГОСТ 15150-69, Машины, приборы и другие технические условия. Исполнение для различных климатических районов.
Категории, условия эксплуатации, хранения и транспортирования в части воздействия климатических факторов внешней среды.
18. ГОСТ 464-79, Руководство по проектированию, строительству и эксплуатации заземлений в установках проводной связи и радиотрансляционных узлов. - М.: Минсвязь СССР, 1979 г.
19. ВСН 332-93 "Инструкция по проектированию электроустановок предприятий и сооружений электросвязи".
20. СНиП 3.05.06-85. Электротехнические устройства. - М. Госстрой СССР, 1988 г
21. СНиП 3.03.01-87. Несущие и ограждающие конструкции. - М.: Госстрой СССР, 1988 г.
22. ВСН 116-93. Ведомственные строительные нормы. Линейно-кабельные сооружения связи Минсвязь России - М.: Гипросвязь, 1993 г.
23. ВНТП-112-86 "Ведомственные нормы технологического проектирования. Станции городских и сельских телефонных сетей", Минсвязи СССР.
24. ВНТП 113-86. Ведомственные нормы технологического проектирования. Проводные средства связи. Станции и узлы телеграфные и передачи данных. - М.: Минсвязь СССР, 1986 г.
25. ВНТП 111-86. Проводные средства связи. Станции междугородные. - М.: Минсвязь СССР, 1986 г.
26. СНиП 11.01-95. Инструкция о порядке разработки, согласования, утверждения и составе проектной документации на строительство предприятий, зданий и сооружений Российской Федерации - М.: Решение ГКЭС России, 1995 г.
27. СН 465-74. Нормы отвода земель для электрических сетей напряжением 0,4 - 500 кВ. - М.: Стройиздат, 1975 г.
28. СНиП 3.01.01-85. Организация строительного производства. Госстрой СССР. - М.: ЦИТП Госстрой СССР, 1991 г.
29. СНиП 3.01.04-87. Приемка в эксплуатацию законченных строительством объектов. Основные положения. Утвержден пост. Госстроя № 84 от 21.04.87. Срок введения 01.01.88 - М.: 1988 г.
30. Санитарные нормы и правила защиты населения от воздействия электрического поля, создаваемого воздушными линиями переменного тока промышленной частоты. - М.: Минздрав СССР, 1985 г.
31. ОНТП ВЛ-78. Нормы технологического проектирования линий электропередачи напряжением 35 кВ и выше, - М.: Энергосетьпроект, 1978 г.
32. ВСН 33-82. Ведомственные строительные нормы по разработке проектов организации строительства. - М.: Минэнерго СССР, 1982 г.
33. Нормы испытания электрооборудования. Изд. Пятое. - М.: Атомиздат, 1978 г.
34. ОСТ 45.86.96. Линейно-аппаратные цеха оконечных междугородных станций, сетевых узлов, усилительных и регенерационных пунктов.
Инструкции, руководства, указания
35. Типовая инструкция по эксплуатации воздушных линий электропередачи напряжением 35-800 кВ, РД 34.20.504-94. - М.: СПО "ОРГРЭС".
36. Типовая инструкция по охране труда для электромонтажников. Утверждена пост. Минстроя РФ от 13.03.95 № 18-22. Дата введения 01.07.95 ТОИ Р-66-58-95. - М.: 1995 г.
37. Инструкция по размещению и эксплуатации гаражей-стоянок автомобилей, принадлежащим гражданам, в охранных зонах воздушных линий электропередачи напряжением свыше 1 кВ. - М.: СПО ОРГРЭС, 1994 г.
38. Типовая инструкция по предотвращению и ликвидации аварий в электрической части энергосистем. - М.: СПО ОРГРЭС, 1992 г.
39. Инструкция по расследованию и учету технологических нарушений в работе электростанций, сетей и энергосистем. - М.: СПО ОРГРЭС, 1993 г.
40. Инструкция по выбору изоляции электроустановок, РД 34.51.101-90. - М.: СПО Союзтехэнерго, 1990 г.
41. Инструкция по организации и производству работ повышенной опасности. Издание официальное. РАО "ЕЭС России" ИНПА - М.: 1996 г.
42. Руководство по приемке в эксплуатацию линейных сооружений проводной связи и проводного вещания. Утверждено зам. Министра связи СССР 22.01.90 М. ССКТБ 1990 г.
43. Единое руководство по составлению исполнительной документации на законченные строительством линейные сооружения проводной связи. Утверждено зам. Министра связи СССР, 01.10.91, М.: СКТБ, 1990 г.
44. Методические указания по районированию территорий энергосистем и трасс ВЛ по частоте повторяемости и интенсивности пляски проводов, РД 34.20.184-91. - М.: СПО ОРГРЭС, 1991 г.
45. Методические указания по расчету термической устойчивости грозозащитных тросов воздушных линий электропередачи. - М.: Энергосетьпроект, арх. № 52890-ТМ-т1.
46. Методические указания по типовой защите от вибрации и субколебаний проводов и грозозащитных тросов воздушных линий электропередачи напряжением 35-750 кВ, РД 34.20.182-90. - М.: СПО ОРГРЭС.
47. Методические указания по обследованию ВЛ 35 кВ и выше, подлежащие техническому перевооружению, реконструкции и модернизации, Энергосетьпроект арх. № 14293ТМ-т1, 1993 г.
48. Указания по составлению карт уровней изоляции ВЛ и распределительных устройств в районах с загрязненной атмосферой. - М.: СПО Союзтехэнерго, 1985 г.
49. О перспективе использования волоконно-оптического кабеля, подвешенного на опорах высоковольтной линии электропередачи для организации магистральных и зональных сетей связи. Решение ГКЭС при Минсвязи РФ от 27.10.93., № 56.
50. Решение № Э-7/89 от 18.09.1989 г. Об изменении нормативов проектирования воздушных линий электропередачи.
П.4.1. ВОЛС-ВЛ состоит из ОК на опорах ВЛ и обслуживаемых оконечных и промежуточных станций, содержащих комплексы аппаратуры для восстановления и регенерации передаваемых информационных сигналов. Вероятность отказа современной аппаратуры низка, ремонтопригодность гарантирована изготовителем и время восстановления незначительно. Поэтому надежность ВОЛС определяется надежностью ОК и опор ВЛ.
П.4.2. Надежность ВОЛС-ВЛ следует характеризовать следующими показателями:
плотность отказов, m [1/год/100 км],
среднее время восстановления tв [час];
средняя наработка между отказами ОКГТ на короткой линии (длина 100 км) с однородными условиями эксплуатации. Tl [час];
средняя наработка между отказами ОКГТ на длинной линии (13900 км), Tl, [час];
коэффициент готовности ОКГТ короткой линии, КгL;
коэффициент готовности ОКГТ на длинной линии, КгL.
П.4.3. При расчете показателей надежности ОКГТ следует пользоваться следующими соотношениями:
|
КгL = (8760 - tв ´ m) / 8760 |
(1) |
|
Tl = КгL ´ tв / (l - КгL) |
(2) |
|
Tl = (8760 ´ l - m ´ L ´ tв) / (m ´ L) = tв ´ КгL (l - КгL ´ L) |
(3) |
|
КгL = Tl / (Tl + tв) |
(4) |
|
|
(5) |
|
Кгlнор = (КгLнорм)l/(L/l) |
(6) |
где l, км - длина относительно короткого участка кабельной линии (обычно l принимают равной 100 км)
L, км - общая длина кабельной линии,
Кгn - коэффициент готовности ОКГТ на кабельной линии длиной L, состоящей из n коротких участков,
- символ произведения n
сомножителей.
П4.4. В начальный период использования ВОЛС-ВЛ, до 2010 года, пока не получены надежные эксплуатационные показатели надежности ОК, следует принимать во внимание экстраполированные показатели надежности ОК, приравнивая их соответствующим эксплуатационным показателям надежности подвески стальных грозозащитных тросов.
Плотность отказов грозозащитных тросов в результате обрывов и падения опор на 100 км ВЛ в год приведена в табл. П.4.1.
П4.5. Среднее время восстановления ОК на ВЛ напряжением 110 кВ и выше принято равным 10 час.
Ожидаемые значения показателей надежности ОК, экстраполированные по эксплуатационным показателям надежности грозозащитных тросов, приведены в табл. П4.1.
Таблица П4.1
|
U, кВ |
m |
tв,4 |
Kгl |
Тl, ч |
ТL, ч |
Кгl |
|
110 |
0,08 |
10,0 |
0,99990 |
109500 |
788 |
0,987 |
|
220 |
0,05 |
10,0 |
0,99994 |
175200 |
1260 |
0,992 |
|
330 |
0,04 |
10,0 |
0,99995 |
219000 |
1575 |
0,994 |
|
500 |
0,03 |
10,0 |
0,99996 |
292000 |
2100 |
0,995 |
П4.6. Надежность перспективной государственной цифровой сети определена в Руководящем документе "Основные положения развития первичной сети РФ" , принятом в 1994 году.
Для основного цифрового канала (ОЦК) протяженностью 13900 км (без резервирования) заданы следующие показатели надежности по отказам:
коэффициент готовности - не менее 0,98,
среднее время между отказами - не менее 255 ч,
среднее время восстановления - не более 5,2 ч.
Учитывая высокую надежность современной аппаратуры ЦСП, целесообразно принять значение коэффициента готовности кабельной линии 0,985, а аппаратуры - 0,995.
Тогда на подземной кабельной линии должны обеспечиваться следующие показатели:
коэффициент готовности - не менее 0,985,
среднее время между отказами - не менее 340,5 ч,
среднее время восстановления - не более 5,2 ч.
плотность повреждений - не более 0,1823.
П4.7. В соответствии с "Основными положениями развития первичной сети РФ" современные линии передачи сооружаются с использованием цифровых систем передачи (ЦСП) и волоконно-оптических кабелей. "Концепция создания современных цифровых сетей в энергетике" провозгласила те же самые принципы.
Поэтому для ВОЛС-ВЛ следует принять нормы показателей надежности перспективной цифровой сети страны. Основной цифровой канал (ОЦК) гипотетической ВОЛС-ВЛ протяженностью 13900 км (без резервирования), учитывая особенности технической эксплуатации ВЛ, должен обладать показателями надежности:
коэффициент готовности - не менее 0,98.
среднее время восстановления - не более 10,0 часа,
наработка между отказами - не менее 500 часов.
Показатели надежности ОК гипотетической ВОЛС-ВЛ протяженностью 13900 км должны быть:
коэффициент готовности - не менее 0,985;
среднее время восстановления - не более 10,0 ч.;
наработка между отказами - не менее 670 часов.
Соответствующие показатели надежности ОКГТ на линии длиной 100 км должны быть:
коэффициент готовности - не менее 0,99989;
плотность отказов - не более 0,094.
П4.8. Принципы нормирования показателей надежности ВОЛС-ВЛ, изложенные выше, соответствуют международным. Согласно G.602 готовность канала ТЧ (ОЦК) нормируется на эталонной гипотетической цепи системы передачи длиной 2500 км в одном направлении (с учетом резервирования). При этом коэффициент готовности должен быть не менее 0,996. Пересчет коэффициента готовности, заданного в Рекомендации G.602, к национальной гипотетической цепи длиной 13900 км дает значение 0,97796, что практически соответствует отечественной норме (без резервирования).
ВОЛС-ВЛ с заданными показателями надежности обеспечивают организацию международных каналов связи.
П4.9. Для обеспечения требуемых показателей надежности необходимо реализовать следующие мероприятия:
при сооружении ВОЛС-ВЛ следует применять конструкции ОКГТ, сертифицированные Министерством топлива и энергетики и Государственным комитетом по связи и информатике,
при разработке ОКГТ следует учитывать опыт эксплуатации грозотросов, устранение аварии ОКГТ следует проводить в два этапа: на первом восстанавливать работоспособное состояние оптических волокон с помощью оптической вставки и временных опор для ее подвески, на втором - исправное состояние ВОЛС-ВЛ при полном восстановлении ВЛ.
Таблица П5.1.
|
Тип кабеля |
ОКГТ |
ОКСН |
ОКНН |
|
Количество оптических волокон |
6-64 |
6-64 |
4-48 |
|
Внешний диаметр, мм |
12-25 |
12-20 |
6-8 |
|
Вес, кг/км |
300-1000 |
150-300 |
30-65 |
|
Разрывное усилие (Тр), кН |
40-180 |
30-150 |
1 |
|
Средняя эксплуатационная нагрузка, кН |
6-35 |
2-30 |
- |
|
Макс. допустимое тяжение, кН |
15-70 |
10-60 |
- |
|
Модуль упругости, 10 кГ/мм2 |
7-10 |
1,5-6,0 |
- |
|
Стойкость к воздействию импульсов грозового разряда: |
|
|
|
|
амплитуда, кА, не менее |
35 |
- |
- |
|
фронт, мкс |
2 |
- |
- |
|
длительность, мкс |
50 |
- |
- |
|
заряд, Кл |
100 |
- |
- |
|
Температурный коэффициент линейного расширения 10-6хl/град С° |
15-20 |
1-10 |
- |
|
Допустимый ток при КЗ, кА (за 1 сек) |
5-25 |
- |
- |
|
Допустимый потенциал электрического поля, кВ |
- |
12-25 |
- |
|
Срок службы, лет |
25 |
25 |
25 |
|
Максимальная температура провода (троса) °С |
- |
- |
260-300 |
Таблица П5.2.
|
Параметр |
Значение параметров ОВ типа |
|||
|
G 652 |
G 653 |
G 654 |
TW |
|
|
1 |
2 |
3 |
4 |
5 |
|
Рабочая длина волны, нм |
1300 |
1550 |
1550 |
1550 |
|
Длина волны минимальной дисперсии, нм |
1300 |
1550 |
1550 |
1540-1565 |
|
Дисперсия, пс/(нм.км), не более, на волне 1300 нм |
3,5 |
18,0 |
3,5 |
±4 |
|
1550 нм |
18,0 |
2,0 |
20,0 |
|
|
Коэффициент затухания, дБ/км, на волне 1300 нм |
0,28-0,5 |
|
|
|
|
1550 нм |
0,15-0,3 |
0,15-0,3 |
0,15-0,25 |
0,15-0,25 |
|
Профиль показателя преломления |
Ступенька |
Треугол W-образ. |
Ступенька |
Треугольн |
|
Номинальный диаметр модового поля, мкм |
9-10 |
7-8,3 |
10,5 |
8,4 |
|
Диапазон температур, °С |
|
|
|
|
|
максимальная |
+60 |
+60 |
+60 |
+60 |
|
минимальная |
-60 |
-60 |
-60 |
-60 |
|
Допустимое обратимое увеличение коэффициента затухания, дБ/км, в диапазоне температур от -50 до -60°С, не более |
0,03 |
0,03 |
0,03 |
0,03 |
Примечание:
Оптическое волокно, отвечающее требованиям Рекомендаций
G.652 ITU-T - одномодовое ОВ, которое имеет длину волны с нулевой дисперсией около 1300 нм, характеристики которого оптимизированы для использования на длинах волн около 1300 нм и которое может быть использовано в диапазоне около 1550 нм.
G.653 - одномодовое ОВ со сдвигом точки нулевой дисперсии на длину волны около 1550 нм, характеристики которого оптимизированы для использования на длине волны 1550 нм.
G.654 - одномодовое ОВ с затуханием, минимизированном на длине волны около 1550 нм, где и используется. Нулевая дисперсия имеет место вблизи волны около 1300 нм.
TW - "true wave" (крутая волна) одномодовое ОВ с относительно равномерной, но не нулевой, дисперсией в диапазоне рабочих длин волн, что обеспечивает отсутствие перекрестных помех (четырехволновой модуляции) при спектрально-волновом уплотнении окна прозрачности.
|
Член бригады |
Группа по электробезопасности |
Количество чел. |
|
Производитель работ (прораб) |
5 |
1 |
|
Бригадир |
5 |
1 |
|
Звеньевой звена по перекладке старого троса в ролики или прокладке троса-лидера |
5 |
1 |
|
Электромонтер |
4 |
5 |
|
Электромонтер |
3 |
5 |
|
Водитель автомашины |
2 |
1 |
|
|
|
14 |
|
Звеньевой звена по раскатке ОК |
5 |
1 |
|
Операторы тяговой и тормозной машин |
4 |
2 |
|
Электромонтер - помощник оператора |
3 |
2 |
|
Электромонтер |
4 |
5 |
|
Электромонтер |
3 |
5 |
|
Водители автомашин |
2 |
2 |
|
Водитель грузового автомобиля для перевозки машин, оборудования и барабанов с кабелем |
1 |
2 |
|
|
|
20 |
|
ВСЕГО: |
|
34 |
|
Профессия (должность) |
Разряд |
Кол-во, чел. |
Примечания |
|
Производитель работ |
ИТР или электролинейщик 5-6 разряда |
1 |
|
|
Электролинейщик |
4 |
4 |
Верховые работы |
|
Электролинейщик |
3 |
4 |
Низовые работы |
|
Водитель бригадной машины |
|
1 |
Участвует в низовых работах |
|
Водитель грузовой машины |
|
1 |
Участвует в низовых работах |
|
Связисты |
ИТР |
2 |
Соединение ОВ, монтаж муфт, измерения |
|
Водитель автолаборатории |
|
1 |
|
|
ВСЕГО: |
|
147 |
|
______________
7 Для ВЛ на железобетонных опорах в состав бригады могут быть включены 2 водителя автогидроподъемника (автотелевышки)
|
Наименование и характеристика |
Тип кабеля |
||
|
окгт |
оксн |
окнн |
|
|
1. Тяговая машина усилие тяжения не менее 1500 кгс скорость раскатки 3,0 км/час |
+ |
+ |
- |
|
2. Тормозная машина усилие торможения не менее 1500 кгс скорость раскатки 3,0 км/час |
+ |
+ |
- |
|
3. Навивочная машина со стабилизирующей тележкой тяговое усилие навивки 8 кгс скорость навивки 3,0 км/час |
- |
- |
+ |
|
4. Приспособление для подъема и переноса навивочной машины |
- |
- |
+ |
|
5. Гидроподъемник |
+ |
+ |
+ |
|
6. Передвижная лаборатория для монтажа и диагностики волоконно-оптических линий связи (ПЛМД) |
+ |
+ |
+ |
|
7. Бригадная машина |
+ |
+ |
4- |
|
8. Лебедка ручная г. п. 1,0 т с блоком |
+ |
+ |
- |
|
9. Лебедка ручная г.п. 2500 кг и тросовым канатом длиной ~30 м (для регулировки стрел провеса ОК) |
+ |
+ |
- |
|
10. Трапы длиной до 5,0 м г.п. 150 кг |
+ |
- |
+ |
|
11. Раскаточный ролик диаметром не менее 350 мм |
+ |
+ |
- |
|
12. Раскаточные ролики сдвоенные (тандем) диаметром не менее 350 мм |
+ |
+ |
- |
|
13. Раскаточный ролик диаметром не менее 600 мм |
+ |
+ |
- |
|
14. Подставка-подъемник для барабана с кабелем г.п. 4000 кг |
+ |
+ |
- |
|
15. Приспособление для защиты переходов, пересечений |
+ |
+ |
- |
|
16. Вертлюг для соединения троса с кабелем |
+ |
+ |
- |
|
17. Балансир для предотвращения кручения тросов с ОК при его раскатке под тяжением |
+ |
+ |
- |
|
18. Монтажный чулок для ОК |
+ |
+ |
- |
|
19. Монтажный чулок для тягового троса |
+ |
+ |
- |
|
20. Канат-лидер |
+ |
+ |
- |
|
21. Фал для навивочной машины |
- |
- |
+ |
|
22. Набор бригадного инструмента |
+ |
+ |
+ |
|
23. Переносная радиостанция |
+ |
+ |
+ |
|
24. Набор индивидуальных защитных средств монтажников (каска, предохранительный пояс, аптечка, и т.д.) |
+ |
+ |
+ |
П9.1. Приспособление для защиты переходов, пересечений.
П9.2. Принципиальная схема монтажа ОКГТ на ВЛ.
П9.3. Варианты соединений тросов.
П9.4. Перекладка ОКГТ из раскаточных роликов в поддерживающие зажимы.
П9.5. Навивочная машина со стабилизирующей тележкой.
П9.6. Поворотное устройство с трапами
П9.7. Схема расстановки механизмов и приспособлений на опоре для навивки ОКНН.
П9.8. Схема расстановки механизмов и приспособлений для навивки ОКНН в пролете ВЛ.
П9.9. Анкерное крепление грозотроса с ОК с помощью натяжного спирального зажима.
П9.10. Натяжной спиральный зажим (детали, навиваемые на трос).
П9.11. Поддерживающий спиральный зажим.
П9.12. Нанесение меток на ОКГТ и установка спирального натяжного зажима.
П9.13. Полуанкерное крепление ОК к промежуточной опоре.

Рис. П9.1. Приспособление для защиты перехода, пересечений.
1 - ролик от блока типа MIP-8,
2 - приваренный стержень диам. 10 мм с округлыми торцами,
3 - стальная полоса шириной 35-40 мм, толщиной 4-5 мм,
4 - скоба СК-7,
5 - полипропиленовый (капроновый) канат диам. 10-12 мм (длина каната выбирается в зависимости от места установки)

Рис. П9.2. Принципиальная схема монтажа ОКГТ на ВЛ
![]()
а) Соединение тягового троса с заменяемым грозотросом или тросом-лидером
![]()
б) Соединение тягового троса с заменяемым грозотросом или тросом-лидером, а также соединение заменяемого грозотроса в петлях анкерных опор
![]()
в) Соединение троса-лидера с ОКГТ
Рис. П9.3. Варианты соединительных тросов
1 - тяговый трос, 2-соединительное звено, 3 - монтажный чулок 4 - бандаж, 5 - заменяемый грозотрос или трос-лидер, 6 - двойной монтажный чулок, 7 - вертлюг, 8 - ОКГТ

Рис. П9.4. Перекладка ОКГТ из раскаточных роликов и поддерживающие зажимы
1 - ручная лебедка,
2 - монтажная балка,
3 - консоль,
4 - поддерживающий зажим,
5 - лодочка,
6 - ОКГТ

Рис. П9.5. Навивочная машина со стабилизирующей тележкой
1 - навивочная машина,
2 - стабилизирующая тележка,
3 - барабан с ОК,
4 - ОК,
5 - грозотрос,
6 - откидной сектор

Рис. П9.6. Поворотное устройство с трапами.
1 - поворотная балка,
2 - ручные лебедки,
3 - узлы крепления поворотной балки тросостойки,
4 - трапы

Рис. П9.7. Схема расстановки механизмов и приспособлений на опоре для навивки ОКНН
1 - монтажная лебедка (кабестан),
2 - поворотное устройство,
3 - трап,
4 - навивочная машина,
5 - стабилизирующая тележка

Рис. П9.8 Схема расстановки механизмов и приспособлений для навивки ОКНН в пролете ВЛ
1 - навивочная машина,
2 - стабилизирующая тележка,
3 - ОК, смотанный в бухту на граничной опоре,
4 - тормозной фал,
5 - грозотрос,
6 - тяговый канат,
7 - блок типа MIP-5,
8 - отводной блок,
9 - электрокабестан,
10 - ножной выключатель,
11 - источник 3-х фазного тока напряжением 380 В

Рис. П9.9. Анкерное крепление грозотроса с ОК с помощью натяжного спирального зажима
1 - цветная метка на натяжном спиральном зажиме - начало его намотки на грозотрос,
2 - натяжной спиральный зажим,
3 - прокладка-протектор,
4 - грозозащитный трос с ОК,
5 - коуш,
6 - шарнир натяжной

Рис. П9.10. Натяжной спиральный зажим (детали, навиваемые на трос)
1 - трос с волоконно-оптическим кабелем;
2 - протектор (прокладка);
3 - натяжная спираль

а - подушка из неопрена,
б - корпус зажима,
в - болт,
г - защитная обмотка (протектор),
д - болт М8,
е - заземляющий тросик (шунт)

Рис. П9.11. Поддерживающий спиральный зажим

Рис. П9.12. Нанесение меток на ОКГТ и установка спирального натяжного зажима
1 - отметка на ОКГТ от узла крепления к опоре,
2 - отметка начала намотки натяжного зажима (должна совпадать с цветными метками на протекторе и зажиме),
3 - раскаточный ролик,
4 - ручная лебедка,
5 - монтажный трос,
6 - спиральный натяжной зажим,
7 - монтажное звено
а - длина ОКГТ, необходимая для образования петли грозотроса вокруг тросостойки

Рис. П9.13. Полуанкерное крепление ОК к промежуточной опоре
1 - грозотрос с ОК,
2 - спиральный натяжной зажим,
3 - спиральная прокладка-протектор
Лаборатории предназначены для монтажа ОК в муфтах и контроля качества соединений кабелей связи на регенерационном участке.
Лаборатории монтируются в закрытых кузовах, исключающих попадание внутрь влаги и пыли.
В кузовах имеется отопление, вентиляция и освещение (естественное, от генератора лаборатории или дежурное от сети автомобиля).
Лаборатории оснащены рефлектометром (1 шт.), сварочным аппаратом (1 шт.), скалывателем (2 шт.), генератором (1 шт.), комплектом инструментов и приспособлений, расходными материалами и запасными изделиями.
В кузовах установлены столы, на которых размещается на время работы оборудование, монтируемая муфта и концы свариваемых кабелей. На столах предусмотрены устройства для фиксации муфты и кабелей.
Для удобства работы в кузовах имеются два вращающихся стула.
В кузовах предусмотрены люки для ввода кабелей в лабораторию.
На время транспортировки лаборатории приборы (рефлектометр, сварочный аппарат, скалыватели) упаковываются в специальные контейнеры, которые устанавливаются вместе с выносным генератором на пол фургона, а инструмент, приспособления, расходные материалы и запасные изделия хранятся в шкафу (или ящике).
Технические характеристики лаборатории приведены в таблице.
|
Наименование |
Шасси автомобиля |
||
|
УАЗ-3303 |
ГАЗ-66 (ЗИЛ-131) |
||
|
Генератор |
YAMAHA |
||
|
напряжение |
220 В |
220 В |
|
|
мощность |
2,0 кВт |
3,5 кВт |
|
|
Рефлектомер динамический диапазон |
НР8146А фирмы HEWLETT PACKARD 28 дБ |
||
|
Сварочный аппарат |
FSM 20CSII фирмы FUJIKURA |
||
|
Скалыватель |
СТ-0,7 фирмы FUJIKURA |
||
|
Компенсирующая катушка с ОВ |
800 м |
800 м |
|
|
Переговорное устройство по ОВ |
Модель 126 фирмы Industrial Technology, 40 дБ |
||
|
Набор инструмента для разделки ОК и ОВ |
- |
||
|
Электрофен |
220 В, 2 кВт |
||
|
Количество посадочных мест (без места водителя) |
3 |
3 |
|
|
Кузов |
ТСК2-03 |
Кунг-1ДМ |
|
|
Габаритные размеры лаборатории: |
|
|
|
|
длина |
4490 |
6300 |
|
|
ширина |
1940 |
2000 |
|
|
высота |
2250 |
3400 |
|
|
Разработчик |
АО фирма "ОРГРЭС" |
||
|
Изготовитель |
АО "Автокубань" |
АО фирма "ОРГРЭС" |
|
|
№ п/п |
Наименование |
Кол-во |
Назначение |
|
1 |
Комплект для сварки оптических волокон типа Fujikura (потери в сростке не более 0,1 дБ; диаметр световодов 250/50 и 250/10; юстировка автоматическая, потребляемая мощность 50 Вт) |
1 |
Сварка оптических волокон |
|
2 |
Устройство для скола оптических волокон (диаметр скалываемого волокна 125, 250 мкм, допуск перпендикулярности 1,5 град., процент годных торцов - 90%) |
2 |
Подготовка оптических волокон к сварке |
|
3 |
Оптический рефлектометр |
1 |
Измерение оптических потерь, определение мест повреждения ОК |
|
4 |
Компенсирующая катушка с ОВ |
1 |
Компенсация мертвой зоны рефлектометра |
|
5 |
Муфты для соединения ОК |
2 |
Соединение оптических кабелей |
|
6 |
Бензоагрегат 220 В, 50 гц, 2 кВт |
1 |
Электропитание сварочных и измерительных приборов |
|
7 |
Механический соединитель оптических волокон |
80 |
Временное соединение ОВ с измерительной катушкой |
|
8 |
Электрофен мощностью 2 кВт |
1 |
Монтаж термоусаживаемых трубок в соединительных муфтах |
|
9 |
Набор инструмента для разделки ОК и ОВ |
1 |
Разделка ОК и ОВ |
|
10 |
Переговорное устройство по оптическому волокну |
1 |
Обеспечение оперативной связи |
П12.1. Законченным элементом линейных сооружений ВОЛС-ВЛ считается кабельная секция (КС) между двумя регенерационными пунктами. На кабельных секциях проводятся приемо-сдаточные измерения оптических параметров элементарных кабельных участков (ЭКУ). На ЭКУ нормируются следующие параметры:
относительное значение оптических потерь - затухание, приведенное к длине 1 км;
абсолютное значение оптических потерь - суммарное продольное затухание одинаково идентифицированных оптических волокон соединительных строительных длин и потерь на их сростках;
распределение значений потерь в сростках.
Указания по определению длин элементарного кабельного участка
П12.2. Элементарный кабельный участок (ЭКУ) - совокупность оптического волокна и сростков, гибких соединительных кабелей и разъемов, расположенных между двумя последовательными окончаниями участка.
Окончание участка - граница, выбранная условно в качестве стыка между оптическим волокном и регенератором (оптическим усилителем).
Различают точку S - линейная сторона оптического шнура "pigtail" - в точке окончания участка на передающем конце, и точку R - линейная сторона оптического шнура - в точке окончания участка на приемном конце.
П12.3. Вероятность ошибки в линейном тракте волоконно-оптической линии передачи непосредственно связана с длиной ЭКУ.
При проектировании задают номинальную, максимальную и минимальную длину ЭКУ.
Номинальная длина ЭКУ - такая протяженность ЭКУ, при которой норма на вероятность ошибки при передаче информационных цифровых сигналов выполняется для всех 100% равновеликих ЭКУ, даже если все их строительные длины имеют максимальный коэффициент затухания, а все сварные соединения оптических волокон - максимально допустимые потери.
Минимальная длина ЭКУ - такая протяженность ЭКУ, при которой уровень оптического сигнала на приеме не превышает заданной для 50 % равновеликих ЭКУ.
Максимальная длина ЭКУ - такая протяженность ЭКУ, при которой норма на вероятность ошибки при передаче информационных цифровых сигналов выполняется для 99,86 % равновеликих ЭКУ.
П12.4. При определении длин ЭКУ используются следующие условные обозначения:
Asr - затухание между точками S и R, дБ;
Аэза - эксплуатационный запас энергетического потенциала аппаратуры, дБ;
Аэзк - эксплуатационный запас энергетического потенциала для кабеля, дБ;
Ад - эксплуатационный запас энергетического потенциала на дисперсию, дБ, учитываемый на регенерационных установках предельной длины с оптическими усилителями;
DА - динамический диапазон уровня приемного оптического сигнала, дБ;
Арс - общие потери во всех разъемных соединителях на ЭКУ;
Dа - погрешность измерения затухания оптического сигнала на ЭКУ, дБ;
Анс - потери неразъемного соединения ОВ, дБ;
- среднее значение потерь неразъемного соединения, дБ;
Анс макс - максимальное значение потерь неразъемного соединения, дБ;
Lном - номинальная длина ЭКУ, км;
Lмин - минимальная длина ЭКУ, км;
Lмакс - максимальная длина ЭКУ, км;
- средняя строительная длина ОКГТ, км;
n - количество неразъемных (сварных) соединений ОВ на ЭКУ;
W - энергетический потенциал ВОСП, дБ;
a - коэффициент затухания оптического волокна, дБ/км;
- среднее значение коэффициента
затухания оптического волокна, дБ/км;
aмакс - максимальное значение коэффициента затухания оптического волокна, заданное в технических условиях (спецификациях) на строительную длину, дБ/км;
l - рабочая длина волны, мкм.
П12.5 Номинальная длина ЭКУ должна определяться по формуле:
Lном
= (W - Аэза - Арс - Ад
+ Анс макс - Аэзк - Dа)
/ (aмакс
+ Анс макс /
).
Минимальная длина ЭКУ должна определяться по формуле:
Lмин
= (W - DА
- Арс +
) / (a +
/
).
Максимальная длина ЭКУ должна определяться по формуле:
![]()
где В = ![]()
Значения В приведены в таблице П12.1.
Таблица П12.1.
|
Строительная длина, l, км |
В при l, мкм |
|
|
1,3 |
1,55 |
|
|
1 |
0,17 |
0,085 |
|
2 |
0,15 |
0,075 |
|
3 |
0,14 |
0,070 |
|
4 |
0,135 |
0,067 |
|
5 |
0,13 |
0,066 |
|
6 |
0,13 |
0,065 |
П12.6. Как правило должны проектироваться ЭКУ номинальной длины. В регионах с минимальной температурой ниже -50 °С проектируются ЭКУ с длиной, не превышающей номинальную.
В регионах с минимальной температурой выше -50 °С допускается проектировать ЭКУ максимальной длины.
Измерение элементарных кабельных участков
П12.7. Затухание ЭКУ, приведенное к длине 1 км, дБ/км на рабочих длинах волн должно быть не более:
1,3 мкм:![]()
1,55 мкм:![]()
где ai - коэффициент затухания оптического волокна на i - ой строительной длине, указанный в сертификате,
li - протяженность i-ой строительной длины;
n - количество строительных длин,
m - количество неразъемных соединений (сварок) оптического волокна ЭКУ.
П12.8. Затухание ЭКУ не должно быть более допустимого затухания, определяемого по формуле:
А = Asr - Aэзк - Ад - Dа = W - Арс - Аэза - (Аэзк + Ад + Dа).
Значения W, Арс, Аэза, Ад и Аэзк берутся из технических условий (контрактных спецификаций) ВОСП. Значение Dа берется из технического описания применяемого измерительного прибора.
П12.9. Затухание ЭКУ8 совместно со станционными кабелями ("patchcord") не должно быть более значения А, определяемого по формуле:
________________
8 Требование П.12.9. проверяется после установки на линии аппаратуры системы передачи со своими "штатными" станционными кабелями.
А = W - Аэза - Аэзк - Ад - Dа.
П12.10. Распределение потерь в неразъемных соединениях ЭКУ, определяемое для каждого оптического волокна по отдельности, должно соответствовать требованиям табл. П.12.2.
Таблица П.12.2
|
Длина волны l, мкм |
Потери Анc, дБ, не более в % неразъемных соединений |
|
|
100 |
50 |
|
|
1,3 |
0,2 |
0,1 |
|
1,55 |
0,1* |
0,05 |
Примечание.
* В исключительных случаях допускается максимальное значение потерь на стыке не более 0,15 дБ, если меньшее значение не достигнуто после 3-х повторений сварки. При этом в монтируемой муфте на кассете должен остаться запас оптического волокна из 3-х витков.
Значение потерь для каждого неразъемного соединения определяется как среднее арифметическое результатов измерений оптическим рефлектором с двух сторон ЭКУ.
П12.11. Приемо-сдаточные измерения проводятся в полном объеме (П12.7 - 12.10) на всех ЭКУ всех кабельных секций сооружаемой ВОЛС.
В случаях, когда ЭКУ состоит из двух или более участков, содержащих оконечные кабельные устройства, измерение относительного значения оптических потерь, проверка распределения значений потерь в сростках и измерение электрических параметров производятся отдельно для каждого участка.
П12.12. Затухание ЭКУ и распределение потерь в неразъемных соединениях ЭКУ (П12.10) измеряются оптическим рефлектометром по методике, изложенной в его инструкции по эксплуатации. Оптический рефлектометр должен обладать техническими характеристиками не хуже приведенных в табл. П12.3.
Измерение ЭКУ оптическим рефлектометром производится с двух сторон. Результаты измерения определяются по усредненной рефлектограмме.
Таблица П12.3.
|
Характеристика |
Значение |
|
Рабочая длина волны, мкм |
1,3; 1,55 |
|
1 |
2 |
|
Динамический диапазон измеряемых значений затухания при отношении сигнал/шум равном 1, дб, при длине волны: |
|
|
1,30±20 нм |
37 или Asr+2 |
|
1,55±20 нм |
35 или Asr+2 |
|
Измеряемая длина, км |
150 |
|
Погрешность измерения затухания, % |
4...5 |
|
Диапазон изменения устанавливаемого значения показателя преломления |
1,4000...1,6000 |
|
Погрешность по длине ЭКУ, % |
0,01 |
|
Минимальная мертвая зона, м |
40 |
|
Разрешающая способность по вертикали, дБ |
0,001 |
|
Точность установки показателя преломления |
0,0001 |
П12.13. Затухание ЭКУ совместно со станционными кабелями (П12.9.) измеряется методом разности уровней с помощью источника оптической мощности измерителя уровня оптической мощности по методике, изложенной в инструкции по эксплуатации последнего.
Измерительный комплект должен обладать техническими характеристиками, не хуже приведенных в табл. П12.4.
Таблица П12.4.
|
Характеристика |
Значение |
|
Рабочая длина волны, мкм |
1,3; 1,55 |
|
Уровень оптической мощности, дБм |
0; +10 |
|
Стабильность выходного уровня во времени, дБм |
±0,1 |
|
Диапазон измеряемых уровней, дБм |
+10...-60 |
|
Погрешность измерения затухания, % |
5 |
|
Разрешающая способность по уровню, дБм |
0,01 |
П13.1. Повреждения ОК около соединительной муфты
П13.2. Повреждения ОК в пролете
П13.3. Прокладка временного ОК

а) Состояние линии до восстановления ОК

б) Состояние линии после замены ОК
Рис. П13.1. Повреждение ОК около соединительной муфты

а) Состояние линии до восстановления ОК

б) Состояние линии после замены ОК
Рис. П13.2. Повреждение ОК в пролете


После восстановления опоры ВЛ ОК монтируется от опоры 1 до опоры 6, либо от опоры 3 до опоры 5 или 6 с установкой дополнительной муфты
Рис. П13.3. Прокладка временного ОК
* Текст документа соответствует оригиналу.
|
ГОСТЫ, СТРОИТЕЛЬНЫЕ и ТЕХНИЧЕСКИЕ НОРМАТИВЫ. Некоммерческая онлайн система, содержащая все Российские Госты, национальные Стандарты и нормативы. В Системе содержится более 150000 файлов нормативно-технической документации, действующей на территории РФ. Система предназначена для широкого круга инженерно-технических специалистов. Copyright © www.gostrf.com, 2008 - 2026 |