Крупнейшая бесплатная информационно-справочная система онлайн доступа к полному собранию технических нормативно-правовых актов РФ. Огромная база технических нормативов (более 150 тысяч документов) и полное собрание национальных стандартов, аутентичное официальной базе Госстандарта. GOSTRF.com - это более 1 Терабайта бесплатной технической информации для всех пользователей интернета. Все электронные копии представленных здесь документов могут распространяться без каких-либо ограничений. Поощряется распространение информации с этого сайта на любых других ресурсах. Каждый человек имеет право на неограниченный доступ к этим документам! Каждый человек имеет право на знание требований, изложенных в данных нормативно-правовых актах!

  


 

Открытое акционерное общество

Проектно-конструкторский и технологический институт промышленного строительства

ОАО ПКТИпромстрой

УТВЕРЖДАЮ

Генеральный директор, к.т.н.

_____________С.Ю. Едличка

«___»______________2000 г.

ТЕХНОЛОГИЧЕСКАЯ КАРТА
НА УСТРОЙСТВО ОГРАЖДЕНИЙ
ИЗ БУРОНАБИВНЫХ СВАЙ

7391 ТК

Главный инженер

_________________А.В. Колобов

Начальник отдела

_________________Б.И. Бычковский

2000

Технологическая карта на устройство ограждений из буронабивных свай (далее «Технологическая карта») предназначена для производителей работ, мастеров и бригадиров, для работников служб комплектации и технического надзора, а также инженерно-технических работников, разрабатывающих проекты производства работ.

При разработке «Технологической карты» учтен опыт ряда строительных организаций России по устройству буронабивных свай. Привлечены данные научно-технической литературы и периодической печати.

В значительной степени учтен опыт строителей Московского региона.

При выполнении работы учтены требования «Методических указаний о порядке разработки и пересмотра действующих технологических карт» и «Методического пособия по устройству ограждений из буронабивных свай», разработанных ОАО ПКТИпромстрой.

Работа выполнена сотрудниками лаборатории совершенствования организации и технологии строительства (отдел 41) ОАО ПКТИпромстрой в составе:

Стронгин И.Я. - исполнитель;

Покровская Е.В. - компьютерная обработка;

Воинова Е.А. - компьютерная обработка и графика;

Бузов Г.С., к.т.н. - научный консультант;

Ярымов Ю.А. - техническое сопровождение разработки;

Бычковский Б.И. - корректура и нормоконтроль;

Шахпаронов В.В., к.т.н. - научно-методическое руководство и редактирование;

Едличка С.Ю., к.т.н., заслуженный строитель РФ - общее руководство разработкой технологической карты.

СОДЕРЖАНИЕ

1 Область применения. 2

2 Технология и организация выполнения работ. 3

2.1 Требования к качеству предшествующих работ. 3

2.2 Требования к технологии производства работ. 3

2.3 Технологические схемы производства работ. Транспортирование и складирование изделий и материалов. 6

3 Требования к качеству и приемке работ. 13

3.1 Требования к качеству поставляемых материалов и изделий, к качеству выполняемых работ. 13

3.2 Схемы операционного контроля качества. 16

3.3 Технологические процессы, подлежащие контролю. 17

4 Требования техники безопасности и охраны труда, экологической и пожарной безопасности. 20

5 Потребность в материально-технических ресурсах. 22

5.1 Потребность в машинах и оборудовании. 22

5.2 Потребность в оборудовании, технологической оснастке, инструменте и приспособлениях. 24

5.3 Потребность в материалах, изделиях и конструкциях. 27

6 Технико-экономические показатели. 28

Использованная литература. 34

Приложение А Форма журнала изготовления буронабивных свай (титульный лист) 36

Приложение Б Акты освидетельствования и приемки буровой скважины, арматурного каркаса и приемки свайного поля из буронабивных свай. 37

1 ОБЛАСТЬ ПРИМЕНЕНИЯ

1.1 Областью применения буронабивных свай является ограждение стен котлованов вблизи улиц с интенсивным движением транспорта, вблизи зданий и инженерных коммуникаций, а также на плотно застроенных территориях. Они используются также для фундаментов зданий, опор мостов и других инженерных сооружений в качестве несущих конструкций.

Ограждения из буронабивных свай, как правило, более экономичны, чем «стены в грунте», характеризуются повышенной жесткостью и не вызывают подвижек и деформаций грунтового массива и расположенных поблизости зданий и инженерных коммуникаций.

1.2 В грунтах естественной влажности применяют преимущественно касающиеся буронабивные сваи (тангенциальные и выпукловогнутые), а также отдельно расположенные сваи с заполнением пространства между ними монолитным бетоном, железобетоном или набрызг-бетоном.

1.3 Буронабивные сваи могут располагаться вдоль бровки котлована с определенным шагом (рисунок 1), объединяясь между собой затяжкой из досок, тонких железобетонных плит, гофрированных стальных листов.

В настоящей технологической карте рассмотрены вопросы устройства ограждений из буронабивных свай диаметром 600 - 800(1000) мм, при шаге до 3000 мм и глубиной до 15 - 20 м.

Рисунок 1 - Ограждения из буронабивных свай

1 - шаг свай (до 3000 мм); 2 - диаметр свай (600 - 1000 мм); 3 - затяжка.

2 ТЕХНОЛОГИЯ И ОРГАНИЗАЦИЯ ВЫПОЛНЕНИЯ РАБОТ

2.1 Требования к качеству предшествующих работ

2.1.1 Работам по устройству буронабивных свай должны предшествовать:

- отключение и перенос из рабочей зоны всех надземных и подземных коммуникаций;

- планировка строительной площадки на заданной отметке;

- укладка железобетонных дорожных плит для проезда автотранспорта, работы буровых машин и строительных кранов;

- ограждение строительной площадки забором в соответствии с требованиями ГОСТ 23407-78 и проекта производства работ;

- размещение бытовых и подсобных помещений для рабочих и ИТР;

- геодезическая разбивка осей сооружения и надежное закрепление на местности положения рядов буронабивных свай с оформлением акта, к которому прилагаются схемы расположения знаков разбивки, данные о привязке к базисной линии и к высотной опорной сети;

- подготовка мест для складирования инвентарных обсадных труб, элементов арматурных каркасов, инвентарной опалубки, инвентаря, а также площадок для строительных машин и оборудования.

- разбивка осей сооружения (оформить актом, к которому прилагаются схемы расположения знаков разбивки, данные о привязке к базисной линии и к высотной опорной сети).

2.1.2 Готовность объекта к производству работ по устройству буронабивных свай должна определяться комиссией, назначенной руководством управления, с составлением акта готовности.

2.2 Требования к технологии производства работ

2.2.1 В технологической карте рассматриваются следующие технологические операции по устройству буронабивных свай, выполняемые в следующей последовательности:

- подготовительные работы по стройплощадке;

- земляные работы для устройства форшахты;

- устройство форшахты;

- подготовка обсадных труб;

- бурение скважин;

- погружение секций обсадной трубы;

- установка арматурного каркаса;

- установка бетонолитной трубы;

- бетонирование свай;

- снятие бетонолитной трубы;

- извлечение секций обсадной трубы.

2.2.2 Для каждой технологической операции (по п. 2.2.1) подбирается требуемое оборудование, приспособления, инвентарь, оснастка, инструмент и др. в соответствии с рекомендациями, изложенными в таблице 1.

Таблица 1 - Технологические операции и требуемое оборудование, приспособления, инвентарь и оснастка

Наименование технологических операций

Оборудование, приспособления, инвентарь, оснастка и др.

1 Подготовка строительной площадки

 

Доставка и разгрузка секций инвентарных обсадных труб длиной (2; 4 и 6 м).

Автомобиль бортовой, автомобильный кран

Доставка и разгрузка элементов арматурных каркасов буронабивных свай.

Автомобиль бортовой, автомобильный кран

2 Земляные работы и устройство форшахты

 

Разработаны самостоятельной технологической картой.

 

3 Подготовка обсадных труб

 

Подготовка секций инвентарных обсадных труб:

 

- очистка внутренних поверхностей обсадных труб от налипшего грунта и цементного молока;

Металлические щетки, временный водопровод

- мойка секций обсадных труб.

Временный водопровод

4 Бурение скважины

 

Ударный (грейферный) способ бурения (в песчаных, крупнообломочных, скальных и глинистых грунтах в текучепластичном и текучем состоянии).

Бурильно-крановая машина (БКМ) с двухчелюстным грейфером со сменными челюстями

Инструментальная проверка отметки и положения оси буронабивной сваи.

Геодезические инструменты

Забор грунта грейфером.

Бурильно-крановая машина

Извлечение грейфера с грунтом из скважины.

Тоже

Опорожнение грейфера:

 

в отвал

Тоже

в автотранспорт

То же и автосамосвал

Погружение первой секции инвентарной обсадной трубы.

Бурильно-крановая машина

Наращивание второй секции инвентарной обсадной трубы.

То же и устройство для свинчивания обсадных труб

Погружение следующей секции инвентарной обсадной трубы.

То же

Погружение последней секции инвентарной обсадной трубы.

Тоже

Проверка отметки забоя.

Гибкая мерная нить и специальный лот массой 2 - 3 кг

Ударный способ бурения буровым клапаном (желонкой) в водонасыщенных мелких песках и илах.

Бурильно-крановая машина

Рабочий орган - желонка

Инструментальная проверка отметки и положения оси буронабивной сваи.

Геодезические инструменты

Забор грунта желонкой.

Бурильно-крановая машина

Извлечение желонки с грунтом из скважины.

То же

Опорожнение желонки:

 

в отвал

То же

в автотранспорт.

То же и автосамосвал

Погружение первой секции инвентарной обсадной трубы.

Бурильно-крановая машина

Наращивание второй секции инвентарной обсадной трубы.

То же и устройство для свинчивания обсадных труб

Погружение второй секции инвентарной обсадной трубы.

То же

Погружение последней секции инвентарной обсадной трубы.

То же

Проверка отметки забоя.

Гибкая мерная нить и специальный лот массой 2 - 3 кг

Вращательный (роторный) способ бурения (глинистые грунты пластичной, полутвердой и твердой консистенции).

Бурильно-крановая машина

Рабочий орган - шнековый бур

Инструментальная проверка отметки и положения оси буронабивной сваи.

Геодезические инструменты

Бурение лидерной скважины расчетного диаметра глубиной равной длине первой секции инвентарной обсадной трубы.

Бурильно-крановая машина

Погружение первой секции инвентарной обсадной трубы.

То же

Бурение лидерной скважины расчетного диаметра глубиной, равной длине следующей секции инвентарной обсадной трубы.

То же

Наращивание второй секции инвентарной обсадной трубы.

То же и устройство для свинчивания труб

Погружение второй секции инвентарной обсадной трубы.

Бурильно-крановая машина

Погружение последней секции обсадной трубы.

То же

Проверка отметки забоя.

Гибкая мерная нить и специальный лот массой 2 - 3 кг

Закачка воды в скважину (при разработке неустойчивых грунтов).

Временный водопровод или автоцистерна для доставки воды

5 Установка арматурного каркаса сваи

 

Очистка арматурного каркаса от грязи и ржавчины.

Ручная электрическая машина

Металлическая щетка

Опускание первой секции арматурного каркаса в обсадную трубу с установкой ограничителей.

Бурильно-крановая машина

Сварка двух секций арматурного каркаса.

Сварочный агрегат. Автомобильный кран

Опускание в пробуренную скважину двух сваренных секций арматурного каркаса с установкой ограничителей.

Автомобильный кран

Сварка третьей секции арматурного каркаса с ранее опущенным в скважину каркасом.

Сварочный агрегат

Опускание в пробуренную скважину арматурного каркаса с установкой ограничителей.

Автомобильный кран

Сварка четвертой секции арматурного каркаса с ранее опущенным в скважину каркасом.

Сварочный агрегат

Опускание в пробуренную скважину всего арматурного каркаса.

Автомобильный кран

6 Установка и бетонолитной трубы

 

Установка бетонолитной трубы.

Автомобильный кран

7 Бетонирование скважины

 

Доставка бетонной смеси.

Автобетоносмеситель

Подача бетонной смеси в тело сваи.

Автобетоносмеситель

Уплотнение бетонной смеси.

Глубинный вибратор

Демонтаж обсадной трубы.

Бурильно-крановая машина

Разъединение элементов обсадной трубы и их складирование.

Бурильно-крановая машина, устройство для свинчивания и развинчивания элементов обсадной трубы

8 Снятие бетонолитной трубы

 

Снятие бетонолитной трубы.

Автомобильный кран

9 Извлечение обсадной трубы

 

Извлечение инвентарных секций обсадной трубы.

Буровая машина и устройство для свинчивания обсадных труб

2.2.3 Бурение каждой скважины должно начинаться после инструментальной проверки отметок спланированной поверхности земли и положения осей буронабивной сваи на площадке.

2.2.4 После установки буровой машины в точке бурения на ее мачте примерно в 1 м от поверхности земли должна быть четко очерчена линия условного уровня, от которой ведется отсчет.

2.2.5 Бурение скважин должно вестись с применением инвентарной обсадной трубы, состоящей из отдельных секций длиной 2; 4 или 6 м и режущего наконечника. Режущий наконечник монтируется в нижнем фланце первой секции обсадной трубы.

2.2.6 Перед началом бурения скважин внутренние поверхности секции инвентарных обсадных труб должны быть тщательно очищены от налипшего грунта и цементного молока, попавшего на их стенки при бетонировании предыдущей скважины. На строительной площадке должен быть специальный участок для очистки и мойки секций обсадных труб.

2.2.7 В процессе бурения скважин должны совершаться непрерывные возвратно-поступательные движения обсадной трубы, при этом постоянно необходимо следить за характером проходимых грунтов. При изменении вида грунтов следует заменить рабочий орган.

2.2.8 Для разработки песчаных, крупнообломочных, скальных и глинистых грунтов в текучепластичном и текучем состоянии рекомендуется применять ударный (грейферный) способ бурения. Водонасыщенные мелкие пески и илы рекомендуется разрабатывать желонкой (буровым клапаном), которая может быть также использована для зачистки скважины, а также забора и откачки воды из скважины. Для разработки глинистых грунтов пластичной, полутвердой и твердой консистенций рекомендуется применять вращательный (роторный) способ бурения.

2.2.9 Для проходки песков, крупнообломочных грунтов и пластичных глинистых грунтов следует применять обычный режущий наконечник, а для прохода твердых глинистых и скальных грунтов - усиленный режущий наконечник. Для твердой глины и известняка применяют твердый наконечник. Твердый и усиленный наконечник в крупнообломочных грунтах применять запрещается.

2.2.10 Проходку скальных грунтов в зависимости от их вида и глубины бурения рекомендуется осуществлять ударным способом (с помощью долот различной конструкции) или вращательным (с помощью шарошечных долот в сочетании с ковшовым буром).

2.2.11 При разработке неустойчивых грунтов уровень воды в скважине необходимо поддерживать не менее чем на 1 - 1,5 м выше уровня грунтовых вод для предупреждения наплыва грунта в скважину, для чего на строительной площадке должны быть предусмотрены водоснабжение от временного водопровода или доставка воды автоцистернами.

2.2.12 При устройстве куста свай бурение каждой последующей скважины следует производить не раньше, чем через 8 ч после укладки бетона в предыдущую при расстоянии между сваями менее одного метра в свету. При расстоянии между сваями в свету, превышающем диаметр сваи, взаимный порядок бурения и бетонирования скважин не регламентируется.

2.2.13 По достижении забоем проектной отметки он должен быть тщательно зачищен от бурового шлама грейфером или ковшовым буром.

2.2.14 Зачистка забоя в водонасыщенных грунтах может выполняться желонкой (буровым клапаном), при этом необходимо обращать особое внимание на выполнение требований п.п. 2.2.11 и 2.2.13.

2.3 Технологические схемы производства работ. Транспортирование и складирование изделий и материалов.

2.3.1 Технологические схемы разработаны для технологических операций согласно п. 2.2.1 за исключением форшахты. при этом принята последовательность выполнения технологических операций, приведенная в таблице 1.

Основные этапы устройства буронабивных свай приведены на рисунке 2.

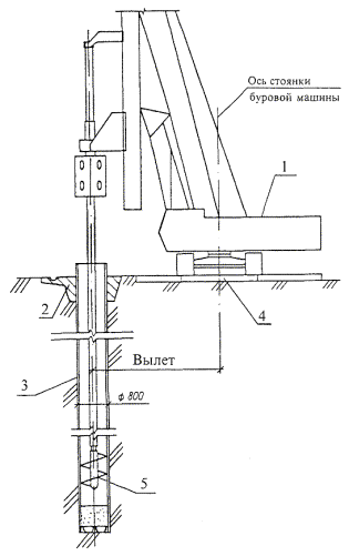
2.3.2 После выполнения подготовительных работ и форшахты производится бурение скважин под защитой обсадной трубы согласно рисунку 3.

2.3.3 В качестве оборудования для погружения обсадных труб и для бурения применяются бурильно-крановые машины.

По окончании бурения следует проверить соответствие проекту фактических размеров скважин, отметки их устья, забоя и расположения каждой скважины в плане, а также установить соответствие типа грунта основания данным инженерно-геологических изысканий (при необходимости с привлечением геолога).

2.3.4 После завершения бурения скважины и ее зачистки производится установка арматурного каркаса сваи согласно рисунку 4. Эта операция производится бурильно-крановой машиной либо автокраном.

Рисунок 2 - Основные этапы устройства буронабивной сваи

1 - установка обсадной трубы; 2 - бурение скважины; 3 - опускание армокаркаса; 4 - бетонирование сваи и извлечение обсадной трубы; 5 - готовая свая.

Рисунок 3 - Бурение скважин под защитой обсадной трубы

1 - буровая машина; 2 - форшахта; 3 - обсадная труба; 4 - плита дорожная; 5 - рабочий орган.

2.3.5 Арматурные каркасы буронабивных свай должны изготавливаться с неравномерным размещением рабочей арматуры в соответствии с распределением усилий от бокового давления грунта.

2.3.6 Перед бетонированием в скважину устанавливают арматурный каркас, конструкция и размеры которого должны соответствовать проекту. До погружения армокаркаса в скважину последнюю следует освидетельствовать в присутствии представителя проектной организации (авторского надзора) с составлением акта.

Рисунок 4 - Установка арматурного каркаса сваи

1 - крюковая обойма; 2 - строповочное приспособление; 3 - арматурный каркас сваи; 4 - обсадная труба.

Установка арматурного каркаса в скважину при отсутствии соответствующего паспорта к нему не допускается.

Номер арматурного каркаса, устанавливаемого в скважину, должен фиксироваться в журнале производства работ.

2.3.7 Перед установкой в скважину арматурный каркас должен быть тщательно очищен от ржавчины и грязи.

2.3.8 Диаметр арматурного каркаса должен быть на 80 - 100 мм меньше внутреннего диаметра обсадной трубы во избежание заклинивания его в трубе. С наружной стороны каркас должен иметь ограничители, обеспечивающие необходимую толщину защитного слоя бетона.

Для обеспечения необходимой жесткости армокаркас должен быть усилен кольцами из листовой стали шириной 60 - 100 мм и толщиной 8 - 10 мм, прикрепленными с внутренней стороны каркаса через 1 - 2 м. Длина отдельных секций каркаса, как правило, не должна превышать 7 м. При соответствующем усилении конструкции каркаса и наличии специальных подъемных механизмов длина секций каркаса не ограничивается.

2.3.9 Способ строповки, подъем и опускание арматурного каркаса в скважину должны исключать появление в нем деформаций. Каркас опускают в положении, обеспечивающем его свободное прохождение в скважину.

2.3.10 При установке арматурного каркаса на полную глубину скважины следует принимать меры, предупреждающие нарушение структуры грунта в забое скважины. С этой целью нижняя часть каркаса должна быть снабжена двумя кольцами из листовой стали, с наружной и внутренней стороны, внутри которых должны находиться концы продольных стержней.

2.3.11 При установке арматурного каркаса на части глубины скважины необходимо учитывать его осадку, возникающую при извлечении обсадных труб и уплотнении бетонной смеси. Величина ожидаемой осадки каркаса в этом случае устанавливается опытным путем.

2.3.12 Суммарное время доставки бетонной смеси на строительную площадку, укладки ее в скважину, извлечения обсадных и бетонолитных труб не должно превышать ее срока схватывания.

В случае расслоения бетонной смеси при транспортировке должно быть произведено повторное перемешивание ее в автобетоносмесителях.

Используется «литая» бетонная смесь с осадкой конуса 16 - 18 см.

2.3.13 Заполнение скважины бетонной смесью следует начинать после зачистки забоя и проверки глубины скважины, но не позднее чем через 2 ч после окончания бурения. При более длительном перерыве необходимо производить повторную зачистку забоя.

В случаях, когда предвидится значительная задержка с началом бетонирования, бурение необходимо приостановить, не доводя забой до проектной отметки на 1 - 2 м. Этот участок следует проходить после устранения причины возможного перерыва между окончанием бурения и началом бетонирования.

2.3.14 Укладка бетонной смеси в скважину, варианты которой показаны на рисунке 5, должна производиться методом вертикально перемещающейся трубы (ВПТ) согласно требованиям СНиП на производство и приемку работ по основаниям и фундаментам. При изготовлении буронабивных свай в сухих грунтах (выше уровня грунтовых вод) допускается бетонирование методом свободного сброса бетонной смеси в скважину глубиной не более 8 м.


Рисунок 5 - Укладка бетонной смеси в скважину

а) - при помощи автобетононасоса; б) - при помощи автобетоносмесителя;

1 - обсадная труба; 2 - бетонолитная труба; 3 - автобетононасос; 4 - автобетоносмеситель; 5 - бетонная смесь.


2.3.15 Бетонолитные трубы, применяемые при бетонировании, должны быть секционными с быстроразъемными стыками. Конструкция стыков отдельных секций бетонолитных труб должна обеспечивать полную герметичность стыков. Внутренний диаметр бетонолитной трубы должен быть в пределах 250 - 325 мм.

2.3.16 Подача бетонной смеси в бетонолитную трубу осуществляется через накопительный бункер или приемную воронку (при откачке воды из скважины перед бетонированием) непосредственно из автобетоносмесителя или перегрузочной бадьи. Объем накопительного бункера должен быть не менее объема бетонолитной трубы. В случае необходимости возможно применение вибробункера.

2.3.17 Установку бетонолитной трубы в скважину перед бетонированием следует производить так, чтобы ее нижний конец был расположен выше забоя скважины на 200 - 250 мм (начальное положение).

2.3.18 Перед началом бетонирования в устье бетонолитной трубы должен быть установлен теряемый клапан для разделения бетонной смеси и воды в скважине. Для этой же цели может быть использован инвентарный клапан, устанавливаемый в нижней части бетонолитной трубы (например, смонтированный вместе с прибором для контроля качества укладки бетонной смеси типа СП).

2.3.19 Бетонирование скважины следует производить до прекращения прохождения бетонной смеси через приемный бункер, после чего бункер вместе с бетонолитной трубой поднимают до освобождения от бетонной смеси верхней секции бетонолитной трубы. Затем верхнюю секцию бетонолитной трубы демонтируют, бункер устанавливают на ее следующую секцию и процесс бетонирования скважины возобновляется. При этом нижний конец бетонолитной трубы должен быть заглублен в бетон не менее чем на 1 м.

Во всех случаях уровень бетонной смеси в бетонолитной трубе должен быть выше уровня воды в скважине.

2.3.20 Укладку бетонной смеси в скважину следует производить на всю глубину скважины без перерывов (в один этап). При большой глубине скважины допускается бетонирование в несколько этапов, неизбежно вызываемых технологическими перерывами, связанными с извлечением отдельных секций бетонолитных и обсадных труб.

2.3.21 При бетонировании скважин в несколько этапов высота укладки бетонной смеси на первом этапе до начала подъема обсадной трубы должна задаваться возможно большей, исходя из требования, что уложенная бетонная смесь не должна начинать схватываться до подъема обсадной и бетонолитной труб. Во всех случаях высота столба бетона в скважине на каждом этапе должна не менее чем на 2 м превышать общую длину удаленных секций обсадной трубы.

2.3.22 В течение всего процесса бетонирования колонне обсадных труб должно придаваться постоянное возвратно-вращательное движение (в пределах хода двойного качания хомута) во избежание ее засасывания.

2.3.23 При извлечении и демонтаже обсадных труб (рисунок 6) должно учитываться возможное понижение уровня бетона в скважине и опускание бетонолитной трубы, величина которого устанавливается опытным путем.

Рисунок 6 - Извлечение обсадной трубы

а - схема извлечения обсадной трубы; б - применяемые инвентарные секции обсадной трубы для скважины глубиной 14 м;

1 - буровая машина; 2 - форшахта; 3 - обсадная труба; 4 - бетонная смесь; 5 - плита дорожная; 6 - режущий наконечник инвентарной обсадной трубы.

Поэтапный демонтаж секций обсадной трубы производится буровой машиной по мере бетонирования свай.

2.3.24 Для уплотнения бетонной смеси и обеспечения лучшего контакта бетона с грунтом подъем обсадной трубы должен производиться поступательно-вращательным движением с последовательным подниманием ее на 20 - 30 см и опусканием на 10 - 15 см.

2.3.25 При завершении бетонирования скважины необходимо удалить загрязненный слой бетонной смеси. После этого устанавливается инвентарный кондуктор и бетонируется оголовок сваи. Вместо инвентарного кондуктора может быть использована форшахта.

2.3.26 Бетонная смесь в пределах верхних 3 м буронабивной сваи по окончании бетонирования должна быть тщательно уплотнена глубинным вибратором.

2.3.27 В летний период кондуктор снимается через 16 - 24 ч после окончания формования оголовка сваи, который следует укрывать от солнца и увлажнять поливкой водой 3 - 4 раза в сутки в течение 10 - 12 сут.

2.3.28 В зимний период сразу же после установки утепленной опалубки (кондуктора) и окончания бетонирования оголовка сваи последний должен утепляться слоем опилок или стекловаты толщиной 20 - 25 см. В центре оголовка должна быть устроена скважина глубиной 25 - 30 см для измерения температуры, устье которой закрывается деревянной пробкой.

Для ускорения вызревания бетона в зимний период и предотвращения его раннего замораживания должен осуществляться электропрогрев бетона сваи на глубину промерзания грунта.

Распалубка оголовка может быть проведена при достижении бетоном прочности 5...6 МПа (50...60 кгс/см2). В зимний период распалубка должна производиться при разности температур бетона и наружного воздуха не более 20 °С.

Технологическая схема бетонирования скважин приведена на рисунке 7.

2.3.29 Перевозку строительных грузов (арматуры, бетонной смеси и т.п.) следует выполнять с учетом требований главы 8 СНиП 12-03-2001.

(Измененная редакция, Изм. № 1).

2.3.30 При транспортировке арматурных каркасов от места изготовления к месту установки в каркасы следует устанавливать временные распорки в виде поперечных стержней или деревянных кругов для предохранения их от деформаций.

Рисунок 7 - Технологическая схема бетонирования скважины

1 - приемный бункер; 2 - секции бетонолитной трубы; 3 - секции обсадной трубы; 4 - прибор типа СП; 5 - режущий наконечник; 6 - армокаркас; 7 - демонтируемые звенья бетонолитной трубы; 8 - демонтируемая секция обсадной трубы; 9 - инвентарный кондуктор для формования головы сваи.

2.3.31 Складирование арматурных каркасов, бетонолитных и обсадных труб должно производиться за пределами призмы обрушения грунта, стенки которой не закреплены, а при их размещении в пределах призмы обрушения грунта у выемок с креплениями допускается при условии предварительной проверки креплений расчетом. Их следует размещать на выровненных площадках, принимая меры против самопроизвольного смещения, просадки, осыпания и раскатывания.

2.3.32 Подкладки и прокладки при складировании следует располагать в одной вертикальной плоскости.

2.3.33 Подавать арматурные каркасы, бетонолитные и обсадные трубы на рабочие места необходимо в технологической последовательности, обеспечивающей безопасность работ.

3 ТРЕБОВАНИЯ К КАЧЕСТВУ И ПРИЕМКЕ РАБОТ

3.1 Требования к качеству поставляемых материалов и изделий, к качеству выполняемых работ

3.1.1 Контроль качества работ по изготовлению буронабивных свай должен производиться на всех этапах их изготовления: при бурении скважин, при производстве работ по бетонированию свай, а также по окончании изготовления свай.

Контроль осуществляется производителем работ, представителем проектной организации (авторского надзора) и заказчика с привлечением при необходимости соответствующей специализированной научно-исследовательской организации.

3.1.2 Порядок проведения контроля при бурении скважин и при подготовке их к бетонированию следующий:

- в процессе производства работ по бурению скважин производителем работ должен вестись соответствующий журнал (приложение А), записи в котором должны контролироваться представителем авторского надзора;

- при бурении скважин из каждого слоя разбуриваемых грунтов, не реже чем через 2 м по глубине, должны отбираться и маркироваться образцы грунта нарушенной или ненарушенной структуры. Способ отбора образцов грунта не регламентируется. Образцы должны сохраняться до оформления актов приемки сваи;

- по мере необходимости в процессе бурения скважин для установления соответствия данных изысканий данным, полученным при бурении скважины, в порядке авторского надзора должны производиться освидетельствования грунтов представителем организации, производившей инженерно-геологические изыскания на строительной площадке;

- в процессе бурения необходимо осуществлять постоянный контроль за положением режущего наконечника обсадных труб относительно рабочего органа в зависимости от характера разбуриваемых пород;

- по окончании бурения должны быть проконтролированы глубина скважины и качество зачистки забоя скважины путем медленного опускания на забой рабочего органа и пробного забора бурового шлама со дна скважины. Этот вид контроля должен осуществляться в присутствии производителя работ и представителя авторского надзора.

3.1.3 При бетонировании скважин принят следующий порядок контроля:

- в процессе производства работ по установке в скважину арматурного каркаса и ее бетонированию производителем работ должен вестись соответствующий журнал (приложение А), записи в котором должны контролироваться представителем авторского надзора;

- в процессе изготовления армированных буронабивных свай должны проверяться и актироваться готовность пробуренной скважины к установке арматурного каркаса и бетонированию, соответствие изготовленного арматурного каркаса проекту, а затем и свайного поля из буронабивных свай (приложение Б);

- в целях предотвращения подъема и смещения в плане арматурного каркаса укладываемой бетонной смесью и в процессе извлечения бетонолитной или обсадной трубы, а также во всех случаях армирования не на полную глубину скважины каркас необходимо закрепить в проектном положении;

- перед началом работ по бетонированию скважины должна быть проверена герметичность стыков бетонолитной трубы;

- в процессе бетонирования постоянному контролю подлежат: подвижность бетонной смеси; интенсивность ее укладки; уровни бетонной смеси в бетонолитной трубе и в скважине; уровни нижних концов бетонолитной и обсадной трубы (режущего наконечника) с целью соблюдения указаний пп. 2.3.20 и 2.3.22 о минимальном заглублении обсадной и бетонолитной труб в бетон, а в зимних условиях - температура бетонной смеси;

- в процессе бетонирования скважины необходимо тщательно контролировать соответствие объема уложенной бетонной смеси и объема столба бетона в обсадной трубе;

- соответствие бетонной смеси заданной марке должно проверяться производителем работ по паспорту бетонного завода;

- подвижность бетонной смеси должна контролироваться по осадке нормального конуса в соответствие с ГОСТ 10181.1-81 путем отбора проб бетонной смеси, взятых при укладке в скважину первой ее порции и затем по окончании укладки каждых 5 м3;

- качество укладки бетонной смеси в скважину рекомендуется контролировать методом гамма-каротажа с использованием приборов типа СП (свайный плотномер). При наличии указанного прибора такому контролю следует подвергать не менее 10 % общего количества изготавливаемых буронабивных свай. Контроль качества укладки бетонной смеси в скважину этим способом должен производиться специально обученным персоналом, имеющим удостоверение на право выполнения таких работ;

- время начала и конца бетонирования должно фиксироваться в соответствующем журнале работ. Там же фиксируются вынужденные перерывы в бетонировании, их причины и продолжительность;

- при электропрогреве температура бетона в оголовке сваи измеряется техническими термометрами или термисторами типа ММТ-4, закладываемыми в бетон.

В течение первых 4 ч после начала прогрева температуру следует измерять через каждый час, а в период изотермического прогрева и остывания - в соответствии с указаниями главы СНиП 3.03.01-87, п. 2.62.

В период прогревания следует контролировать соответствие фактического режима твердения бетонной смеси. Результаты замеров температур должны фиксироваться в рабочих журналах.

3.1.4 Проведение контроля качества бетона производится в следующем порядке:

- контроль качества бетонной смеси, укладываемой в скважину, осуществляется путем отбора проб из каждой поступающей на строительную площадку партии бетонной смеси с изготовлением из них не менее чем трех контрольных кубиков и последующим их испытанием на сжатие. Набор прочности кубиками должен осуществляться в условиях, соответствующих условиям твердения бетона в стволе буронабивной сваи, что достигается путем их хранения в отдельно пробуренной скважине на специальном поддоне при этом уровень, на котором хранятся кубики в скважине, определяется примерным положением в стволе сваи партии бетона, из которой они отобраны. Контрольные кубики должны быть испытаны в 7- и 28-дневном возрасте согласно ГОСТ 10180-90;

- за браковочный минимум при оценке результатов испытаний контрольных кубиков бетона (при марке бетона В 15) следует принимать: для 7-дневного возраста - 5 МПа (50 кгс/см2); для 28-дневного возраста - 15 МПа (150 кгс/см2);

- качество бетона в буронабивных сваях должно проверяться склерометрическим методом и методом контрольного разбуривания с отбором кернов и их последующим испытанием согласно ГОСТ 10180-90. Вместо последнего метода контроль качества бетона может осуществляться также методом скоростного разбуривания ствола сваи, основанным на зависимости скорости бурения от прочности разбуриваемого бетона;

- число свай, подвергающихся испытаниям склерометрическим методом, должно составлять не менее 10 % общего числа свай в фундаменте сооружения. Контрольному бурению должно подвергаться 2 % общего числа, но не менее трех однотипных свай;

- выбуривание кернов в буронабивных сваях должно производиться в возрасте бетона не менее 28 суток коронками диаметром 110 мм. В намеченной для контрольного разбуривания свае бурится одна вертикальная скважина на глубину 0,5 м ниже подошвы сваи. При этом следует производить описание выбуренных кернов и составлять колонку скважины с указанием длины кернов, выхода керна в процентах пористости и других признаков, характеризующих состояние бетона. Выбуренные керны, имеющие длину равную или больше их диаметра, испытываются на сжатие;

- при наличии дефектов в бетоне или при малом выходе керна представителем проектной организации может быть назначена проверка плотности бетона путем опрессовки;

- в соответствии с ГОСТ 5686-94* на каждой строительной площадке с целью проверки несущей способности буронабивных свай по материалу и грунту должны назначаться статические испытания свай. Испытаниям должны подвергаться 2 % общего числа свай в фундаменте, но не менее двух однотипных свай. Включение испытуемых свай в число рабочих допускается при наличии специального заключения соответствующей научно-исследовательской организации.

3.1.5 Допускается не проводить статических испытаний буронабивных свай в тех случаях, когда в районе строительства проводились испытания подобных свай в аналогичных грунтовых условиях.

3.1.6 Приемочный контроль качества выполненных работ по изготовлению буронабивных свай должен производиться до начала устройства ростверков на основании следующих материалов:

- проекта свайных фундаментов с планом расположения буронабивных свай;

- актов приемки материалов;

- актов лабораторных испытаний контрольных бетонных кубиков, изготовленных как на заводе, так и на строительной площадке;

- актов контрольной проверки качества укладки бетонной смеси в скважину, выполненной методом гамма-каротажа;

- актов лабораторных испытаний бетонных кернов, выбуренных из стволов буронабивных свай;

- акта и заключения по проведенным статическим испытаниям опытных буронабивных свай;

- исполнительной схемы расположения осей выполненных буронабивных свай с указанием отклонений от проектного положения в плане и результатов нивелировки оголовков свай;

- актов на скрытые работы;

- журналов изготовления буронабивных свай.

При приемке изготовленных буронабивных свай должно проверяться соответствие выполненных работ требованиям проекта, СНиП и настоящей технологической карты с составлением акта, в котором должны быть отмечены все выявленные дефекты и предусмотрены способы их устранения.

3.2 Схемы операционного контроля качества

3.2.1 Правильность разбивки осей сооружения следует систематически контролировать в процессе производства работ, а также в каждом случае смещения точек, закрепляющих оси.

3.2.2 Для контроля правильности отложения расстояний делают повторные контрольные замеры в обратном направлении между точками, соответствующими поперечным и продольным осям рядов свай. Контрольные операции, проводимые при разбивке свайного поля, приведены в таблице 2.

Таблица 2 - Контрольные операции по разбивке свайного поля

Кто контролирует

Мастер или прораб

Операции, подлежащие контролю

Операции по разбивке свайного поля

Состав контроля (что контролировать)

Разбивка осей рядов свай от главных осей зданий или сооружения на дне котлована

Закрепление на поверхности земли центров свай забивкой проволочных штырей (арматурных стержней)

Правильность разбивки свайных рядов здания или сооружения от проектного положения

Способ контроля

Визуально, линейными измерениями, стальной рулеткой

Визуально, линейными измерениями, стальной рулеткой

Визуально, линейными измерениями, стальной рулеткой

Сроки контроля

В период разбивки свайного поля

Кто привлекается к проверке

Геодезист

Наличие акта на скрытые работы (+)

-

-

+

3.2.3 По окончании бурения следует проверить соответствие проекту фактические размеры скважин, отметки их устья, забоя и расположение каждой скважины в плане, а также установить соответствие типа грунта основания данным инженерно-геологических изысканий (при необходимости с привлечением геолога).

3.2.4 При бетонировании насухо перед установкой арматурного каркаса и после должно быть произведено освидетельствование скважины на наличие рыхлого грунта в забое, осыпей, вывалов, воды и шлама.

3.3 Технологические процессы, подлежащие контролю.

Таблица 3 - Перечень технологических процессов, подлежащих обязательному контролю при изготовлении буронабивных свай

Технологический процесс

Ответственный за выполнение работ

Состав операционного контроля

Метод и средства контроля

Время контроля

Контролирующее лицо

Документация

Составитель документа

1

2

3

4

5

6

7

8

1. Подготовительные работы

Планировочные работы

Бригадир, мастер

Проверка и устранение неровностей рабочей площадки

Визуально, нивелир

В процессе работ

Ведущий мастер, сменный технолог

Журнал производства работ

Мастер

Вынос опорных точек и разбивочных осей свай в натуру

Маркшейдер

Проверка соответствия разбивки осей свай проекту и привязка к опорной геодезической сети (наличие и сохранность разбивочных знаков)

Осмотр на местности, сравнение с разбивочной схемой или проектом выноса в натуру, проверка геодезическим инструментом

При получении документации от заказчика перед началом работы

Маркшейдер, представитель технического надзора заказчика

Акт приемки разбивки осей свай

Мастер, маркшейдер

2. Бурение скважины

Бурение скважины

Мастер, бригадир

Тангенс угла отклонения вертикальной оси скважины от проектного положения не должен превышать 1/100 (отклонения стены скважины от положения отвеса не должны превышать 10 см на каждые 10 м глубины скважины)

Визуально, стальной метр, отвес

В процессе бурения и после окончания

Ведущий мастер, сменный технолог

Журнал изготовления буронабивных свай

Мастер

Бурение скважины с погружением инвентарной обсадной трубы

Бригадир, мастер

Точность погружения обсадной трубы на проектную отметку

Визуально, стальной метр, отвес

В процессе бурения и после окончания

Ведущий мастер, сменный технолог

Журнал изготовления буронабивных свай

Мастер

Зачистка дна скважины

Мастер

Тщательность зачистки дна скважины

Визуально

По окончании бурения скважины

Ведущий мастер, сменный технолог

Журнал изготовления буронабивных свай

Мастер

3. Изготовление и установка арматурного каркаса в обсадную трубу

Изготовление каркасов

Мастер, лаборант строительной лаборатории

Точность раскладки заготовленных стержней в шаблоне по разметке. Выверка собранных каркасов по чертежам. Контроль качества сварных швов

Визуально, стальной метр, шаблон, лабораторные испытания

Во время изготовления каркасов

Ведущий мастер, строительная лаборатория, сменный технолог, технический надзор заказчика

Запись в журнале арматурных работ, акт освидетельствования арматурных каркасов

Мастер, лаборант

Установка арматурного каркаса в обсадную трубу

Мастер

Точность установки в проектное положение арматурного каркаса. Соответствие допусков проектным. Проверка качества сварки в стыковочных элементах

Визуально, отвес

Во время установки, после окончания монтажа каркаса

Ведущий мастер, сменный технолог

Журнал изготовления буронабивных свай, акт освидетельствования арматурного каркаса

Мастер

4. Бетонирование скважины

Сборка секций вертикально перемещающихся труб (ВПТ) из звеньев

Мастер

Контроль герметичности стыков труб. Бетонолитные трубы должны быть оборудованы предохранительным клапаном, соединения труб должны быть герметичными и быстроразъемными

Визуально

До начала установки ВПТ в обсадную трубу

Ведущий мастер, сменный технолог

Журнал изготовления буронабивных свай

Мастер

Установка ВПТ в обсадную трубу

Мастер

Точность установки ВПТ в проектное положение

Визуально

До начала бетонирования

Ведущий мастер, сменный технолог

Журнал изготовления буронабивных свай

Мастер

Заполнение бетоном скважины

Мастер, лаборант строительной лаборатории

Марка и консистенция бетона. Объем уложенного бетона, непрерывность бетонирования и температура бетонной смеси (в зимних условиях). Уровень бетонной смеси в воронке. Бетонирование захватки производится непрерывно до прекращения прохождения смеси, после чего бункер вместе с бетонолитной трубой поднимается, затем демонтируется необходимое количество секций бетонолитной трубы и снова устанавливается бункер и продолжается бетонирование захватки. Нижний конец бетонолитной трубы во время бетонирования и демонтажа труб должен быть заглублен.

Лабораторные испытания

В процессе бетонирования

Ведущий мастер, строительная лаборатория, сменный технолог

Журнал изготовления буронабивных свай

Мастер

Выдерживание бетона в скважине

Ведущий мастер, бригадир, лаборант строительной лаборатории

Температурно-влажностный режим твердения бетона

Термометр

В процессе бетонирования и во время твердения бетона

Строительная лаборатория, сменный технолог

Запись в журнале изготовления свай

Мастер

5. Отклонения положения оголовков свай

Устройство оголовков свай

Мастер, бригадир

Проверка отклонения оголовков свай от проектного положения по вертикали допускается в сторону завышения отметки оголовка до 10 см, а в сторону занижения - 20 см

Нивелир

При изготовлении оголовков свай

Ведущий мастер, сменный технолог

Журнал изготовления буронабивных свай

Мастер

Заделка оголовков свай в бетон ростверка (без учета подготовки)

Мастер, бригадир

Проверка толщины слоя бетона заделки оголовка свай

Нивелир, стальной метр

При заделке оголовков свай и устройстве бетонной подготовки

Ведущий мастер, сменный технолог

Журнал изготовления буронабивных свай

Мастер

4 ТРЕБОВАНИЯ ТЕХНИКИ БЕЗОПАСНОСТИ И ОХРАНЫ ТРУДА, ЭКОЛОГИЧЕСКОЙ И ПОЖАРНОЙ БЕЗОПАСНОСТИ

4.1 При устройстве ограждений из буронабивных свай охрана труда и техника безопасности должны соблюдаться в соответствии с требованиями СНиП 12-03-2001, СНиП III-4-80* и нормативных актов организаций, требования которых не должны противоречить СНиП.

(Измененная редакция, Изм. № 1).

4.2 Работы по устройству ограждений из буронабивных свай должны выполняться под руководством руководителей работ (начальника участка, прораба, мастера), назначенных приказом. На них также возлагается ответственность за выполнение мероприятий по технике безопасности и промсанитарии, охране труда, экологической и пожарной безопасности.

4.3 На местах производства работ должны быть вывешены плакаты с графическим изображением схем строповки сборных элементов, а также таблица масс поднимаемых грузов и предельных вылетов крана.

4.4 На границах опасных зон должны быть установлены предохранительные защитные и сигнальные ограждения, а также знаки безопасности (п. 4.11, СНиП 12-03-2001), хорошо видимые в любое время суток. Находиться в этих зонах посторонним лицам запрещается.

Границы опасных зон (приложение «Г» СНиП 12-03-2001) в местах , над которыми происходит перемещение грузов подъёмными кранами, а также вблизи строящегося здания принимаются от крайней точки горизонтальной проекции наружного наименьшего габарита перемещаемого груза или стены здания с прибавлением наибольшего габаритного размера перемещаемого (падающего) груза и минимального расстояния отлёта груза при его падении и может быть выражено формулой:

Rоп.з. = Rвыл. + 0,5Вгр. + Lгр. + А,

где Rвыл. - вылет стелы, м;

Вгр. - наименьший габарит перемещаемого груза;

Lгр. - наибольший габаритный размер перемещаемого (падающего) груза;

А - минимальное расстояние отлёта груза при его падении.

(Измененная редакция, Изм. № 1).

4.5 Экскаватор и бурильные машины должны устанавливаться на спланированной площадке. Запрещается производить какие-либо работы и находиться людям вблизи движущихся частей и рабочих органов машины, в границах опасной зоны, ограниченной радиусом действия, увеличенным на 5 м. Погрузка грунта в автосамосвалы при помощи экскаватора должна производиться со стороны заднего или бокового борта.

4.6 Конструктивные элементы (дорожные плиты, секции обсадных труб, арматурные каркасы и др.) во время перемещения должны удерживаться от раскачивания и вращения оттяжками из пенькового каната. При этом рабочим следует находиться вне контура устанавливаемого элемента (груза) со стороны, противоположной подаче их краном. Поданный элемент опускают над местом его установки не более чем на 0,3 м проектной отметки, после чего рабочие наводят его на место установки. После опускания конструктивного элемента в проектное положение и его надежного закрепления разрешается снять строповочные приспособления и приступить к очередным операциям.

4.7 Производство буровых работ вблизи подземных коммуникаций, а также в местах обнаружения взрывоопасных материалов или в местах с патогенным заражением почвы, допускается только при выполнении следующих условий:

- перед началом производства земляных работ на участках с возможным патогенным заражением почвы (свалка, кладбище, скотомогильники и т.п.) необходимо разрешение органов Государственного санитарного надзора;

- при обнаружении взрывоопасных материалов земляные работы в этих местах следует немедленно прекратить до получения разрешения от соответствующих органов.

4.8 Монтаж, демонтаж и перемещение буровых машин следует выполнять в соответствии с технологическими картами под непосредственным руководством лиц, ответственных за безопасное выполнение указанных работ.

4.9 Монтаж, демонтаж и перемещение буровых машин при ветре 15 м/с и более или грозе не допускается.

4.10 Перед подъемом конструкций буровой машины все ее элементы должны быть надежно закреплены, а инструмент и незакрепленные предметы удалены.

При подъеме конструкции, собранной в горизонтальном положении, должны быть прекращены все другие работы в радиусе, равном длине конструкции плюс 5 м.

4.11 Техническое состояние буровых машин (надежность крепления узлов, исправность связей и рабочих настилов) необходимо проверять перед началом каждой смены.

4.12 Каждая буровая машина должна быть оборудована звуковой сигнализацией. Перед пуском ее в действие необходимо подавать звуковой сигнал.

4.13 Для обеспечения безопасности эксплуатации буровой машины на ней должен быть установлен ограничитель высоты подъема бурового инструмента или грузозахватного приспособления.

4.14 Не разрешается работать буровым инструментом с незавернутыми до конца и незакрепленными резьбовыми соединениями.

4.15 В период спуска и извлечения обсадных труб лица, непосредственно не участвующие в выполнении данных работ, к буровой машине на расстояние менее полуторной ее высоты не допускаются.

4.16 Перед началом осмотра, смазки, чистки или устранения каких-либо неисправностей буровой машины буровой инструмент должен быть поставлен в устойчивое положение, а двигатель выключен.

4.17 Пробуренные скважины при прекращении работ должны быть надежно закрыты щитами или ограждены. На щитах и ограждениях должны быть установлены предупредительные знаки и сигнальное освещение.

4.18 Передвижение буровой машины должно производиться по спланированной площадке при опущенном рабочем органе.

4.19 Пожарную безопасность на строительной площадке, участках работ и рабочих местах следует обеспечивать в соответствии с требованиями «Правил пожарной безопасности в Российской Федерации» ППБ 01-93**.

(Измененная редакция, Изм. № 1).

4.20 Электробезопасность на строительной площадке, участках работ и рабочих местах должна соответствовать требованиям СНиП 12-03-2001.

(Измененная редакция, Изм. № 1).

4.21 На территории строящихся и реконструируемых объектов не допускается непредусмотренное проектной документацией сведение древесно-кустарниковой растительности и засыпка грунтом корневых шеек и стволов растущих деревьев и кустарника. Сохраняемые деревья должны быть ограждены.

4.22 В зоне производства планировочных работ растительный слой должен предварительно сниматься и складываться в специально отведенных местах с последующим использованием для рекультивации земель.

4.23 Запрещается применение оборудования, являющегося источником выделения вредных веществ в атмосферный воздух, почву и водоемы и повышенных уровней шума и вибрации.

4.24 На участке чистки и мойки обсадных и бетонолитных труб рекомендуется организовать оборотное водоснабжение, при этом должен быть организован сбор тяжелых взвесей (цементного молока, песка, глины и т.д.), которые должны быть вывезены со строительной площадки.

4.25 Выпуск воды со стройплощадок непосредственно на склоны без надлежащей защиты от размыва не допускается. Производственные и бытовые стоки, образующиеся на стройплощадке, должны очищаться и обезвреживаться согласно указаниям ПОС и ППР.

4.26 Поверхность земли на территории стройплощадки после окончания всех работ должна соответствовать проектным отметкам, указанным в ППР, и засеяна газонной травой, а также должны быть высажены зеленые насаждения, кустарники и деревья.

4.27 Предельно допустимые концентрации вредных веществ в воздухе рабочей зоны, а также уровни шума и вибрации на рабочих местах не должны превышать установленных ГОСТ 12.1.003-83*, ГОСТ 12.1.005-88, ГОСТ 12.1.012-90.

Контроль за соответствием гигиенических нормативов условий труда следует осуществлять при проведении аттестации рабочих мест по условиям труда в соответствии с Положением о порядке проведения аттестации рабочих мест по условиям труда.

4.28 В сложившихся стесненных условиях производства работ в г. Москве необходимо осуществлять мероприятия и работы по охране окружающей природной среды согласно «Правилам производства земляных и строительных работ, прокладки и переустройства инженерных сетей и коммуникаций в г. Москве» (Постановление правительства Москвы от 08.08.2000 г., № 603).

(Измененная редакция, Изм. № 1).

5 ПОТРЕБНОСТЬ В МАТЕРИАЛЬНО-ТЕХНИЧЕСКИХ РЕСУРСАХ

5.1 Потребность в машинах и оборудовании.

5.1.1 Основными машинами, используемыми для устройства ограждений из буронабивных свай, являются бурильные и бурильно-крановые машины, буровые установки.

5.1.2 В зависимости от глубины бурения и массы бурильные машины условно подразделяют на: легкие - с глубиной бурения до 5 м; средние - с глубиной бурения до 20 м; тяжелые - с глубиной бурения свыше 20 м.

5.1.3 В таблицах 4, 5 и 6 приведены технические характеристики различных видов бурильного оборудования, по которым можно подобрать машину для конкретных условий устройства ограждений из буронабивных свай.

Таблица 4 - Техническая характеристика средних и тяжелых бурильных машин

Показатель

Средние

Тяжелые

БКМ-1501

БМ-2001

БМ-2002

БМ-3002

БМ-4001

Глубина бурения, м

15

20

30

40

Диаметр скважины, м

0,35; 0,5;

0,63; 1,0

0,63; 1,0

1,0; 1,2;

1,2; 1,5;

0,63

1,2

1,5

1,7

Угол бурения, ...°

90

78 ... 0

Мощность привода машины, кВт

114

125

96

114

74

Максимальный вращающий момент на буре, кН·м

14,7

20,0

66,1

114

74

Частота вращения бура, с-1

0,83 ... 2,0

0,83 ... 1,33

0,16... 1,0

0 ... 0,81

0,28

Осевая нагрузка на буре, кН

100

120

170

200

200

Состав комплекта бурильного инструмента

Шнековые буры и ковшовые буры

Шнековые и ковшовые буры, расширитель

Шнековые и ковшовые буры, расширитель, ударное долото, грейфер

Характеристика механизма обсадки труб:

 

 

 

 

 

усилие погружения, кН

-

-

170

263

220

усилие извлечения, кН

-

-

940

979

970

вращающий момент на обсадной трубе, кН м

-

-

450

696

805

угол качания, ...°

-

-

22

22

22

ход подачи, мм

-

-

360

360

360

масса, т

-

-

7,5

9,0

11,6

Техническая производительность бурения, м/ч

9 ... 15

12 ... 18

7 ... 30

5,7 ... 16,0

3,1

Масса машины без механизма обсадки труб, т

23,4

48,0

36,43

60

70

Базовая машина

Автомобиль КрАЗ-250

Экскаватор

ЭО-5122

ЭО-4125

ЭО-5117

ЭО-6122

(ЭО-5123)

5.1.4 Средние и тяжелые машины комплектуют набором бурильного инструмента, основными видами которого являются шнековый и ковшовый буры, оснащаемые также резцами и забурником. Бурение шнековым буром, в зависимости от конструкции машины и глубины скважины, может осуществляться как непрерывно на всю глубину скважины, так и циклично в грунтах, устойчивых к обрушению. Ковшовый бур и грейфер применяют преимущественно в сыпучих грунтах при бурении с использованием обсадных труб. Конструкция ковшового бура предусматривает возможность разгрузки путем механического открытия днища.

Таблица 5 - Технические характеристики установок для бурения скважин

Показатель

СО-2

СО-1200

МБС-1,7

БСО-1

Диаметр скважины, мм

500 - 600

800 - 1500

До 1700

1020

Диаметр уширения основания, мм

1600

3000

-

-

Максимальная глубина бурения, м

31

24

28

30

Мощность привода, кВт

55

75

90

7,5

Частота вращения двигателя, мин.-1

1460

740

-

-

То же бурового инструмента, мин.-1

43

24

8,4

23

Скорость бурения скважины, м/ч

До 10

До 7

-

До 5

Масса навесного оборудования, т

12,6

13,7

-

47

Габариты в рабочем положении, м

11´3,2´23

10´3,8´30

-

10,2´3,2´15

Базовая машина

Э-1252

МКГ-25

Э-1258Б

Э-1252Б

Масса, т

38,3

43,2

62,27

88,0

Таблица 6 - Буровые установки ударного действия

Показатель

УКС-22М

УКС-30М

БС-1М

Глубина бурения, м

30,0

50,0

30,0

Наибольший диаметр бурения, мм

600

900

300

Скорость передвижения станка, км/ч:

 

 

 

при буксировки по шоссе

20

20

-

своим ходом

-

-

0,9

Мощность электродвигателя, кВт

20

60

55; 75

Масса бурового инструмента, кг

1300

2500

2000; 3000

Напряжение, В

220/380

220/380

380

Число ударов бурового инструмента в мин.

40 - 50

40 - 50

48 - 52

Скорость подъема бурового инструмента, м/с

1,1 - 1,5

1,1 - 1,4

0,9

Грузоподъемность барабана, кг

2000

3000

5000

Диаметр каната, мм:

 

 

 

бурового инструмента

21,5

26

30

челночного

12,5

17,5

15,5

Высота мачты, м

12,5

16

15

Канатоемкость барабана, м:

 

 

 

инструментального

350

500

-

желоночного

350

500

-

пылевого

135

210

-

Грузоподъемность мачты, т

12

25

-

Габариты, мм:

 

 

 

длина в транспортном положении

8670

10000

8860

длина в рабочем положении

5800

8400

7065

ширина

2290

2640

3460

высота в транспортном положении

2750

3400

3800

высота в рабочем положении

12700

16300

15050

Масса, т

7,6

13

24

Вид применяемого бурильного инструмента зависит от геологических условий строительной площадки.

5.1.5 Для изготовления буронабивных свай с уширенной пятой в комплект инструментов средних и тяжелых машин включают расширители - буры с выдвигаемыми боковыми режущими элементами. Машины тяжелого типа, как правило, оснащают ударными долотами для бурения валунных, гравийно-галечниковых отложений и скальных пропластков.

5.1.6 Для бурения скважин диаметром от 0,5 до 1,7 м применяют установки, оснащенные шнековым буром СО-2, роторной желонкой СО-1200, МБС-1,7, БСО-1 (таблица 5), ударным грейфером СП-45.

5.1.7 Для этих же целей используют:

отечественные

- буровые установки ударного действия (таблица 6): УКС-22М; УКС-30М; БС-1М;

- агрегаты: УРБ-3АМ; СБУ-2; ЛБУ-50А;

- бурильно-крановые машины: БМ-302А; БМ-305; БМ-8020; БКМ-1501; БМ-3001; БМ-2000.

импортные*: - буровые установки: «Като» (Япония), «Баде» и «Зальцгиттер» (Германия), ВSР и «Мак-Алпайн», «Колвелд Дрил» (США), «Соилмек» (Италия), «Беното» (Франция).

* Технические характеристики импортных машин приводятся в «Методическом пособии по устройству ограждений из буронабивных свай», т.к. некоторые машины имеются в отечественных строительных организациях.

5.2 Потребность в оборудовании, технологической оснастке, инструменте и приспособлениях.

5.2.1 Для устройства ограждений из буронабивных свай, кроме бурового оборудования, необходимы машины, механизмы и оборудование, приведенные в таблице 7, а также технологическая оснастка, инструменты, инвентарь и приспособления по таблице 8.

Таблица 7 - Перечень машин, механизмов и оборудования

п/п

Наименование машин, механизмов и оборудования

Тип, марка

Техническая характеристика

Назначение

Кол. на звено (бригаду), шт.

1

2

3

4

5

6

1

Буровая машина

 

См. табл. 4 - 6

Предназначена для бурения скважин, погружения и извлечения обсадных труб и т.д.

1

2

Комплект бурильного инструмента

 

 

Предназначен для бурения скважин для устройства буронабивных свай.

1

3

Автомобильный кран

КС-3577

Грузоподъемность, т     12,5

Длина стрелы, м           8 - 14

Удлинитель, м               2

Гусек, м                       7

Шасси:                         МАЗ-5334

Предназначен для разгрузки и укладки дорожных плит в дело, а также для разгрузки секций инвентарных обсадных и бетонолитных труб, разгрузки элементов арматурных каркасов буронабивных свай длиной 5 и 10 м, подачи арматурных каркасов в скважину и др.

1

4

Экскаватор одноковшовый с обратной лопатой

эо-2626

Шасси: МТ3-80 или МТ3-50

Мощность, кВт              55

Вместимость ковша обратной лопаты, м3                                 0,28

Масса, кг                     7500

Предназначен для разработки грунта приямков под монолитную железобетонную форшахту и для погрузки грунта в автосамосвалы

1

5

Автомобиль-самосвал

ЗИЛ-4508

Грузоподъемность, кг   5500

Вместимость платформы, м3      3,8

Мощность двигателя, кВт     136 (185 л.с.)

Максимальная скорость, км/ч   90

Полная масса, кг           11815

Предназначен для перевозки грунта со строительной площадки при устройстве форшахты и бурении скважин

В зависимости от дальности перевозки

6

Бортовой автомобиль

ЗИЛ-432900

Грузоподъемность, кг   6000

Мощность, кВт (л.с.)     77(105),

Максимальная скорость, км/ч   80

Полная масса, кг           11000

Предназначен для перевозки различных грузов по всем видам дорог и местности

1

7

Автобетононасос

СБ-170-1

Шасси - КамАЗ-53213

Тип привода - гидравлический

Мощность привода, кВт   95

Подача, м3                65

Диаметр бетоновода, мм 120

Масса, кг                     16500

Предназначен для приема бетонной смеси и транспортирования ее к месту укладки с помощью бетонораспределительной стрелы

1

8

Автоцистерна

АЦПТ-6,5

Шасси - УРАЛ-5557-10

Вместимость цистерны, л     6500

Максимальная скорость, км/ч   75

Полная масса, кг           16440

Предназначена для перевозки питьевой воды по всем видам дорог и местности, имеет термоизоляцию

1

9

Автобетоносмеситель

СБ-216

Геометрический объем смесительного барабана, м3                  10

Емкость смесительного барабана по выходу готовой бетонной смеси, м3                                     5 ÷ 6

Темп выгрузки, м3/мин: 0,5 - 2

Базовый автомобиль КАМАЗ-5410

Предназначен для доставки и подачи бетонной смеси в тело сваи

В зависимости от дальности перевозки

10

Приемная воронка

 

 

Предназначена для приема бетона в бетонолитную трубу

1

11

Вибратор ручной глубинный электрический с гибким валом

ИВ-117 или ИВ-117А

Длина вибронаконечника, мм    410

Длина гибкого вала, мм 3005

Мощность, кВт              0,8

Напряжение питания, В ~ 40

Частота тока, Гц            50

Масса, кг                     31,5

Предназначен для уплотнения бетона

3

12

Трансформатор для подключения вибратора

ТСЗИ-2,5

Мощность, кВт              2,5

Масса, кг                     41

Предназначен для питания вибраторов

1

13

Трансформатор сварочный общепромышленного назначения

СТ-500

Напряжение питания, В 380

Пределы регулирования сварочного тока, А                          100 - 500

Номинальный сварочный ток, А     500

Диаметр электрода, мм 3 - 8

Продолжительность включения, %                                     35

Размеры, мм:

длина                            560

ширина                         570

высота                          700

Масса, кг                     155

Предназначен для питания сварочной дуги при сварке арматуры

1

14

Устройство для свинчивания обсадных труб

 

 

Предназначено для свинчивания и развинчивания обсадных труб диаметром 800 мм

 

Таблица 8 - Перечень технологической оснастки, инструмента, инвентаря и приспособлений

№ п/п

Наименование оснастки, инструмента, инвентаря и приспособлений

Марка, ГОСТ, ТУ или организация-разработчик, номер рабочего чертежа

Техническая характеристика

Назначение

Кол. на звено (бригаду), шт.

1

2

3

4

5

6

1

Инвентарная металлическая опалубка для оголовков буронабивных свай в виде обечаек

 

Диаметр обечаек, мм 850

Длина, мм                  500

Толщина, мм              6

Предназначена для использования в качестве опалубки при устройстве монолитного оголовка и является кондуктором при бурении

Один на сваю

2

Обсадные трубы инвентарные

 

Длина труб, м             2, 4 и 6

Предназначены для обсадки скважины

Один комплект

3

Приемный бункер

 

 

Предназначен для приема бетона из автобетоносмесителя и направления смеси в бетонолитную трубу

1

4

Бетонолитные трубы

 

Диаметр труб, мм       250 ÷ 325

Предназначены для направления бетонной смеси в буровую скважину

Один комплект

5

Машина ручная сверлильная Насадка - щетка

ИЭ-1202

Мощность, Вт             210

Род тока - переменный

Напряжение, В            220

Частота тока, Гц          50

Масса, кг                   1,85

Предназначена для механизированной очистки обсадных труб

1

6

Щетка ручная

 

 

Предназначена для ручной очистки обсадных труб

3

7

Лопата штыковая

 

 

Предназначена для зачистки грунта у буровых скважин

5

8

Лопата совковая

 

 

Предназначена для подбора бетонной смеси

5

9

Строп двухветвевой

2СК-1,6

Грузоподъемность, т   1,6

Длина, м                    1,1

Предназначен для подачи армокаркасов в буровую скважину

1

ГОСТ 25573-82*

10

Строп двухветвевой

2СК-5,0

Грузоподъемность, т   5,0

Длина, м                    2,5

Предназначен для погрузочно-разгрузочных работ

1

ГОСТ 25573-82*

11

Теодолит (с комплектом принадлежностей)

Т2

 

Предназначен для измерения горизонтальных и вертикальных углов (зенитных расстояний)

1

ГОСТ 10529-86

12

Нивелир (с комплектом принадлежностей)

Н-5КЛ

 

Предназначен для определения превышений методом геометрического нивелирования по вертикальным рейкам

1

ГОСТ 10528-90

13

Метр стальной

 

 

Предназначен для линейных измерений

1

14

Прибор для контроля качества укладки бетонной смеси (свайный плотномер)

Типа СП

 

Предназначен для контроля качества укладки бетонной смеси

1

15

Специальная мерная нить

 

Длина, м                    50

Предназначена для определения глубины пробуренной скважины

1

16

Лот

 

Масса, кг                   3

Предназначен для создания натяжения мерной нити при определении глубины скважины

1

5.3 Потребность в материалах, изделиях и конструкциях.

5.3.1 Потребность в материалах, изделиях и конструкциях приведена в таблице 9.

Таблица 9 - Ведомость потребности в материалах, изделиях и конструкциях

№ п/п

Наименование материалов, изделий и конструкций (марка, ГОСТ, ТУ)

Ед. изм.

Объем работ в нормативных единицах

Потребность на измеритель конечной продукции*

 

Для свай

 

 

 

1

Армокаркас

шт./т

1

0,56

1

0,56

2

Бетонная смесь

м3

5,6

5,6

3

Трубы обсадные Ø 800 м

м/т

14

0,49

14

0,49

4

Трубы бетонолитные Ø 250 - 325 мм

м/т

14

1,12

14

1,12

5

Трубы для временного водопровода

м

5

5

6

Железобетонные дорожные плиты размерами 3´1,2´0,6 м

шт.

4

4

* Измерителем конечной продукции является одна буронабивная свая Ø 800 мм, длиной 14 м

6 ТЕХНИКО-ЭКОНОМИЧЕСКИЕ ПОКАЗАТЕЛИ

6.1 Затраты труда и машинного времени на устройство ограждений из буронабивных свай диаметром 800 мм при шаге 3000 мм, глубиной 14 м, объемом 7,03 м3 каждая подсчитаны (таблица 10) по действующим «Единым нормам и расценкам на строительные, монтажные и ремонтно-строительные работы».

6.2 В таблице 11 приводится график производства работ на устройство одной буронабивной сваи диаметром 800 мм и длиной 14 м. Группа грунтов - III.

6.3 Технология устройства буронабивных свай не позволяет совмещать работу экскаватора, буровой установки и автомобильного крана. Исключением является разгрузка, складирование и перемещение обсадных труб и арматурных каркасов в зону бурения.

6.4 Принятые составы звеньев для выполнения работ по устройству буронабивных свай приведены в таблице 11.

6.5 Технико-экономические показатели на сооружение одной буронабивной сваи определены с учетом данных таблиц 10 и 11:

- затраты труда машинистов, чел.-ч                                                        - 27,88

- затраты труда рабочих, чел.-ч                                                               - 109,29

- затраты машинного времени, маш.-ч                                                   - 27,88

- продолжительность выполнения работ, ч                                           - 27,93

При этом затраты, отнесенные к 1 м3 сваи составляют:

трудоемкость, чел.-ч                                                                            - 15,55

затраты машинного времени, маш.-ч                                                - 3,97

Из указанных затрат приходится:

на бурение:

трудоемкость, чел.-ч                                                                            - 60,6

затраты машинного времени, маш.-ч                                                 - 15,5

на бетонирование:

трудоемкость, чел.-ч                                                                            - 1,26

затраты машинного времени, маш.-ч                                                 - 0,42

Работы по изготовлению каждой сваи должны выполняться непрерывно.

Таблица 10 - Калькуляция затрат труда и машинного времени на устройство одной буронабивной сваи

Измеритель конечной продукции - 1 свая

№ п/п

Наименование технологического процесса

Ед. изм.

Объем работ

Обоснование (ЕНиР и др. нормы)

Нормы времени

Затраты труда

рабочих, чел.-ч.

машиниста, чел.-ч. (работа машин, маш.-ч.)

рабочих, чел.-ч.

машиниста, чел.-ч. (работа машин, маш.-ч)

1

2

3

4

5

6

7

8

9

1

Разработка грунта приямка для оголовка сваи экскаватором, оборудованным обратной лопатой с погрузкой в транспортные средства

100 м3 грунта

0,016

Е2-1-9 Табл. 3 № 1в

 

4,3 (4,3)

 

0,07 (0,07)

2

Установка направляющего кондуктора в приямок

1 установка

1

Е12-71 Табл. 1, № 2

0,54

0,18 (0,18)

0,54

0,18 (0,18)

3

Бетонирование форшахты

1 м3 бетона в деле

1,58

Е4-1-49, табл. 1, № 7

0,54

 

0,54

 

4

Ударный (грейферный) способ бурения: забор грунта, извлечение грейфера с грунтом из скважины, опорожнение грунта из грейфера в автосамосвал.

В том числе:

1 м скважины

14

Е12-67 Табл. 3,4

 

 

60,6

15,15 (15,15)

 

- глубина скважины до 5 м

 

5

Е12-67, табл. 3, 1

3,88

(0,97)

19,4

4,85 (4,85)

 

- глубина скважины свыше 5 м до 10 м

 

5

Е12-67 табл. 3, 2

4,4

(1,1)

22,0

5,5 (5,5)

 

- глубина скважины свыше 10 м до 15 м

 

4

Е12-67 табл. 3, 3

4,8

(1,2)

19,2

4,8 (4,8)

5

Разгрузка, складирование и перемещение обсадных труб в зону действия бурильной машины

100 т

0,015

Е1-5 №1а, б

22

11 (11)

0,33

0,16 (0,16)

6

Разгрузка, складирование и перемещение элементов арматурного каркаса в зону бурения

100 т

0,0056

Е1-5 № 1а, б

22

11 (11)

0,12

0,06 (0,06)

7

Погружение секций обсадной трубы (длиной 2, 4, 6 и 2 м)

м

14

Е12-67, Табл. 5, в

1,4

0,35 (0,35)

19,6

4,9 (4,9)

8

Установка обсадного патрубка

1 установка

1

Е12-73

0,36

(0,12)

0,36

0,12 (0,12)

9

Установка нижней секции арматурного каркаса длиной 7 м в обсадную трубу с установкой ограничителей

Секция

1

Е12-67 табл. 6, № 1

2,16

(0,54)

2,16

0,54 (0,54)

10

Наращивание арматурного каркаса, включая электросварку стыка

1 секция

1

Е12-67 табл. 6, № 2

13,6

(3,4)

13,6

3,4 (3,4)

11

Установка арматурного каркаса в скважину

1 арматурный каркас

1

Е12-72

0,48

(0,16)

0,48

0,16 (0,16)

12

Установка бетонолитной трубы

1 бетонолитная труба

3

Е12-74 № 1

0,69

(0,23)

2,07

0,69 (0,69)

13

Бетонирование сваи

1 м бетона в деле

7,03

Е12-74 № 2

0,18

(0,06)

1,26

0,42 (0,42)

14

Снятие бетонолитной трубы

1 бетонолитная труба

3

Е12-74 № 3

0,42

(0,14)

1,26

0,42 (0,42)

15

Снятие обсадного патрубка

1 снятие

1

Е12-73 № 6

0,21

(0,07)

0,21

0,07 (0,07)

16

Извлечение и снятие звеньев обсадной трубы

1 м обсадной трубы

14

Е12-67 Табл. 8

0,44

(0,11)

6,16

1,54 (1,54)

 

 

 

 

 

 

 

109,29

27,88

(27,88)


Таблица 11 - График производства работ на устройство одной буронабивной сваи

Общая продолжительность работ составляет 27,93 ч (маш.ч)


ИСПОЛЬЗОВАННАЯ ЛИТЕРАТУРА

1 АОО ПКТИпромстрой. Машины для производства земляных работ. Технические характеристики. Издание второе, переработанное и дополненное. Москва, 1996.

2 АОО ПКТИпромстрой. Стреловые самоходные краны. Технические характеристики. Часть 1. Краны автомобильные. Краны на шасси автомобильного типа. Москва, 1996.

3 ОАО ПКТИпромстрой. Методическое пособие по устройству ограждений из буронабивных свай. Москва, 2000.

4 НИИОСП им. Н.М. Герсеванова Госстроя СССР. Руководство по устройству буронабивных свай большого диаметра. Москва, Стройиздат, 1977.

5 ОАО ПКТИпромстрой. Схемы операционного контроля качества выполнения строительно-монтажных работ. Москва, 1997.

6 Приложение к журналу «Подземное пространство мира». Новое в отечественном и зарубежном строительстве. В.Е. Меркин, Л.В. Маковский. Ограждение котлованов подземных сооружений. Информационный обзор. № 2, 1995. ИНЖИНИРИНГ, МАРКЕТИНГ, РЕКЛАМА. Москва, 1995.

7 Смородинов М.И., Егоров А.И., Губанова Е.М. и др. Свайные работы. Справочник строителя. 2-е издание, переработанное и дополненное. Москва, Стройиздат, 1988.

8 Строительная, дорожная и специальная техника. Краткий справочник. Внешторгиздат. Москва, 1996.

9 Сухачев В.П., Каграманов Р.А. Средства малой механизации для производства строительно-монтажных работ. Справочник строителя. Москва. Стройиздат. 1989.

10 Строительные машины. Справочник в двух томах. Том 1. Машины для строительства промышленных, гражданских сооружений и дорог. 5-е издание, переработанное. Москва, «Машиностроение», 1991.

11 СНиП III-4-80* «Техника безопасности в строительстве».

12 СНиП 2.02.03-85 «Свайные фундаменты».

13 СНиП 3.01.01-85* «Организация строительного производства».

14 СНиП 3.01.03-84 «Геодезические работы в строительстве».

15 СНиП 3.02.01-87 «Земляные сооружения, основания и фундаменты».

16 СНиП 3.03.01-87 «Несущие и ограждающие конструкции».

17 СНиП 12-03-2001 «Безопасность труда в строительстве. Часть 1. Общие требования».

(Измененная редакция, Изм. № 1).

18 ГОСТ 10180-90 Бетоны. Методы определения прочности по контрольным образцам.

19 ГОСТ 5686-94* Сваи. Методы полевых испытаний.

20 ГОСТ 10181.1-81 Смеси бетонные. Методы определения удобоукладываемости.

21 ГОСТ 23407-78 Ограждения инвентарные строительных площадок и участков производства строительно-монтажных работ. Технические условия.

22 ГОСТ 12.1.003-83* ССБТ. Опасные и вредные производственные факторы. Классификация.

23 ГОСТ 12.1.005-88 ССБТ. Метрологическое обеспечение в области безопасности труда. Общие положения.

24 ГОСТ 12.1.012-90 ССБТ. Вибрационная безопасность. Общие требования.

25 «Правила пожарной безопасности в Российской Федерации» ППБ 01-93**.

(Измененная редакция, Изм. № 1).

26 Правила пожарной безопасности при производстве строительно-монтажных работ. ППБ-05-86.

27 «Правила устройства и безопасной эксплуатации грузоподъемных кранов» Госгортехнадзора России.

28 «Правила эксплуатации электроустановок потребителей» ПЭЭП-97.

29. «Межотраслевые правила по охране труда (правила безопасности) при эксплуатации электроустановок».

ПОТ РМ-016-2001

РД 153-34.0-03.150-00

(Новая редакция, Изм. № 1).

30. «Указания по установке и безопасной эксплуатации грузоподъёмных кранов и строительных подъёмников при разработке ПОС и ППР». ОАО ПКТИпромстрой, 2002 г.

(Новая редакция, Изм. № 1).

31 Единые нормы и расценки на строительные, монтажные и ремонтно-строительные работы. ЕНиР, 1984.

32 Организационно-технологические правила строительства (реконструкции) объектов в стесненных условиях существующей городской застройки. Управление развития генплана г. Москвы, 1998. *

33 «Правилам производства земляных и строительных работ, прокладки и переустройства инженерных сетей и коммуникаций в г. Москве» (Постановление правительства Москвы от 08.08.2000 г., № 603).

(Новая редакция, Изм. № 1).


Приложение А

(обязательное)

Форма журнала изготовления буронабивных свай (титульный лист)

Наименование строительной организации_____________________________________

Объект___________________________________________________________________

ЖУРНАЛ ИЗГОТОВЛЕНИЯ БУРОНАБИВНЫХ СВАЙ

(с №____________по №______________)

Начало_____________________                         Окончание________________________

1. Тип бурового станка_____________________________________________________

2. Тип уширителя__________________________________________________________

(последующие страницы)

№ п/п. свай по плану

Дата, смена

Диаметр скважины, м

Абсолютная отметка поверхности грунта

Бурение ствола

Разбуривание уширения (число циклов и диаметр), м

Наименование грунтов на уровне забоя

Длина арматурного каркаса, м

Марка бетона и осадка конуса

Бетонирование способом ВПТ

Общий расход бетона, м

Абсолютная отметка головы сваи

Исполнители (подписи) (прораб, буровой мастер)

Примечание

Глубина, м

Абсолютная отметка забоя скважины

Объем уложенного бетона, м3, включая уширение

Минимальное заглубление низа бетонолитной трубы в бетон, м

по проекту

фактическая

1

2

3

4

5

6

7

8

9

10

11

12

13

14

15

16

17

Примечание: 1. Ненужные графы зачеркнуть.

2. В графе 17 обязательно указать способ закрепления стенок скважин (глинистым раствором или обсадными трубами)

Исполнитель_____________________________

(Начальник участка)                              (подпись)


СВОДНАЯ ВЕДОМОСТЬ ПРОБУРЕННЫХ СКВАЖИН УНИВЕРСАЛЬНЫМИ СТАНКАМИ

№________________________________________________________________

с «____»________________200___ г. по «____»_________________200__г.

(скважины с №_____________ по №___________)

Наименование строительной организации_____________________________________

Наименование объекта_____________________________________________________

Фундамент_______________________________________________________________

Проектный диаметр скважины, мм___________________________________________

Тип бурового станка_______________________________________________________

№ п/п

Дата бурения

№ скважин по плану фундамента

Глубина скважин, м

Тип бурового инструмента

Примечание

начало

окончание

по проекту

фактически

1

2

3

4

5

6

7

8

Производитель работ________________________________

                                                            (подпись)

Мастер___________________________________

                                             (подпись)

Приложение Б

(обязательное)

Акты освидетельствования и приемки буровой скважины, арматурного каркаса и приемки свайного поля из буронабивных свай

АКТ №________

ОСВИДЕТЕЛЬСТВОВАНИЯ И ПРИЕМКИ БУРОВОЙ СКВАЖИНЫ И АРМАТУРНОГО КАРКАСА ДЛЯ БЕТОНИРОВАНИЯ СВАЙ №________

«____»______________200 _ г.

Мы, нижеподписавшиеся,_____________________________________________________

                                     (представители заказчика, генподрядчика и исполнителя работ)

___________________________________________________________________________

провели освидетельствование и приемку буровой скважины и арматурного каркаса для бетонирования свай на объекте________________________________________________

                                                                                        (наименование объекта)

При этом установлено:

1. Отметка низа сваи________________________________________________________м

2. Отметка поверхности грунта_______________________________________________м

3. Отметка горизонта грунтовых вод__________________________________________м

4. Отметка верха каркаса в скважине__________________________________________м

5. Диаметр ствола сваи______________________________________________________м

6. Конструкция каркаса:

число стержней___________________________________________________________шт.

диаметр стержней____________________мм, класс_____________________________мм

диаметр каркаса в осях рабочих стержней_____________________________________мм

На основании рассмотренных данных постановили:

1. Размеры ствола скважины соответствуют проектным.

2. Считать скважину с арматурным каркасом готовой к бетонированию.

3. Начать бетонирование не позднее «____»______________200__г.

Подписи:________________________________

                ________________________________

                ________________________________

АКТ №__________

ПРИЕМКИ СВАЙНОГО ПОЛЯ ИЗ БУРОНАБИВНЫХ СВАЙ

«____»_____________200 _ г.

Мы, нижеподписавшиеся,_____________________________________________________

___________________________________________________________________________

___________________________________________________________________________

___________________________________________________________________________

                         (представители заказчика, генподрядчика и исполнителя работ)

___________________________________________________________________________

___________________________________________________________________________

установили, что буронабивные сваи на строительной площадке_____________________

___________________________________________________________________________

                                                            (наименование объекта)

выполнены в соответствии с проектом и дополнительными указаниями проектного института.

Свайные работы выполнены с отметки__________________________________________

На данной строительной площадке разрешается приступить к устройству ростверков.

Приложение к акту:

1. Акт приемки котлована до начала работ со схемой геодезической разбивки и закрепления осей фундамента.

2. Журналы изготовления буронабивных свай.

3. Сводная ведомость буронабивных свай____________листов___________

4. Паспорта на бетонную смесь________________шт.

5. Акты лабораторных испытаний контрольных бетонных кубиков ___________шт.

6. Акты освидетельствования скважин и арматурных каркасов_________шт.

7. Исполнительная схема изготовления свай_____________________шт.

Подписи:________________________________

                ________________________________

                ________________________________

 

 




ГОСТЫ, СТРОИТЕЛЬНЫЕ и ТЕХНИЧЕСКИЕ НОРМАТИВЫ.
Некоммерческая онлайн система, содержащая все Российские Госты, национальные Стандарты и нормативы.
В Системе содержится более 150000 файлов нормативно-технической документации, действующей на территории РФ.
Система предназначена для широкого круга инженерно-технических специалистов.

Рейтинг@Mail.ru Яндекс цитирования

Copyright © www.gostrf.com, 2008 - 2026