Крупнейшая бесплатная информационно-справочная система онлайн доступа к полному собранию технических нормативно-правовых актов РФ. Огромная база технических нормативов (более 150 тысяч документов) и полное собрание национальных стандартов, аутентичное официальной базе Госстандарта. GOSTRF.com - это более 1 Терабайта бесплатной технической информации для всех пользователей интернета. Все электронные копии представленных здесь документов могут распространяться без каких-либо ограничений. Поощряется распространение информации с этого сайта на любых других ресурсах. Каждый человек имеет право на неограниченный доступ к этим документам! Каждый человек имеет право на знание требований, изложенных в данных нормативно-правовых актах!

  


 

ТИПОВЫЕ ТЕХНОЛОГИЧЕСКИЕ КАРТЫ
НА ПРОИЗВОДСТВО ОТДЕЛЬНЫХ ВИДОВ РАБОТ

ТИПОВАЯ
ТЕХНОЛОГИЧЕСКАЯ
КАРТА

НА СПЕЦИАЛЬНЫЕ СТРОИТЕЛЬНЫЕ РАБОТЫ

6547030003

814003

МОНТАЖ ЗДАНИЯ МНОГОЦЕЛЕВОГО НАЗНАЧЕНИЯ
ИЗ
ЛМК КОМПЛЕКТНОЙ ПОСТАВКИ РАЗМЕРОМ 18×60 м
С
КАРКАСОМ ИЗ ШИРОКОПОЛОЧНЫХ ДВУТАВРОВ
(ПРОЕКТ 236-01 В2)

РАЗРАБОТАНА

институтом «Оргуралсибстрой»

Главный инженер института   В.А. Шевков

Начальник отдела                      И.А. Ершов

СОГЛАСОВАНО

управление механизации и технологии строительства Госстроя СССР

Письмо от 13.12.90 г. 12-348

Введена в действие с 1.06.1991 г.

МОСКВА - 1991

1. ОБЛАСТЬ ПРИМЕНЕНИЯ

Типовая технологическая карта (ТТК) разработана на монтаж однопролётного здания многоцелевого назначения из лёгких металлических конструкций (ЛМК) комплектной поставки по проекту шифра 236-01 В2, разработанному экспериментальным конструкторским бюро НПО «Союзстройконструкция» Минуралсибстроя РСФСР в 1985 г.

ТТК выполнена в соответствии с «Методическими указаниями по разработке типовых технологических карт в строительстве» (М.: ЦНИИОМТП, 1987 г.).

ТТК разработана на измеритель конечной продукции - одно здание.

Организация и технология работ разработаны только на монтаж основных конструктивных элементов, затраты на все сопутствующие работы учтены в калькуляции.

ТТК предназначена для использования при разработке проекта производства работ (ППР) строительными подразделениями.

Привязка ТТК к конкретному объекту и условиям строительства состоит в уточнении объёмов работ, средств механизации, потребности в трудовых и материально-технических ресурсах.

Порядок привязки ТТК к местным условиям:

рассмотрение материалов карты и выбор искомого варианта;

проверка соответствия исходных данных (объёмов работ, норм, марок механизмов и т.д.) принятому варианту;

корректировка объёмов работ в соответствии с избранным вариантом производства работ и конкретным проектным решением;

пересчёт калькуляции, оценочных технико-экономических показателей и потребности в материально-технических ресурсах применительно к избранному варианту;

оформление графической части с конкретной привязкой механизмов, оборудования и приспособлений в соответствии с их фактическими габаритами.

Краткая характеристика объёмно-планировочного и конструктивного решения здания.

Здание одноэтажное, однопролётное с размерами в плане 18×60 м, высота до низа несущих конструкций - 7,8 м.

В здании предусмотрена установка мостового электрического крана грузоподъёмностью 5 т с управлением с пола. Отметка головки рельса - 6,7 м.

Здание со стальным каркасом, несущие конструкции - рамного типа из широкополочных двутавров, ригель рамы - с перфорированными стенками, прогоны и фахверк - из холодногнутых С-образных профилей.

Стены - из трехслойных стеновых панелей (ТУ 67-651-84) с минераловатным утеплителем и профилированными металлическими обшивками.

Покрытие - из кровельных бескаркасных двухслойных панелей (ТУ 67-717-85) марки ПКМ-120 с утеплителем из минераловатных плит повышенной жёсткости.

Цоколь - из керамзитобетонных стеновых панелей серии 1.432-14/80.

Производство работ предусмотрено в летний и зимний периоды года.

2. ОРГАНИЗАЦИЯ И ТЕХНОЛОГИЯ ВЫПОЛНЕНИЯ РАБОТ

2.1. Общие положения

В подготовительный период (до начала монтажа здания) необходимо:

принять по акту выполненные фундаменты с составлением исполнительной схемы;

стройплощадку привести в состояние, соответствующее стройгенплану;

обеспечить бригаду необходимым инструментом, инвентарем и приспособлениями.

Строительные материалы и конструкции доставляются на приобъектный склад специальным автотранспортом.

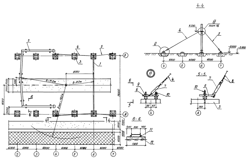
ТТК предусматривает монтаж конструкций с приобъектного склада. Схемы складирования конструкций приведены на листе 31.

Возведение здания необходимо начинать с устройства ячейки жесткости, которая расположена в центре здания (оси 5 - 6), поэтому здание возводится в две очереди, направление монтажа конструкций по каждой очереди: от ячейки жесткости к крайним осям.

В целях упрощения монтажных работ и обеспечения их безопасности часть конструкций укрупняется. Колонны и балки покрытия укрупнить в рамы, панели покрытия - в картины.

Укрупнительную сборку и монтаж здания вести с помощью пневмоколёсного крана КС-4361 (К-161) грузоподъёмностью 16 т, с длиной стрелы 20 м, кроме того, возможны варианты применения других типов кранов с аналогичными техническими характеристиками.

Укрупнение рам выполнять по ходу их монтажа. Укрупнение картин покрытия производить до начала возведения здания, картины укладывать краном на площадке складирования вблизи мест монтажа.

Укрупнительную сборку картин выполнять с соблюдением следующих требований:

сборку картин покрытия производить на специально изготовленном шаблоне (лист 23), шаблон укладывать на спланированную площадку; при укладке конструкций на шаблон сначала уложить прогоны покрытия, закрепить их к шаблону, затем последовательно уложить на прогоны панели покрытия;

до укладки панелей на прогонах выполнить разметку, согласно таблице типоразмеров картин (лист 22);

разметку под самонарезающие винты производить согласно рабочим чертежам.

Вырезку и извлечение теплоизоляционных слоев в местах установки самонарезающих винтов выполнять сверлильной машиной со специальной насадкой. Установку винтов производить гайковертом, комбинированных заклепок - пистолетом ручной односторонней клёпки.

Варианты рекомендуемых машин и оборудования для монтажа приводятся в табл. 1.

Таблица 1

Наименование комплекта машин и оборудования

Вариант (фасет-код)

Техническая характеристика

Марка

Количество

Кран монтажный

1

Кран пневмоколесный грузоподъёмностью 16 т

КС-4361 (К-161)

1

(02-1)

 

2

Кран автомобильный грузоподъёмностью 16 т

МТА-160-К

1

(02-2)

 

3

Кран гусеничный грузоподъёмностью 25 т

МКГ-25.1

1

(02-3)

 

4

Кран пневмоколёсный грузоподъёмностью 25 т

МКМ-25А

1

(02-4)

Транспортные средства

1

Полуприцеп-панелевоз грузоподъёмностью 12 т

УПП-1207

1

 

1

Тягач

МАЗ-504В

1

 

2

Полуприцеп-панелевоз грузоподъёмностью 12 т

ПП-1207

1

 

2

Тягач

УПЛ-1412

1

Оборудование для рабочего места монтажника

1

Передвижные подмости

ЦНИИОМТП

1

(01-1)

пр. 4401.00.000

1

Приставные лестницы

ЛА-4

2

(01-3)

2

То же

ЛА-4

1

(01-3)

2

Автоподъёмник

АП-17

2

(01-2)

3

-"-

АП-17

2

(01-2)

В ТТК разработаны три варианта организации работ по монтажу здания, в зависимости от применяемых средств подмащивания.

I вариант предусматривает использование при установке рам каркаса и подкрановых балок приставных лестниц; для монтажа стенового ограждения и панелей покрытия - подмостей ЦНИИОМТП и приставных лестниц.

Монтаж конструкций здания выполнять комплексным методом (ячейками). Размер ячейки 6×18 м. Выбор монтажа ячейками сделан из расчёта наименьшего числа перестановок средств подмащивания, т.к. при одной их установке монтируются несколько конструкций в пределах ячейки.

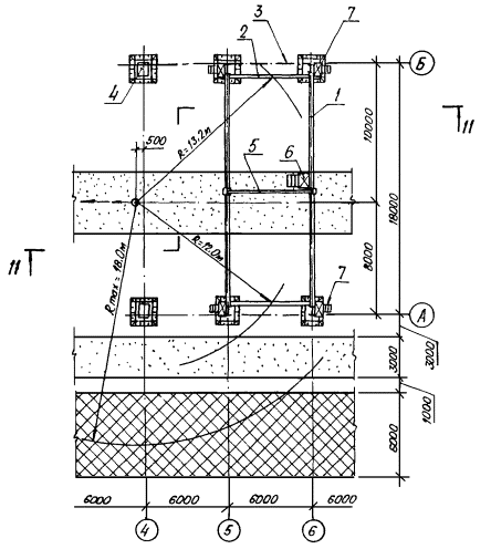
В данной ТТК I вариант принимается за базовый. Схема монтажа здания для I варианта приведена на листе 12.

II вариант предусматривает использование приставных лестниц при установке рам каркаса и подкрановых балок; для монтажа стенового ограждения и панелей покрытия используются автоподъёмники АП-17.

Монтаж конструкций здания ведётся комбинированным (смешанным) методом, в два этапа:

1-й этап - монтаж рам каркаса и подкрановых балок ячейками;

2-й этап - монтаж стенового и кровельного ограждения отдельным потоком.

Комбинированный метод монтажа конструкций здания позволит уменьшить время нахождения автоподъёмников АП-17 на монтаже здания (листы 27, 28).

III вариант предусматривает использование автоподъёмников АП-17 при монтаже всех конструктивных элементов здания.

Монтаж конструкций здания ведётся комплексным методом (ячейками), т.к. при этом методе уменьшается количество перемещений крана и автоподъёмников (лист 28).

Для всех конструкций здания предусматривается свободный метод монтажа с последующей их выверкой.

Строповку всех конструкций выполнять стропами из стальных канатов, схемы строповки приведены на листах 24, 25.

При монтаже конструкций необходимо обеспечить устойчивость и неизменяемость смонтированной части здания, устойчивость монтируемых конструкций на всех стадиях монтажа.

Работы по монтажу здания производить комплексной бригадой монтажников, владеющих смежной профессией. Состав бригады приведен в табл. 2. Монтаж конструктивных элементов здания выполнять специализированными звеньями монтажников, состав звеньев приводится в графике производства работ (табл. 7).

Таблица 2

Профессия членов бригады

Разряд

Количество

основная

смежная

VI

V

IV

III

Монтажник

-

1

 

-

-

1

Монтажник

Сварщик

-

1

-

-

1

Монтажник

Изолировщик

-

-

1

-

1

Монтажник

Такелажник

-

-

1

1

2

Монтажник

Такелажник

-

-

1

1

2

Электросварщик

Монтажник

-

1

-

-

1

ИТОГО:

 

1

2

3

2

8

Машинисты грузоподъёмных кранов и автомобильных подъёмников в состав комплексной бригады не включаются.

Монтажников, не участвующих в монтаже конструкций, необходимо занять на сопутствующих работах.

2.2. Технологическая последовательность выполнения работ на ячейке:

укрупнительная сборка первой рамы каркаса;

монтаж первой рамы каркаса;

укрупнительная сборка второй рамы каркаса;

монтаж второй рамы каркаса;

монтаж связей по колоннам (в ячейках жесткости);

монтаж подкрановых балок;

монтаж элементов стенового ограждения;

монтаж конструкций покрытия.

Укрупнительная сборка первой рамы каркаса

Укрупнительную сборку колонн и балок каркаса в рамы выполнять на строительной площадке, в зоне действия стрелы крана. Конструкции для укрупнительной сборки укладывать на подкладки из деревянных шпал.

Перед сборкой рамы необходимо подготовить укрупняемые колонны и балки покрытия; проверить соответствие геометрических размеров допускам; стыкуемые поверхности очистить от грязи, ржавчины, снега, льда, масла и пыли. Кроме того, необходимо спилить напильником или срубить зубилом заусенцы на кромках деталей и отверстий; проверить соответствие допускам диаметров отверстий.

Сборку рамы производить в два этапа:

1-й этап - на подкладки из шпал уложить колонны и балки покрытия и собрать две полурамы, установив болты без окончательной затяжки;

2-й этап - полурамы соединить между собой в коньковом узле болтами, измерить линейные размеры рамы и выполнить окончательную затяжку всех болтов рамы.

Укрупнительную сборку всех последующих рам каркаса выполнять согласно требованиям, изложенным для первой рамы каркаса.

Последовательность выполнения болтовых соединений узлов рамы:

совместить с помощью проходных оправок все отверстия стыка;

установить пробки;

установить болты по проекту.

При этом необходимо соблюдать следующие требования:

проходные оправки забивать в отверстия с помощью кувалды, коническая часть оправки должна упираться в кромки отверстий, которые по мере перемещения оправки вглубь пакета совместятся.

Для фиксации взаимного расположения соединяемых элементов и предупреждения их сдвига часть отверстий (не менее 10 %) должна заполняться пробками. После установки пробок все оправки выбить.

Стяжку соединяемых элементов производить установкой постоянных болтов. Головки и гайки болтов должны плотно соприкасаться с плоскостями элементов конструкций и шайб. Резьба болта должна находиться вне тела соединяемых элементов, а гладкая часть его стержня не должна выступать из шайбы. Гайки и контргайки следует закручивать до отказа, от середины соединения к его краям.

Монтаж первой рамы каркаса

Подъем рамы из горизонтального положения выполнять методом поворота рамы вокруг подвижного шарнира (скольжением).

Работы выполнять в два этапа:

1-й этап - приподнять раму за вершину (без отрыва опорной части колонн от земли), уменьшая вылет стрелы крана до минимального;

2-й этап - привести раму в вертикальное положение, поднимая крюк крана; при этом опорные части колонн рамы должны скользить по направляющим.

До подъёма рамы необходимо:

приварить опорные уголки под стеновые прогоны;

на базы колонн надеть опорные приспособления (лист 16);

под колонны на участке скольжения уложить на землю направляющие из швеллера 12 и покрыть их смазкой.

До подъёма рамы необходимо нанести осевые риски масляной краской в двух уровнях по высоте колонн: на вертикальные грани опорных плит колонн и на оголовки колонн по двум смежным граням;

на консолях колонн нанести осевые риски для укладки подкрановых балок.

Установку рамы на фундаменты производить на стальные подкладки, которые выполняют из обрезков листовой стали и укладывают на фундаменты по краям опорной плиты колонн с двух противоположных сторон (с двух других сторон забить инвентарные клинья).

Требуемую толщину подкладок подбирать по каждому фундаменту, используя данные исполнительной съёмки фундаментов и измерений длин колонн.

Установку монтируемой рамы и проектное положение производить, совмещая осевые риски на опорных плитах колонн с осевыми рисками, нанесенными на верхней поверхности фундамента.

Для предохранения резьбы анкерных болтов от повреждения необходимо до монтажа рамы надеть на них стальные предохранительные колпаки, изготовляемые из обрезков газовых труб.

Вертикальность установки рамы в продольной и поперечной плоскостях проверять с помощью двух теодолитов, установленных в створах продольной и поперечной разбивочных осей, совмещая положение нижних и верхних рисок на колоннах с вертикальной визирной осью теодолита.

В продольной плоскости вертикальность рамы достигать изменением толщины подкладок под опорными плитами колонн. Для этого необходимо приподнять раму краном, вынуть подкладки, изменить их толщину и уложить на прежнее место. Убедившись в вертикальности установленной рамы, подкладки, собранные в пакет, соединить электросваркой.

После установки рамы в продольной плоскости необходимо временно ее раскрепить. Временное крепление рамы выполнять расчалками из стального каната, в количестве 4 шт. на раму. Верхний конец расчалки крепить к колонне рамы, а нижний - за фундаменты (на анкерные болты фундаментов установить анкера). Расчалки снабжены винтовыми стяжками (талрепами) для выверки рамы в вертикальной плоскости.

Расстроповку рамы выполнять только после временного ее закрепления. Расчалки снимать после монтажа вертикальных связей связевой ячейки.

Вертикальность рамы в поперечной плоскости достигать наклоном ее в нужную сторону, регулируя длину расчалок с помощью талрепов.

После приведения рамы в проектное положение затянуть гайки анкерных болтов и подлить цементный раствор под опорные плиты колонн.

Схема монтажа первой рамы каркаса приведена на листе 14.

Монтаж второй рамы каркаса

В продольной плоскости раму устанавливать аналогично указаниям, изложенным для первой рамы.

Временное крепление рамы после установки ее в продольной плоскости выполнять инвентарной распоркой, которую до монтажа рамы крепить струбциной к балке покрытия в середине пролёта.

При установке рамы распорку перевести из вертикального положения в горизонтальное с помощью оттяжки из бельного каната и закрепить струбциной к первой раме каркаса. Подъём и закрепление распорки производить с приставной лестницы с площадкой, установленной у первой рамы.

После временного закрепления рамы выполнить ее расстроповку и выверку в поперечной плоскости.

Вертикальность рамы в поперечной плоскости достигать наклоном ее в нужную сторону, регулируя длину распорки с помощью фаркопфа. Распорку снимать после монтажа картины покрытия.

Монтаж всех последующих рам выполнять согласно требованиям, приведенным для монтажа второй рамы. Схема монтажа второй рамы каркаса дана на листе 17.

Монтаж вертикальных связей по колоннам

Монтаж вертикальных связей по колоннам в ячейке жесткости выполнять перед монтажом подкрановых балок.

Установку вертикальных связей выполнять с передвижных площадок, монтаж производить поэлементно, без укрупнения.

Монтаж подкрановых балок

Монтаж подкрановых балок производить без тормозных площадок, последние монтировать после укладки и закрепления подкрановых балок.

В качестве средств подмащивания при монтаже подкрановых балок и тормозных площадок использовать приставные лестницы. Выверку подкрановых балок выполнять с передвижных подмостей конструкции ЦНИИОМТП.

При установке подкрановых балок необходимо руководствоваться следующими требованиями:

до подъёма подкрановой балки нанести осевые риски на опорное ребро балки, к балке закрепить оттяжки из бельного каната;

установку балки в проектное положение производить, совмещая осевые риски на опорном ребре балки с осевыми рисками на консолях колонн;

временное крепление подкрановой балки выполнять болтами, болты не закручивать до отказа (вначале закрепить нижний пояс балки, затем состыковать балку со смонтированной ранее, в последнюю очередь выполнить крепление верхнего пояса балки к колонне);

расстроповку балки производить после временного закрепления нижнего пояса балки.

Подкрановые рельсы длиной 12 м подавать краном под покрытие ячейки, смежной с монтируемой, до монтажа панелей покрытия в монтируемой ячейке. Рельсы временно укладывать на элементы крепления верхнего пояса подкрановой балки к колонне и устанавливать в проектное положение монтажными ломиками после выверки подкрановых балок.

Выверку смонтированных подкрановых балок производить по окончании монтажа и временного закрепления всех подкрановых балок в пролете здания.

Перед выверкой произвести геодезическую съемку подкрановых балок с составлением исполнительной схемы, на которой необходимо указать:

расстояние между осями подкрановых балок;

отклонение оси подкрановой балки от оси подкранового пути;

отметки подкрановых балок на опорах и в середине балки;

размеры от оси подкрановой балки до грани колонны.

Балку устанавливать на проектную отметку путём забивки стальных клиньев между опорной поверхностью консоли колонны и нижним поясом подкрановой балки, затем под опорное ребро балки уложить монтажную стальную подкладку, которую потом приварить к консоли колонны. Толщину монтажных подкладок подбирать, руководствуясь данными исполнительной съёмки.

Выверку подкрановой балки в плане выполнять монтажными ломиками.

После выверки подкрановые балки закрепить по проекту, затянув гайки монтажных болтов до отказа.

Схема монтажа подкрановых балок приведена на листе 18.

Монтаж элементов стенового ограждения

При монтаже элементов стенового ограждения средства подмащивания устанавливать снаружи и изнутри здания.

Снаружи здания для подмащивания использовать передвижные площадки конструкции ЦНИИОМТП.

Крепление стеновых панелей изнутри здания на отм. 8,170 выполнять с лестниц с монтажными площадками, лестницы закреплять за прогоны покрытия здания (прогоны монтировать одновременно с монтажом стенового ригеля на отм. 8,170).

Подъём на лестницы производить с подкрановых балок. Для выхода на подкрановые балки использовать приставные лестницы.

При монтаже элементов стенового ограждения необходимо руководствоваться следующими требованиями:

до монтажа стеновых панелей должны быть смонтированы цокольные стеновые панели и стеновые ригели в пределах ячейки;

до подъёма стеновой панели проверить ее основные размеры, правильность и надёжность установки пластин для крепления панели, закрепить по торцам панели полосы из минераловатной плиты;

установку панели производить на опорные ригели;

устанавливаемая панель должна плотно прилегать к ранее смонтированной;

установку и временное крепление панели в нижнем и верхнем узлах выполнять, закрепляя панели крепежными болтами к ригелю согласно рабочим чертежам, при этом гайки болтов не закручивать до отказа для обеспечения подвижности панели при выверке;

расстроповку панели производить только после временного ее крепления;

вертикальность панели проверять по отвесу, выверку выполнять монтажными ломиками при ослабленном натяжении крепежных болтов;

после выверки вертикальности гайки болтов затянуть.

Схема монтажа элементов стенового ограждения дана на листе 19.

Монтаж конструкций покрытия

Направление работ по монтажу конструкций покрытия предусмотрено от карниза кровли к ее коньку.

Крепление элементов покрытия выполнять с приставных лестниц с площадками и со смонтированного покрытия.

Для подъёма рабочих на покрытие использовать приставные лестницы.

При монтаже конструкций покрытия необходимо руководствоваться следующими требованиями:

панели покрытия длиной 6,1 м до начала монтажа укрупнить в картины;

конструкции покрытия в коньковой части здания монтировать поэлементно, сначала смонтировать прогоны покрытия, затем - панели;

покрытие в коньковой части здания выполнять после монтажа картин покрытия ячейки;

строповку картин и панелей покрытия выполнять четырехветвевыми стропами с помощью специальных захватов (лист 25);

укладку картин покрытия на балки выполнять, совмещая отверстия в прогонах картины с отверстиями на крепежных уголках балки покрытия, точность укладки картины регулировать путём рихтовки ее монтировками при натянутых стропах;

после монтажа картин покрытия в двух смежных ячейках в проём между картинами уложить доборную панель;

ширину проема, необходимую для укладки доборной панели, контролировать с помощью шаблона из листа профилированного настила до крепления картины;

шаблон укладывать на смежные картины в местах опирания прогонов.

Схема монтажа покрытия ячейки показана на листе 21.

2.3. Геодезическое обеспечение

Все геодезические работы на стройплощадке выполнять в соответствии со СНиП 3.01.03-84 и ГОСТ 21779-82.

Инженерно-геодезические работы предшествуют процессу строительства, сопутствуют ему и завершают его. Их можно разбить на следующие стадии:

создание планово-высотного обоснования;

вынос в натуру и закрепление основных осей;

детальные разбивочные работы при выполнении нулевого цикла;

детальные разбивочные работы при возведении надземной части;

исполнительная съёмка геометрического положения смонтированных конструкций с составлением исполнительных схем.

Вынос разбивочных осей на все фундаменты выполнять от основных осей с помощью теодолита и рулетки и закреплять на поверхности бетона фундамента краской.

На фундаменты, сдаваемые под монтаж металлических конструкций, должна составляться исполнительная схема, в которой указываются:

проектные и фактические расстояния между осями;

проектные и фактические отметки верха бетона;

проектные и фактические отметки верха анкерных болтов;

После выверки и проектного закрепления каркаса здания произвести исполнительную съёмку положения смонтированных конструкций, где необходимо указать:

смещение осей колонн в нижнем сечении относительно разбивочных осей;

отклонение осей колонн от вертикали в верхнем сечении;

отметки опорных поверхностей подкрановых балок.

Исполнительные схемы прилагать к акту на приемку сооружения для последующих строительных работ.

2.4. Указания к производству работ в зимнее время

Конструкции подавать на монтаж очищенными от снега, наледи и грязи. Особенно тщательно защищать от увлажнения и наледи стыкуемые поверхности элементов. При необходимости наледь удалять не только скребками и щётками, но и прогревая обледеневшие места до полного исчезновения следов наледи. Для прогрева применять газовые и другие горелки. Пользоваться горячей водой запрещается.

При отрицательных температурах сварочные работы необходимо выполнять с соблюдением следующих рекомендаций:

особо тщательно заваривать кратеры и замыкающие участки швов;

удалить влагу и снег на расстоянии не менее 0,8 - 1 м от места сварки и зачищать от ржавчины прилегающие к шву участки на ширину 20 мм;

предварительно просушивать зону сварки с помощью горелок и других источников нагрева;

тщательно выполнять прихватки и проверять отсутствие в них непроваров и трещин. При сильных морозах (ниже температуры минус 30 °С) прихватки заменять сплошными швами;

использовать теплые после прокалки электроды;

дефектные участки швов удалять без приложения ударных нагрузок;

обеспечивать сварщиков теплой спецодеждой и обувью;

свариваемые поверхности и рабочие места сварщиков защищать от снега, дождя, сильного ветра и сквозняков.

Не разрешать производить электросварочные работы при температуре ниже минус 30 °С для сталей класса А1 и температуре минус 20 °С для сталей класса АII.

3. ТРЕБОВАНИЯ К КАЧЕСТВУ И ПРИЁМКЕ РАБОТ

Порядок и организацию работ по контролю качества строительно-монтажных работ (СМР) устанавливает ОСТ 36-125-85.

При производстве СМР контроль необходимо осуществлять в следующем порядке:

входной контроль документации;

приемочный контроль площадок, зданий, сооружений и конструктивов для производства СМР;

входной контроль материалов;

операционный контроль;

приемочный контроль;

инспекционный контроль.

В данный раздел ТТК включены элементы операционного контроля качества основных технологических процессов (табл. 3).

Операционный контроль выполняется производителями работ и мастерами. К проведению операционного контроля могут быть привлечены строительные (сварочные) лаборатории и геодезические службы.

Операционному контролю предшествует самоконтроль исполнителей, бригадиров, звеньевых и рабочих, обязанных обеспечивать качество выполняемых ими операций.

Основными рабочими документами при операционном контроле качества являются схемы операционного контроля качества, разрабатываемые в составе ППР, строительные нормы и правила.

Результаты операционного контроля фиксируются в журнале работ и учитываются при определении оценки качества работ.

При приемочном контроле производят проверку и оценку качества выполненных СМР, а также ответственных операций. Правила приемки регламентирует СНиП 3.01.04-87 «Приемка в эксплуатацию законченных строительством объектов. Основные положения».

Приемочный контроль смонтированных конструкций осуществляют согласно СНиП 3.03.01-87 «Несущие и ограждающие конструкции».

При приемке смонтированных конструкций предъявляют следующие документы:

рабочие чертежи смонтированных конструкций с указанием на них всех отклонений от требований проекта, допущенных в процессе монтажа и согласованных с проектными организациями;

паспорта на монтируемые конструкции или их элементы, а также сертификаты на материалы, примененные при монтаже и сварке;

исполнительные схемы геодезической проверки положения конструкций;

журналы монтажных, сварочных работ и заделки стыков;

акты освидетельствования скрытых работ;

документация лабораторных анализов и испытаний при сварке и замоноличивании стыков;

опись удостоверений сварщиков, работающих при монтаже конструкций.


Таблица 3

Наименование процессов, подлежащих контролю

Предмет контроля

Инструмент и способ контроля

Время контроля

Ответственный контролёр

Технические критерии оценки качества

Приемка фундаментов для установки рам каркаса

Соответствие выполненных фундаментов рабочим чертежам

Нивелир, рулетка

В процессе работ и по их окончании

Мастер

Отклонения отметок опорных поверхностей фундаментов от проектных - 5 мм

Разность отметок опорных поверхностей соседних фундаментов по ряду и в пролёте - 3 мм

Смещение осей фундаментов относительно разбивочных осей - 5 мм

Смещение анкерных болтов в плане - 5 мм

Укрупнительная сборка рам каркаса

Точность сборки

Рулетка, визуальный осмотр

В ходе и по окончании укрупнительной сборки

-"-

Отклонения линейных размеров - 8 мм

Отклонения равенства диагоналей - 20 мм

Монтаж рам каркаса

Точность установки

Рулетка, теодолит, линейка измерительная

В процессе монтажа

-"-

Отклонения отметок опорных поверхностей колонн от проектных - 5 мм

Разность отметок опорных поверхностей соседних колонн по ряду и в пролёте - 3 мм

Смещение осей колонн относительно разбивочных осей в опорном сечении - 5 мм

Отклонения осей колонн от вертикали в верхнем сечении - 10 мм

Монтаж подкрановых балок и рельсов

То же

Рулетка, нивелир, линейка измерительная

То же

-"-

Смещение оси подкрановой балки с продольной разбивочной оси - 5 мм

Смещение опорного ребра балки с оси колонны - 20 мм

Смещение оси рельса с оси подкрановой балки - 15 мм

Отклонение оси рельса от прямой на длине 40 м - 15 мм

Разность отметок головок рельсов в одном поперечном разрезе пролёта здания, мм:

на опорах - 15

в пролете - 20

Разность отметок подкрановых рельсов на соседних колоннах - 10 мм

Взаимное смещение торцов стыкуемых рельсов в плане и по высоте - 2 мм

Укрупнительная сборка кровельных панелей в картины

Точность сборки, соответствие размеров картины рабочим чертежам

Рулетка, визуальный осмотр

В процессе работ и по их окончании

-"-

Отклонения линейных размеров - 8 мм

Отклонения равенства диагоналей - 20 мм

Монтаж кровельных панелей

Точность установки

Рулетка, шаблон из листа профилированного настила, визуальный осмотр

В процессе монтажа

Мастер

Отклонение длины опирания панели на прогоны в местах поперечных стыков - 5 мм

Отклонение положения центров:

самонарезающих болтов - 5 мм

комбинированных заклёпок, мм:

вдоль настила - 20

поперек настила - 5

Монтаж стеновых панелей

То же

Отвес, рулетка, линейка измерительная, визуальный осмотр

То же

-"-

Отклонение от вертикали продольных кромок панелей 0,001L, где L - длина панели

Отклонение плоскости наружной поверхности стенового ограждения от вертикали 0,002Н, где Н - высота ограждения

Постановка болтов в монтажных стыках

Проверка плотности стяжки и качества затяжки собранного узла

Гайковерт, щуп, молоток, визуальный осмотр

В процессе работ и по их окончании

-"-

В собранном узле болты заданного в проекте диаметра должны пройти в 100 % отверстий.

Допускается прочистка 20 % отверстий сверлом, диаметр которого равен диаметру отверстия, указанному в чертежах

Плотность стяжки собранного узла надлежит проверять щупом толщиной 0,3 мм, который в пределах зоны, ограниченной шайбой, не должен проходить между собранными деталями на глубину более 20 мм

Качество затяжки постоянных болтов следует проверять обстукиванием их молотком массой 0,4 кг, при этом болты не должны смещаться

Сварочные работы

Контроль сварных соединений в процессе их выполнения, соответствие проекту марки электродов

Визуальный осмотр, линейка измерительная

В процессе монтажа

Мастер

Поверхность шва должна быть равномерночешуйчатая, без прожогов, наплывов, сужений и перерывов.

Глубина подрезов - до 5 % толщины свариваемого проката, но не более 1 мм.

Дефекты (непровары, цепочки и скопления пор) соседние по длине шва: расстояние между близлежащими концами - не менее 200 мм

Схема монтажа конструкций здания (I вариант)

1 - рама каркаса;

2 - подкрановая балка;

3 - прогон покрытия;

4 - картина покрытия;

5 - панель покрытия;

6 - стеновая панель наружная;

7 - фундамент;

8 - временная распорка;

9 - ячейка жесткости

Условные обозначения

      - временные автодороги

      - площадки складирования

                  - стоянки крана

      - направление движения крана

   - номер очереди и направление производства работ

             - передвижная площадка ЦНИИОМТП

           - приставная лестница

       - направление движения автоподъемника АП-17

               - стоянка автоподъемника АП-17

10 - приставная лестница Л-1;

11 - приставная лестница ЛА-4;

12 - подмости облегченные конструкции ЦНИИОМТП;

13 - лестница с монтажной площадкой;

14 - смонтированная ячейка здания;

15 - колонна рамы;

16 - обратная засыпка

1. Данный лист смотреть совместно с л. 12

2. Схемы строповок конструкций даны на лл. 24, 25

Схема монтажа рамы 1 каркаса по оси «6»

1 - рама 1 в проектном положении; 2 - положение рамы 1 на укрупнительной сборке; 3 - фундамент; 4 - расчалка РЧ-1; 5 - расчалка РЧ-2; 6 - анкер А-1; 7 - талреп; 8 - рожковый зажим; 9 - гайка М42; 10 - анкерный болт М42 (по проекту); 11 - бруски 50×50 мм; 12 - шпала ж/дорожная

1. Данный лист смотреть совместно с л. 15

2. Деталь установки зажимов на расчалке - на л. 16.


1 - колонна;

2 - хомут М-1;

3 - скоба такелажная, типоразмер 1,7;

4 - расчалка РЧ-1;

5 - расчалка РЧ-2;

6 - рожковый зажим

Спецификация металлических изделий (сталь марки ВСт3пс5)

Марка элем.

№ дет.

Сечение

Длина, мм

Кол-во

Масса, кг

Примеч.

т

н

1 шт.

общ

эл-та

А-1

1

- 300×10

320

1

 

7,5

7,5

8,0

 

2

тр Ø 60×2,5

50

2

 

0,2

0,4

ГОСТ 10704-76

 

 

 

 

 

 

 

 

 

 

 

 

 

 

 

 

М-1

3

L 50×5

610

2

 

2,3

4,6

7,0

 

4

- 50×6

300

2

 

0,7

1,4

 

5

Ø 16

300

2

 

0,5

1,0

 

 

 

 

 

 

 

 

 

 

 

 

 

 

 

 

 

 

Ведомость элементов

Марка элем.

Кол.

Масса, кг

1 шт.

общ

А-1

4

8,0

32,0

М-1

2

7,0

14,0

 

 

 

 

Итого: 46,0

1. Сварку конструкций производить электродами Э42 по ГОСТ 9467-75*.

2. Высота катета сварного шва равна 6 мм.

3. Узел III замаркирован на л. 14.

Схема поворота рамы вокруг подвижного шарнира (скольжением)

1 - поднимаемая рама;

2 - колонна рамы;

3 - проектное положение рамы;

4 - опорное приспособление ОП-1;

5 - направляющая из C12, l = 7000 мм;

6 - прокладки из шпал

1. Подъем рам после укрупнения выполнять методом поворота вокруг подвижного шарнира (скольжением) в два этапа: поднять раму, уменьшая вылет стрелы крана до Rmin = 6,5 м; затем привести раму в вертикальное положение, поднимая крюк крана; при этом опорная часть колонны будет скользить по основанию.

2. Для уменьшения сил трения при скольжении рам, а также для предохранения башмаков колонн от смятия, необходимо до подъема рамы надеть на башмаки колонн опорные приспособления ОП-1, а поверхность скольжения направляющих покрыть смазкой.

Спецификация металлических изделий (сталь марки ВСт3пс5)

Марка

№ дет.

Сечение

Длина, мм

Кол-во

Масса, кг

Примеч.

т

н

1 дет.

всех

марки

ОП-1

1

из тр. Ø 219×8

630

1

 

26,2

26,2

37,5

 

2

- 115×8

600

2

 

4,3

8,6

 

3

- 70×8

100

6

 

0,4

2,4

 

 

 

 

 

 

 

 

 

 

1 % на сварку

 

0,3

 

Схема монтажа рамы 2

1 - положение рамы при укрупнительной сборке;

2 - рама 1;

3 - рама 2;

4 - фундамент;

5 - расчалка РЧ-1;

6 - расчалка РЧ-2;

7 - временная распорка;

8 - приставная лестница ЛА-4.

1. Схемы строповки конструкций даны на л. 24.

2. Расчалки снять после монтажа вертикальных связей в осях 5 - 6.

Схема монтажа подкрановых балок

1 - рама каркаса;

2 - подкрановая балка;

3 - вертикальная связь;

4 - фундамент;

5 - временная распорка;

6 - приставная лестница ЛА-4;

7 - приставная лестница Л-1.

1 - рама каркаса;

2 - подкрановая балка;

3 - ригель стеновой;

4 - панель стеновая;

5 - временная распорка;

6 - подмости конструкции ЦНИИОМТП;

7 - передвижная площадка;

8 - приставная лестница Л-1;

9 - лестница с монтажной площадкой;

10 - смонтированная часть здания;

11 - лестница ЛА1;

12 - страховой трос;

13 - петля из • Ø 16

1. Схемы строповки конструкций даны на лл. 24, 25.

2. После монтажа фундаментных балок выполнить обратную засыпку котлованов под фундаменты колонн.

3. Лестницы Л-1 использовать для выхода на подкрановую балку.


1. Данный лист смотреть совместно с л. 19.

2. Крюки лестниц (узел V) привязать отожженной стальной проволокой Ø 4 - 5 мм в две нитки к смонтированным и надежно закрепленным конструкциям.

3. страховочный трос крепить к смонтированным колоннам, натянуть с помощью фаркопфа, провисание троса ограничивать специальным устройством (узел VII)


Схема монтажа покрытия ячейки

Схема укладки картины на шаблоны Ш-1 при укрупнительной сборке

1 - рама каркаса; 2 - подкрановая балка; 3 - картина покрытия; 4 - панель покрытия; 5 - шаблон Ш-1; 6 - дополнительный прогон; 7 - приставная лестница ЛА-4; 8 - болт М12.

1. При укрупнительной сборке картин, имеющих два прогона, на шаблон укладывать дополнительный прогон (из несмонтированных) и крепить его аналогично прогонам картины.

2. Прогоны укрупняемых картин крепить к шаблону Ш-1 на болтах М12.

3. Конструкция шаблона Ш-1 дана на л. 23.

Маркировочная схема раскладки картин (пролет 18 м)

Таблица типоразмеров картин покрытия, мм

Тип картины

Размер картины

Размер консоли прогона

ширина

длина

А

Б

1

5915

6000

-

85

2

5070

6000

760

170

3

5070

6000

675

255

4

5070

6000

590

340

5

5070

6000

505

425

6

5070

6000

420

510

7

5070

6000

335

595

8

5070

6000

250

880

9

5070

6000

165

765

10

5915

6000

80

5

1 - картина покрытия;

2 - прогон покрытия;

3 - панели ПП1;

4 - место укладки доборной панели покрытия;

5 - участок поэлементного монтажа панелей.

1. Картины укрупнять согласно маркировочной схеме, при этом строго соблюдать размеры консолей прогонов, указанных в таблице типоразмеров картин покрытия.

2. Привязка укладываемых панелей ПП1 к осям здания указана на маркировочной схеме.

3. Крепление панелей ПП1 к прогонам выполнять по проекту.

4. Между смежными картинами покрытия уложить доборные панели.

5. Укрупнение картин с индексом «а» выполнять зеркально.

Спецификация на один элемент

Сталь марки ВСт3кп2

Марка эл-та

№ дет.

Сечение

Длина, мм

К-во

Масса, кг

Примечание

т

н

шт.

общ.

эл-та

Ш-1

1

C16

5760

2

 

82

164

464

 

2

C16

5800

2

 

82

164

 

3

L 75×6

7420

1

 

51

51

 

4

L 75×6

3720

2

 

26

52

 

5

L 63×5

140

3

3

1

6

 

6

-100×6

160

4

 

1

4

 

7

-140×6

460

1

 

3

3

 

8

-230×6

280

2

 

2,5

5

ф.л.

9

-230×6

350

2

 

3

6

"

10

• Ø 16

360

4

 

1

4

 

 

 

 

 

 

 

 

 

 

 

 

 

 

 

 

 

 

 

 

 

 

 

 

 

 

1 % на сварные швы:

 

 

 

5

 

1. Шаблон Ш-1 использовать для изготовления картин из кровельных панелей.

2. Все отверстия d = 17.

3. Все обрезы 40 мм - кроме оговоренных.

4. Все швы Kf = 5 мм - кроме оговоренных.

5. Сварку производить электродами типа Э42 по ГОСТ 9467-75*

Схемы строповки конструкций

стоек рамы при укрупнительной сборке

подкрановых балок

балок рамы при укрупнительной сборке

цокольной стеновой панели

рамы каркаса при монтаже

1 - стойка рамы; 2 - балка рамы; 3 - рама каркаса; 4 - подкрановая балка; 5 - цокольная стеновая панель; 6 - трехслойная стеновая панель; 7 - панель покрытия; 8 - картина покрытия; 9 - строп СКП1-2,5.10200; 10 - строп 4СК1-3,2.5000; 11 - строп СКП1-0,32.1500; 12 - строп СКП1-0,32.7160; 13 - пружинный замок ПР-3,2; 14 - захват КР-3,2; 15 - инвентарная подкладка под канат; 16 - канат для дистанционной расстроповки; 17 - скоба такелажная; 18 - зажим 16-1; 19 - траверса ТР-1; 20 - захват ЗХ-1; 21 - захват ЗХ-2; 22 - болт М16; 23 - пакет панелей; 24 - подкладки из круглого леса Ø 160 мм, l = 1000 мм.

Схемы строповки конструкций

стеновой панели (ширина 2 м)

кровельной панели ПКМ-120

пакета панелей ПКМ-120

картин покрытия размером 6×6 м

1. Данный лист читать совместно с л. 24.

2. Конструкция захватов ЗХ-1, ЗХ-2, траверсы ТР-1 дана на л. 26.

3. Под стропы в местах огибания ими острых углов элементов поднимаемых конструкций подкладывать инвентарные металлические подкладки.

Траверса ТР-1                                                                поз. 5

Спецификация металлических изделий

Сталь марки ВСт3кп2

Марка элем.

№ дет.

Сечение

Длина, мм

Кол-во

Масса, кг

Примеч.

т

н

1 шт.

общ.

эл-та

ЗХ-1

1

L 100×8

270

1

 

3,3

3,3

5,5

 

2

L 100×8

60

2

 

0,7

1,4

 

3

• Ø 16

265

1

 

0,5

0,5

 

 

 

 

 

 

 

 

 

 

1 % на сварку:

 

 

 

 

 

ЗХ-2

4

C20

270

1

 

5,0

5,0

8,5

 

5

-110×10

225

1

 

1,9

1,9

 

2

L 100×8

60

2

 

0,7

1,4

 

 

 

 

 

 

 

 

 

 

1 % на сварку:

 

 

 

 

 

ТР-1

6

C20

5640

1

 

103,8

103,8

115,6

 

3

• Ø 16

265

2

 

0,5

1,0

 

2

L 100×8

60

14

 

0,7

9,8

 

 

 

 

 

 

 

 

 

 

1 % на сварку:

 

 

 

1,0

 

Ведомость элементов

Марка элем.

Кол.

Масса, кг

1 шт.

общ.

ЗХ-1

1

5,5

5,5

ЗХ-2

1

8,5

8,5

ТР-1

2

115,6

231,2

 

 

 

 

Итого:

245,2

1. Сварку конструкций производить электродами Э42 по ГОСТ 9467-75*

2. Высота катета сварного шва равна 6 мм.

Схема монтажа каркаса здания (II вариант, I этап)

1 - рама каркаса; 2 - рама каркаса на укрупнительной сборке; 3 - подкрановая балка; 4 - вертикальная связь; 5 - фундамент; 6 - временная распорка; 7 - приставная лестница ЛА-4; 8 - приставная лестница Л-1; 9 - картина покрытия; 10 - панель покрытия доборная; 11 - панель покрытия; 12 - прогон покрытия; 13 - стеновая панель наружная; 14 - кран КС-4361; 15 - автоподъемник АП-17.

1. После монтажа каркаса здания выполнить обратную засыпку котлованов под фундаменты.

2. Данный лист читать совместно с лл. 12, 28.

Схема монтажа каркаса здания (II вариант, II этап)

1. Условные обозначения даны на л. 12.

2. Схема монтажа каркаса здания приведена на л. 27.

Схема монтажа конструкций здания (III вариант)

1 - рама каркаса;

2 - подкрановая балка;

3 - панель покрытия;

4 - стеновая панель;

26 - 26

5 - смонтированная часть здания;

6 - кран КС-4361;

7 - автоподъемник АП-17.

 

схемы складирования конструкций

колонн

цокольных стеновых панелей

подкрановых балок и балок покрытия

стеновых панелей и панелей покрытия

Условные обозначения

1 - подкладки из бруса 130×150 мм;

2 - подкладки из бруса 100×40 мм;

3 - склад - пирамида


4. КАЛЬКУЛЯЦИИ ЗАТРАТ ТРУДА, МАШИННОГО ВРЕМЕНИ И ЗАРАБОТНОЙ ПЛАТЫ

4.1. Калькуляция № 1 на монтаж элементов каркаса здания

Таблица 4

Наименование процесса

Номер фасета для пересчета показателей

Единица измерения

Объём работ

Обоснование (ЕНиР и др. нормы)

Нормы времени

Расценка, р.-к.

Затраты труда

Заработная плата, р.-к.

Время пребывания машины на объекте, маш.-ч

Заработная плата с учетом пребывания машины на объекте, р.-к.

рабочих, чел.-ч

машиниста, чел.-ч (маш.-ч)

рабочих

машиниста

рабочих, чел.-ч

машиниста, чел.-ч (маш.-ч)

рабочих

машиниста

1. Разгрузка с автотранспорта приспособлений, инвентаря, стоек, балок, покрытия, прогонов, связей

03

100 т

0,43

§ Е1-5, табл. 2, п. 5а, б

5,4

2,7

3-46

2-86

2,32

1,16

1-49

1-23

1,16

1-23

2. Укрупнение конструктивных элементов каркаса в рамы

03

1 конструктивный элемент

11

§ Е5-1-3, табл. 2, п. 1, 3к,

0,20

0,04

0-16,8

0-04,6

2,20

0,44

1-85

0-51

0,44

0-51

 

 

Добавлять на 1 т

34,3

п. 2, 4к, К = 1,1

0,61

0,12

0-51,5

0-12,9

20,92

4,15

17-66

4-42

4,15

4-42

3. Установка опорных столиков

01

1 т

0,053

§ Е5-1-18, табл. 1, п. 1а

33

-

24-59

-

1,75

-

1-30

-

-

-

4. Прихватка

-

1 т

0,053

§ Е5-1-18, табл. 1, п. 2а

4,1

-

3-24

-

0,22

-

0-17

-

-

-

5. Электросварка опорных столиков

-

10 м шва.

0,48

§ Е22-1-6, п. 6, 9г

3,3

-

3-00

-

1,58

-

1-44

-

-

-

6. Монтаж укрупненных блоков (рам)

01

1 укрупн. блок

11

§ Е5-1-6, табл. 2, п. 1, 3и,

8,36

1,21

7-10,6

1-28,7

91,96

13,31

78-17

14-16

13,31

14-16

 

 

Добавлять на 1 т

34,3

п. 2, 4и, К = 1,1

0,96

0,13

0-81,0

0-14,0

32,93

4,46

27-78

4-80

4,46

4-80

7. Монтаж вертикальных связей

01

1 констр. элемент

16

§ Е5-1-6, табл. 2, п. 1, 3в, К = 1,1

0,36

0,12

0-29,0

0-12,9

5,76

1,92

4-64

2-06

1,92

2-06

 

 

Добавлять на 1 т

0,61

п. 2, 4в, К = 1,1

1,65

0,55

1-32,0

0-58,3

1,01

0,34

0-81

0-36

0,34

0-36

8. Монтаж прогонов

01

1 констр. элемент

80

§ Е5-1-6, табл. 2, п. 1, 3б,

0,33

0,11

0-26,4

0-11,7

26,4

8,8

21-12

9-36

8,8

9-36

 

 

Добавлять на 1 т

8,0

п. 2, 4б, К = 1,1

1,1

0,36

0-88

0-38,5

8,8

2,88

7-04

3-08

2,88

3-08

9. Монтаж горизонтальных связей

01

1 констр. элемент

12

§ Е5-1-6, табл. 2, п. 1, 3в

0,36

0,12

0-29,0

0-12,9

4,32

1,44

3-48

1-55

1,44

1-55

 

 

Добавлять на 1 т

1,47

п. 2, 4в, К = 1,1

1,65

0,55

1-32,0

0-58,3

2,43

0,81

1-94

0-86

0,81

0-86

10. Постановка болтов:

 

 

 

 

 

 

 

 

 

 

 

 

 

 

с подмостей

-

100 шт.

10,05

§ Е5-1-19, п. 1

11,5

-

8-57

-

115,58

-

86-13

-

-

-

с земли

-

100 шт.

1,15

(п. 1) × 0,7

8,05

-

6-00

-

9,26

-

6-90

-

-

-

11. Установка лестниц

01

1 шт.

1

§ Е5-1-2, п. , б, К = 1,1

0,37

0,19

0-27,8

0-19,8

0,37

0,19

0-28

0-20

0,19

0-20

12. Перестановка лестниц

01

1 шт.

11

§ Е5-1-2. (п. 8а, б) × 1, 2, К = 1,1

0,45

0,22

0-33,4

0-23,8

4,95

2,42

3-67

2-62

2,42

2-62

13. Снятие лестниц

01

1 шт.

1

§ Е5-1-2, (п. 8а, б) × 0,8, К = 1,1

0,30

0,15

0-22,3

0-15,8

0,30

0,15

0-22

0-16

0,15

0-16

Итого:

 

 

 

 

 

 

 

 

333,06

42,47

266-09

45-37

42,47

45-37

4.2. Калькуляция № 2 на монтаж подкрановых балок, тормозных площадок, вертикальных связей

Таблица 5

Наименование процесса

Номер фасета для пересчета показателей

Единица измерения

Объём работ

Обоснование (ЕНиР и др. нормы)

Нормы времени

Расценка, р.-к.

Затраты труда

Заработная плата, р.-к.

Время пребывания машины на объекте маш.-ч

Заработная плата с учетом пребывания машины на объекте, р.-к

рабочих чел.-ч.

машиниста чел.-ч (маш.-ч)

рабочих

машиниста

рабочих

машиниста чел.-ч (маш.-ч)

рабочих

машиниста

1. Разгрузка с автотранспорта приспособлений, инвентаря, подкрановых балок, тормозных площадок, вертикальных связей, упоров

03

100 т

0,165

§ Е1-5. табл. 2, п. 5а, б

5,4

2,7

3-46

2-86

0,89

0,45

0-57

0-47

0,45

0-47

2. Монтаж подкрановых балок

01

1 констр. элемент

20

§ Е5-1-9, п. 1в, г,

2,31

0,46

1-87

0-49,0

46,2

9,20

37-40

9-80

9,20

9-80

 

 

Добавлять на 1 т

8,6

п. 2в, г, К = 1,1

0,53

0,11

0-42,7

0-11,7

4,56

0,95

3-67

1-01

0,95

1-01

3. Постановка болтов

-

100 шт.

3,16

§ Е5-1-19, п. 1

11,5

-

8-57

-

36,34

-

27-08

-

-

-

4. Общая выверка подкрановых балок

-

1 констр. элемент

20

§ Е5-1-9, п. 1д,

1,7

-

1-37

-

34,0

-

27-40

-

-

-

 

 

Добавлять на 1 т

8,6

п. 2д

0,76

-

0-61,4

-

6,54

-

5-28

-

-

-

5. Монтаж тормозных площадок

01

1 т

1,51

§ Е5-1-10, табл. 1, п. 2а, в, К = 1,1

8,8

2,86

6-42,4

3-03,6

13,29

4,32

9-70

4-58

4,32

4-58

6. Постановка болтов

-

100 шт.

0,24

§ Е5-1-19, п. 1

11,5

-

8-57

-

2,76

-

2-06

-

-

-

7. Электросварка тормозных площадок

-

1 т

1,51

§ Е5-1-10, табл. 1, п. 2б

2,2

-

1-74

-

3,32

-

2-63

-

-

-

8. Монтаж рельсов

01

1 м рельсов

120,0

§ Е5-1-13, (п. 1, 2ж) × 0,7 (ВЧ-5), К = 1,1

0,36

0,09

0-30,2

0-06,5

43,2

10,80

36-24

7-80

10,80

7-80

9. Электросварка

рельсов

-

10 м шва

6,0

§ Е22-1-6, п. 1, 4г

2,5

-

2-28

-

15,0

-

13-68

-

-

-

10. Монтаж вертикальных связей

01

1 констр. элемент

4

§ Е5-1-6, табл. 2, п. 1, 3в,

0,36

0,12

0-29,1

0-12,9

1,44

0,48

1-16

0-52

0,48

0-52

 

 

Добавлять на 1 т

0,114

п. 2, 4в, К = 1,1

1,65

0,55

1-32

0-58

0,19

0,06

0-15

0-07

0,06

0-07

11. Постановка болтов

-

100 шт.

0,48

§ Е5-1-19, п. 1

11,5

-

8-57

-

5,52

-

4-11

-

-

-

12. Монтаж упоров

01

1 т

0,182

§ Е5-1-18, табл. 2, п. 1, 2д, К = 1,1

4,84

2,42

3-60,8

2-56,3

0,88

0,44

0-66

0-47

0,44

0-47

13. Электросварка упоров

-

10 м шва

0,52

§ Е22-1-6, п. 1, 4г

2,5

-

2-28

-

1,30

-

1-19

-

-

-

14. Установка лестниц

01

1 шт.

4

§ Е5-1-2, п. 8а, б, К = 1,1

0,37

0,19

0-27,8

0-19,8

1,48

0,76

1-11

0-79

0,76

0-79

15. Перестановка лестниц

01

1 шт.

20

§ Е5-1-2 (п. 8а, б) × 1,2, К = 1,1

0,45

0,22

0-33,4

0-23,8

9,0

4,4

6-68

4-76

4,4

4-76

16. Снятие лестниц

01

1 шт.

4

§ Е5-1-2, (п. 8а, б) × 0,8, К = 1,1

0,30

0,15

0-22,3

0-15,8

1,2

0,6

0-89

0-63

0,6

0-63

Итого:

 

227,11

32,46

181-66

30-90

32,46

30-90

4.3. Калькуляция № 3 на монтаж ограждающих конструкций здания.

Таблица 6

Наименование процесса

Номер фасета для пересчета показателей

Единица измерения

Объём работ

Обоснование (ЕНиР и др. нормы)

Нормы времени

Расценка, р.-к.

Затраты труда

Заработная плата, р..

Время пребывания машины на объекте, маш.-ч

Заработная плата с учетом пребывания машины на объекте, р.-к.

рабочих чел.-ч

машиниста чел.-ч (маш.-ч)

рабочих

машиниста

рабочих чел.-ч

машиниста чел.-ч (маш.-ч)

рабочих

машиниста

1. Разгрузка с автотранспорта приспособлений, инвентаря, стеновых и кровельных панелей, угловых стоек, стоек фахверка

03

100 т

1,05

§ Е1-5, табл. 2, п. 5а, б

5,4

2,7

3-46

2-86

5,67

2,84

3-63

3-00

2,84

3-00

2. Монтаж угловых стоек и стоек фахверка

01

1 констр. элемент

8

§ Е5-1-6, табл. 2, п. 1, 3з,

1,06

0,35

0-84,5

0-37,3

8,48

2,80

6-76

2-98

2,80

2-98

 

 

Добавлять на 1 т

1,96

п. 2, 4з, К = 1,1

2,75

0,91

2-20

0-96,8

5,39

1,78

4-31

1-90

1,78

1-90

3. Постановка болтов:

 

 

 

 

 

 

 

 

 

 

 

 

 

 

с подмостей

-

100 шт.

0,16

§ Е5-1-19, п. 1

11,5

-

8-57

-

1,84

-

1-37

-

-

-

с земли

-

100 шт.

0,16

(п. 1) × 0,7

8,05

-

6-00

-

1,29

-

0-96

-

-

-

4. Монтаж элементов фахверка

01

1 констр. элемент

16

§ Е5-1-6, табл. 2, п. 1, 3б,

0,33

0,11

0-26,4

0-11,7

21,78

7,26

17-42

7-72

7,26

7-72

 

 

Добавлять на 1 т

4,9

п. 2, 4б, К = 1,1

1,1

0,36

0-88

0-38,5

5,39

1,76

4-31

1-89

1,76

1-89

5. Постановка болтов

 

 

 

 

 

 

 

 

 

 

 

 

 

 

с подмостей

-

100 шт.

2,16

§ Е5-1-19, п. 1

11,5

-

8-57

-

24,84

-

18-51

-

-

-

с земли

-

100 шт.

0,48

(п. 1) × 0,7

8,05

-

6-00

-

3,86

-

2-88

-

-

-

6. Монтаж стоек

01

1 констр. элемент

4

§ Е5-1-6, табл. 2, п. 1, 3з,

1,06

0,35

0-84,5

0-37,3

4,24

1,40

3-38

1-49

1,40

1-49

 

 

Добавлять на 1 т

0,43

п. 2, 4з, К = 1,1

2,75

0,91

2-20

0-96,8

1,18

0,39

0-95

0-42

0,39

0-42

7. Постановка болтов

 

 

 

 

 

 

 

 

 

 

 

 

 

 

с подмостей

-

100 шт.

0,08

§ Е5-1-19, п. 1

11,5

-

8-57

-

0,92

-

0-69

-

-

-

с земли

-

100 шт.

0,08

(п. 1) × 0,7

8,05

-

6-00

-

0,64

-

0-48

-

-

-

8. Сборка кровельных панелей в картины на стенде

03

100 м2 настила кровли

7,2

§ Е5-1-20, табл. 1, п. г

5,8

-

4-28

-

41,76

-

30-82

-

-

-

9. Установка лестниц

01

1 шт.

4

§ Е5-1-2, п. 8а, б, К = 1,1

0,37

0,19

0-27,8

0-19,8

1,48

0,76

1-11

0-79

0,76

0-79

10. Перестановка лестниц

01

1 шт.

36

§ Е5-1-2, (п. 8а, б) × 1,2, к = 1,1

0,45

0,22

0-33,4

0-23,8

16,2

7,92

12-02

8-57

7,92

3-57

11. Снятие лестниц

01

1 шт.

4

§ Е5-1-2, (п. 8а, б) × 0,8, к = 1,1

0,30

0,15

0-22,3

0-15,8

1,2

0,60

0-89

0-63

0,60

0-63

12. Установка картин

01

100 м2 настила

7,2

§ Е5-1-20, табл. 1, п. 4в

6,20

-

4-71

-

44,64

-

33-91

-

-

-

13. Подъём картин на кровлю краном

03

На каждый метр подъёма 100 м2 настила

72,0

§ Е5-1-20, табл. 5, п. 14, К = 1,1

0,055

0,017

0-04,3

0-01,8

3,96

1,22

3-10

1-30

1,22

1-30

14. Укладка на кровлю картин краном

01

100 м2 настила

7,2

§ Е5-1-20, табл. 5, п. 15, К = 1,1

2,20

0,55

1-71

0-58

15,84

3,96

12-31

4-18

3,96

4-18

15. Подъём краном панелей в пачке на кровлю

01

100 м2 настила

3,6

§ Е5-1-20, табл. 5, п. 9, К = 1,1

0,11

0,03

0-08,3

0-03,5

0,40

0,11

0-30

0-13

0,11

0-13

16. Установка настила отдельными панелями

01

100 м2

настила

3,6

§ Е5-1-20, табл. 1, п. в

10,5

-

7-90

-

37,80

-

28-44

-

-

-

17. Заделка стыков прокладками из минеральной ваты

-

1 м2

18,0

§ Е11-17, п. 2а, применительно

0,69

-

0-49

-

12,42

-

8-82

-

-

-

18. Установка лестниц

01

1 шт.

2

§ Е5-1-2, п. , б, К = 1,1

0,37

0,19

0-27,8

0-19,8

0,74

0,38

0-56

0-40

0,38

0-40

19. Перестановка лестниц

01

1 шт.

00

§ Е5-1-2, (п. 8а, б) × 1,2, К = 1,1

0,45

0,22

0-33,4

0-23,8

45,0

22,0

33-40

23-80

22,0

23-80

20. Снятие лестниц

01

1 шт.

2

§ Е5-1-2, (п. 8а, б) × 0,8, К = 1,1

0,30

0,15

0-22,3

0-15,8

0,60

0,30

0-45

0-32

0,30

0-32

21. Установка трехслойных стеновых панелей

03

1 панель

80

Типовой сборник, § Т-7-66

2,3

0,38

1-33

0-26,7

184,0

30,40

106-40

21-36

30,40

21-36

22. Установка цокольных стеновых панелей

03

1 панель

24

§ Е4-1-8, табл. 2, п. 9, К = 1,1

1,64

0,39

1-17

0-40,8

36,96

9,36

28-08

9-79

9,36

9-79

23. Монтаж оконных переплётов

01

1 т

7,1

§ Е5-1-15, табл. 2, п. 7, 8, К = 1,1

4,73

1,54

3-78

1-63

33,58

10,93

26-84

11-57

10,93

11-57

24. Электросварка оконных переплётов

-

1 т

7,1

§ Е5-1-15, табл. 2, п. 9

0,57

-

0-45

-

4,05

-

3-20

-

-

-

25. Монтаж ворот

03

1 т

1,64

§ Е5-1-15, табл. 2, п. 7, 8, применительно

4,73

1,54

3-78

1-63

7,76

2,53

6-20

2-67

2,53

2-67

26. Электросварка ворот

-

1 т

1,64

§ Е5-1-15, табл. 2, п. 9

0,57

-

0-45

-

0,93

-

0-74

-

-

-

27 Установка передвижных площадок

-

1 шт.

1

§ Е5-1-2, п. 2 а

0,51

-

0-38

-

0,51

-

0-38

-

-

-

28. Перестановка передвижных площадок

-

1 шт.

40

§ Е5-1-2. (п. 2 а) × 2

0,61

-

0-46

 

24,40

-

18-40

-

-

-

Итого:

599,75

108,70

422-02

104-91

108,70

104-91

ВСЕГО по калькуляциям 1, 2, 3

1159,92

183,63

869-77

181-18

183,63

181-18

5. ГРАФИК ПРОИЗВОДСТВА РАБОТ НА МОНТАЖ ОДНОГО ЗДАНИЯ

Таблица 7


6. МАТЕРИАЛЬНО-ТЕХНИЧЕСКИЕ РЕСУРСЫ

6.1. Потребность в инструменте, инвентаре и приспособлениях

приведена в табл. 8.

Таблица 8

Наименование

Марка, техническая характеристика, НТД, чертежа

Кол-во, шт.

Назначение

Строп четырехветвевой

4СК1-3,2/5000 ГОСТ 25573-82*

1

Подъём цокольных стеновых панелей, подкрановых балок, панелей покрытия

Строп двухпетлевой

СКП1-2,5/10200 ГОСТ 25573-82*

2

Подъём рам каркаса стеновых панелей

То же

СКП1-0,32/7160 ГОСТ 25573-82*

2

Подъём панелей покрытия

-"-

СКП1-0,32/1500 ГОСТ 25573-82*

2

Подъём подкрановых балок, рам каркаса

Пружинный замок

ПР-3,2 ВНИПИ Промстальконструкция Минмонтажспецстроя СССР, проект 29700-100

2

Дистанционная расстроповка конструкций

Захват

ЗХ-1, ТТК, шифр 6547030003, л. 26

1

Подъём кровельной панели ПКМ-120

-"-

ЗХ-2, ТТК, шифр 6547030003, л. 26

1

То же

Траверса

ТР-1, ТТК, ш. 6547030003 или проект 009.00.000 ЦНИИОМТП Госстроя СССР

2

Подъём картины покрытия

Расчалка из каната

13-Г-1-ОЖ-И-1370 ГОСТ 2688-80*, Lк = 14830 мм

4

Временное крепление рам каркаса

То же

13-Г-1-ОЖ-И-1370 ГОСТ 2688-80*, Lк = 9580 мм

2

То же

Инвентарная распорка

ВНИПИ Промстальконструкция Минмонтажспецстроя СССР, проект 4234Р-44

1

Временное крепление рам каркаса

Рожковый зажим

16-1 ОСТ 24.090.51-86

24

Временное крепление петли каната

Талреп

1.6.1.ВУ, ГОСТ 19191-73*

4

Натяжение каната распорки

Скоба такелажная

Сп-1,6, ГОСТ 25573-82*

8

Крепление расчалки к хомуту на колонне

Канат бельный

Ø 11 мм, L = 5000 мм ГОСТ 483-75*

2

Оттяжка конструкций при монтаже

Подкладка под канат

ВНИПИ Промстальконструкция Минмонтажспецстроя СССР, проект 29700-106-00

10

Установка под канат в местах перегиба стропа при обхвате поднимаемой конструкции

Склад-пирамида для стеновых панелей

ТСО Мосоргтехстрой Главмосстроя, проект 3942.10А

4

Складирование цокольных стеновых панелей

Приставная лестница

Л-1 Высота 4890 мм ВНИПИ Промстальконструкция Минмонтажспецстроя СССР

2

Монтаж подкрановых балок

Приставная лестница

ЛА-4 ВЗСАК им. Ф.Б. Якубовского

2

Монтаж рам каркаса, панелей покрытия

Лестница с монтажной площадкой

ВНИПИ Промстальконструкция Минмонтажспецстроя СССР проект 52708М-202

2

Монтаж стеновых панелей

Лестница

ЛА-1 ВНИПИ Промстальконструкция Минмонтажспецстроя СССР, проект 15058

2

То же

Площадка передвижная

ЦНИИОМТП Госстроя СССР, проект 770.09.000

2

Организация рабочего места монтажника при монтаже стеновых панелей

Подмости облегченные

ЦНИИОМТП Госстроя СССР, проект 4401.00.000

2

То же

Преобразователь частоты тока

ИЭ-9401А

1

Преобразование промышленной частоты тока 50 Гц в частоту 200 Гц для питания электроинструмента

Трансформатор сварочный

ТД-500, ГОСТ 95-77*Е

1

Питание переменным током при ручной дуговой сварке

Штепсельное соединение

ИЭ-9902

2

Подключение электроинструмента к питающей электросети

Машина ручная сверлильная электрическая (с набором сверл)

ИЭ-1026Б или ИЭ-1035

2

Сверление отверстий под самонарезные винты и комбинированные заклёпки

Гайковерт ручной электрический

ИЭ-3114Б или ИЭ-3113А

2

Установка самонарезающих винтов

Насадка-выборка

Трест Уралстальконструкция ТСО Стальконструкция Минмонтажспецстроя СССР, проект 19р-1

2

Сверление отверстий в теплоизоляционном слое

Насадка магнитная

То же, проект 19р-2

2

Применяется с гайковертом в качестве удлинителя

Ящик инструментальный

ЯМД, ТУ 36-1037-75

2

Хранение и переноска мелкого инструмента и крепежных изделий

Приспособление для хранения комбинированных заклёпок

Индивидуальное изготовление

2

Хранение комбинированных заклёпок на рабочем месте в удобном положении для захвата заклёпочником

Пистолет ручной односторонней клёпки

СТД-96/1 Ногинский опытный завод монтажных приспособлений Минмонтажспецстроя СССР, проект 4610-00-00

2

Установка комбинированных заклёпок

Щуп металлический

ТУ 2-034-225-87

2

Контроль натяжения болтов

Нормокомплект для сварочных работ

ПКТИ ТСО Южуралстрой, проект 712.00.000А

1

Для сварочных работ

Лом монтажный

ЛМА (ЛМВ), ГОСТ 1405-83

2

Рихтовка элементов

Кувалда

ГОСТ 11402-75*

1

Выпрямление конструкций

Рулетка

РС-1, ГОСТ 7502-80*

1

Измерение элементов и разбивка осей

Линейка измерительная металлическая

ГОСТ 427-75*

1

То же

Нивелир в комплекте

Н-3, ГОСТ 10528-76*

1

Выполнение геодезических работ

Теодолит в комплекте

Т1, ГОСТ 10529-86

2

То же

Пояс предохранительный

ГОСТ 12.4.089-86

2

Для защиты от падения с высоты

Каска строительная

ГОСТ 12.4.087-84

8

Индивидуальное средство защиты

Обувь диэлектрическая

ГОСТ 13385-78*

2

Электробезопасность

6.2. Потребность в материалах и полуфабрикатах для выполнения работ дана в табл. 9.

Таблица 9

Наименование материала, полуфабриката, конструкции (марка, ГОСТ)

Вариант (фасет-код)

Исходные данные

Потребность в материале

Единица измерения

объем работ в нормативных един.

Принятая норма расхода материала

Электроды Э-42

-

1 т

13,56

17 кг

230,52 кг

Прочие материалы

-

1 т

164

2,78 руб.

455,92 руб.

7. ТЕХНИКА БЕЗОПАСНОСТИ

До начала работ все члены бригады должны быть проинструктированы о правильных приемах труда и правилах техники безопасности. Получив инструктаж, расписываются в специальных журналах.

В процессе производства строительно-монтажных работ присутствуют следующие опасные факторы:

падение работающих с высоты;

поражение электрическим током;

поражение от падения груза.

Для предупреждения этих опасных факторов необходимо применять средства индивидуальной защиты работающих.

Основным средством индивидуальной защиты работающих от падения с высоты является предохранительный пояс. Все работы на высоте 1,3 м и более, а также на участках, расположенных на расстоянии менее 2 м от границы перепада по высоте, выполнять с предохранительными поясами (при невозможности устройства ограждений).

Для защиты электросварщиков от поражения электрическим током необходимо соблюдать следующие требования:

для защиты рук электросварщики должны обеспечиваться рукавицами или перчатками, изготовленными из искростойких материалов с низкой электропроводностью;

для защиты ног должна применяться специальная обувь, предохраняющая ноги от ожогов брызгами расплавленного металла, а также от механических травм;

для защиты головы от механических травм и поражения электрическим током должны выдаваться защитные каски из токонепроводящих материалов;

для защиты лица и глаз электросварщики должны обеспечиваться защитными щитками, масками, защитными очками и светофильтрами.

Для предупреждения поражения работающих от падения груза все лица, находящиеся на строительной площадке, обязаны носить защитные каски (ГОСТ 12.4.087-84). Рабочие и инженерно-технические работники без защитных касок и других необходимых средств индивидуальной защиты к выполнению работ не допускаются.

До выполнения монтажных работ необходимо установить порядок обмена условными сигналами между лицом, руководящим монтажом, и машинистом крана. Все сигналы подаются только одним лицом (бригадиром, звеньевым, стропальщиком), кроме сигнала «Стоп», который может быть подан любым работником, заметившим явную опасность.

При гололедице, сильном снегопаде, тумане, грозе и дожде монтажные работы прекращаются.

Не допускается также производить монтажные работы при скорости ветра 15 м/с и более. Монтаж панелей с большой парусностью следует прекращать при скорости ветра 10 м/с.

Одним из важных мероприятий предупреждения производственного травматизма является тщательная подготовка строительных конструкций к подъёму на высоту для установки в проектное положение.

Перед началом монтажа конструкцию тщательно осматривают, геометрические размеры проверяют с помощью стальной рулетки и выявленные дефекты устраняют на месте складирования или непосредственного монтажа.

Перед началом подъёма проверяют правильность и надёжность строповки конструкции и к ней прикрепляют гибкие канаты для дистанционной расстроповки, гибкие оттяжки для предотвращения раскачивания и вращения ее в процессе подъёма и установки, а также (при необходимости) устройства (расчалки из стальных канатов, распорки и т.п.), обеспечивающие устойчивость после расстроповки.

Расстроповку конструкций, установленных в проектное положение, производят только после временного или постоянного надёжного их закрепления по проекту болтами, пробками, электроприхваткой с установкой связей, распорок, расчалок и т.п.

Расчалки для временного закрепления конструкции изготовляют из стального каната одинакового диаметра в каждой паре и располагают с углами наклона и к горизонту, и к плоскости расчаливания (в горизонтальной плоскости) не более 4.

Расчалки прикрепляют к специальным якорям или конструкциям способами, исключающими ослабление натяжения, и располагают за пределами движения транспорта и монтажных механизмов.

При отсутствии специальных указаний в проекте расстроповку конструктивных элементов, соединяемых болтами, осуществляют только после установки в узле не менее 30 % болтов и 10 % пробок, в случаях, когда общее их число в узле более 5; при 5 и менее должны быть установлены не менее чем один болт и одна пробка.

В процессе выполнения сборочных операций совмещение отверстий и проверка их совпадения в монтируемых деталях должны производиться с использованием специального инструмента (конусных оправок, сборочных пробок). Проверять совпадение отверстий в монтируемых деталях пальцами рук не допускается.

Расстроповку конструктивных элементов, соединяемых электросваркой, воспринимающих монтажные нагрузки, осуществляют только после заварки узлов соединений проектными сварными швами или прихваткой, размеры которых определяют проектом, а расстроповку конструкций, не воспринимающих монтажные нагрузки - после выполнения прихваток, длина которых должна быть не менее 10 % длины проектных монтажных швов данного соединения, но не короче 50 мм; до расстроповки в дополнение к указанным должны быть установлены временные или постоянные связи, распорки и расчалки.

Производство электросварочных работ во время дождя или снегопада при отсутствии навесов над электросварочным оборудованием и рабочим местом не допускается. Электросварочные работы выполнять согласно требованиям ГОСТ 12.3.003-86 «Работы электросварочные».

При производстве работ руководствоваться требованиями СНиП III-4-80*, «Правил устройства и безопасной эксплуатации грузоподъёмных кранов», утвержденных Госгортехнадзором в 1969 г., и ГОСТ 12.1.013-78 «Строительство. Электробезопасность».

8. ТЕХНИКО-ЭКОНОМИЧЕСКИЕ ПОКАЗАТЕЛИ.

Нормативные затраты труда монтажников, чел.-ч

1159,92

Нормативные затраты машинного времени, маш.-ч

183,63

Заработная плата монтажников, р.-к.

869-77

Заработная плата механизаторов, р.-к.

181-18

Продолжительность выполнения работ, смена

29,1

Выработка одного рабочего, т/чел.-смену

1,13

Условные затраты на механизацию базового варианта, р.-к.

1221-14

Сумма изменяемых затрат, р.-к.

2090-91

9. ФАСЕТНЫЙ КЛАССИФИКАТОР ФАКТОРОВ

ФАСЕТ 01

Стоимость 1 маш.-ч (чел.-ч) на использование средств подмащивания, р.-к.

Наименование фактора

Обоснование

Код

Значение фактора

Передвижные подмости

По калькуляции

1

0-75

Автоподъёмник АП-17

СНиП IV-3-82, Приложение. Сб. сметных цен

2

4-45

Лестница приставная

По калькуляции

3

0-41

ФАСЕТ 02

Стоимость 1 маш.-ч работы монтажного крана, р.-к.

Наименование фактора

Обоснование

Код

Значение фактора

Кран пневмоколёсный грузоподъёмностью 16 т

СНиП IV-3-82, Приложение. Сб. сметных цен

1

6-65

Кран автомобильный грузоподъёмностью 16 т

То же

2

4-63

Кран гусеничный грузоподъёмностью 25 т

-"-

3

6-39

Кран пневмоколёсный грузоподъёмностью 25 т

-"-

4

6-91

ФАСЕТ 03

Условия производства работ

Наименование фактора

Обоснование

Код

Значение фактора

Вредные при сварочных работах

ЕНиР, Общая часть, п. 5; § Е22-1-6, пп. 6г, 9г

1

По калькуляции

Вредные при изоляционных работах

ЕНиР, Общая часть, п. 5; § Е11-41

2

Н.вр. и Расц. умножать на 0,6

СОДЕРЖАНИЕ

1. Область применения. 1

2. Организация и технология выполнения работ. 2

2.1. Общие положения. 2

2.2. Технологическая последовательность выполнения работ на ячейке. 4

2.3. Геодезическое обеспечение. 8

2.4. Указания к производству работ в зимнее время. 9

3. Требования к качеству и приёмке работ. 9

4. Калькуляции затрат труда, машинного времени и заработной платы.. 41

4.1. Калькуляция № 1 на монтаж элементов каркаса здания. 41

4.2. Калькуляция № 2 на монтаж подкрановых балок, тормозных площадок, вертикальных связей. 42

4.3. Калькуляция № 3 на монтаж ограждающих конструкций здания. 45

5. График производства работ на монтаж одного здания. 48

6. Материально-технические ресурсы.. 50

6.1. Потребность в инструменте, инвентаре и приспособлениях. 50

6.2. Потребность в материалах и полуфабрикатах для выполнения работ. 51

7. Техника безопасности. 51

8. Технико-экономические показатели. 53

9. Фасетный классификатор факторов. 53

 

 




ГОСТЫ, СТРОИТЕЛЬНЫЕ и ТЕХНИЧЕСКИЕ НОРМАТИВЫ.
Некоммерческая онлайн система, содержащая все Российские Госты, национальные Стандарты и нормативы.
В Системе содержится более 150000 файлов нормативно-технической документации, действующей на территории РФ.
Система предназначена для широкого круга инженерно-технических специалистов.

Рейтинг@Mail.ru Яндекс цитирования

Copyright © www.gostrf.com, 2008 - 2026