Крупнейшая бесплатная информационно-справочная система онлайн доступа к полному собранию технических нормативно-правовых актов РФ. Огромная база технических нормативов (более 150 тысяч документов) и полное собрание национальных стандартов, аутентичное официальной базе Госстандарта. GOSTRF.com - это более 1 Терабайта бесплатной технической информации для всех пользователей интернета. Все электронные копии представленных здесь документов могут распространяться без каких-либо ограничений. Поощряется распространение информации с этого сайта на любых других ресурсах. Каждый человек имеет право на неограниченный доступ к этим документам! Каждый человек имеет право на знание требований, изложенных в данных нормативно-правовых актах!

  


 

Открытое акционерное общество

Проектно-конструкторский и технологический
институт промышленного строительства
ОАО ПКТИпромстрой

УТВЕРЖДАЮ

Генеральный директор, к.т.н.

_____________ С.Ю. Едличка

«21» июня 2000 г.

ТЕХНОЛОГИЧЕСКАЯ КАРТА
НА
РЕМОНТ ПРИМЫКАНИЙ КРОВЕЛЬНОГО
ПОКРЫТИЯ
МАТЕРИАЛОМ «ИЗОЭЛАСТ»

7393 ТК

Главный инженер

_________________ А.В. Колобов

Начальник отдела

_________________ Б.И. Бычковский

2000

Содержание. 1

1 Область применения. 1

2 Организация и технология строительного процесса. 2

3 Требования к качеству и приемке работ. 11

4 Требования техники безопасности и охраны труда, экологической и пожарной безопасности. 14

5 Потребность в материально-технических ресурсах. 20

6 Технико-экономические показатели. 22

7 Перечень нормативно-технологической литературы.. 23

Приложение а. Расчет нормы времени на нарезку швов на 100 м2 покрытия из рулонных материалов, пришедших в негодность. 24

1 ОБЛАСТЬ ПРИМЕНЕНИЯ

1.1 Технологическая карта разработана на ремонт рулонных кровельных покрытий промышленных зданий с применением кровельного материала «Изоэласт» в местах примыканий:

- к воронке внутреннего водостока;

- к вертикальным поверхностям (стенам, парапетам, ограждениям);

- к вентиляционным трубам;

- к аэрационным фонарям;

- в деформационных швах.

Кровельный материал «Изоэласт» представляет собой рулонный материал, изготовленный из армирующей основы - стеклохолста, полиэфирного нетканного полотна или стеклоткани, с нанесением на нее с обеих сторон битумно-полимерной массы и защитных слоев.

1.2 «Изоэласт» состоит из малоокисленного битума, модифицированного стирол-бутадиен-стирольными термоэластопластами и нетканной основы из стекловолокна или полиэстера, и представляет собой материал, имеющий следующую маркировку:

а) для нижнего и среднего слоев - «Изоэласт» с полимерной пленкой с одной (П) или двух (ПП) сторон, минеральной пылевидной или мелкозернистой посыпкой с одной (М) или двух (ММ) сторон, или пылевидной посыпкой и полимерной пленкой (МП), на основах:

- стеклохолст (X): ХМП, ХПП- 2,5

                                ХМП, ХПП - 3,0

                                ХМП. ХПП - 3,5;

- полиэфирное нетканное полотно - (Э);

                                ЭМП, ЭПП, ЭММ - 3,0

                                ЭМП, ЭПП, ЭММ - 4,0;

- стеклоткань (Т):

                                ТМП, ТПП, ТММ - 3,0

                                ТМП, ТПП, ТММ - 4,0;

б) для верхнего слоя без гравийной защиты - «Изоэласт» с полимерной (П) пленкой с нижней стороны и крупнозернистой (К) посыпкой с лицевой стороны на основах:

- стеклохолст (X): ХКП - 3,5; 4,0;

- полиэфирное нетканное полотно (Э):

                                ЭКП - 3,5; 4,0; 4,5; 5,0;

- стеклоткань (Т); ТКП - 3,5; 4,0;

                                ТКП - 3,5; 4,0.

Цифрами указана масса 1 м2 материала.

1.3 Рулонный материал «Изоэласт» относится к категории наплавляемых рулонных материалов, что дает возможность применять его для устройства и ремонта кровель в любое время года без применения приклеивающих мастик по жестким основаниям (железобетонные плиты, цементно-песчаные и асфальтовые стяжки), огрунтованным раствором битума БН- 90/10 в нефрасе в соотношении 1:2 по массе. Характеристика и физико-механические свойства рулонного материала «Изоэласт» представлены в таблице 1.

Таблица 1 - Характеристика и физико-механические свойства «Изоэласта».

Толщина, мм

4,5 - 6,0

Масса вяжущего, общая/снизу, г/м2 не менее

не норм./2000

Теплостойкость, °С

90

Прочность на разрыв, МПа (числ.)

-/360

Н/50 мм (знамен.)

600

Водопоглощение через 24 часа выдерживания, %

1,0

Температура хрупкости, °С

- 40

Гибкость на брусе, R, мм/ °С

10/-30

Срок службы, лет

20-25

Область применения

кровля и гидроизоляция

Изготовитель (поставщик)

Изофлекс

2 ОРГАНИЗАЦИЯ И ТЕХНОЛОГИЯ СТРОИТЕЛЬНОГО ПРОЦЕССА

2.1 Перед началом работ по ремонту кровли в местах примыканий проводится освидетельствование кровли и по результатам обследования составляется ведомость дефектов кровли и объемов ремонтных работ.

2.2 Ремонт рулонной кровли в местах примыканий выполняется для устранения следующих дефектов:

- разрывов ковра и протечек в местах его сопряжения с водоприемной воронкой;

- отслаивания дополнительного водоизоляционного ковра и фартука от выступающих вертикальных участков;

- сползания кровли в местах примыкания к вертикальным поверхностям;

- появления трещин в слоях водоизоляционного ковра у примыканий кровель к вертикальным поверхностям;

- протечек кровли в местах пропуска через кровлю вентиляционных труб;

- появления трещин в слоях водоизоляционного ковра в местах примыкания кровли по углам аэрационных фонарей;

- появления трещин, отслаивания, разрывов в деформационных швах.

2.3 Ремонт кровель должен производиться в короткие сроки. Длительные перерывы в работах не допускаются. К ремонту кровель разрешается приступать только после подготовки необходимых материалов.

2.4 К концу рабочей смены ремонтируемый участок должен быть покрыт новыми материалами. При этом должны быть приняты меры, исключающие возможность попадания атмосферных осадков в нижележащие слои покрытия.

2.5 Наплавление рулонного материала «Изоэласт» ведется путем разогрева мастичного слоя с нижней стороны рулонного материала газовыми горелками, которые работают на сжиженном газе пропан-бутане. В зимний период перед наклеиванием рулоны выдерживают в теплом помещении и доставляют к рабочим местам в утепленных контейнерах.

2.5.1 Разогревая нижний утолщенный слой «Изоэласта» с одновременным подогревом основания под кровлю или поверхности ранее наклеенного слоя, рулон раскатывают, плотно прижимают к основанию и прокатывают катком или притирают гребками. Поверхность должна быть ровной, без складок, бугров.

2.5.2 Горелки устанавливают таким образом, чтобы тепловой поток равномерно распределялся по ширине рулона «Изоэласт» и одновременно подогревал поверхность, к которой наплавляется этот рулон во время раскатки.

2.5.3 Критерием скорости раскатки рулона «Изоэласт» может служить визуальная оценка начала образования мелкого валика размягченной (расплавленной) покрывной битумно-полимерной мастики впереди рулона. Вытекание из-под рулона «Изоэласта» этой битумно-полимерной мастики свидетельствует о перегреве и потере качества покровного слоя (с нижней стороны).

2.6 В случае неблагоприятных метеорологических условий устранение дефектов, вызывающих протекание кровель, должно производиться под пленками.

2.7 Ремонт примыканий кровельного ковра к воронке внутреннего водостока.

2.7.1 Ремонт примыкания кровельного ковра к воронке внутреннего водостока показан на рисунках 1а - 1д и выполняется в следующей последовательности:

- до начала ремонта необходимо снять водоприемный колпак и прижимное кольцо, очистить воронку внутреннего водостока от ржавчины и покрыть ее антикоррозионным составом, снять старый кровельный ковер размером 1000´1000 мм вокруг воронки (рисунок 1а);

- после этого очистить и просушить основание под рулонный материал, поверхность основания должна быть ровной без складок и бугров;

- наклеить вокруг воронки с заведением на чашу патрубка слой стеклоткани размером 800´800 мм, пропитанной битумной мастикой, сделать крестообразный разрез по центру воронки, отогнуть образовавшиеся углы вниз и плотно прижать к стенке (рисунок 1б), наплавить вокруг воронки слой «Изоэласта» размером 1000´1000 мм впритык со старым кровельным ковром и, сделав крестообразный надрез в центре воронки, плотно прижать к стенке (рисунок 1 в);

- наплавить два слоя кровельного материала «Изоэласт» с напуском 150 мм на старый кровельный ковер, сведя толщину вновь наклееных слоев до минимума и, сделав крестообразный разрез, приклеить к стенке (рисунок 1г);

- наплавляются два дополнительных слоя «Изоэласта» и наклеивается слой стеклоткани размером 500´500 мм поверх основного ковра и зажимаются между прижимным кольцом и воронкой (рисунок 1д);

- устанавливается водоприемный колпак, который крепят к прижимному кольцу болтами, и наносится защитный слой покрытия.

1 - существующий рулонный ковер;

2 - водоприемная воронка;

3 - участок, освобожденный от существующего ковра;

4 - слой стеклоткани размером 800´800;

5 - слой «Изоэласта» размером 1000´1000;

6 - 2 слоя «Изоэласта» размером 1300´1300;

7 - 2 слоя «Изоэласта» и слой стеклоткани размером 500´500.

Рисунок 1 - Схема ремонта примыкания кровли к водоприемной воронке

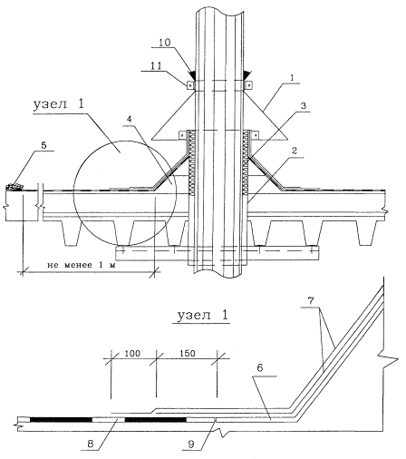
2.8 Ремонт мест примыканий кровельного ковра к вертикальной поверхности.

2.8.1 При отслаивании водоизоляционного ковра у примыканий к вертикальной поверхности кирпичной кладки необходимо снять защитный фартук (рисунок 2, поз. 3), отставший рулонный ковер (рисунок 2, поз. 7) отогнуть вниз, в выступающей поверхности сделать штрабу и установить деревянные пробки (рисунок 2, поз. 1) (на высоте не менее 200 мм от основания под кровлю), к которым закрепить антисептированный деревянный брусок (рисунок 2, поз. 2), после чего работы по ремонту кровли провести в следующей последовательности:

- оштукатурить поверхность примыкания ниже деревянного бруска цементно-песчаным раствором и огрунтовать; отогнутую часть водоизоляционного ковра очистить от пыли и огрунтовать; нанести горячую кровельную мастику на вертикальную поверхность примыкания и отвернутую часть водоизоляционного ковра, затем плотно склеить их.

- прибить край отогнутого ковра к деревянному брусу. Затем наплавить дополнительный слой рулонного материала «Изоэласт» с помощью газовой горелки; выполнить работы по установке защитных фартуков с закреплением их краев в штрабе и заделать цементно-песчаным раствором часть штрабы выше защитного фартука;

- при отслаивании дополнительного водоизоляционного ковра у примыканий к бетонным поверхностям дополнительно требуется закрепить при помощи дюбелей к бетонной поверхности стальную полосу; закрепить верхний край защитного фартука на стальной полосе, обрезать край рулонного ковра и загерметизировать мастикой шов между бетонной поверхностью и защитным фартуком. Мастику окрасить краской БТ-177.

1 - деревянная пробка

2 - антисептированный деревянный брусок

3 - защитный фартук

4 - наклонный переходный бортик 100´100

5 - дополнительный кровельный ковер из двух слоев Изоэласта

6 - основной кровельный ковер из Изоэласта

7 - старый кровельный ковер

8 - металлическая шайба 100´100´8

9 - герметизирующая мастика УМС-50

Рисунок 2 - Схема ремонта в местах примыкании к вертикальным поверхностям

2.8.2 При сползании кровли в местах примыкания к вертикальным поверхностям необходимо освободить старый кровельный ковер от закрепления в верхней части и убрать все оставшиеся полотнища рулонных материалов совместно с оплывшей вниз мастикой; освободить водоизоляционный ковер у мест примыкания от защитного слоя или крупнозернистой посыпки на ширину 350 - 400 мм. Уложить слои дополнительного водоизоляционного ковра из рулонного материала «Изоэласт», закрепив ковер в верхней части; выполнить защитный окрасочный слой; установить защитные фартуки.

2.8.3 При трещинах в слоях водоизоляционного ковра у примыканий к вертикальным поверхностям необходимо снять или отогнуть для удобства работы защитный фартук и убрать слои кровельного материала, расположенные выше трещины. Последующие работы по ремонту кровли проводить в следующей последовательности:

- установить, при необходимости, наклонный переходный бортик (рисунок 2, поз. 4), из цементно-песчаного раствора, песчаного асфальтобетона или легкого бетона под углом до 45° и высотой не менее 100 мм, при помощи которых осуществляется переход от основной плоскости кровли к выступающей конструкции;

- освободить водоизоляционный ковер от защитного слоя или крупнозернистой посыпки на ширину не менее 400 мм от края трещины (рисунок 2, узел 1);

- наплавить два слоя рулонного материала «Изоэласт» с напуском нижнего края полотнищ на основной водоизоляционный ковер не менее чем на 100 мм;

- установить защитный фартук и восстановить защитный окрасочный слой и слой крупнозернистой посыпки.

2.9 Ремонт мест примыканий кровельного ковра к вентиляционным трубам.

2.9.1 При трещинах в слоях водоизоляционного ковра у примыканий к вентиляционным трубам необходимо снять защитный зонт (рисунок 3, поз. 1), убрать часть кровельных материалов и материалы основания под кровлю, расположенные выше трещины (рисунок 3, узел 1). Дальнейшие работы по ремонту примыкания к вентиляционным трубам выполняются в следующей последовательности:

- установить патрубок (рисунок 3, поз. 2) из оцинкованной кровельной стали или поливинилхлорида высотой 250 мм, для кровель, заполняемых водой, 350 мм (считая от основания под кровлю), по периметру трубы (с зазором 20 - 25 мм). Пространство между патрубком и трубой заполнить минераловатным утеплителем (рисунок 3, поз. 3);

- установить переходный наклонный бортик (рисунок 3, поз. 4).

- освободить водоизоляционный ковер от защитного слоя или крупнозернистой посыпки на ширине до 1 м по периметру от низа переходного бортика.

- наплавить два слоя рулонного материала «Изоэласт» с напуском нижнего края полотнищ на основной водоизоляционный ковер на 150 мм и 100 мм (рисунок 3, узел 1).

- установить защитный зонт, приварив его к трубе или прикрепив хомутом с последующей герметизацией мастиками; восстановить защитный окрасочный слой.

1 - защитный зонт

2 - патрубок

3 - минераловатный утеплитель

4 - наклонный переходный бортик 100´100

5 - гравийная засыпка

6 - основной кровельный ковер из Изоэласта

7 - дополнительный кровельный ковер из 2-х слоев Изоэласта

8 - старый кровельный ковер

9 - трещина

10 - герметизирующая мастика

11 - зажимной хомут

Рисунок 3 - Ремонт мест примыканий кровли к вентиляционным трубам

2.10 Ремонт мест примыканий кровельного ковра по углам аэрационных фонарей.

2.10.1 При трещинах в слоях водоизоляционного ковра в местах примыкания кровли по углам фонарей необходимо освободить водоизоляционный ковер от защитного слоя или крупнозернистой посыпки на ширину 400 мм с каждой стороны трещины (рисунок 4, разрез 1 - 1), а ремонт производить в следующей последовательности:

- на трещину «насухо» наложить полоску полиэтиленовой пленки шириной 150 мм.

- наплавить слои дополнительного водоизоляционного ковра из «Изоэласта» так, чтобы нижний слой перекрывал пленку не менее чем на 100 мм и каждый вышележащий слой перекрывал нижележащий на 100 мм. Верхний слой должен закрепляться.

- восстановить защитный окрасочный слой или слой крупнозернистой посыпки.

2.11 Ремонт кровельного ковра по деформационным швам.

2.11.1 При дефектах (трещинах, отслаивании и др.) кровельного ковра на деформационных швах необходимо:

- удалить дюбели (рисунок 5, поз. 5);

- снять верхний компенсатор из оцинкованной стали (рисунок 5, поз. 6) со стальными полосами (рисунок 5, поз. 7);

- убрать поврежденный кровельный ковер;

- при необходимости восстановить утеплитель;

- наплавить два (три) слоя кровельного материала «Изоэласт» с нахлестом 150 мм и 100 мм;

- установить компенсатор из оцинкованной стали с уложенными с шагом 600 мм стальными полосами (рисунок 5, поз. 7) крепятся дюбелями к бортовому камню (рисунок 5, поз. 3).

2.12 Для снятия старого рулонного ковра используют машину конструкции ЛНИИ АКХ (Ленинградский научно-исследовательский институт академии коммунального хозяйства), предназначенную для нарезки швов в рулонном ковре, технические характеристики которой приведены в таблице 2.

Таблица 2 - Технические характеристики машины ЛНИИ АКХ

Показатели

Технические данные

Примечание

Техническая производительность, м/мин

до 4

 

Число нарезаемых швов за один проход

1

 

Рабочий орган (фреза):

 

 

диаметр, мм

200

 

частота вращения, мин-1

2260

 

максимальная глубина врезания в ковер, мм

22

 

максимальная высота подъема от нулевого положения, м

25

 

Электродвигатель:

 

 

модель

АН1-550/22

 

номинальная мощность, Вт

550

 

напряжение, В

220

 

частота тока, Гц

50

 

Габарит, мм:

 

 

длина

1250

 

ширина

535

 

высота

1000

 

Масса, кг:

 

 

полная в комплекте

48

 

без кабеля и защитно-отключающего устройства

27

 

Рисунок 4 - Ремонт мест примыканий к углам аэрационных фонарей

Рисунок 5 - Ремонт кровельного ковра в деформационных швах

1 - плита перекрытия; 2 - три дополнительных слоя «Изоэласта»; 3 - бортовой камень из бетона; 4 - минераловатная плита; 5 - дюбели с шагом 600 мм; 6, 9 - верхний и нижний компенсаторы из оцинкованной стали; 7 - полоса из стали 400´40´4 через 600 мм; 8 - основной кровельный ковер; 10 - внутренние стеновые панели.

Применение машины ЛНИИ АКХ позволяет разрезать рулонный ковер с помощью вращающейся фрезы на требуемую глубину. Машина используется на крышах зданий с уклоном до 15 %. Перемещение машины осуществляется вручную. Зона обслуживания машиной ЛНИИ АКХ и размеры захваток определяются длиной электрических кабелей и конструктивными размерами зданий. Машина ЛНИИ АКХ работает следующим образом:

- устанавливают требуемую глубину врезания фрезы, определяемую толщиной рулонного покрытия и включают электродвигатель;

- фрезу плавно опускают до касания с поверхностью рулонного ковра и начинают равномерно двигать вперед, обеспечивая требуемую глубину нарезки шва.

При перемещении машины на новое место необходимо предварительно вывести фрезу из материала кровли.

2.13 После нарезания швов рулонного ковра кромки торцов образовавшихся полос надрезают вручную с помощью инвентарного скребка, скатывают в рулоны и удаляют с крыши. Затем основание кровли очищают скребком от остатков мастики.

2.14 После снятия старого рулонного ковра основание кровли должно быть высушено. Для этой цели используют специальную машину марки СО-107 для сушки основания кровли. Использование этой машины согласно техническим данным, приведенным в таблице 3, обеспечивает высокое качество подготовки поверхности основания под устройство кровли.

Таблица 3 - Технические характеристики передвижной машины для сушки основания кровли СО-107

Показатели

Технические данные

Примечание

Производительность, м2

50

 

Теплопроизводительность, тыс. ккал/ч

60 - 80

 

Производительность вентилятора, м3

2000

 

Расход топлива (керосин), л/ч

6 - 8

 

Вместимость бака для топлива, л

15

 

Габарит, мм:

 

 

длина

1670

 

ширина

1090

 

высота

1085

 

Масса, (без топлива), кг

80

 

2.15 Очистка основания кровли от мусора и пыли производится с помощью сжатого воздуха. Для этой цели следует применять компрессор СО-62 (СО-7А).

2.16 Раскладка и раскрой полотнищ наплавляемого рулонного материала «Изоэласт» при ремонте кровли в местах примыканий к вертикальным поверхностям во внутренних углах (парапетов) и на поверхности внешних углов (аэрационных фонарей) приведены на рисунках 6 и 7.

2.17 Организация рабочих мест при ремонте кровли в местах примыканий приведена на рисунке 8.

2.18 Для подачи материалов и оборудования применяется крышевой кран К-1М, параметры которого даны на рисунке 9.

3 ТРЕБОВАНИЯ К КАЧЕСТВУ И ПРИЕМКЕ РАБОТ

3.1 Контроль качества работ по ремонту кровель должен осуществляться прорабом, мастером и специальными службами, создаваемыми в строительной организации и оснащенными техническими средствами, обеспечивающими необходимую достоверность и полноту контроля.

3.2 Производственный контроль качества работ должен включать входной контроль рабочей документации, конструкций, материалов и оборудования; операционный контроль за выполнением отдельных операций при ремонте кровель и приемочный контроль выполненной кровли.

3.3 При входном контроле рабочей документации производится проверка ее комплектности, достаточности содержащейся в ней технической информации для производства работ.

При входном контроле строительных конструкций, изделий, материалов и оборудования проверяются внешним осмотром соответствия их требованиям стандартов или других нормативных документов и рабочей документации, а также наличие паспортов, сертификатов и других сопроводительных документов.

Рисунок 6 - Раскладка и раскрой полотнищ наплавляемого рулонного материала при устройстве дополнительного кровельного ковра на поверхности внутреннего угла

А, Б, В, Г - последовательность операций

1 - парапет

2 - основной кровельный ковер

3 - переходный наклонный бортик

4 - нижний слой дополнительного ковра

5 - верхний слой (с крупнозернистой посыпкой) дополнительного ковра

Рисунок 7 - Раскладка и раскрой полотнищ наплавляемого рулонного материала при устройстве кровельного ковра на поверхности внешнего угла

А, Б - для основного кровельного ковра

В, Г - для дополнительного кровельного ковра

1 - стена вентшахты

2 - нижний слой основного кровельного ковра

3 - верхний слой (с крупнозернистой посыпкой) основного ковра

4 - наклонный бортик

5 - основной кровельный ковер

6 - нижний слой дополнительного ковра

7 - верхний слой (с крупнозернистой посыпкой) дополнительного ковра

Рисунок 8 - Схема организации рабочего места:

1 - воронка водосточной трубы; 2 - рулон мешковины; 3 - рулон рубероида; 4 - бачок для мастики; 5 - тележка; К - рабочее место кровельщика.

Рисунок 9 - Крышевой кран К-1М

1, 2 - стойки; 3 - тележка грузовая; 4 - электропривод

3.4 Операционный контроль осуществляется в ходе выполнения работ по ремонту кровли и обеспечивает своевременное выявление дефектов и принятие мер по их устранению и предупреждению.

Результаты операционного контроля фиксируется в журнале работ. Основным документом при операционном контроле являются требования СНиП 3.04.01-87.

3.5 При поступлении рулонных и мастичных материалов на объект их образцы проверяют в лаборатории на соответствие физико-механических показателей паспортным данным.

3.6 При приемке выполненных работ по кровле в местах примыканий проводится ее визуальное обследование.

3.7 Требования по осуществлению контроля качества работ приведена в таблице 4.

Таблица 4 - Требования по осуществлению контроля качества работ

Наименование процессов, подлежащих контролю

Предмет контроля

Инструмент и способ контроля

Время контроля

Ответственный контролер

Технические критерии оценки качества

Подготовка поверхности основания

Ровность поверхности, отсутствие грязи, пыли, влажных и масляных пятен

Контрольная рейка, визуально

До начала работ

Мастер

Влажность основания не должна превышать 5 %

Укладка слоя рулонного материала «Изоэласта»

Качество уложенного слоя

Визуально

В процессе работ

- « -

Слой должен быть сплошным без разрывов, равномерной толщины

Проверка готового ковра

Общая толщина всех слоев

Игловой щуп, измерительный, технический осмотр. Не менее 5 измерений на каждые 70 - 100 м2 поверхности

- « -

- « -

В соответствии с проектом

Укладка стеклоткани

Ровность основания

Визуально

В процессе работ

- « -

Слой должен быть уложен без образования волн

Скрытые работы, связанные с подготовкой основания кровли, подлежат освидетельствованию с составлением актов по форме, приведенной в приложении 6 СНиП 3.01.01-85* «Организация строительного производства».

Запрещается выполнение последующих работ при отсутствии актов освидетельствования предшествующих скрытых работ.

4 ТРЕБОВАНИЯ ТЕХНИКИ БЕЗОПАСНОСТИ И ОХРАНЫ ТРУДА, ЭКОЛОГИЧЕСКОЙ И ПОЖАРНОЙ БЕЗОПАСНОСТИ

ОБЩИЕ ПОЛОЖЕНИЯ

4.1 При производстве работ следует руководствоваться требованиями СНиП 12-03-2001, СНиП III-4-80*, ППБ 01-93** «Правила пожарной безопасности в Российской Федерации», ГОСТ 12.03.040-86.

(Измененная редакция, Изм. № 1).

При работе с газовыми баллонами (рабочий газ - пропан) необходимо руководствоваться «Правилами устройства и безопасной эксплуатации сосудов, работающих под давлением» ПБ 10-115-96.

4.2 К обслуживанию и эксплуатации средств механизации при производстве кровельных работ допускаются лица, хорошо изучившие правила их эксплуатации, специфические требования по технике безопасности и имеющие удостоверение о допуске к работе.

4.3 Внешним осмотром проверить исправность баллонов, горелок, шлангов, надежность их крепления (крепить шланги только металлическими хомутами), исправность редукторов, манометров.

4.4 Для транспортирования баллонов со сжиженным газом пропан-бутаном в зоне стройплощадки или в пределах крыши допускается использование специальных тележек, рассчитанных на 2 баллона. Баллоны на тележках должны надежно крепиться хомутом.

Категорически запрещается подавать на крышу наполненные газом баллоны колпаком вниз.

Кантовка наполненных баллонов допускается в пределах рабочего места и только по основанию крыши, не дающему искры при ударе по нему металлом.

4.5 Посторонним лицам запрещается находиться в рабочей зоне во время производства работ.

4.6 Перед началом работы кровельщик должен надеть спецодежду и убедиться в ее исправности. Обувь должна быть не скользящей. Предохранительные приспособления (пояс, веревка, ходовые мостики, переносные стремянки и т.п.) должны быть своевременно испытаны и иметь бирки.

4.7 До выполнения работ необходимо получить у мастера, руководителя работ инструктаж о безопасных методах, приемах и последовательности выполнения предстоящей работы.

4.8 Перед началом работы кровельщику необходимо подготовить рабочее место, убрать ненужные материалы, очистить все проходы от мусора и грязи.

4.9 Убедиться в надежности подмостей и лесов, временного ограждения. Проверить ограждено ли место работы внизу здания, укрепить все материалы на крыше.

4.10 При работе на крышах с уклоном более 20° и при отделке карнизов кровли с любым уклоном кровельщик обязан пользоваться предохранительным поясом и веревкой, прочно привязанной к устойчивым конструкциям здания. Места закрепления карабина предохранительного пояса должен указать мастер или прораб.

4.11 Сбрасывать с кровли материал и инструмент запрещается. Во избежание падения с кровли на проходящих людей каких-либо предметов устанавливаются предохранительные козырьки над проходами, наружными дверьми шириной не менее 2 м от стены здания. Зона возможного падения предметов ограждается, вывешивается плакат «Проход запрещен».

4.12 При складировании на кровле штучных материалов, инструмента принять меры против их скольжения по скату или сдувания ветром. Размещать на крыше материалы допускается только в местах, предусмотренных проектом производства работ.

4.13 Поднимать материалы следует преимущественно средствами механизации. Кровельные материалы при подъеме надо укладывать в специальную тару для предохранения от падения.

4.14 Подготовку, обрезку, выпрямление кровельных листов следует производить внизу в определенном месте на верстаке. Допускаются эти работы выполнять в чердачном помещении при наличии достаточного освещения. Для резки стальных кровельных листов следует применять ножницы, имеющие специальные кольца или цапфы.

4.15 Элементы и детали кровли, в том числе компенсаторы в швах, защитные фартуки, звенья водосточных труб, сливы, свесы и т.п., следует подавать на рабочие места в заготовленном виде. Заготовка указанных элементов и деталей непосредственно на крыше не допускается.

ТРЕБОВАНИЯ БЕЗОПАСНОСТИ ПРИ РАБОТЕ С ГАЗОВЫМИ ГОРЕЛКАМИ

4.16 При работе с пламенной горелкой необходимо пользоваться защитными очками.

4.17 При зажигании ручной пламенной горелки (рабочий газ - пропан) следует приоткрывать вентиль на 1/4 - 1/2 оборота и после кратковременной продувки шланга зажечь, после чего можно регулировать пламя.

4.18 Зажигание горелки необходимо производить спичкой или специальной зажигалкой, запрещается зажигать горелку от случайных горящих предметов.

4.19 С зажженной горелкой не перемещаться за пределы рабочего места, не подниматься по трапам и лесам, не делать резких движений.

4.20 Тушение горелки производится перекрыванием вентиля подачи газа, а потом опусканием блокировочного рычага.

4.21 При перерывах в работе пламя горелки должно быть потушено, а вентили на ней плотно закрыты.

4.22 При перерывах в работе (обед и т.п.) должны быть закрыты вентили на газовых баллонах, редукторах.

4.23 При перегреве горелки работа должна быть приостановлена, а горелка потушена и охлаждена до температуры окружающего воздуха в емкости с чистой водой.

4.24 Газопламенные работы должны производится на расстоянии не менее 10 м от групп баллонов (более 2-х), предназначенных для ведения газопламенных работ; 5 м от отдельных баллонов с горючим газом.

4.25 При обнаружении утечки газа из баллонов работу следует немедленно прекратить. Ремонт баллонов или другой аппаратуры на рабочем месте газопламенных работ не допускается.

4.26 В случае замерзания редуктора или запорного вентиля необходимо отогревать их только чистой горячей водой.

4.27 Баллоны с газом должны находиться на расстоянии не менее 1 м от радиаторов отопления, других отопительных приборов, печей и 5 м от источников тепла с открытым огнем. Запрещается снимать колпак с баллона ударами молотка, зубила или другим инструментом, могущим вызвать искру. Колпак с баллона следует снимать только специальным ключом.

4.28 Для подачи сжатого воздуха применяют пневмошланги.

4.29 Баллоны при работе на непостоянных местах должны быть закреплены в специальной стойке или тележке и в летнее время защищены от нагрева солнечными лучами.

4.30 Транспортирование и хранение баллонов должно производиться с навернутыми колпаками. Хранение и транспортирование баллонов с газами должно осуществляться только с навинченными на их горловины предохранительными колпаками. При транспортировании баллонов нельзя допускать толчков и ударов. Переноска баллонов на плечах и руках запрещается. Баллоны с газом следует перемещать только на специально оборудованных тележках.

4.31 При эксплуатации баллонов находящийся в них газ запрещается расходовать полностью. Остаточное давление газа в баллоне должно быть не менее 0,05 МПа (0,5 кгс/см2).

4.32 Рабочее место кровельщика должно быть обеспечено следующими средствами пожаротушения и медицинской помощи:

- пенные огнетушители марки ОУ-5 ГОСТ 72776-77 из расчета на одну секцию кровли не менее двух штук;

- ящик с песком емкостью 0,05 м3;

- лопаты - 2 шт.;

- асбестовое полотно - 1 м2;

- аптечка с набором медикаментов.

4.33 При возникновении на рабочих местах пожара необходимо тушить его с применением огнетушителей, сухим песком, накрывая очаги загорания асбестовой или брезентовой тканью.

4.34 При несчастных случаях, происшедших в результате аварии, все операции по эвакуации пострадавших, оказанию первой медицинской помощи, доставке (при необходимости) в лечебное учреждение кровельщик выполняет под руководством мастера (прораба).

4.35 По окончании кровельных работ с применением пламенной газовой горелки необходимо:

- закрыть вентиль подачи газа на горелке, перекрыть вентиль на баллоне и выключить компрессор;

- снять шланги с редукторами с баллонов, смотать их и убрать в отведенное место хранения;

- очистить рабочее место, убрать инструмент и приспособления, кисти, материалы, скафандры, очки, горелки, баллоны;

- сообщить мастеру (прорабу) обо всех неполадках, замеченных во время работы;

- опустить люльки вниз и снять рукоятки с лебедок;

- отключить электроинструмент и механизмы от электросети;

- сдать на хранение ручной инструмент и предохранительный пояс;

- принять теплый душ или тщательно вымыть водой с мылом лицо и руки.

4.36 Приклеивающие составы и растворители являются огнеопасными материалами. Не допускается вдыхание их паров и выполнение кровельных работ вблизи огня или на закрытых и невентилируемых участках. В случае загорания этих материалов необходимо использовать при тушении огня углекислотный огнетушитель и песок. Водой пользоваться запрещается.

4.37 Не следует допускать контакта кровельных материалов с растворителями, нефтью, маслом, животным жиром и т.п.

4.38 Работы по устройству тепло- и гидроизоляции покрытий допускается производить при температуре наружного воздуха до минус 20 °С и при отсутствии снегопада, гололеда и дождя.

4.39 Все материалы должны храниться при температурах от 15 до 25 °С.

4.40 Растворители и герметизирующие составы должны храниться в герметично закрытой таре с соблюдением правил хранения легковоспламеняющихся материалов.

Порожнюю тару из-под этих материалов следует хранить на специально отведенной площадке, удаленной от места работы.

Электрооборудование в складских помещениях должно быть взрывозащитного исполнения.

4.41 При ремонте кровли снимаемый горючий материал должен удаляться на специально подготовленную площадку, устраивать свалки горючих отходов на территории строительства не разрешается.

4.42 По окончании рабочей смены не разрешается оставлять неиспользованный горючий утеплитель и кровельные рулонные материалы внутри или на покрытиях зданий, а также в противопожарных разрывах.

4.43 Выполнение работ по устройству кровель одновременно с другими строительно-монтажными работами на кровлях, связанными с применением открытого огня (сварка и т.п.), не допускается.

4.44 До начала производства работ на покрытиях должны быть выполнены все предусмотренные проектом ограждения и выходы на покрытие зданий (из лестничных клеток, по наружным лестницам).

4.45 Противопожарные двери и люки выходов на кровлю должны быть исправны и при проведении работ закрыты. Запирать их на замки или другие запоры запрещается.

Проходы и подступы к эвакуационным выходам и стационарным пожарным лестницам должны быть всегда свободными.

4.46 Оборудование, применяемое для подогрева наплавляемого рулонного кровельного материала (газовые горелки с баллонами и оборудованием), не допускается использовать с неисправностями, способными привести к пожару, а также при отключенных контрольно-измерительных приборах и технологической автоматике, обеспечивающих контроль заданных режимов температуры, давления и других, регламентированных условиями безопасности, параметров.

Использование агрегатов для наплавляемых рулонных материалов с утолщенным слоем допускается при устройстве кровель только по железобетонным плитам и покрытиям с применением негорючего утеплителя.

4.47 При использовании оборудования для подогрева запрещается:

- отогревать замерзшие трубопроводы, вентили, редукторы и другие детали газовых установок открытым огнем или раскаленными предметами;

- пользоваться газо-проводящими рукавами, длина которых превышает 30 м;

- перекручивать, заламывать или зажимать газо-проводящие рукава;

- использовать одежду и рукавицы со следами масел, жиров, бензина, керосина и других горячих жидкостей;

- допускать к самостоятельной работе учеников, а также работников, не имеющих квалификационного удостоверения и удостоверения по технике безопасности.

4.48 При обращении с порожними баллонами из-под горючих газов должны соблюдаться такие же меры безопасности, как и с наполненными баллонами.

4.49 При перерывах в работе, а также в конце рабочей смены оборудование для нагрева кровельного материала должно отключаться, шланги должны быть отсоединены и освобождены от газов.

По окончании работы вся аппаратура и оборудование должны быть убраны в специально отведенные помещения (места).

4.50 Кровельный материал, горючий утеплитель и другие горючие вещества и материалы, используемые в работе, необходимо хранить вне ремонтируемого здания в отдельно стоящем сооружении или на специальной площадке на расстоянии не менее 18 м от временных зданий, сооружений и складов. Курение должно быть запрещено, а пользование открытым огнем допускается только в радиусе более 50 м.

4.51 На кровле у мест проведения кровельных работ допускается хранить не более сменной потребности расходных (кровельных) материалов. Запас материалов должен находиться на расстоянии не менее 5 м от границы зоны выполнения работ.

4.52 У мест проведения работ допускается размещать только баллоны с горючими газами, непосредственно используемые при работе. Создавать запас баллонов или хранить пустые баллоны у мест проведения работ не допускается.

4.53 Складирование материалов и установка баллонов на кровле и в помещениях ближе 5 м от эвакуационных выходов (в том числе подходов к наружным пожарным лестницам) не допускается.

4.54 Баллоны с горючими газами и емкости с легковоспламеняющимися жидкостями должны храниться раздельно, в специально приспособленных вентилируемых вагончиках (помещениях) или под навесами за сетчатым ограждением, недоступным для посторонних лиц.

Хранение в одном помещении баллонов, а также битума, растворителей и других горючих жидкостей не допускается.

4.55 Не разрешается накапливать на площадке горючие вещества и материалы, их следует хранить в закрытых металлических контейнерах в безопасном месте.

4.56 По окончании рабочей смены не разрешается оставлять кровельные рулонные материалы, горючий утеплитель, газовые баллоны и другие горючие и взрывоопасные вещества и материалы внутри или на покрытиях зданий, а также в противопожарных разрывах.

4.57 При обнаружении пожара или признаков горения (задымление, запах гари, повышение температуры и т.п.) необходимо:

- немедленно об этом сообщить в пожарную охрану;

- принять по возможности меры по эвакуации людей, тушению пожара и обеспечению сохранности материальных ценностей.

4.58 Для обеспечения успешного тушения пожара необходимо обучить работников правилам и способам работы с первичными средствами пожаротушения.

4.59 По окончании работ необходимо провести осмотр мест и привести их в пожаровзрывобезопасное состояние.

4.60 На объекте должно быть определено лицо, ответственное за сохранность и готовность к действию первичных средств пожаротушения.

4.61 Огнетушители должны всегда содержаться в исправном состоянии, периодически осматриваться и своевременно перезаряжаться.

4.62 Использование первичных средств пожаротушения для хозяйственных и прочих нужд, не связанных с тушением пожара, не допускается.

4.63 При расстановке огнетушителей необходимо выполнять условие, что расстояние от возможного очага пожара до места размещения огнетушителя не должно превышать 20 м.

4.64 В зимнее время (при температурах ниже 1 °С) огнетушители необходимо хранить в отапливаемых помещениях, на дверях которых должна быть надпись «Огнетушители».

ТРЕБОВАНИЯ БЕЗОПАСНОСТИ ПРИ РАБОТЕ С КРЫШЕВЫМ КРАНОМ

4.65 Поднимать материалы следует только средствами механизации. Кровельные материалы при их подъеме следует укладывать в специальную тару, предохраняющую их выпадение.

4.66 Приемная площадка на кровле должна иметь по периметру прочное ограждение высотой 1,1 м и бортовую доску не менее 150 мм.

4.67 Леса, подмости и другие средства подмащивания должны быть инвентарными и изготовлены по типовым проектам.

4.68 Кран малой грузоподъемности К-1М, применяемый для подачи материалов при ремонте кровель, устанавливается и эксплуатируется в соответствии с инструкцией (паспортом) завода-изготовителя и инструкцией по охране труда машиниста крышевого крана.

4.69 Лица, допущенные к самостоятельной работе (грузчики, кровельщики, машинисты), должны быть обучены и аттестованы на знание безопасного производства работ и проинструктированы по всем видам выполняемых работ.

Рабочие, обслуживающие краны, должны быть аттестованы на знание устройства и безопасной эксплуатации крана, а также пройти обучение по инструкции по охране труда для стропальщиков, обслуживающих грузоподъемные машины, управляемые из кабины или с пульта управления.

Работы по перемещению груза на высоту должны проводиться под руководством руководителя работ (мастера), аттестованного по статье 7.4.7 «Правил устройства и безопасной эксплуатации грузоподъемных кранов» Госгортехнадзора России.

4.70 Рабочие (кровельщики), занятые на погрузочно-разгрузочных работах, должны пройти инструктаж по безопасности труда и пожарной безопасности в соответствии с требованиями ГОСТ 12.3.009-76*.

4.71 ИТР, мастера, руководители работ должны пройти проверку знаний требований по безопасности труда, знать технологический процесс, устройство и эксплуатацию подъемно-транспортного оборудования, пожаробезопасности и производственной санитарии в соответствии с их должностными обязанностями.

4.72 Машинист крышевого крана должен проверять правильность и полноту загрузки контргруза, быть ознакомлен с опасными и вредными производственными факторами, действующими на работающего: это опасность получения травм, возможность поражения электрическим током, падение с высоты поднимаемого груза и другие факторы.

4.73 Машинист крышевого крана обеспечивается спецодеждой, спецобувью и средствами индивидуальной защиты.

4.74 Перед началом работы машинист крышевого крана должен проверить надежность крепления всех элементов конструкций и техническую исправность крана, заземление в соответствии с «Правилами устройства электроустановок (ПУЭ)»; проверить освещение, горизонтальность установки крана; наличие ограждений в рабочей зоне подъема крана; исправность пульта управления; исправность грузозахватного приспособления, крюка, тары и тросов; исправность ограничителя высоты подъема крюка; правильность и полноту загрузки контргруза во избежание опрокидывания крана, наличие схем строповки грузов.

Установку крана производить так, чтобы груз при подъеме не мог зацепиться за выступающие части здания.

4.75 После монтажа кран должен быть подвергнут динамическим испытаниям с перегрузкой 10 % и статическим испытаниям с перегрузкой 25 %, о чем составляется соответствующий акт.

4.76 Подъем и спуск грузов производится только в вертикальном положении без подтягивания и рывков. Поднимаемый груз должен удерживаться от вращения и раскачивания. Крановщик и мастер должны следить за тем, чтобы масса груза не превышала допускаемую грузоподъемность крышевого крана.

4.77 Во время работы машинист и кровельщик должны подготовить материал для подъема (в соответствии со схемой укладки и строповки), уложить его в контейнер (не более 6-ти рулонов), общая масса не должна превышать грузоподъемность крана, проверить надежность закрепления груза.

4.78 Перед началом подъема груза машинист крана должен предупредить рабочих, обслуживающих кран, о необходимости их выхода из опасной зоны и до тех пор, пока они находятся в опасной зоне, не осуществлять подъем груза. Затем приподнять груз на высоту 200 - 300 мм и убедиться в правильности зацепки и надежности тормозов, а при подъеме груза необходимо следить за правильной укладкой грузового троса.

4.79 Подъем груза производить плавно, без рывков, не допуская резкого торможения при подъеме и опускании груза, а также переключения электродвигателя с прямого хода на обратный без выдержки в нейтральном положении. Несоблюдения этого правила может привести к обрыву троса, поломке какой-либо части крана или срыву груза.

4.80 Во время работы крана машинист не должен:

- осуществлять чистку и смазывание механизмов крана;

- оставлять груз на весу во время перерывов в работе;

- производить какой-либо ремонт или регулировку тормозов;

- надевать соскочивший трос на ролики направляющего блока;

- допускать поднятие груза на оттяжку, опускать и перемещать над людьми;

- поднимать людей, следить за надежностью крепления каретки передвижения;

- поправлять неравномерно наматывающийся на барабан трос рукой, крючком, палкой или доской, быть возле натянутого троса или допускать присутствие около него людей.

4.81 В случае возникновения неисправностей в работе крана работу следует приостановить, опустить груз, ослабить натяжение троса и только после этого устранить неисправность.

4.82 Работу крышевого крана следует остановить, если отсутствует или неисправна крышка на пульте управления и имеется доступ к токоведущим частям электрооборудования, при появлении шума, стука, запаха гари, резких рывков и толчков, а также при неисправности ограничителя высоты подъема крюка, неисправности электрооборудования, тормоза, грузового троса, тары, недостаточной массы контргруза.

4.83 Если при подъеме груза прекратилась подача электроэнергии, необходимо осторожно и плавно опустить груз вниз, пользуясь ручным тормозом. Не следует производить резкое торможение, так как в результате этого может сломаться опора, на которой укреплен блок.

4.84 После окончания работы машинист обязан опустить грузозахватные приспособления и тару вниз, выключить электропитание крышевого крана и закрыть шкаф пульта управления на замок, осмотреть все узлы крана, съемные грузозахватные приспособления и тару и об обнаруженных недостатках сообщить руководителю работ или лицу, ответственному за исправное состояние крана.

4.85 При производстве работ на плоских крышах, не имеющих постоянного ограждения (парапетной решетки и т.п.), необходимо устанавливать временные ограждения высотой не менее 1,1 м с бортовой доской.

Временные ограждения следует устанавливать:

- по периметру участка производства работ;

- на участках крыши, где установлены битумоварочные котлы и битумонасосы.

4.86 Места производства кровельных работ должны быть обеспечены не менее, чем двумя эвакуационными выходами (лестницами), а также первичными средствами пожаротушения в соответствии с «Правилами пожарной безопасности в Российской Федерации».

4.87 Во время перерывов в работе технологические приспособления, инструмент, материалы и другие мелкие предметы, находящиеся на рабочем месте, должны быть закреплены или убраны с крыши.

После окончания работы или смены запрещается оставлять на крыше материалы, инструмент или приспособления во избежание несчастного случая. Громоздкие приспособления должны быть надежно закреплены.

5 ПОТРЕБНОСТЬ В МАТЕРИАЛЬНО-ТЕХНИЧЕСКИХ РЕСУРСАХ

5.1 Потребность в машинах, механизмах, оборудовании, инструментах, инвентаре, приведенных в таблице 5, должна определяться с учетом выполняемых работ и технических характеристик.

Таблица 5 - Ведомость потребности машин, механизмов, оборудования, инвентаря и инструментов

№ п/п

Наименование

Технические характеристики, тип, марка, ГОСТ

Назначение

Кол. шт.

1

2

3

4

5

1

Машина для нарезки швов в рулонном ковре

Конструкция ЛНИИ АКХ, производительность 4 м/мин

Механизированная нарезка швов в рулонном ковре

1

2

Машина передвижная для сушки основания

СО-107 (СО-106), производительность 50 м2

Сушка основания кровли

1

3

Компрессор передвижной

СО-62 (СО-7А)

Очистка основания от мусора и пыли

1

4

Кран крышевой К-1М

 

Подъем материалов

1

5

Баллоны для газа

ГОСТ 15860-84

Хранение газа

2

6

Горелки газовые

ГВ-1-02П, ЦНИИОМТП

Расплавление мастики

2

7

Тележка для баллонов с газом пропан-бутан

 

Перевозка баллонов

1

8

Редуктор для газа

БПО-5-2

Регулирование давления

2

9

Рукава резиновые диаметром 9 мм

ГОСТ 9356-75

Подача газа

50 м

10

Гребок с резиновой вставкой

 

Уплотнение полотна

3

11

Тележка для подвозки материалов

 

Подвозка материалов

1

12

Нож кровельный

ГОСТ 18975-73

Резка материалов

1

13

Лопата подборочная

ГОСТ 19596-87*

Подборка сыпучих материалов

2

14

Шпатель-скребок

ТУ 22-3059-74

Соскребание с поверхности оснований цементного раствора

2

15

Метр складной металлический

 

Замеры

1

16

Рулетка 20 м

Р20Н2К

Замеры

1

ГОСТ 7520-98

17

Защитные очки

ГОСТ 12.4.01 1-89

Защита глаз рабочих

4

18

Предохранительный пояс

ГОСТ 12.4.011-89

Защита рабочих от падения

4

19

Рукавицы

ГОСТ 12.4.010-75*

Защита рук

8

20

Спецобувь

ГОСТ 5375-79*

Защита ног

4

21

Перчатки резиновые

ГОСТ 20010-93

Защита рук

4

22

Контейнер для подачи рулонов на крышу

ТУ 21-27-108-84

Подача и хранение рулонов

2

23

Строп 4-х ветвевой

4СКI -10,0/3000

Подъем кровельных материалов

1

ГОСТ 25573-82*

24

Противопожарный инвентарь

 

 

Комплект

25

Ящик для песка

Размер: 1´1 м

Тушение огня

1

26

Огнетушитель углекислотный

ОУ-2

Тушение небольших очагов возгорания

2

27

Аптечка с набором медикаментов

ГОСТ 23267-78*

Оказание первой неотложной помощи

4

28

Защитная каска

ГОСТ 12.4.087-84

Защита головы

6

29

Ящик-контейнер металлический для раствора

543.50.08.00 Мосоргстрой, грузозахватное приспособление - 4-х ветвевой строп; общая масса - 0,183 т

Хранение раствора

1

30

Ящик-контейнер для мусора металлический

3182.00.00.00 Мосоргстрой, грузозахватное приспособление - 4-х ветвевой строп; общая масса - 0,174 т

Сбор мусора

1

31

Комплект знаков по технике безопасности

 

Обеспечение требований техники безопасности

1

5.2 Потребность в материалах для ремонта 100 м2 кровельных покрытий с использованием рулонов «Изоэласт» приведена в таблице 6.

Таблица 6 - Потребности в материалах

Наименование

Марка

Ед. изм.

Количество на 100 м2

Изоэласт для нижнего слоя

ХМП-2,5 или ХМП-3,0

м2

130

Изоэласт для среднего слоя

ХМП-4,0 или ХММ-4,0

м2

130

Изоэласт для верхнего слоя

ХКП-3,5 или ХКП- 4,5

м2

130

Праймер

 

кг

100

Газ пропан-бутан

 

Баллон (45 л)

1

6 ТЕХНИКО-ЭКОНОМИЧЕСКИЕ ПОКАЗАТЕЛИ

6.1 Для выполнения ремонтных работ по кровле принято два звена, из которых первое звено в составе кровельщиков 2 разряда и 3 разряда по одному человеку выполняет разборку и очистку кровельного покрытия с перемещением мусора на землю, а второе звено в составе кровельщиков 4 разряда и 5 разряда по одному человеку восстанавливают кровлю и выполняют отделку мест примыканий. Машинист 3 разряда при необходимости обслуживает звенья в процессе выполнения работ.

6.2 Затраты труда и машинного времени на ремонт примыканий в рулонной кровле подсчитаны по «Единым нормам и расценкам на строительные, монтажные и ремонтно-строительные работы», введенным в действие в 1987 г., и приведены в таблице 7.

6.3 Расчет нормы времени на нарезку швов на 100 м2 покрытия из рулонных материалов, пришедших в негодность, дан в приложении А.

Таблица 7 - Калькуляция затрат труда и машинного времени на ремонт мест примыканий.

Измеритель конечной продукции - 100 м2

№ п/п

Обоснование ЕНиР и др.

Наименование работ и состав работ

Ед. изм.

Объем работ (принят условно)

Норма времени на единицу измерения, чел.-ч (маш.-ч)

Затраты труда, чел.-ч (затраты машинного времени, маш.-ч)

1

2

3

4

5

6

7

1

Е 7-4 № 2

Очистка основания кровли от мусора механизированным способом

100 м2

1,0

0,41

0,41

2

Расчет (смотри приложение А)

Нарезка швов в рулонном ковре

100 м2

10

0,69

6,9

3

Е 20-1-107 п. 2

Разборка старого кровельного ковра вокруг воронок и отслаивающейся части рулонного ковра, примыкающего к стенам, трубам, парапетам, водоприемным воронкам, аэрационным фонарям

100 м2

10

8,8

0,88

4

Е 7-4, № 2

Очистка основания от мастики

100 м2

10

0,41

4,1

5

Е 20-1-117 № 1а

Смена колпаков на вентиляционных трубах

шт.

1

1,7

1,7

6

Е 1-16 № 12а, 12б

Перемещение материала от разборки и мусора с помощью крышевого крана К-1М

100 т

0,1

42 (21)

4,2 (2,1)

7

Е 1-16 № 12а, 12б

Подача материалов и оборудования для ремонта с помощью крышевого крана К-1М

100 т

0,2

42 (21)

8,4 (4,2)

8

Е 7-15 примечание 3

Устройство наклонных бортиков из цементного раствора высотой 150 мм, при уклоне 45° и огрунтовка его в местах примыкания к стенам, трубам, парапетам, водоприемным воронкам, аэрационным фонарям

100 м

1,0

10,4

10,4

9

Е 7-4 № 3

Просушивание влажных мест основания механизированным способом

100 м2

1,0

8,6

8,6

10

Е 7-4 № 4

Огрунтовка поверхности основания битумной мастикой

100 м2

1,0

4,1

0,41

11

Е 7-4 № 6

Обделка мест примыканий стеклотканью

м2

100

0,44

44,0

12

Е 7-4 № 8

Обделка водосточных воронок

1 шт.

1

1,3

1,3

13

Е 7-4 № 11

Обделка примыканий рулонными материалами

100 м2

1,0

4,6

4,6

Примечание - В скобках даны норма времени и затраты машинного времени крышевого крана К-1М.

6.4 Затраты труда на ремонт 100 м2 примыканий рулонной кровли составляют 98,2 чел.-ч, затраты машинного времени составляют 6,3 маш.-ч.

7 ПЕРЕЧЕНЬ НОРМАТИВНО-ТЕХНОЛОГИЧЕСКОЙ ЛИТЕРАТУРЫ

1 СНиП 3.04.01-87 «Изоляционные и отделочные покрытия».

2 СНиП 12-03-2001 «Безопасность труда в строительстве. Часть 1. Общие требования».

(Измененная редакция, Изм. № 1)

3 ППБ 01-93** «Правила пожарной безопасности в Российской Федерации».

(Измененная редакция, Изм. № 1)

4 ПБ 10-115-96 «Правила устройства и безопасной эксплуатации сосудов, работающих под давлением».

5 ГОСТ 12.3.009-76* ССБТ. «Работы погрузочно-разгрузочные. Общие требования безопасности»

6 СНиП III-4-80* Техника безопасности в строительстве.

7 ГОСТ 12.3.040-86 ССБТ. Строительство. Работы кровельные и гидроизоляционные.

8 ГОСТ 12.4.011-89 Средства защиты работающих. Общие требования и классификация.

9 ГОСТ 12.4.084-84 ССБТ. Строительство. Каски строительные. Технические условия.

10 ГОСТ 7502-98 Рулетки измерительные металлические. Технические условия.

11 ГОСТ 9356-75 Рукава резиновые для газовой сварки и резки металлов. Технические условия.

12 ГОСТ 15860-84 Баллоны стальные сварные для сжиженных углеводородных газов на давление до 1,6 МПа. Технические условия.

13 ГОСТ 18975-73 Ножи для отделочных работ. Технические условия.

14 ГОСТ 25573-82* Стропы грузоподъемные канатные для строительства. Технические условия.

15 ГОСТ Р 50849-96 Пояса предохранительные. Общие технические условия.

ПРИЛОЖЕНИЕ А
(информационное)

Расчет нормы времени на нарезку швов на 100 м2 покрытия из рулонных материалов, пришедших в негодность

Техническая производительность машины ЛНИИ АКХ, используемой для нарезки швов:

Пт = 4 м/мин (паспортные данные машины).

Эксплуатационная производительность:

Пэ = Кт ´ Пт, где Кт = 0,6 (по результатам хронометража);

Пэ = 0,6 ´ 4 = 2,4 м/мин = 144 м/ч.

Расстояние между нарезаемыми полосами:

А = 1 м.

Норма времени на нарезку швов на 100 м2 покрытий:

 чел.-ч

 




ГОСТЫ, СТРОИТЕЛЬНЫЕ и ТЕХНИЧЕСКИЕ НОРМАТИВЫ.
Некоммерческая онлайн система, содержащая все Российские Госты, национальные Стандарты и нормативы.
В Системе содержится более 150000 файлов нормативно-технической документации, действующей на территории РФ.
Система предназначена для широкого круга инженерно-технических специалистов.

Рейтинг@Mail.ru Яндекс цитирования

Copyright © www.gostrf.com, 2008 - 2026