Крупнейшая бесплатная информационно-справочная система онлайн доступа к полному собранию технических нормативно-правовых актов РФ. Огромная база технических нормативов (более 150 тысяч документов) и полное собрание национальных стандартов, аутентичное официальной базе Госстандарта. GOSTRF.com - это более 1 Терабайта бесплатной технической информации для всех пользователей интернета. Все электронные копии представленных здесь документов могут распространяться без каких-либо ограничений. Поощряется распространение информации с этого сайта на любых других ресурсах. Каждый человек имеет право на неограниченный доступ к этим документам! Каждый человек имеет право на знание требований, изложенных в данных нормативно-правовых актах!

  


 

ОТКРЫТОЕ АКЦИОНЕРНОЕ ОБЩЕСТВО
ПРОЕКТНО-КОНСТРУКТОРСКИЙ И ТЕХНОЛОГИЧЕСКИЙ
ИНСТИТУТ ПРОМЫШЛЕННОГО СТРОИТЕЛЬСТВА
ОАО ПКТИпромстрой

УТВЕРЖДАЮ

ГЕНЕРАЛЬНЫЙ ДИРЕКТОР, К.Т.Н.

_____________ С.Ю. ЕДЛИЧКА

«05» декабря 2003 Г.

ТЕХНОЛОГИЧЕСКАЯ КАРТА
НА ОБЛИЦОВКУ ФАСАДА КИРПИЧОМ
МОНОЛИТНЫХ ЖЕЛЕЗОБЕТОННЫХ
ЗДАНИЙ С ЛЕСОВ

47-03 ТК

ГЛАВНЫЙ ИНЖЕНЕР

__________ А.В. КОЛОБОВ

НАЧАЛЬНИК ОТДЕЛА

__________ Б.И. БЫЧКОВСКИЙ

2003

Технологическая карта на облицовку фасада монолитных железобетонных зданий кирпичом с лесов содержит решения по организации и технологии производства облицовочных работ с целью обеспечения их качества, снижения материальных и трудовых затрат, повышения тепловой защиты зданий и сооружений.

В технологической карте приведены область применения, организация и технология строительного процесса, требования к качеству и приемке работ, безопасности и охраны труда, экологической и пожарной безопасности, потребность в материально-технических ресурсах, технико-экономические показатели.

Технологическая карта предназначена для инженерно-технических работников строительных и проектных организаций, а также производителей работ, мастеров и бригадиров, связанных с производством и контролем качества облицовочных работ.

Технологическая карта разработана сотрудниками ОАО ПКТИпромстрой в составе к.т.н С.Ю. Едлички, А.В. Колобова, Б.И. Бычковского, В.Н. Холопова, В.В. Черных, Е.М. Тимошенко.

Авторы будут признательны за предложения и возможные замечания по составу и содержанию настоящей карты.

Контактный телефон: (095) 214-14-72              Факс: (095) 214-95-53

СОДЕРЖАНИЕ

1 ОБЛАСТЬ ПРИМЕНЕНИЯ

1.1 Технологическая карта разработана на облицовку фасадов монолитных железобетонных стен кирпичом с устройством промежуточного слоя из плитного утеплителя с лесов.

1.2 Карта предназначена для производства наружных облицовочных работ с применением кирпичей и теплоизоляционного материала в виде пенополистирольных плит, образующих промежуточный утепляющий слой между облицовкой и стеной из монолитного железобетона. Конструктивное решение стенового ограждения представлено на рисунке 1.

Рисунок 1 - Конструктивное решение стенового ограждения

1.3 Карта составлена с учетом требований СНиП 3.03.01-87 «Несущие и ограждающие конструкции», ГОСТ 530-95* «Кирпич и камни керамические. Технические условия», ГОСТ 7484-78 «Кирпич и камни керамические лицевые. Технические условия», ГОСТ 28013-98* «Растворы строительные. Общие технические условия» и в соответствии с «Руководством по разработке технологических карт в строительстве» (ЦНИИОМТП, 1998 г.)

1.4 Организация и производство работ, предусмотренных настоящей технологической картой, должны осуществляться с соблюдением требований СНиП 12-03-2001 «Безопасность труда в строительстве. Часть 1. Общие положения» и СНиП 12-04-2002 «Безопасность труда в строительстве. Часть 2. Строительное производство».

1.5 Картой рассмотрены принципиальные вопросы облицовки фасадов монолитных железобетонных зданий кирпичом с применением утеплителя.

Конструктивные особенности устройства облицовки решаются в каждом конкретном случае проектом.

1.6 Привязка технологической карты к конкретным объектам и условиям производства работ состоит в уточнении объемов работ, данных потребности в трудовых и материально-технических ресурсах и корректировке календарного плана производства работ.

1.7 Карта предусматривает обращение ее в сфере информационных технологий с включением в базу данных по технологии и организации строительных процессов автоматизированного рабочего места технолога строительного производства (АРМ ТСП), подрядчика и заказчика.

2 ОРГАНИЗАЦИЯ И ТЕХНОЛОГИЯ СТРОИТЕЛЬНОГО ПРОЦЕССА.

2.1 Технология производства работ основана на применении следующих строительных материалов и изделий:

- кирпич керамический лицевой, соответствующий ГОСТ 7484-78 и ГОСТ 530-95*, характеристики которых приведены в таблице 1;

Таблица 1 - Характеристика кирпича

Наименование*

Размеры, мм

Марка

Марка по морозостойкости

Плотность, кг/м3

Длина

Ширина

Толщина

Кирпич

250

120

65

300, 250, 200, 175, 150, 125, 100, 75

F15, F25, F35, F50

 

Кирпич утолщенный

250

120

88

Кирпич модульных размеров

288

138

63

1400

1600

* Примечание - при привязке карты к другому объекту вид облицовочного материала устанавливается проектом.

- плиты теплоизоляционные из минеральной ваты на синтетическом связующем по ГОСТ 9573-96 и плиты минераловатные повышенной жесткости на синтетическом связующем плотностью 200 ± 25 кг/м3 по ГОСТ 22950-95;

- плиты теплоизоляционные из пенопласта полистирольного марки 15, 25, 35, 50 по ГОСТ 15588-86;

- фасадные плиты Роквул (производство - Дания) при наличии сертификата о пригодности продукции;

- растворы строительные по ГОСТ 28013-98;

- сетки металлические проволочные по ГОСТ 2715-75*;

- арматура класса А-I диаметром 6,0 мм по ГОСТ 5781-82*.

2.2 До начала работ по облицовке фасадов зданий должны быть закончены работы по бетонированию наружных стен, доставлены на площадку и подготовлены к работе монтажный кран, леса, необходимые приспособления, инвентарь и материалы, очищена рабочая зона от мусора и обеспечен свободный доступ к рабочему месту.

2.3 Доставку кирпича на объект осуществляют в специально оборудованных бортовых машинах в соответствии с правилами перевозок грузов и требованиями документации по погрузке и креплению грузов на поддонах вместимостью по 200 шт., соответствующих ГОСТу 18343-80. Раствор на объект доставляют растворосмесителями типа СБ-69, СБ-92 и др. и выгружают в установку для перемешивания и выдачи раствора УБ-342 или МС-353 (или СО-126).

2.4 Разгрузку кирпича с автомашин и подачу на склад осуществляют в пакетах на поддонах, к рабочему месту - в траверсном футляре. Раствор подают на рабочее место инвентарным раздаточным бункером объемом 1 м3 с перегрузкой в металлические ящики объемом 0,35 м3 с заполнением их раствором по 0,25 м3.

2.5 Пенополистирольные плиты поставляют упакованными в транспортные пакеты высотой 0,9 м. При толщине плит пенополистирольных 150 мм транспортные пакеты формируют из 6 плит, при назначении плит других толщин пакеты формируют согласно указаниям проекта. На боковой грани плиты или пакета наносится штамп ОТК предприятия-изготовителя, тип и марка плиты.

Каждую партию плит сопровождают документом о качестве согласно ГОСТ 15588-86, в котором указывают:

- наименование предприятия-изготовителя или его товарный знак;

- дату изготовления;

- наименование продукции и номер партии;

- марку и тип плит;

- количество плит в партии и в каждом пакете;

- обозначение стандарта;

- штамп ОТК;

- результаты испытаний.

2.6 Плиты в пакетах транспортируют всеми видами транспорта в крытых транспортных средствах в соответствии с правилами перевозки грузов. Хранение плит осуществляется в крытых складах, а на стройплощадке допускается хранение на подкладках под навесом, защищающим плиты от воздействия атмосферных осадков и солнечных лучей. Высота штабеля не должна превышать 3 м.

2.7 Фасадная плита Роквул (Дания) - это жесткая плита, изготовленная из огнеустойчивой, влагоотталкивающей и прочной минеральной ваты, специально разработанной для изоляции фасадов. Ее плотность составляет приблизительно 145 кг/м3 при теплопроводности 0,035 Вт/м×К. Габаритные размеры фасадных плит Роквул составляют 1000´600´(45 ¸ 100) мм.

2.8 При устройстве облицовки используются трубчатые леса (проект № 1103 АОЗТ ЦНИИОМТП или аналогичные).

Расчетная нагрузка на леса не должна превышать 250 кг/м2;

Сосредоточенная нагрузка на стойку лесов - 1000 кг.

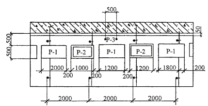
2.9 Леса загружаются кирпичом, раствором, утеплителем для производства теплоизоляционных и облицовочных работ, а также указываются рабочие места каменщиков. Расчетная схема нагрузок представлена на рисунке 2.

Р-1 Ящик с раствором 250 кг

Р-2 Контейнер с кирпичом 780 кг

Р-3 Рабочие 2´80 кг

Рисунок 2 - Расчетная схема нагрузок

2.10 Подача материалов на леса может производиться грузоподъемными кранами, а также вручную через оконные и другие проемы в стенах здания. Для подъема груза может быть применена лебедка грузоподъемностью 1000 кг.

2.11 Поверхности, подлежащие облицовке, не должны иметь отклонений, превышающих допуски, установленные СНиП 3.03.01-87 «Несущие и ограждающие конструкции» для бетонных поверхностей.

Стены, подлежащие облицовке, должны иметь:

- прочность бетона в конструкции, соответствующую проектной;

- влажность бетона не более 4 %;

- предусмотренные проектом закладные детали для закрепления пенополистирольных плит, устанавливаемые при армировании стен монолитных зданий вплотную к палубе опалубочного щита.

2.12 К бетонным поверхностям стен, подлежащим облицовке, предъявляются следующие требования:

- поверхности стен должны быть очищены от наплывов бетона, цоколь - от строительного мусора;

- неровности и перепады более 1 см должны быть устранены, а трещины разделаны и затерты цементно-песчаным раствором;

- допускаемые отклонения поверхности стен при проверке двухметровой рейкой должны находиться в пределах ±5 мм;

- рабочие плоскости закладных деталей должны находиться заподлицо с плоскостью наружной стены.

2.13 Шаг закладных деталей по высоте и ширине облицовываемой поверхности стен должен назначаться проектной организацией с учетом следующих основных факторов:

- высоты этажа;

- размеров оконных проемов;

- геометрических размеров теплоизоляционных плит;

- геометрических размеров облицовочного кирпича.

Схема расстановки закладных деталей, представленная на рисунке 3, устанавливается проектной организацией. При этом нижняя отметка оконного проема должна совпадать с верхней отметкой кирпичной кладки облицовки, а верхняя отметка оконного проема - с нижней отметкой кирпичной кладки облицовки простенков, как показано на рисунках 3, 4.

Конструктивное решение облицовки кирпичом сплошных участков наружных стен показано на рисунке 5. Монолитная плита перекрытия в этом варианте продлевается за грани несущего внутреннего слоя стены в виде решетки с утепляющими вставками. В первую очередь в данном варианте возводится внутренний монолитный слой стены. Утеплитель крепится к внутреннему слою стены. Для соединения внутреннего монолитного слоя стены с кирпичной кладкой в монолитном слое предусмотрены соответствующие связи, загнутые при бетонировании, после снятия опалубки связи разгибаются и на них накалывается утеплитель. Высота перекрытия в пределах наружного кирпичного слоя может быть сокращена до размера, кратного высоте кирпича для создания однородного фасада.

Рисунок 3 - Схема расстановки закладных деталей, устройства металлических анкеров и сеток.

Рисунок 4 - Конструктивное решение облицовки оконных проемов

Рисунок 5 - Конструктивное решение облицовки кирпичом сплошных участков наружных стен

В пределах перекрытия устанавливается декоративная облицовочная плитка «под кирпич». Между низом перекрытия и слоем кирпича оставляется зазор, заполняемый упругим материалом, чтобы избежать передачи нагрузки и компенсировать разные деформации слоев из различных материалов.

2.14 Общая толщина наружной стены и толщина теплоизоляционного слоя определяются теплотехническим расчетом в соответствии с требованиями СНиП II-3-79* «Строительная теплотехника» (с изменениями, утвержденными постановлением Госстроя России от 19.12.85 № 241; с изменениями № 3, утвержденными постановлением Госстроя России от 11.08.95 № 18-81, и изменениями № 4, утвержденными постановлением Госстроя России от 19.01.98 № 18-8) в зависимости от вида бетона (тяжелый, легкий, ячеистый), вида теплоизоляционного материала (минераловатные плиты, пенопласта и т.д.), а также региона строительства и устанавливаются проектной организацией.

2.15 Облицовка стен фасадов из монолитного железобетона состоит из следующих технологических операций:

- сварка анкеров с пластинами закладных деталей и установка металлических сеток;

- установка теплоизоляционных плит с креплением их между собой специальными шпильками и вязальной проволокой;

- кладка наружных стен из облицовочного кирпича толщиной 120 мм.

2.16 Приварка анкеров к металлическим пластинам осуществляется ручной дуговой сваркой в следующей технологической последовательности: очистка закладных деталей от наплывов бетона и ржавчины стальной щеткой, сварка швов, очистка шва от шлака, осмотр и измерение шва.

После сварочных работ должны быть выполнены мероприятия по защите металла сварного стыка от коррозии.

2.17 Установку металлических сеток или гладких стержней диаметром не более 6 мм в количестве не менее двух осуществляют с помощью вязальной проволоки, соединяющей анкера с сеткой или стержнями. Диаметр поперечных стержней в металлических сетках должен быть не более 3 мм.

2.18 Установка теплоизоляционных плит производится после окончания сварочных работ полосами, высота которых определяется расстоянием по вертикали между горизонтальными металлическими сетками. Плиты устанавливаются вразбежку. Крепление плит осуществляют с помощью вязальной проволоки и специальных металлических шпилек из нержавеющей стали согласно рисунку 6.

2.19 В процессе производства работ в период выпадения атмосферных осадков и при перерывах в работе следует принимать меры по защите утеплителя от намокания.

Рисунок 6 - Схема крепления утеплителя к монолитной железобетонной стене.

2.20 Отклонения теплоизоляционного слоя от проектных размеров должно быть не более:

- по толщине от +10 % до минус 5 %;

- по объемному весу минус 5 %.

2.21 Облицовку стен кирпичом с лесов начинают после завершения монтажа лесов и их приемки и окончания работ по устройству теплоизоляционного слоя в следующей технологической последовательности: подготовка рабочих мест каменщиков, кирпичная кладка облицовки, расшивка швов, установка плит утеплителя.

2.22 Процесс кирпичной кладки с лесов состоит из следующих операций:

- установка и крепление лесов;

- устройство теплоизоляционного слоя;

- подача кирпичей и раскладка их на стене;

- перелопачивание, подача, растирание и разравнивание раствора на стене;

- укладка кирпичей в конструкцию и армирование кладки;

- расшивка швов;

- проверка правильности выложенной кладки.

2.23 Кирпичная стена облицовки выполняется из цельного кирпича с перевязкой швов в 1/2 кирпича по длине рядов. В отдельных местах для обеспечения перевязки устанавливается кирпич других размеров согласно кладочным планам.

В процессе кирпичной кладки облицовки оставляют отверстия для крепления лесов, которые должны быть заделаны при разборке строительных лесов.

2.24 Отделка участка и всей поверхности интерьера и фасада облицовочными изделиями разного цвета, фактуры, текстуры и размеров должна производиться с подбором всего рисунка поля облицовки в соответствии с проектом.

2.25 Кладку облицовку ведет звено «двойка», состоящее из каменщиков 5 и 3 разрядов. Звено должно быть закреплено за выделенной ему делянкой на весь период кладки облицовки. Кладка ведется с наружной стороны стены с лесов.

До начала кладки облицовки устанавливают и закрепляют угловые и промежуточные порядовки. Их выполняют по отвесу и нивелиру. Засечки для каждого ряда на всех порядовках должны быть в одной горизонтальной плоскости.

Порядовки устанавливаются на углах, в местах пересечения и примыкания стен, а на прямых участках стен - на расстоянии 10 - 15 м одна от другой. Закрепив и выверив порядовки на углах стен, выкладывают маяки в виде убежной штрабы. При укладке его на уровне верха укладываемых кирпичей с отступом от вертикальной плоскости кладки на 1 - 2 мм.

Каменщик 5 разряда К-1 закрепляет и натягивает причальный шнур. Закончив кладку очередного ряда облицовки, каменщик 5 разряда К-1 ослабляет на порядовке фиксатор натяжения причального шнура. Затем, одной рукой поднимая хомутик, а другой, поддерживая порядовку, устанавливает хомутик на риске следующего ряда и закрепляет его винтом. Натянув шнур, проверяет его горизонтальность.

Каменщик 3 разряда К-2 раскладывает кирпичи вплотную один к другому, на расстоянии трех кирпичей от начала кладки, оставляя место для расстилки раствора. Так укладывает 6 кирпичей, после чего расстилает раствор. Перед подачей раствора каменщик 3 разряда К-2 перелопачивает его в ящике до получения однородной массы. Затем лопатой подает раствор на стену и, поставив лопату наклонно на боковую грань, расстилает его грядкой шириной около 10 см, толщиной 2 - 2,5 см и длиной 75 см. После того как каменщик 5 разряда К-1 уложит 3 кирпича, каменщик 3 разряда К-2 укладывает раствор еще под 3 кирпича.

Каменщик 5 разряда К-1 ведет кладку впритык. Сначала кельмой разравнивает раствор под 3 кирпича; затем, держа кирпич левой рукой в наклонном положении, тычковой гранью загребают часть разостланного раствора и двигает его к ранее уложенному кирпичу, создавая полный вертикальный шов. После этого выравнивает кирпич заподлицо с поверхностью стены, легкими ударами ручки кельмы осаживая кирпич до уровня причального шнура с тем, чтобы зазор между шнуром и кирпичом не превышал 1 - 2 мм. Выжатый на лицевую поверхность стены раствор подрезает кельмой и забрасывает в вертикальный шов кладки. Затем укладывает еще 3 кирпича на этом же участке.

Расшивка швов осуществляется каменщиком 3 разряда К-2 одновременно с кладкой, причем сначала расшиваются горизонтальные швы, а затем вертикальные. Операция расшивки швов выполняется в два приема: сначала широкой частью расшивки, а затем более узкой после затирки поверхности шва ветошью.

При армировании кладки необходимо соблюдать следующие требования:

- толщина швов в армированной кладке должна превышать сумму диаметров пересекающейся арматуры не менее чем на 4 мм при толщине шва не более 16 мм;

- при продольном армировании кладки арматурные стержни по длине соединяют с помощью сварки;

- при устройстве стыков арматуры без сварки концы гладких стержней должны заканчиваться крюками и связываться вязальной проволокой с перехлестом стержней на 20 диаметров;

- гладкие стержни при армировании перемычек должны иметь диаметр не менее 6 мм, число стержней устанавливается проектом, но должно быть не менее трех.

2.26 Для улучшения качества кладки угловой части фасада здания, конструктивное решение которого приведено на рисунке 7, рекомендуется применять шаблоны из досок, остроганных с наружной и отфугованных с внутренней рабочей стороны.

Рисунок 7 - Конструктивное решение армирования кирпичной кладки облицовки угловой части фасада здания

2.27 При кладке облицовочного кирпича особое внимание должно уделяться полноте заполнения швов раствором, правильности положения каждого кирпича, вертикальности кладки в целом.

2.28 Организация рабочих мест сварщиков, изолировщиков, каменщиков при производстве сварочных работ, установке теплоизоляционных плит и кирпичной кладке должна соответствовать рекомендуемым схемам на рисунке 8.

Условные обозначения:

1 - существующая железобетонная стена;

2 - приваренные анкера;

3 - ящик с раствором

4 - ящик с арматурой;

5 - ящик с электродами;

6 - установленные теплоизоляционные плиты;

7 - штабель теплоизоляционных плит;

8 - ящик с крепежом;

9 - укладываемая кирпичная стена;

10 - арматурная сетка;

11 - поддоны с облицовочным кирпичом;

12 - ящик с раствором.

 - рабочие места сварщиков, изолировщиков, каменщиков.

Рисунок 8 - Схемы организации рабочего места

Приемы труда по комплексу работ, связанных с облицовкой монолитных стен с установкой плит утеплителя, представлены схематично на рисунке 9.

1 Установка пенополистирольных плит

2 Установка порядовки

3 Раскладка кирпича

4 Кладка кирпича

5 Подбор раствора

6 Расшивка швов

 

Рисунок 9 - Приемы труда

2.29 При производстве работ в зимних условиях следует руководствоваться следующими указаниями:

2.29.1 Кладку облицовочного кирпича рекомендуется выполнять на цементных, цементно-известковых и цементно-глинистых растворах. Состав строительного раствора заданной марки для зимних работ, подвижность и сроки сохранения подвижности устанавливает проектная организация и контролирует предварительно строительная лаборатория.

Возведение облицовки следует выполнять равномерно по всей захватке, не допуская разрывов по высоте более чем на 1/2 этажа.

При кладке глухих участков и углов разрывы допускаются высотой не более 1/2 этажа и выполняются штрабой.

Не допускается при перерывах в работе укладывать раствор на верхний ряд кладки. Для предохранения от обледенения и заноса снегом на время перерыва в работе верх кладки следует накрывать.

2.29.2 Кладку облицовки из кирпича в зимних условиях допускается возводить:

- с противоморозными добавками на растворах не ниже марки М50;

- на обыкновенных (без противоморозных добавок) растворах с последующим своевременным упрочнением кладки прогревом;

- способом замораживания на обыкновенных (без противоморозных добавок) растворах не ниже марки М100 при условии обеспечения достаточной несущей способности конструкций в период оттаивания (при нулевой прочности раствора).

2.29.3 Применение растворов с противоморозными добавками должно быть согласовано с проектной организацией.

Кладку на растворах с химическими добавками ведут на открытом воздухе так же, как и кладку способом замораживания на обычных подогретых растворах, но с обязательным соблюдением требований специальных инструкций.

Растворная смесь с химическими добавками в момент укладки должна иметь температуру не ниже 5 °С. Замерзший, а затем отогретый горячей водой раствор использовать запрещается.

2.29.4 Кладку способом прогрева конструкций необходимо выполнять с соблюдением следующих требований:

- утепленная часть сооружения должна оборудоваться вентиляцией, обеспечивающей относительную влажность воздуха в период прогрева не более 70 %;

- нагружение прогретой кладки допускается только после контрольных испытаний и установления требуемой прочности раствора отогретой кладки;

Глубина оттаивания кладки, продолжительность оттаивания, прочность растворов, твердеющих при различных температурах, принимается в соответствии со СНиП 3.03.01-87 «Несущие и ограждающие конструкции».

2.29.5 При кладке способом замораживания растворов (без противоморозных добавок) необходимо соблюдать следующие требования:

- выполнять работы следует одновременно по всей захватке;

- во избежание замерзания раствора его следует укладывать не более чем на два смежных кирпича при выполнении версты;

- на рабочем месте каменщика допускается запас раствора не более чем на 30 - 40 мин.

Ящик для раствора необходимо утеплять или подогревать. Использование замерзшего или отогретого горячей водой раствора не допускается.

При устройстве кладки способом замораживания следует учитывать величину осадки кладки во время оттепели.

Температура раствора в момент его укладки должна соответствовать показателям, приведенным в таблице 2.

Таблица 2 - Температура раствора в момент его использования

Среднесуточная температура наружного воздуха

Положительная температура раствора, °С, на рабочем месте для кладки стен из кирпича при скорости ветра, м/с

До 6

свыше 6

До минус 10

5

10

От минус 11 до минус 20

10

15

Ниже минус 20

15

20

2.30 Окончательный выбор варианта производства работ в зимних условиях с использованием химдобавок, прогрева или замораживания кладки осуществляет исполнитель работ в рабочем порядке при согласовании с проектной организацией.

3 ТРЕБОВАНИЯ К КАЧЕСТВУ И ПРИЕМКЕ РАБОТ

3.1 Работы по устройству облицовки здания кирпичом должны производиться только при наличии полного комплекта документации, утвержденного в установленном порядке.

3.2 Контроль качества облицовочных работ должен осуществляться специальными службами строительных организаций.

3.3 Производственный контроль качества работ должен включать входной контроль рабочей документации, кирпича лицевого, цементно-песчаного раствора, теплоизоляционных материалов, анкеров и металлических сеток, предназначенных для устройства облицовки фасада кирпичом с одновременным утеплением наружных стен из монолитного железобетона, операционный контроль технологических процессов и приемочный контроль облицованной поверхности фасадов зданий и сооружений.

3.4 При входном контроле рабочей документации проводится проверка ее комплектности и достаточности содержащейся в ней технической информации для производства облицовочных работ. При входном контроле кирпича, цементно-песчаного раствора, плитных теплоизоляционных материалов, металлических сеток и арматуры проверяется соответствие этих изделий стандартам, наличие сертификатов соответствия, гигиенических и пожарных документов, паспортов и других сопроводительных документов.

3.5 Каждая партия поставляемых на стройку строительных материалов должна соответствовать следующим требованиям:

- кирпич лицевой:

а) отбитости и притупленности углов и ребер, шероховатости, трещины и другие повреждения на лицевых поверхностях не допускаются;

б) на лицевой поверхности не должно быть отколов, пятен, выцветов и других дефектов, видимых на расстоянии 10 м на открытой площадке при дневном освещении;

в) цвет, рисунок рельефа и другие показатели внешнего вида лицевой поверхности изделий должны соответствовать утвержденному в установленном порядке образцу-эталону;

г) наличие глины, песка, извести и посторонних включений размером свыше 5 мм на лицевой поверхности не допускается, в изломе допускается в количестве не более 3;

д) допускаемые отклонения от номинальных размеров и показателей внешнего вида лицевой поверхности кирпича не должны превышать на одном изделии величин, указанных в таблице 3;

Таблица 3 - Допускаемые отклонения для керамического лицевого кирпича

Наименование показателя

Величина

Отклонения от размеров, мм, не более:

 

- по длине

±4

- по ширине

±3

- по толщине

+3

-2

Неперпендикулярность граней и ребер кирпича и камня, отнесенная к длине 120 мм, не более

2

Непараллельность граней, мм, не более:

-

Непрямолинейность лицевых поверхностей и ребер, мм, не более:

 

по ложку

3

по тычку

2

Отбитость или притупленность углов и ребер длиной от 5 до 15 мм, шт., не более

1

Отдельные посечки шириной не более 0,5 и длиной до 40 мм на 1 дм2 лицевой поверхности, шт., не более:

2

е) предел прочности при сжатии и изгибе кирпичей (без вычета площади пустот) должен быть не менее величин, указанных в таблице 4.

Таблица 4 - Предел прочности при сжатии и изгибе для кирпичей

Марка кирпича

Предел прочности, кгс/см2

При сжатии

При изгибе

Для кирпича пластического формования и полусухого прессования

Для сплошного и с технологическими пустотами кирпича пластического прессования

Для сплошного и пустотелого кирпича полусухого прессования и пустотелого кирпича пластического формования

Средний для 5 образцов

Наименьший для отдельного образца

Средний для 5 образцов

Наименьший для отдельного образца

Средний для 5 образцов

Наименьший для отдельного образца

300

300

250

44

22

34

17

250

250

200

40

20

30

15

200

200

150

34

17

26

13

150

150

125

28

14

20

10

125

125

100

25

12

18

9

100

100

75

22

11

16

8

75

75

50

18

9

14

7

- цементно-песчаные растворы:

а) подвижность цементно-песчаного раствора должна соответствовать глубине погружения стандартного конуса, равной 6 - 8 см;

б) марка цементно-песчаного раствора - М100.

- теплоизоляционные материалы:

а) номинальные размеры плит должны быть:

по длине - от 900 до 5000 мм с интервалом через 50 мм;

по ширине - от 500 до 1300 мм с интервалом через 50 мм;

по толщине - от 20 до 500 мм с интервалом через 10 мм.

Предельные отклонения плит пенополистирольных от номинальных размеров, контролируемых при входном контроле, не должны превышать данных в таблице 5.

Таблица 5 - Предельные отклонения размеров плит пенополистирольных

Наименование показателей

Предельные отклонения, мм

По длине:

 

       для плит длиной до 1000 мм включительно

±5

       для плит длиной свыше 1000 до 2000 мм включительно

±7,5

       для плит длиной свыше 2000 мм

 

По ширине:

 

       для плит шириной до 1000 мм включительно

±5

       для плит шириной свыше 1000 мм

±7,5

По толщине:

 

       для плит толщиной до 50 мм

±2

       для плит толщиной свыше 50 мм

±3

Разность диагоналей не более:

 

       для плит длиной до 1000 мм

5

       для плит длиной свыше 1000 до 2000 мм

7

       для плит длиной свыше 2000 мм

13

б) отклонение от плоскостности грани плиты не должно превышать 3 мм на 500 мм длины грани;

в) плотность минераловатных плит должна находиться в пределах 145 - 181 кг/м3;

г) плотность теплоизоляционных плит из пенопласта полистирольного должна соответствовать 15,1 - 16,8 кг/м3;

д) показатели физико-механических свойств, по которым проверяют качество плит, должны соответствовать нормам, указанным в таблице 6.

Таблица 6 - Физико-механические свойства плит пенополистирольных

Наименование показателей

Норма для плит марок

высшей категории качества

первой категории качества

15

25

35

50

15

25

35

50

Плотность, кг/м3

До 15,0

От 15,1 до 25,0

От 25,1 до 35,0

От 35,1 до 50,0

До 15,0

От 15,1 до 25,0

От 25,1 до 35,0

От 35,1 до 50,0

Прочность на сжатие при 10 % линейной деформации, МПа, не менее

0,05

0,10

0,16

0,20

0,04

0,08

0,14

0,16

Предел прочности при изгибе, МПа, не менее

0,07

0,18

0,25

0,35

0,06

0,16

0,20

0,30

Теплопроводность в сухом состоянии при (25 ± 5) °С, Вт/(м×К), не более

0,042

0,039

0,037

0,040

0,043

0,041

0,038

0,041

Время самостоятельного горения плит типа ПСБ-С, с, не более

4

4

Влажность плит, отгружаемых потребителю, %, не более

12

12

Водопоглощение за 24 ч, % по объему, не более

3,0

2,0

2,0

1,8

4,0

3,0

2,0

2,0

При проведении входного контроля необходимо убедиться в наличии актов на скрытые работы для подготовки работ под облицовку.

3.6 Операционный контроль осуществляется в ходе выполнения технологических операций по устройству теплоизоляционного слоя и кирпичной кладки облицовки для обеспечения своевременного выявления дефектов и принятия мер по их устранению и предупреждению.

При операционном контроле проверяется соблюдение технологий выполнения работ, соответствие выполнения работ рабочим чертежам, строительным нормам, правилам и стандартам. Основным документом при операционном контроле является СНиП 3.03.01-87 «Несущие и ограждающие конструкции», который устанавливает требования, соблюдаемые при производстве облицовочных работ и указанные в таблице 7.

Результаты операционного контроля фиксируются в журнале производства работ.

Таблица 7 - Требования к производству облицовочных работ

Технические требования

Предельные отклонения

Контроль (метод, объем, вид регистрации)

Допускаемые несовпадения профиля на стыках архитектурных деталей и швов, мм:

-

Измерительный, не менее 5 измерений на 50 - 100 м2 поверхности или на отдельном участке меньшей площади в местах, выявленных сплошным визуальным осмотром, журнал работ.

керамическими, стеклокерамическими и другими изделиями в наружной облицовке - до 4

Неровности плоскости (при контроле двухметровой рейкой), мм:

-

керамическими, стеклокерамическими и другими изделиями в наружной облицовке - до 3

Отклонения ширины шва облицовки керамическими, стеклокерамическими и другими изделиями (при внутренней и наружной облицовке)

±0,5

Облицованная поверхность:

Не более 5 на этаж

Измерительный, не менее 5 измерений на 50 - 70 м2 поверхности.

отклонения от вертикали (мм на 1 м длины):

керамическими, стеклокерамическими и другими изделиями в наружной облицовке - 2

отклонения расположения швов от вертикали и горизонтали (мм на 1 м длины) в облицовке, мм:

керамическими, стеклокерамическими и другими изделиями в наружной облицовке - до 2

-

Результаты операционного контроля фиксируется в журнале производства работ.

3.7 При приемочном контроле производится проверка качества выполненных работ с составлением актов освидетельствования скрытых работ (сварка анкеров и устройство теплоизоляции). Состав и содержание производственного контроля качества работ приведен в таблице 8.

Таблица 8 - Перечень технологических процессов, подлежащих контролю

№ п/п

Наименование технологических процессов, подлежащих контролю

Предмет контроля

Способ контроля

Время проведения контроля

Ответственный за контроль

Технические характеристики оценки качества

1

Сварка анкеров с пластинами закладных деталей и установка металлических сеток

Диаметр глухих стержней в металлических сетках

Измерительный, журнал работ, штангенциркуль

В процессе производства работ

Мастер, прораб

Не более 6 мм

Не более 3 мм

Антикоррозийное покрытие металла

Визуальный, журнал работ

В процессе производства работ

Мастер, прораб

-

2

Установка теплоизоляционных плит с креплением их между собой специальными шпильками и вязальной проволокой

Толщина теплоизоляционного слоя

Измерительный, журнал работ, линейка Л-150 по ГОСТ 427-75*

В процессе производства работ

Мастер, прораб

Толщина устанавливается проектом: отклонения по толщине от +10 % до -5 %

Установка шпилек и крепление вязальной проволоки (по проекту)

Визуальный журнал работ

В процессе производства работ

Мастер, прораб

4 шпильки на каждую теплоизоляционную плиту

3

Кирпичная кладка облицовки

Отклонения толщины швов

Измерительный, журнал работ, линейка Л-150 по ГОСТ 427-75*, горизонтальный и вертикальный

В процессе производства работ

Мастер, прораб

2; +3 мм

-2; +2 мм

Отклонение поверхности и углов кладки: на один этаж на здание более двух этажей

Измерительный, геодезическая исполнительная схема

В процессе производства работ

Мастер, прораб

10 мм

30 мм

Отклонение рядов кладки от горизонтали на 10 м длины

Измерительный, геодезическая исполнительная схема

В процессе производства работ

Мастер, прораб

15 мм

Неровности вертикальной поверхности кладки при накладывании рейки длиной 2 м

Технический осмотр, журнал работ

В процессе производства работ

Мастер, прораб

10 мм

Правильность перевязки швов, их толщина и заполнение

Технический осмотр, измерительный, журнал работ

В процессе производства работ

Мастер, прораб

Полнота шва

Внешний вид облицованной поверхности

Визуальный, журнал работ

После окончания работ по устройству облицовки

Мастер, прораб

Полнота шва

4 ТРЕБОВАНИЯ БЕЗОПАСНОСТИ И ОХРАНЫ ТРУДА, ЭКОЛОГИЧЕСКОЙ И ПОЖАРНОЙ БЕЗОПАСНОСТИ

4.1 При выполнении работ по облицовке монолитных зданий кирпичом с применением утеплителя необходимо соблюдать требования, изложенные в СНиП 12-03-2001 «Безопасность труда в строительстве. Часть 1. Общие требования» и СНиП 12-04-2002 «Безопасность труда в строительстве. Часть 2. Строительное производство».

Все рабочие, занятые на этих работах, должны пройти первичный инструктаж на рабочем месте при работе с механизмами, инструментами, материалами.

4.2 Допуск рабочих к выполнению работ с лесов разрешается после осмотра прорабом или мастером совместно с бригадиром исправности несущих конструкций лесов.

Леса и подмости высотой до 4 м допускаются в эксплуатацию только после их приемки производителем работ или мастером и регистрации в журнале работ, а выше 4 м - после приемки комиссией, назначенной лицом, ответственным за обеспечение охраны труда в организации, и оформления актом.

При приемке лесов и подмостей должны быть проверены: наличие связей и креплений, обеспечивающих устойчивость, узлы крепления отдельных элементов, рабочие настилы и ограждения, вертикальность стоек, надежность опорных площадок и заземление (для металлических лесов).

4.3 Поддоны, контейнеры и грузозахватные средства должны исключать падение груза при подъеме.

4.4 Требуемое качество и надежность лесов, с которых ведутся работы, должно обеспечиваться строительными организациями путем осуществления комплекса технических и организационных мер в соответствии с требованиями ГОСТ 27321-87 «Леса стоечные приставные для строительно-монтажных работ».

4.5 В процессе эксплуатации лесов должно производиться систематическое наблюдение за состоянием всех соединений, креплений к стене, настилов и ограждений. Во всех случаях обнаружения деформаций элементов лесов, нарушения устойчивости и других дефектов работа с лесов должна быть прекращена до исправления и повторной приемки лесов.

4.6 Леса должны быть оборудованы лестницами или трапами для подъема и спуска рабочих, находящихся на расстоянии не более 40 м друг от друга, причем для лесов протяженностью менее 40 м должно устанавливаться не менее двух лестниц или трапов. Верхние концы лестниц или трапов должны быть прикреплены к поперечинам лесов, проемы в настилах лесов для выхода с лестниц ограждены с трех сторон. Угол наклона лестниц к горизонту не должен превышать 60°, а уклон трапов не более чем 1:3.

4.7 В местах проходов в здание леса должны иметь защитные козырьки и боковую сплошную обшивку для защиты рабочих от падения сверху различных предметов, причем защитный козырек должен выступать не менее, чем на 1,5 м и устанавливается под углом 15 - 20° к горизонту.

Высота проходов должна быть не менее 1,8 м.

4.8 Леса должны быть оборудованы грозозащитными устройствами и обязательно заземлены в соответствии с «Инструкцией по молниезащите зданий и сооружений». Расстояние между молниеприемниками не должно превышать 20 м.

4.9 Настилы лесов, расположенные выше одного метра от уровня земли, должны быть ограждены. Ограждение состоит из поручня, расположенного на высоте не менее одного метра от рабочего настила, одного промежуточного горизонтального элемента и бортовой доски высотой не менее 15 см. Зазор между досками настила должен быть не более 5 см. На лесах должны быть вывешены плакаты со схемами размещения нагрузок и их допускаемой величиной.

Ограждения и перила лесов должны выдерживать сосредоточенную нагрузку, равную 40 кг, приложенную в любом месте по длине поручня.

4.10 При эксплуатации лесов необходимо руководствоваться требованиями ППБ 01-03 «Правила пожарной безопасности в Российской Федерации».

Рабочий настил должен иметь первичные средства пожаротушения: на каждые 20 м рабочего настила - один огнетушитель, вода - не менее четырех ведер на весь настил.

4.11 Перед началом работ территория строительства должна быть подготовлена с определением мест установки бытовых помещений, мест складирования материалов и контейнеров для сбора мусора. Весь строительный мусор должен удаляться в специально подготовленные контейнеры. Не допускается сбрасывать его без специальных устройств.

4.12 Рабочие, занятые на выполнении технологических операций по устройству облицовки с утеплителем, должны быть обеспечены спецодеждой, спецобувью и другими средствами индивидуальной защиты.

4.13 При выполнении электросварочных работ необходимо выполнять требования ГОСТ 12.3.003-86* «ССБТ. Работы электросварочные. Требования безопасности» и СНиП 12-03-2001 «Безопасность труда в строительстве. Часть 1. Общие требования».

Места производства сварочных работ на данном, а также на нижерасположенных ярусах лесов должны быть освобождены от сгораемых материалов в радиусе не менее 5 м, а от взрывоопасных материалов и установок - 10 м.

Производство сварочных работ во время дождя или снегопада при отсутствии навесов над электросварочным оборудованием и рабочим местом электросварщика не допускается.

5 ПОТРЕБНОСТЬ В МАТЕРИАЛЬНО-ТЕХНИЧЕСКИХ РЕСУРСАХ

5.1 Потребность в машинах, оборудовании и механизмах определяется с учетом выполняемых работ и технических характеристик, приведенных в таблице 9.

Таблица 9 - Ведомость потребности машин, механизмов и оборудования

№ п/п

Наименование

Тип, марка, ГОСТ

Техническая характеристика

Назначение

Кол. на звено

1

Машина для подачи раствора

СО-126

Производительность 2,5 м3

Подача раствора

1

2

Компрессор

КС-9

Производительность 9 м3/мин

Подача воздуха

1

3

Сварочный трансформатор

ТС-500

-

Сварка арматуры

2

4

Лебедка электрическая

-

грузоподъемность 1,0 т.

Подъем грузов

1

5

Таль электрическая

ГОСТ 18501-73*

грузоподъемность 1,0 т.

Подъем грузов

1

5.2 Потребность в технологической оснастке, инструменте, инвентаре и приспособлениях определяется с учетом данных, приведенных в таблице 10.

Таблица 10 - Ведомость потребности технологической оснастки, инструмента, инвентаря и приспособлений

№ п/п

Наименование

Тип, марка, ГОСТ

Техническая характеристика

Назначение

Кол. на звено

1

Ящик для раствора

СКБ Мосстрой проект № 5161

Емкость 0,35 м3

Хранение раствора

2

2

Леса строительные

АОЗТ ЦНИИОМТП проект № 3316

Нормативная нагрузка 250 кгс/м2

Организация рабочего места

комплект

3

Футляр траверсный

Карачаровский мехзавод, № Р-4086

Грузоподъемность 1,5 т

Подъем груза

1

4

Поддон с металлическими крючьями

ГОСТ 18343-80

-

-

8

5

Строп 4-х ветвевой

СКБ Мосстрой

Длина 5000 мм

Подъем грузов

1

Масса 45 кг

6

Кельма для каменных работ

ГОСТ 9533-81

Масса 0,34 кг

Разравнивание раствора

4

7

Молоток-кирочка

МКИ ГОСТ 11042-90

Масса 0,5 кг

Рубка и теска кирпичей

4

8

Отвес строительный

ОТ-400 ГОСТ 7948-80

Масса 0,4 кг

Контроль вертикальности кладки

4

9

Уровень строительный

УС1-300 ГОСТ 9416-83

Масса 0,12 кг

Контроль кладки

2

10

Рейка-порядовка

Р.Ч. 329309.000 ЦНИИОМТП

-

Контроль кладки

4

11

Правило

ГОСТ 25782-90

2000х50х30

Контроль кладки

4

12

Рулетка металлическая

ЗПК-30-АНТ11 ГОСТ 7502-98

Длина 30 м

Для линейных измерений

2

13

Лопата растворная

ГОСТ 19596-87*

Масса 2 кг

Подача раствора

2

14

Линейка измерительная

ГОСТ 427-75*

Длина 1 м

Для линейных измерений

4

15

Расшивка (выпуклая и вытянутая)

 

 

Обработка швов кладки

4

16

Шнур причальный

Покупное изделие

Длина 30 м

 

2

17

Угольник для каменных работ

Покупное изделие

 

Контроль правильности углов кладки

2

18

Ножовка по дереву широкая

ГОСТ 26215-84*

 

Резка плит утеплителя

4

19

Каска строительная винилпластовая

ГОСТ 12.4.087-84

 

Для защиты головы

5

20

Пояс монтажный

ГОСТ Р 50849-96

 

Для страховки от падения с высоты

5

21

Канат страховочный

ГОСТ 12.4.107-82

 

Для страховки от падения с высоты

5

22

Электродержатель пассатижного типа

ГОСТ 14651-78*

 

 

2

23

Пенал для электродов

 

 

 

2

24

Щетка-зубило

 

 

 

2

25

Кусачки

ГОСТ 28037-89

 

 

2

26

Плоскогубцы

ГОСТ 5547-93

 

 

2

27

Ножницы ручные для резки арматуры

 

 

Для резки арматуры

1

28

Очки защитные

 

 

Для защиты глаз

4

29

Респиратор

ГОСТ 17269-71*

 

Для защиты органов дыхания

5

30

Рукавицы

ГОСТ 12.4.010-75*

 

Для защиты рук

5

31

Щитки защитные лицевые

ГОСТ 12.4.011-89

 

Для защиты глаз и лица

2

5.3 Потребность в основных материалах, необходимых для устройства армированной кирпичной облицовки толщиной в 1/2 кирпича с утеплителем, определенная на основании «Нормативных показателей расхода материалов», приведена в таблице 11.

Таблица 11 - Ведомость потребности в материалах, изделиях и конструкциях

№ п/п

Наименование материалов, изделий, конструкций

Ед. изм.

Исходные данные

Обоснование норм расхода

Единица измерения по норме

Объем работ в нормативных единицах

Норма расхода

Потребность на 100 м2

1

Кирпич керамический облицовочный размером 250´120´65 мм ГОСТ 530-95

1000 шт

Е 8-7.3

100 м2 за вычетом проемов

1

5

5

2

Раствор цементно-песчаный марки М100 ГОСТ 28013-98*

м3

Е 8-7.3

100 м2 за вычетом проемов

1

2,27

2,27

3

Плиты утеплителя толщиной 50 мм

м3

По проекту

100 м2 за вычетом проемов

1

5,0

5,0

4

Сетка металлическая проволочная

м2/кг

Е 8-7.1

100 м2 фасада

1

15/8,7

15/8,7

ГОСТ 2715-75

5

Сталь арматурная горячекатаная гладкая А-I диаметром 6 мм

м/кг

Е 8-7.1

100 м2 фасада

1

15/3,4

15/3,4

6 ТЕХНИКО-ЭКОНОМИЧЕСКИЕ ПОКАЗАТЕЛИ

6.1 Для выполнение работ по устройству облицовки кирпичом с утеплением используется комплексная бригада в составе 5 человек

каменщик 5 разряда                           - 1

каменщик 3 разряда                           - 1

сварщик 3 разряда                              - 1

монтажник 4 разряда                         - 1

монтажник 3 разряда                         - 1

6.2 Затраты труда и машинного времени на устройство 100 м2 облицовки из кирпича с утеплением подсчитаны по «Единым нормам и расценкам на строительные, монтажные и ремонтно-строительные работы» и представлены в таблице 12.

6.3 Календарный график производства работ на устройство 100 м2 приведен в таблице 13.

6.4 Технико-экономические показатели по устройству облицовки:

- производительность 1 человека в смену в м2.................................. 3,56

- трудозатраты на устройство 100 м2 облицовки, чел.-ч................... 136,58

- продолжительность устройства 100 м2 облицовки, час................. 45

Таблица 12 - Калькуляция затрат труда

Измеритель конечной продукции - 100 м2 облицовки

№ п/п

Обоснование (ЕНиР и др. нормы)

Наименование технологических процессов

Ед. изм.

Объем работ

Норма времени

Затраты труда

рабочих, чел.-ч.

машиниста, чел.-ч. (работа машин, маш.-ч.)

рабочих, чел.-ч.

машиниста, чел.-ч. (работа машин, маш.-ч.)

1

Е 22-1-2 № 6 а

Сварка анкеров с закладными пластинами

10 м шва

1,9

3,2

-

6,08

-

2

Е 4-1-44Б а

Установка металлических сеток вручную

1 сетка

10

0,17

-

1,7

-

3

Е 8-3-17

Установка теплоизоляционных плит с креплением их шпильками

м2

100

0,4

-

40

-

4

Е 3-3В № 2 а

Кирпичная кладка толщиной 120 мм с расшивкой облицовки

м3 стены

12

7,4

-

88,8

-

 

 

Итого:

 

 

 

 

136,58

 

6.5 Все материалы на установку строительных лесов для выполнения облицовочных работ по фасаду здания даются в проекте производства работ либо технологической карте, выполняемым по отдельному заказу.


Таблица 13 Календарный план производства работ

Измеритель конечной продукции - 100 м2 облицовки


7 ПЕРЕЧЕНЬ ЛИТЕРАТУРЫ

1 СНиП 3.01.01-85* «Организация строительного производства».

2 СНиП 3.03.01-87 «Несущие и ограждающие конструкции».

3 СНиП 12-03-2001 «Безопасность труда в строительстве. Часть 1. Общие требования».

4 СНиП 12-04-2002 «Безопасность труда в строительстве. Часть 2. Строительное производство».

5 СНиП II-3-79* «Строительная теплотехника».

6 ГОСТ 12.3.003-86 ССБТ. «Работы электросварочные. Требования безопасности».

7 ГОСТ 12.4.011-89 «ССБТ. Средства защиты работающих. Общие требования и классификация».

8 ГОСТ 530-95 «Кирпич и камни керамические. Технические условия».

9 ГОСТ 2715-75* «Сетки металлические проволочные. Типы, основные параметры и размеры».

10 ГОСТ 5781-82* «Сталь горячекатаная для армирования железобетонных конструкций. Технические условия».

11 ГОСТ 7484-78 «Кирпич и камни керамические лицевые. Технические условия».

12 ГОСТ 9573-96 «Плиты из минеральной ваты на синтетическом связующем теплоизоляционные. Технические условия».

13 ГОСТ 14098-91 «Соединения сварные арматуры и закладных изделий железобетонных конструкций. Типы, конструкции и размеры.

14 ГОСТ 15588-86 «Плиты пенополистирольные. Технические условия».

15 ГОСТ 18343-80 «Поддоны для кирпича и керамических камней. Технические условия».

16 ГОСТ 22950-95 «Плиты минераловатные повышенной жесткости на синтетическом связующем. Технические условия».

17 ГОСТ 27321-87 «Леса стоечные приставные для строительно-монтажных работ. Технические условия».

18 ГОСТ 28013-98* «Растворы строительные. Общие технические условия».

19 ПБ 10-382-00 «Правила устройства и безопасной эксплуатации грузоподъемных кранов» Госгортехнадзора России.

20 ППБ 01-03 «Правила пожарной безопасности в Российской Федерации».

21 «Указания по установке и безопасной эксплуатации грузоподъемных кранов и строительных подъемников при разработке проектов организации строительства и проектов производства работ» ОАО ПКТИпромстрой, М., 2002.

22 Единые нормы и расценки на строительные, монтажные и ремонтно-строительные работы.

23 Правила производства земляных и строительных работ, прокладки и переустройства инженерных сетей и коммуникаций в г. Москве. Постановление Правительства Москвы № 603 от 08.08.2000.

24 РД 34.21.122-87 Инструкция по устройству молниезащиты зданий и сооружений.

25 СП 12-135-2003 Безопасность труда в строительстве. Отраслевые типовые инструкции по охране труда.

Технологическая карта не заменяет ППР. (см. СНиП 3.01.01.-85*)

 




ГОСТЫ, СТРОИТЕЛЬНЫЕ и ТЕХНИЧЕСКИЕ НОРМАТИВЫ.
Некоммерческая онлайн система, содержащая все Российские Госты, национальные Стандарты и нормативы.
В Системе содержится более 150000 файлов нормативно-технической документации, действующей на территории РФ.
Система предназначена для широкого круга инженерно-технических специалистов.

Рейтинг@Mail.ru Яндекс цитирования

Copyright © www.gostrf.com, 2008 - 2026