Крупнейшая бесплатная информационно-справочная система онлайн доступа к полному собранию технических нормативно-правовых актов РФ. Огромная база технических нормативов (более 150 тысяч документов) и полное собрание национальных стандартов, аутентичное официальной базе Госстандарта. GOSTRF.com - это более 1 Терабайта бесплатной технической информации для всех пользователей интернета. Все электронные копии представленных здесь документов могут распространяться без каких-либо ограничений. Поощряется распространение информации с этого сайта на любых других ресурсах. Каждый человек имеет право на неограниченный доступ к этим документам! Каждый человек имеет право на знание требований, изложенных в данных нормативно-правовых актах!

  


 

ТИПОВЫЕ ТЕХНОЛОГИЧЕСКИЕ КАРТЫ НА ПРОИЗВОДСТВО ОТДЕЛЬНЫХ ВИДОВ РАБОТ

ТИПОВАЯ
ТЕХНОЛОГИЧЕСКАЯ КАРТА
НА МОНТАЖ СТРОИТЕЛЬНЫХ КОНСТРУКЦИЙ

МОНТАЖ КОНСТРУКЦИЙ
КРУПНОПАНЕЛЬНОГО ЖИЛОГО
9-ЭТАЖНОГО ДОМА СЕРИИ 90

6307030131

41131

7. УСТРОЙСТВО ОГРАЖДЕНИЯ БАЛКОНОВ И ЛОДЖИЙ
ТИПОВОГО ЭТАЖА

РАЗРАБОТАНА

Институтом «Оргюгстрой» Минюгстроя СССР

Главный инженер института А.А. Редькин

Начальник отдела ТС-3 А.С. Выприков

Главный технолог И.А. Шурыгин

 

СОГЛАСОВАНО

Управлением механизации и технологии строительства Госстроя СССР

Письмо от 26.01.1990 г. № 12-33

Введена в действие с 1.03.1990 г.

МОСКВА - 1990

1. ОБЛАСТЬ ПРИМЕНЕНИЯ

1.1. Типовая технологическая карта разработана на устройство ограждения балконов и лоджий типового этажа крупнопанельного 9-этажного жилого дома серии 90.

1.2. В состав работ, рассматриваемых в карте, входят:

установка металлических ограждений;

установка железобетонных экранов ограждений;

установка разделительных стенок лоджий;

электросварка монтажных стыков;

замоноличивание стыков цементным раствором.

1.3. Все работы по монтажу ограждений выполняют в три смены. Картой предусматривается монтаж ограждений башенным краном КБ-405.1А грузоподъемностью 10 т при высоте здания до 30 м.

1.4. При привязке типовой технологический карты к конкретному объекту и условиям строительства принятый в карте порядок выполнения работ по монтажу ограждений, размещение машин и оборудования, объемы работ, средства механизации уточняют в соответствии с проектными решениями.

2. ОРГАНИЗАЦИЯ И ТЕХНОЛОГИЯ ВЫПОЛНЕНИЯ РАБОТ

2.1. До начала монтажа ограждений балконов и лоджий должны быть выполнены организационно-подготовительные мероприятия в соответствии со СНиП 3.01.01-85 «Организация строительного производства». Кроме того, должны быть выполнены следующие работы:

смонтированы и закреплены по проекту все сборные железобетонные конструкции вышележащего этажа, кроме плит балконов и лоджий;

доставлены на площадку и подготовлены к работе механизмы, инвентарь и приспособления;

рабочие и ИТР ознакомлены с технологией работ и обучены безопасным методам труда.

2.2. Монтаж надземной части здания, в том числе ограждений балконов и лоджий, рекомендуется выполнять башенными кранами.

Расположение башенного крана и расстояние подкрановых путей от здания устанавливают при привязке карты в зависимости от объемно-планировочного решения здания и марки крана. Максимальное расстояние от оси движения крана до стены определяется его технической характеристикой, минимальное - условиями безопасности работ в соответствии со СНиП III-4-80. Схема расположения монтажного крана приведена на рис. 1, 2.

2.3. Транспортирование сборных железобетонных экранов ограждений балконов и лоджий производится в вертикальном или слегка наклонном (не более 12° к вертикали) положении полуприцепами-панелевозами, буксируемыми автомобильными тягачами.

Размещают экраны ограждения на панелевозах в соответствии с погрузочными карточками, которые составляют на заводах-изготовителях согласно графику монтажа объектов.

Под тросы, крепящие экраны ограждения, следует подкладывать мягкие прокладки во избежание повреждений кромок и поверхностей.

Металлические ограждения балконов и разделительные стенки лоджий должны доставляться на объекты пакетами в специальной упаковке. Масса пакета не должна превышать 3000 кг. Металлические ограждения и разделительные стенки, уложенные в пакеты, могут транспортироваться любым видом автотранспорта.

При транспортировании ограждений необходимо обеспечивать укладку пакетов с опиранием на деревянные прокладки и подкладки (не менее двух на одно ограждение).

Пакеты с металлическими ограждениями и разделительными стенками должны храниться под навесами или в закрытых неотапливаемых складских помещениях, уложенными на деревянные прокладки и подкладки. Подкладки должны быть уложены на ровное основание через 1000 мм, но не менее двух на одно ограждение.

В процессе транспортирования, разгрузки и хранения должны быть приняты меры, обеспечивающие их защиту от механических повреждений.

Асбестоцементные плоские листы, являющиеся заполнением в металлических ограждениях и разделительных стенках, должны доставляться на объект в пакетах, контейнерах или поддонах предварительно нарезанные и рассортированные по размерам. Пакеты, контейнеры или поддоны с асбестоцементными листами могут транспортироваться любым видом автотранспорта, при этом они должны быть надежно закреплены в кузове автомобиля при помощи инвентарных приспособлений. При разгрузке необходимо соблюдать меры, обеспечивающие сохранность листов от механических повреждений.

Крепление асбестоцементных листов к каркасу разделительных стенок и металлических ограждений производят на специально выделенной площадке приобъектного склада.

Раствор готовят централизованно и доставляют на объект при помощи автотранспортных средств: авторастворовозов, автосамосвалов.

Хранение растворной смеси на строительной площадке может производиться в ящиках-контейнерах, в поворотных бадьях, в бункерах, в узлах и установках приёма, перемешивания и выдачи смесей.

2.4. Монтаж железобетонных экранов ограждения балконов и лоджий производят башенным краном с транспортных средств. Строповку экранов осуществляют траверсой универсальной четырехветвевой за две подъемные петли. Угол наклона строп к вертикали допускается не более 15°.

Металлические ограждения, перила, разделительные стенки лоджий и декоративные решетки на лоджии торцовой части дома подают к месту установки башенным краном. Строповка осуществляется также четырехветвевой универсальной траверсой и двумя кольцевыми стропами. Схема строповки показана на рис. 3.

Монтаж ограждений выполняют по захваткам (за захватку принята одна блок-секция).

Очередность монтажа определяют транспортно-монтажными картами, разработанными в составе проекта производства работ.

В первую очередь монтируют металлические ограждения. Подготовленные ограждения подают краном к месту установки в соответствии с маркировкой, устанавливают в специальные гнезда в плитах балкона и лоджии, выверяют по отвесу, стойки ограждения в гнездах расклинивают, а затем выполняют электроприхватку ограждения к закладным деталям в наружных стеновых панелях с помощью соединительных деталей. После установки и электроприхватки металлического ограждения его расстроповывают и выполняют проектное закрепление электродуговой сваркой. Концы стоек ограждения замоноличивают в гнездах плит балконов и лоджий цементным раствором марки М100.

После установки металлических ограждений производят монтаж сборных железобетонных экранов. Перед установкой экрана выполняют очистку закладных деталей на плитах балкона и лоджии, наносят установочные риски на закладные детали, определяющие проектную глубину опирания экрана ограждения на плиту балкона (лоджии).

Экран подают башенным краном, ориентируют на место установки так, чтобы закладные детали экрана совпали с закладными деталями балкона и лоджии, а также, чтобы опорная грань экрана ограждения совпала с риской, обозначающей проектную глубину его опирания.

Выверку по вертикали производят по отвесу при натянутом стропе. После выверки производят проектное крепление экрана электросваркой к плитам балкона и лоджии и металлическим ограждениям. Закрепленный по проекту экран расстроповывают.

После окончания монтажа экрана ограждения электросваркой срезают подъемные петли, а места среза зачищают. Затем на экране размечают место установки металлических поручней.

Поручни подают башенным краном, устанавливают в проектное положение и электросваркой соединяют с поручнями боковых металлических ограждений, после этого расстроповывают. Затем с помощью электродуговой сварки закрепляют стойки поручней к обрамляющему экран металлическому уголку.

Разделительную стенку в собранном виде устанавливают башенным краном после монтажа экрана ограждения. Установку разделительной стенки производят так же, как установку металлических ограждений.

Металлическую декоративную решетку на лоджии торцевой части дома монтируют после укладки вышележащей плиты лоджии. К месту установки решетку подают монтажным краном, совмещают её стойки с закладными деталями плит лоджий и выполняют проектное крепление электродуговой сваркой.

2.5. Сварка всех соединений должна выполняться в соответствии с указаниями СНиП 3.03.01-87 «Несущие и ограждающие конструкции».

Перед началом сварки необходимо проверить правильность установки конструкций, положение свариваемых деталей и подготовленность стыков к сварке.

Закладные и соединительные детали перед сваркой должны быть очищены до чистого металла в обе стороны от кромок и разделки на 20 мм от ржавчины, жиров, краски, грязи, влаги.

Воду, снег и лёд с поверхности закладных и соединительных деталей удаляют путём нагревания их пламенем газовой горелки до температуры не более 100 °С.

Крепление металлических ограждений к наружным стеновым панелям, крепление железобетонных экранов к плитам балкона и лоджии, соединение элементов ограждения между собой выполняют ручной электродуговой сваркой.

Длина монтажных швов с каждой стороны должна быть не менее 40 мм, а высота h = 6 мм. Марка электрода должна соответствовать проекту.

В качестве временного крепления используется электроприхватка. Прихватки в количестве не менее двух размещают в местах последующего наложения сварных швов. Длина прихватки должна быть 15 - 20 мм, высота (катет) - 5 - 6 мм.

Для временной прихватки конструкций следует применять электроды тех же марок, что и для основной сварки.

Во избежание нарушения сцепления закладных деталей с бетоном сварку рекомендуется производить с перерывами, чтобы нагрев этих деталей продолжался не более 5 мин.

2.6. После окончания работ в пределах одной захватки и приёмки сварных соединений производят замоноличивание цементным раствором марки М100 монтажных стыков плит балконов и лоджий (в местах установки разделительных стенок) и углублений в наружных стеновых панелях (в местах расположения закладных деталей).

2.7. При производстве работ в зимнее время необходимо руководствоваться указаниями СНиП 3.03.01-87 «Несущие и ограждающие конструкции», а также действующими инструкциями, руководствами и специальными указаниями проекта.

Зимние условия работ определяют среднесуточной температурой наружного воздуха ниже 5 °С и минимальной суточной температурой ниже 0 °С (СНиП 3.03.01-87).

Монтажные работы в зимних условиях следует выполнять используя те же инструменты, приспособления и инвентарь, что и в летний период.

Все такелажные и монтажные приспособления должны содержаться в очищенном от наледи состоянии и просушиваться. Муфты и винтовые соединения должны быть смазаны маслом.

Подготовка ограждений к монтажу включает очистку их от снега и наледи. Очистку следует выполнять с помощью скребков или стальных щеток. По окончанию удаления наледи опорную поверхность железобетонного экрана следует просушить струей горячего воздуха.

Не допускается применять для очистки поверхностей пар, горячую воду или раствор поваренной соли.

Ручную электродуговую сварку конструкций при температуре до минус 30 °С следует производить по обычной технологии, но при этом следует повышать сварочный ток на 1 % при понижении температуры воздуха на каждые 3 °С (от 0 °С).

Замоноличивание стыков в зимних условиях может выполняться на растворах с противоморозными добавками, обеспечивающих их твердение на морозе.

В качестве противоморозных добавок, вводимых в растворы и бетоны следует применять нитрит натрия (NaNO2), а также комплексную добавку НКМ (нитрит натрия + мочевина), поташ (K2CO3) и совмещенную добавку поташа и нитрита натрия.

При этом все оцинкованные закладные детали перед замоноличиванием стыков должны защищаться протекторной обмазкой, если в раствор добавлен поташ.

Применение противоморозных добавок нитрита натрия рекомендуется при температуре наружного воздуха до минус 15 °С, НКМ - до минус 20 °С, поташа и смеси нитрита натрия с поташом - до минус 30 °С.

Количество противоморозных добавок в зависимости от температуры наружного воздуха следует назначать в соответствии с «Руководством по монтажу крупнопанельных жилых домов с малым шагом», ЦНИИЭП Жилища, 1980.

При выполнении замоноличивания при температуре ниже минус 20 °С раствор следует применять на одну марку выше проектной.

На строительной площадке обычную растворную смесь необходимо хранить в утепленной таре, расположенной в специально отведенном месте, защищённом от ветра и попадания атмосферных осадков.

Хранение раствора с добавкой нитрита натрия при температуре до минус 15 °С, с поташом - до минус 30 °С допускается в неутепленной таре.

Использование замерзшего и отогретого горячей водой раствора не допускается.

В журнале производства работ должны фиксироваться температура наружного воздуха, количество вводимой в раствор добавки и другие данные, отражающие влияние на процесс твердения растворов и бетонов.

2.9. Варианты рекомендуемых машин, транспортных средств и оборудования для монтажа экранов ограждения приводятся в табл. 1.

Таблица 1

Наименование комплекта машин и оборудования

Вариант (фасет-код)

Техническая характеристика

Марка

Количество

Кран монтажный

 

Кран башенный грузоподъемностью до 10 т

МСК-10-20; КБ-405.1А; КБ-405.2

1

Транспортные средства

 

Полуприцеп-панелевоз грузоподъемностью 12 т

ПП-1207

2

УПП-1207

 

 

Тягач

МАЗ-504А

1

 

 

Полуприцеп-панелевоз грузоподъемностью 9 т

УПП-0907

1

 

 

Тягач

ЗИЛ-130В

1

 

 

Автомобиль с бортовой платформой грузоподъемностью 5 т

ЗИЛ-130

1

Оборудование

 

Трансформатор сварочный потребляемой мощностью 32 кВ∙А

ТД-500

1

3. ТРЕБОВАНИЯ К КАЧЕСТВУ И ПРИЕМКЕ РАБОТ

Производство и приёмку работ по монтажу ограждений балконов и лоджий следует выполнять, соблюдая требования СНиП 3.03.01-87 «Несущие и ограждающие конструкции». Контроль качества монтажа ограждений включает:

входной контроль качества конструкций и используемых материалов;

операционный контроль качества выполняемых работ;

приёмочный контроль выполненных работ.

Входной контроль качества конструкций на строительной площадке производится инженерно-техническими работниками монтирующей организации. Изделия должны иметь паспорт, хорошо видимую маркировку и штамп ОТК завода с датой изготовления.

Проверяется соответствие паспортных данных проектным и осуществляется внешний осмотр и обмер конструкций.

Сборные железобетонные экраны ограждения, поступающие на строительную площадку, должны соответствовать требованиям рабочих чертежей.

Металлические элементы ограждения должны соответствовать требованиям ГОСТ 25772-83. Приёмка предъявленной партии производится по результатам контроля внешнего вида и по обмеру 5 % ограждений, но не менее 5 шт. от партии. При неудовлетворительных результатах контроля следует производить поштучную приёмку всей партии.

Листы асбестоцементные плоские, поступающие на строительную площадку должны соответствовать требованиям ГОСТ 18124-75*. Приёмка партии производится по результатам контроля внешнего вида и обмера 0,3 % мелкоразмерных листов и 0,5 % крупноразмерных листов, но не менее 5 листов от партии. При получении неудовлетворительных результатов контроля отбирают удвоенное количество листов из той же партии.

Технические критерии и средства контроля операций и процессов приводятся в табл. 2.

Приёмочный контроль смонтированных элементов ограждения производят в процессе поэтажной приёмки смонтированных конструкций на захватке. При приёмке работ предъявляют журналы монтажных и сварочных работ, замоноличивания стыков, документы лабораторных анализов и испытаний при сварке и замоноличивании стыков, акты освидетельствования скрытых работ.

Таблица 2

Наименование процессов, подлежащих контролю

Предмет контроля

Инструмент и способ контроля

Периодичность контроля

Ответственный контролёр

Технические критерии

Подготовительные предмонтажные работы

Соответствие геометрических размеров проектным, наличие внешних дефектов, внешний вид

 

 

 

 

 

а) экранов ограждения (ГОСТ 12504-80* применит.)

Рулетка металлическая, визуально

До начала монтажа

Мастер

Допускаемые отклонения размеров, мм: по длине ±10; по высоте ±6; по толщине ±3; расположение закладных деталей ±5.

 

б) металлических ограждений (ГОСТ 25772-83)

Рулетка металлическая, визуально

До начала монтажа

Мастер

Предельные отклонения размеров, мм: по длине ±2; по высоте ±2; перпендикулярность ограждения 4. Ограждения должны быть защищены от коррозии в соответствии со СНиП II-28-73

 

в) асбестоцементных листов (ГОСТ 18124-75*)

Рулетка металлическая, визуально

До начала монтажа

Мастер

Допускаемые отклонения от номинальных размеров листов, мм: по длине ±10; по ширине ±6; по толщине листов +1,0; -0,6

Установка ограждений

Точность установки экранов ограждения

Рулетка металлическая, метр складной стальной, отвес

В процессе монтажа

Мастер

Отклонение от совмещения опорных граней в нижнем сечении установленных элементов с установочными рисками 10 мм. Отклонение от вертикали верха плоскости ограждений 12 мм. Глубина опирания экрана - не менее 105 мм.

 

Качество установки металлических ограждений

Визуально

В процессе монтажа

Мастер

Крепление стоек ограждения к плитам балкона, лоджии и наружным стеновым панелям должны быть выполнены по проекту

 

Качество установки поручней

Визуально

В процессе монтажа

«

Уступы между кромками (торцами) элементов поручней должны быть сглажены и отшлифованы

Сварочные работы

Качество подготовки арматуры, конструкций и закладных деталей к сварке

Штангенциркуль, линейка металлическая, визуально

До начала сварки

«

Отсутствие дефектов закладных и соединительных деталей. Очистка свариваемых элементов конструкций до чистого металла в обе стороны от кромок 20 мм

 

Контроль сварных соединений в процессе их выполнения

Линейка металлическая, лупа с 5-кратным увеличением, визуально

Два раза в смену, не менее 3-х сварных соединений

«

Приёмка по ГОСТ 10922-75: линейные размеры должны соответствовать проектным; отсутствие наружных дефектов наплавленного металла. Допускаемые подрезы основного металла 0,5 мм

Замоноличивание концов металлических решеток в плитах балкона и лоджии и углублений в наружных стеновых панелях

Соответствие проекту применяемого раствора

Лабораторные испытания

Перед замоноличиванием

Мастер, лаборант

Раствор марки М100, подвижность 5 - 7 см погружения стандартного конуса

Приемосдаточные работы

Крепления ограждений к плитам и между собой должны быть выполнены по проекту

Визуально

После выполнения работ

Прораб, заказчик

Акты освидетельствования скрытых работ. Технический осмотр


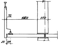
Технологическая схема выполнения строительного процесса

1 - башенный кран КБ-405.1А; 2 - подкрановый путь; 3 - ограждение подкранового пути; 4 - контур заземления; 5 - контрольный груз; 6 - полуприцеп-панелевоз; 7 - тягач; 8 - прожекторы; 9 - временная автодорога; 10 - площадка разгрузки автотранспорта; 11 - площадка для приема раствора и бетона; 12 - временная открытая площадка складирования; 13 - граница зоны работы крана

Рис. 1


Вид по 1-1

Рис. 2

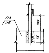
Схема строповки ограждений

а) железобетонных

б) металлических

1 - монтируемое ограждение; 2 - траверса универсальная; 3 - строп кольцевой

Рис. 3

Схема установки ограждений

а) железобетонных

б) металлических

Рис. 4


4. КАЛЬКУЛЯЦИЯ ЗАТРАТ ТРУДА, МАШИННОГО ВРЕМЕНИ, ЗАРАБОТНОЙ ПЛАТЫ НА МОНТАЖ ОГРАЖДЕНИЙ БАЛКОНОВ И ЛОДЖИЙ ТИПОВОГО ЭТАЖА

Таблица 3

Наименование процесса

Номер фасета для пересчета показателей

Единица измерения

Объем работ

Обоснование (ЕНиР и др. нормы)

Норма времени

Расценка, р.-к.

Затраты труда

Заработная плата, р.-к.

Время пребывания машины на объекте, маш.-ч

Заработная плата машиниста с учётом пребывания машиниста на объекте

рабочих, чел.-ч

машиниста, чел.-ч

рабочих, чел. - ч

машиниста, чел.-ч

рабочих, чел.-ч

машиниста, чел.-ч (маш.-ч)

рабочих

машиниста

1. Разгрузка с автотранспорта приспособлений, инвентаря, инструментов, материалов, металлических конструкций на приобъектный склад

-

100 т

0,022

ЕНиР § Е 1-7 № 28 а, б

к = 0,8 (ПР-2)

13

6,4

8-32

5-82

0,23

0,11

0-15

0-10

0,11

0-10

2. Приём раствора в ёмкости из кузова автосамосвала с очисткой кузова

-

100 м3

0,0004

ЕНиР § Е 4-1-54 № 19

8,2

-

5-25

-

0,01

-

0-01

-

-

-

3. Устройство заполнений разделительных стенок и металлических ограждений их асбестоцементных листов

-

1 м2 экрана

16,7

ЕНиР § 6-1-23*)

Кн. вр. = 0,93

Красц. = 1,23

0,33

-

0-17,3

-

5,12

-

3-55

-

-

-

4. Установка металлических ограждений и разделительных стенок с креплением электроприхваткой

-

1 т

0,738

ЕНиР § Е5-1-10 табл. 2 № 1а + б, в

17,5

3,9

13-11

4-13

12,92

2,88

9-68

3-05

2,88

3-05

5. Установка железобетонных экранов ограждений на высоте до 15 м

01,02

1 элемент

10

ЕНиР § 4-1-12 табл. 2 № 6 а, б

0,63

0,21

0-44,7

0-22,3

6,3

2,1

4-47

2-23

2,1

2-23

6. Срезка монтажных петель

-

10 перерезов

4

ЕНиР § Е 22-1-40 № 1а (применит.)

0,08

-

0-05,6

-

0,32

-

0-22,4

-

-

-

7. Установка металлических перил на железобетонные ограждения балконов и лоджий с креплением электроприхваткой

-

1 т

0,272

ЕНиР § Е 5-1-18 табл. 2 № 1а, 2а, 3а

13,6

5,8

10-23

6-15

3,70

1,58

2-78

1-67

1,58

1-67

8. Электродуговая сварка монтажных стыков при высоте накладываемого шва 6 мм, длине до 0,1 м электродом ЛНО-6

05, 06, 07

10 м шва

1,356

ЕНиР § Е

22-1-6 № 1г, 4г

К1 = 1,5 (ВЧ-4)

К2 = 1,25 (ВЧ-6)

К3 = 0,9 (ВЧ-4) Общ. ч. п. 5

Красц. = 1,12

2,50

-

2-28

-

5,72

-

5-84

-

-

-

9. Подача раствора к месту укладки башенным кланом в ящиках вместимостью 0,25м3 на высоту до 12 м

03, 04

1 м3

0,04

ЕНиР § Е 1-7 № 9 а, б

0,54

0,27

0-34,6

0-24,6

0,02

0,01

0-01

0-01

0,01

0-01

10. Замоноличивание концов стоек ограждений в гнездах балконов и лоджий

 

100 отверстий

0,24

ТниР**) § Т-8-7 (применит.)

3,0

-

2-10

-

0,72

-

0-50

-

-

-

11. Замоноличивание углублений в наружных стеновых панелей (в местах расположения закладных деталей)

 

1 м2 поверхности

0,20

ЕНиР § Е 8-1-5 № 4а

0,3

-

0-21

-

0,06

-

0-04

-

-

-

12. 3амоноличивание цементным раствором шва между плитами балкона и лоджии (в местах установки разделительных стенок)

 

100 м шва

0,064

ЕНиР § Е 4-1-26 ПР-1

4,3

-

3-40

-

0,26

-

0-22

-

-

-

13. Погрузка на автотранспорт инвентаря и приспособлений

 

100 т

0,01

ЕниР § Е 1-7 № 28 а, б

К = 0,8 (ПР-2)

13

6,4

8-32

5-82

0,10

0,05

0-07

0-05

0,05

0-05

Итого:

35,41

6,73

27 - 53

7 - 11

6,73

7-11

*) Норма времени и расценка пересчитана с учетом «Временных поправочных коэффициентов к действующим единым нормам и расценкам на строительные, монтажные и ремонтно-строительные работы», утвержденных постановлением Госстроя СССР, Госкомтруда СССР и Секретариата ВЦСПС от 10 ноября 1986 г. № 24/474/26-101.

**) Расценка пересчитана в соответствии с новыми тарифными ставками (Постановление ЦК КПСС, СМ СССР и ВЦСПС № 1115 от 07.09.86 г.).


5. ГРАФИК ПРОИЗВОДСТВА РАБОТ НА МОНТАЖ ОГРАЖДЕНИЙ БАЛКОНОВ И ЛОДЖИЙ ТИПОВОГО ЭТАЖА

Таблица 4


6. МАТЕРИАЛЬНО-ТЕХНИЧЕСКИЕ РЕСУРСЫ

Потребность в инструменте, инвентаре и приспособлениях приведена в табл. 5

Таблица 5

Наименование

Марка, техническая характеристика, ГОСТ, № чертежа

Количество

Назначение

Траверса универсальная (четырехветвевая самобалансирная)

3408.05.000 ЦНИИОМТП Госстроя СССР

1

Подъём и монтаж элементов ограждения

Строп кольцевой

СКК1-1, 0/800 ГОСТ 25573-82

2

Строповка элементов ограждения

Стяжка

СтП-4,1И 630.3.00.000 ЦНИИОМТП Госстроя СССР

2

Формирование транспортного пакета плоских асбестоцементных листов

Кассета

КсП-1Г 3495.11.000 ЦНИИОМТП Госстроя СССР

2

Перевозка и временное хранение металлических ограждений балконов и лоджий

Ящик для раствора стальной

3241.42.000 ЦНИИОМТП Госстроя СССР

1

Хранение раствора

Контейнер для раствора

3293.15.000 ЦНИИОМТП Госстроя СССР

1

Хранение раствора в зимнее время

Контейнер

3495.08.000 ЦНИИОМТП Госстроя СССР

1

Хранение, транспортирование накладных деталей, анкеров и других изделий

Осветительное устройство

СМ-188 Киевское КБ Главтяжстроймеханизации Минстроя УССР

2

Освещение стройплощадки

Лом стальной строительный

ЛМ ГОСТ 1405-83

2

Рихтовка элементов

Лопата подборочная

ЛП ГОСТ 19596-87

1

Подача раствора

Лопата растворная

ЛР ГОСТ 19596-87

1

Тоже

Кельма

КБ ГОСТ 9533-81

2

Подача и разравнивание раствора

Щётка из стальной проволоки

ОСТ 17-830-80

1

Зачистка сварных швов

Зубило слесарное

ГОСТ 7211-86*Е

2

Очистка закладных деталей от бетона и сварных швов от шлака

Молоток слесарный стальной

ГОСТ 2310-77*Е

2

Очистка мест сварки

Ведро оцинкованное

ГОСТ 20558-82*Е

2

Хранение воды или раствора на рабочем месте

Электрододержатель

ГОСТ 14651-78*Е

1

Сварка закладных деталей

Пенал для электродов

3294.71 ЦНИИОМТП Госстроя СССР

2

Хранение и транспортирование электродов

Рулетка измерительная металлическая

ЗПКЗ-20АУТ/1 ГОСТ 7502-80*

1

Измерение элементов и разбивка осей

Метр складной стальной

ТУ 2-17-303-84

1

Измерение элементов

Рейка-отвес

3295.03 ЦНИИОМТП Госстроя СССР

1

Тоже

Отвес

ОТ 400 ГОСТ 7948-80

1

Выверка вертикальности

Каска строительная

ГОСТ 12.4.087-84

4

Защита головы

Пояс предохранительный

ГОСТ 12.4.089-80

4

Защита от падения с высоты

Фаловое страховочное устройство

Трест Мосоргстрой

1

Тоже

Щиток защитный для электросварщика

ГОСТ 12.4.035-78*

1

Защита лица сварщика при сварочных работах

Перчатки резиновые технические

ГОСТ 20010-74*

1 пара

Защита от поражения эл. током

Перчатки (рукавицы) специальные

ГОСТ 12.4.010-75*

4 пара

Защита рук от травмирования

Будка монтажников (блок-комплект)

3295.07.000 ЦНИИОМТП Госстроя СССР

1

Помещение для обогрева в зимнее время и хранение инструментов

Потребность в материалах и полуфабрикатах для выполнения работ по монтажу элементов ограждения балконов и лоджий типового этажа приводится в табл. 6

Таблица 6

Наименование материала, полуфабриката, конструкции (марка, ГОСТ)

Вариант (фасет-код)

Исходные данные

Потребность в материале

Единица измерения

Объем работ в нормативных единицах

Принятая норма расхода материалов

Экраны ограждения железобетонные

 

 

 

 

 

ЭБ1

 

шт.

-

-

6

ЭБ2

 

шт.

-

-

2

ЭБ3

 

шт.

-

-

2

Металлические ограждения балконов и лоджий (ГОСТ 25772-83)

 

шт.

т

-

-

16

0,424

Разделительные стенки лоджий

 

шт.

т

-

-

8

0,257

Металлические поручни

 

шт.

т

-

-

10

0,272

Изделия монтажные

 

т

-

-

0,056

Листы асбестоцементные гладкие (ГОСТ 18124-75*)

 

м2

кг

-

-

16,7

233

Раствор цементный (ГОСТ 28013-89)

 

м3

-

-

0,04

Электроды Э-42 (ГОСТ 9467-75)

 

1 м шва

13,56

0,7 кг

9,5 кг

7. ТЕХНИКА БЕЗОПАСНОСТИ

Работы по монтажу и установке элементов ограждения балконов и лоджий выполняют с соблюдением требований СНиП III-4-80 «Техника безопасности в строительстве» и «Правил устройства и безопасной эксплуатации грузоподъемных кранов», утвержденными Госгортехнадзором СССР.

Все работающие на строительной площадке должны быть обеспечены средствами индивидуальной защиты, спецодеждой и спецобувью.

Все грузоподъемные механизмы и такелажные приспособления, применяемые на строительно-монтажных работах, перед эксплуатацией должны быть проверены и испытаны согласно правилам Госгортехнадзора.

Монтировать элементы ограждения балконов и лоджий следует в технологической последовательности, предусмотренной картой.

При этом необходимо соблюдать следующие правила монтажа:

перед подъемом элементов ограждения проверять надежность строповки, качество изделий, изделия с дефектами не монтировать;

не допускать подъема краном деталей, прижатых другими элементами или примерзших к земле;

перемещать элементы и конструкции в горизонтальном направлении на высоте не менее 0,5 м и на расстоянии не менее 1 м от других конструкций;

не переносить конструкции краном над рабочим местом, а также над захваткой, где ведутся строительные работы;

подводить элементы краном с наружной стороны здания;

принимать подаваемый элемент только тогда, когда он находится в 0,2 - 0,3 м от места установки. Принимая элемент, монтажники не должны находиться между ним и краем перекрытия или другой конструкции.

Устанавливать элементы рекомендуется без толчков, не допуская ударов по другим конструкциям.

Снимать стропы с установленных на место конструкций следует только после их проектного закрепления.

Не допускается выполнять монтажные работы на высоте в открытых местах при скорости ветра 15 м/с и более, при гололедице, грозе или тумане, исключающем видимость в пределах фронта работ. Начиная со второго этажа должны быть установлены инвентарные переносные ограждения по контуру плит балконов и лоджий. Перед началом монтажа постоянных ограждений балконов и лоджий временные ограждения на данном рабочем месте убирают.

Вначале устанавливают металлические ограждения балконов и лоджий, затем - сборные железобетонные экраны.

Монтажники, находящиеся на плите балкона или лоджии, обязаны прикрепиться карабином предохранительного пояса к специально натянутому тросу или к надежно закрепленным частям здания по указанию мастера пли прораба. Предохранительные пояса должны иметь специальные амортизирующие устройства типа ЦВУ-2, смягчающие силу рывка и снижающие скорость падения до нуля.

При производстве работ в зимнее время в первую очередь должны быть очищены ото льда плиты балконов и лоджий, на которых работают монтажники, рабочее место должно быть посыпано песком.

Не разрешается работать и находиться в нижних этажах здания на тех захватах, где монтируются конструкции на вышележащих этажах, а также в зоне перемещения кранами элементов. Зоны ведения работ должны быть ограждены.

При электросварочных работах необходимо выполнять требования СНиП III-4-80, «Стандартные правила при сварке, наплавке и резке металлов», утвержденные Минздравом СССР, а такие «Правила пожарной безопасности при производстве строительно-монтажных работ» ГУПО МВД СССР.

Монтажник-электросварщик, выполняющий работы по сварке узлов для закрепления ограждений, должен пройти аттестацию в соответствии с «Правилами аттестации сварщиков», утверждёнными Госгортехнадзором СССР и иметь удостоверение электросварщика.

Рабочие места сварщиков следует отделить от смежных рабочих мест несгораемыми экранами (ширмами, щитами) высотой не менее 1,8 м.

Запрещается производить электросварочные работы в незащищённых местах во время дождя, грозы или сильного снегопада, а также на высоте при скорости ветра 15 м/с и более.

Запрещается в радиусе 10 м от места проведения электросварочных работ размещать легковозгораемые материалы.

8. ТЕХНИКО-ЭКОНОМИЧЕСКИЕ ПОКАЗАТЕЛИ НА ТИПОВОЙ ЭТАЖ

Нормативные затраты труда рабочих, чел.-ч                                         35,41

Нормативные затраты машинного времени, маш.-ч                             6,73

Заработная плата рабочих-монтажников, р.-к.                                      27-53

Заработная плата механизаторов, р.-к.                                                   7-11

Продолжительность выполнения работ, смен                                       1,10

Выработка на одного рабочего в смену, элементов                               2,31

Условные затраты на механизацию, р.-к.                                               30-89

Сумма изменяемых затрат, р.-к.                                                               58-12

9. ФАСЕТНЫЙ КЛАССИФИКАТОР ФАКТОРОВ

ФАСЕТ 01

Высота планировочных отметок

Наименование фактора

Обоснование

Код

Значение фактора

Высота м, до:

 

 

 

15

ЕНиР сб. 4, вып. 1 Вводная часть п. 3

1

По калькуляции

20

То же

2

Н. вр. и расценки умножить на: 1,05

30

-"-

3

То же                        1,10

40

-"-

4

-"-                           1,20

ФАСЕТ 02

Конструктивные элементы

Наименование фактора

Обоснование

Код

Значение фактора

Масса элементов, т, до

 

 

 

1,2

§ Е 4-1-12 табл. 2 № 6 а, б

1

По калькуляции

0,1

То же № 4 а, б

 

Н. вр. и расценки делить на: 1,5

0,2

№ 5 а, б

 

1,3125

ФАСЕТ 03

Подача раствора к месту работы (высота подъема до 12 м) башенным краном

Наименование фактора

Обоснование

Код

Значение фактора

В ящики вместимостью м3, до

 

 

 

0,25

§ Е 1-7 № 9 а, б

1

По калькуляции

0,5

То же № 11 а, б

2

Н. вр. и расценки делить на 1,8

ФАСЕТ 04

Высота подъема раствора к месту работы башенным краном

Наименование фактора

Обоснование

Код

Значение фактора

12 м

§ Е 1-7 № 9 а, б

1

По калькуляции

18 м

То же   № 9 в, г

2

Н. вр. и расценки умножить на: 1,2037

24 м

"        № 9-2 в, г

 

То же                                                  1,4074

30 м

"        № 9-3 в, г

 

"                                                      1,6111

36 м

"        № 9-4 в, г

 

"                                                      1 ,7777

ФАСЕТ 05

Длина сварного короткометрового шва

Наименование фактора

Обоснование

Код

Значение фактора

0,10 м

ЕНиР сб. 22, вып. 1

1

До калькуляции

Вводная часть, табл. 2, п. 16 (ВЧ-6)

0,05 м

То же (ВЧ-5)

2

Н. вр. и расценки умножить на: 1,3

ФАСЕТ 06

Марки электродов (тип Э 42, Э 42А, Э 46, Э 46А)

Наименование фактора

Обоснование

Код

Значение фактора

АНО-6

ЕНиР сб. 2

1

По калькуляции

Техническая часть, табл. 1 (ТЧ-4)

АНО-5

То же                                        (ТЧ-1)

2

Н. вр. и расценки умножить на: 0,70

АНО-4

"                                             (ТЧ-5)

3

0,95

УОНИ-13/55К

"                                             (ТЧ-7)

4

1,15

МР-3

"                                             (ТЧ-8)

5

1,20

ОЭС-12

"                                             (ТЧ-9)

6

1,25

УОНИ-13/45

"                                             (ТЧ-11)

7

1,40

ФАСЕТ 07

Катет при нижнем положении шва, мм до (электросварщик 5 разряда)

Наименование фактора

Обоснование

Код

Значение фактора

6

§ Е 22-1-6 табл. 1 № 1 г и № 4 г

1

По калькуляции

8

То же                       № 1 д и № 4 д

2

Н. вр. и расценки умножить на 1,08

СОДЕРЖАНИЕ

1. Область применения. 1

2. Организация и технология выполнения работ. 1

3. Требования к качеству и приемке работ. 4

4. Калькуляция затрат труда, машинного времени, заработной платы на монтаж ограждений балконов и лоджий типового этажа. 10

5. График производства работ на монтаж ограждений балконов и лоджий типового этажа. 12

6. Материально-технические ресурсы.. 13

7. Техника безопасности. 14

8. Технико-экономические показатели на типовой этаж.. 15

9. Фасетный классификатор факторов. 15

 

 




ГОСТЫ, СТРОИТЕЛЬНЫЕ и ТЕХНИЧЕСКИЕ НОРМАТИВЫ.
Некоммерческая онлайн система, содержащая все Российские Госты, национальные Стандарты и нормативы.
В Системе содержится более 150000 файлов нормативно-технической документации, действующей на территории РФ.
Система предназначена для широкого круга инженерно-технических специалистов.

Рейтинг@Mail.ru Яндекс цитирования

Copyright © www.gostrf.com, 2008 - 2026