Крупнейшая бесплатная информационно-справочная система онлайн доступа к полному собранию технических нормативно-правовых актов РФ. Огромная база технических нормативов (более 150 тысяч документов) и полное собрание национальных стандартов, аутентичное официальной базе Госстандарта. GOSTRF.com - это более 1 Терабайта бесплатной технической информации для всех пользователей интернета. Все электронные копии представленных здесь документов могут распространяться без каких-либо ограничений. Поощряется распространение информации с этого сайта на любых других ресурсах. Каждый человек имеет право на неограниченный доступ к этим документам! Каждый человек имеет право на знание требований, изложенных в данных нормативно-правовых актах!

  


 

ФЕДЕРАЛЬНОЕ АГЕНТСТВО
ПО ТЕХНИЧЕСКОМУ РЕГУЛИРОВАНИЮ И МЕТРОЛОГИИ

НАЦИОНАЛЬНЫЙ
СТАНДАРТ
РОССИЙСКОЙ
ФЕДЕРАЦИИ

ГОСТ Р
52299-
2004

ОБОРУДОВАНИЕ ДЕТСКИХ ИГРОВЫХ ПЛОЩАДОК

БЕЗОПАСНОСТЬ КОНСТРУКЦИИ И
МЕТОДЫ ИСПЫТАНИЙ КАЧАЛОК

ОБЩИЕ ТРЕБОВАНИЯ

Москва

Стандартинформ

2005

Предисловие

Задачи, основные принципы и правила проведения работ по государственной стандартизации в Российской Федерации установлены ГОСТ Р 1.0-92 «Государственная система стандартизации Российской Федерации. Основные положения» и ГОСТ Р 1.2-92 «Государственная система стандартизации Российской Федерации. Порядок разработки государственных стандартов»

Сведения о стандарте

1 РАЗРАБОТАН Федеральным государственным унитарным предприятием Всероссийский научно-исследовательский институт стандартизации и сертификации в машиностроении («ВНИИНМАШ»)

2 ВНЕСЕН Техническим комитетом по стандартизации ТК 455 «Оборудование детских игровых площадок»

3 УТВЕРЖДЕН И ВВЕДЕН В ДЕЙСТВИЕ Приказом Федерального агентства по техническому регулированию и метрологии от 30 декабря 2004 г. № 149-ст

4 В настоящем стандарте учтены основные нормативные положения европейского стандарта ЕН 1176-6:1998 «Оборудование детских игровых площадок. Часть 6. Дополнительные требования безопасности и методы испытаний качалок» (EN 1176-6:1998 «Playground equipment - Part 6: Additional specific safety requirements and test methods for rocking equipment», NEQ)

5 ВВЕДЕН ВПЕРВЫЕ

Информация об изменениях к настоящему стандарту публикуется в указателе «Национальные стандарты», а текст этих изменений - в информационных указателях «Национальные стандарты». В случае пересмотра или отмены настоящего стандарта соответствующая информация будет опубликована в информационном указателе «Национальные стандарты»

СОДЕРЖАНИЕ

1 Область применения

2 Нормативные ссылки

3 Термины и определения

4 Классификация

5 Требования безопасности

6 Дополнительные требования

7 Методы испытаний

8 Обозначение и маркировка

Приложение А (обязательное) Определение наклона посадочного места и расстояния от нижней точки подвижного элемента конструкции до поверхности игровой площадки

Приложение Б (обязательное) Определение возможности защемления или сдавливания частей тела ребенка

Приложение В (обязательное) Оценка устойчивости при горизонтальном нагружении

ГОСТ Р 52299-2004

НАЦИОНАЛЬНЫЙ СТАНДАРТ РОССИЙСКОЙ ФЕДЕРАЦИИ

ОБОРУДОВАНИЕ ДЕТСКИХ ИГРОВЫХ ПЛОЩАДОК

Безопасность конструкции и методы испытаний качалок

Общие требования

Children’s playground equipment.
Rocking equipment safety of structure and test methods.
General requirements

Дата введения - 2005-07-01

1 Область применения

Настоящий стандарт распространяется на качалки, предназначенные для стационарной установки на детских игровых площадках. Стандарт устанавливает общие требования к безопасности конструкции и методам испытаний качалок всех типов.

Настоящий стандарт не распространяется на качалки, изготовленные до 1 июля 2005 г.

Настоящий стандарт должен применяться совместно с ГОСТ Р 52167 и ГОСТ Р 52169.

2 Нормативные ссылки

В настоящем стандарте использованы ссылки на следующие стандарты:

ГОСТ ИСО/ТО 12100-1-2001 Безопасность оборудования. Основные понятия, общие принципы конструирования. Часть 1. Основные термины, методика

ГОСТ ИСО/ТО 12100-2-2002 Безопасность оборудования. Основные понятия, общие принципы конструирования. Часть 2. Технические правила и технические требования

ГОСТ Р ИСО/МЭК 50-2002 Безопасность детей и стандарты

ГОСТ Р ИСО/МЭК 17025-2000 Общие требования к компетентности испытательных и калибровочных лабораторий

ГОСТ Р 52167-2003 Оборудование детских игровых площадок. Безопасность конструкции и методы испытаний качелей. Общие требования

ГОСТ Р 52169-2003 Детские игровые площадки. Оборудование игровой площадки. Общие требования безопасности и методы испытаний

Примечание - При пользовании настоящим стандартом целесообразно проверить действие ссылочных стандартов по указателю «Национальные стандарты», составленному по состоянию на 1 января текущего года, и по соответствующим информационным указателям, опубликованным в текущем году. Если ссылочный стандарт заменен (изменен), то при пользовании настоящим стандартом следует руководствоваться замененным (измененным) стандартом. Если ссылочный стандарт отменен без замены, то положение, в котором дана ссылка на него, применяется в части, не затрагивающей эту ссылку.

3 Термины и определения

В настоящем стандарте применяют термины по ГОСТ Р 52167, ГОСТ Р 52169, а также следующие термины с соответствующими определениями:

3.1 качалка: Оборудование детской игровой площадки, приводимое в движение ребенком (детьми), на котором осуществляется колебательное движение в различных плоскостях.

3.2 демпфирование: Свойство оборудования снижать скорость движения и уменьшать удары и толчки в крайних положениях качалки за счет рассеивания или поглощения кинетической энергии.

3.3 посадочное место: Сиденье или платформа и/или поручни на качалке, которые позволяют ребенку сидеть, стоять, держаться и приводить в движение качалку.

3.4 диапазон движения: Максимальное горизонтальное и/или вертикальное отклонения посадочного места качалки от положения равновесия в процессе качания.

3.5 корпус: Основной элемент конструкции, на котором размещают посадочные места и который крепится к качающейся опоре.

3.6 качающаяся опора (опора): Элемент конструкции, обеспечивающий колебательные движения и крепящийся к корпусу и основанию качалки.

3.7 основание: Элемент конструкции, обеспечивающий установку и фиксацию качалки на поверхности детской игровой площадки.

4 Классификация

Качалки подразделяют на:

- тип 1 - качалка-балансир.

Качалка, обеспечивающая при качании движение детей только в одной вертикальной плоскости (см. рисунок 1);

Рисунок 1

- тип 2 - качалка с одной опорой:

а - качалка с одной опорой, обеспечивающая при качании движение ребенка (детей) преимущественно в одной плоскости (см. рисунок 2);

Рисунок 2

б - качалка с одной опорой, обеспечивающая при качании движение ребенка (детей) в нескольких плоскостях (см. рисунок 3);

Рисунок 3

В качестве опоры качалок типа 2 применяют спирали, пружины, торсионы и упругие блоки;

- тип 3 - качалка с несколькими опорами:

а - качалка с несколькими опорами, обеспечивающая при качании движение ребенка (детей) преимущественно в одной плоскости (см. рисунок 4);

Рисунок 4

б - качалка с несколькими опорами, обеспечивающая при качании движение ребенка (детей) в нескольких плоскостях (см. рисунок 5);

Рисунок 5

- тип 4 - шатунная качалка.

Качалка с несколькими параллельными осями, обеспечивающая при качании движение ребенка (детей) вперед - назад (см. рисунок 6).

Рисунок 6

5 Требования безопасности

5.1 Конструкция качалок должна соответствовать требованиям безопасности и/или мерам защиты по ГОСТ ИСО/ТО 12100-1, ГОСТ ИСО/ТО 12100-2, ГОСТ Р ИСО/МЭК 50, ГОСТ Р 52169 и в соответствии с требованиями раздела 5 настоящего стандарта.

5.2 Пользование качалками может включать риски согласно ГОСТ Р 52169 (пункт 4.1).

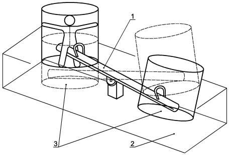
5.3 Элементы конструкции и основные размеры представлены на рисунке 7.

1 - рукоятка; 2 - корпус; 3 - опора для ног; 4 - поручень; 5 - сиденье; 6 - опора; 7 - основание

Рисунок 7

5.4 Требования безопасности для качалок представлены в таблице 1.

Таблица 1 - Требования безопасности для качалок

Размеры в миллиметрах

Тип качалки

Максимальная высота свободного падения

Максимальный угол наклона посадочного места

Максимальная высота сиденья в состоянии равновесия

Наличие подножек

1

1500

20°

1000

Необязательно

1000

30°

550

Обязательно

1000

30°

780

Необязательно

1000

30°

550

Обязательно

1000

30°

780

Необязательно

4

1500

20°

1000

Обязательно

5.5 Для предупреждения резких толчков, остановок или неожиданного реверсирования направления движения в крайних положениях в конструкции качалок предусматривают демпфирование.

5.5.1 Демпфирование может быть постоянным или переменным в зависимости от нагрузки и скорости перемещения качалки.

5.6 Подножки качалок, при их наличии, должны быть прочно закреплены и исключать возможность вращения и демонтажа без применения инструмента.

5.7 Каждое посадочное место качалки оборудуют поручнями.

5.7.1 Поручни должны быть прочно закреплены и исключать возможность вращения и демонтажа без применения инструмента.

5.8 Поперечный размер поручней, перекладин и рукояток в любом направлении - не менее 16 и не более 45 мм.

Для оборудования, доступного детям младше трех лет, размеры сечений поручней, перекладин и рукояток в любом направлении - не более 30 мм.

5.9 Радиусы закругления всех углов, кромок и других изменений профиля качалки должны быть не менее 20 мм (см. рисунок 8).

R - радиус закругления

Рисунок 8

5.10 Конструкция качалки должна исключать застревание частей тела ребенка. Для предотвращения застревания расстояние между нижней точкой подвижного элемента качалки и поверхностью игровой площадки должно быть не менее 230 мм или применено демпфирование.

5.11 Зоны качалки

5.11.1 Зоны качалки представлены на рисунке 9.

1 - качалка; 2 - зона приземления качалки; 3 - зона безопасности

Рисунок 9

5.11.2 Ширина зоны приземления по периметру качалки - не менее 1000 мм.

6 Дополнительные требования

6.1 Для качалки типа 1 применяется демпфирование.

6.2 Диапазон движения качалки типа 4 - не более 600 мм.

7 Методы испытаний

Для оценки безопасности конструкции качалок применяют методы испытаний по ГОСТ Р 52169, а также следующие методы испытаний:

7.1 Испытания по определению угла наклона посадочного места и расстояния от нижней точки подвижного элемента качалки до поверхности игровой площадки - в соответствии с приложением А.

7.2 Испытания возможности защемления или сдавливания частей тела ребенка - в соответствии с приложением Б.

7.2.1 Деформация опоры при испытаниях не должна превышать 5 %.

7.3 Испытания устойчивости при горизонтальном нагружении - в соответствии с приложением В.

7.3.1 При испытаниях качалки типа 1 максимально допустимое отклонение корпуса L от продольной оси на расстоянии 2000 мм от центральной оси качалки (см. рисунок В.1) - не более 140 мм.

7.3.2 При испытаниях качалки типа 3а к посадочным местам прикладывают вертикальную нагрузку, эквивалентную числу детей в соответствии с ГОСТ Р 52169 (таблица А.2).

Максимально допустимый угол отклонения корпуса относительно продольной оси качалки (см. рисунок В.2) - не более 5°.

7.4 По результатам испытаний оформляют отчет в соответствии с ГОСТ Р ИСО/МЭК 17025.

8 Обозначение и маркировка

Обозначение и маркировка качалок - по ГОСТ Р 52169.

Приложение А
(обязательное)

Определение наклона посадочного места и расстояния от нижней точки подвижного элемента конструкции до поверхности игровой площадки

А.1 Сущность метода

При испытаниях к посадочному месту качалки в крайнем положении прикладывают нагрузку и измеряют угол наклона посадочного места и расстояние от нижней точки подвижного элемента конструкции до поверхности игровой площадки.

А.2 Процедура

Перемещают качалку в одно из крайних положений и прикладывают к посадочному месту нагрузку, эквивалентную числу детей в соответствии с ГОСТ Р 52169 (таблица А.2).

Измеряют и регистрируют угол наклона посадочного места и расстояние от нижней точки подвижного элемента конструкции до поверхности игровой площадки.

Испытание повторяют для другого крайнего положения качалки.

Оценку результатов испытаний проводят по таблице 1 и 5.10 настоящего стандарта.

Приложение Б
(обязательное)

Определение возможности защемления или сдавливания частей тела ребенка

Б.1 Сущность метода

При испытаниях к опоре качалки прикладывают вертикальную нагрузку и измеряют значение деформации опоры. Качалку перемещают в крайние положения и проверяют возможность поместить между опорой и соседними элементами качалки щуп.

Б.2 Аппаратура

Б.2.1 Устройство нагружения

Устройство нагружения должно обеспечивать вертикальную нагрузку (695 ±5) Н на опоры качалки в центре ее осевой линии.

Б.2.2 Измерительное устройство

Измерительное устройство должно обеспечивать измерение деформации опоры.

Б.2.3 Щуп

В качестве щупа используют стержень диаметром (12 ±0,1) мм.

Б.3 Процедура

Б.3.1 К опоре качалки в центре ее осевой линии прикладывают вертикальную нагрузку (695 ±5) Н, измеряют деформацию опоры и регистрируют значение деформации опоры, превышающее 5 %.

Б.3.2 Перемещают качалку в одно из крайних положений и проверяют, можно ли поместить щуп между опорой и соседними элементами качалки.

Испытание повторяют для другого крайнего положения качалки.

Приложение В
(обязательное)

Оценка устойчивости при горизонтальном нагружении

В.1 Сущность метода

При испытаниях к центру посадочного места качалки прикладывают горизонтальную нагрузку, измеряют и регистрируют отклонение корпуса качалки относительно продольной оси.

В.2 Аппаратура

В.2.1 Устройство нагружения

Устройство нагружения должно обеспечивать горизонтальную нагрузку (695 ±5) Н в центре посадочного места качалки.

В.2.2 Измерительное устройство

Измерительное устройство должно обеспечивать измерение отклонения корпуса качалки относительно ее продольной оси.

В.3 Схема испытаний качалок типов 1 и 3а (см. рисунки В.1 и В.2).

В.3.1 Схема испытаний качалки типа 1

1 - посадочное место; L - отклонение корпуса относительно продольной оси; F - горизонтальная нагрузка (695 ±5) Н

Примечание - Отклонение корпуса L для качалки типа 1 измеряют на расстоянии 2000 мм от центральной оси качалки.

Рисунок В.1

В.3.2 Схема испытаний качалки типа 3а

1 - посадочное место; 2 - продольная ось; 3 - поперечная ось; ad - угол отклонения корпуса относительно продольной оси; F - горизонтальная нагрузка (695 ±5) Н

Примечание

В процессе испытаний качалки типа 3а к посадочным местам прикладывают вертикальную нагрузку, эквивалентную числу детей в соответствии с ГОСТ Р 52169 (таблица А.2)

В процессе испытаний качалки типа 3а измеряют угол ad - отклонение корпуса относительно продольной оси под действием горизонтальной нагрузки F.

Рисунок В.2

В.4 Процедура

В.4.1 Прикладывают горизонтальную силу F, равную (695 ±5) Н, к центру посадочного места качалки, измеряют и регистрируют отклонение корпуса качалки относительно ее продольной оси.

Ключевые слова: детские игровые площадки, качалки, требования безопасности, испытания

 

 




ГОСТЫ, СТРОИТЕЛЬНЫЕ и ТЕХНИЧЕСКИЕ НОРМАТИВЫ.
Некоммерческая онлайн система, содержащая все Российские Госты, национальные Стандарты и нормативы.
В Системе содержится более 150000 файлов нормативно-технической документации, действующей на территории РФ.
Система предназначена для широкого круга инженерно-технических специалистов.

Рейтинг@Mail.ru Яндекс цитирования

Copyright © www.gostrf.com, 2008 - 2026