|
|
Единая система защиты от коррозии и старения СООРУЖЕНИЯ ПОДЗЕМНЫЕ Общие требования к защите от коррозии
ПредисловиеЦели, основные принципы и основной порядок проведения работ по межгосударственной стандартизации установлены ГОСТ 1.0-92 «Межгосударственная система стандартизации. Основные положения» и ГОСТ 1.2-97 «Межгосударственная система стандартизации. Стандарты межгосударственные, правила и рекомендации по межгосударственной стандартизации. Порядок разработки, принятия, применения, обновления и отмены» Сведения о стандарте1. РАЗРАБОТАН Техническим комитетом по стандартизации ТК 214 «Защита изделий и материалов от коррозии» (ГУП Ордена Трудового Красного Знамени Академия коммунального хозяйства им. К.Д. Памфилова, ГУП ВНЙИ железнодорожного транспорта, ФГУП «ВНИИ стандарт») 2. ВНЕСЕН Федеральным агентством по техническому регулированию и метрологии 3. ПРИНЯТ Межгосударственным советом по стандартизации, метрологии и сертификации (протокол № 27 от 22 июня 2005 г.) За принятие проголосовали:
4. В настоящем стандарте учтены основные нормативные положения Руководства ИСО/МЭК 21:1999 «Принятие международных стандартов в качестве региональных или национальных стандартов». (ISO/IEC Guide 21:1999«Regional or national adoption of international standards deliverables») 5. Приказом Федерального агентства по техническому регулированию и метрологии от 25 октября 2005 г. № 262-ст межгосударственный стандарт ГОСТ 9.602-2005 введен в действие непосредственно в качестве национального стандарта Российской Федерации с 1 января 2007г. 6. ВЗАМЕН ГОСТ 9.602-89 Информация о введении в действие (прекращении действия) настоящего стандарта и изменений к нему публикуется в указателе «Национальные стандарты». Информация об изменениях к настоящему стандарту публикуется в указателе «Национальные стандарты», а текст изменений - в информационных указателях «Национальные стандарты». В случае пересмотра или отмены настоящего стандарта соответствующая информация будет опубликована в информационном указателе «Национальные стандарты» Содержание ВведениеПодземные металлические трубопроводы, кабели и другие сооружения являются одной из самых капиталоемких отраслей экономики. От их нормального, бесперебойного функционирования зависит жизнеобеспеченность городов и населенных пунктов. Наибольшее влияние на условия эксплуатации и срок службы подземных металлических сооружений оказывает коррозионная и биокоррозионная агрессивность окружающей среды, а также блуждающие постоянные токи, источником которых является рельсовый электрифицированный транспорт, и переменные токи промышленной частоты. Воздействие каждого из указанных факторов и тем более их сочетания может в несколько раз сократить срок службы стальных подземных сооружений и привести к необходимости преждевременной перекладки морально не устаревших трубопроводов и кабелей. Единственно возможным способом борьбы с этим негативным явлением является своевременное применение мер по противокоррозионной защите стальных подземных сооружений. В настоящем стандарте учтены новейшие научно-технические разработки и достижения в практике противокоррозионной защиты, накопленные эксплуатационными, строительными и проектными организациями. В настоящем стандарте установлены критерии опасности коррозии и методы их определения; требования к защитным покрытиям, нормативы их качества для разных условий эксплуатации подземных сооружений (адгезия изоляции к поверхности трубы, адгезия между слоями покрытий, стойкость к растрескиванию, стойкость к удару, стойкость к УФ-радиации и др.) и методы оценки качества покрытий; регламентируются требования к электрохимической защите, а также методы контроля эффективности противокоррозионной защиты. Внедрение настоящего стандарта позволит увеличить срок службы и надежность эксплуатации подземных металлических сооружений, сократить расходы на их эксплуатацию и капитальный ремонт.
Дата введения - 2007-01-01 1. Область примененияНастоящий стандарт устанавливает общие требования к защите от коррозии наружной поверхности подземных металлических сооружений (далее - сооружения): трубопроводов и резервуаров (в том числе траншейного типа) из углеродистых и низколегированных сталей, силовых кабелей напряжением до 10 кВ включительно; кабелей связи и сигнализации в металлической оболочке, стальных конструкций необслуживаемых усилительных (НУП) и регенерационных (НРП) пунктов линий связи, а также требования к объектам, являющимся источниками блуждающих токов, в том числе электрифицированному рельсовому транспорту, линиям передач постоянного тока по системе «провод-земля», промышленным предприятиям, потребляющим постоянный ток в технологических целях. Стандарт не распространяется на следующие сооружения: кабели связи с защитным покровом шлангового типа; железобетонные и чугунные сооружения; коммуникации, прокладываемые в туннелях, зданиях и коллекторах; сваи, шпунты, колонны и другие подобные металлические сооружения; магистральные трубопроводы, транспортирующие природный газ, нефть, нефтепродукты, и отводы от них; трубопроводы компрессорных, перекачивающих и насосных станций, нефтебаз и головных сооружений нефтегазопромыслов; установки комплексной подготовки газа и нефти; трубопроводы тепловых сетей с пенополиуретановой тепловой изоляцией и трубой-оболочкой из жесткого полиэтилена (конструкция «труба в трубе»), имеющие действующую систему оперативного дистанционного контроля состояния изоляции трубопроводов; металлические сооружения, расположенные в многолетнемерзлых грунтах. 2. Нормативные ссылкиВ настоящем стандарте использованы ссылки на следующие стандарты: ГОСТ 9.048-89 Единая система защиты от коррозии и старения. Изделия технические. Методы лабораторных испытаний на стойкость к воздействию плесневых грибов ГОСТ 9.049-91 Единая система защиты от коррозии и старения. Материалы полимерные и их компоненты. Методы лабораторных испытаний на стойкость к воздействию плесневых грибов ГОСТ 12.0.004-90 Система стандартов безопасности труда. Организация обучения безопасности труда. Общие положения ГОСТ 12.1.003-83 Система стандартов безопасности труда. Шум. Общие требования безопасности ГОСТ 12.1.005-88 Система стандартов безопасности труда. Общие санитарно-гигиенические требования к воздуху рабочей зоны ГОСТ 12.2.004-75 Система стандартов безопасности труда. Машины и механизмы специальные для трубопроводного строительства. Требования безопасности ГОСТ 12.3.005-75 Система стандартов безопасности труда. Работы окрасочные. Общие требования безопасности ГОСТ 12.3.008-75 Система стандартов безопасности труда. Производство покрытий металлических и неметаллических неорганических. Общие требования безопасности ГОСТ 12.3.016-87 Система стандартов безопасности труда. Строительство. Работы антикоррозионные. Требования безопасности ГОСТ 12.4.026-761) Система стандартов безопасности труда. Цвета сигнальные и знаки безопасности ГОСТ 112-78 Термометры метеорологические стеклянные. Технические условия ГОСТ 411-77 Резина и клей. Методы определения прочности связи с металлом при отслаивании ГОСТ 427-75 Линейки измерительные металлические. Технические условия ГОСТ 1050-88 Прокат сортовой калиброванный со специальной отделкой поверхности из углеродистой качественной конструкционной стали. Общие технические условия ГОСТ 2583-92 Батареи из цилиндрических марганцево-цинковых элементов с солевым электролитом. Технические условия ГОСТ 2678-94 Материалы рулонные кровельные и гидроизоляционные. Методы испытаний ГОСТ 2768-84 Ацетон технический. Технические условия ГОСТ 4166-76 Натрий сернокислый. Технические условия ГОСТ 4650-80 Пластмассы. Методы определения водопоглощения ГОСТ 5180-84 Грунты. Методы лабораторного определения физических характеристик. ГОСТ 5378-88 Угломеры с нониусом. Технические условия ГОСТ 6055-862) Вода. Единица жесткости ГОСТ 6323-79 Провода с поливинилхлоридной изоляцией для электрических установок. Технические условия ГОСТ 6456-82 Шкурка шлифовальная бумажная. Технические условия ГОСТ 6709-72 Вода дистиллированная. Технические условия. ГОСТ 7006-72 Покровы защитные кабелей. Конструкция и типы, технические требования и методы испытаний ГОСТ 8711-93 (МЭК 51-2-84) Приборы аналоговые показывающие электроизмерительные прямого действия и вспомогательные части к ним. Часть 2. Особые требования к амперметрам и вольтметрам ГОСТ 9812-74 Битумы нефтяные изоляционные. Технические условия ГОСТ 11262-80 Пластмассы. Метод испытания на растяжение. ГОСТ 12026-76 Бумага фильтровальная лабораторная. Технические условия ГОСТ 13518-68 Пластмассы. Метод определения стойкости полиэтилена к растрескиванию под напряжением. ГОСТ 14236-81 Пленки полимерные. Метод испытаний на растяжение. ГОСТ 14261-77 Кислота соляная особой чистоты. Технические условия. ГОСТ 15140-78 Материалы лакокрасочные. Методы определения адгезии. ГОСТ 16337-77 Полиэтилен высокого давления. Технические условия ГОСТ 16783-71 Пластмассы. Метод определения температуры хрупкости при сдавливании образца, сложенного петлей ГОСТ 22261-94 Средства измерений электрических и магнитных величин. Общие технические условия ГОСТ 25812-833) Трубопроводы стальные магистральные. Общие требования к защите от коррозии ГОСТ 29227-91 (ИСО 835-1-81) Посуда лабораторная стеклянная. Пипетки градуированные. Часть 1. Общие требования. Примечание: При пользовании настоящим стандартом целесообразно проверить действие ссылочных стандартов по указателю «Национальные стандарты», составленному по состоянию на 1 января текущего года, и по соответствующим информационным указателям, опубликованным в текущем году. Если ссылочный стандарт заменен (изменен), то при пользовании настоящим стандартом следует руководствоваться замененным (измененным) стандартом. Если ссылочный стандарт отменен без замены, то положение, в котором дана ссылка на него, применяется в части, не затрагивающей эту ссылку. 1) В Российской Федерации действует ГОСТ Р 12.4.026-2001 «Система стандартов безопасности труда. Цвета сигнальные, знаки безопасности и разметка сигнальная. Назначение и правила применения. Общие технические требования и характеристики. Методы испытаний». 2) В Российской Федерации действует ГОСТ Р 52029-2003 «Вода. Единица жесткости». 3) В Российской Федерации действует ГОСТ Р 51164-98 «Трубопроводы стальные магистральные. Общие требования к защите от коррозии». 3. Общие положения3.1. Требования настоящего стандарта учитывают при проектировании, строительстве, реконструкции, ремонте, эксплуатации подземных сооружений, а также объектов, являющихся источниками блуждающих токов. Настоящий стандарт является основанием для разработки нормативных документов (НД) по защите конкретных видов подземных металлических сооружений и мероприятий по ограничению блуждающих токов (токов утечки). 3.2. Средства защиты от коррозии (материалы и конструкция покрытий, станции катодной защиты, приборы контроля качества изоляционных покрытий и определения опасности коррозии и эффективности противокоррозионной защиты) применяют только соответствующие требованиям настоящего стандарта и имеющие сертификат соответствия. 3.3. При разработке проекта строительства сооружений одновременно разрабатывают проект защиты их от коррозии. Примечание: Для кабелей сигнализации, централизации и блокировки (СЦБ), силовых и связи, применяемых на железной дороге, когда определить параметры электрохимической защиты на стадии разработки проекта не представляется возможным, рабочие чертежи электрохимической защиты допускается разрабатывать после прокладки кабелей на основании данных по измерениям и пробным включениям защитных устройств в сроки, установленные НД. 3.4. Мероприятия по защите от коррозии строящихся, действующих и реконструируемых сооружений предусматривают в проектах защиты в соответствии с требованиями настоящего стандарта. В проектах строительства и реконструкции сооружений, являющихся источниками блуждающих токов, предусматривают мероприятия по ограничению токов утечки. 3.5. Все виды защиты от коррозии, предусмотренные проектом строительства, принимают в эксплуатацию до сдачи в эксплуатацию сооружений. В процессе строительства для подземных стальных газопроводов и резервуаров сжиженного газа электрохимическую защиту вводят в действие в зонах опасного влияния блуждающих токов не позднее одного месяца, а в остальных случаях - не позднее шести месяцев после укладки сооружения в грунт; для сооружений связи - не позднее шести месяцев после их укладки в грунт. Не допускается ввод в эксплуатацию объектов, являющихся источниками блуждающих токов, до проведения всех предусмотренных проектом мероприятий по ограничению этих токов. 3.6. Защиту сооружений от коррозии выполняют так, чтобы не ухудшить защиту от электромагнитных влияний и ударов молнии. 3.7. При эксплуатации сооружений систематически проводят контроль эффективности противокоррозионной защиты и опасности коррозии, а также регистрацию и анализ причин коррозионных повреждений. 3.8. Работу по ремонту вышедших из строя установок электрохимической защиты квалифицируют как аварийную. 3.9. Сооружения оборудуют контрольно-измерительными пунктами (КИП). Для контроля коррозионного состояния кабелей связи, проложенных в кабельной канализации, используют смотровые устройства (колодцы). 4. Критерии опасности коррозии4.1. Критериями опасности коррозии сооружений являются: - коррозионная агрессивность среды (грунтов, грунтовых и других вод) по отношению к металлу сооружения (включая биокоррозионную агрессивность грунтов); - опасное действие блуждающего постоянного и переменного токов. 4.2. Для оценки коррозионной агрессивности грунта по отношению к стали, определяют удельное электрическое сопротивление грунта, измеренное в полевых и лабораторных условиях, и среднюю плотность катодного тока при смещении потенциала на 100 мВ отрицательней стационарного потенциала стали в грунте (таблица 1). Если при определении одного из показателей установлена высокая коррозионная агрессивность грунта (а для мелиоративных сооружений - средняя), то другой показатель не определяют. Методы определения удельного электрического сопротивления грунта и средней плотности катодного тока приведены в приложениях А и Б соответственно. Примечания 1. Если удельное электрическое сопротивление грунта, измеренное в лабораторных условиях, равно или более 130 Ом м, коррозионную агрессивность грунта считают низкой и по средней плотности катодного тока zK не оценивают. 2. Коррозионную агрессивность грунта по отношению к стальной броне кабелей связи, стальным конструкциям НУП оценивают только по удельному электрическому сопротивлению грунта, определяемому в полевых условиях (см. таблицу 1). 3. Коррозионную агрессивность грунта по отношению к стали труб тепловых сетей бесканальной прокладки оценивают по удельному электрическому сопротивлению грунта, определяемому в полевых и лабораторных условиях (см. таблицу 1). 4. Для трубопроводов тепловых сетей, проложенных в каналах, тепловых камерах, смотровых колодцах и т.д., критерием опасности коррозии является наличие воды или грунта в каналах (тепловых камерах, смотровых колодцах и т.д.), когда вода или грунт достигают теплоизоляционной конструкции или поверхности трубопровода. Коррозионная агрессивность грунта по отношению к углеродистой и низколегированной стали
4.3. Критерием биокоррозионной агрессивности грунта является наличие визуальных признаков оглеения грунта (окрашенности грунта в сероватые, сизые, голубоватые тона) и наличие в грунте восстановленных соединений серы. Метод качественного определения биокоррозионной агрессивности грунта приведен в приложении В. 4.4. Коррозионная агрессивность грунтов, грунтовых и других вод по отношению к свинцовым оболочкам кабелей приведена в таблицах 2 и 3 Коррозионная агрессивность грунтов по отношению к свинцовой оболочке кабеля
Таблица 3 Коррозионная агрессивность грунтовых и других вод по отношению к свинцовой оболочке кабеля
4.5 Коррозионная агрессивность грунтов, грунтовых и других вод по отношению к алюминиевой оболочке кабеля приведена в таблицах 4 и 5. Таблица 4 Коррозионная агрессивность грунтов по отношению к алюминиевой оболочке кабеля
Коррозионная агрессивность грунтовых и других вод по отношению к алюминиевой оболочке кабеля
4.6. Для бронированных кабелей связи со свинцовыми оболочками, находящихся в эксплуатации, опасность коррозии определяют в соответствии с НД. 4.7. Опасным влиянием блуждающего постоянного тока на сооружения является наличие изменяющегося по знаку и значению смещения потенциала сооружения по отношению к его стационарному потенциалу (знакопеременная зона) или наличие только положительного смещения потенциала, как правило, изменяющегося по значению (анодная зона). Метод определения опасного влияния блуждающего постоянного тока приведен в приложении Г. Примечания: 1. Для вновь проектируемых сооружений (кроме сооружений связи) опасным является наличие блуждающих токов в земле, определяемое в соответствии с приложением Д. 2. Для кабелей связи НУП и НРП опасным является наличие в них блуждающих токов, определяемое в соответствии с приложением Е. 4.8. Опасное влияние переменного тока промышленной частоты на стальные сооружения характеризуется либо смещением среднего потенциала сооружения в отрицательную сторону не менее чем на 10мВ по отношению к стационарному потенциалу, либо наличием переменного тока плотностью более 1 мА/см2 (10А/м2) на вспомогательном электроде. Метод определения опасного влияния переменного тока приведен в приложении Ж. 5 Выбор методов защиты от коррозии5.1. При определении метода защиты от коррозии сооружений предусматривают: - выбор защитных покрытий; - выбор вида электрохимической защиты; - ограничение блуждающих токов на их источниках. 5.2. Независимо от коррозионной агрессивности грунта применяют защитные покрытия весьма усиленного типа для: - стальных трубопроводов, прокладываемых непосредственно в земле в пределах территорий городов, населенных пунктов и промышленных предприятий; - газопроводов с давлением газа до 1,2МПа (12кгс/см2), предназначенных для газоснабжения городов, населенных пунктов и промышленных предприятий, но прокладываемых вне их территорий; - стальных резервуаров, установленных в грунт или обвалованных грунтом; - стальных конструкций связи НУП и НРП, установленных непосредственно в грунте или в смотровых колодцах кабельной канализации. В грунтах средней и низкой коррозионной агрессивности допускается применять защитные полимерные покрытия усиленного типа на основе экструдированного полиэтилена с обязательной электрохимической защитой. Для стальных трубопроводов оросительных систем, систем сельскохозяйственного водоснабжения (групповых и межхозяйственных водопроводов и отводов от них) и обводнения применяют защитные покрытия усиленного типа. 5.3. Работы по нанесению изоляционных покрытий на трубы проводят в базовых условиях на механизированных линиях изоляции. Допускается выполнять изоляционные работы ручным способом в трассовых условиях при: изоляции резервуаров, изоляции сварных стыков и мелких фасонных частей, исправлении повреждений покрытия (не более 10% площади трубы), возникших при транспортировании труб, а также при ремонте участков трубопроводов длиной не более 10м. 5.4. Стальные подземные трубопроводы, резервуары (в том числе траншейного типа), конструкции НУП и НРП, расположенные в грунтах высокой агрессивности и биоагрессивных грунтах или в зонах опасного действия блуждающих постоянных токов и переменных токов, защищают методом катодной поляризации. Примечания: 1. Стальные трубопроводы оросительных систем и систем обводнения защищают методом катодной поляризации в грунтах высокой и средней коррозионной агрессивности. 2. Трубопроводы сельскохозяйственного водоснабжения (групповые и межхозяйственные стальные водопроводы) и резервуары траншейного типа защищают методом катодной поляризации независимо от коррозионной агрессивности грунта. 3. Действующие теплопроводы канальной прокладки защищают методом катодной поляризации при наличии воды или грунта в канале, когда вода или грунт достигают изоляционной конструкции или поверхности трубопровода. 5.5. Защитные покровы кабелей выбирают в зависимости от коррозионной агрессивности окружающей среды и условий прокладки в соответствии с требованиями ГОСТ 7006. 5.6. Кабели связи со свинцовыми оболочками без защитных покровов или с защитными покровами ленточного типа (за исключением кабелей связи, применяемых на железных дорогах) защищают от коррозии катодной поляризацией при наличии трех значений средней или одного значения высокой коррозионной агрессивности грунтов и вод, оцениваемых по таблицам 2 и 3. 5.7. Стальную броню кабелей связи, прокладываемых в грунтах высокой коррозионной агрессивности или в зонах опасного действия блуждающих токов, защищают от коррозии катодной поляризацией только в тех случаях, когда по условиям эксплуатации необходимо исключить воздействие электромагнитных влияний, ударов молний и механических повреждений, при этом необходимо обеспечивать защиту металлической оболочки кабеля от коррозии. 5.8. Кабели связи с алюминиевой оболочкой и защитным покровом ленточного типа защищают от коррозии катодной поляризацией независимо от коррозионной агрессивности среды (за исключением кабелей связи, применяемых на железных дорогах). 5.9. Защита от коррозии, вызываемой блуждающими токами, кабелей связи со свинцовой или алюминиевой оболочкой без защитных покровов или с защитными покровами ленточного типа, а также кабелей со свинцовыми оболочками без защитного покрова осуществляется катодной поляризацией. 5.10. Кабели СЦБ, силовые и кабели связи со свинцовыми или алюминиевыми оболочками и броней, применяемые на железных дорогах, защищают: - при наличии не менее трех значений средней коррозионной агрессивности среды (см. таблицы 2-5) - катодной поляризацией или наружным (поверх брони) покровом шлангового типа; - при наличии одного и более значений высокой коррозионной агрессивности среды (см. таблицы 2- 5) - покровом шлангового типа поверх брони; - в зонах опасного действия блуждающего постоянного тока - катодной поляризацией. 5.11. Не допускается прокладывать кабели со свинцовыми оболочками без защитного покрова непосредственно в грунте, а также в кабельной канализации связи из пластмассовых труб. 5.12. Методы защиты от коррозии электрических силовых кабелей в грунтах высокой коррозионной агрессивности, а также в зонах опасного влияния блуждающих токов в зависимости от марки кабеля и условий их прокладки приведены в [1]. 5.13 Катодная поляризация осуществляется применением средств электрохимической защиты: катодных установок, поляризованных и усиленных дренажей, гальванических анодов (протекторов). Катодные установки и гальванические аноды применяют при защите от почвенной коррозии, биокоррозии, коррозии переменными токами промышленной частоты и при защите от коррозии блуждающими постоянными токами. Поляризованные и усиленные дренажи применяют при защите от коррозии, вызываемой блуждающими токами рельсового транспорта, электрифицированного на постоянном токе. 6. Требования к защитным покрытиям и методы контроля качества6.1. Конструкции защитных покрытий весьма усиленного и усиленного типов, применяемые для защиты стальных подземных трубопроводов, кроме теплопроводов, приведены в таблице 6; требования к покрытиям - в таблицах 7 и 8 соответственно. Допускается применять другие конструкции защитных покрытий, обеспечивающие выполнение требований настоящего стандарта. 6.2. При строительстве трубопроводов сварные стыки труб, фасонные элементы (гидрозатворы, конденсатосборники, колена и др.) и места повреждения защитного покрытия изолируют в трассовых условиях теми же материалами, что и трубопроводы, или другими, по своим защитным свойствам отвечающими требованиям, приведенным в таблице 7, не уступающими покрытию линейной части трубы и имеющими адгезию к покрытию линейной части трубопровода. 6.3. При ремонте эксплуатируемых трубопроводов допускается применять покрытия, аналогичные нанесенным на трубопровод ранее, а также на основе термоусаживающихся материалов, полимерно-битумных, полимерно-асмольных и липких полимерных лент, кроме поливинилхлоридных. Примечание: Для изоляции стыков и ремонта мест повреждений трубопроводов с мастичными битумными покрытиями не допускается применение полиэтиленовых лент. 6.4. Для стальных резервуаров, установленных в грунт или обвалованных грунтом, применяют защитные покрытия весьма усиленного типа конструкции № 5 и 7 по таблице 6. Таблица 6 Конструкция защитных покрытий строящихся и реконструируемых сооружений
Требования к покрытиям весьма усиленного типа
Таблица 8 Требования к покрытиям усиленного типа
6.5. Толщину защитных покрытий контролируют методом неразрушающего контроля с применением толщиномеров и других измерительных приборов: - в базовых и заводских условиях для двухслойных и трехслойных полимерных покрытий на основе экструдированного полиэтилена, полипропилена; комбинированного на основе полиэтиленовой ленты и экструдированного полиэтилена; ленточного полимерного и мастичного покрытий - на каждой десятой трубе одной партии не менее чем в четырёх точках по окружности трубы и в местах, вызывающих сомнение; - в трассовых условиях для мастичных покрытий - на 10% сварных стыков труб, изолируемых вручную, в четырех точках по окружности трубы; - на резервуарах для мастичных покрытий - в одной точке на каждом квадратном метре поверхности, а в местах перегибов изоляционных покрытий - через 1м по длине окружности, 6.6. Адгезию защитных покрытий к стали контролируют с применением адгезиметров: - в базовых и заводских условиях - через каждые 100м или на каждой десятой трубе в партии; - в трассовых условиях - на 10 % сварных стыков труб, изолированных вручную; - на резервуарах - не менее чем в двух точках по окружности, Для мастичных покрытий допускается определять адгезию методом выреза равностороннего треугольника с длиной стороны не менее 4,0см с последующим отслаиванием покрытия от вершины угла надреза. Адгезия считается удовлетворительной, если при отслаивании новых покрытий более 50% площади отслаиваемой мастики остается на металле трубы. Поврежденное в процессе проверки адгезии покрытие ремонтируют в соответствии с НД. 6.7. Сплошность покрытий труб после окончания процесса изоляции в базовых и заводских условиях контролируют по всей поверхности искровым дефектоскопом при напряжении 4,0 или 5,0кВ на 1мм толщины покрытия (в зависимости от материала покрытия), а для силикатно-эмалевого - 2кВ на 1мм толщины, а также на трассе перед опусканием трубопровода в траншею и после изоляции резервуаров. 6.8. Дефектные места, а также сквозные повреждения защитного покрытия, выявленные во время проверки его качества, исправляют до засыпки трубопровода. При ремонте обеспечивают однотипность, монолитность и сплошность защитного покрытия; после исправления отремонтированные места подлежат вторичной проверке. 6.9. После засыпки трубопровода защитное покрытие проверяют на отсутствие внешних повреждений, вызывающих непосредственный электрический контакт между металлом труб и грунтом, с помощью приборов для обнаружения мест повреждения изоляции. 6.10. Для защиты трубопроводов тепловых сетей от наружной коррозии применяют защитные покрытия, конструкции и условия применения которых приведены в приложении П. 7. Требования к электрохимической защите7.1. Требования к электрохимической защите при отсутствии опасного влияния постоянных блуждающих и переменных токов 7.1.1. Катодную поляризацию сооружений (кроме трубопроводов, транспортирующих среды, нагретые свыше 20 °С) осуществляют таким образом, чтобы поляризационные потенциалы металла относительно насыщенного медно-сульфатного электрода сравнения находились между минимальным и максимальным (по абсолютному значению) значениями в соответствии с таблицей 9. Измерение поляризационных потенциалов проводят в соответствии с приложением Р. Таблица 9 Поляризационные защитные потенциалы металла сооружения относительно насыщенного медно-сульфатного электрода сравнения
7.1.2. На вновь построенных и реконструируемых подземных стальных трубопроводах обеспечивают поляризационные потенциалы в соответствии с таблицей 9. На действующих стальных трубопроводах до их реконструкции и при отсутствии возможности измерений поляризационных потенциалов допускается осуществлять катодную поляризацию таким образом, чтобы суммарные потенциалы Uсум, включающие поляризационную и омическую составляющие, находились в пределах от минус 0,9 до минус 2,5 В по медно-сульфатному электроду сравнения для трубопроводов с мастичным и ленточным покрытиями и в пределах от минус 0,9 до минус 3,5В - для трубопроводов с покрытием на основе экструдированного полиэтилена. Метод измерения суммарных потенциалов приведен в приложении С. 7.1.3. Катодную поляризацию кабелей связи проводят таким образом, чтобы поляризационный потенциал оболочки кабеля по отношению к медно-сульфатному электроду сравнения соответствовал значениям, установленным в таблице 9. Примечания: 1. Для свинцовых оболочек кабелей связи без защитных покровов, проложенных в кабельной канализации, на 100мВ. 2. При катодной поляризации стальной брони кабелей связи максимальная разность потенциалов между броней и медно-сульфатным электродом сравнения должна быть не более минус 2,5 В, а по краям зоны защиты смещение минимального защитного потенциала от стационарного должно быть не менее 50 мВ. 3. Электрохимическую защиту кабелей связи с защитным покровом шлангового типа поверх оболочки, а так же поверх оболочки и брони не проводят. Катодную поляризацию таких кабелей в опасных зонах применяют лишь в случаях нарушения сплошности защитного покрова. 7.1.4. Катодную поляризацию подземных стальных трубопроводов, транспортирующих среды температурой свыше 20°С и не имеющих теплоизоляции, а также в биокоррозионно-агрессивных грунтах проводят таким образом, чтобы поляризационные потенциалы стали находились в пределах от минус 0,95 до минус 1,15 В по медно-сульфатному электроду сравнения. 7.1.5. Катодную поляризацию трубопроводов с теплоизоляцией, в том числе тепловых сетей и горячего водоснабжения бесканальной прокладки, а также канальной прокладки при расположении анодного заземления за пределами канала проводят таким образом, чтобы суммарный потенциал трубопровода был в пределах от минус 1,1 до минус 2,5В по медно-сульфатному электроду сравнения. При отсутствии антикоррозионного покрытия на наружной поверхности трубопроводов суммарный потенциал трубопровода может быть в пределах от минус 1,1 до минус 3,5В по медно-сульфатному электроду сравнения. 7.1.6. Катодную поляризацию трубопроводов тепловых сетей и горячего водоснабжения канальной прокладки применяют при расположении анодных заземлений в канале или вне канала. При расположении анодных заземлений в канале потенциал трубопровода, измеренный относительно установленного у поверхности трубы вспомогательного стального электрода, поддерживают на 0,3 - 0,8В отрицательнее потенциала трубы относительно этого электрода, измеренного при отсутствии катодной поляризации трубы. Измерение потенциала трубопровода при расположении анодного заземления в канале приведено в приложении Т. 7.1.7. При катодной поляризации кабелей СЦБ, силовых и связи, применяемых на железной дороге, со свинцовой или алюминиевой оболочками и броней без наружного шлангового покрова среднее значение потенциалов между кабелем и медно-сульфатным электродом сравнения обеспечивают в пределах от минус 0,9 до минус 3,0В. 7.2. Требования к электрохимической защите при наличии опасного влияния постоянных блуждающих токов 7.2.1. Защиту сооружений от опасного влияния постоянных блуждающих токов осуществляют так, чтобы обеспечивалось отсутствие на сооружении анодных и знакопеременных зон. Допускается суммарная продолжительность положительных смещений потенциала относительно стационарного потенциала не более 4 мин в сутки. Определение смещений потенциала (разность между измеренным потенциалом сооружения и стационарным потенциалом) проводят в соответствии с приложением Г. Примечание: При отсутствии данных о стационарном потенциале его значение для стали принимают равным минус 0,7В. 7.2.2. В условиях опасного влияния блуждающих постоянных токов при защите стальных трубопроводов и резервуаров с температурой транспортируемого (хранимого) продукта не выше 20°С в грунтах высокой коррозионной агрессивности, трубопроводов оросительных систем и систем обводнения в грунтах средней коррозионной агрессивности, трубопроводов сельскохозяйственного водоснабжения и резервуаров траншейного типа независимо от коррозионной агрессивности грунтов средние значения поляризационных и суммарных потенциалов устанавливают в пределах, указанных в 7.1.1 и 7.1.2. Измеряемые значения защитных потенциалов по абсолютной величине должны быть не менее значения стационарного потенциала. 7.2.3. Катодную поляризацию кабелей связи при защите от коррозии блуждающими токами проводят, как указано в 7.1.3. 7.3. Требования к электрохимической защите при наличии опасного влияния переменных токов Защиту стальных подземных трубопроводов от коррозии, вызываемой блуждающими токами от электрифицированного транспорта, а также переменными токами, индуцированными от высоковольтных линий электропередач, обеспечивают в опасных зонах независимо от коррозионной агрессивности грунтов методом катодной поляризации. Катодную поляризацию проводят таким образом, чтобы средние значения поляризационных потенциалов были в пределах от минус 0,90 до минус 1,15В или суммарных потенциалов - в пределах от минус 0,95 до минус 2,5 В для трубопроводов с мастичными и ленточными покрытиями и в пределах от минус 0,95 до минус 3,5 В - для трубопроводов с покрытием на основе экструдированного полиэтилена. Катодную поляризацию трубопроводов тепловых сетей и горячего водоснабжения проводят в соответствии с 7.1.5 и 7.1.6. 7.4. Допускается не предусматривать электрохимическую защиту стальных вставок длиной не более 10 м на линейной части полиэтиленовых газопроводов, участков соединений полиэтиленовых газопроводов со стальными вводами в дома (при наличии на вводе электроизолирующих соединений), стальных футляров с изоляцией весьма усиленного типа длиной не более 10м. При этом засыпку траншеи в той ее части, где проложена стальная вставка, по всей глубине заменяют на песчаную. Стальные газопроводы, реконструируемые методом санирования (облицовки внутренней поверхности трубы) с помощью полимерных материалов, как правило, подлежат защите в соответствии с 7.1.1 и 7.1.2. Стальные газопроводы, реконструируемые методом протяжки полиэтиленовых труб, подлежат защите на тех участках, где стальная труба необходима как защитный футляр (под автомобильными, железными дорогами и др.). Стальные футляры трубопроводов под автомобильными дорогами, железнодорожными и трамвайными путями при бестраншейной прокладке (прокол, продавливание и другие технологии, разрешенные к применению), как правило, защищают средствами электрохимической защиты, при прокладке открытым способом - изоляционными покрытиями и электрохимической защитой в соответствии с 5.4, 7.1.1 и 7.1.2. В качестве футляров рекомендуется использовать трубы с внутренним защитным покрытием. При защите трубы и футляра средствами электрохимической защиты трубу и футляр соединяют через регулируемую перемычку. 7.5. Если обеспечение защитных потенциалов по 7.1.1 и 7.1.2 на действующих трубопроводах, транспортирующих среды температурой не выше 20°С и длительное время находившихся в эксплуатации в коррозионно-опасных условиях, экономически нецелесообразно, по согласованию с проектной и эксплуатационной организациями и при необходимости с территориальными органами Госгортехнадзора допускается применять в качестве минимального поляризационного защитного потенциала трубопровода его значение на 100 мВ отрицательнее стационарного потенциала. Стационарный потенциал трубопровода определяют по датчику потенциала (вспомогательному электроду) в соответствии с приложением У. Примечание: Необходимо, чтобы минимальный защитный поляризационный потенциал Емин. был не менее отрицательным чем минус 0,65В. 7.6. Катодную поляризацию подземных металлических сооружений осуществляют так, чтобы она не влияла на соседние подземные металлические сооружения. Если при осуществлении катодной поляризации возникает вредное влияние на соседние металлические сооружения, необходимо принять меры по устранению или провести совместную защиту этих сооружений. Примечание: Вредным влиянием катодной поляризации защищаемого сооружения на соседние металлические сооружения считают: - уменьшение по абсолютной величине минимального или увеличение по абсолютной величине максимального защитного потенциала на соседних металлических сооружениях, имеющих электрохимическую защиту; - появление опасности коррозии на соседних подземных металлических сооружениях, ранее не требовавших защиты от нее; - смещение более чем на 0,040В в любую сторону стационарного потенциала на кабелях связи, не имеющих катодной поляризации. 7.7. Требования к гальванической защите 7.7.1. Защиту гальваническими анодами (протекторами) применяют в грунтах с удельным сопротивлением не более 50 ОМ·м: - для отдельных участков трубопроводов небольшой протяженности (не имеющих электрических контактов с другими сооружениями) при отсутствии или при наличии опасности блуждающих постоянных токов, если вызываемое ими среднее смещение потенциала от стационарного не превышает плюс 0.3В; - для участков трубопроводов, электрически отсеченных от общей сети изолирующими соединениями; - при относительно малых расчетных защитных токах (менее или равных 1 А); - как дополнительное средство, когда действующие катодные станции не обеспечивают защиту отдельных участков трубопроводов; - для защиты от вредного влияния переменного тока; 7.7.2. Гальваническую защиту трубопроводов тепловых сетей и горячего водоснабжения применяют только при их прокладке в каналах с размещением гальванических анодов в канале или непосредственно на поверхности трубопроводов. 7.8. Требования к дренажной защите 7.8.1. Дренажную защиту применяют при минимальных значениях дренажного тока, обеспечивающих выполнение требований 7.2.1. Если применение поляризованных дренажей неэффективно или неоправданно по технико-экономическим показателям, то используют катодную защиту, защиту усиленными дренажами или катодную защиту совместно с дренажной. 7.8.2. Подключение дренажных устройств к рельсовым путям - в соответствии с требованиями НД. Не допускается непосредственно присоединять установки дренажной защиты к отрицательным шинам и к сборке отрицательных линий тяговых подстанций трамвая. 7.9. Для повышения эффективности электрохимической защиты необходимо предусматривать электроизолирующие вставки или соединения (фланцы, муфты и т.п.) в соответствии с НД. 7.10. Если в зоне действия вышедшей из строя установки электрохимической защиты защитный потенциал трубопровода обеспечивается соседними установками защиты (перекрывание зон защиты), то срок устранения неисправности определяется руководством эксплуатационной организации. 7.11. Для контроля эффективности электрохимической защиты сооружения измеряют потенциалы на защищаемом сооружении в контрольно-измерительных пунктах, на вводах в здание и других элементах сооружения, доступных для проведения измерения, а также в смотровых устройствах кабельной канализации связи. 7.12. Контрольно-измерительные пункты устанавливают с интервалом не более 200м в пределах поселения и не более 500 м - вне пределов поселения: - в пунктах подключения дренажного кабеля к трубопроводу; - на концах заданных зон защиты; - в местах максимального сближения трубопровода с анодным заземлителем; - в местах пересечения с рельсами электрифицированного транспорта; - у одного конца футляров длиной не более 20м и у обоих концов футляров длиной более 20м. 7.13. Контроль работы установок электрохимической защиты в эксплуатационных условиях заключается в периодическом техническом осмотре установок и проверке эффективности их работы. При значительных изменениях, связанных с развитием сети подземных металлических сооружений и источников блуждающих токов, проводят дополнительный контроль. 8. Требования ограничения токов утечки на источниках блуждающих токов8.1. Электрифицированный рельсовый транспорт постоянного тока 8.1.1. Контактную сеть электрифицированного рельсового транспорта соединяют с положительной (плюсовой) шиной, а рельсовые пути - с отрицательной (минусовой) шиной тяговой подстанции. 8.1.2. Питание контактной сети от тяговых подстанций предпочтительно двухстороннее при равномерном распределении тяговых нагрузок между ними. 8.1.3. На отрицательной шине тяговой подстанции не допускается глухое заземление. Примечание: Данное требование не распространяется на временное заземление по условиям электробезопасности при проведении ремонтных работ на подстанции и на заземление шины через цепи электрических дренажей. 8.1.4. Отрицательные питающие линии тяговой подстанции изолируют от земли на всем протяжении до пунктов присоединения отрицательных линий к рельсовой сети; уровень изоляции - не менее 0,5 МОм при испытательном напряжении 1000В. 8.1.5. В пунктах присоединения отрицательных линий к тяговой рельсовой сети применяют разъемное (не через электрические аппараты) электрическое соединение отрицательной линии с проводниками, идущими непосредственно к рельсовой сети. 8.1.6. Пункты присоединения отрицательных линий к тяговой рельсовой сети располагают, как правило, в непосредственной близости от тяговой подстанции; при разветвленной тяговой рельсовой сети допускается сооружение нескольких пунктов, минимально удаленных от тяговой подстанции. 8.1.7. От всех участков тяговой рельсовой сети применяют электрически непрерывный, как правило, двухсторонний отвод тяговых токов к пунктам присоединения отрицательных линий к рельсовой сети тяговых подстанций посредством установки стыковых рельсовых соединителей, межрельсовых и междупутных перемычек. 8.1.8. Не допускается увеличение продольного сопротивления рельсовой сети за счет сборных стыков более чем на 20%. Электропроводность стыков, межрельсовых и междупутных перемычек обеспечивают конструктивными решениями в соответствии с требованиями НД. 8.1.9. При выборе места подключения отрицательных питающих линий, межрельсовых и междупутных перемычек к тяговой рельсовой сети учитывают в соответствии с НД требования обеспечения надежного функционирования систем автоматического регулирования движением поездов, использующих рельсы для пропуска сигнальных токов. 8.1.10. Конструкцию путей электрифицированного рельсового транспорта выполняют так, чтобы обеспечить переходное сопротивление рельсов (сопротивление изоляции) по отношению к земле не менее значений, приведенных в таблице 10. Таблица 10 Требования к изоляции рельсового пути для электрифицированного транспорта
8.1.11. Деревянные шпалы, укладываемые в путь, пропитывают неэлектропроводными антисептиками. Железобетонные шпалы или железобетонные блочные основания изолируют от рельсов. Не допускается металлическая связь арматуры железобетона непосредственно с рельсами или деталями рельсовых скреплений. 8.1.12. Главные пути наземных линий укладывают на щебеночном, гравийном или равноценном им по изоляционным свойствам балласте. 8.1.13. Все неэлектрифицированные пути в месте их примыкания к электрифицированным путям отделяют изолирующими стыками, устанавливаемыми в каждую рельсовую нить. 8.1.14. Электрифицированные пути от неэлектрифицированных отделяют двумя изолирующими стыками в каждой нити в следующих случаях: - на подъездных путях тяговых подстанций, промышленных объектов, нефтебаз и складов с горючими и взрывоопасными веществами; - на соединительных линиях между разными видами рельсового транспорта; - на примыкающих строящихся линиях электрифицированного рельсового транспорта. Стыки устанавливают таким образом, чтобы они не перекрывались одновременно подвижным составом, подаваемым на неэлектрифицированные пути. 8.1.15. Конструкцию пути выполняют так, чтобы обеспечивать надежный отвод поверхностных и грунтовых вод от основания пути; не допускается наличие прямых течей на путь в тоннелях. 8.1.16. Металлические конструкции, технологически связанные с тяговой рельсовой сетью, устанавливают на каменные, бетонные, железобетонные фундаменты с входным сопротивлением заземления значения которого не менее установленных в НД. Конструкции и корпуса установок, соединенные в целях заземления с рельсами, не могут быть заземлены повторно. 8.1.17. Допускается использовать неэлектрифицированные пути в качестве проводника тяговых, дренажных токов и токов отопления поездов при соблюдении требований 8.1.7, 8.1.10, 8.1.12. 8.1.18. Для ограничения утечки тяговых токов с локальных участков пути (тоннель, депо, станционные парки) рекомендуется применять технические средства по НД, препятствующие стеканию тягового тока. 8.1.19. Систему питания тяговой сети метрополитена организовывают преимущественно с размещением тяговых подстанций у каждой станции. Не допускается проектирование питания тяговой сети разных линий метрополитена от одной подстанции. На существующих тяговых подстанциях, питающих две и более линии метрополитена, секционируют не только положительные, но и отрицательные шины с установкой секционных коммутационных аппаратов. Для контроля потенциалов рельсовой сети метрополитена оборудуют систему контрольно-измерительных пунктов в соответствии с НД. 8.1.20. При наличии в трамвайной тяговой рельсовой сети нескольких пунктов присоединения отрицательных питающих линий для одной тяговой подстанции применяют статические вольтодобавочные устройства или добавочные сопротивления для уравнивания потенциалов отсасывающих пунктов, разность которых в период интенсивного графика движения не должна превышать 0,5В при вольтодобавочных устройствах и 1,0В - при реостатах. Для контроля потенциалов предусматривают систему контрольных проводов. Не допускается использовать отрицательные линии и пути трамвая в качестве проводника тока троллейбусных нагрузок. 8.1.21. Трамвайные рельсовые пути оборудуют электрическими соединителями в соответствии с НД. 8.1.22. Пункты присоединения отрицательных питающих линий к трамвайным рельсам выбирают на основании расчета по НД. 8.1.23. Кабели, используемые для прокладки отрицательных линий трамвая, оборудуют контрольными шинами для измерения потенциалов пунктов присоединения отрицательных кабелей к рельсам. 8.1.24. Для контроля разности потенциалов между пунктами присоединения отрицательных кабелей трамвая смежные параллельно работающие подстанции оборудуют системой контрольных проводов. 8.1.25. В пунктах присоединения отрицательных линий трамвая применяют разъемное электрическое соединение отрицательных линий с проводниками, идущими непосредственно к рельсовым нитям. Сопротивление контакта в месте присоединения каждого из указанных проводников к рельсовой нити не должно превышать 0,0015 Ом. 8.2. Электрифицированный рельсовый транспорт переменного тока промышленной частоты 8.2.1. На линиях рельсового транспорта, электрифицированных по системе переменного тока, специальные меры по ограничению утечки тяговых токов на рельсовых путях и устройствах электроснабжения в части защиты от электрокоррозии не предусматривают. 8.3. Линии передачи энергии постоянного тока системы «провод-земля» 8.3.1. При проектировании рабочих заземлений линий передач энергии постоянного тока системы «провод-земля» предусматривают мероприятия, исключающие их опасное влияние на подземные сооружения. 8.4. Промышленные предприятия, потребляющие постоянный электрический ток в технологических процессах 8.4.1 Источники блуждающих токов промышленных объектов (шинопроводы постоянного тока, электролизеры, металлические трубопроводы, присоединенные к электролизерам) электрически изолируют от строительных конструкций. 8.4.2. В качестве изоляторов используют базальт, фарфор, диабаз, стекло, пластмассы и другие материалы с удельным объемным сопротивлением не менее 1012 Ом·м. Не допускается применять пористые материалы, обладающие способностью впитывать влагу (бетон, неглазурованный фарфор, керамика) без специальной обработки водоотталкивающими и электроизолирующими составами. 8.4.3. Для ограничения тока утечки предусматривают секционирование с помощью электроизолирующих швов железобетонных перекрытий, железобетонных площадок для обслуживания электролизеров в подземных железобетонных конструкциях. Перекрытие, на котором устанавливают электролизеры, отделяют электроизоляционным швом от примыкающих к нему железобетонных стен, колонн, перекрытий других отделений. 8.4.4. Электроизоляционные швы выполняют в виде воздушных зазоров из мастичных или рулонных материалов с удельным электрическим сопротивлением 1012 Ом-м. 8.4.5. В отделениях электролиза водных растворов для ограничения токов утечки применяют полимербетон для конструкций, примыкающих к электронесущему оборудованию (опоры, балки, фундаменты под электролизеры, опорные столбы под шинопроводы, опорные балки и фундаменты под оборудование, соединенное с электролизерами). 8.4.6. Трубопроводы, транспортирующие электролит и продукты электролиза, выполняют из неэлектропроводных материалов (фаолит, стекло, полиэтилен и др.) с целью ограничения токов утечки с них. 8.4.7. Для предотвращения отекания блуждающих токов с арматуры железобетонных фундаментов отделений электролиза предусматривают электроизоляцию фундаментов в соответствии с НД. 8.5. Контроль за выполнением мероприятий по ограничению токов утечки электрифицированного рельсового транспорта 8.5.1. Эксплуатационный контроль за выполнением требований по ограничению токов утечки с рельсовой сети проводят подразделения (службы) транспорта конкретного вида. Перечень контролируемых параметров, сроки и методы их выполнения определены в соответствующих НД. 8.5.2. Выполнение требований по ограничению токов утечки при строительстве линий электрифицированного рельсового транспорта контролирует строительная организация совместно с органами, эксплуатирующими стальные подземные коммуникации. Результаты контроля предъявляют при приемке линий в эксплуатацию. 8.5.3. Соответствие подключения средств активной защиты (поляризованных и усиленных дренажей) к рельсовой сети источника блуждающих токов требованиям настоящего стандарта проверяют представители рельсового транспорта и заинтересованной организации при первом опытном включении защиты, а в дальнейшем - организация, в ведении которой она находится. 8.5.4. Сведения об изменении режимов работы сооружений, являющихся источниками блуждающих токов и способных привести к увеличению опасности коррозии подземных сооружений, находящихся в зоне действия блуждающих токов этих источников, сообщают в организации, осуществляющие координацию и контроль противокоррозионной защиты подземных сооружений, не позднее, чем за один месяц до перехода на новый режим работы. 9. Требования при выполнении работ по противокоррозионной защите9.1. Все работы по защите сооружений от коррозии выполняют в соответствии с действующими правилами обслуживания конкретных видов защищаемых сооружений, утвержденных в установленном порядке. 9.2. К выполнению работ по защите сооружений от коррозии допускаются лица не моложе 18 лет, прошедшие медицинское освидетельствование, обучение и инструктаж по ГОСТ 12.0.004. При допуске к работе каждого рабочего инструктируют на рабочем месте с соответствующей записью в журнале по проведению инструктажа. 9.3. Работы по защите от коррозии выполняют с учетом требований ГОСТ 12.3.016, ГОСТ 12.3.008, ГОСТ 12.3.005, ГОСТ 12.2.004. 9.4. При электрохимической защите трубопроводов тепловых сетей с расположением анодных заземлений непосредственно в каналах напряжение постоянного тока на выходе станции катодной защиты (преобразователя, выпрямителя) ограничивают 12 В. 9.5. На участках трубопроводов тепловых сетей, к которым подключена станция катодной защиты, а анодные заземления установлены непосредственно в каналах, под крышками люков тепловых камер устанавливают указатели с надписью «Внимание! В каналах действует катодная защита». 9.6. При выполнении работ по защите сооружений от коррозии работающий персонал обеспечивают спецодеждой и средствами индивидуальной защиты в соответствии с требованиями действующих норм. 9.7. При проведении работ предусматривают предупредительные знаки в соответствии с ГОСТ 12.4.026, уровень шума - в соответствии с ГОСТ 12.1.003, содержание вредных веществ в воздухе рабочей зоны - не более предельно допустимых концентраций, установленных ГОСТ 12.1.005. 9.8. При проведении на сооружениях работ, связанных с электрическими измерениями, монтажом, ремонтом и наладкой электрозащитных установок, соблюдают правила, установленные [2], [3]. 9.9. Работы в пределах проезжей части улиц и дорог для автотранспорта, на рельсовых путях трамвая и железных дорог, источниках электропитания установок электрозащиты выполняет бригада в составе не менее двух человек, а при проведении работ в колодцах, туннелях или глубоких траншеях (глубиной более 2 м) - бригада в составе не менее трех человек. 9.10. Не разрешается проводить работы в колодцах с наличием газа до устранения причин загазованности. 9.11. Для спуска в колодцы, не имеющие скоб, котлованы и люки используют металлические лестницы достаточной длины с приспособлениями для закрепления у края колодца, котлована, люка, не дающие искрения при ударе или трении о твердые предметы. 9.12. Измерения в контрольных пунктах, расположенных на проезжей части дорог, на рельсах трамвая или электрифицированной железной дороги, проводят два человека, один из которых следит за работой и ведет наблюдение за движением транспорта. 9.13. Все работы на тяговых подстанциях и пунктах присоединения отрицательных питающих линий электротранспорта проводят в присутствии персонала подстанции. 9.14. При применении электрифицированного инструмента необходимо проводить работу только в диэлектрических перчатках при заземленных корпусах электроинструментов. 9.15. На весь период работы опытной станции катодной защиты у контура анодного заземления находится дежурный, не допускающий посторонних лиц к анодному заземлению, и установлены предупредительные знаки по ГОСТ 12.4.026. 9.16. Металлические корпуса электроустановок, не находящиеся под напряжением, оборудуют защитным заземлением. Приложение А (справочное)Определение удельного электрического сопротивления грунтаА.1 Определение удельного электрического (кажущегося) сопротивления грунта в полевых условиях А.1.1. Средства контроля и вспомогательные устройства Полевые электроразведочные приборы, например типа АС-72. Допускается применять другие приборы. Электроды в виде стальных стержней длиной от 250 до 350 мм и диаметром от 15 до 20 мм.
1 – электрод, 2 - прибор с клеммами: I – силы тока; Е – напряжения; а - расстояния между электродами (см. формулу (А.1)) Рисунок А.1. – Схема определения удельного сопротивления грунта А. 1.2. Проведение измерений Удельное электрическое сопротивление грунта измеряют непосредственно на трассе подземного трубопровода без отбора проб грунта по четырехэлектродной схеме (рисунок А.1). Электроды размещают на поверхности земли на одной прямой линии, совпадающей с осью трассы для проектируемого сооружения, а для сооружения, уложенного в землю, - на линии, проходящей перпендикулярно или параллельно на расстоянии в пределах от 2 до 4 м от оси сооружения. Измерения выполняют с интервалом от 100 до 200 м в период, когда на глубине заложения сооружения отсутствует промерзание грунта. Глубина забивания электродов в грунт должна быть не более 1/20 расстояния между электродами. А.1.3. Обработка результатов измерения Удельное электрическое сопротивление грунта ρ, Ом·м, вычисляют по формуле Ρ=2πRг,п а,............................................................... (А.1) где Rг,п -электрическое сопротивление грунта, измеренное прибором, Ом; а - расстояние между электродами, равное глубине (для кабелей связи - двойной глубине) прокладки подземного сооружения, м. А.1.4. Оформление результатов измерения Результаты измерений и расчетов заносят в протокол по форме А.1 Форма А.1 Протокол Прибором типа _____________________, дата проверки_____________________________ Заводской номер ______________________________________________________________ Дата измерения _______________________________________________________________ Погодные условия ___________ ___________________________________________
Измерение провел________________________________ Проверку провел__________________________________ А.2 Определение удельного электрического сопротивления грунта в лабораторных условиях А.2.1 Отбор проб Для определения удельного электрического сопротивления грунта отбирают пробы грунтов в шурфах, скважинах и траншеях из слоев, расположенных на глубине прокладки сооружения, с интервалами от 50 до 200 м на расстоянии от 0,5 до 0,7 м от боковой стенки трубы. Для пробы берут от 1,5 до 2 кг грунта, удаляют твердые включения размером более 3 мм. Отобранную пробу помещают в полиэтиленовый пакет и снабжают паспортом, в котором указывают номера объекта и пробы, место и глубину отбора пробы.
1 - миллиамперметр; 2 - источник тока; 3 - вольтметр; 4 - измерительная ячейка размерами a, b; h (см. А.2.2); А и В - внешние электроды; М и N - внутренние электроды": Рисунок А.2. - Схема установки для определения удельного электрического сопротивления грунта в лабораторных условиях Если уровень грунтовых вод выше глубины отбора проб, отбирают грунтовый электролит объемом от 200 до 300 см3 и помещают в герметически закрывающуюся емкость, которую маркируют и снабжают паспортом. А.2.2 Средства контроля и вспомогательные устройства Источник постоянного или низкочастотного переменного тока любого типа. Миллиамперметр любого типа класса точности не ниже 1,5 с диапазонами 200 или 500 мА. Вольтметр любого типа с внутренним сопротивлением не менее 1 МОм. Допускается использовать специальные приборы. Ячейка прямоугольной формы внутренними размерами а= 100 мм; b = 45 мм; h = 45 мм (см. рисунок А.2) из диэлектрического материала (стекло, фарфор, пластмасса) или стали с внутренней футеровкой изоляционным материалом. Электроды внешние (А, В) размером 44×40 мм (40 мм - высота электрода) в виде прямоугольных пластин (из углеродистой или нержавеющей стали) с ножкой, к которой крепят или припаивают проводник-токоподвод. Одну сторону каждой пластины, которая примыкает к торцовой поверхности ячейки, изолируют. Электроды внутренние (М, N) из медной проволоки или стержня диаметром от 1 до 3 мм и длиной на 10 мм больше высоты ячейки. Шкурка шлифовальная зернистостью 40 (или менее) по ГОСТ 6456. Вода дистиллированная по ГОСТ 6709. Ацетон по ГОСТ 2768. А.2.3 Подготовка к измерению Отобранную пробу песчаных грунтов смачивают до полного влагонасыщения, а глинистых - до достижения мягкопластичного состояния. Если уровень грунтовых вод ниже уровня отбора проб, смачивание проводят дистиллированной водой, а если выше - грунтовой водой. Электроды зачищают шлифовальной шкуркой, обезжиривают ацетоном и промывают дистиллированной водой. Внешние электроды устанавливают вплотную к внутренним торцовым поверхностям ячейки. При сборе ячейки пластины размещают друг к другу неизолированными сторонами. Затем в ячейку помещают грунт, послойно утрамбовывая его. Высота грунта должна быть на 4 мм менее высоты ячейки. Устанавливают внутренние электроды вертикально, опуская их до дна по центральной линии ячейки на расстоянии 50мм друг от друга и 25 мм – от торцовых стенок ячейки. А.2.4 Проведение измерений Удельное электрическое сопротивление грунта определяют по четырехэлектродной схеме на постоянном или низкочастотном переменном токе (рисунок А.2). Внешние электроды с одинаковой площадью рабочей поверхности Sp поляризуют током определенной силы I1, и измеряют падение напряжения V1 между двумя внутренними электродами при расстоянии lMN между ними. А.2.5 Обработка результатов измерения А.2.5.1 Электрическое сопротивление грунта Rг.л., Ом, вычисляют по формуле,
где V1, - падение напряжения между двумя внутренними электродами, В; I1 - сила тока в ячейке, А. Примечание: При отсутствии тока разность потенциалов между двумя внутренними электродами V01 может отличаться от нуля в пределах от 10 до 30 мВ, тогда для расчета электрического сопротивления грунта используют формулу
A.2.5.2 Удельное электрическое сопротивление грунта ρ, Ом м, вычисляют по формуле
где Rг.л. - электрическое сопротивление грунта, рассчитанное по формуле (А.2. или А.3.), Ом, Sр - площадь поверхности рабочего электрода, м2, lMN-расстояние между внутренними электродами, м. . При использовании специальных приборов измерения при определении электрического сопротивления грунта проводят в соответствии с инструкцией по эксплуатации прибора. А.2.6. Оформление результатов измерений Результаты измерений и расчетов заносят в протокол по форме А.2. Форма А.2 Протокол определения удельного электрического сопротивления грунта в лабораторных условиях
Измерения провел ___________________________________ «______» __________________ год Приложение Б
|
|||||||||||||||||||||||||||||||||||||||||||||||||||||||||||||||||||||||||||||||||||||||||||||||||||||||||||||||||||||||||||||||||||||||||||||||||||||||||||||||||||||||||||||||||||||||||||||||||||||||||||||||||||||||||||||||||||||||||||||||||||||||||||||||||||||||||||||||||||||||||||||||||||||||||||||||||||||||||||||||||||||||||||||||||||||||||||||||||||||||||||||||||||||||||||||||||||||||||||||||||||||||||||||||||||||||||||||||||||||||||||||||||||||||||||||||||||||||||||||||||||||||||||||||||||||||||||||||||||||||||||||||||||||||||||||||||||||||||||||||||||||||||||||||||||||||||||||||||||||||||||||||||||||||||||||||||||||||||||||||||||||||||||||||||||||||||||||||||||||||||||||||||||||||||||||||||||||||||||||||||||||||||||||||||||||||||||||||||||||||||||||||||||||||||||||||||||||||||||||||||||||||||||||||||||||||||||||||||||||||||||||||||||||||||||||||||||||||||||||||||||||||||||||||||||||||||||||||||||||||||||||||||||||||||||||||||||||||||||||||||||||||||||||||||||||||||||||||||||||||
|
Адрес |
Номер |
Ячейка 1 |
Ячейка 2 |
||||
|
t, мин |
|
Ir, А |
t, мин |
|
Ir, А |
||
|
1 |
2 |
3 |
4 |
5 |
6 |
7 |
8 |
|
|
|
|
|
|
|
|
|
|
Ячейка 3 |
Среднее значение силы тока Iк. ср., А |
Средняя плотность катодного тока 4, А/м2 |
Коррозионная
агрессивность |
Тип
измерительного прибора, заводской |
||
|
t, мин |
|
Ir, А |
||||
|
9 |
10 |
11 |
12 |
13 |
14 |
15 |
|
|
|
|
|
|
|
|
Измерения провел __________________________________
«______»________________________ г.
Б.6.2. Результаты определения коррозионной агрессивности грунтов заносят в протокол по форме Б.2.
Форма Б.2
Протокол
результатов определения коррозионной агрессивности грунтов по отношению к стали
|
Адрес пункта измерений или отбора проб |
Номер пункта по плану (схеме) трассы трубопровода |
Удельное электрическое сопротивление грунта, определенное в полевых условиях Rг.п., Ом·м |
Удельное электрическое сопротивление грунта, определенное в лабораторных условиях Rг.л., Ом·м |
Средняя плотность катодного тока iк, А/м2 |
Оценка коррозионной агрессивности грунта |
|
1 |
2 |
3 |
4 |
5 |
6 |
|
|
|
|
|
|
|
Приложения
1. План (схема) трассы трубопровода.
2. Протоколы измерений (форма Б.1.).
В.1. Биокоррозионную агрессивность грунта на глубине укладки подземного сооружения определяют следующие качественные признаки:
- окраска грунта (сероватые, зеленоватые и сизые тона указывают на анаэробную обстановку при избыточном увлажнении и преобладание восстановленных форм железа, алюминия, марганца);
- наличие в грунте восстановленных соединений серы, являющихся продуктами жизнедеятельности сульфатвосстанавливающих бактерий.
В.2. Определение наличия восстановленных соединений серы
На пробу грунта, продуктов коррозии или отложений объемом 1 см3 с помощью пипетки по ГОСТ 29227 наносят 2-3 капли соляной кислоты по ГОСТ 14261, разбавленной дистиллированной водой по ГОСТ 6709 в соотношении 1:3 (плотность исходной кислоты 1,47 г/см3).
В.3. Обработка результатов определений
По характерному запаху выделяющегося сероводорода делают вывод о наличии восстановленных соединений серы (гидросульфидов, сульфидов железа, некоторых органических соединений серы).
В.4. Оформление результатов определений
Результаты определений заносят в протокол, содержащий следующие данные:
- место проведения определений;
- глубину укладки подземного сооружения;
- погодные условия при проведении определений;
- дату проведения определений;
- визуальные наблюдения (окраска грунта);
- наличие восстановленных соединений серы;
- обозначение настоящего стандарта;
- фамилию, инициалы лица, проводившего определения.
Г.1. Образцами для определения опасного влияния блуждающего постоянного тока являются участки подземных сооружений.
Г.2. Средства контроля и вспомогательные устройства.
Вольтметр с внутренним сопротивлением не менее 1 МОм регистрирующий или показывающий любого типа.
Электрод сравнения медно-сульфатный.
Электрод в виде стального стержня в соответствии с А.1.1. приложения А.
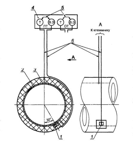
Г.3. Проведение измерений
Г.3.1. Измерения проводят в контрольно-измерительных пунктах, колодцах, шурфах или с поверхности земли на минимально возможном расстоянии (в плане) от трубопровода. Положительную клемму вольтметра присоединяют к сооружению, отрицательную - к электроду сравнения.
Г.3.2. Продолжительность и режим измерений, а также шаг между точками измерения по трассе устанавливают по НД.
Г.3.3. При измерениях в зонах действия блуждающих токов, где амплитуда колебаний измеряемой разности потенциалов превышает 0,5В, могут быть использованы стальные электроды вместо медно-сульфатных электродов сравнения, за исключением измерений на сооружениях связи.
Г.3.4. Стационарный потенциал подземного сооружения определяют при выключенных средствах электрохимической защиты путем непрерывного измерения и регистрации разности потенциалов между сооружением и медно-сульфатным электродом сравнения в течение достаточно длительного времени - вплоть до выявления практически не изменяющегося во времени значения потенциала (в пределах 0,04В). Как правило, это относится к периоду перерыва в движении электрифицированного транспорта, например, в городах в ночное время суток, когда блуждающий ток отсутствует. За стационарный потенциал сооружения принимают среднее значение потенциала при разности измеренных значений не более 0,04В.
Если измерить стационарный потенциал невозможно, его значение относительно медно-сульфатного электрода сравнения принимают равным:
- минус 0,70 В - для стали;
- минус 0,4 В - для свинца;
- минус 0,70В – для аллюминия.
Г.4 Обработка результатов измерений
Разность ΔU, В, между измеренным потенциалом сооружения и стационарным потенциалом вычисляют по формуле
ΔU=Uизм-Uст, (Г.1)
где Uизм - наиболее отрицательная или наиболее положительная мгновенная разность потенциалов между сооружением и медно-сульфатным электродом сравнения, В;
Uст - стационарный потенциал сооружения, В.
Если наибольший размах колебаний потенциала сооружения, измеряемого относительно медно-сульфатного электрода сравнения (абсолютная разность потенциалов между наибольшим и наименьшим значениями) не превышает 0,04В, смещение потенциала не характеризует опасного действия блуждающих токов.
Г.5 Оформление результатов измерений
Результаты измерений (с помощью показывающего прибора) мгновенной разности потенциалов между подземным сооружением и медно-сульфатным электродом сравнения в условиях влияния блуждающего постоянного тока заносят в протокол по форме Г.1.
Форма Г.1.
Протокол
измерений потенциала трубопровода при определении опасности постоянных
блуждающих токов
Наименование города _________________________________________________________
Вид подземного сооружения и пункта измерения __________________________________
Дата ________________________________________________________________________
Время измерения: начало ________________________, конец ________________________
Тип и номер прибора __________________________________________________________
Дата поверки прибора _________________________________________________________
Результаты измерений:
|
Интервал измерении |
Uизм В, для интервала |
|||||
|
0с |
10с |
20 с |
30 с |
40 с |
50 с |
|
|
0 мин |
|
|
|
|
|
|
|
1 мин |
|
|
|
|
|
|
|
2 мин |
|
|
|
|
|
|
|
3 мин |
|
|
|
|
|
|
|
4 мин |
|
|
|
|
|
|
|
5 мин |
|
|
|
|
|
|
|
6 мин |
|
|
|
|
|
|
|
7 мин |
|
|
|
|
|
|
|
8 мин |
|
|
|
|
|
|
|
9 мин |
|
|
|
|
|
|
|
10 мин |
|
|
|
|
|
|
Результаты камеральной обработки измерений
|
ΔU=Uизм-Uст |
Оценка опасности коррозии |
|
|
при Uизм наиболее отрицательном |
при Uизм наиболее положительном |
|
|
1 |
2 |
3 |
|
|
|
|
Измерения провел _________________________________
Д.1. Средства контроля и вспомогательные устройства
Вольтметры с внутренним сопротивлением не менее 1 МОм регистрирующие или показывающие с пределами измерений: 0,5 - 0 - 0,5 В; 1,0 - 0 - 1,0 В; 5,0 - 0 - 5,0 В или другими, близкими к указанным пределам.
Два медно-сульфатных электрода сравнения.
Д.2 Проведение измерений
Медно-сульфатные электроды располагают параллельно будущей трассе сооружения, а затем перпендикулярно к оси трассы.
Разность потенциалов на трассе проектируемого сооружения измеряют между двумя точками земли через каждые 1000м по двум взаимно перпендикулярным направлениям при разносе измерительных электродов на 100м для обнаружения блуждающих токов.
Показания вольтметра снимают через каждые 10 с в течение 10 мин в каждой точке.
Д.3. Обработка результатов измерений
Если измеряемое значение превышает (по абсолютной величине) 0,040 В или наибольший размах колебаний измеряемой величины (разность наибольшего и наименьшего значений) во времени превышает 0,040 В (в обоих случаях с учетом различия потенциалов между применяемыми электродами сравнения), то в данном пункте измерения регистрируют наличие блуждающих токов.
Д.4 Оформление результатов измерений
Результаты измерений заносят в протокол, содержащий следующие данные:
- место проведения измерений;
- схему трассы;
- погодные условия при проведении измерений;
- обозначение настоящего стандарта;
- дату проведения измерений;
- измеренные значения потенциалов;
- указание на наличие (отсутствие) блуждающих токов;
- фамилию, инициалы лица, проводившего измерения.
Е.1. Средства контроля и вспомогательные устройства
Милливольтметр с внутренним сопротивлением 1 Мом на 1В шкалы и пределами измерений: 1 -0- 1 мВ и 10 -0- 10 мВ.
Электроды стальные или свинцовые.
Е.2. Проведение измерений
Контакт измерительных проводников с броней (оболочкой) кабеля осуществляют при помощи стальных или свинцовых электродов.
Измеряют падение напряжения между двумя находящимися на некотором расстоянии друг от друга точками брони (оболочки) кабеля,
О направлении тока (при использовании стрелочного прибора) судят по отклонению стрелки милливольтметра от нуля шкалы, исходя из того, что стрелка милливольтметра отклоняется в сторону зажима, имеющего более высокий потенциал.
Е.3. Обработка результатов измерений
Среднюю силу тока Iср.о6., А, протекающего по кабелю (оболочке и броне), вычисляют по формуле
(Е.1.)
где ΔVср. - среднее падение напряжения на соединенных между собой броне и оболочке (на голой свинцовой оболочке), В;
R - сопротивление одного метра свинцовой оболочки или соединенных между собой свинцовой оболочки и брони, Ом/м;
Iоб. - расстояние между точками измерения, м.
Е.4. При проведении строительных работ, монтаже и ремонте муфт ток, протекающий по оболочке и броне кабеля, измеряют непосредственным включением амперметра в разрыв оболочки и брони.
Е.5. Оформление результатов измерений - по Д.4. приложения Д.
Ж.1. Образцами для измерения являются участки стальных трубопроводов, на которых зафиксировано напряжение переменного тока между трубопроводом и землей, превышающее 0,3 В при отключенной катодной станции.
Ж.2. Средства контроля и вспомогательные устройства
Вольтметр постоянного и переменного тока с входным сопротивлением не менее 1 МОм любого типа. Миллиамперметр переменного тока любого типа на 10 - 50 мА. Конденсатор емкостью 4 мкФ.
Электрод сравнения медно-сульфатный насыщенный переносной.
Электрод вспомогательный из стальной пластинки размером 25×25 мм, одна сторона которой изолирована (неизолированная сторона - рабочая).
Шкурка шлифовальная по ГОСТ 6456.
Ткань любая мягкая чистая (например, бязь).
Ж.3. Подготовка к измерениям
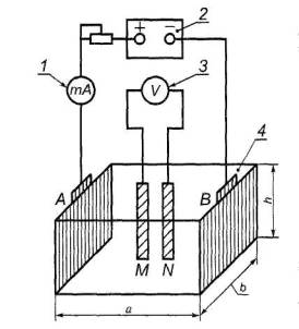
Ж.3.1. Над трубопроводом или в максимальном приближении к нему в месте отсутствия дорожного покрытия делают шурф глубиной от 300 до 350 мм и диаметром от 180 до 200 мм. Из взятой со дна шурфа части грунта удаляют твердые включения размером более 3 мм. На выровненное дно шурфа насыпают слой такого грунта, не содержащего твердые включения, и уплотняют.
Рабочую поверхность вспомогательного электрода (В.Э.) зачищают шлифовальной шкуркой по ГОСТ 6456 зернистостью 40 и меньше и насухо протирают тканью.
Затем укладывают на дно шурфа вспомогательный электрод (В.Э.) рабочей поверхностью вниз и засыпают грунтом на высоту 60-80мм от дна шурфа. Грунт над В.Э. утрамбовывают с усилием от 3 до 4 кг на площадь В.Э. Сверху устанавливают переносной медно-сульфатный электрод сравнения. При наличии атмосферных осадков предусматривают меры против попадания влаги в грунт.
Ж.3.2. Собирают схему измерений, приведенную на рисунке Ж.1., при разомкнутой цепи между В.Э. и трубопроводом.

1 - трубопровод; 2 - датчик потенциала; 3 – переносной медно-сульфатный электрод сравнения; 4 - шурф; 5-вольтметр; 6 - конденсатор; 7 -выключатель; 8 - миллиамперметр переменного тока
Рисунок Ж.1. - Схема измерений опасного влияния переменного тока на подземный стальной трубопровод
Ж.4. Проведение измерений
Ж.4.1. Измерения выполняют в следующей последовательности:
- через 10 мин. после установки В.Э. в грунт измеряют его стационарный потенциал относительно медно-сульфатного электрода сравнения;
- подключают В.Э. к трубопроводу, выдерживают 10 мин., после чего снимают показания вольтметра и миллиамперметра через каждые 10с. Продолжительность измерения не менее 10 мин.
Ж.5. Обработка результатов измерений
Ж.5.1. Среднеарифметическое смещение потенциала ΔUср, мВ, В.Э. за период измерений вычисляют по формуле
(Ж.1.)
где
- сумма мгновенных значений потенциала
В.Э. при подключении В.Э к трубопроводу, мВ;
Ест. - стационарный потенциал В.Э, мВ;
n - число измерений,
Ж.5.2 Среднюю плотность переменного тока i~, мА/ см2, вычисляют по формуле
(Ж.2.)
где I~ср - среднеарифметическое значение силы переменного тока за время измерений, мА;
6,25 - площадь В.Э, см2
Ж.6 Оформление результатов измерений
Результаты измерений потенциалов и расчетов смещения потенциала заносят в протокол по форме Ж.1, а измерений силы тока и расчета плотности тока - в протокол по форме Ж.2, Данные могут быть на любом носителе (бумажном или электронном).
Форма Ж.1
Протокол
измерений смещения потенциала трубопровода
при определении опасного влияния переменного тока
Наименование города_________________________________________________________
Вид подземного сооружения и пункта измерения_________________________________
Дата «____»___________ ___г.
Время измерения: начало__________________ , окончание_________________________
Тип и заводской номер прибора_____________ ,дата поверки______________________
Измеренное значение стационарного потенциала вспомогательного электрода (В.Э) относительно медно-сульфатного электрода сравнения_________________________________________________
Результаты измерений:
|
Интервал измерении |
Up мВ, для интервала |
|||||
|
0с |
10с |
20 с |
30 с |
40 с |
50 с |
|
|
0 мин |
|
|
|
|
|
|
|
1 мин |
|
|
|
|
|
|
|
2 мин |
|
|
|
|
|
|
|
3 мин |
|
|
|
|
|
|
|
4 мин |
|
|
|
|
|
|
|
5 мин |
|
|
|
|
|
|
|
6 мин |
|
|
|
|
|
|
|
7 мин |
|
|
|
|
|
|
|
8 мин |
|
|
|
|
|
|
|
9 мин |
|
|
|
|
|
|
Результаты камеральной обработки измерений
|
Число измерений |
Сумма мгновенных значений потенциала |
Среднее значение потенциала |
Среднее значение смещения |
|
1 |
2 |
3 |
4 |
|
|
|
|
|
Оценка опасности коррозии под действием переменного тока ______________________________________________________ опасно, неопасно
Измерения провел ____________________ Проверку провел _________________________
Обработку данных провел ______________________________________________________
Форма Ж.2
Протокол
измерений плотности переменного тока при определении опасного влияния
переменного тока
Наименование города _________________________________________________________
Вид подземного сооружения и пункта измерения __________________________________
Дата __________________________________________
Время измерения: начало______________ , конец_______________
Тип и номер прибора_________________ , дата поверки ______________________
Результаты измерений мгновенной силы переменного тока:
|
Интервал измерений |
I~, мА, для интервала |
|||||
|
0с |
10с |
20 с |
30 с |
40 с |
50 с |
|
|
0 мин |
|
|
|
|
|
|
|
1 мин |
|
|
|
|
|
|
|
2 мин |
|
|
|
|
|
|
|
3 мин |
|
|
|
|
|
|
|
4 мин |
|
|
|
|
|
|
|
5 мин |
|
|
|
|
|
|
|
6 мин |
|
|
|
|
|
|
|
7 мин |
|
|
|
|
|
|
|
8 мин |
|
|
|
|
|
|
|
9 мин |
|
|
|
|
|
|
Результаты камеральной обработки измерений
|
Число измерений |
Сумма мгновенных значений силы переменного тока I~, мА |
Среднее значение силы переменного тока I~ср, мА |
Среднее значение плотности переменного тока i~, мА/см2 |
|
1 |
2 |
3 |
4 |
|
|
|
|
|
Оценка опасности коррозии под действием переменного тока. ________________________
опасно, неопасно
Измерение провел ___________________________ Проверку провел ___________________
Обработку результатов провел_________________________
И.1. Метод А. Определение адгезии ленточных покрытий и покрытий из экструдированного полиэтилена
Метод предназначен для измерения адгезии покрытия на новых трубах и уложенных в грунт трубопроводах. Сущность метода заключается в определении нагрузки, при которой отслаивается под углом 90° полоса покрытия шириной(10±1)мм.
И.1.1 Средства контроля и вспомогательные устройства
Динамометр с ценой деления не более 1,0Н (0,1 кгс) или цифровой адгезиметр типа АМЦ 2-20.
Инструменты и приспособления для прорезания и отслаивания от трубы полосы полимерного покрытия (зубило, молоток, нож и зажимная скоба).
Штангенциркуль типа ШЦ-2/0-250.
Секундомер СОС пр-25-2-000 «Агат» 4295В.
Линейка измерительная металлическая по ГОСТ 427.
Термометр метеорологический по ГОСТ 112.
УгломерУНО-180° по ГОСТ 5378 либо треугольник с прямым углом.
И.1.2 Образцы для испытаний
В качестве образцов для испытаний используют образцы труб с покрытием или отшурфованные участки уложенных в грунт трубопроводов.
Число образцов труб - по НД на покрытие; количество испытуемых участков на трубопроводе соответствует количеству шурфов.
И.1.3 Подготовка к измерениям
И.1.3.1. На каждом испытуемом участке трубопровода или трубы размечают и прорезают до металла в покрытии по окружности трубы по две полосы шириной (10±1)мм и длиной не менее 150 мм на расстоянии не менее 5 мм друг от друга (рисунок И.1).
И.1.3.2. Выполняют контрольные измерения ширины каждой полосы в трех точках.
И.1.3.3. Верхний конец полосы покрытия отслаивают от металла трубы с помощью инструмента. Длина отслоенной полосы должна быть не менее 30 мм.
И.1.3.4. Выравнивают температуру трубы с покрытием до температуры измерений (20±5)°С подогревом горелкой или охлаждением водой.
Примечание: Зависимость адгезии покрытия от температуры устанавливают в НД на покрытие.
И.1.4. Проведение измерений
И.1.4.1. На свободном конце полосы, подготовленной согласно И.1.3.1, закрепляют зажим и устанавливают динамометр таким образом, чтобы отслоенная полоса покрытия находилась под углом 90° к поверхности трубы.
И.1.4.2. Отмечают участки длиной (100±1)мм на прорезанной до металла полосе и на краях ненарушенного покрытия. С помощью приспособления отслаивают участок покрытия со скоростью 10-20мм/мин и через каждые (60±5)c регистрируют усилие отслаивания.
Визуально определяют характер разрушения:
- адгезионный - обнажение до металла;
- когезионный - отслаивание по подклеивающему слою или по грунтовке;
- смешанный - совмещение адгезионного и когезионного характеров разрушений.

1 - защитное покрытие; 2 - металлическая подложка (труба)
Рисунок И.1 - Образец трубы для испытания адгезии покрытия на отслаивание
И.1.5 Обработка результатов измерений
И.1.5.1. Для каждого участка полосы адгезию Gi, Н/см, при отслаивании вычисляют по формуле
(И.1.)
где F-среднее усилие отслаивания на i-м участке, Н, вычисляемое по формуле
(И.2.)
Fi - усилие, фиксируемое через каждые (60±5) с измерения, Н;
п - число измерений в ходе испытания;
В - среднеарифметическое значение ширины полосы (И.1.3.2).
За результат испытаний принимают среднеарифметическое значение адгезии Gcp, Н/см, двух параллельных измерений, расхождение между которыми не должно превышать 10%.
И.1.5.2. Адгезию при отслаивании для каждой испытуемой трубы оценивают как удовлетворительную, если Gcp ≥ GНД, где GНД - значение адгезии, Н/см, нормируемое по НД.
Если Gcp менее GНД, испытания повторяют на удвоенном количестве мест трубопровода.
Если повторно получают Gcp менее GНД, то покрытие оценивают как не удовлетворяющее требованиям НД по показателю адгезии при отслаивании.
И. 1.6 Результаты измерений заносят в протокол по форме И.1.
Форма И.1
_______________________________________________
наименование организации
Протокол определения адгезии ленточных и полимерных покрытий
Тип и конструкция защитного покрытия _________________________________________
|
Дата измерения |
Номер партии труб, номер шурфа на трубопроводе |
Номер измерения |
Среднее усилие отслаивания F, Н (кгс) |
Ширина отслаиваемой полосы Д см |
Среднее значение адгезии Gcp, Н/см |
Характер разрушения |
|
|
|
1 |
|
|
|
|
|
|
|
2 |
|
|
|
|
Адгезия партии труб (участка трубопровода) _______________________________________
соответствует, не соответствует требуемому значению
__________________________________ ______________ ___________________
должность лиц, проводивших измерения личная подпись расшифровка подписи
И.2 Метод Б, Определение адгезии мастичных битумных покрытий
Метод предназначен для измерения адгезии мастичных битумных покрытий на новых трубах и уложенных в грунт трубопроводах и установления соответствия ее требованиям НД. Сущность метода заключается в определении нагрузки, при которой участок покрытия площадью 100 мм2 (1 см2) сдвигается адгезиметром.
И.2.1 Средства контроля и вспомогательные устройства
Адгезиметр типа УКАП-100.
Инструменты и приспособления для прорезания и снятия битумного покрытия с поверхности трубы.
Линейка измерительная металлическая по ГОСТ 427.
Термометр метеорологический по ГОСТ 112.
И.2.2 Образцы для испытаний и их число - по И.1.2.

1 - испытуемое покрытие; 2 - образец покрытия для сдвига; 3 - площадь без покрытия
Рисунок И 2. - Схема проведения надреза для сдвига образца покрытия
И.2.3 Подготовка и проведение измерений
И.2.3.1. На каждом отшурфованном участке трубопровода или на трубе размечают и вручную делают надрез до металла в испытуемом покрытии (рисунок И.2) размером 10×10 мм.
И.2.3.2. Вокруг надреза полностью снимают покрытие размером 30×35 мм для измерения усилия сдвига с применением адгезиметра.
И.2.3.3. Перед измерением адгезии выравнивают подогревом горелкой или охлаждением водой температуру трубы с покрытием до (20±5)°С.
И.2.3.4. Устанавливают адгезиметр на защитное покрытие так, чтобы передвижная грань ножа прибора находилась против торцовой плоскости образца 2, и проводят измерение в соответствии с инструкцией по эксплуатации прибора.
И.2.4. Обработка результатов измерений
И.2.4.1. Адгезию мастичного битумного покрытия оценивают усилием сдвига образца покрытия площадью 100 мм2 (1 см2).
И.2.4.2. За результат измерения адгезии мастичного битумного покрытия принимают среднеарифметическое значение трех измерений с погрешностью не более 0,01 Мпа (0,1 кгс/см2) в трех точках, отстоящих друг от друга не менее чем на 0,5м.
И.2.5. Результаты измерений заносят в протокол по форме И.2.
Форма И.2
________________________________________________
наименование организации
Протокол определения адгезии мастичных покрытий
Тип и
конструкция защитного покрытия___________________________________________
Диаметр трубы (трубопровода) _____________________________________________________
|
Дата измерения |
Номер партии труб, номер шурфа на трубопроводе |
Номер измерения |
Усилие сдвига образца, МПа (кгс/см2) |
Значение адгезии, МПа (кгс/см2) |
|
|
|
1 |
|
|
|
|
|
2 |
|
|
|
|
|
3 |
|
|
Адгезия партии труб (участка трубопровода)._______________________________________
соответствует, не соответствует требуемому значению
__________________________________ _______________ ____________________
должность лиц, проводивших измерения ......... личная подпись расшифровка подписи
Метод предназначен для проведения испытаний по изменению адгезии покрытия к стали после выдержки в водопроводной воде в течение 1000ч и установления соответствия ее требованиям НД.
К.1. Средства контроля и вспомогательные устройства
Нож.
Бумага фильтровальная по ГОСТ 12026.
Скоба зажимная.
Адгезиметр типа АМЦ 2-20 или другой с ценой деления 1,0 Н (0,1 кгс).
Термостат марки ТС-16А.
Емкость стальная с внутренним антикоррозионным покрытием (например, эмалевым) или из нержавеющей стали рабочим объемом не менее 5 дм3.
К.2 Проведение испытаний
К.2.1. Для проведения испытаний отбирают катушки длиной 150 мм из труб с покрытием.
К.2.2. Условия проведения испытаний: время испытаний - 1000ч; температура – плюс (20±2)°С.
К.2.3. На каждой катушке покрытие надрезают до металла по всему периметру трубы в виде трех полос шириной 20 мм. Каждую полосу покрытия поперечно надрезают и на ее конце отслаивают участок длиной, достаточной для зацепления зажимной скобы.
К.2.4. На одной полосе адгезиметром измеряют прочность связи покрытия с поверхностью стальной трубы.
К.2.5. В емкость заливают водопроводную воду, катушки труб помещают в термостат и выдерживают в течение 1000ч при температуре (20±2)°С, поддерживая уровень воды выше прорезанных полос.
Затем катушки извлекают из воды, удаляют с поверхности влагу фильтровальной бумагой и выдерживают при комнатной температуре в течение 24ч. Измеряют прочность связи покрытия с поверхностью стальной трубы по приложению И (метод А).
К.3 Обработка и оформление результатов испытаний - по И.1.5 и И.1.6.
Метод предназначен для проведения типовых испытаний на устойчивость покрытий к отслаиванию при катодной поляризации.
Л.1 Образцами для испытаний являются покрытия, нанесенные на внешнюю поверхность труб (размерами не менее: диаметр 76 мм, длина 150 мм) в промышленных условиях.
Л.2 Средства контроля и вспомогательные устройства
Вольтметр постоянного тока с внутренним сопротивлением не менее 10 МОм и диапазоном измерений от 0,01 до 5,0В.
Электрод сравнения стандартный медно-сульфатный или хлорсеребряный по ГОСТ 17792.
Провода монтажные с изоляцией для электроустановок или аналогичные им.
Выключатель электрический.
Анод активный - стержень из магния чистотой 99% или анод инертный - платиновая проволока по ГОСТ 10821 или графитовый стержень.
Источник постоянного тока или выпрямитель переменного тока (для измерений с помощью инертного анода).
Реостат (для измерений с помощью инертного анода).
Резистор с сопротивлением 1 Ом (для измерений с помощью инертного анода).
Скальпель.
Дистиллированная вода по ГОСТ 6709.
Электролит: раствор сернокислого натрия, хлористого натрия и углекислого натрия в дистиллированной воде 3%-ный (однопроцентный раствор по каждому компоненту).
Токонепроводящий водостойкий герметик, например изоляционная битумная мастика.
Л.3. Подготовка к измерениям
Л..3.1. В центре образца в защитном покрытии сверлят цилиндрическое отверстие диаметром в три раза больше толщины покрытия, но не менее 6 мм. Металл трубы не должен быть перфорирован. Поверхность металла в отверстии обезжиривают спиртом.
Торцы трубы (рисунки Л.1. и Л.2.) герметизируют токонепроводящим герметиком так, чтобы электролит не проникал к внутренней незащищенной поверхности трубы. Предварительно к концу каждой трубы прикрепляют провод для электрического контакта с образцом.

1-емкость; 2-испытуемый образец; 3 - электролит; 4 -магниевый анод; 5 - вольтметр; 6 - электрод сравнения
Рисунок Л.1 - Схема проведения испытания с применением магниевого анода

1-емкость; 2-испытуемый образец; 3 - электролит; 4 – инертный анод; 5 и 8 - вольтметры; 6 - эталонное сопротивление; 7 - реостат; 9 - электрод сравнения
Рисунок Л.2 - Схема проведения испытания с применением инертного анода
Три испытуемых образца труб 2 помещают вертикально, симметрично центру, в плоскодонную емкость 1 с электролитом 3. В центре емкости размещают анод 4.
Площадь поверхности образца покрытия, находящейся в контакте с электролитом, - не менее 358 см2, расстояние между образцами и анодом - не менее 38 мм. При этом образец поврежденной стороной обращают в сторону анода.
Для проведения испытаний собирают электрическую схему в соответствии с рисунком Л.1 при применении магниевого анода и Л.2 - при применении инертного анода.
При применении магниевого анода: образец с помощью проводов соединяют с магниевым анодом, как показано на рисунке Л.1, и устанавливают на нем потенциал в пределах от минус 1,45 до минус 1,55В по медно-сульфатному электроду сравнения 9, что соответствует приблизительно минус 1,4В по хлорсеребряному электроду сравнения. Измерение установившегося потенциала на образце проводят с помощью электрода сравнения и высокоомного вольтметра постоянного тока 5.
При испытании с инертным анодом собирают схему в соответствии с рисунком Л.2. Образец 2 подключают к отрицательному полюсу источника тока. Инертный анод 4 соединяют последовательно с эталонным сопротивлением 6 (1 Ом), реостатом 7 и положительным полюсом источника тока. Вольтметр 5 подключают параллельно эталонному сопротивлению 6. Управляя реостатом 7 устанавливают по показаниям вольтметра 8 потенциал на образце минус (1,5±0,05)В, затем вольтметр 5 отключают и фиксируют время начала испытаний.
Л.4. Проведение измерений
Л.4.1. Образцы выдерживают в растворе электролита под действием наложенного катодного тока в течение 30 дней при температуре от 18°С до 22°С или при повышенной температуре, например при 40°С, 60°С. Выбор повышенной температуры испытаний определяется максимальной температурой эксплуатации покрытия.
Испытания при повышенной температуре проводят путем подогревания испытательной ячейки на электроплитке и поддержания требуемой температуры. Уровень электролита при этом контролируют не реже одного раза в сутки.
Л.4.2. Периодически через каждые 7 дней проводят замену раствора электролита. Для этого подачу напряжения на образцы прекращают, электролит выливают, емкость и образцы промывают дистиллированной водой, заливая ее 2-3 раза и взбалтывая. Затем заливают свежий электролит.
Л.4.3 По окончании испытаний образец с покрытием демонтируют, промывают водой и вытирают ветошью. Площадь отслоившегося участка покрытия оголяют, осторожно поддевая и срезая покрытие скальпелем.
Л.4.4. Для жестких покрытий толщиной более 1,2 мм допускается нагревание покрытия выше температуры размягчения с последующим полным удалением покрытия с металла. За площадь отслаивания покрытия в этом случае принимают площадь, ограниченную контуром изменения цвета металла с серого на более тёмный.
Л.5 Обработка результатов измерений
Площадь отслаивания переводят на кальку, затем вычисляют методом взвешивания. Для этого переносят кальку указанной площади на плотную бумагу с известной массой единицы площади. Площадь отслаивания S, см2, вычисляют по формуле
S = m/m (Л.1)
где m - масса бумаги площадью, равной площади отслаивания, г;
m1 - масса 1 см2 бумаги (определяют как среднеарифметическое значение масс 10 образцов, каждый площадью 1 см2, вырезанных по диагонали листа бумаги), г/см2.
За значение площади отслаивания данного покрытия при катодной поляризации принимают среднеарифметическое значение результатов измерений на трех образцах испытуемого покрытия, вычисляемое с точностью до 0,5 см.
Л.6 Оформление результатов измерений
Результаты измерений заносят в протокол по форме Л.1
Форма Л.1
Протокол
определения площади отслаивания покрытий при поляризации катодным током
Конструкция и тип защитных покрытий_________________________________
Форма образцов_____________________________________________________
Анод_______________________________________________________________
Диаметр наносимого повреждения в покрытии, мм_______________________
Разрешенная предельная площадь отслаивания:
при температуре _______________°С____________________
_______________°С____________________
Результаты измерений:
|
Дата испытаний |
Номер партии, участок трубопровода |
Номер измерения |
Температура испытания, °С |
Продолжительность выдержки в электролите, сут |
Площадь отслаивания, см2 |
|
1 |
2 |
3 |
4 |
5 |
6 |
|
|
|
|
|
|
|
|
|
|
|
|
|
|
|
|
|
|
|
|
|
|
Средняя площадь отслаивания |
|
||||
Площадь отслаивания при катодной поляризации партии образцов____________________
______________________________________________________________________________________
соответствует, не соответствует требуемому значению
__________________________________ _________ ___________________
Должность лиц, проводивших измерение подпись расшифровка подписи
Дата
Метод предназначен для проведения типовых испытаний или оценки защитной способности покрытия на новых трубах, а также на уложенных в грунт трубопроводах (в местах шурфования) при температуре свыше 0°С.
М.1 Средства контроля и вспомогательные устройства
Тераомметр типов Е6-14, Е6-13А по ГОСТ 22261 с диапазоном измерений от 1·104 до 1·1014 Ом или мегомметр.
Электрод-бандаж из оцинкованного стального листа толщиной 0,5 мм, шириной 0,4м, длиной L, равной πD+0,1, где D - диаметр трубы, м.
Полотенце из хлопчатобумажной ткани размером не менее размера электрода-бандажа.
Натрий сернокислый (Na2SO4) по ГОСТ 4166, 3%-ный раствор.
Дефектоскоп искровой типа Крона 1р или другой с аналогичными параметрами.
Толщиномер любого типа с погрешностью измерения: ±50 мкм - для покрытий толщиной до 1,0 мм; ±100 мкм - для покрытий толщиной более 1,0 мм.
Провода соединительные по ГОСТ 6323 или аналогичные.
Источник постоянного тока - система электрических батарей по ГОСТ 2583 или аналогичные с общим напряжением не менее 30В.
Вольтметр высокоомный типа ЭВ-2234 по ГОСТ 8711.
Миллиамперметры по ГОСТ 8711.
Резистор (реостат) любого типа.
М.2 Образцы для испытаний
М.2.1. В качестве образцов для испытаний используют образцы, отрезанные от трубы, или непосредственно трубы, уложенные в грунт.
М.2.2. Количество параллельных образцов для заданных условий испытаний - не менее трех.
Толщина и диэлектрическая сплошность образцов должны соответствовать требованиям НД на испытуемое покрытие. Образцы с дефектами покрытия к испытаниям не допускаются.
М.2.3. Количество испытуемых участков на трубопроводе определяет количество шурфов.

1 - стенка
трубы; 2 - контакт с трубой; 3 - экранирующие кольцевые электроды-бандажи;
4 - кольцевой электрод-бандаж;
5 - тканевое полотенце; 6 - изоляционное покрытие трубы;
7 - тераомметр или мегомметр с
клеммами З, Л, Э
Рисунок М.1. - Схема измерения переходного электрического сопротивления изоляционного покрытия на трубах методом «мокрого контакта»
М.3. Проведение испытаний
М.3.1. Переходное электрическое сопротивление покрытия (рисунок М.1.) на новых трубах измеряют методом «мокрого контакта» с применением тераомметров или мегомметров. На поверхность покрытия трубы (или образца, отрезанного от трубы) по периметру накладывают тканевое полотенце, смоченное 3%-ным раствором сернокислого натрия, затем на полотенце накладывают металлический электрод-бандаж шириной не менее 0,4м и плотно стягивают его болтами или резиновыми лентами. Для исключения влияния поверхностной утечки тока через загрязненную или увлажненную поверхность изоляционного покрытия дополнительно по обе стороны накладывают два экранирующих электрода-бандажа шириной не менее 0,05м, так чтобы они не контактировали с грунтом.
Для измерения подключают клемму Л (линия) тераомметра к электроду-бандажу 4, клемму 3 (земля) – к металлу трубы 1, клемму Э (экран) – к экранирующим кольцевым электродам-бандажам 3.
М.3.2. При измерении переходного электрического сопротивления покрытия на эксплуатирующихся подземных трубопроводах в местах шурфования (рисунок М.2.) на поверхность покрытия трубопровода, очищенную от грунта не менее чем на 0,8м по его длине, по периметру накладывают тканевое полотенце, смоченное 3%-ным раствором сернокислого натрия, на полотенце накладывают металлический электрод-бандаж шириной не менее 0,4м и плотно стягивают его болтами или резиновыми лентами. Для исключения влияния поверхностной утечки тока через загрязненную или увлажненную поверхность изоляционного покрытия дополнительно по обе стороны накладывают два экранирующих электрода-бандажа шириной не менее 0,05м, так чтобы они не контактировали с грунтом.
Резистором устанавливают рабочее напряжение 30В и снимают показания амперметра и вольтметра.
Допускается измерять переходное электрическое сопротивление покрытия на уложенных в грунт трубопроводах мегомметром, например марки М 1101, при этом измерения проводят, как указано на рисунке М.1.
Если нет необходимости повреждать покрытие (например, для измерения адгезии), клемму 3 замыкают не на оголенный участок трубы, а на стальной штырь, вбитый в грунт рядом с трубопроводом.

1 - контакт с трубой; 2 - экранирующие кольцевые электроды-бандажи; 3 - кольцевой электрод-бандаж; 4 - тканевое полотенце; 5 - изоляционное покрытие трубы; 6 - стенка трубы; Е - источник постоянного тока; R - потенциометр; V - высокоомный вольтметр; mА - миллиамперметр
Рисунок М.2 - Схема измерения переходного электрического сопротивления изоляционного покрытия методом «мокрого контакта» на уложенных в грунт трубопроводах (в шурфах)
М.4 Обработка результатов испытаний
М.4.1. Переходное электрическое сопротивление изоляционного покрытия на новых трубах Rпер.1, Ом·м2, вычисляют по формуле
Rпер.1 = R1S1. (М.1)
где R1 - показания тераомметра или мегомметра, Ом;
S1 - площадь электрода-бандажа, имеющего контакт с изоляционным покрытием, м2.
М.4.2 Переходное электрическое сопротивление покрытия Rпер.2, Ом·м2, на уложенных в грунт трубопроводах вычисляют по формуле:
(М.1.)
где Vпокр - падение напряжения между трубопроводом и бандажом (по показаниям вольтметра), В;
Iпокр - сила тока в цепи, А;
S2 - площадь электрода-бандажа, имеющего контакт с изоляционным покрытием трубопровода, м2.
Покрытие считают выдержавшим испытания, если переходное электрическое сопротивление соответствует указанному в таблице 7 настоящего стандарта.
М.5 Оформление результатов испытаний
М.5.1. Результаты испытаний для новых труб оформляют в виде протокола, в котором указывают:
- наименование предприятия-изготовителя и его адрес;
- номер партии труб с покрытием;
- дату изготовления труб с покрытием;
- результаты определения среднего значения переходного электрического сопротивления покрытия;
- должность, фамилию, подпись лица, проводившего испытания;
- дату испытаний.
М.5.2. Результаты измерений переходного электрического сопротивления покрытия на уложенных в грунт трубопроводах заносят в протокол по форме М.1.
Форма М.1
_____________________________________________
наименование организации
Протокол
определения переходного электрического
сопротивления покрытий методом «мокрого контакта» на уложенных в грунт трубопроводах
Наименование трубопровода, его протяженность ___________________________________
Участок трубопровода (номер шурфа) ____________________________________________
|
Дата |
Номер шурфа |
Диаметр трубы, м |
Падение напряжения (по показаниям вольтметра) Vпокр, В |
Сила тока в цепи Iпокр, А |
Площадь электрода-бандажа, контактирующего с трубой S2, м2 |
Значение переходного электрического сопротивления покрытия Rпер2, Ом·м2 |
|
|
|
|
|
|
|
|
|
|
|
|
|
|
|
|
|
|
|
|
|
|
|
|
Переходное электрическое сопротивление покрытия трубопровода ______________________
соответствует, не соответствует
требуемому значению
__________________________________ _____________ ____________________
должность лиц, проводивших измерения личная подпись расшифровка подписи
Метод предназначен для проведения испытания полимерных материалов и покрытий на их основе по показателю сопротивления вдавливанию и установления соответствия их требованиям настоящего стандарта.
Сущность метода заключается в определении сопротивления прессованного материала или покрытия вдавливанию (пенетрации) при нагрузке 10Н/мм2.
Н.1. Образцы для испытаний
Образцами для испытаний являются пластины прессованного материала по ГОСТ 16336 размером 150×150 мм, толщиной не менее 2 мм или образцы покрытия (свидетели) по НД на эти покрытия с гладкой ровной поверхностью без вздутий, сколов, трещин, раковин и других дефектов.
Н.2 Средства контроля и вспомогательные устройства
Толщиномер изоляции
Электрошкаф сушильный лабораторный типа СНОЛ 3,5.3,5.3,5/3М или другой аналогичный с точностью регулирования температуры ±2°С (или водный термостат с терморегулятором).
Термометр метеорологический по ГОСТ 112.
Стержень металлический диаметром (1,8±0,1)мм общей массой (250±20)г.
Дополнительный груз массой (2250±0) г.
Индикатор часового типа ИЧ1ОМД по НД с ценой деления 0,01.
Часы механические.
Металлическая подложка размером 150×150мм (размеры жестко не нормируются) или образец покрытия на стальной подложке.
Линейка измерительная металлическая по ГОСТ 427.
Н.3 Подготовка к испытанию
Н.3.1. Образцы испытывают не ранее чем через 16ч после прессования или нанесения покрытия.
Н.3.2. Устанавливают переключатель электрошкафа в положение, соответствующее температуре испытания 20°С или 40°С.
Н.3.3. Устанавливают образец на металлическую подложку и выдерживают при температуре (20±2)°С или (40±2)°С в течение не менее 60 мин.
Н.4. Проведение испытаний
Н.4.1. На испытуемый образец устанавливают стержень и через 5с на индикаторе устанавливают нулевое значение, после чего добавляют груз массой 2250г.
Н.4.2. Через 24ч снимают со шкалы индикатора показания глубины вдавливания с точностью до 0,01 мм.
Н.4.3. Испытания выполняют в трех точках образца, расстояние между которыми не менее 30 мм.
Н.5. Обработка результатов испытаний
Н.5.1. Значение сопротивления вдавливанию Рср, мм, для каждого образца вычисляют по формуле
(Н.1.)
где Pi- значение сопротивления вдавливанию для i-й точки, мм;
n - количество испытанных точек.
Н.5.2/ Сопротивление вдавливанию оценивают как удовлетворительное, если
Рср ≤ Рн (Н.2.)
где Рн - нормируемое значение сопротивления вдавливанию по настоящему стандарту.
Н.5.3. Если Рср>Рн, испытания проводят на удвоенном количестве образцов. Результаты повторных испытаний считают окончательными.
Н.6. Оформление результатов испытаний
Результаты испытаний оформляют протоколом, в котором указывают:
- марку материала и номер партии;
- сопротивление вдавливанию, мм;
- фамилию, имя, отчество, подпись и должность лиц, проводивших испытания;
- дату проведения испытания.
П.1. Характеристики покрытий и условия их нанесения приведены в таблице П.1.
Таблица П.1
|
Условия нанесения покрытия |
Конструкция (структура) защитного покрытия |
Толщина покрытия, мм |
Способ прокладки теплопровода |
Вид теплоизоляции |
Максимально допустимая температура теплоносителя, ºС |
|
Базовые |
Силикатно-эмалевое (два слоя эмали марки 155Т или марки МК-5, оплавленной при температуре 800ºС) |
0,5 для труб диаметром до 159 мм включ.; 0,6 для труб диаметром св. 159 мм |
Подземный в каналах и бесканальный |
Все виды тепловой изоляции |
300 |
|
Алюмокерамическое (один слой покрытия плазменного нанесения из смеси порошкового алюминия марки ПА-4 (85%) и ильменитового концентрата (15%) |
Не менее 0,25 |
То же |
Все виды тепловой изоляции, рН водной вытяжки которой от 2,5 до 10,5 |
300 |
|
|
На основе метализационного алюминия с пропиткой кремнийорганическими красками (два слоя алюминия, один слой краски) |
Не менее 0,25 |
» |
Все виды тепловой изоляции, рН водной вытяжки которой от 4,5 до 9,5 |
150 |
|
|
Органосиликатное марки ОС-51-03 (с термообработкой при температуре 200ºС |
Не менее 0,25 |
Подземный в каналах |
Все виды тепловой изоляции |
180 |
|
|
Трассовые |
Органосиликатное марки ОС-51-03 с отвердителем1) |
Не менее 0,45 |
Подземный в каналах |
Все виды тепловой изоляции |
150 |
|
Эпоксидное (три слоя эпоксидной эмали марки ЭП-969)1) |
Не менее 0,1 |
То же |
Все виды подвесной тепловой изоляции |
150 |
|
|
Кремнийорганическое (три слоя кремнийорганической краски)1) |
Не менее 0,25 |
» |
То же |
150 |
|
|
1)Применяют при ремонте теплопроводов, а также для изоляции стыков и мест присоединений. |
|||||
P.1. Метод измерений поляризационных потенциалов на подземных стальных трубопроводах
Р.1.1. Поляризационные потенциалы Е на подземных стальных трубопроводах измеряют с помощью датчиков потенциала на специально оборудованных стационарных контрольно-измерительных пунктах двумя методами:
метод 1 - при помощи стационарного медно-сульфатного электрода сравнения длительного действия и датчика поляризационного потенциала (рисунок Р.1);
метод 2 - при помощи датчика поляризационного потенциала и переносного медно-сульфатного электрода сравнения.
Р.1.2. Образцами для измерений являются участки трубопроводов, расположенные в зоне действия средств электрохимической защиты.
Р.1.3. Средства контроля и вспомогательные устройства
Приборы для измерений потенциала любого типа со встроенным прерывателем тока поляризации датчика.
Электрод сравнения медно-сульфатный длительного действия стационарный с датчиком потенциала.
Электрод сравнения переносной медно-сульфатный.
Труба асбоцементная диаметром от 100 до 120 мм для установки переносного медно-сульфатного электрода сравнения.
Датчик потенциала в виде стальной пластины размером 25×25 мм, изолированной с одной стороны мастикой. Датчик крепят на корпусе стационарного медно-сульфатного электрода сравнения (рисунок Р.1.) или на асбоцементной трубе.
Оборудование стационарных контрольно-измерительных пунктов:
- для проведения измерений по методу 1 стационарный медно-сульфатный электрод сравнения длительного действия с датчиком потенциала устанавливают так, чтобы дно корпуса медно-сульфатного электрода сравнения и датчик находились на уровне нижней образующей трубопровода и на расстоянии 100 мм от его боковой поверхности. Плоскость датчика располагают перпендикулярно к оси трубопровода. Если трубопровод проложен выше уровня промерзания грунта, то медно-сульфатный электрод сравнения устанавливают так, чтобы дно его корпуса находилось на расстоянии от 100 до 150 мм ниже максимальной глубины промерзания грунта. Проводники от трубы, медно-сульфатного электрода сравнения и датчика подсоединяют к клеммам (выводам проводников), как указано на рисунке Р. 1.

1 - трубопровод; 2 - контрольные проводники; 3 - прибор со встроенным прерывателем тока поляризации датчика с клеммами: С - для подключения сооружения (трубопровода), И.Э - электрода сравнения, В.Э - датчика потенциала; 4 - стационарный медно-сульфатный электрод сравнения; 5--датчик потенциала
Рисунок Р.1-Схема измерения поляризационного потенциала на стационарных контрольно-измерительных пунктах
При использовании прибора со встроенным прерывателем тока поляризации датчика проводники присоединяют в соответствии с инструкцией по эксплуатации прибора;
- для проведения измерений по методу 2 асбоцементную трубу с закрепленным на ней датчиком устанавливают так, чтобы нижний конец трубы и датчик находились на уровне нижней образующей трубопровода на расстоянии 100 мм от его боковой поверхности. Плоскость датчика располагают перпендикулярно к оси трубопровода. Проводники от трубы и датчика подсоединяют к клеммам (выводам проводников).
Р.1.4. Подготовка к измерениям
Р.1.4.1. Метод 1
Подключают проводники от трубы, медно-сульфатного электрода сравнения и датчика потенциала к измерительному прибору в соответствии с инструкцией по эксплуатации прибора.
Если датчик был постоянно замкнут на трубу перемычкой, то после подключений ее снимают.
P.1.4.2. Метод 2
Устанавливают переносной медно-сульфатный электрод сравнения на штанге в асбоцементной трубе и подключают проводник от медно-сульфатного электрода сравнения к соответствующей клемме в контрольно-измерительном пункте или на приборе.
Р.1.5. Проведение измерений
Если перемычка в контрольно-измерительном пункте была установлена, то после ее удаления и подсоединения проводников к прибору через 1-2мин измеряют поляризационный потенциал с интервалом от 20 до 30с в соответствии с инструкцией по эксплуатации используемого прибора. Число измерений составляет не менее трех при отсутствии блуждающих токов и не менее 10 - при их наличии.
Если перемычки в контрольно-измерительном пункте не было, то указанные измерения поляризационного потенциала начинают не менее чем через 10 мин.
Регистрируют значения поляризационного потенциала Ei в вольтах при нескольких длительностях разрыва цепи поляризации датчика Δt (в зависимости от типа прибора).
Р.1.6. Обработка результатов измерений
Р.1.6.1. Результаты измерения заносят в таблицу Р.1. и вычисляют среднеарифметическое значение поляризационного потенциала Еср, В, для каждой задержки по формуле
(Р.1.)
где Ei - измеренное значение поляризационного потенциала, В;
n - число измерений.
Таблица Р.1
|
Номер измерения |
Ei, В, при Δt, мкс |
|||
|
Δt1 |
Δt2 |
Δt3 |
Δt4 |
|
|
1 |
|
|
|
|
|
2 |
|
|
|
|
|
3 |
|
|
|
|
|
|
|
|
|
|
|
n |
|
|
|
|
|
Eср |
|
|
|
|
За результат измерения поляризационного потенциала принимают наиболее отрицательное из вычисленных среднеарифметических значений Еср.
Р.1.7. Результаты измерений заносят в протокол по форме Р. 1.
Форма Р.1
Протокол
измерений поляризационных потенциалов подземных сооружений при контроле эффективности электрохимической защиты
Наименование города___________________________________________
Вид подземного сооружения и пункта измерения____________________
Дата « »_____________________ г.
Время измерений: начало___________________ , окончание__________
Тип и заводской номер прибора_______________ , дата поверки_______
Предел измерений______________________________________________
|
Номер пункта измерения по плану (схеме) трубопровода |
Адрес пункта измерения |
Среднее значение защитного поляризационного потенциала, В |
Минимальное (по абсолютной величине) значение защитного потенциала, В |
|
1 |
2 |
3 |
4 |
|
|
|
|
|
Измерение провел_________________ Обработку результатов провел________________
Проверку провел___________________
Р.2. Метод измерения поляризационных потенциалов оболочки бронированных кабелей связи (не имеющих перепайки между оболочкой и броней)
Р.2.1. Образцами для измерения являются участки бронированных кабелей связи (не имеющих перепайки между оболочкой и броней), расположенных в зоне действия электрохимической защиты.
Р.2.2. Средства контроля и вспомогательные устройства
Вольтметр любого типа с внутренним сопротивлением не менее 1 МОм.
Электрод сравнения медно-сульфатный.
Р.2.3. Проведение измерений
Р.2.3.1. Разность потенциалов между оболочкой кабеля и землей и между броней кабеля и землей измеряют при включенной электрохимической защите.
Р.2.3.2. Стационарный потенциал брони измеряют перед включением электрохимической защиты.
Р.2.3.3. При защите от коррозии, вызываемой блуждающими токами, разность потенциалов между оболочкой кабеля и землей и броней кабеля и землей измеряют синхронно.
P.2.4. Обработка результатов измерений
Поляризационный потенциал металлической оболочки кабеля Uоб, В, вычисляют по формуле
Uоб = Uизм.об - Uизм.бр + Uст.бр. (Р.2.)
где Uизм.об - измеренная разность потенциалов между оболочкой кабеля и землей, В;
Uизм.бр - измеренная разность потенциалов между броней кабеля и землей, В;
Uст.бр -стационарный потенциал брони, В.
Полученное значение Uоб используют при установлении режима работы средств электрохимической защиты.
Р.2.5 Оформление результатов измерений - по Р.1.7.
С.1. Измерения проводят на участках сооружений, которые оборудованы средствами электрохимической защиты, в стационарных контрольно-измерительных пунктах или в местах, где есть вывод от сооружения и открытый участок поверхности земли над сооружением, на котором может быть установлен переносной медно-сульфатный электрод сравнения.
С.2 Средства контроля и вспомогательные устройства
Вольтметр постоянного тока любого типа, класса точности не ниже 1,5, с внутренним сопротивлением не менее 1 МОм (регистрирующий или показывающий).
Электрод сравнения медно-сульфатный стационарный или переносной.
С.3. Проведение измерений
Проводники от сооружения и медно-сульфатного электрода сравнения подсоединяют к прибору и измеряют разность потенциалов между подземным сооружением и электродом сравнения в соответствии с инструкцией по эксплуатации прибора с интервалом 10с в течение не менее 10 мин.
С.4 Обработка результатов измерений
Среднеарифметическое значение суммарного потенциала Uсум.ср., В, вычисляют по формуле
(С.1)
где Uсум.i - мгновенное значение потенциала, В;
n- число измерений.
С.5. Результаты измерений суммарного потенциала и камеральной обработки заносят в протокол по форме С.1.
Форма С.1
Протокол
измерений суммарных потенциалов подземных сооружений при контроле эффективности электрохимической защиты
Наименование города__________________________________________________________
Вид подземного сооружения и пункта измерения___________________________________
Дата___________________________ ______________________________________________
число, месяц, год
Время измерений: начало_______________ , окончание____________________
Адрес пункта измерений_________________________ _______________________________
Режим измерения______________________________________________________________
без защиты, с включенной защитой
Тип и заводской номер, дата поверки_____________________________________________
Предел измерений_______ _____________________________________________________
Результаты измерений:
|
Интервал |
|
|
Ucyм i для интервала |
|
|
|
|
измерении |
0 с |
10 с |
20 с |
30 с |
40 с |
50 с |
|
0 мин |
|
|
|
|
|
|
|
1 мин |
|
|
|
|
|
|
|
2 мин |
|
|
|
|
|
|
|
3 мин |
|
|
|
|
|
|
|
4 мин |
|
|
|
|
|
|
|
5 мин |
|
|
|
|
|
|
|
6 мин |
|
|
|
|
|
|
|
7 мин |
|
|
|
|
|
|
|
8 мин |
|
|
|
|
|
|
|
9 мин |
|
|
|
|
|
|
|
Примечание: Если измерения проведены самопишущим прибором, таблицу заменяют графиком. |
||||||
Результаты камеральной обработки измерений суммарного потенциала
|
Номер пункта измерения по плану(схеме) сооружения |
Адрес пункта измерения |
Число измерений n |
Сумма измеренных значений потенциала Uсум.i |
Среднее значение защитного потенциала Uсум.ср. |
Максимальное (по абсолютной величине) значение защитного потенциала, В |
|
1 |
2 |
3 |
4 |
5 |
6 |
|
|
|
|
|
|
|
Измерение провёл ____________________ Обработку результатов провёл ______________
Проверку провёл ______________________________________________________________
С.6. Определение смещения суммарного потенциала относительно стационарного потенциала сооружения
С.6.1. Для проверки эффективности электрохимической защиты от блуждающих постоянных токов определяют разность суммарного потенциала, измеренного в соответствии с С.1-С.3. настоящего приложения, и стационарного потенциала сооружения, определяемого в соответствии с Г.3.4 приложения Г.
С.6.2. Обработка результатов измерений
Среднее значение ΔUср+, В, положительного (анодного) смещения потенциала относительно стационарного потенциала сооружения Uст, В, вычисляют по формуле
, (С.2.)
где n+ - число положительных смещений потенциала относительно UCT за период измерений;
Ui+ - мгновенное зарегистрированное значение потенциала, менее отрицательное, чем UCT, В.
Электрохимическую защиту считают эффективной при отсутствии положительных смещений потенциала относительно стационарного потенциала.
При наличии записи колебаний потенциала регистрирующим прибором в качестве признака эффективности электрохимической защиты можно принимать суммарную продолжительность положительных смещений потенциала от стационарного потенциала, не превышающую в пересчете на сутки 4 мин/сут.
С.6.3. Оформление результатов измерений - по С.5.
Сущность метода заключается в определении потенциала трубопровода относительно установленного у поверхности трубы вспомогательного электрода (В.Э) при определении эффективности действия установок электрохимической защиты в условиях затопления канала (или заноса канала грунтом) до уровня установки В.Э (рисунок Т.1.).
Т.1 Средства контроля и вспомогательные устройства
Мегомметр любого типа.
Вольтметр любого типа с внутренним сопротивлением не менее 1 МОм, класса точности не ниже 1,5.
Электрод вспомогательный в соответствии с Ж.2 приложения Ж.

1 - вспомогательный электрод; 2 - трубопровод; 3 - изоляционная конструкция; 4 - клеммник контрольно-измерительного пункта для присоединения контрольных проводников от подающего (ПТ) и обратного (ОТ) трубопроводов; 5 - электрическая перемычка; 6 - контрольные проводники
Рисунок Т.1 - Схема расположения вспомогательных электродов на поверхности подающего и обратного трубопроводов
Т.2. Проведение измерений
Т.2.1 В заданной зоне электрохимической защиты визуально или инструментальным методом определяют уровень затопления канала и камер, где установлены В.Э. Уровень затопления канала или камеры, достигающий уровня установки В.Э на подающем и обратном трубопроводах в зонах их нижней образующей, определяют в следующей последовательности:
- отключают средства электрохимической защиты;
- отключают перемычки на контрольно-измерительном пункте между трубопроводом и В.Э (рисунок Т.1). Если В.Э изготовлен из нержавеющей стали, перемычка не устанавливается;
- к клеммам Т и В.Э подключают мегомметр и измеряют электрическое сопротивление между трубопроводом и В.Э.
Значение электрического сопротивления, равное или менее 10,0 кОм, указывает на наличие воды в канале (камере) на уровне установки В.Э или выше него.
Аналогичные измерения проводят во всех пунктах установок В.Э.
Т.2.2. При затоплении канала на уровне установки В.Э или выше него потенциал измеряют в следующей последовательности:
- при выключенной станции катодной защиты подключают вольтметр к клеммам контрольного пункта: положительный зажим вольтметра - к клемме Т (трубопровод), отрицательный - к клемме В.Э. Перемычка на клеммнике должна быть разомкнута;
- не менее чем через 30мин. после подготовки схемы фиксируют исходную разность потенциалов ΔUисх, В, между трубопроводом и В.Э с учетом ее знака;
- включают станцию катодной защиты, установив режим ее работы при минимальных значениях силы тока и напряжения;
- увеличением силы тока в цепи станции катодной защиты
устанавливают разность потенциалов между трубопроводом и В.Э
от минус 600 до минус
900 мВ (не ранее чем через 10 мин после установки значения силы
тока).
По окончании измерений замыкают В.Э на трубопровод.
Примечание: При изготовлении вспомогательного электрода из нержавеющей стали перемычку не устанавливают.
Т.3. Обработка результатов измерений
Разность потенциалов
мВ, вычисляют по формуле
=
- ΔUисх. (Т.1.)
где ΔUисх - исходная разность потенциалов, мВ;
- разность потенциалов между трубопроводом и В.Э после включения
защиты, мВ.
Если полученные значения
на
контрольно-измерительном пункте в зоне действия электрохимической защиты (на
участках затопления или заноса канала грунтом) не находятся в пределах от минус
300 до минус 800 мВ, проводят регулировку силы тока преобразователя, при этом силу
тока преобразователя увеличивают с учетом предельно допустимого напряжения на
выходе преобразователя, равного 12,0 В.
Т.4 Результаты измерений заносят в протокол по форме Т.1.
Форма Т.1
Протокол
измерений смещения потенциалов трубопровода (подающего, обратного) при контроле эффективности электрохимической защиты с помощью станций катодной защиты или гальванических анодов
Наименование города________________________________________________________
Вид подземного сооружения и пункта измерения_________________________________
Дата________________________________________________________________________
число, месяц, год
Время измерения: начало _____________________, окончание ________________________
Адрес пункта измерения_____________________________
Вид измерений: разность потенциалов
между трубопроводом и В.Э после включения защиты
Тип и заводской номер прибора_______________ , дата поверки____________ ______
Результаты измерений:
|
Интервал измерений |
Uисх., В, для интервала |
|||||
|
0 с |
10 с |
20 с |
30 с |
40 с |
50 с |
|
|
0 мин. |
|
|
|
|
|
|
|
1 мин. |
|
|
|
|
|
|
|
2 мин. |
|
|
|
|
|
|
|
3 мин. |
|
|
|
|
|
|
|
4 мин. |
|
|
|
|
|
|
|
5 мин. |
|
|
|
|
|
|
|
6 мин. |
|
|
|
|
|
|
|
7 мин. |
|
|
|
|
|
|
|
8 мин. |
|
|
|
|
|
|
|
9 мин. |
|
|
|
|
|
|
Результаты камеральной обработки измерений
|
Номер пункта измерений |
Число измерений |
ΔUисх. |
Сумма значений |
Среднее значение |
Среднее значение |
|
1 |
2 |
3 |
4 |
5 |
6 |
|
|
|
|
|
|
|
Измерение провёл _________________________ Проверку провёл ____________________
Обработку результатов провел________________________
У.1. Измерения проводят при отсутствии опасного влияния постоянных блуждающих токов и переменных токов на концах зон защиты участков подземных трубопроводов, длительное время находящихся в эксплуатации в коррозионно-агрессивных грунтах и защищенных катодной поляризацией, на которых экономически нецелесообразно поддерживать минимальный защитный потенциал минус 0,85В относительно медно-сульфатного электрода сравнения.
У.2. Средства контроля и вспомогательные устройства - по Р.1.3 приложения Р.
У.3. Измерения проводят в стационарных контрольно-измерительных пунктах, оборудованных по Р.1.3 приложения Р.
У.4. Подготовка к измерениям - по Р.1.4. приложения Р.
У.5. Проведение измерений
Поляризационный потенциал измеряют в соответствии с Р.1.5 приложения Р не менее трех раз в течение не менее 10 мин. Средний поляризационный потенциал за это время, вычисленный при обработке данных измерений по Р.1.6.1 приложения Р, должен быть не менее отрицательным, чем минус 0,85В относительно медно-сульфатного электрода сравнения.
У.6. После измерений по У.5. проводник прибора, соединявшийся с трубой, отключают от трубы. Измеряют потенциал датчика в режиме измерения суммарного потенциала в течение не менее 10 мин и регистрируют его значение. Если измеренный потенциал датчика отрицательнее минус 0,55В, то это значение (например, минус 0,60В) принимают за стационарный потенциал Ест. Если измеренное значение равно минус 0,55В или менее отрицательно, то в качестве Ест принимают значение минус 0,55В.
У.7. Обработка результатов измерений
Минимальный поляризационный защитный потенциал Е'мин , В, вычисляют по формуле
Е'мин = Ест - 0,10, (У.1)
где Ест- стационарный потенциал, В;
0,10 - необходимое смещение потенциала от стационарного потенциала, В.
Полученное значение Е'мин используют при установлении режима работы электрохимической защиты. Допускается вести контроль эффективности электрохимической защиты по суммарному потенциалу трубопровода, измеренному сразу после установления нужного значения Е'мин.
У.8 Результаты измерений заносят в протокол по форме У.1.
Форма У.1
Протокол
измерений стационарного потенциала трубопровода, определенный по датчику потенциала
Наименование города ________________________________________________________
Вид подземного сооружения и пункта измерения_________________________________
Дата_______________________________________________________________________
число, месяц, год
Время измерения: начало___________________ , окончание________________________
Тип и заводской номер прибора______________ , дата поверки_____________________
|
Номер пункта измерения по плану (схеме) трубопровода |
Адрес пункта измерения |
Стационарный потенциал Ест, В |
Минимальный поляризационный защитный потенциал Е'мин = (Ест - 0,10)В |
|
1 |
2 |
3 |
4 |
|
|
|
|
|
Измерение провел ______________________ Проверку провел ________________________
Обработку результатов провел _______________________
[1] «Единые технические указания по выбору и применению электрических кабелей», утвержденные Госгортехнадзором, 1978 г.
[2] Правила устройства электроустановок (ПУЭ), Издание 7-М.: Изд-во ЗАО «Энергосервис», 2002 г.
[3] Правила эксплуатации электроустановок потребителей (ПЭЭП), Главэнергонадзор России, 1997 г.; Межотраслевые правила по охране труда (правила безопасности) при эксплуатации электроустановок, Главэнергонадзор России, 2001 г.
|
Ключевые слова: противокоррозионная защита, электрохимическая защита, средства защиты, качество защиты, методы испытаний |
|
ГОСТЫ, СТРОИТЕЛЬНЫЕ и ТЕХНИЧЕСКИЕ НОРМАТИВЫ. Некоммерческая онлайн система, содержащая все Российские Госты, национальные Стандарты и нормативы. В Системе содержится более 150000 файлов нормативно-технической документации, действующей на территории РФ. Система предназначена для широкого круга инженерно-технических специалистов. Copyright © www.gostrf.com, 2008 - 2026 |