|
|
|
ОАО "ЦНИИПРОМЗДАНИЙ"
КОНСТРУКЦИИ Материалы для проектирования и рабочие чертежи узлов Шифр М24.24/04
Зам. Генерального Директора С.М. Гликин Руководитель отдела А.М. Воронин
Москва, 2004 г. СОДЕРЖАНИЕ
1. ОБЩИЕ ПОЛОЖЕНИЯ1.1. Альбом содержит материалы для проектирования и рабочие чертежи наружных стен, стен подвалов, покрытий, стен и покрытий мансард, а также полов холодильников и полов подвалов зданий различного назначения с теплоизоляцией из плит пенополистирольных вспененных экструзионных ПЕНОПЛЭКС ТУ 5767-001-56925804-2003. 1.2. Материалы разработаны для следующих условий: здания одно- и многоэтажные высотой до 75 м, I - IV степени огнестойкости с сухим и нормальным температурно-влажностным режимом для строительства на всей территории страны; стены несущие или самонесущие из штучных материалов (кирпич, камни, бетонные блоки) или монолитного железобетона; температура холодной пятидневки обеспеченностью 0,92 - до минус 55 °С. 1.3. Проектирование следует вести с учетом указаний следующих действующих нормативных документов: СНиП 31-01-2003 «Здания жилые многоквартирные»; СНиП 31-05-2003 «Общественные здания административного назначения»; СНиП 31-03-2001 «Производственные здания»; СНиП 2.09.04-87* «Административные и бытовые здания» (изд. 2001); СНиП 23-02-2003 «Тепловая защита зданий»; СНиП II-22-81 «Каменные и армокаменные конструкции»; СНиП 21-01-97* «Пожарная безопасность зданий и сооружений»; СНиП 23-01-99 «Строительная климатология»; СНиП II-26-76 «Кровли»; СНиП 2.03.13-88 «Полы»; «Кровли. Руководство по проектированию, устройству, правилам приемки и методам оценки качества», М., ОАО «ЦНИИПромзданий», 2002 г; «Полы. Технические требования и правила проектирования, устройства, приемки, эксплуатации и ремонта», М., ОАО «ЦНИИПромзданий», 2004 г. 2. ТЕПЛОИЗОЛЯЦИЯ2.1. В качестве теплоизоляции применяются изделия из плит пенополистирольных ПЕНОПЛЭКС марки 35 и 45 (ТУ 5767-001-56925804-2003). Плиты марки 45 рекомендуется применять только в железобетонных покрытиях с эксплуатируемой кровлей под автостоянки. 2.2. Плиты марки 35 изготовляют номинальным размером 1200×600×(23; 30; 40; 50; 60; 80; 100) мм. Плиты марки 45 изготовляют номинальным размером (2400; 4000; 4500)×600×(40; 50; 60; 80; 100). 2.3. Показатели физико-технических свойств плит пенополистирольных ПЕНОПЛЭКС приведены в таблице 1 Таблица 1Физико-технические свойства плит из пенополистирола ПЕНОПЛЭКС
2.4. Согласно сертификатам пожарной безопасности плиты имеют следующие характеристики пожарной опасности: Плиты марки 35 - группа горючести Г1 по ГОСТ 30244; - группа воспламеняемости В2 по ГОСТ 30244; - группа дымообразующей способности Д3 по ГОСТ 12.1.044; - группа распространения пламени РП1 по ГОСТ 30444. Плиты марки 45 - группа горючести Г4 по ГОСТ 30244; - группа воспламеняемости В3 по ГОСТ 30244; - группа дымообразующей способности Д3 по ГОСТ 12.1.044; - группа распространения пламени РП4 по ГОСТ 30444. Покрытия и стены настоящего выпуска с использованием плит ПЕНОПЛЭКС марки 35 с защитным слоем из штукатурки при размещении теплоизоляции с наружной стороны могут применяться в зданиях II и III степеней огнестойкости классов пожарной опасности С1 по СНиП 21-01. Покрытие по железобетонным плитам толщиной по полю не менее 50 мм и стены с защитным слоем из кирпича шириной 120 мм могут применяться в зданиях I - III степеней огнестойкости классов пожарной опасности С0 по СНиП 21-01. 3. НОРМЫ ТЕПЛОЗАЩИТЫ И ДАННЫЕ ПО ТОЛЩИНЕ ТЕПЛОИЗОЛЯЦИИ3.1. Минимальное допустимое сопротивление теплопередаче стен и покрытий зданий различного назначения и разных климатических условий регламентировано СНиП 23-02-2003 «Тепловая защита зданий». Сопротивление теплопередаче стен подвалов принимается с учетом расчетной температуры воздуха подвала как для наружных стен. Показатель теплоусвоения полов общественных и производственных зданий не должен превышать значений, приведенных в СНиП 23-02-2003. В противном случае предусматривается устройство слоя дополнительной теплоизоляции из плит. 3.2. По назначению рассматриваемые в работе здания образуют три группы: 1. Жилые, лечебно-профилактические и детские учреждения, школы, интернаты; 2. Общественные, кроме указанных выше, административные и бытовые, за исключением помещений с влажным режимом; 3. Производственные с сухим и нормальным режимами. 3.3. При новом строительстве необходимая толщина слоя теплоизоляции из плит экструзионных пенополистирольных определялась с учетом следующих условий. Стены имеют несущую часть из полнотелого керамического кирпича или камней толщиной 380 мм и наружную защитно-декоративную стенку из штукатурки толщиной 25-30 мм или из кирпича толщиной 120 мм. В зданиях 1 и 2 группы стена с внутренней стороны имеет отделочный штукатурный слой толщиной 20 мм. Коэффициент теплотехнической однородности 0,95, без учета откосов проемов и других теплопроводных включений. Возможен вариант наружного защитно-декоративного слоя из лицевого кирпича толщиной 120 мм. Стены подвала имеют несущую часть, выполненную из кирпича или камней толщиной 510 мм или из бетонных блоков толщиной 500 мм с отделочным штукатурным слоем толщиной 20 мм со стороны помещения. Покрытия - совмещенные из сборных железобетонных ребристых плит по серии 1.465.1-21 или многопустотных железобетонных плит толщиной 220 мм по ГОСТ 9561-91 или монолитного железобетона и кровлей по керамзитобетонной стяжке в 30 мм. 3.4. При реконструкции толщина слоя дополнительной теплоизоляции определялась с учетом следующих условий: Стены выполнены из полнотелого керамического кирпича толщиной в зависимости от назначения здания и района строительства - 380, 510, 640 или 770 мм со штукатуркой 20 мм для зданий 1 и 2 группы и без штукатурки - для зданий 3 группы. Защитно-декоративный слой выполнен, как правило, из штукатурки толщиной 25 - 30 мм, армированной стальной цельнопаянной сеткой. А на высоту не менее 2,5 м от планировки должен выполняться из кирпича толщиной 120 мм, плиточного материала или из штукатурки с армированием двойной стальной сеткой. При утеплении стен зданий 1 и 2 группы со стороны помещения в качестве отделочного слоя предусмотрены гипсокартонные или гипсоволокнистые листы, а в зданиях 3 группы штукатурка толщиной 20 мм. При утеплении стен подвала со стороны помещения отделочный слой предусмотрен из штукатурки толщиной 20 мм. Существующие покрытия имеют сопротивление теплопередаче, равное его значению, определенному по формуле 1 главы СНиП II-3-79* для tB=18 °C и φВ=55%. Дополнительная теплоизоляция предусматривается по существующему покрытию с учетом кровли. 3.5. При стенах подвала из легкого или монолитного железобетона определяется сопротивление теплопередаче стены при этих материалах и соответственно корректируется необходимая толщина теплоизоляции. Например, для третьей группы зданий в г. Москве при стене из керамзитобетона γ=1200 кг/м3 (λб=0,525 Вт/(м°С)) толщиной 300 мм с существующим сопротивлением теплопередаче. Rсущ= 1/8,7+0,3/0,52+1/23=0,74 м2∙°С. Толщина дополнительной теплоизоляции составит: δ = (RTР-RСУЩ)×l; где по табл. 2б RTР =1,92 м2·°С/Вт; δ = (1,92-0,74)×0,031 = 0,037 м = 3,7 см. 3.6. Теплоизоляция стен подвала рассчитывается только для «теплых» подвалов, в которых предусмотрена нижняя разводка труб систем отопления, горячего водоснабжения, а также труб систем водоснабжения и канализации. При необходимости влажностный режим стены подвала должен быть проверен в соответствии с указаниями СНиП 23-02-2003 г.; зона возможной конденсации влаги при этом совпадает с наружной поверхностью теплоизоляции. 3.7. Требуемое сопротивление теплопередаче стен подвала над уровнем земли принимается равным сопротивлению теплопередаче наружных стен здания, которое находится по табл. 4 СНиП 23-02-2003 в зависимости от значения градусо-суток отопительного периода. 3.8. Градусо-сутки отопительного периода вычисляются по формуле: ГСОП=(tВ-tОТ.В)∙ZОТ.П где tB - расчетная температура внутреннего воздуха в помещении 1-го этажа, °С; tОТ.П, ZОT.П - средняя температура, °С, и продолжительность, сут, периода со средней суточной температурой воздуха, ниже или равной 8 °С по СНиП 23-01-99. 3.9. Требуемая толщина теплоизоляции стены подвала, расположенной выше уровня земли, принимается равной толщине теплоизоляции наружной стены и вычисляется по формуле:
где δ - толщина несущей части стены, м; λ - коэффициент теплопроводности материала несущей части стены, Вт/(м∙°С). 3.10. Приведенное сопротивление теплопередаче, м2∙°С/Вт, стены подвала, расположенной ниже уровня земли, определяется по формуле:
где δУТ - толщина теплоизоляции, м; λУТ - коэффициент теплопроводности материала теплоизоляции, Вт/(м-°С). 3.11. Требуемая толщина теплоизоляции стены подвала,
расположенной ниже уровня земли, находится из условия
3.12. Необходимая толщина слоя теплоизоляции из плит пенополистирола для стен и покрытий перечисленных выше трех групп зданий для всех областных и республиканских центров РФ приведена в таблицах 2 и 2а, в стенах подвала в таблице 2б. В ограждающих конструкциях мансард толщину теплоизоляции следует принимать по таблице 2а. 3.13. Требуемая толщина теплоизоляции из плит ПЕНОПЛЭКС в полах холодильников, установленная с учетом требований СНиП 2.11.02-87 приведена в таблицах 2в, 2г и 2д. 3.14. Требуемая толщина теплоизоляции в полах по необогреваемому грунту принимается по расчету в соответствии с указаниями СНиП 23-02-2003. При этом пол должен удовлетворять требованиям по показателю теплоусвоения. Таблица 2
Таблица 2а
Таблица 2б
Таблица 2в
Таблица 2г
Таблица 2д
4. КОНСТРУКТИВНЫЕ РЕШЕНИЯ СТЕН4.1. Стена при новом строительстве может быть несущей или самонесущей и представляет собой трехслойную конструкцию с несущим слоем из полнотелого керамического кирпича толщиной 380 мм, бетонных блоков или железобетона (со слоем внутренней штукатурки 20 мм для помещений 1 и 2 группы и без штукатурки - для третьей группы), слоем теплоизоляции из плит ПЕНОПЛЭКС и защитно-декоративным наружным слоем из кирпича толщиной 120 мм или известково-цементной штукатурки. Для защитной стенки может применяться кирпич или камни керамические лицевые (ГОСТ 7484-78) или отборные стандартные (ГОСТ 530-95) предпочтительно полусухого прессования, а также силикатный кирпич (ГОСТ 379-95). При облицовке силикатным кирпичом цоколь, пояса, парапеты и карниз выполняют из керамического кирпича. При новом строительстве защитная стенка из кирпича может выполняться на всю высоту здания. При этом она может быть самонесущей до высоты 6…7 м, а далее навесной с опиранием на пояса, выступающие из несущей стены через каждые 2 этажа (6...7 м) по высоте здания. При реконструкции кирпичная защитная стенка обязательна в виде цоколя высотой не менее 2,5 м от планировочной отметки. По архитектурным соображениям она может быть выполнена самонесущей и большей высоты. 4.2. При защитной стенке из кирпича кладка ведется с обязательным заполнением раствором горизонтальных и вертикальных швов и расшивкой с фасадной стороны. Рихтовочный зазор между теплоизоляцией и защитной стенкой, который может быть при неровной наружной плоскости стены до 15 мм, засыпается сухим песком ярусами высотой не более 600 мм. Шаг температурных швов в кирпичной облицовке принимается по СНиП II-22-81* как для неотапливаемых зданий. При защитно-декоративном слое из штукатурки необходимо, чтобы: - штукатурка имела нулевой предел распространения огня и была выполнена по закрепленной к стене стальной сетке; - толщина ее составляла 25...30 мм; - в уровне перекрытий, но не реже чем через 4 м по вертикали следует предусматривать рассечки из негорючих материалов (обычно из минераловатных плит) на всю толщину слоя теплоизоляции и на толщину перекрытия, но не менее, чем 150 мм. - в местах примыкания теплоизоляции к оконным и дверным проемам толщина штукатурки должна быть увеличена до 35...45 мм; - штукатурка на высоту 2,5 м от планировки должна иметь защиту от механических повреждений. 4.3. По контуру оконных и дверных проемов должен предусматриваться слой негорючей теплоизоляции шириной 100 - 120 мм из минераловатной плиты см. «Пособие по определению пределов огнестойкости конструкций, пределов распространения огня по конструкциям и групп возгораемости материалов (к СНиП II-2-80)», М, ЦНИИСК, 1985 г. табл. 10 п.п. 1, 2.30 и табл. 3. 4.4. При облицовке кирпичной кладкой в новом строительстве последняя армируется с несущей частью стены сварными арматурными сетками, располагаемыми с шагом по высоте 600 мм; площадь поперечных стержней (связей) должна быть не менее 0,4 см2/м2 (глава СНиП II-22-81, п. 6.32). Для армирования кирпичной кладки может быть также использована базальто-пластиковая арматура БПА-Гален (ТУ 57 1490-002-13101102-2002). При реконструкции кирпичная облицовка связывается с существующей кладкой с помощью кронштейнов закрепленных на дюбелях. При этом рекомендуются дюбели типа HPS-I фирмы «Хилти» (табл. 3) или дюбели ДГ. Таблица 3
4.5. При отделке фасадов штукатуркой теплоизоляционные плиты и сетку, армирующую штукатурный слой, крепят к несущему слою стены распорными дюбелями. Принятые типы дюбелей и условия их применения даны в табл. 3. Эскизы дюбельного комплекта Бийского завода стеклопластиков даны в Приложении 3. 4.6. Штукатурка выполняется из известково-цементного раствора, приготавливаемого на месте из извести, песка, цемента, воды и добавок, в том числе обязательно пластифицирующих, или из готовых растворных смесей, и армируется стальной сеткой. 4.7. В качестве вяжущего рекомендуется портландцемент или шлакопортландцемент по ГОСТ 10178-85* марок 300; 400 и известь строительная по ГОСТ 9179-77 в виде известкового теста (γ = 1400 кг/м3). Технические требования по ГОСТ 28013-98 «Растворы строительные. Общие технические условия». Приготовление раствора в соответствии с указаниями Инструкции по приготовлению и применению строительных растворов, СН 290-74. Рекомендуемые рецептуры штукатурных смесей приведены в табл. 4 Таблица 4
4.8. Штукатурка выполняется улучшенного качества или высококачественная с нанесением ее соответственно в 2 или 3 слоя. После грунтовки поверхности плит пластичным раствором слоем в 3...5 мм, он разравнивается в горизонтальном направлении зубчатым шпателем, образующем борозды глубиной 2…3 мм. После выдержки в течение 1...3 суток наносят нижний слой грунта толщиной 7...8 мм. После схватывания этого слоя (24...36 час) раскатывается армирующая сетка и крепится через штукатурку и теплоизоляцию к несущей части дюбелями Бийского завода при установке в среднем 8 дюбелей/м2 поверхности. Затем наносят второй слой грунта толщиной 7...8 мм с выравниванием его «под правило». При высококачественной штукатурке наносят третий, отделочный слой толщиной 2-5 мм в зависимости от вида отделки (см. ниже). Из приведенных в табл. 4 смесей № 1 служит для приготовления грунтовки, № 2 - для грунта и № 3 - для отделочного слоя, окрашенного в массе (см. ниже). 4.9. При улучшенной штукатурке (под окраску) общая толщина штукатурного слоя доводится до 30 мм и поверхность ее выравнивается «под правило». При высококачественной штукатурке и окраске фасадов второй слой грунта выравнивают по маякам и после его схватывания наносят отделочный слой - накрывку толщиной 1-2 мм из мелкозернистого раствора, который затирается гладилками или затирочно-шлифовальными машинами. При отделке цветным раствором толщина выполненного к этому моменту штукатурного слоя должна составлять около 25...27 мм. 4.10. После полного затвердевания штукатурки ее в соответствии с проектом прорезают на всю толщину горизонтальными и вертикальными деформационными швами шириной 6 мм с шагом не более 8 м. Крайний вертикальный шов должен располагаться не ближе 150 мм от угла фасада (наружного или входящего). Затем швы заделывают вулканизующейся мастикой. 4.11. Между штукатурным слоем и элементами заполнения проемов окон, дверей, ворот и др. предусматривается паз на всю толщину штукатурки, заполняемый вулканизующейся мастикой, в качестве которой рекомендуются силиконовые или тиоколовые составы - клей-герметик кремний-органический марок «Эластосил 11-06»(ТУ6-02-775-76) и «Эластосил 137-181»(ТУ 6-02-1-362-84),выпускаемые Данковским химзаводом (Липецкая о6л.), и мастика тиоколовая марки «АМ-0,5» (ТУ 84-246-95), выпускаемая Московским заводом строительных красок. 4.12. Армирование штукатурного слоя выполняется стальной цельнопаянной оцинкованной тканой сеткой по ГОСТ 2715-75 с размером ячейки 20 мм и диаметром проволоки 1-1,6 мм. 4.13. Парапеты, пояса, подоконники и т.п. должны иметь надежные сливы из оцинкованной стали, которые обеспечивают отвод атмосферной влаги и исключают возможность ее сбегания непосредственно по стене. Крепление костылей к парапету может выполняться к деревянным антисептированным брускам, а при парапете из полнотелого керамического кирпича или бетона непосредственно к кирпичной кладке и бетону с помощью дюбелей. 4.14. Все открытые поверхности стальных элементов, выходящих на фасад, и анкера, устанавливаемые в кладке, должны быть защищены от коррозии металлизацией слоем толщиной 120 мкм или лакокрасочными покрытиями (п. 2.40-2.45 СНиП 2.03.11-85). 4.15. Слой эффективной теплоизоляции следует располагать с наружной стороны стены. Устройство дополнительного утепления стен с расположением теплоизоляционного слоя со стороны помещения следует использовать при условии недопустимости изменения фасада здания. 4.16. Плиты ПЕНОПЛЭКС в стенах жилых и общественных зданий при расположении утеплителя со стороны помещения размещают между стойками деревянного или стального каркаса, располагаемых с шагом до 600 мм и крепят к стенам дюбелями, количество которых принимается из расчета два дюбеля на каждые 0,6 м плиты. 4.17. В зданиях производственного назначения крепление плит ПЕНОПЛЭКС к несущей стене также осуществляется дюбелями, схема размещения которых приведена на стр. 64. 4.18. В качестве отделочного слоя в стенах жилых и общественных зданий рекомендуется использовать облицовку из гипсокартонных (ГОСТ 6266-97) или гипсоволокнистых листов (ГОСТ Р 51829), которые крепят к элементам деревянного или стального каркаса на самонарезающих шурупах. 4.19. В зданиях производственного назначения в качестве отделочного слоя следует использовать штукатурку из цементно-известкового раствора, наносимого по стальной оцинкованной сетке, закрепленной к изолируемой поверхности стены на дюбелях. 4.20. Устройство облицовки из гипсокартонных (ГКЛ) и гипсоволокнистых (ГВЛ) листов следует выполнять в соответствии с указаниями СП 55-101-2000 и СП 55-102-2001. 4.21. Необходимость устройства в стене специального слоя пароизоляции определяется расчетом. При необходимости пароизоляция устраивается, между несущим и теплоизоляционным слоями стены. Пароизоляция может быть окрасочной, представляя собой 2-х - 4-х слойное покрытие, или оклеечной из рулонных материалов. 5. ОТДЕЛКА ФАСАДОВ ШТУКАТУРНЫМИ РАСТВОРАМИ5.1. Фасады отделывают нанесением слоя цветного раствора (цветной накрывки) или окрашиванием поверхности. Первый вариант предпочтительнее из-за меньшей стоимости, большей прочности поверхности и практичности отделки, на которой незаметны мелкие дефекты. 5.2. Отделочный слой выполняется также из известково-цементного раствора с добавлением необходимых пигментов (от 3 до 12% к весу сухого вяжущего). Подробные рекомендации содержатся в «Инструкции по приготовлению и применению строительных растворов СН 290-74». Оптимальным является применение раствора, получаемого из сухих смесей заводского изготовления. 5.3. Отделочный слой из цветного раствора наносится с помощью пневматической форсунки непосредственно по 2-му слою штукатурки (грунту). Таблица 5
5.4. Для цветовой отделки рекомендуются известково-цементные или цементные краски, которые отличаются высокой атмосферостойкостью и представляют собой смесь белого портландцемента и извести со щелочестойкими пигментами и добавками хлористого кальция. Могут быть применены также и другие долговечные и атмосферостойкие краски, перечень которых приведен в Приложении 3 СНиП 2.03.11-85, в том числе полимерцементные краски на основе поливинилацетатной дисперсии, алкидные, перхлорвиниловые и хлоркаучуковые эмали. 5.5. При отсутствии требований к получению особо гладкой поверхности краску наносят без какой-либо дополнительной обработки выполненной штукатурки с расходом ее около 0,9 кг/м2. 5.6. Для получения особо гладкой поверхности по грунту выполняют слой накрывки толщиной до 2 мм из мелкозернистого раствора (крупностью зерна до 1 мм). В этом варианте нет необходимости в тщательной затирке поверхности 2-го слоя штукатурки (грунта); она должна быть лишь ровной после ее выравнивания правилом. По накрывке наносится краска с расходом ее около 0,8 кг/м2. 5.7. Отделку цоколя рекомендуется выполнять из материалов повышенной прочности и декоративности, допускающих их очистку и мойку, например, из лицевого кирпича, плит из натурального или искусственного камня, керамической и стеклянной плитки и др. Верхняя кромка этой защитно-декоративной отделки должна располагаться не ниже 2,5 м от уровня планировки. Аналогичную отделку могут иметь углы стен, порталы дверей, арок, ворот, оконные наличники или отдельные участки глухих стен. 5.8. Продолжительность эксплуатации наружной штукатурки из сложного раствора до капитального ремонта устанавливают в соответствии с «Положением об организации и проведении реконструкции, ремонта и технического обслуживания зданий, объектов коммунального и социально-культурного назначения. Нормы проектирования», (ВСН 58-88 (р), Госкомархитектуры, М., 1990) составляет 30 лет. 6. СТЕНЫ ПОДВАЛОВ6.1. Теплоизоляция стен подвалов необходима при размещении в подвалах служебно-вспомогательных помещений, складов и т.п. В результате достигается снижение затрат на отопление, исключается возможность образования конденсата на стенах, повышается комфортность и улучшаются условия работы конструкций. 6.2. Плитная теплоизоляция располагается по выровненной наружной поверхности стен подвала после выполнения по ней гидроизоляции, которая в зависимости от гидроусловий может быть окрасочной или оклеечной (см. «Рекомендации по проектированию гидроизоляции подземных частей зданий и сооружений», М., ЦНИИПромзданий, 1996 г.). 6.3. При невозможности устройства теплоизоляции с наружной стороны поверхности стен подвала допускается размещение ее с внутренней стороны. При этом обязательна проверка стены подвала, согласно СНиП 23-02-2003, на возможность накопления в ней конденсационной влаги. 6.4. Плиты ПЕНОПЛЭКС к стене крепят на битумно-цементном клее. В зоне цоколя обязательна установка дюбелей из расчета 4 дюбеля на плиту 1200×600 мм. Примыкание изоляции к окнам и дверям наружных стен подвальных помещений выполняется аналогично таковым для надземной части. 6.5. Работы по теплоизоляции стен, расположенных ниже уровня земли следует выполнять после завершения гидроизоляционных работ. 6.6. Крепление теплоизоляционных плит к гидроизолированной поверхности производят в следующей последовательности: битуминозный покровный слой гидроизоляции подплавляют в трех-пяти точках и к ним плотно прижимают теплоизоляционную плиту. 6.7. Каждую теплоизоляционную плиту с четвертями укладывают вплотную к соседним плитам с последующей проклейкой швов (стыков) полосой «Герлена» шириной 100 мм. 6.8. Теплоизоляция стены подвала со стороны помещения может быть также приклеена к поверхности стены, либо закреплена механическим способом с последующим устройством отделочного слоя. 7. ОГРАЖДАЮЩИЕ КОНСТРУКЦИИ МАНСАРД7.1. Несущие конструкции мансард могут быть выполнены из дерева или стали марок С235, С245, С255, С345 по ГОСТ 27772-88*. 7.2. В поперечнике несущие конструкции мансард представляют собой раму. Шаг рам и сечения элементов определяются расчетом. 7.3. Соединения металлоконструкций предусматривается на сварке и монтажных болтах или на постоянных болтах. 7.4. Сечения узловых элементов и величина сварных швов определяются расчетом. 7.5. Деревянные несущие конструкции следует выполнять из пиломатериалов хвойных пород двух сортов по ГОСТ 8486-86*. 7.6. Для изготовления настилов и обрешетки применяется древесина 3 сорта, а для несущих элементов стропильной системы (стропильные ноги, ендов, мауэрлатов, прогонов, стоек, подкосов, связей) - древесина 2 сорта. 7.8. Для устройства деревянных несущих конструкций должны применяться элементы с глубокой антипереновой пропиткой. 7.9. Огнезащитная облицовка стальных и деревянных несущих конструкций предусмотрена гипсокартонными листами марок ГКЛО или ГКЛВО (ГОСТ 6266-97), а также гипсоволокнистыми листами марок ГВЛ и ГВЛВ (ГОСТ Р 51829). 7.10. Устройство огнезащитной облицовки несущих стальных и деревянных конструкций следует выполнять в соответствии с указаниями СП 55-101-2000 и СП 55-102-2001. 7.11. Кровлю мансард рекомендуется выполнять из кровельной стали, мягкой черепицы, керамической или цементно-песчаной черепицы. При этом во избежании образования конденсата в конструкции покрытия должен быть предусмотрен продух. 7.12. Для естественного освещения мансардных помещений в ограждающие конструкции встраиваются окна «Велюкс». 8. ЖЕЛЕЗОБЕТОННЫЕ ПОКРЫТИЯ С ТРАДИЦИОННОЙ КРОВЛЕЙ.
|
|||||||||||||||||||||||||||||||||||||||||||||||||||||||||||||||||||||||||||||||||||||||||||||||||||||||||||||||||||||||||||||||||||||||||||||||||||||||||||||||||||||||||||||||||||||||||||||||||||||||||||||||||||||||||||||||||||||||||||||||||||||||||||||||||||||||||||||||||||||||||||||||||||||||||||||||||||||||||||||||||||||||||||||||||||||||||||||||||||||||||||||||||||||||||||||||||||||||||||||||||||||||||||||||||||||||||||||||||||||||||||||||||||||||||||||||||||||||||||||||||||||||||||||||||||||||||||||||||||||||||||||||||||||||||||||||||||||||||||||||||||||||||||||||||||||||||||||||||||||||||||||||||||||||||||||||||||||||||||||||||||||||||||||||||||||||||||||||||||||||||||||||||||||||||||||||||||||||||||||||||||||||||||||||||||||||||||||||||||||||||||||||||||||||||||||||||||||||||||||||||||||||||||||||||||||||||||||||||||||||||||||||||||||||||||||||||||||||||||||||||||||||||||||||||||||||||||||||||||||||||||||||||||||||||||||||||||||||||||||||||||||||||||||||||||||||||||||||||||||||
|
Наименование материала, марка, фирма |
Наименование показателей |
|||
|
Поверхностная плотность, г/м2 |
Толщина при нагрузке 2кН/м2, мм |
Разрывная нагрузка, кгс, вдоль/поперек |
Относительное удлинение, %, вдоль/поперек |
|
|
Дорнит, ООО «Полилайн» ТУ 8391-001-50099417-2001 |
300;350 |
3,5; 4,0 |
30; 35/60; 70 |
120/120 |
|
Тураг®, фирма Du Pont (США) |
110…190 |
0,41...0,52 |
40/80…80/80 |
60/60…65/65 |
|
Дорнит, ЗАО «Химволокно» ТУ 8397-001-51414105-03 |
300…400 |
2,4…3,5 |
21/33…56/77 |
84/70…115/95 |
10.1. Дополнительная теплоизоляция устраивается по существующей рулонной кровле, отремонтированной в соответствии с рекомендациями «Кровли. Руководство по проектированию, устройству, правилам приемки и методам оценки качества» ОАО «ЦНИИПромзданий» 2002 г, при этом особое внимание обращается на состояние примыкания кровли к деформационным швам, парапетам, вентшахтам, трубам. В зоне воронок внутреннего водостока полностью удаляются старая теплоизоляция и кровля. Воронки поднимаются на новый уровень; кровля в зоне примыкания к воронке должна быть понижена относительно прилегающих участков на 15…20 мм.
10.2. Над существующими в старой кровле разжелобками плиты пенополистирола по разметке прорезают дисковой пилой, обеспечивая их плотное прилегание к основанию.
11.1. Дополнительная теплоизоляция устраивается по существующей рулонной кровле (см. п. 10.1).
11.2. Укладывают дополнительный теплоизоляционный слой из плит пенополистирола, указанных в п. 2.4 с фильтрующим слоем и пригрузкой гравием (см. п. 9.5. и далее).
Над существующими в старой кровле разжелобками (конек, ендова) плиты теплоизоляции прирезают друг к другу по разметке, обеспечивая их плотное прилегание к основанию.
12.1. Покрытие включает следующие конструкционные слои:
- стальной профилированный настил;
- пароизоляционный слой (по расчету);
- теплоизоляцию из плит ПЕНОПЛЭКС марки 35;
- водоизоляционный ковер из рулонных материалов.
12.2. В местах примыкания профнастила к стенкам парапетов, к деформационным швам, к водосточным воронкам, а также с каждой стороны конька и ендовы следует предусматривать заполнение пустот ребер настилов (со стороны теплоизоляции) на длину 250 мм заглушками из негорючих минераловатных или стекловатных материалов.
12.3. Теплоизоляционные плиты ПЕНОПЛЭКС могут закрепляться к профнастилу наклейкой или механическим креплением.
12.4. Точечная наклейка выполняется горячим битумом с температурой нагрева не более 75°С. Наклейка должна быть равномерной и составлять 25-35 % площади наклеиваемых плит. Стыки плит должны располагаться на полках профнастила.
12.5. При механическом креплении теплоизоляционные плиты ПЕНОПЛЭКС крепежным элементом закрепляют к основанию вместе со слоем рулонного кровельного материала и с пароизоляционным слоем. Количество креплений для различных участков покрытия должно устанавливаться расчетом в соответствии с требованиями СНиП 2.01.07-85 «Нагрузки и воздействия», но не менее, чем одно крепление на 1 м2 плит.
13.1. Полы с тепло-звукоизоляционным слоем из плит ПЕНОПЛЭКС могут выполняться по подстилающему бетонному слою (в полах по грунту) или по железобетонному перекрытию.
13.2. В качестве тепло-звукоизоляции должны использоваться плиты ПЕНОПЛЭКС марки 35 или 45.
13.3. В полах по грунту плиты ПЕНОПЛЭКС должны, как правило, укладываться на слой гидроизоляции.
13.4. Теплоизоляционный слой должен предусматриваться в полах на грунте в подвальных помещениях с нормируемым теплоусвоением.
13.5. Полы на грунте в помещениях с нормируемой температурой внутреннего воздуха, расположенные выше отмостки здания или ниже ее не более, чем на 0,5 м, должны быть утеплены в зоне примыкания пола к наружным стенам или стенам, отделяющим отапливаемые помещения от неотапливаемых на ширину 0,8 м путем укладки по грунту слоя плит ПЕНОПЛЭКС толщиной, определяемой из условия обеспечения термического сопротивления этого слоя утеплителя не менее термического сопротивления наружной стены.
13.6. Требуемая толщина теплоизоляционного слоя должна устанавливаться расчетом в соответствии с указаниями СНиП 23-02-2003.
13.7. В полах по железобетонному перекрытию плиты ПЕНОПЛЭКС укладываются на предварительно выровненную поверхность перекрытия, а при необходимости на слой пароизоляции.
13.8. Необходимость устройства пароизоляции в каждом конкретном случае должна определяться расчетом сопротивления паропроницанию в соответствии с указаниями СНиП 23-02-2003 «Тепловая защита зданий».
13.9. По тепло-звукоизоляционному слою из плит ПЕНОПЛЭКС должна быть выполнена монолитная стяжка или сборная стяжка из гипсоволокнистых листов.
13.10. Монолитная стяжка выполняется на основе цементного или гипсового вяжущего и должна быть толщиной не менее 40 мм.
13.11. Прочность стяжки на изгиб должна быть не менее 2,5 МПа (СНиП 2.03.13-88 «Полы»).
13.12. При сосредоточенных нагрузках на пол более 20 кН толщина монолитной стяжки по тепло-звукоизоляционному слою должна устанавливаться расчетом из условия исключения деформации последнего (СНиП 2.03.13-88 «Полы»).
13.13. В местах сопряжения стяжек, выполненных по тепло-звукоизоляционному слою с другими конструкциями здания (стенами, перегородками и т.п.) должны быть предусмотрены зазоры шириной 25 - 30 мм на всю толщину стяжки, заполняемые звукоизоляционным материалом.
13.14. Сборные стяжки следует выполнять из спаренных гипсоволокнистых листов размером 1500×500 мм в соответствии с указаниями СП 55-102-2001.
13.15. Общая толщина сборной стяжки склеенных из двух гипсоволокнистых листов составляет 20 мм,
13.16. При стыковке сборной стяжки из спаренных гипсоволокнистых листов на фальцы уложенных элементов стяжки сплошным слоем наносится дисперсия ПВА или клеящая мастика с последующим скреплением фальцев шурупами длиной не менее 19 мм, располагаемых с шагом 300 мм.
13.17. В местах примыкания сборной стяжки к стенам, перегородкам и т.п. конструкциям следует предусматривать зазор толщиной 8-10 мм, который заполняют кромочной лентой.
14.1. Конструкции полов холодильников представлены:
на междуэтажных перекрытиях многоэтажных холодильников;
на обогреваемых грунтах;
над вентилируемыми подпольями.
14.2. Сборный железобетонный каркас многоэтажных холодильников принят по серии 1.420.1-14 для сетки колонн 6×6 м.
14.3. Несущие конструкции перекрытий над проветриваемыми подпольями приняты по серии 1.44-ЗМ\92. «Конструкции железобетонные над холодными вентилируемыми подпольями».
14.4. Требуемое сопротивление паропроницанию полов принимается по главе СНиП 2.11.02-87 «Холодильники»: для перекрытий над подпольем - по табл. 9, междуэтажных перекрытий - по табл. 10 и для полов на грунте - по табл. 11.
Пароизоляция выполняется оклеенной - из битумно-полимерных рулонных материалов или из полимерной пленки, и располагается, как правило, между плитой перекрытия или подготовкой под полы и теплоизоляционным слоем.
Экспликация материалов и деталей к узлам стен
|
№ поз. |
Наименование |
№ поз. |
Наименование |
|
1 |
Стена (несущая часть) |
10д |
|
|
2 |
Защитно-декоративная кладка |
11 |
Наружная штукатурка |
|
|
Рихтовочный зазор (засыпка из песка) |
11а |
Грунтовка, сухая смесь № 51 |
|
4 |
Теплоизоляция из экструзионных пенополистирольных плит ПЕНОПЛЭКС |
11б |
Нижний слой грунта, штукатурная цементно-песчаная смесь № 16 |
|
5 |
Клеевой состав для приклейки плит теплоизоляции, сухая смесь № 51 |
11в |
Второй слой грунта, цементно-известково-песчаная штукатурная смесь № 15; 41* |
|
6 |
Выравнивающая штукатурка, сухая смесь № 12, 15* |
11г |
Поверхность хорошо увлажнить или обработать эмульсией «БИРСС-ГРУНТ-УНИВЕРСАЛ» |
|
6а |
Грунтовки «БИРСС-ГРУНТ-УНИВЕРСАЛ» |
11д |
Отделочный слой, смесь штукатурная декоративная № 31; 32* |
|
7 |
Сварная оцинкованная металлическая сетка 20x20 Ø 1,0…1,6 по ТУ 14-4-647-95 Солнечногорского завода металлических сеток «Лепсе» (тел. 593-31-17); или по ГОСТ 2715-75 |
12 |
Внутренняя штукатурка |
|
8 |
Два ряда металлической сетки |
13 |
Плитка облицовочная глазурованная |
|
9 |
Стык сеток внахлест 100 мм |
13а |
Выравнивающая цементно-песчаная штукатурная смесь № 12 |
|
10 |
Дополнительная сетка 250x400 на скрутках |
13б |
Клей для плитки облицовочной «Мраморит-26» |
|
10а |
П - образная сетка |
14 |
Дюбельный комплект - см. Приложение 8 |
|
106 |
Z - образная сетка |
15 |
Рассечка из минераловатных плит марки 125; 150 ТУ 5726-010-04001485-99 |
|
10в |
Г - образная сетка |
16 |
Доска, пропитанная антипиреном; |
|
10г |
|
16а |
Пластина 6x40 с болтом Ø 10 и шагом 600 мм, но не менее 2 штук на проем |
|
17 |
Рейка 40×50, закрепленная к пробкам 50×60 шурупами. Пробки закреплены к стене дюбелями без шайбы (см. дюбельный комплект) |
Рецептура клеев и штукатурных смесей взяты по каталогу завода «БИРСС» (Бирюлевские сухие смеси).
Продолжение таблицы
|
№ поз. |
Наименование |
№ поз. |
Наименование |
|
18 |
Антисептированная доска |
43 |
Дюбель из полиамида ТУ 36-941-79 |
|
19 |
Защитная стенка из кирпича |
44 |
Шуруп ГОСТ 1144-80 |
|
20 |
Слив С1 |
45 |
Шуруп ГОСТ 1144-80 |
|
21 |
Слив С2 |
46 |
Гвоздь Ø 6 через деревянную прокладку с шагом 600 мм, но не менее 2 шт. на проем |
|
22 |
Слив С3 |
47 |
Окно деревянное |
|
23 |
Слив С5 |
48 |
Рама и полотно распашных складчатых ворот серии 1.435-28 |
|
24 |
Слив С4 |
49 |
Костыль МС-1 с шагом 700 мм, см. в серии ворот |
|
25 |
Костыль К1 |
50 |
Стальная планка для крепления рамы ворот, см. в серии ворот |
|
26 |
Костыль К2 |
51 |
Подоконник по проекту |
|
27 |
Костыль К3 |
52 |
Капельник |
|
28 |
Вязальная проволока ГОСТ 3282-74 |
53 |
Отмостка по проекту |
|
29 |
Закладная сетка Ml |
54 |
Гидроизоляция - цементно-песчаный раствор |
|
30 |
Закладная сетка М2 |
55 |
Гидроизоляция |
|
31 |
Закладная петля ЗП1 |
56 |
Фундаментная балка |
|
32 |
2 Ø 6 |
57 |
Костыль под фундаментную балку |
|
33 |
Анкер А1 |
58 |
Стена подвала |
|
34 |
Анкер А2 |
59 |
Пол подвала или 1-го этажа: - линолеум; - стяжка из цементно-песчаного раствора М 50 - 30 мм; - плита теплоизоляции ПЕНОПЛЭКС 20 - 30 мм; - гидроизоляция; - бетонная подготовка марки В 7,5 -80 мм. |
|
35 |
Уголок - перемычка с опиранием на боковую кладку проема не менее 120 мм |
60 |
Щебень |
|
36 |
Мастика |
61 |
Труба дренажная |
|
37 |
Прокладка уплотняющая из пенорезины сечением 8x8 по ТУ 38-406316-87 |
62 |
Бортовой камень |
|
38 |
Прокладка пенополиэтиленовая уплотняющая марки Вилатерм-СМ Ø 30; 40 (трубчатая), ТУ 6-05-221-872-86 |
63 |
Перекрытие подвала |
|
39 |
Пена строительная |
64 |
Крупный песок |
|
40 |
Горизонтальный шов |
65 |
Термовставка из ячеистобетонных блоков по ГОСТ 21520-89 |
|
41 |
Вертикальный шов |
66 |
Кровля и примыкание кровли к парапету даны в узлах раздела 2 |
|
42 |
Дюбель HPS-I, «Хилти», Ø 6 или 8 |
|
|
Продолжение таблицы
|
№ поз. |
Наименование |
№ поз. |
Наименование |
|
68 |
Несущая балка - пояс |
85 |
Шпаклевка |
|
69 |
Декоративная плитка |
86 |
Клей «ГМ» |
|
71 |
Защитная бетонная стенка |
87 |
Оконный блок |
|
72 |
Железобетонная перемычка |
88 |
Защитная перфорированная металлизированная лента |
|
73 |
Цементный раствор |
89 |
Стропила стальные |
|
74 |
Прокладка уплотняющая |
90 |
Стропила деревянные |
|
75 |
Пластина 6×40, заранее скрепленная с окном шурупами |
91 |
Металлическая кровля |
|
76 |
Наличник деревянный |
92 |
Обрешетка |
|
77 |
Обрамляющий уголок 50x4 |
93 |
Брус 150×50 мм |
|
78 |
Полоса 4×40, крепить к стене дюбелями |
94 |
Стальной профлист |
|
79 |
Брусок 60×50 мм деревянного каркаса |
95 |
Деревянный брусок 40×30 мм |
|
80 |
Гипсокартонный лист |
96 |
Деревянный брусок 60×40 мм |
|
81 |
Стальной профиль каркаса, δ = 0,55 мм |
97 |
Вкладыш из гипсокартонного листа |
|
82 |
Уплотнительная лента |
98 |
Ветрозащитная пленка «Тайвек» |
|
83 |
Угловой защитный профиль ПУА |
99 |
Пароизоляция |
|
84 |
Армирующая лента |
100 |
Обвязочный брусок |
Стены с защитно-декоративным слоем из штукатурки.
Новое строительство и реконструкция
Схемы 1-3
Узел 1-19
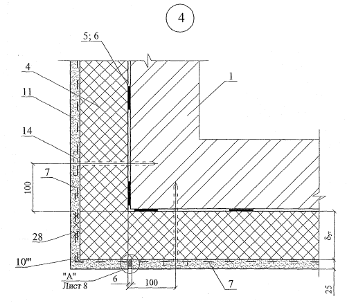
СХЕМА № 1. Расположение плит уплотнителя, рассечек, сетки и штукатурки

СХЕМА № 2. Расположение анкеров в углах, температурных швах и у проемов


СХЕМА № 3














Вариант с поверхностным сбросом дождевой воды

Вариант с дренажом








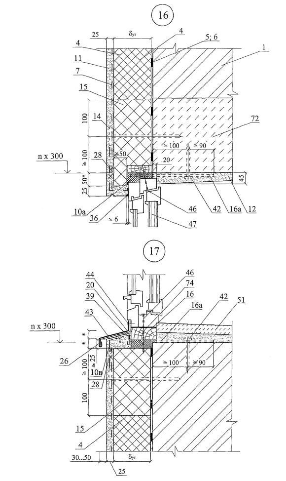
Новое строительство
Схема 4-7
Узел 20-38
СХЕМА № 4. Расположение плит утеплителя, рассечек, защитно-декоративной кладки, несущей балки-пояса

СХЕМА № 5. Расположение анкеров в углах, температурных швах м у проемов

Максимальный шаг температурных швов в защитно-декоративной стене L, м
|
Вид кладки |
Средняя температура наружного воздуха наиболее холодной пятидневки |
||
|
минус 40 °С и ниже |
минус 30 °С |
минус 20 °С и выше |
|
|
Из кирпича, в т.ч. лицевого на растворе марки 50 и более |
30 |
42 |
70 |
|
Из силикатного кирпича на растворе марки 50 |
21 |
30 |
42 |
СХЕМА № 6


*- размеры по проекту


*- размеры по проекту


1. Узлы 39, 40 – возможные варианты соединения слоев кладки







*- размеры по проекту






Схемы с отделочным слоем из кирпича
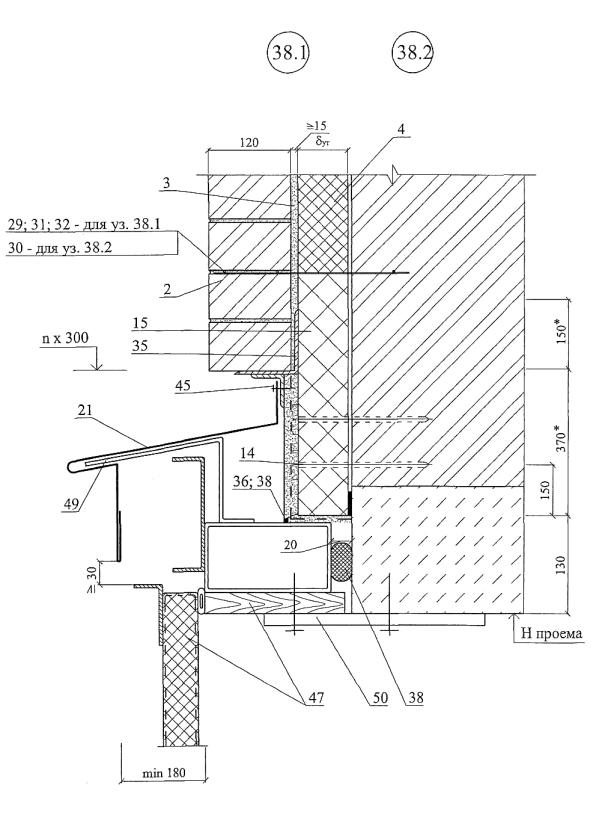
Реконструкция
Схема 8-11
Узел 39-49
СХЕМА № 8. Расположение плит утеплителя, рассечек

СХЕМА № 9. Расположение анкеров в углах, температурных швов и у проемов

Максимальный шаг температурных швов в защитно-декоративной стене L1 см в таблице № 1 на листе 2 докум. М24.39/04-1.2
СХЕМА № 10

* - размеры по проекту
СХЕМА № 11

* - размеры по проекту






* - размеры по проекту




РЕКОНСТРУКЦИЯ
Стены с теплоизоляционным слоем, размещенным со стороны помещения
Реконструкция
Схема 12-14
Узел 50-58
СХЕМА № 12. Расположение утеплителя и отделочных слоев

СХЕМА № 13

СХЕМА № 14









Теплоизоляция стены подвала из экструзионного пенополистирола с наружной стороны

Теплоизоляция стены подвала плитами из экструзионного пенополистирола со стороны помещения





Экспликация материалов к узлам полов
|
№ поз. |
Наименование |
№ поз. |
Наименование |
|
1 |
Покрытие пола |
9 |
Пароизоляция |
|
2 |
Клеевой слой |
10 |
Полиэтиленовая пленка |
|
3 |
Сборная стяжка из гипсоволокнистых листов |
11 |
Подстилающий слой из песка |
|
4 |
Монолитная стяжка из раствора на основе цемента или гипса |
12 |
Покрытие пола из железобетона |
|
5 |
Плиты ПЕНОПЛЭКС марки 35 |
13 |
Утрамбованный щебень |
|
6 |
Перекрытие |
14 |
Грунт |
|
7 |
Бетонный подстилающий слой |
15 |
Система обогрева |
|
8 |
Гидроизоляция |
16 |
Армированная цементно-песчаная стяжка |
Новое строительство и реконструкция.
Теплоизоляция из пенополистирола
Узел 1-3


Экспликация материалов и деталей к узлам полов холодильников
|
№ поз. |
Наименование |
№ поз. |
Наименование |
|
1 |
Монолитное бетонное покрытие класса В22,5 - 40 мм |
15 |
Железобетонная наружная стеновая панель с теплоизоляцией |
|
2 |
Армобетонная стяжка - 80 мм |
16 |
Монолитное бетонное покрытие класса В22,5 - 40 мм |
|
3 |
Слой пергамина насухо с промазкой швов битумной мастикой |
17 |
Фольгоизол по битумной грунтовке - 5 мм |
|
4 |
Теплоизоляция - экструзионный пенополистирол ПЕНОПЛЭКС |
18 |
Стяжка из цементно-песчаного раствора марки 100 - 20 мм |
|
5 |
Оклеечная пароизоляция |
19 |
Уплотненный песок влажностью 10% - 200 мм |
|
7 |
Железобетонная плита перекрытия подполья |
20 |
Бетонная подготовка класса В20 с электронагревателями |
|
8 |
Ригель перекрытия |
21 |
Гидроизоляция оклеечная (по расчету) |
|
9 |
Сборные железобетонные плиты 500x500x40 мм |
22 |
Стяжка из бетона В10 с выравниванием поверхности под гидроизоляцию - 50 мм |
|
10 |
Прослойка из цементно-песчаного раствора марки 300 - 15 мм |
23 |
Подсыпка местным грунтом с уплотнением |
|
11 |
Стяжка из бетона класса В 15, армированная сеткой 60 - 3,0 - 0 по ГОСТ 5336-80 - 80 мм |
24 |
Грунт основания |
|
12 |
Железобетонная плита безбалочного перекрытия - 160 мм |
25 |
Наружная стена холодильника |
|
13 |
Цементно-песчаный раствор марки 200 по металлической сетке 35-2,0-0 по ГОСТ 5336-80 |
26 |
Теплоизоляция стены из экструзионных пенополистирольных плит ПЕНОПЛЭКС |
|
14 |
Противопожарный пояс из пенобетона γ = 500 кг/м |
|
|
Новое строительство и реконструкция
Теплоизоляция из пенополистирола
Узел 1-3
Пол на перекрытии над проветриваемым подпольем

Пол на междуэтажном перекрытии

Пол на обогреваемом грунте

Экспликация материалов и деталей к узлам покрытия с железобетонным основанием
|
№ поз. |
Наименование |
№ поз. |
Наименование |
|
1 |
Железобетонная плита покрытия |
19 |
Опора из легкого бетона |
|
2 |
Выравнивающая затирка цементно-песчаным раствором марки 50 толщиной 5. 15 мм - грунтовка раствором битума в керосине (1:3); -пароизоляция (по расчету) - слой стеклорубероида «Бикрост» - 3 мм, ТУ 21-00288739-42-93 |
20 |
Фундамент под вентилятор |
|
3 |
Точечная приклейка теплоизоляции битумом (температура до +75 °С) |
21 |
Гвоздь с шайбой |
|
4 |
Теплоизоляция - плиты ПЕНОПЛЭКС марки 35 |
22 |
Цементно-песчаный раствор марки 50 |
|
5 |
Стяжка из цементно-песчаного раствора марки 50-30 мм |
23 |
Защитный фартук из кровельной стали |
|
6 |
Кровельный ковер |
24 |
Герметизирующая мастика |
|
7 |
Уплотняющие прокладки - ПРП - 40 К (2 шт), ГОСТ 19177-81, перевить; или типа «Вилатерм - СМ» |
25 |
Кожух вентилятора |
|
8 |
Заделка стыка цементно-песчаным раствором |
26 |
Колпак водоприемной воронки |
|
9 |
Дополнительные слои кровельного ковра |
27 |
Пропускаемая труба |
|
10 |
Минеральная вата |
28 |
Зонт из оцинкованной стали |
|
11 |
Компенсатор из оцинкованной стали толщиной 0,8 мм |
29 |
Патрубок с фланцем |
|
12 |
Выкружка из оцинкованной стали толщиной 0,8 мм |
30 |
Грунтовочный слой |
|
13 |
Стеклоткань |
31 |
Разделительный слой из кровельного рулонного материала |
|
14 |
Рулонный битумно-полимерный, уложенный насухо |
32 |
Противокорневой слой |
|
15 |
Негорючая теплоизоляция, толщина по теплотехническому расчету |
33 |
Дренажный слой из гравия |
|
16 |
Деревянный антисептированной брусок 40 x 40×h - 4 шт. |
34 |
Фильтрующий слой |
|
17 |
Уплотнитель - ПРП по ГОСТ 19177-81 |
35 |
Растительный слой |
|
18 |
Зажимной хомут |
36 |
Тротуар из цементно-песчаного раствора или бетонных плиток, асфальтобетона |
|
Продолжение таблицы |
|||
|
37 |
Стальной стакан с фланцем |
58 |
Плиты тротуарные, ГОСТ 17608-91 |
|
38 |
Парапетная плита |
59 |
Костыль из стальной полосы 4×40 |
|
39 |
Ограждение кровли |
60 |
Слив из оцинкованной кровельной стали |
|
40 |
Водоприемная воронка |
61 |
Слой песка с размерами частиц да 4-х мм |
|
41 |
Защитная решетка |
62 |
Опоры из атмосферостойкой резиновой пластины по ГОСТ 7338-90*, 1 класса, вида Ф, с присоединенными к ней вулканизацией ребрами из той же резины |
|
42 |
Гравийная засыпка |
63 |
Слой щебня (гравия) фракцией 10 … 20 мм |
|
43 |
Пригрузочный слой из гравия ГОСТ 8268-88* |
64 |
Уклонообразующий слой из легкого бетона класса В 7,5 с затиркой раствором или стяжка из цементно-песчаного раствора марки 100 |
|
44 |
Предохранительный (фильтрующий) слой - холст из синтетических волокон ТУ 6-19-290-83 |
65 |
Камень брусчатый по ГОСТ 23668-79 |
|
45 |
Кровельный ковер - два слоя наплавляемого рулонного материала из филизола или один слой полимерной пленки «Кровлей», наклеенной на мастике |
66 |
Огрунтовка поверхности под кровлю |
|
46 |
Слой кровельного материала |
67 |
Бортовой камень |
|
47 |
Водоприемный стояк |
68 |
Наклонный бортик из цементно-песчаного раствора |
|
48 |
Прижимной фланец, устанавливаемый на мастику толщиной 5 мм |
69 |
Слой кровельного материала (усиление ковра) |
|
49 |
Легкий бетон выравнивающего слоя ендовы |
70 |
Стенка деформационного шва |
|
50 |
Пробка деревянная антисептированная 65×120×120 через 510 |
71 |
Крепежный элемент |
|
51 |
Рейка деревянная антисептированная сеч. 25x60 |
72 |
Существующее покрытие |
|
52 |
Патрубок |
73 |
Восстановленный кровельный ковер |
|
53 |
Стальная полоса сеч. 4×40 |
74 |
Новый водоизоляционный ковер |
|
54 |
Гвозди КЗ×70, ГОСТ 4028-63 |
75 |
Сплошная приклейка плит теплоизоляции 1,5 м с каждой стороны ската |
|
55 |
Рамка из стального уголка |
76 |
Полоса кровельного материала |
|
56 |
Легкий бетон |
77 |
Водоприемный патрубок с фланцем |
|
57 |
Пароизоляция |
78 |
Песок строительный |
Новое строительство.
Покрытие с традиционной неэксплуатируемой кровлей
Узлы 1-7
План кровли



Примыкание к воронке и парапету

Примыкание к фундаменту под вентилятор

Пропуск трубы через покрытие

Новое строительство.
Покрытие с эксплуатируемой традиционной кровлей.
Узлы 8-12
План кровли



Деформационный шов при традиционной эксплуатируемой кровле

Новое строительство.
Покрытие с неэксплуатируемой инверсионной кровлей.
Узлы 13…20
План кровли


Примыкание к парапету и воронке

Противопожарный пояс

Примыкание кровли к трубе

Примыкание кровли к фундаменту под вентилятор

Примыкание к парапету

Деформационный шов

План кровли


Эксплуатируемая кровля с устройством тротуара

Вариант 2

Эксплуатируемая кровля с устройством газона

Эксплуатируемая кровля с устройством автостоянки

Воронка внутреннего водостока при инверсионной эксплуатируемой кровле

Воронка внутреннего водостока при инверсионной эксплуатируемой кровле австрийской фирмы HL

Парапет стены при инверсионной эксплуатируемой кровле

Деформационный шов при инверсионной эксплуатируемой кровле

Повышение теплозащиты покрытия с традиционной кровлей

Повышение теплозащиты покрытия с инверсионной кровлей

Повышение теплозащиты в коньке

Повышение теплозащиты в ендове

Экспликация материалов и деталей к узлам покрытия по стальному профилированному настилу
|
№ поз. |
Наименование |
№ поз. |
Наименование |
|
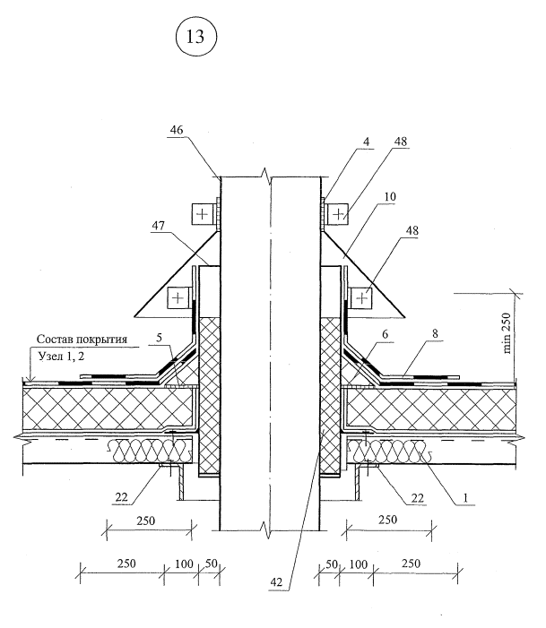
1 |
Заглушка из минераловатной плиты группы НГ |
27 |
Компенсатор из оцинкованной стали, δ = 0,8 мм |
|
2 |
Стальная гребенка |
28 |
Крепежный элемент |
|
3 |
Оцинкованная сталь, δ = 0,8 мм |
29 |
Полоса стальная 4x40 мм |
|
4 |
Мастика герметизирующая |
30 |
Болт M10×30-011 с шайбой и гайкой |
|
5 |
Приклеивающий состав |
31 |
Стальная пластина 220×120×10 мм |
|
6 |
Бортик из плит ПЕНОПЛЭКС |
32 |
Антисептированный и антиперированный брусок |
|
7 |
Слой кровельного материала (усиление кровли в ендове) |
33 |
Стена здания повышенного пролета |
|
8 |
Дополнительный слой водоизоляционного ковра |
34 |
Плиты теплоизоляционные ПЕНОПЛЭКС |
|
9 |
Костыль из стальной полосы 4×40 мм |
35 |
Оцинкованная сталь, δ = 0,8 мм |
|
10 |
Защитный фартук из оцинкованной стали, δ = 0,8 мм |
36 |
Болт M16×70-001 с шайбой и гайкой |
|
11 |
Дюбель ДГ 3,7×70Ц6 |
37 |
Уголок 125×80×7 |
|
12 |
Ограждение кровли |
38 |
Прогон |
|
13 |
Парапет |
39 |
Компенсатор из оцинкованной стали, δ = 2 мм |
|
14 |
Точечная приклейка рулонного материала |
40 |
Заклепка комбинированная ЗК-12 |
|
15 |
Слой кровельного материала (усиление кровли в коньке) |
41 |
Элемент механического крепления |
|
16 |
Заклепка комбинированная ЗК-10 |
42 |
Плиты или маты минераловатные |
|
17 |
Стальной поддон |
43 |
Выкружка из оцинкованной стали толщиной δ = 1,5 мм |
|
18 |
Патрубок с фланцем |
44 |
Слой кровельного материала «насухо» крупнозернистой посыпкой вниз |
|
19 |
Стальной хомут |
45 |
Винт самонарезающий В6×25 |
|
20 |
Защитный колпак |
46 |
Труба |
|
21 |
Прижимной фланец |
47 |
Стальной стакан |
|
22 |
Дополнительные прогоны |
48 |
Хомут из стальной полосы 4×40 мм |
|
23 |
Местное понижение вокруг воронки |
49 |
Основной водоизоляционный ковер |
|
24 |
Опорный столбик |
50 |
Стальной профилированный настил |
|
25 |
Дополнительные слои кровельного материала вокруг воронки |
51 |
Пароизоляция |
|
26 |
Бортик из гнутого швеллера |
52 |
Защитный слой |
Покрытие по стальным профилированным настилам с традиционной кровлей
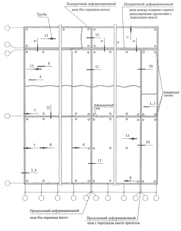
Узлы 1…13
План кровли

Покрытие с наклейкой теплоизоляцией

Покрытие с механическим закреплением плит утеплителя

Примыкание покрытия к парапету высотой до 450 мм из железобетонных панелей

Общее замечание: Направление профилированных настилов выбрано произвольно.
Примыкание покрытия к парапету высотой 600 мм из железобетонных панелей

Конек

Ендова

Водосточная воронка у парапета

Водосточная воронка у парапета

Продольный деформационный шов с перепадом высот пролетов

Поперечный деформационный шов с перепадом высот пролетов

Продольный деформационный шов с полукруглым компенсатором

Поперечный деформационный шов с полукруглым компенсатором

Пропуск трубы через кровлю



* - поз.2 - оцинковать
|
Марка изделия |
№ поз. |
Наименование |
Кол. |
Масса ед., кг |
Примечание |
|
А1 |
1 |
6 А-III, ГОСТ 5781-82, L=150 |
1 |
0,03 |
0,31…0,43 |
|
|
2* |
Лист БТ-ПН-3×80, ГОСТ 19903-74, L 200…350 С 235 ГОСТ 27772-88* |
1 |
0,3-0,4 |
АНКЕР А2


|
Марка изделия |
№ поз. |
Наименование |
Кол. |
Масса ед., кг |
Примечание |
|
А2 |
1 |
6 А-III, ГОСТ 5781-82, L=240 |
2 |
0,053 |
0,42 |
|
2 |
Лист БТ-ПН-4×100×100, ГОСТ 19903-74 С 235 ГОСТ 27772-88* |
1 |
0,314 |


ЗП1 и М2 - оцинковать




Материал: Лист Б-ПН-4×40 ГОСТ 19903-74
С 235 ГОСТ 27772-88*
1. * Уточняется в проекте
2. Костыли окрасить за 2 раза или оцинковать
ПРИМЕР: Сборная несущая балка из керамзитобетона плотностью 1400 кг/м3 класса В12,5



Тип здания - жилой дом с нижней разводкой систем отопления и горячего водоснабжения;
Место строительства - Москва;
Конструкция стены - кирпичная с толщиной несущей части 640 мм, утепленная плитным экструзионным пенополистиролом ПЕНОПЛЭКС с λБ = 0,031 Вт/(м∙°С) и защитным слоем из цементно-известковой штукатурки толщиной 30 мм.
1. Определяем значение градусо-суток отопительного периода:
ГСОП = (tB - tОТ.П.)∙Z0T.П. = (20+3,1)∙214 = 4943
2. По СНиП 23-02-2003 г. находим значение приведенного сопротивления теплопередачи:
R = 2,8 +
∙943=2,8+0,3+=3,1 (м2∙оС)/Вт
3. Требуемая толщина теплоизоляции стены подвала, расположенной выше уровня земли:
![]()
Принимаем толщину теплоизоляции равной 70 мм;
4. Вычисляем толщину теплоизоляции стены подвала, расположенной ниже уровня земли:
![]()
Принимаем толщину теплоизоляции равной 40 мм; При размещении теплоизоляционного слоя с внутренней стороны стены определяют расположение зоны конденсации графическим способом.
Административное здание в г. Москве.
Усиление теплозащиты выполнено с применением плит ПЕНОПЛЭКС марки 35. Принятая конструкция стены дана на расчетной схеме.
Расчетная схема стены.

1 - цементно-известковая штукатурка, λ1 = 0,87 Вт/(м∙°С);
2; 4 - кирпичная кладка, λ2 = 0,81 Вт/(м∙°С);
3 - плита пенополистирола ПЕНОПЛЭКС марки 35, λ3 = 0,031 Вт/(м∙°С).
Требуемое сопротивление теплопередаче стены является функцией числа градусо-суток отопительного периода (ГСОП):
ГСОП = (tв - toт. пер.) Zот. пер.
где: te - расчетная температура внутреннего воздуха, °С;
tom. пер, Zот.пер - средняя температура, °С и продолжительность, сут. периода со средней суточной температурой воздуха ниже или равной 8 °С по СНиП 23-01-99 "Строительная климатология".
Для г. Москвы ГСОП = 4600 и Rтр = 2,58 м2∙°С/Вт.
; м2∙оС/Вт
Требуется усиление теплозащитной способности стены на:
= 2,58-0,81-1,77; м2∙оС/Вт
а за вычетом R облицовочного слоя из кирпича, равного 0,148м2-°С/Вт,
получаем
М = 1,77 - 0,148 = 1,622; м2∙°С/Вт
Толщина слоя дополнительной теплоизоляции при λ3 = 0,031 Вт/( м∙°С) и коэффициенте теплотехнической однородности r - 0,92 составит:
![]()
Принимаем слой изоляции равным 60 мм, тогда фактическое сопротивление теплопередаче составит:
![]()
1. Цель расчета - определение необходимости устройства специальной парозащиты в многослойной стене.
Расчет выполнен по СНиП 23-02-2003 «Тепловая защита зданий».
2. Исходные данные - административное здание в г. Москва
tвн = 18 °С; φвн = 50 %; Rфак = 2,67 м∙°С/Вт (см. расчет теплозащиты стены).
3. Конструкция стены:

1 - цементно-известковая штукатурка, λ = 0,87 Вт/м∙С; μ = 0,098 мг/м∙ч∙Па
2; 4 - кирпичная кладка, λ = 0,81 Вт/м∙°С; μ = 0,11 мг/м∙ч∙Па
3 - плита пенополистирола ПЕНОПЛЭКС марки 35 λ = 0,031 Вт/м∙°С; μ = 0,018 мг/м∙ч∙Па
а-а - плоскость возможной конденсации
Сопротивление теплопередаче внутренних слоев составит:
м2∙оС/Вт
4. Требуемое сопротивление паропроницанию слоев стены до плоскости возможной конденсации должно быть не менее его значения:
по формуле:
, или
по формуле: ![]()
5. Проверка возможности влагонакопления за годовой период.
Значения среднемесячных температур наружного воздуха для Москвы по СНиП 23-01-99 «Строительная климатология» приведены в таблице, Zo по тому же СНиПу (стр. 8) и средней упругости водяных паров наружного воздуха по СНиП 2.01.01-82 «Строительная климатология геофизика», т.к. в новом СНиПе эти данные отсутствуют.
|
Месяц |
1 |
2 |
3 |
4 |
5 |
6 |
7 |
8 |
9 |
10 |
11 |
12 |
|
ТН,оС |
-10,2 |
-9,2 |
-4,3 |
4,4 |
11,9 |
16,0 |
18,1 |
16,3 |
10,7 |
4,3 |
-1,9 |
-7,3 |
|
еН, гПа |
2,6 |
2,9 |
3,7 |
6 |
8,9 |
12,4 |
14,7 |
14,2 |
10,4 |
6,9 |
4,8 |
3,6 |
Zo= 145 сут
Сезонные и среднемесячные температуры:
Zi = 3 мес.; tнl = - 8,9 °С;
Z2 = 4 мес; tн2 = + 0,625 °С;
Z3 = 5 мес; tн3 = + 14,6 °С.
Температура в плоскости
возможной конденсации, соответствующая среднезонным температурам, определяется
по формуле: τв = tв - (te - tн)∙![]()
![]()
![]()
![]()
соответственно E1 =337 Па; Е2 = 701 Па; Е3 = 1683 Па, тогда
Е = (337∙3 + 701∙4 + 1683∙5)/12 = 1019 Па
ев= 1032 Па;
ен = 761 Па (см. таблицу выше).
RП.НАР.СЛОЯ = 0,12/0,11 = 1,09 м2∙ч∙Па/мг;
RП.ВНУТ.СЛОЯ = 0,06/0,018 + 0,51/0,11 + 0,02/0,098 = 8,16 м2∙ч∙Па/мг.
По формуле
RП = (1032 - 1019) 1,09/(1019-761) = 0,054 < 8,16 м2∙ч∙Па/мг.
то есть по этому условию устройство парозащиты не требуется.
6. проверка возможности влагонакопления за период с отрицательными среднемесячными температурами.
Средняя упругость водяного пара наружного воздуха за период Zo (см. таблицу выше).
еНО = 356 Па.
Средняя температура наружного воздуха за тот же период
tHО = - 6,58 °С.
По формуле:
![]()
этой температуре соответствует Ео = 401 Па.
По формуле:
η = 0,0024∙(401 - 356) 145/1,09 = 14,37
При γ = 35 кг/м3; δ = 0,06 м; ΔWcp = 25 %, находим:
RП2 = 0,0024∙145∙(1032 - 401)/(25∙0,06∙25 + 14,37) = 4,23 < 8,16 м2∙ч∙Па/мг, то есть по этому условию устройство дополнительной пароизоляции также не требуется.
Исходные данные: пол подвала жилого дома.
Конструкция пола:
Таблица физико-технических характеристик составляющих пола
|
№ п/п |
Материалы |
Толщина слоя, м |
Плотность материала в сухом состоянии, γо, кг/м3 |
Коэффициенты при условии эксплуатации А |
Теплотермическое R, м2оС/Вт |
|
|
Теплопроводность, λ, Вт/м°С |
Теплоусвоения, s, Вт/м2оС |
|||||
|
1 |
Линолеум |
0,003 |
1600 |
0,33 |
7,52 |
0,009 |
|
2 |
Мастика водостойкая |
0,001 |
1000 |
0,18 |
4,56 |
0,0055 |
|
3 |
Стяжка из цементно-керамзитового раствора |
0,03 |
1200 |
0,47 |
6,16 |
0,06 |
|
4 |
Теплоизоляция из плит ПЕНОПЛЭКС |
0,02 |
35 |
0,03 |
0,36 |
0,67 |
|
5 |
Бетонный подстилающий слой |
0,08 |
2400 |
1,74 |
16,77 |
0,046 |
Тепловую инерцию каждого слоя определяем по формуле:
D1 = R1∙S1 = 0,009∙7,52 = 0,068;
D2 = R2∙S2 = 0,0055∙4,56 = 0,025;
D3 = R3∙S3 = 0,06∙6,16 = 0,37;
D5 = R5∙S5 = 0,046∙16,77 = 0,77.
Т.к. суммарная тепловая инерция первых трех слоев D1+D2+D3=0,068+0,025+0,37 = 0,463 < 0,5, а суммарная тепловая инерция трех плюс пятый слой D1+D2+D3+D5 = 0,463 + 0,77 + 1,23 > 0,5. Следовательно показатель теплоусвоения пола YП следует определять последовательно расчетом показателей теплоусвоения поверхностей слоев конструкции, начиная с третьего слоя:
![]()
![]()
![]()
что не удовлетворяет требованиям СНиП предъявляемым к теплоусвоению поверхности пола в жилых, больничных и других подобных зданиях (1 группа зданий и помещений). Поэтому вводим в конструкцию пола дополнительный слой из плит ПЕНОПЛЭКС:
![]()
![]()
![]()
Таким образом выбранная конструкция отвечает требованиям СНиП для зданий и помещений всех трех групп.
1. Определяем сопротивление паропроницанию слоев стены:
![]()
![]()
![]()
![]()
![]()
2. Вычерчиваем стену в масштабе сопротивлений паропроницаемости

Рис. 1 Зона
конденсации влаги в стене подвала, утепленной со стороны помещения
1 - стена подвала; 2 - теплоизоляция;
3 - облицовка; 4 - зона
конденсации
3. Температуры на границах слоев стены определяются по формуле:

![]()
![]()
![]()
![]()
4. Данным температурам соответствуют следующие значения упругости водяного пара:
Ев = 1865 Па; Е1 = 1807 Па; Е2 517 Па; Ен= 157 Па.
5. Значения действительной упругости водяного пара при относительной влажности воздуха в помещении φ = 60 % и наружного воздуха φ = 80 % составляет:
ев = 2064∙0,6 =1238 Па;
ен = 45∙0,8 = 36 Па.
6. Количество водяного пара, поступающего к зоне конденсации:
![]()
7. Количество водяного пара, уходящего от левой зоны конденсации:
![]()
8. Количество водяного пара, конденсирующего в стене:
Р = P1 - Р2 = 362 - 87 = 275 мг/(м2∙ч∙Па)
9. В течение месяца в стене сконденсируется влаги:
![]()
10. Определим скорость удаления влаги в летнее время при следующих исходных параметрах воздуха: tH = 16 °С; φн = 75; ен = 2064∙0,75 = 1548 Па.
11. Температура в плоскости прилегания пенополистирольной плиты к кирпичной стене:
![]()
![]()
12.Этой температуре соответствует максимальная упругость водяного пара Е3.К. 1974 Па;
13. Другая поверхность зоны конденсации отстоит от внутренней поверхности кирпичной стены на расстоянии: δ = 0,6∙0,11 = 0,07 м;
где 0,11 мг/(м∙ч∙Па) - коэффициент паропроницаемости кирпичной кладки.
14. Термическое сопротивление зоны конденсации:
![]()
15. Температура этой поверхности τх составит:
![]()
16. Этой температуре соответствует максимальная упругость водяного пара Е3.К. = 1937 Па;
17. Так как ЕЗК = 1937 Па > ев 1238 Па, то высыхание будет происходить в обоих направлениях;
18. Количество влаги, удаляемой в сторону помещения:
![]()
19. Количество влаги, удаляемой по направлению к наружной стороне стены:
![]()
20. Тогда: Рвыс = P1 + Р2 = 0,351 + 0,075 = 0,426 г/(м2∙ч∙Па)
21. Количество влаги, удаляемой из стены в течение месяца:
= 0,31 кг/м2,
что больше, чем Rw = 0,26 кг/м2
откуда следует, что сконденсирующаяся влага будет удаляться за летний период.
Исходные данные:
tB = 18°C и φB = 82%.
1. Фактическое сопротивление теплопередаче покрытия Rо (м2∙°С)/Вт, равно:
![]()
![]()

Рис. 2 Конструкция покрытия с дополнительным слоем теплоизоляции:
1 - гравий на мастике;
2 – 2 слоя битумно-полимерного наплавляемого материала;
3 – стяжка из цементно-песчаного раствора
4 – экструзионный пенополистирол ПЕНОПЛЭКС, γ = 35 кг/м3;
5 – 4 слоя рубероида на мастике (существующая кровля)
6 – стяжка из цементно-песчаного раствора;
7 – теплоизоляция из пенобетона, γ = 600 кг/м3;
8 – пароизоляция из слоя рубероида на битумной мастике;
9 – железобетонная плита γ = 2500 кг/м3.
2. По СНиП 23-01-99 выписываем в таблицу значения среднемесячных температур и давления водяных паров наружного воздуха.
|
Месяц |
1 |
2 |
3 |
4 |
5 |
6 |
7 |
8 |
9 |
10 |
11 |
12 |
|
tв,°C |
-10, |
-9,5 |
-4,6 |
6,0 |
14,1 |
18,1 |
19,8 |
18,6 |
12,5 |
5,2 |
-1,4 |
-7,3 |
|
ев, ГПа |
2,4 |
2,5 |
4,1 |
9,3 |
16,0 |
20 |
23,0 |
21,0 |
14,5 |
8,8 |
5,4 |
3,3 |
Zо.п. = 140 сут.
3. Значения RП.H. и RП.B., как сумма RП:
![]()
![]()
(μ = 0,018 мг/(м∙ч∙Па) - для плит ПЕНОПЛЭКС марка 35).
4. Вычисляем сопротивление теплопередаче слоев покрытия от внутренней поверхности до плоскости возможной конденсации:
![]()
5. Продолжительность сезонов и среднемесячные температуры наружного воздуха по СНиП 23-01-99.
Зима (январь, февраль, декабрь): Z1=3 мес.
tHl = (-10,9 - 9,5 - 7,3) : 3 = - 9,5 °С
Весна - осень (март, апрель, октябрь, ноябрь): Z2 = 4 мес.
tH2 = (-4,6 + 6,0 + 5,2 - 1,4) : 4 = 5,2 °С
Лето (май, июнь, июль, август, сентябрь): Z3 = 5 мес.
tH3 = (14,1 + 18,1 + 19,8 + 18,6 + 12,5) : 5 = 16,6 °С
6. Соответственно значение температур τ:
![]()
![]()
![]()
7. Среднемесячным τ соответствует:
E1 = 296 Па; Е2 = 916Па; Е3 = 1901 Па
8. Средние значения:
![]()
ев=1063∙0,6=1238 Па; при φв = 60 %.
![]()
ев =1091∙0,82 = 894 Па.
9.Определяем:
![]()
т.е. по этому условию дополнительной пароизоляции не требуется.
10. Проверяем возможность влагонакопления за период с отрицательными среднемесячными температурами, для чего определяем упругость водяного пара наружного воздуха за период ZОП.
![]()
Средняя температура наружного воздуха за тот же период:
tH.О = (-10,9 - 9,5 - 4,6 - 1,4 - 7,3) : 5 = - 6,9 °С
![]()
этой температуре соответствуют Ео = 319 Па;
γут = 100 кг/м3; δут - 0,06 м; ΔWcp = 25 %.
Вычисляем:
![]()
т.е. по этому условию дополнительной пароизоляции не требуется.
В соответствии с сертификатами пожарной безопасности плиты пенополистирольные имеют группу горючести - Г1 по ГОСТ 30244, группу воспламеняемости - В2 по ГОСТ 30402, группу дымообразующей способности- Д3 по ГОСТ 12.1.044.
При определении области применения плит пенополистирольных учитывались результаты испытаний фрагментов стен с полимерными утеплителями, письмо ГУ ГПС МВД России и Минстроя России «Об утеплении наружных стен зданий», а также справочные данные «Пособия по определению пределов огнестойкости, пределов распространения огня по конструкциям и групп возгораемости материалов» ЦНИИСК им. Кучеренко. Применение плит пенополистирольных рекомендуется при следующих конструктивных решениях стен и покрытий.
В зданиях II и III степеней огнестойкости классов конструктивной пожарной опасности CI.
• для утепления с внешней стороны несущих, самонесущих кирпичных стен толщиной не менее 250 мм; бетонных стен толщиной не менее 200 мм при устройстве наружного защитного слоя из штукатурки толщиной не менее 25 мм и защитного слоя из негорючих армированных материалов в местах примыкания утеплителя к проемам и другим отверстиям шириной не менее - 50 мм в зданиях III степени огнестойкости; - 100 мм в зданиях II степени огнестойкости, а также для утепления стен со стороны помещения с отделочным слоем из штукатурки толщиной не менее 25мм, из гипсокартонных листов ГКЛВО или гипсоволокнистых листов ГВЛ.
• для теплоизоляции в покрытиях по железобетонным плитам толщиной не менее 30 мм в зданиях II и III степеней огнестойкости.
• для теплоизоляции в покрытиях по стальному профнастилу в зданиях II и III степеней огнестойкости.
В зданиях I - III степеней огнестойкости, классов конструктивной пожарной опасности СО.
• для утепления с внешней стороны несущих, самонесущих кирпичных стен толщиной не менее 250 мм; бетонных стен толщиной не менее 200 мм в зданиях I - III степеней огнестойкости классов пожарной опасности С0 при устройстве наружного защитного слоя из кирпича и защитного слоя из негорючих армированных материалов в местах примыкания утеплителя к проемам и другим отверстиям шириной не менее - 50 мм в зданиях III степени огнестойкости; - 100ммвзданиях II степени огнестойкости; - 150 мм в зданиях I степени огнестойкости.
• для теплоизоляции в покрытиях по железобетонным плитам толщиной не менее 30 мм в зданиях II и III степеней огнестойкости; - 50 мм в зданиях I степени огнестойкости.
Конструктивные решения, удовлетворяющие требованиям II и III степеней огнестойкости класса конструктивной пожарной опасности С1 (с защитным слоем из штукатурки) в соответствии с требованиями действующих нормативных документов могут быть в зданиях, имеющих следующие параметры.
ПРОИЗВОДСТВЕННЫЕ
ЗДАНИЯ
(в соответствии со СНиП 31-03-2001)
|
Категория зданий или пожарных отсеков |
Высота здания*, м |
Степень огнестойкости здания |
Класс конструктивной пожарной опасности здания |
Площадь этажа в пределах пожарного отсека, м2 зданий |
||
|
|
|
|
|
одноэтажных |
в два этажа |
в три этажа и более |
|
Г |
30 |
III |
С1 |
не огр. |
10400 |
7800 |
|
Д |
30 |
III |
С1 |
не огр. |
25000 |
10400 |
* Высота здания в данной таблице измеряется от пола 1-го этажа до потолка верхнего этажа, включая технический; при переменной высоте потолка принимается средняя высота этажа.
Высота одноэтажных зданий класса пожарной опасности С1 не нормируется.
СКЛАДСКИЕ ЗДАНИЯ
(в соответствии со СНиП 31-04-2001)
|
Категория склада |
Высота здания*, м |
Степень огнестойкости здания |
Класс конструктивной пожарной опасности здания |
Площадь этажа в пределах пожарного отсека, м2 зданий |
||
|
одноэтажных |
в два этажа |
в три этажа и более |
||||
|
Д |
36 |
III |
С1 |
не огр. |
7800 |
5200 |
* Высота здания в данной таблице измеряется от пола 1-го этажа до потолка верхнего этажа, включая технический; при переменной высоте потолка принимается средняя высота этажа.
АДМИНИСТРАТИВНЫЕ
И БЫТОВЫЕ ЗДАНИЯ
(в соответствии со СНиП 2.09.04-87*)
|
Степень огнестойкости здания |
Класс конструктивной пожарной опасности здания |
Допустимая высота здания*, м |
Площадь этажа в пределах пожарного отсека, м2 при числе этажей |
|||||
|
1 |
2 |
3 |
4-5 |
6-9 |
10-16 |
|||
|
II |
С1 |
28 |
5000 |
3000 |
3000 |
2000 |
1200 |
- |
|
III |
С1 |
12 |
2000 |
1400 |
1200 |
800 |
- |
- |
ЗДАНИЯ ЖИЛЫЕ МНОГОКВАРТИРНЫЕ
(в соответствии со СНиП 31-01-2003)
|
Степень огнестойкости здания |
Класс конструктивной пожарной опасности здания |
Допустимая высота здания*, м |
Площадь этажа в пределах пожарного отсека, м2 при числе этажей |
|
II |
С1 |
28 |
2200 |
|
III |
С1 |
15 |
1800 |
Конструктивные решения, удовлетворяющие требованиям I, II и III степеней огнестойкости класса конструктивной пожарной опасности СО (с защитным слоем из кирпича) в соответствии с требованиями действующих нормативных документов могут быть в зданиях, имеющих следующие параметры.
ПРОИЗВОДСТВЕННЫЕ
ЗДАНИЯ
(в соответствии со СНиП 31-03-2001)
|
Категория зданий или пожарных отсеков |
Высота здания*, м |
Степень огнестойкости здания |
Класс конструктивной пожарной опасности здания |
Площадь этажа в пределах пожарного отсека, м2 зданий |
||
|
одноэтажных |
в два этажа |
в три этажа и более |
||||
|
А, Б |
36 |
I |
С0 |
не огр. |
5200 |
3500 |
|
А |
36 |
II |
С0 |
не огр. |
5200 |
3500 |
|
24 |
III |
С0 |
7800 |
3500 |
2600 |
|
|
Б |
36 |
II |
С0 |
не огр. |
10400 |
7800 |
|
24 |
III |
С0 |
7800 |
3500 |
2600 |
|
|
В |
48 |
I, II |
С0 |
не огр. |
25000 |
10400 |
|
|
|
С0 |
|
7800** |
5200** |
|
|
24 |
III |
С0 |
25000 |
10400 |
5200 |
|
|
|
|
С0 |
|
5200** |
3600** |
|
|
Г |
54 |
I, II |
С0 |
не огр. |
не огр. |
не огр. |
|
36 |
III |
С0 |
не огр. |
25000 |
10400 |
|
|
Д |
54 |
I, II |
С0 |
не огр. |
не огр. |
не огр. |
|
36 |
III |
С0 |
не огр. |
50000 |
15000 |
|
* Высота здания в данной таблице измеряется от пола 1-го этажа до потолка верхнего этажа, включая технический; при переменной высоте потолка принимается средняя высота этажа.
Высота одноэтажных зданий класса пожарной опасности СО и С1 не нормируются.
** Для деревообрабатывающих производств.
СКЛАДСКИЕ ЗДАНИЯ
(в соответствии со СНиП 31-04-2001)
|
Категория склада |
Высота здания *, м |
Степень огнестойкости здания |
Класс конструктивной пожарной опасности здания |
Площадь этажа в пределах пожарного отсека, м2 зданий |
||
|
одноэтажных |
в два этажа |
в три этажа и более |
||||
|
А |
- |
I, II |
С0 |
5200 |
- |
- |
|
- |
III |
С0 |
4400 |
- |
- |
|
|
Б |
18 |
I, II |
С0 |
7800 |
5200 |
5200 |
|
- |
III |
С0 |
6500 |
- |
- |
|
|
В |
36 |
I, II |
С0 |
10400 |
7800 |
5200 |
|
24 |
III |
С0 |
10400 |
5200 |
2600 |
|
|
Д |
не огр. |
I, II |
С0 |
не огр. |
10400 |
7800 |
|
36 |
III |
С0 |
не огр. |
7800 |
5200 |
|
Высота здания в данной таблице измеряется от пола 1-го этажа до потолка верхнего этажа, включая технический; при переменной высоте потолка принимается средняя высота этажа.
АДМИНИСТРАТИВНЫЕ
И БЫТОВЫЕ ЗДАНИЯ
(в соответствии со СНиП 2.09.04-87*)
|
Степень огнестойкости здания |
Класс конструктивной пожарной опасности здания |
Допустимая высота здания*, м |
Площадь этажа в пределах пожарного отсека, м2 при числе этажей |
|||||
|
|
|
|
1 |
2 |
3 |
4-5 |
6-9 |
10-16 |
|
I |
С0 |
50 |
6000 |
5000 |
5000 |
5000 |
5000 |
2500 |
|
II |
С0 |
50 |
6000 |
4000 |
4000 |
4000 |
4000 |
2200 |
|
III |
С0 |
15 |
3000 |
2000 |
2000 |
1200 |
- |
|
ЗДАНИЯ ЖИЛЫЕ МНОГОКВАРТИРНЫЕ
(в соответствии со СНиП 31-01-2003)
|
Степень огнестойкости здания |
Класс конструктивной пожарной опасности здания |
Допустимая высота здания*, м |
Площадь этажа в пределах пожарного отсека, м2 при числе этажей |
|
I |
С0 |
75 |
2500 |
|
II |
С0 |
50 |
2500 |
|
III |
С0 |
28 |
1800 |
|
Фильтрующие материалы (Геотекстиль) |
||||
|
Наименование материала, марка, фирма |
Наименование показателей |
|||
|
Поверхностная плотность, г/м2 |
Толщина при нагрузке 2 кН/м2, мм |
Разрывная нагрузка, кгс/5см, вдоль/поперек |
Относительное удлинение, %, вдоль/поперек |
|
|
Дорнит, ООО «Полилайн» ТУ 8391-001-50099417-2001 |
300, 350 |
3,5; 4,0 |
30; 35/60; 70 |
120/120 |
|
Тураг®, фирма Du Pont (США), SF32PRO.SF56 |
110…190 |
0,41…0,52 |
40/40…80/80 |
60/60…65/65 |
|
Дорнит, ЗАО «Химволокно» ТУ 8397-001-51414105-03 |
300…400 |
2,4…3,5 |
21/33…56/77 |
84/70…115/95 |
|
Polyfelt (Германия), TS 10.80, Р 006 |
105…500 |
1,0…4,0 |
38/38…158/158 |
75/35…80/65 |
РУЛОННЫЕ ГИДРОИЗОЛЯЦИОННЫЕ МАТЕРИАЛЫ
|
Рулонные битумно-полимерные материалы |
||||||||
|
Материал, ТУ |
Масса 1 м2, кг |
Масса 1 м2 вяжущего с наплавляемой стороны, кг |
Масса 1 м2 основы, гр. |
Разрывная сила при растяжении в продольном направлении, кг с/50 мм |
Относительное удлинение в продольном направлении, % |
Теплостойкость, °С |
Водопогло-щение через 24 ч, % масс |
Гибкость при температуре, °С |
|
Стандарт Петроэласт «Петрофлекс» ТУ 5775-004-45510767-2002 |
2,5-5,0 |
2,0 |
|
83 |
70 |
95 |
<1,0 |
-15 |
|
2,5-6,0 |
2,0 |
|
78 |
70 |
100 |
<1,0 |
-30 |
|
|
Техноэласт «ТехноНиколь» ТУ 5774-003-00287852-99 |
3,0-5,5 |
2,0 |
90…250 |
50…87 |
13…53 |
100 |
<1,0 |
-35 |
|
Вестопласт «Завод Технофлекс» ТУ 5774-009-17925162-2002 |
3,0-5,0 |
2,0 |
50…250 |
77 |
50 |
130 |
<1,0 |
-15 |
|
Унифлекс «Завод Технофлекс» ТУ 5774-001-17925162-99 |
3,0-5,5 |
2,0 |
50…250 |
30…60 |
5…7 |
90 |
<1,0 |
-15 |
|
Экофлекс «Завод Технофлекс» ТУ 5774-003-17925162-00 |
3,0-5,5 |
1,5 |
50…250 |
80 |
10 |
130 |
<1,0 |
-10 |
|
Биполь «Завод Технофлекс» ТУ 5774-003-17925162-00 |
3,0-5,0 |
1,5 |
50…250 |
80 |
10 |
85 |
<1,0 |
- 15 |
|
Линокром «ТехноНИКОЛЬ Воскресенск» ТУ 5774-008-17925162-2002 |
3,0-5,0 |
1,5 |
50…250 |
39…67 |
10…15 |
80 |
<1,0 |
0 |
Рулонные битумно-полимерные материалы
|
Материал, ТУ |
Масса 1 м2, кг |
Масса 1 м2 вяжущего с наплавляемой стороны, кг |
Масса 1 м2 основы, гр. |
Разрывная сила при растяжении в продольном направлении, кгс/50 мм |
Относительное удлинение в продольном направлении, % |
Тепло- |
Водопогло- |
Гибкость при температуре, °С |
|
Изопласт К Изопласт П «Изофлекс» ТУ 5774-005-05766480-2002 |
4,0-5,0 |
2,0 |
250 |
60...80 |
20…30 |
120 |
1,0 |
-15 |
|
3,0-5,5 |
2,0 |
200 |
36 |
3…30 |
120 |
1,0 |
-15 |
|
|
Изоэласт К Изоэласт П «Изофлекс» ТУ 5774-007-05766480-2002 |
4,0-6,0 |
2,0 |
250 |
60 |
30…40 |
90 |
1,0 |
-30 |
|
3,0-5,5 |
2,0 |
200 |
36 |
30…40 |
90 |
1,0 |
-30 |
|
|
Новопласт К Новопласт П «Изофлекс» ТУ 5774-001-58590414-2002 |
4,0-5,0 |
2,0 |
250 |
60 |
20…30 |
120 |
1,0 |
- 15 |
|
3,0-4,0 |
2,0 |
200 |
36…80 |
3…30 |
120 |
0,6 |
-15 |
Материалы на (основе ПВХ, ТПО, ЭПДМ)
|
Материал, ТУ |
Масса 1 м2, кг |
Толщина, мм |
Условная прочность при растяжении, МПа |
Относительное удлинение, % |
Теплостойкость, °С |
Водопогло-щение через 24 ч, % масс |
Гибкость при температуре, °С |
|
ПОЛИКРОМ Р ПОЛИКРОМ ПнГ ЗАО «Поликром» ТУ 5774-001-46439362-99 |
1,43 |
1,2 |
6,0 |
300 |
120 |
0,2 |
60 |
|
1,43 |
1,2 |
3,5 |
200 |
120 |
0,3 |
60 |
|
|
АЛЪКОРПЛАН, ПВХ, фирма «ALKOR DRAKA N.V.» (Бельгия), ТУ 5774-001-472707006-04 |
1,4-1,5 |
1,2-1,5 |
20,0 |
17,2 |
80 |
0,05 |
-40 |
|
ПВХ «Эвергард», фирма FLAG S.p.A. (Италия) |
3,3 |
2,5 |
16,9 |
275 |
85 |
1,4 |
-20 |
|
ТПО «Эвергард», фирма FLAG S.p.A. (Италия) |
1,31 |
1,2 |
11,1 |
976 |
100 |
0 |
-60 |
|
ЭПДМ Resitrix фирма «PHOENIX AG» (Германия) |
3,5 |
3,1 |
9,2 |
533 |
120 |
0,2 |
-60 |
Дюбельный комплект ТАРЕЛЬЧАТОГО ТИПА
|
Тип дюбеля |
Наименование показателя |
|||
|
Фирма-изготовитель |
Ø нар., мм |
Глубина заделки, мм |
Расчетное вырывающее усилие, кгс |
|
|
Комплект Д1 ВЗ-1 III Ст. 5,5-L-l |
Бийский завод стеклопластиков ТУ 2296-001-20994511-00 |
8 |
45 |
30* |
|
Анкер IDP |
HILTI (Хилти) тел.: (095) 792-52-52 |
8 |
50-30 |
20…50* |
|
Анкер IZ |
HILTI (Хилти) тел.: (095) 792-52-52 |
8 |
60-40 |
66…103* |
|
* В бетоне В > 15, кладке из полнотелого керамического кирпича. В кладке из дырчатого кирпича или легкого бетона расчетное усилие уменьшается на половину. |
||||
|
ГОСТЫ, СТРОИТЕЛЬНЫЕ и ТЕХНИЧЕСКИЕ НОРМАТИВЫ. Некоммерческая онлайн система, содержащая все Российские Госты, национальные Стандарты и нормативы. В Системе содержится более 150000 файлов нормативно-технической документации, действующей на территории РФ. Система предназначена для широкого круга инженерно-технических специалистов. Copyright © www.gostrf.com, 2008 - 2026 |