Крупнейшая бесплатная информационно-справочная система онлайн доступа к полному собранию технических нормативно-правовых актов РФ. Огромная база технических нормативов (более 150 тысяч документов) и полное собрание национальных стандартов, аутентичное официальной базе Госстандарта. GOSTRF.com - это более 1 Терабайта бесплатной технической информации для всех пользователей интернета. Все электронные копии представленных здесь документов могут распространяться без каких-либо ограничений. Поощряется распространение информации с этого сайта на любых других ресурсах. Каждый человек имеет право на неограниченный доступ к этим документам! Каждый человек имеет право на знание требований, изложенных в данных нормативно-правовых актах!

  


 

ТИПОВАЯ ТЕХНОЛОГИЧЕСКАЯ КАРТА НА УСТРОЙСТВО (РЕМОНТ) КРОВЛИ С МЕХАНИЧЕСКИМ КРЕПЛЕНИЕМ РУЛОННОГО МАТЕРИАЛА К ОСНОВАНИЮ ПОЛИМЕРНЫМИ ДЕТАЛЯМИ

ТК-24

Москва 2006

В технологической карте рассмотрено устройство и ремонт кровли из рулонных материалов методом механического крепления полимерными деталями к основанию. Рекомендована область применения, разработаны организация и технология производства работ, требования к качеству работ, технике безопасности и охране труда.

Карту разработали кандидаты тех. наук В.П. Володин, ЮЛ. Корытов

Содержание

1. ОБЛАСТЬ ПРИМЕНЕНИЯ

1.1. Технологическая карта разработана на устройство и ремонт кровли с использованием рулонных кровельных материалов методом их механического крепления к основанию полимерными деталями.

1.2. В качестве материала могут быть использованы: филизол-супер, стекломаст, днепрофлекс, элабит, люберит, бикапол, изопласт и другие рулонные кровельные материалы.

1.3. В состав работ, рассматриваемых в карте, входят:

- очистка основания;

- просушивание влажных мест основания;

- грунтование основания праймером;

- обустройство водосточных воронок;

- обустройство свесов;

- устройство кровельного ковра с механическим креплением его полимерными деталями к основанию;

- устройство примыканий кровли к парапетам.

1.4. В настоящей карте принято:

- объем работ - 1000 м2 кровли;

- состав звена - 4 чел.

2. ТЕХНОЛОГИЯ И ОРГАНИЗАЦИЯ ВЫПОЛНЕНИЯ РАБОТ

2.1. При организации и производстве работ с применением метода механического крепления полимерными деталями рулонных кровельных материалов к основанию должны выполняться требования СНиП II-26-76 «Кровли», СНиП 3.04.01-87 «Изоляционные и отделочные покрытия», следующих руководств: «Кровли. Руководство по проектированию, устройству, правилам приемки и методам оценки качества» (ОАО «ЦНИИпромзданий». - М., 2002), «Руководство по технологии устройства и ремонта кровель с частичным креплением водоизоляционного ковра к основанию» (ЗАО «ЦНИИОМТП». - М., 2002), а также настоящей технологической карты.

2.2. До начала устройства кровли должны быть выполнены и приняты:

все строительно-монтажные работы на изолируемых участках, включая замоноличивание швов между сборными железобетонными плитами, установку и закрепление к несущим плитам или к стальным профилированным настилам водосточных воронок, компенсаторов деформационных швов, патрубков (или стаканов) для пропуска инженерного оборудования, анкерных болтов, антисептированных деревянных брусков (или реек) для закрепления изоляционных слоев и защитных фартуков;

слои паро- и теплоизоляции, стяжки и затем проведена контрольная проверка уклонов и ровности основания под кровлю на всех поверхностях, включая карнизные участки кровель и места примыканий к выступающим над кровлей конструктивным элементам;

ремонт и выравнивание существующего кровельного покрытия при выполнении ремонтных работ.

При выполнении ремонтных работ необходимо проверить влажность теплоизоляционного слоя и цементно-песчаной стяжки. Допустима влажность не более 5 %.

Проверочные работы должны включать:

контроль проектных уклонов от водораздела и других высших отметок ската кровли до самых низших - водосточных воронок;

контроль ровности основания - просвет между поверхностью основания и рейкой не должен превышать значений, указанных в таблице 1.

При выполнении ремонтных работ поверхность существующего кровельного ковра должна быть выровнена, дефекты покрытия (вздутия, расслоения, разрывы и т.д.) устранены.

2.3. Технологический процесс устройства кровли состоит из следующих операций:

подготовка поверхности основания;

устройство кровельного ковра.

2.4. Основанием под кровлю могут служить:

ровные поверхности железобетонных несущих плит либо теплоизоляции без устройства по ним выравнивающих стяжек (затирок);


Таблица 1

Требования к основанию под кровлю

Наименование показателя

Вид стяжки

Из теплоизоляционных слоев монолитной укладки на основе вяжущего

Из цементно-песчаного раствора

Из песчаного асфальтобетона

Из теплоизоляционных плит (в т.ч. со сборной стяжкой из асбестоцементных листов по ГОСТ 18124-95 или древесно-стружечных плит по ГОСТ 10632-89)

цементного

битумного

по засыпной теплоизоляции

по теплоизоляционным плитам или теплоизоляции монолитной укладки

по железобетонным плитам

1. Ровность

Плавно нарастающие неровности не более 10 мм поперек уклона и 5 мм вдоль уклона по высоте между основанием и контрольной рейкой длиной 3 м. Отклонение плоскости основания от заданного уклона не более 0,2 %

Перепады по высоте не более 3 мм 1) рядом расположенных плит

2. Прочность на сжатие, МПа (кгс/см2), не менее

0,6 (6)

1,5 (15)

10 (100)

5 (50)

5 (50)

0,8 (8)

По ГОСТ или ТУ на плиты

3. Влажность, %

2)

2)

5

5

5

2,5

 

4. Толщина, мм

3)

3)

25-30

20-25

10-15

20-25

3)

5. Расстояние между температурно-усадочными швами, м, не более

4)

4)

6

4)

4)

4

4)

1) При большой разнице перепадов производят срезку выступов или подкладывают клинообразные пластины (либо выравнивают перепады цементным раствором, бетоном).

2) Не выше предусмотренной СНиП 23-02-2003.

3) Толщину теплоизоляции принимают по расчету.

4) Температурно-усадочные швы выполняют над швами в несущих плитах.


выравнивающая стяжка из цементно-песчаного раствора или асфальтобетона, которую назначают в соответствии с требованиями, приведенными в таблице 1;

водоизоляционный ковер существующих кровель из рулонных или мастичных материалов (при производстве ремонтных работ).

2.5. Подготовка поверхности основания включает устранение имеющихся дефектов, очистку основания, просушку и его грунтование праймером (битумной грунтовкой).

2.6. Грунтовку наносят агрегатами безвоздушного распыления или кистями (в настоящей карте вручную). Толщина слоя не более 1 мм.

2.7. Устройство кровельного ковра должно выполняться в следующей технологической последовательности:

обустройство водосточных воронок;

укладка рулонов в ендовах (при наличии) дополнительным слоем и устройство при необходимости защитных слоев;

устройство карнизного свеса;

укладка основного кровельного ковра с механическим закреплением полимерными деталями к основанию;

устройство примыканий кровли к парапетам; оклеивание примыканий к вертикальным конструкциям (при наличии) дополнительными слоями.

2.8. Кровельный ковер выполняют из нескольких слоев или из одного слоя (например, из материала филизол-супер), независимо от уклона крыши (1,5-10 %).

2.9. В местах примыкания кровель к стенам, шахтам и другим выступающим над кровлей конструктивным элементам должны быть предусмотрены переходные наклонные бортики (под углом 45°), высотой не менее 100 мм из легкого бетона или цементно-песчаного раствора. Стены из кирпича или блоков в этих местах должны быть оштукатурены цементно-песчаным раствором марки 50.

2.10. Устройство кровельного ковра начинают, как правило, с пониженных участков: карнизных свесов, участков расположения водосточных воронок и ендов.

2.11. Число точек крепления рулонного ковра на 1 м2 поверхности крыши определяют расчетом исходя из конкретных условий.

Минимальное число точек крепления на 1 м2 кровли принимают не менее двух.

2.12. Схему точек крепления устанавливают расчетом с учетом влияющих факторов, в том числе: геометрических характеристик крыши в плане и по высоте;

ветровых нагрузок;

прочностных характеристик основания.

Рекомендуется следующее крепление рулонов (рис. 1): на основной площади 1 - по расчету, по периметру здания 2 - в два раза больше расчетного, на углах здания 3 - в четыре раза больше расчетного.

Рис. 1. Схема установки механических креплений на кровле здания

2.13. Механические детали позволяют одновременно или по отдельности надежно крепить теплоизоляционные плиты и рулонные материалы. Крепежные детали выбираются из типоразмеров (рис. 2).

2.14. Детали располагают в местах нахлестки полотнищ. В местах примыкания водоизоляционного ковра к выступающим конструкциям предусматривают выход воздуха из-под кровельного ковра наружу.

Размеры, мм

L

L1

L2

190±1

184,5±0,875

178±0,875

150±1

144,5±0,875

138±0,875

120±1

114,5±0,875

108±0,875

100±1

94,5±0,875

88±0,875

80±1

74,5±0,875

68±0,875

50±1

44,5±0,875

38±0,875

20±1

14,5±0,875

8±0,875

Рис. 2. Типоразмеры крепежных деталей

2.15. Для крепления к металлическому или деревянному основанию самонарезной винт вставляется в деталь, прижимается к основанию и завинчивается.

Для креплении к бетонному основанию просверливается отверстие, забивается пластмассовый дюбель, в который завинчивается самонарезной винт.

2.16. Устройство водоизоляционного ковра выполняют в следующей последовательности:

на основание раскатывают рулоны так, чтобы обеспечивалась нахлестка полотнищ: продольная 100-120 мм и поперечная - не менее 150 мм;

затем полотнища обратно скатывают в рулоны;

полотнище вдоль линии водораздела закрепляют, затем разогревают приклеивающийся слой материала в месте нахлестки, рулон раскатывают валиком, прижимая к ранее закрепленному полотнищу;

детали крепления устанавливают на черной, освобожденной от защитной посыпки кромке материала на расстоянии 30 мм от края.

Отверстия под детали в утеплителе и бетонном основании подготавливают за один проход сверла. Глубина сверления контролируется специальной насадкой на дрель.

2.17. При монтаже вентилируемой кровли с внутренним водостоком работы необходимо начинать с обустройства водосточных воронок. Кровельный материал следует укладывать вдоль ендовы по направлению тока воды в ендове.

2.18. Обустройство мест примыканий кровли к вертикальным поверхностям необходимо выполнять отдельными полотнищами кровельного материала.

При обустройстве примыканий к вертикальным конструкциям места соединения подкровельного пространства с атмосферой следует выполнять на парапетах при их полном оклеивании кровельными рулонными материалами сверху (рис. 3) и на свесах кровли при наружном водосливе кровли (рис. 4). На остальных типах примыканий (высокие парапеты, стены, вентиляционные вытяжки, трубы, а также возле водоприемных воронок) рекомендуется производить сплошную наклейку материалов (рис. 5).

2.19. В местах примыкания кровли к парапетам высотой до 450 мм слои дополнительного водоизоляционного ковра должны быть заведены и полностью закрывать верхнюю грань парапета с обделкой мест примыкания оцинкованной кровельной сталью и закреплением ее при помощи костылей или самонарезных винтов (см. рис. 3).

2.20. При устройстве кровли в покрытиях с высоким (более 450 мм) парапетом верхняя часть фартука должна быть закреплена пристрелкой дюбелями и защищена герметиком, а верхняя часть парапета - отделана кровельной сталью, закрепляемой костылями, или покрыта парапетными плитами с герметизацией швов между ними.

2.21. Места пропуска через кровлю труб должны быть выполнены с применением стальных патрубков с фланцами (или железобетонных стаканов) и герметизацией в этом месте. Слой водоизоляционного ковра крепится фиксатором и приклеивается к основанию полностью на расстоянии не менее 250 мм.

2.22. Нахлест на торцах рулона должен быть не менее 150 мм. Перед склеиванием материалов в этих местах следует прогреть кромки так, чтобы посыпка втопилась в битумный слой.

2.23. При механическом креплении воздух перемещается под всей поверхностью кровли. Для вентиляции подковрового пространства достаточно обеспечить выход воздуха в атмосферу.

При расстояниях от края до края кровли, превышающих 12-15 м, и при высокой влажности внутри здания рекомендуется применять вентиляционные патрубки с дефлекторами.

2.24. Вентиляционные патрубки устанавливают после устройства верхнего слоя кровельного ковра рядами из расчета: 1 вентилятор на 100 м2.

2.25. Технология установки вентиляционных патрубков следующая (рис. 6):

в месте установки патрубка по диаметру трубы вырезать окно в кровельном ковре и стяжке до утеплителя или пароизоляции;

нагреть поверхность ковра и приклеить основание вентиляционного патрубка;

оклеить основание патрубка полотном размером 1×1 м.

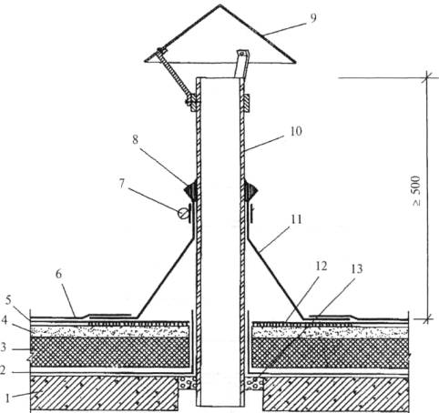
Рис. 3. Примыкание водоизоляционного ковра к парапетной стене высотой менее 450 мм:

1 - антисептированная доска толщиной 50 мм; 2 - защитный фартук из оцинкованной стали толщиной 0,8 мм; 3 - стальная полоса 4×40 мм; 4 - самонарезной винт, шаг крепления не более 600 мм; 5 - самонарезной винт с шайбой, шаг крепления не более 250 мм; 6 - оштукатуренная и огрунтованная парапетная стена; 7 - дополнительные слои водоизоляционного ковра; 8 - бортик из цементно-песчаного раствора; 9 - основной водоизоляционный ковер; 10 - огрунтованная цементно-песчаная стяжка; 11 - утеплитель; 12 - пароизоляция; 13 - плита покрытия; стрелкой показано движение воздуха

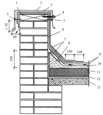
Рис. 4. Устройство свеса:

1 - деревянный брус; 2 - самонарезной винт; 3 - подстилающий слой из кровельного материала; 4 - Т-образный крепежный элемент; 5 - оцинкованная кровельная сталь; 6 - защитная полоса из кровельного материала с крупнозернистой посыпкой с основой из стеклоткани или полиэстера шириной 200 мм; 7 - основные слои водоизоляционного ковра; 8 - типовое покрытие

Рис. 5. Примыкание водоизоляционного ковра к трубе:

1 - плита покрытия; 2 - пароизоляция; 3 - утеплитель; 4 - стяжка; 5 - основной водоизоляционный ковер; 6 - дополнительные слои водоизоляционного ковра; 7 - обжимной хомут; 8 - герметик; 9 - защитный колпак; 10 - труба; 11 - резиновое фасонное изделие; 12 - участок сплошной наклейки нижнего слоя водоизоляционного ковра; 13 - монтажная пена

Рис. 6. Кровельный патрубок с дефлектором для принудительного просушивания утеплителя и подковрового пространства: а - общий вид; б - мощность кровельного выхода (дефлектора); в - установки вентиляционного патрубка:

1- вентиляционный патрубок; 2 -основной кровельный ковер; 3 - стяжка; 4 - утеплитель; 5 - пароизоляция; 6 - плита покрытия; 7 - заменяемый утеплитель; 8 - дополнительный слой кровельного материала; стрелкой показано движения воздуха

3. ТРЕБОВАНИЯ К КАЧЕСТВУ И ПРИЕМКЕ РАБОТ

3.1. В процессе подготовки и выполнения кровельных работ проверяют:

качество полимерных деталей и рулонного материала, которое должно соответствовать требованиям ТУ;

готовность конструктивных элементов кровли для выполнения работ;

правильность выполнения примыканий к выступающим конструкциям;

соответствие характеристик кровельного ковра указаниям проекта.

3.2. Приемка кровли должна сопровождаться осмотром ее поверхности, особенно у воронок, водоотводящих лотков, в разжелобках и в местах примыканий к выступающим конструкциям над крышей.

3.3 Кровля должна удовлетворять следующим требованиям: иметь заданные уклоны;

кровельный ковер должен быть надежно прикреплен к основанию, не расслаиваться и не иметь впадин.

3.4. Обнаруженные при осмотре кровли дефекты исправляются до сдачи объекта в эксплуатацию.

3.5. Приемка кровли оформляется актом с оценкой качества работ.

3.6. Составляются следующие акты скрытых работ:

примыкание кровли к водоприемным воронкам;

примыкание кровли к выступающим частям вентиляционных шахт, антенн, растяжек, стоек, парапетов.

3.7. Требования к контролю качества кровли приведены в таблице 2.


Таблица 2

Контроль качества

№ п.п.

Характеристики, подлежащие контролю

Значения характеристик

Способ контроля (инструмент)

Время проведения контроля

Ответственный за контроль

Подготовительные работы

1

Прочность стяжки:

 

Инструментальный

Образцы кубиков испытывают через 7 и 28 дней

Строительный мастер, прораб

цементно-песчаной

Не менее 50 кгс/см2

асфальтобетонной

Не менее 80 кгс/см2

цементно-песчаной по засыпной

Не менее 1000 кгс/см2

теплоизоляции

 

2

Влажность стяжки, не более:

 

То же

Перед закреплением рулона

Строительная лаборатория, мастер

цементно-песчаной

5%

асфальтобетонной

2,5%

3

Ровность основания (стяжки):

Отклонение поверхности основания вдоль уклона и на горизонтальной поверхности +5 мм, поперек уклона и на вертикальной поверхности +10 мм. Перепады по высоте между смежными изделиями не более 3 мм

Использование 3-метровой линейки

После набора прочности через 3 дня

Строительный мастер, прораб

монолитного

из сборных элементов

4

Толщина стяжки

По проекту, допустимое отклонение 10 %

Измерение линейкой

В процессе выполнения работ

То же

5

Уклон кровли

По проекту, допустимое отклонение не более 0,2 %

Измерение уклономером

Перед закреплением рулона

»

Работы по механическому креплению кровельного материала

1

Отклонение толщины слоя утеплителя от проектной:

 

Измерительный

В процессе работы

Строительный мастер, прораб

из сборных элементов

От-5 % до+10 %, но не более 20 мм

из сыпучих материалов

Не более 10 %

2

Способ крепления полотнища материала (перпендикулярно и в направлении стока воды)

При уклоне до 15 % - перпендикулярно, свыше 15 % - в направлении стока воды

Визуальный

То же

То же

3

Величина нахлеста в стыке одного полотнища с другим (продольного и поперечного)

100 мм продольный нахлест, 150 мм - поперечный

»

»

»

4

Величина перехлеста полотнища ковра через водораздел

При наклейке вдоль ската перекрытие противоположного ската не менее чем на 1 м; при наклейке поперек ската - не менее 250 мм

»

»

»

5

Прочность приклейки нахлестки полотнищ одного слоя к другому

Не менее 5 кгс/см2

Визуальный, методом отрыва

»

»

6

Условия выдерживания рулонов в зимнее время перед наклейкой

В течение не менее 20 ч при температуре не менее 15 °С

Визуальный

Зимой

»

7

Число дополнительных слоев, перекрывающих основной в местах его примыкания

Не менее двух

»

В процессе работы

»

8

Влажность утеплителя

Не более 10 %

Измерительный

То же

»

9

Величина уступа между смежными элементами

Не более 5 мм

»

»

»

4. МАТЕРИАЛЬНО-ТЕХНИЧЕСКИЕ РЕСУРСЫ

4.1 Потребность в основных материалах и изделиях приводится в таблице 3.

Таблица 3

№ п.п.

Наименование

Единица измерения

Норма расхода материалов

Обоснование нормы расхода

Потребность на 1000 м2 кровли

1

Для грунтования основания

 

На 100 м2 основания

Нормативные показатели расхода материалов. Госстрой России, 2001 г. Дополнения к сборнику № 12 «Кровля», § 03.01. Функциональный код 3.1-1

 

Битумная грунтовка (праймер) состоящая из:

кг

80

800

а) битум нефтяной строительный БН 90/10, ГОСТ 6617-76

кг

20

200

б) керосин для технических целей КТ-1, ОСТ 35.1108-86

кг

60

600

2

Для устройства однослойного кровельного ковра:

 

На 100 м2 слоя

То же, § 03.02. Функциональный код 3.2-6.

Применительно

 

а) материал рулонный филизол-супер

м2

111

1110

б) полимерные детали крепления

шт.

500

5000

в) сжиженный газ пропан-бутан

л

8,1

81

3

Для обустройства водосточных воронок:

 

На 1 воронку

То же, § 03.02. Функциональный код 3.2-1.

На 4 воронки

а) материал рулонный филизол-супер

м2

1,56

6,24

б) сжиженный газ пропан-бутан

л

0,47

1,88

4

Устройство примыканий кровли к парапетам:

 

На 100 м примыканий

То же, § 03.02. Функциональный код 3.2-16.

 

а) материал рулонный филизол-супер

м2

245

539

б) бетон легкий (класс по проекту), ГОСТ25820-2000

м3

1,02

2,24

в) сталь листовая оцинкованная толщиной 0,7 мм, ГОСТ 19903-90

кг

252,5

555,5

г) костыли 4×40 мм

кг

25

55

д) дюбели, ГОСТ 27320-87

кг

1,8

3,96

е) мастика тиоколовая

кг

6,7

14,74

ж) сжиженный газ пропан-бутан

л

71,4

157,08

5

Устройство карнизного свеса:

 

На 100 м карниза

То же, § 03.02. Функциональный код 3.2-2

Применительно

 

а) материал рулонный филизол-супер

м2

281,8

619,96

б) сталь листовая оцинкованная толщиной 0,7 мм, ГОСТ 19903-90

кг

415,5

914,10

в) костыли 4×40 мм

кг

160

352

г) гвозди строительные 3×70 мм, ГОСТ 4028-63

кг

0,5

1,10

д) сжиженный газ пропан-бутан

л

82,1

180,62

 

Всего:

 

 

 

 

материал филизол-супер

м2

2275,2

сжиженный газ пропан-бутан

л

420,58

битум БН 90/10

кг

200

керосин КТ-1

кг

600

бетон легкий

м3

2,24

сталь листовая оцинкованная толщиной 0,7 мм

кг

1469,6

костыли 4×40 мм

кг

407

дюбели, ГОСТ 27320-87

кг

3,96

гвозди строительные 3×70 мм

кг

1,1

мастика тиоколовая

кг

14,74

полимерные крепления

шт.

5000

4.2 Потребность в машинах, механизмах, оборудовании, инструменте, инвентаре и приспособлениях приводится в таблице 4.

Таблица 4

№ п.п.

Наименование

Тип, марка, ГОСТ, № чертежа

Техническая характеристика

Назначение

Число на звено (бригаду)

1

Кран крышевой

К-1 или КБК-2 и др. аналогичные

Грузоподъемность:

К-1 - 300 кг;

КБК-2 - 250 кг

Подъем материалов и оборудования

1

2

Контейнер для рулонных материалов

Пр. № 503/3-1307 Мосэнергоспецремонт

Грузоподъемность - до 90 кг

Подача рулонов

1

3

Строп 4-ветвевой

4СК-5.0-4000

ГОСТ 25573-82*

Грузоподъемность 5 т Длина стропа 4 м

Подъем материалов и оборудования

1

4

Ящик для раствора

РЧ 4241.42.00

ЦНИИОМТП

Объем 0,25 м3

Для подачи бетонной смеси

1

5

Тележка

РЧ 1688.00.000

ЦНИИОМТП

Грузоподъемность - до 90 кг, масса 17 кг

Подвозка материалов

1

6

Тележка-стойка для баллона с газом

РЧ 1329-3.03.000

ЦНИИОМТП

Грузоподъемность - до 30 кг, масса 13,2 кг

Перевозка и установка баллонов

1

7

Компрессор

К-24 (аналог СО-243)

Производительность - 0,5 м3/мин

Давление - 0,6 МПа

Масса - 140 кг

Удаление пыли с основания кровли

1

8

Установка (регенератор) «РМКЛ»

ООО «Стройдизайнконсалтинг»

Москва

Масса - 50 кг

Потребляемая мощность - 30 кВт

Сушка основания кровли

1

9

Машина ручная сверлильная

ИЭ-1032

Диаметр сверления - до 12 мм, масса 1,7 кг

Сверление отверстий для механического крепежа

2

10

Каток ручной

РЧ 735.00.000

ЦНИИОМТП

Масса 5 кг

Прикатка в местах нахлесток

1

11

Рулетка стальная

РЗ-20

ГОСТ 7502-98

Длина 20 м

Масса 0,35 кг

Замеры

1

12

Рейка поверочная

ВМ-Р-5,1

Длина 2 м

Проверка ровности основания и нижнего слоя

1

13

Ограждения инвентарные участков производства работ

ГОСТ 23407-78

 

Безопасность работ

Местоположения по факту

14

Баллон для газа

ГОСТ 15860-84

Масса 22 кг Объем 50 л

Хранение газа

2

15

Горелки газовые

ГВ-1-02П, ЦНИИОМТП

Масса 1,25 кг

Расплавление мастики

1

5. КАЛЬКУЛЯЦИЯ ЗАТРАТ ТРУДА

Таблица 5

№ п.п.

Наименование технологического процесса

Единица измерения

Объем работ

Норма затрат труда на единицу измерения, чел.-ч

Затраты труда на общий объем работ, чел.-ч

1

Очистка основания от мусора

100 м2 основания

10

0,41

4,1

2

Просушивание влажных мест основания (20 % поверхности)

То же

2

8,6

17,2

3

Грунтование поверхности основания праймером (битумной грунтовкой) вручную

»

10

1,9

19,0

4

Обустройство водосточных воронок

1 шт.

4

1,3

5,2

5

Укладка и механическое крепление рулонного материала

100 м2 слоя

10

(0,85+0,98+1,28)=3,11

31,1

6

Устройство примыканий кровли к парапетам

1 м

220

0,1

22,0

7

Обустройство свесов

100 м2

3

4,6

13,8

8

Переноска материалов (грузов) (50 м)

1 т

10

(1,5+0,56×4)=3,74

37,4

 

Всего:

 

 

 

149,8

6. ГРАФИК ПРОИЗВОДСТВА РАБОТ

№ п.п.

Наименование технологических процессов

Ед. изм.

Объем работ

Затраты труда

Продолжит. процесса, ч

Рабочие дни

рабочих чел.-ч

на общий объем работ, чел.-ч

1

2

3

4

5

6

7

8

9

10

1

Очистка основания механизированным способом

100 м2

10

0,41

4,1

2,05

 

 

 

 

 

 

 

 

 

 

 

 

2

Просушивание влажных мест основания механизированным способом

100 м2

2

8,6

17,2

17,2

 

 

 

 

 

 

 

 

 

 

 

 

 

 

 

 

 

 

3

Грунтование поверхности основания битумной грунтовкой вручную

100 м2

10

1,9

19,0

19,0

 

 

 

 

 

 

 

 

 

 

 

 

 

 

 

 

 

 

 

 

 

 

 

4

Отделка водосточных воронок

1 шт.

4

1,3

5,2

5,2

 

 

 

 

 

 

 

 

 

 

 

 

5

Укладка, механическое закрепление и склеивание по швам материала филизол-супер

100 м2 одного слоя

10

3,11

31,1

31,1

 

 

 

 

 

 

 

 

 

 

 

 

 

6

Устройство примыканий кровли к парапетам

1 м

220

0,1

22,0

22,0

 

 

 

 

 

 

 

 

 

 

 

 

 

 

 

 

 

 

7

Обделка свесов

100 м2

2

8,6

17,2

17,2

 

 

 

 

 

 

 

 

 

 

 

8

Переноска материалов

1 т

10

3,74

37,4

6,9

 

 

 

 

 

 

 

 

 

 

 

 

 

 

 

 

 

 

 

 

 

 

 

 

 

 

 

 

 

Общая продолжительность работы 7 смен

7. ТЕХНИКА БЕЗОПАСНОСТИ И ОХРАНА ТРУДА

При выполнении работ следует руководствоваться СНиП 12-03-2001 «Безопасность труда в строительстве. Часть 1. Общие положения».

Пожарная безопасность труда обеспечивается выполнением требований ППБ 01-03 «Правила пожарной безопасности в Российской Федерации».

Электробезопасность труда обеспечивается выполнением требований ПУЭ.

Инструктаж о безопасных методах, приемах и последовательности выполнения работы возлагается на мастера, бригадира, руководителя работ.

При работе на скатах с уклоном более 20° и при отделке карнизов кровли с любым уклоном кровельщик обязан пользоваться предохранительным поясом и стропом.

При размещении на кровле деталей, материалов, инструмента необходимо принять меры против их скольжения по скату или сдувания ветром.

Элементы и детали кровли, в том числе компенсаторы в швах, защитные фартуки, звенья водосточных труб, сливы, свесы и т.п., следует подавать на рабочие места в заготовленном виде.

Работы допускается производить при температуре наружного воздуха до минус 20 °С и при отсутствии снегопада, гололеда и дождя.

Специальной проработки вопросов, связанных с обеспечением безопасности работ, рассматриваемых в данной технологической карте, не требуется.

 




ГОСТЫ, СТРОИТЕЛЬНЫЕ и ТЕХНИЧЕСКИЕ НОРМАТИВЫ.
Некоммерческая онлайн система, содержащая все Российские Госты, национальные Стандарты и нормативы.
В Системе содержится более 150000 файлов нормативно-технической документации, действующей на территории РФ.
Система предназначена для широкого круга инженерно-технических специалистов.

Рейтинг@Mail.ru Яндекс цитирования

Copyright © www.gostrf.com, 2008 - 2026