|
|
|
РУКОВОДЯЩИЙ ДОКУМЕНТ РУКОВОДСТВО ПО ОРГАНИЗАЦИИ ПЛАНОВО-ПРЕДУПРЕДИТЕЛЬНОГО ТЕХНИЧЕСКОГО ОБСЛУЖИВАНИЯ, РЕМОНТА И МЕТРОЛОГИЧЕСКОГО ОБЕСПЕЧЕНИЯ СРЕДСТВ ТЕХНИЧЕСКОГО ДИАГНОСТИРОВАНИЯ ЛЕГКОВЫХ АВТОМОБИЛЕЙ НА ПРЕДПРИЯТИЯХ АВТОТЕХОБСЛУЖИВАНИЯ РД 37.009.012-88 МИНИСТЕРСТВО АВТОМОБИЛЬНОЙ ПРОМЫШЛЕННОСТИ Москва УТВЕРЖДАЮ
1988 Разработано: Филиалом НАМИ: Харазов A.M. (руководитель разработки), Рудник Р.М. (ответственный исполнитель), Цвид С.Ф. Киевским КТБ: Ващенко В.Е. Герус И.М. ВПИ: Сергеев A.Г. Молдавским РСУ "Автотехобслуживание": Урсу. Т.И. Дикерман Я.С. Грузинским РСУ "Автотехобслуживание"; Авадиани З.Ш; ПУ "Москвичавтотехобслуживание": Ломтадзе Г.М. НПО "Главмосавтотранс": Шульман Л.А. Елатомцев С.В. При подготовке документа использованы материалы Филиала НАМИ, Киевского КТБ; Р/О "Росавтотехобслуживание", ПУ "Москвич-автотехобслуживание'', ВПИ, НПО "Главмосавтотранс'' и др. организаций; Документ предназначен для инженерно-технического персонала специализированных ведомственных ремонтно-метрологических служб по техническому обслуживанию, ремонту и поверке (аттестации) СТД на предприятиях автотехобслуживания. Срок действия документа до 1993 года. При необходимости отдельные разделы и нормативы документа могут быть уточнены и дополнены, а срок действия документа может быть изменен. СОДЕРЖАНИЕ ВВЕДЕНИЕПовышение качества и снижение трудоемкости и стоимости технического обслуживания (ТО) и ремонта автомобилей зависит от работоспособности средств технического диагностирования (СТД), точности и достоверности измерения ими диагностических параметров и, соответственно постановки диагноза. Указанные условия могут быть обеспечены при рациональном и обоснованном выборе СТД для оснащения ими производственных предприятий автотехобслуживания (далее СТО), а также при условии обеспечения исправного технического состояния и метрологического обеспечения в период эксплуатации выбранных и используемых СТД. Документ разработан в дополнение действующего "Положения о планово-предупредительном ремонте оборудования, имеющегося на СТО легковых автомобилей" в части ТО, ремонта и поверки СТД. Отличительной особенностью документа является переход на гибкую систему межремонтных интервалов, при которых объемы и периодичность проведения ремонтных работ применительно к конкретной единице СТД осуществляется по фактической необходимости. Документ включает в себя нормативы по периодичности и трудоемкости выполнения ТО, ремонтов и поверки СТД, рекомендации по организации их выполнения. В основу документа положены, действующие в системе автотехобслуживания нормативно-технические документы (приложение I). Документ предназначен для специализированных служб, осуществляющих техническое обслуживание, ремонт и метрологическое обеспечение СТД; его рекомендации могут быть использованы также организациями, проектирующими и изготавливающими СТД и специалистами по эксплуатации СТД в смежных отраслях народного хозяйства. 1. ОБЩИЕ ПОЛОЖЕНИЯ1.1. Поддержание СТД в технически исправном состоянии (в пределах требований, установленных нормативно-технической документацией) обеспечивается путем рационального использования оборудования, оптимизация объемов и периодичности проведения операций ТО, ремонта, метрологического обеспечения и хранения СТД. Оно осуществляется проведением регламентированных ТО и поверок, выполнением по потребности текущих, средних и капитальных ремонтов. 1.2. В основу настоящего документа, положены следующие требования технического обслуживания, ремонта и метрологического обеспечения СТД. Техническое обслуживание СТД - комплекс операций или операция по поддержанию работоспособности или исправности СТД при использовании по назначению, хранения и транспортировании. Ремонт СТД - комплекс операций по восстановлению исправности или работоспособности СТД и восстановлению ресурсов СТД или их составных частей. Необходимость текущего, среднего и капитального ремонтов СТД уточняется перед его проведением по результатам углубленной проверки на функционирование и поверки. Метрологическое обеспечение СТД - комплекс организационно-технических мероприятий, проводимых на предприятиях и направленных на достижение единства требуемой точности и достоверности измерений. Организация и выполнение метрологической, аттестаций и поверки конкретных типов СТД осуществляется в соответствии с межповерочными интервалами, установленными методическими указаниями (МУ.) на методы и средства поверки. Порядок проведения работ по метрологическому обеспечению СТД на предприятиях автотехобслуживания регламентируется отраслевыми документами. 1.3. Нормативный перечень СТД для оснащения ими технологических зон СТО предприятий автотехобслуживания регламентируется "Табелем технологического обслуживания и специнструмента для СТО...", разработанного филиалом НАМИ в 1987 году. По функциональному на значению СТД подразделяются на: средства диагностирования двигателей и его систем; стенды для проверки тормозных систем; стенды для проверки тягово-экономических показателей; стенды для проверки углов установок колес и органов управления; стенды для проверки амортизаторов; станки для балансировки колес; приборы для проверки и регулировки внешних световых устройств автомобилей. 1.4. Организация и порядок выполнения ремонтно-поверочных работ осуществляется в соответствии с требованиями РД 37.665.002-85 "Организация, и порядок проведения поверки, ревизии и экспертизы средств измерений, находящихся в эксплуатации на предприятиях "Автотехобслуживание" и РД 50-89-80 "Методические указания. Регистрация предприятий, организаций и учреждений на право изготовления, ремонта и поверки средств измерений. Организация и порядок проведения". Допускается совмещение работ по ремонту и поверке СТД. 1.5. Аттестация испытательного оборудования проводится в соответствии с ГОСТ 24555-81, метрологическое обеспечение средств измерений проводится в соответствии с требованиями ГОСТ 8.326-78, ГОСТ 8.513-84. 1.6. К эксплуатации СТД допускаются лица, прошедшие специальную подготовку (обучение). Лица, осуществляющие метрологическую аттестацию и поверку СТД должны пройти обучение на курсах повышения квалификации ведомственных поверителей и иметь соответствующие удостоверения. 2. ОРГАНИЗАЦИЯ ПРОВЕДЕНИЯ РАБОТ ПО ТЕХНИЧЕСКОМУ ОБСЛУЖИВАНИЮ И РЕМОНТУ СТД2.1. Система ТО, ремонтов и поверки СТД включает в себя ежесменное (ежедневное) техническое обслуживание (ЕТО), периодическое регламентное техническое обслуживание (ПТО), текущий (ТР), средний (СР) и капитальный (КР) ремонты. Ориентировочные нормативы-периодичности выполнения работ по техническому обслуживанию и ремонту отдельных моделей СТД в зависимости от коэффициента интегрального использования СТД приведены в приложении 2. Справочные усредненные интегральные коэффициенты использования СТД на, предприятиях автотехобслуживания даны в таблице 1. Техническое обслуживание СТД проводится также перед постановкой СТД на длительное хранение, в процессе длительного хранения (периодичность проведения ТО устанавливается исходя из конкретных условий хранения СТД), при снятии с длительного хранения. Интегральные коэффициенты использования* СТД Кинт на предприятиях "Автотехобслуживания" (справочные)**
*) Кинт - интегральный коэффициент использования СТД, являющийся обобщающим показателем использования оборудования Кинт = Кэко × К'инт Кэко - коэффициент экотеноивой загрузки, определяющий общую долю отработанного времени, определяется как, отношение фактического числа машинозаездов к теоретически возможному за один и тот же период времени. К'инт - коэффициент интенсивной загрузки, определяющий использование оборудования по производительности, определяется, как отношение фактического объема услуг к теоретически возможному за один и тот же период времени. **) Подлежат уточнению и корректировке по различным управлениям (объединениям) "АТО". 2.2. Регламентные ТО, возможные ремонты (последние планируются на основе среднестатистических данных по отказам СТД по ГОСТ 27.502-83, ГОСТ 27.503-81) и метрологическое обеспечение СТД проводятся по графику согласованному со специализированными службами и утвержденному руководителем предприятия (гл. инженером), эксплуатирующего СТД. 2.3. Техническое обслуживание СТД проводится в объемах, предусмотренных технической документацией (техническим описанием, инструкцией по эксплуатации) на местах их использования. 2.4. Текущий и средний ремонты СТД могут быть осуществлены как, на местах их использования выездными ремонтными группами, так и в специализированных ремонтных предприятиях. 2.5. Капитальный ремонт СТД проводится только на специализированных участках (предприятиях). 2.6. Ремонтно-поверочные работы СТД на СТО допускается проводить с применением специализированных передвижных лабораторий. 2.7. Для выполнения текущего, среднего и капитального ремонтов СТД специализированными предприятиями, последние должны быть оборудованы необходимыми средствами измерений, спецоборудованием, инструментом и всей необходимой нормативно-технической и технологической документацией (инструкция по обслуживанию, техническое описание, каталог запчастей, инструкция по ремонту и т.д.) Для хранения запасных частей для ремонта СТД должно быть предусмотрено складское помещение, отвечающее требованиям сохранности от порчи и хищения. 2.8. При ЕТО проводится визуальный осмотр и опробование СТД в работе, выполнение несложных регулировочных работ и устранение мелких неисправностей. ЕТО выполняет персонал, эксплуатирующий данное СТД, при необходимости привлекается персонал специализированной службы. ЕТО не должно нарушать графика работы технологической зоны СТО. К мелким неисправностям различных типов СТД относятся неисправности, которые могут быть устранены без остановки технологического процесса. 2.9. При ПТО проводятся: углубленная проверка технического состояния СТД, регулировочные и калибровочные (градуированные) работы, устранение выявленных неисправностей с последующей сдачей СТД на поверку. ПТО СТД выполняет персонал, эксплуатирующей данное СТД. При необходимости привлекается персонал специализированной службы. При наличии СТД узлов или отдельных элементов с регламентированным сроком службы осуществляется их замена на новые при соответствующем ТО. 2.10. ТР включает устранение неисправностей, регулировку и настройку отдельных узлов и блоков. Целесообразно ТР совмещать с проведением очередных плановых регламента ТО. Осмотр и определение фактической необходимости в проведении ремонтных работ предшествует или совмещается с проведением регламентных ТО. Заключительным этапом ТР является поверка СТД; исключение составляют случаи, когда неисправность и ремонтные воздействия по их устранению не влияют на изменение метрологических характеристик СТД. Для механических узлов (систем) СТД необходимость проведения ТР определяется внешним осмотром и проверкой на функционирование, для электронных - по результатам внешнего осмотра, проверкой на функционирование и результатам поверки. 2.11. На заявочные (аварийные) ремонты, которые проявляются в межрегламентный период проведения ТО и не могут быть устранены эксплуатирующим СТД персоналом, подается заявка на ремонт СТД (с указанием вида отказа, внешних признаков его проявления, даты подачи заявки). Средний ремонт СТД предусматривает выполнение работ по полному или частичному восстановлению ресурса СТД с заменой или восстановлением составных частей ограниченной номенклатуры и контролем технического состояния составных частей, выполняемым в объеме, установленном ремонтной документацией. 2.12. Капитальный ремонт СТД предусматривает замену узлов, блоков, электронных плат, пришедших в негодность. В процессе КР средство технического диагностирования разбирается на отдельные узлы (детали) блоки и электронные платы и дефектуется. После проведения капитального ремонта СТД поверяется. 2.13. Порядок приема в ремонт, поверки и выдачи СТД из ремонта регламентируется соответствующей нормативно-технической документацией. 2.14. В условиях эксплуатации после выяснения причины неисправности СТД составляется акт представителем специализированной службы и представителем эксплуатирующего СТД персонала. Если причиной неисправности являются конструктивные или производственные дефекты СТД, руководство СТО должно в установленном порядке сообщить об этом заводу-изготовителю (для СТД иностранного производства в течение гарантийного срока службы соответствующей внешнеторговой организации страны или представителям фирмы-изготовителя в СССР). 2.15. При обслуживании и ремонте зарубежных СТД допускается применение соответствующих отечественных аналогов по назначению, характеристикам и параметрам. 2.16. При выполнении технического обслуживания и ремонта СТД должна быть обеспечена безопасность обслуживающего персонала в соответствии с системой стандартов безопасности труда (ССБТ) и соблюдение требований ГОСТ 12.0.005-84 "Метрологическое обеспечение в области безопасности труда. Основные положения". 2.17. Усредненные нормативы трудоемкости проведения ремонтов основных моделей СТД, применяемых на предприятиях автотехобслуживания, приведены в приложении 3. 2.18. Перечень разработанных и действующих в Глававтотехобслуживании технологических процессов ремонта СТД приведены в приложении 4. 3. ОРГАНИЗАЦИЯ ПРОВЕДЕНИЯ РАБОТ ПО МЕТРОЛОГИЧЕСКОМУ ОБЕСПЕЧЕНИЮ СТД3.1. Общие положения по метрологическому обеспечению (МО) СТД.3.1.1. Метрологическое обеспечение, СТД осуществляется в соответствии с требованиями государственной системы обеспечения единства измерений (ГСИ), государственной системы стандартизации (ГСС), отраслевых стандартов и нормативно-технической документации. Рекомендации по оснащению метрологической лаборатории образцовыми СИ для поверки СТД в стационарном и передвижном вариантах приведены в приложении 5 и 6. В приложении 7 даны рекомендации по оснащению лаборатории, по поверке газоанализаторов поверочными средствами. 3.1.2. Основные цели и задачи МО СТД. Основной целью МО СТД является повышение качества и эффективности их применения в технологических процессах производства и обеспечение необходимой точности к достоверности измерений параметров автомобилей при их ТО и ремонте. Основными задачами МО СТД на предприятиях являются: Организация и проведение метрологической аттестации и поверки - обеспечение постоянной готовности СТД к выполнению измерений с нормированной погрешностью; - упорядочение контроля за СТД, применяемыми на предприятии. 3.1.3. К эксплуатации допускаются СТД, прошедшие государственные приемочные испытания, метрологическую аттестацию или поверку в соответствии с требованиями ГОСТ 8.001-80, ГОСТ 8.383-80, ГОСТ 8.326-78 и ГОСТ 8.513-84. 3.1.4. СТД, подлежащие ввозу партиями из-за границы, в соответствии с ГОСТ 8.383-80 должны подвергаться государственным испытаниям по ГОСТ 8.001-80. 3.1.5. СТД единичного производства или подлежащие ввозу из-за границы единичными экземплярами в соответствии с ГОСТ 8.383-80 должны подвергаться метрологической аттестации по ГОСТ 8.326-78. 3.1.6. СТД, на которые не распространяются условия взаимного признания результатов государственных испытаний стран-участниц СЭВ в соответствии с СТ СЭВ 1707-78 и не прошедшие государственных испытаний по ГОСТ 8.001-80 допускаются к применению после проведения метрологической аттестации по ГОСТ 8.326-78. 3.1.7. СТД, прошедшие государственные испытания или метрологическую аттестацию подлежат учету и в дальнейшем подвергаются периодической поверке. 3.1.8. СТД подвергаются следующим видам поверки: - первичная - при вводе в эксплуатацию у потребителя (по назначению соответствует метрологической аттестации); - периодическая - согласно графику периодической поверки СТД, утвержденному в установленном порядке и согласованным с территориальным органом Госстандарта; - внеочередная - после длительного хранения, при повреждении поверительного клейма при утере документа о поверке; - инспекционная - при, осуществлении госнадзора и ведомственного метрологического контроля за состоянием СТД; - экспертная - при возникновении спорных вопросов по исправности СТД, пригодности его к применению. 3.1.9. Периодичность поверки СТД на предприятиях Минавтопрома устанавливается в соответствии с требованиями РД. 37.665.002-85 "Организация и порядок проведения поверки и экспертизы средств измерений, находящихся в эксплуатации на предприятиях автотехобслуживания" и РД 50-330-82 "Методические указания. Определение межповерочных интервалов рабочих средств измерений". Периодичность поверки СТД приведена в приложении 8. 3.1.10. Поверка СТД осуществляется по методикам поверки в соответствии с графиками поверки, согласованными с поверяющими службами. Перечень методик поверки СТД, разработанных и действующих в системе Глававтотехобслуживания приведен в приложении 9. 3.1.11. На все СТД, прошедшие поверку, наносится оттиск поверительного клейма или выдается свидетельство о поверке в соответствии с требованиями РД 50-579-86 "Правила изготовления, хранения и применения поверительных клейм. 3.1.12. Нормативы трудоёмкости проведения поверок основных моделей СТД, применяемых в системе автотехобслуживания, приведены в упомянутом приложении 3. 3.1.13. Государственный надзор и ведомственный контроль за средствами технического диагностирования осуществляется в соответствии с требованиями ГОСТ 8.002-86 и РД 37.665.003-86 "Порядок и критерии оценки уровня метрологического обеспечения и деятельности метрологических служб РСО, ОПО, СТО "Автотехобслуживание". 3.2. Классификация СТД по метрологическому признаку (приложение 10).СТД, используемые на предприятиях и в организациях автотехобслуживания, по своим метрологическим характеристикам подразделяются на следующие виды: - СТД, используемые в качестве средств измерений (СИТД); - СТД, используемые в качестве средства контроля (СКТД); - СТД, используемые в качестве испытательного оборудования (ИОТД) К СТД, используемым в качестве СИ, относятся технические средства, предназначенные для измерения единиц физических величин, характеризующих параметры их систем и узлов с нормированной точностью. Техническое состояние диагностируемого автомобиля (системы, узла) определяется на основании количественной метрологической информации, полученному с нормированной точностью с помощью применяемого СИТД. К средствам контроля (СК) относятся технические средства, не имеющие нормированных метрологических характеристик и предназначенные для определения качественного состояния диагностируемого объекта. Техническое состояние автомобиля (его системы, узла) определяется с помощью СКТД без оценки нормирования значений его параметров. К испытательному оборудованию, предназначенному для технического диагностирования (ИО) относятся технические средства, воспроизводящие нормированные внешние воздействующие факторы и режимы, условия или нагрузки, используемые при техническом диагностировании автомобиля. ИО может быть укомплектовано средствами измерений (СИ) общего назначения, которые, являясь автономными средствами измерений, включены в комплекты ИО с целью повышения производительности труда и качества услуг при осуществлении технического диагностирования автомобилей. Указанные СИ, входящие в состав ИО отдельно подвергаются поверке. 3.3. Расчет численности ремонтно-поверочной службы.3.3.1. Численность слесарей по ремонту и поверке СТД определяется в соответствии с МИ 185-79 Госстандарта. Пример расчета численности слесарей по ремонту и поверке СТД приведены в приложении 11. 4. ТРАНСПОРТИРОВАНИЕ, УЧЕТ, ЭКСПЛУАТАЦИЯ И ХРАНЕНИЕ СТД4.1. Транспортирование СТД осуществляется в соответствии с требованиями, изложенными в инструкции по эксплуатации и ГОСТ 25836-83. При подготовке к транспортированию следует обращать внимание на установку шкал приборов на отметки и деления, указанные в инструкции по эксплуатации. Для транспортирования СТД необходимо применять упаковку, обеспечивающую сохранность СТД. 4.2. СТД, эксплуатирующееся на предприятиях, подлежит обязательному учету, который показывает его наличие, движение и техническое состояние. Независимо от назначения, все СТД подлежат учету по специальным нормам в соответствующих журналах (карточках): - наличие и движение СТД; - СТД, выданные во временное пользование; - поверка и ремонт СТД. 4.3. СТД, находящиеся в эксплуатации, должны быть укомплектованы паспортом, формуляром, техническим описанием, инструкциями по эксплуатации в соответствии с требованиями ГОСТ 2.601-68 и технологическими процессами диагностирования параметров автомобиля с применением указанных в них типов СТД. 4.4. Хранение СТД - этап эксплуатации, при котором СТД, находящиеся длительные сроки в нерабочем состоянии, должны поддерживаться в исправном виде, который достигается подготовкой к хранению, наличием соответствующих помещений, правильным; размещением в местах хранения, проведением. На хранение ставятся СТД в исправном состояние (виде), поверенные, укомплектованные эксплуатационной документацией и одиночными комплектами ЗИП. Во время хранения СТД подвергаются плановым осмотрам и техническому обслуживанию с учетом сроков поверки в данных, полученных при ранее проведенных осмотрах межповерочные интервалы в этом случае должны устанавливаться не более удвоенных периодических поверок, принятых в эксплуатации. Если СТД находятся на хранении в гарантийный их срок, то межповерочные интервалы должны быть не более принятых на них гарантийных сроков. От Филиала НАМИ: Зав. лабораторией технологического оборудования для СТО А.М. Хараков М.п.с, ответственный исполнитель Р.М. Рудник Ст.н.с., исполнитель С.Ф. Цвид Нормоконтроль: зав. лабораторией От КТБ г. Киева: Директор В.Е. Ващенко Зав. отделом стандартизации и метрологии И.М. Герус От НПО "Главкосавготранса": Гл. метролог Д.А. Шульман Ст.н.с. лаборатории метрологического обеспечения О.В. Елатомцев От ВПИ: Зав. кафедрой метрологии и стандартизации А.Г. Сергеев От ПУ "Москвичавтотехобслуживание": Гл. метролог Г.М. Ломтадзе От РСУ "Автотехобслуживание" Молдавской ССР: Нач. технического отдела Т.И. Урсу Оператор-диагност Я.С. Дикерман От РСУ "Автотехобслуживание" Грузинской ССР: Гл. метролог З.Ш. Авалиани Приложение 1
|
|||||||||||||||||||||||||||||||||||||||||||||||||||||||||||||||||||||||||||||||||||||||||||||||||||||||||||||||||||||||||||||||||||||||||||||||||||||||||||||||||||||||||||||||||||||||||||||||||||||||||||||||||||||||||||||||||||||||||||||||||||||||||||||||||||||||||||||||||||||||||||||||||||||||||||||||||||||||||||||||||||||||||||||||||||||||||||||||||||||||||||||||||||||||||||||||||||||||||||||||||||||||||||||||||||||||||||||||||||||||||||||||||||||||||||||||||||||||||||||||||||||||||||||||||||||||||||||||||||||||||||||||||||||||||||||||||||||||||||||||||||||||||||||||||||||||||||||||||||||||||||||||||||||||||||||||||||||||||||||||||||||||||||||||||||||||||||||||||||||||||||||||||||||||||||||||||||||||||||||||||||||||||||||||||||||||||||||||||||||||||||||||||||||||||||||||||||||||||||||||||||||||||||||||||||||||||||||||||||||||||||||||||||||||||||||||||||||||||||||||||||||||||||||||||||||||||||||||||||||||||||||||||||||||||||||||||||||||||||||||||||||||||||||||||||||||||||||||||||||||
|
Наименование СТД |
Виды обслуживаний |
Фактическая наработка, час. |
Периодичность выполнения ТО, ТР, СК, КР (месяцы) |
|
|
При Кинт.: |
|
|||
|
0,25 |
0,5 |
|||
|
1 |
2 |
3 |
4 |
|
|
Мотор-тестеры |
ТО |
200 |
4 |
2 |
|
ТР' |
600 |
12 |
6 ' |
|
|
СР |
2400 |
48 |
24 |
|
|
КР |
4800 |
96 |
48 |
|
|
Газоанализаторы |
ТО |
200 |
4 |
2 |
|
ТР |
600 |
12 |
6 |
|
|
СР |
1800 |
36 |
18 |
|
|
КР |
3600 |
72 |
36 |
|
|
Проездные стенды для контроля углов установки колес |
ТО |
300 |
6 |
3 |
|
ТР |
900 |
|
9 |
|
|
СР |
- |
- |
- |
|
|
КР |
- |
- |
- |
|
|
Стенды для проверки углов установкой колес |
ТО |
300 |
6 |
3 |
|
ТР |
900 |
13 |
9 |
|
|
СР |
- |
- |
- |
|
|
КР |
- |
- |
- |
|
|
Стенды тяговые |
ТО |
200 |
4 |
2 |
|
ТР |
400 |
8 |
4 |
|
|
СР |
2400 |
48 |
24 |
|
|
КР |
4800 |
96 |
48 |
|
|
Стенды для проверки тормозов |
ТО |
200 |
4 |
2 |
|
ТР |
600 |
12 |
6 |
|
|
СР |
3000 |
60 |
30 |
|
|
КР |
6000 |
120 |
60 |
|
|
Приборы для проверки и регулировки фар (c измерителем силы света фар) |
ТО |
200 |
4 |
2 |
|
ТР |
600 |
12 |
6 |
|
|
СР |
|
72 |
36 |
|
|
КР |
- |
- |
- |
|
|
Станки для балансировки колес |
ТО |
300 |
8 |
4 |
|
ТР |
900 |
18 |
9 |
|
|
СР |
3600 |
72 |
36 |
|
|
КР |
- |
- |
- |
|
|
№№ п/п |
Наименование средств технического диагностирования и основных измерительных блоков, входящих в их состав |
Тип СТД |
Норма времени на метрологическую аттестацию (час) |
Норма времени на периодическую поверку(час) |
Квалификация основных исполнителей |
Текущий ремонт |
Средний ремонт |
Капитальный ремонт |
|
Норма времени, час |
Норма времени, час |
Норма времени, час |
||||||
|
1 |
2 |
3 |
4 |
5 |
6 |
7 |
8 |
9 |
|
I. |
Установка для технического диагностирования карбюраторных двигателей: |
Элкон - Ш 300 |
50,4 |
2,0 |
слесарь 6 разряд (зав. сектором) |
101,8 |
266,29 |
368,28 |
|
1. |
Осциллографический блок |
|
24,35 |
В 0,53 |
|
28,73 |
98,82 |
128,87 |
|
2. |
Цифровой измерительный блок |
|
18,27 |
D 0,15 |
|
32,42 |
91,71 |
131,17 |
|
3. |
Блок измерения давления и вакуума |
|
0,47 |
0,026 |
|
24,25 |
49,16 |
67,24 |
|
4. |
Блок газоанализатора |
|
7,3 |
0,06 |
|
16,40 |
26,60 |
41,00 |
|
II. |
Установка для технического диагностирования карбюраторных двигателей: |
Элкон-Ш200 |
49,8 |
2,71 |
слесарь 6 разряд (зав. сектором) |
101,8 |
228,37 |
344,26 |
|
1. |
Осциллографический блок |
|
24,35 |
3,53 |
|
28,73 |
98,82 |
128,87 |
|
2. |
Электрический измерительный прибор |
|
17,34 |
9,86 |
|
32,42 |
55,79 |
107,15 |
|
3. |
Блок измерения давления и вакуума |
|
0,47 |
0,26 |
|
24,25 |
49,16 |
67,24 |
|
4. |
Блок газоанализатора |
|
7,3 |
4,06 |
|
16,40 |
24,60 |
41,00 |
|
III. |
Установка для технического диагностирования карбюраторных двигателей: |
Элкон-Ш-100 |
49,66 |
27,59 |
слесарь 6 разряд (зав. сектором) |
73,98 |
218,31 |
296,24 |
|
1. |
Осциллографический блок |
Элкон - Ш -100А ЗД-1 |
24,35 |
13,53 |
|
10,61 |
43,78 |
57,18 |
|
2. |
Блок измерения числа оборотов |
|
2,91 |
1,62 |
|
11,03 |
43,78 |
57,18 |
|
3. |
Блок измерения мощности и угла-опережения зажигания |
|
4,17 |
2,32 |
слесарь 6 разряд |
13,88 |
54,59 |
71,40 |
|
4. |
Блок измерения (И, J, R, С) |
|
10,44 |
5,80 |
(зав. сектором) |
10,00 |
41,03 |
55,32 |
|
5. |
Блок газоанализатора |
|
7,3 |
4,06 |
|
14,66 |
18,32 |
31,63 |
|
6. |
Блок измерения давления и вакуума |
|
0,47 |
0,26 |
|
13,90 |
16,81 |
24,27 |
|
IV |
Установка для технического диагностирования карбюраторных двигателей: |
ЗД-2А |
55,67 |
30,93 |
слесарь 6 разряда (зав. сектором) |
100,82 |
262,93 |
354,27 |
|
1. |
Осциллографический блок |
|
24,35 |
13,53 |
|
12,20 |
50,34 |
78,96 |
|
2. |
Блок измерения числа оборотов угла опережения зажигания, мощности, цилиндров |
|
6,26 |
3,48 |
|
59,36 |
138,27 |
175,41 |
|
3. |
Блок газоанализатора |
|
7,3 |
4,06 |
|
17,76 |
27,14 |
38,55 |
|
4. |
Блок измерения (И, J, R, C) |
|
17,74 |
9,86 |
|
11,5 |
47,18 |
61,35 |
|
V. |
Установка для технического диагностирования карбюраторных двигателей: |
Палтест ИТ-251 |
46,74 |
25,97 |
слесарь 6 разряда (зав. сектором) |
73,98 |
218,31 |
303,68 |
|
1. |
Осциллографический блок |
|
24,35 |
13,53 |
|
10,61 |
43,78 |
57,16 |
|
2. |
Блок измерения числа оборотов и угла опережения |
|
4,17 |
2,32 |
|
24,91 |
98,37 |
135,30 |
|
3. |
Блок проверки герметичности |
|
0,47 |
0,25 |
|
13,90 |
16,81 |
24,27 |
|
4. |
Блок газоанализатора |
|
7,3 |
4,06 |
|
14,56 |
18,32 |
31,63 |
|
5. |
Блок измерения (И, J, R, С.) |
|
10,44 |
5,80 |
|
10,0 |
41,03 |
55,32 |
|
VI |
Установка для технического диагностирования карбюраторных двигателей: |
Палтест ИТ-254 |
36,52 |
23,95 |
слесарь 6 разряда (зав. сектором) |
57,8 |
170,55 |
237,25 |
|
1. |
Цифровой измерительный блок |
|
18,27 |
10,15 |
|
32,42 |
91,71 |
131,17 |
|
2. |
Блок газоанализатора |
|
7,3 |
4,06 |
|
|
|
|
|
3. |
Блок измерения (И, J, R, C) |
|
10,44 |
5,80 |
|
|
|
|
|
4. |
Блок измерения числа оборотов |
|
2,91 |
1,62 |
|
|
|
|
|
5. |
Блок измерения мощности и угла опережения зажигания |
|
4,17 |
2,32 |
|
|
|
|
|
VII |
Установка для технического диагностирования карбюраторных двигателей: |
К-46 |
40,0 |
22,24 |
слесарь 6 разряда (зав. сектором) |
53,27 |
210,64 |
317,80 |
|
1. |
Осциллографический блок |
|
24,35 |
13,53 |
|
12,20 |
50,34 |
78,4 |
|
2. |
Блок измерения опережения угла |
|
2,91 |
1,62 |
|
16,07 |
62,78 |
93,2 |
|
3. |
Блок измерения числа оборотов |
|
2,32 |
1,29 |
|
13,50 |
50,34 |
73,40 |
|
|
для измерения П, угла замкнутого состояния контактов, мощности |
|
10,44 |
5,80 |
|
11,50 |
47,18 |
72,80 |
|
VIII. |
Прибор для технического диагностирования электрооборудования карбюраторных двигателей |
Элкон-Ш320, ЗЛ-80 Э-214 |
17,53 |
9,74 |
слесарь 5р. (инжен.) |
24,90 |
98,60 |
130,20 |
|
IX. |
Прибор для технического диагностирования электрооборудования карбюраторных двигателей |
К-484, СВД-2, Элкон-Ш304 |
18,27 |
10,15 |
слесарь 5 р. (инжен.) |
42,50 |
113,64 |
155,80 |
|
|
прибор для измерения угла наклона пучка света фар автомобилей |
Новатор Новатор-66 |
3-65 |
2,03 |
слесарь 5 р. (инжен.) |
4,10 |
21,50 |
41,00 |
|
XI. |
Прибор для измерения угла наклона и величины освещенности пучка света фар автомобилей |
КС-20. Праф-3, Новатор-83 |
6,57 |
3,65 |
слесарь 5 р. (инжен.) |
8,20 |
41,00 |
64,20 |
|
XII. |
Установка для технического диагностирования карбюраторов: |
Карбютест |
7,02 |
3,90 |
слесарь 5 р. (инжен.) |
73,30 |
133,20 |
174,20 |
|
I. |
Блок проверки жиклеров |
МБКВ |
6,31 |
3,51 |
|
41,00 |
76,40 |
99,80 |
|
2. |
Блок проверки топливного насоса |
|
0,7 |
0,39 |
|
32,30 |
57,80 |
74,40 |
|
ХIII. |
Газоанализаторы |
Элкон-III 205 Инфралит-Т. Инфралит-8. |
13,28 |
7,33 |
слесарь 5 р. (инжен.) |
37,25 |
86,54 |
104,81 |
|
ХIV. |
Газоанализаторы |
ГАИ-1,ГАИ-2 Инфралит-2Т. |
26,56 |
14,76 |
слесарь 6 р. (зав. сектором) |
56,60 |
138,46 |
240,5 |
|
ХV. |
Станок для балансировки колес автомобиля |
EBK-I5: АМР-2; АМР-5; EBK-I8 |
10,8 |
6,0 |
слесарь 6 р. (инжен.) |
28,38 26,00 71,40 |
83,90 77,85 184,60 |
136,22 106,77 254,56 |
|
ХVI. |
Стенды для проверки тормозов |
К-208, РХ-500 Мотекс-7518 |
28,8 |
16,0 |
слесарь 5 р. (инжен.) |
45,94 |
71,63 |
96,22 |
|
ХVII. |
Прибор для измерения угла опережения зажигания |
Элкон - Ш 102 |
2,93 |
1,62 |
слесарь 5 р. (инжен.) |
11,92 |
25,50 |
32,40 |
|
ХVIII. |
Стенды для определения углов установки колес автомобилей |
РКО, К-III, III9M, Оптимотекс. |
28,8 |
16,0 |
слесарь 5 р. (инжен.) |
48,84 |
83,59 |
108,65 |
|
XIX. |
Стробоскопическое устройство |
ПАС-2, СИС-9 |
2,04 |
11,4 |
слесарь 5 р. (инжен.) |
9,0 |
19,00 |
56,0 |
|
XX. |
Стенд для измерения мощности автомобилей (тяговый) |
|
40,8 |
22,4 |
слесарь 6 р. (инжен.) |
64,2 |
118,70 |
187,10 |
|
XXI. |
Компрессометр |
179,181, КВ-1124 |
0,47 |
0,26 |
слесарь 5 р. (инжен.) |
7,09 |
8,4 |
10,3 |
|
|
Производственное объединение "Автотехобслуживание"
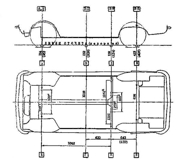
СТОЛ №_________ |
КАРТА ЗАМЕРОВ Автомобиль "Запорожец" ЗАЗ-966, 968 Дата ________ (нужное подчеркнуть) Мастер______
Заказ-заряд №______ Ном. знак_____ Заказчик__________ |

*- размеры для оправок
( ) - размеры с учетом приспособлений для навески линеек
|
Контрольные точки |
Место расположения контрольной точки |
Конструктивное использование места крепления пленки |
Приспособление для навески линейки в данной точке |
|
А-Б |
Пересечение осей крайних болтов крепления кронштейнов передней подвески с поверхностью пола кузова |
|
11 |
|
В-Г |
Отбортовка порожков кузова |
|
|
|
Д-Е |
Пересечение осей крайних болтов креплений наружных кронштейнов задней подвески с поверхностью пола |
|
13 |
|
И-З |
Пересечение oсeй нижних болтов крепления поперечны передней опоры двигателя с поверхностью пола кузова |
|
М10 |
Высота
|
Контрольные точки |
Результаты замеров |
Отклонения |
Контрольные точки |
Результаты замеров |
Отклонения |
|
А |
|
|
Б |
|
|
|
В |
|
|
Г |
|
|
|
Д |
|
|
Е |
|
|
|
Ж |
|
|
З |
|
|
Ширина
|
Контрольные точки |
Результаты замеров |
Отклонения |
|
А - Б |
|
|
|
В - Г |
|
|
|
Д - |
|
|
|
И - З |
|
|
Длина
|
Контрольные точки |
Результаты замеров |
Отклонения |
Контрольные точки |
Результаты замеров |
Отклонения |
|
А |
|
|
Б |
|
|
|
В |
|
|
Г |
|
|
|
Д |
|
|
Е |
|
|
|
Ж |
|
|
З |
|
|
|
|
Производственное объединение "Автотехобслуживание"
СТОЛ №_________ |
КАРТА ЗАМЕРОВ Дата________ Автомобиль "Москвич" -408, 412, 2138, 2140 Мастер______ (нужное подчеркнуть) Заказ-наряд №_______ Ном.знак_______ Заказчик______ |

( ) - размеры с учетом приспособления для навески линеек
|
Контрольные точки |
Место расположения контрольной точки |
Конструктивное исполнение места крепления линейки |
Приспособление для навески линейки в данной точке |
|
А - Б |
Пересечение осей передних болтов крепления стабилизатора с поверхностями лонжеронов |
|
М10 |
|
В - Г |
Пересечение осей задних болтов крепления передней подвески с поверхностями лонжеронов |
|
13 |
|
Д - Е |
Пересечение осей задних болтов крепления картера рулевого механизма и кронштейна маятникового рычага с внутренними поверхностями лонжеронов |
|
М10 |
|
Ж - З |
Пересечение осей задних болтов крепления поперечины опоры двигателя с поверхностями лонжеронов |
|
М8 |
|
И - К |
Центры задних технологических отверстий лонжеронов подмоторной рамы |
|
|
|
Л - И |
Пересечение oсeй передних пальцев рессор о внутренним поверхностями кронштейнов |
|
М12 |
|
Н - О |
Центры задних технологических отверстий лонжеронов пола |
|
|
ВЫСОТА
|
Контрольные точки |
Результаты замеров |
Отклонения |
Контрольные точки |
Результаты замеров |
Отклонения |
|
А |
|
|
Б |
|
|
|
В |
|
|
Г |
|
|
|
Д |
|
|
Е |
|
|
|
Ж |
|
|
З |
|
|
|
И |
|
|
К |
|
|
|
Л |
|
|
М |
|
|
|
Н |
|
|
О |
|
|
ШИРИНА
|
Контрольные точки |
Результаты замеров |
Отклонения |
|
А - В |
|
|
|
В - Г |
|
|
|
Д - Е |
|
|
|
Ж - З |
|
|
|
И - К |
|
|
|
Л - М |
|
|
|
Н - О |
|
|
ДЛИНА
|
Контрольные точки |
Результаты замеров |
Отклонения |
Контрольные точки |
Результаты замеров |
Отклонения |
|
А |
|
|
Б |
|
|
|
В |
|
|
Г |
|
|
|
Д |
|
|
Е |
|
|
|
Ж |
|
|
З |
|
|
|
И |
|
|
К |
|
|
|
Л |
|
|
М |
|
|
|
Н |
|
|
О |
|
|
|
|
Производственное объединение "Автотехобслуживание" СТОЛ №_________ |
КАРТА 3АМЕРОВ Автомобиль "Волга" ГАЗ-24,24-02 Дата________ (нужное подчеркнуть) Мастер_______ Заказ-наряд №______ Ном.знак_____ Заказчик_______ |

( ) - размеры с учетом приспособлений для навески линеек
|
Контрольные точки |
Место расположения контрольной точки |
Конструктивное исполнение места крепления линейки |
Приспособление для навески линейки в данной точке |
|
А-Б |
Пересечения осей передних болтов крепления брызговиков двигателя с поверхностями лонжеронов |
|
М6 |
|
В - Г |
Пересечение осей задних болтов крепления поперечины № 2 с поверхностями лонжеронов |
|
15 |
|
Д - Е |
Центры технологических отверстий (овальных) с внутренних сторон лонжеронов подмоторной рамы |
|
|
|
Ж - З |
Центры передних технологических отверстий лонжеронов пола |
|
|
|
И - К |
Пересечение осей передних пальцев рессор с наружными поверхностями кронштейнов |
|
М14-1,5 |
|
Л - М |
Центры задних технологический отверстий лонжеронов пола |
|
|
ВЫСОТА
|
Контрольные точки |
Результаты замеров |
Отклонение |
Контрольные точки |
Результаты замеров |
Отклонение |
|
А |
|
|
Б |
|
|
|
В |
|
|
Г |
|
|
|
Д |
|
|
Е |
|
|
|
Ж |
|
|
З |
|
|
|
И |
|
|
К |
|
|
|
Л |
|
|
М |
|
|
ШИРИНА
|
.Контрольные точки |
Результаты замеров |
Отклонение |
|
А- Б |
|
|
|
В - Г |
|
|
|
Д - Е |
|
|
|
Ж - З |
|
|
|
И - К |
|
|
|
Л - М |
|
|
ДЛИНА
|
Контрольные точки |
Результаты замеров |
Отклонение |
Контрольные точки |
Результаты замеров |
Отклонение |
|
А |
|
|
Б |
|
|
|
В |
|
|
Г |
|
|
|
Д |
|
|
Е |
|
|
|
Ж |
|
|
З |
|
|
|
И |
|
|
К |
|
|
|
Л |
|
|
М |
|
|
|
|
Производственное объединение "Автотехобслуживание" СТОЛ №_________ |
КАРТА ЗАМЕРОВ Автомобиль ВАЗ-2101, 21011, 2102, 2103, 2106 Дата_________ (нужное подчеркнуть) Мастер_____________ Заказ-наряд №_________ Ном. знак_________ Заказчик__________ |

( ) - размеры с учетом приспособлений для навески линеек
|
Контрольные точки |
Место расположения контрольной точки |
Конструктивное исполнение места крепления линейности |
Приспособление для навески линейки в данной точке |
|
А - Б |
Пересечение осей передних болтов крепления стабилизатора с поверхностями лонжеронов |
|
М8×1,25 |
|
В - Г |
Пересечение осей нижних болтов крепления картера рулевого механизма и кронштейна маятникового рычага с поверхностями брызговиков лонжеронов |
|
М10×1,25 |
|
Д - Е |
Центры передних технологических отверстий задней части передних лонжеронов |
|
|
|
Ж - З |
Центры задних технологических отверстий задней части передних лонжеронов |
|
|
|
И - К |
Пересечение осей болтов крепления нижних продольных штанг с наружными поверхностями кронштейнов кузова |
|
М12×1,25 |
|
Л - М |
Пересечение осей болтов крепления верхних продольных штанг с наружными поверхностями средних лонжеронов |
|
М12×1,25 |
|
Н |
Пересечение оси болта крепления поперечной штанги с кронштейном кузова |
|
М12×1,25 |
|
Р |
Центр заднего технологического отверстия центрального усилителя пола багажника |
|
|
|
О -П |
Центры задних технологических отверстий лонжеронов заднего пола (только для ВАХЗ-2102) |
|
|
ВЫСОТА
|
Контрольные точки |
Результаты замеров |
Отклонения |
Контрольные точки |
Результаты замеров |
Отклонения |
|
А |
|
|
Б |
|
|
|
В |
|
|
Г |
|
|
|
Д |
|
|
Е |
|
|
|
Ж |
|
|
З |
|
|
|
И |
|
|
К |
|
|
|
Л |
|
|
М |
|
|
|
Н |
|
|
Р |
|
|
|
О |
|
|
П |
|
|
ШИрина
|
Контрольные точки |
Результаты замеров |
Отклонения |
|
А - Б |
|
|
|
В-Г |
|
|
|
Д - Е |
|
|
|
Ж- З |
|
|
|
И -К |
|
|
|
Л - М |
|
|
|
Н |
|
|
|
О-П |
|
|
Длина
|
Контрольные точки |
Результаты замеров |
Отклонения |
Контрольные точки |
Результаты заметов |
Отклонения |
|
А |
|
|
Б |
|
|
|
В |
|
|
Г |
|
|
|
Д |
|
|
Е |
|
|
|
Ж |
|
|
З |
|
|
|
И |
|
|
К |
|
|
|
Л |
|
|
М |
|
|
|
Н |
|
|
Р |
|
|
|
О |
|
|
П |
|
|
|
|
Наименование |
Год разработки |
Разработчик |
|
1. |
Технологический процесс ремонта электронного диагноскопа Элкон Ш-100. 37665.01102.00002 |
1980 |
Киевское КГБ |
|
2. |
Технологический процесс ремонта электронного диагноскопа Элкон Ш-200. 37665.01102.00003. |
1981 |
-"- |
|
3. |
Технологический процесс ремонта электронного диагноскопа Элкон Ш-З00. 37665.01102.00004 |
1982 |
-"- |
|
4. |
Технологический процесс ремонта балансировочного станка АМР-2. 37665.01102.00005 |
1982 |
-" - |
|
5. |
Технологический процесс ремонта мотор-тестера Палтест ИТ-251. 37665.01102.00006 |
1983 |
-"- |
|
6. |
Технологический процесс ремонта электронного, газоанализатора Инфралит-8. 37665.01102.00008 |
1983 |
-"- |
|
7. |
Технологический процесс ремонта EBK-I5. 37665.01102.00011 |
1984 |
-"- |
|
8. |
Технологический процесс ремонта мотор-тестера ЗД-1. 37665.01102.00013 |
1984 |
-"- |
|
9. |
Технологический процесс ремонта мотор-тестера ЗД-2. 37665.01102.00015 |
1964 |
-"- |
|
10. |
Технологический процесс ремонта диагностического прибора- Элкон Ш-320. 37665.01102.00017. |
1985 |
-"- |
|
11. |
Технологический процесс ремонта электронного газоанализатора Инфралит 1100.37665.01102.00018 |
1986 |
-"- |
|
12. |
Технологический процесс ремонта балансировочных стендов AMP-4, АМР-5. 37665.01102.00021. |
1987 |
-"- |
|
13. |
Разработка и внедрение, руководства по ремонту, переносного электронного мотор-тестера СД-80 |
1987 |
-"- |
|
№№ п/п |
Наименование средств измерений |
Тип модель |
Примечание |
|
1 |
2 |
3 |
4 |
|
1. |
Источник постоянного тока |
Б 5 - 47 |
Вспомогательные средства измерений (ВСИ) |
|
2. |
Источник постоянного напряжения |
Б 5 - 30 |
ВСИ |
|
3. |
Источник питания |
Б 5 - 13 Б 5 - 31 |
ВСИ |
|
4. |
Источник стабилизированных напряжений |
Б 5 -21 |
ВСИ |
|
5. |
Вольтметр |
М 2017 |
Образцовые средства измерения (ОСИ) |
|
6. |
Вольтметр |
В 7 - 27 |
ОСИ |
|
7. |
Генератор импульсов |
Г 5 - 26 |
ОСИ |
|
8. |
Частотомер электронный |
Ч 3 - 34 |
ОСИ |
|
-"- |
Ч 3 - 57 |
|
|
|
9. |
Магазин сопротивлений |
Р. 327 |
ОСИ |
|
10. |
Генератор импульсов |
Г 5 - 60 |
ОСИ |
|
11. |
Шунты измерительные |
75 ШCM: |
|
|
20 А |
|
||
|
75 А |
ОСИ |
||
|
150 А |
|
||
|
750 А |
|
||
|
75 PИ: |
|
||
|
600 А |
ОСИ |
||
|
12. |
Цифровой вольтметр |
В 7 - 16 |
ОСИ |
|
13. |
Деформационный мановакууметр |
|
ОСИ |
|
14. |
Полупроводниковый выпрямительный агрегат |
ВАКГ - 12/6-630 |
ВСК |
|
15. |
Весы (по ГОСТ 24104-80) Гири (по ГОСТ 12656-78) |
|
|
|
16. |
Электрический секундомер |
ПВ - 5ЗЛ |
ОСИ |
|
17. |
Установка для проверки вольтметров |
В 1 - 8 |
ОСИ |
|
18. |
Осциллограф |
С 1 - 70 |
ОСИ |
|
19. |
Барометр- анероид |
БАМИ - I |
ОСИ |
|
20. |
Весы лабораторные электронные |
|
ОСИ |
|
21. |
Измерительная линейка 1000-мм |
|
ОСИ |
|
22. |
Устройство для создания давления (по ГОСТ 8.291-69) |
|
ОСИ |
|
23. |
Динамометры |
ДОСМ |
|
|
0,5 - 3 |
|
||
|
0,1 - 1 |
ОСИ |
||
|
ДПУ |
|
||
|
0,1 - 2 |
|
||
|
24. |
Аккумулятор |
6 СТ 55 |
Вспомогательное оборудование (ВО) |
|
25. |
Усилитель импульсов тока |
ТК 200 |
ВО |
|
26. |
Контрольные газовые смеси СО |
|
ВО |
|
27. |
Фотопреобразователь |
|
ВО |
|
28. |
Лупа |
2х |
ВО |
|
29. |
Контрольное колесо с диском |
6,15 × 13 |
ВО |
|
30. |
Прерыватель -распределитель |
|
ВО |
|
№№ п/п |
Наименование |
Модель, тип, ГОСТ |
Кол-во, шт. |
|
1. |
Вольтметр постоянного тока |
М 253 |
1 |
|
2. |
Амперметр постоянного тока |
М 560 (М45 с шунтом 75Р) *** |
I |
|
3. |
Магазин сопротивлений |
Р58 (РЗЗ кл. 0,02) |
1 |
|
4. |
Частотомер электронно-счетный |
ЧЗ-54 |
1 |
|
5. |
Магазин емкостей |
Р544 |
I |
|
6. |
Осциллограф |
С 1-82 (С1-76) |
I |
|
7. |
Установка для поверки вольтметров |
В1-8 |
I |
|
8. |
Вольтметр цифровой универсальный |
В7-16А(В7-27) |
I |
|
9. |
Амперметр переменного тока |
Ц4202 (Ц4353; Ц 4313; ТД-4). |
1 |
|
10. |
Генератор сигналов |
Г5-56 |
I |
|
11. |
Генератор специальных сигналов |
Г5-54 |
1 |
|
12. |
Источник питания постоянного тока |
Б5-47 |
1 |
|
13. |
Осциллограф |
С1-94 |
I |
|
14. |
Геодезический транспортир |
13494-63 |
I |
|
15. |
Гидростатический уровень |
ТУ2-034-5-64 |
I |
|
16. |
Вакуумметр образцовый |
ВО кл. 0,4 Р = 1000 мм рт. ст. |
I |
|
17. |
Манометр образцовый |
МО кл. 0.4-6 кгс/см² |
1 |
|
18. |
Манометр образцовый |
МО кл, 0,4-16кгс/см² |
I |
|
19. |
Индикатор |
ИИО-10 с ценой деления 0,1 по ГОСТ 577-68. ГОСТ 12656-67 |
|
|
20. |
Динамометр на растяжение Предел измерении от 0 до 100 кг |
|
*) Модели, типы основных измерительных средств даны по состоянию на 1.01.87г.
**) Основные технические характеристики средств поверки по РД 50-473-84.
***) В скобках даны возможные варианты замены рекомендуемых средств измерений на их аналоги. Допустимо применение и других средств измерений, отвечающих требованиям - РД 50-473-84
|
№№ п/п |
Наименование основных средств поверки |
|
1 |
Дифманометр для проверки герметичности газоанализаторов. |
|
2. |
Вентиль регулировочный для понижения давления ПТС, поступающего из баллона под давлением до 100 кгс/см2 (9806,6 кПа). |
|
3. |
Калиброванный ротаметр для измерения расхода ПГС в диапазоне 20- 120 л/ч, проходящий через поверяемый газоанализатор. |
|
4. |
Баллоны с ПГС, являющиеся основным образцовым средством поверки. |
|
5. |
Гибкие шланги из полихлорвинилина для составления поверочной газовой схемы и др. приборы (барометр, термометр, влагомер). |
|
6. |
Редуктор понижения давления для подачи ПГС в газоанализатор. |
|
7.*** |
Психрометр и термометр для контроля температуры и влажности окружающего воздуха. |
* - комплект средств поверки указан в разделе "Средства поверки" методических указаний на методы и средства поверки конкретных типов газоанализаторов, утвержденных в установленном порядке Госстандартом.
** - поверка газоанализаторов может проводиться в стационарном и передвижном вариантах.
*** - в случае передвижного варианта.
|
№№ п/п |
Наименование оборудования |
Основные модели |
Периодичность поверки СТД, месяцы |
|
1 |
2 |
3 |
4 |
|
1 |
Анализатор двигателя |
K-461M, Элкон Ш-100/А, Элкон Ш-200, Элкон Ш-300 Палтест ИT-251, К-484, Элкон Ш-320, ЗД-1, ЗД-2А ИТ-254 |
6 |
|
2 |
Стробоскопическое устройство |
ПАС-2, САС-9, CK3-12A |
6 |
|
3. |
Газоанализатор |
Инфралит 1100, Инфралит-Инфралит-2Т. Элкон Ш-205 |
6 |
|
4. |
Проездной стенд для контроля установки колес |
К-619, Тестос-1 |
12 |
|
5. |
Прибор для проверки рулевого управления |
K-I87 |
12 |
|
6. |
Компрессометр |
179, 181, KB-1124 |
18 |
|
7. |
Стенд тяговый |
К-485, К-409М, 4817 КИ-4856 |
12 |
|
8. |
Стенд для проверки тормозов |
K-206M, TC-1, ВОАЗ-7518 РХ-500, К-486 |
12 |
|
9. |
Измеритель эффективности работы цилиндров двигателей |
Э-216М |
12 |
|
10. |
Прибор для проверки и регулировки фар |
ПРАФ-3, K-3I0, КС-20 KC-10; Новатор-ВЗ, Новатор-66 |
12 |
|
II. |
Стенд для проверки углов установки колес |
К-III, III9M, ПКО-1, ПКО-4, Оптиконт-2314/7516 K-610 |
12 |
|
12. |
Станок для балансировки колес со снятием их с автомобиля |
АМР-2, АМР-4, АМР-5, ВА-40 ЕВК-18 |
12 |
|
13. |
Станок для балансировки колес непосредственно на автомобиле |
EBK-15, К-121. |
6 |
|
14. |
Прибор для проверки электрооборудования |
К-484, Элкон Ш-320, Э-214, СД-85, СД-80 |
12 |
|
№№ п/п |
Наименование |
Год разработки |
Разработчик |
|
1 |
2 |
3 |
4 |
|
1. |
Методические указания. Прибор для диагностирования систем зажигания карбюраторных двигателей Элкон Ш-100А. Методика и средства поверки. |
1986 |
Киевское КТБ |
|
2. |
Методические указания. Прибор для диагностирования систем зажигания карбюраторных двигателей Элкон Ш-200. Методы и средства поверки. |
1980 |
Киевское КТБ |
|
3. |
Методические указания. Прибор для диагностирования систем зажигания карбюраторных двигателей Элкон Ш-300. Методы и средства поверки. |
1986 |
Киевское КТБ |
|
4. |
Методические указания. Прибор Элкон Ш-102А для измерения угла опережения зажигания. Методы и средства поверки. |
1986' |
Киевское КТБ |
|
5. |
Методические указания. Прибор Элкон Ш-304 для диагностирования электрооборудования двигателей. Методы и средства поверки. |
1985 |
Киевское КТБ |
|
6. |
Методические указания. Прибор Элкон Ш-320 для диагностирования транспортных средств. Методы и средства поверки. |
1984 |
Киевское КТБ |
|
7. |
Методические указания. Прибор ЗД-1 для диагностирования систем зажигания карбюраторных двигателей. Методы и средства поверки. |
1986 |
Киевское КГБ |
|
8. |
Методические указания. Прибор ЗД-2А для диагностирования систем зажигания карбюраторных двигателей. Методы и средства поверки. |
1986 |
Киевское КТБ |
|
9. |
Методические указания. Прибор Палтест ИТ-251 для диагностирования систем зажигания карбюраторных двигателей. Методы и средства поверки. |
1986 |
Киевское КГБ |
|
10. |
Методические указания. Прибор Палтест ИТ-254 для диагностирования систем зажигания карбюраторных двигателей. Методы и средства поверки. |
1986 |
Киевское КГБ |
|
11. |
Инструкция по аттестации тормозного стенда К-208М |
1983 |
Киевское КГБ |
|
12. |
Методические указания. Стенд для поверки тормозных систем легковых автомобилей РХ-500А. Методы и средства поверки. |
1983 |
Киевское КГБ |
|
13. |
Методика метрологической поверки стенда PХ50C для проверки тормозов легковых автомобилей |
1985 |
Свердловское "Автотехобслуживание" |
|
14. |
Методика метрологической аттестации стендов типа РХ-500 для проверки тормозов автомобилей |
1985 |
Свердловское "Автотехобслуживание" |
|
15. |
Инструкция поверки стендов модели АМР-2 для балансировки колес автомобилей |
1982 |
Киевское КТБ |
|
16. |
Методические указания. Балансировочные станки AMP-4 и AMP-5. Методика поверки. МИ-1144-86 |
1986 |
Киевское КГБ |
|
17. |
Методические указания. Станок EВК-I8 для балансировки колес автомобилей. Методы и средства поверки. |
1986 |
Киевское КГБ |
|
18. |
Методические указания. Прибор для контроля установки светотеневой границы и пучка света фар автомобилей Наватор-83" Методы и средства поверки. |
1984 |
Киевское КГБ |
|
19. |
Методические указания. Прибор КС-20 для контроля установки пучка света фар автомобилей. |
1985 |
Киевское КТБ |
|
20. |
Методика поверки стендов, для проверки и регулировки карбюраторов мод. МБКВ-П (ВНР). |
I976 |
Филиал НАМИ |
|
21. |
Методические указания по поверке газоанализатора ГАИ-1 |
1977 |
Завод-изготовитель |
|
22. |
Методика поверки оптико-механических стендов типа ПКО-1 предназначенных для контроля углов установки колес автомобиля (для ПУ "АвтоВАЗтехобслуживание".) |
1976 |
ВНИИМ |
|
23. |
Программа - методика метрологической аттестации импортируемого роликового стенда модели "Мотекc" ВОA3-751-8 (ЧССР) для испытания эффективности тормозов, легковых автомобилей. |
1977 |
Филиал НАМИ |
|
24. |
Методика поверки газоанализатора "Инфралит" |
1977 |
ВНИИМ |
|
25. |
Методика поверки газоанализаторов "Инфралит 8" |
1985 |
НИИ Главмосавтотранса |
|
26. |
Методические указания по методам и средствам ведомственной поверки газоанализатора "Инфралит 1100" |
1985 |
НИИ Главмосавтотранса |
|
27. |
Типовые методические указания по аттестации и периодической поверке контрольно-испытательного и диагностического оборудования. Часть I и часть II. |
1982 |
Техническое управление Минавтотранса PСФСP |
|
28. |
Методика поверки компрессометра с записью типа KB-1124 (ЧССР) для карбюраторных двигателей |
1979 |
ВПИ, Филиал НАМИ |
|
29. |
Методика проверки работоспособности стенда для контроля установки колес легковых автомобилей мод. "Тестос-I" (ЧССР) |
1978 |
Филиал НАМИ |
|
30. |
Методика метрологической аттестации стендов типа K-409 для проверки тяговых показателей легковых автомобилей |
1983 |
“Мособлавтотехобслуживание". |
|
31. |
Методика поверки "Оптиконт", тип 2314 |
1979 |
ПТБ "Росавтотехобслуживание" |
|
32. |
Типовые методические указания по аттестации и периодической поверке приборов "Оптиковт-2314" с приложением |
1979 |
ПТБ "Росавтотехобслуживание" |
|
33. |
Методике поверки оптических стендов для проверки углов установки управляемых колес автомобилей моделей 1119 и 1119Д |
1979 |
Филиал НАМИ |
|
34. |
Инструкция № 30/1 "О порядке и зачисления в союзный бюджет платы за работы, выполняемые территориальными органами Госстандарта" |
1985. |
М. Изд-во стандартов. |
|
35. |
МУ 37.002.027-83 Отраслевая система метрологического обеспечения. Проведение анализа состояния измерений, метрологического обеспечения и деятельности метрологической службы на предприятиях Минавтопрома |
1984 |
НИИНавтопром |
|
№№ п/п |
Наименование оборудования |
Виды СТД по метрологическому признаку |
|
1 |
2 |
3 |
|
1/ |
Средства диагностирования двигателей и систем электрооборудования с нормированными метрологическими характеристиками |
СИТД |
|
2. |
Средства диагностирования двигателей и систем электрооборудования, не имеющие нормированных метрологических характеристик |
СКТД |
|
3. |
Газоанализаторы |
СТИТД |
|
4. |
Приборы для проверки рулевого управления с нормированными метрологическими характеристиками |
СТИД |
|
5. |
Стенды для проверки амортизаторов на автомобиле |
ИОТД |
|
6. |
Стенды тяговые |
ИОТД |
|
7. |
Стенды для проверки тормозов |
ИОТД |
|
8. |
Стенды для контроля установки колес проездного типа |
СКТД |
|
9. |
Стенда для контроля и регулирования углов установки колес |
СИТД |
|
10. |
Расходомеры топлива |
СИТД |
|
11. |
Приборы для проверки и регулировки фар (с измерителем силы света) |
СИТД |
|
12. |
Приборы для проверки и регулировки фар (без измерителя силы света) |
СКТД |
|
13. |
Станки для балансировки колес с нормированными метрологическими характеристиками |
СИТД |
|
14. |
Станки для балансировки колес, не имеющие нормированных метрологических характеристик |
СКТД |
Исходные данные: Парк СТД приведен в табл. П.8.1
|
СТД |
Мотор-тестеры Элкон-Ш-300 |
Газоанализаторы Инфралит-Т |
Стенды для проверки тормозов РХ-500 |
Стенды тяговые К-485 |
Стенды для проверки углов установки колес ПКО-1 |
Станки для балансировки колес со снятием типа АМР-2 |
Станки для балансировки колес без снятия типа ЕВК--15 |
|
Количество СТД |
30 |
20 |
10 |
5 |
20 |
10 |
10 |
Коэффициент интегрального использования СТД (при односменной работе) Кинт = 0,25
Расчет численности слесарей по ремонту СТД:
Численность слесарей по ремонту СТД определяют, исходя из количества ремонтируемых СТД, норм времени и вида ремонта,
Годовая потребность в рабочем времени (П) на ремонт СТД рассчитывается по формуле:
,
где j = 1,2,3 - текущий, средний и капитальный ремонты соответственно;
i= 1, 2, 3..., n,
n - количество ремонтируемых СТД;
Nij - нopмa времени на ремонт (текущий, средний, капитальный) i - го СТД, час;
Qij - количество i - х СТД, подлежащих ремонту j - го-вида (текущий, средний, капитальный), шт.
Исходные и расчетные данные определения годовой потребности рабочего времени на ремонт СТД приведены в табл. П.8.2
Расчет годового рабочего времени (Ф) слесаря по ремонту СТД определяется по формуле
Ф = t×(1-a)×C,
где t- количество часов в смену (t = 8 ч.);
а - коэффициент потери рабочего времени (a = 0,09);
С - количество рабочих дней в году (С = 253 дня)
Ф = 8 (1-0,09) 253 = 1842 ч. Расчет численности ремонтников (Т) определяется по формуле:
Т = П/Ф,
где П = 21840 ч ;
Ф = 1842 ч,
Т = 21840/1842 ≈ 11,8 = 12 чел.
|
СТД |
Виды ремонта |
||||||||
|
|
Текущий |
Средний |
Капитальный |
||||||
|
|
Кол-во СТД, подлежащих ремонту, шт. |
Норма времени на ремонт СТД, ч |
Годовая потребность в рабочем времени, ч |
СТД, подлежащих ремонту шт. |
Норма времени на ремонт СТД, ч |
Годовая потребность в рабочем времени, ч |
Кол-во СТД, подлежащих ремонту, шт. |
Норма времени на ремонт СТД, ч |
Годовая потребность в рабочем времени, ч |
|
I |
2 |
3 |
4 |
5 |
6 |
7 |
8 |
9 |
10 |
|
моторы-тестеры Элтон Ш-300 |
60 |
102 |
6120 |
15 |
270 |
4050 |
7 |
370 |
2590 |
|
Газоанализаторы Инфралит-Т |
40 |
40 |
1600 |
15 |
90 |
1350 |
7 |
105 |
735 |
|
Стенда для проверки тормозов PX-500 |
20 |
45 |
900 |
4 |
70 |
280 |
2 |
100 |
200 |
|
Стенды тяговые К-485 |
15 |
65 |
975 |
3 |
120 |
360 |
I |
200 |
200 |
|
Стенды для проверки углов установки колес ПКО-1 |
25 |
50 |
1250 |
- |
- |
- |
- |
- |
- |
|
Станки для балансировки колес без снятия EBK-I5 |
12 |
30 |
360 |
3 |
85 |
255 |
- |
- |
- |
|
Станки для балансировки колес со снятием АМР-2 |
12 |
30 |
360 |
3 |
85 |
255 |
- |
- |
- |
|
ИТОГО: |
|
|
11565 |
|
|
6550 |
|
|
3725 |
|
Всего: |
21840 Таким образом, П = 21840 ч. |
||||||||
|
СТД |
Количество СТД, шт. |
Периодичность поверки, число раз в год |
Количество СТД поверяемых согласно графику поверки, шт. |
Количество СТД, пoдвepгaющихся внеочередной поверке, шт |
Количество СТД. поверяемых после их выхода из ремонта, шт. |
Общее количество СТД, поверяемых на предприятии, шт. |
Норма времени на поверку одного СТД, ч |
Годовая потребность в рабочем времени на поверку СТД, ч |
|
I |
2 |
3 |
4 |
5 |
6 |
7 |
8 |
9 |
|
Мотор-тестеры Элкон Ш-300 |
30 |
2 |
60 |
8 |
82 |
150 |
30 |
4500 |
|
Газоанализаторы Инфралит-1 |
20 |
2 |
40 |
5 |
62 |
107 |
8 |
856 |
|
Стенды для проверки тормозов РХ-500 |
10 |
1 |
10 |
3 |
26 |
39 |
16 |
624 |
|
Стенды тяговые К-485 |
6 |
1 |
5 |
2 |
19 |
26 |
22 |
572 |
|
Стенды для проверки углов установки колес ПКО-I |
20 |
1 |
20 |
5 |
25 |
50 |
16 |
800 |
|
Станки для балансировки колес без снятия EBK-I5 |
10 |
2 |
20 |
3 |
15 |
38 |
6 |
228 |
|
Станки для балансировки колес со снятием АМР-2 |
10 |
1,2 |
12 |
3 |
15 |
30 |
6 |
180 |
|
ИТОГО: |
Таким образом, П - 7760 ч |
7760 |
||||||
Расчет численности поверителей СТД.
Годовая потребность в рабочем времени на поверку СТД (П) рассчитывается по формуле:
,
где i = 1, 2, 3,..., n - количество доверяемых СТД, шт;
Qэi- количество i-х СТД, находящихся в эксплуатации, шт.;
mi - периодичность поверки i - го CTД;
R - процент СТД, подвергающихся очередной поверке (R = 25 + 30 %);
Qpi - количество i-х СТД, подлежащих поверке после их выхода из ремонта, шт.;
Qxi -количество i-х СТД, находящихся на хранении, шт.; Исходные расчетные данные приведены в таблице П.8.3 Определение годовой потребности рабочего временя на поверку СТД,
Расчет численности поверителей производится по формуле:
Т=П/Ф
Т = 7760/1842 ≈ 4,8 = 5 чел.
Таким образом, численность ремонтно-поверочной службы составляет:
12 слесарей по ремонту и 5 поверителей.
|
ГОСТЫ, СТРОИТЕЛЬНЫЕ и ТЕХНИЧЕСКИЕ НОРМАТИВЫ. Некоммерческая онлайн система, содержащая все Российские Госты, национальные Стандарты и нормативы. В Системе содержится более 150000 файлов нормативно-технической документации, действующей на территории РФ. Система предназначена для широкого круга инженерно-технических специалистов. Copyright © www.gostrf.com, 2008 - 2026 |