Крупнейшая бесплатная информационно-справочная система онлайн доступа к полному собранию технических нормативно-правовых актов РФ. Огромная база технических нормативов (более 150 тысяч документов) и полное собрание национальных стандартов, аутентичное официальной базе Госстандарта. GOSTRF.com - это более 1 Терабайта бесплатной технической информации для всех пользователей интернета. Все электронные копии представленных здесь документов могут распространяться без каких-либо ограничений. Поощряется распространение информации с этого сайта на любых других ресурсах. Каждый человек имеет право на неограниченный доступ к этим документам! Каждый человек имеет право на знание требований, изложенных в данных нормативно-правовых актах!

  


 

МИНИСТЕРСТВО ВЫСШЕГО И СРЕДНЕГО СПЕЦИАЛЬНОГО ОБРАЗОВАНИЯ РСФСР
РОСТОВСКИЙ ИНЖЕНЕРНО-СТРОИТЕЛЬНЫЙ ИНСТИТУТ

Я.С.ФАЙН

ПРОЕКТИРОВАНИЕ И РАСЧЕТ ПРОТИВОЛАВИННЫХ ГАЛЕРЕЙ НА АВТОМОБИЛЬНЫХ ДОРОГАХ

Ростов-на-Дону

1979

Содержание

§ 1. ОБЩИЕ СВЕДЕНИЯ О ЛАВИНАХ

§ 2. ИСХОДНЫЕ МАТЕРИАЛЫ ДЛЯ ПРОЕКТИРОВАНИЯ ГАЛЕРЕЙ, РАЗМЕРЫ ЛАВИН, РАЗМЕЩЕНИЕ ГАЛЕРЕЙ И КОМПЛЕКСОВ ПРОТИВОЛАВИННЫХ СООРУЖЕНИЙ

§ 3. ГАБАРИТНЫЕ РАЗМЕРЫ, ПЛАН, ПРОФИЛЬ И ДЛИНЫ ГАЛЕРЕЙ

§ 4. ТИПЫ И КОНСТРУКЦИИ ГАЛЕРЕЙ

§ 5. РАСЧЁТ ПАРАМЕТРОВ СНЕЖНОГО ПОКРОВА И ЛАВИН

§ 6. РАСЧЕТ ПЕРЕКРЫТИЯ ГАЛЕРЕИ

§ 7. РАСЧЕТ ВЕРХОВОЙ ОПОРЫ

§ 8. РАСЧЕТ ВЕРХОВОЙ ОПОРЫ С УЧЕТОМ СЕЙСМИЧЕСКИХ НАГРУЗОК

§ 9. РАСЧЕТ НИЗОВОЙ ОПОРЫ

Приложение

Перевод некоторых единиц измерения системы МКГСС (технической) в единицы системы СИ

Список литературы

 

В книге даны сведения о лавинах, освещаются вопросы размещения автономных галерей и комплексов противолавинных сооружений, подробно изложены вопросы проектирования сборных и сборно-монолитных галерей и расчеты их элементов с учетом сейсмических воздействий.

В книге учтены согласованные с Госстроем СССР нормы снеголавинных нагрузок, рекомендации ЦНИИСа Минтрансстроя СССР по проектированию галерей и приведен ряд новых конструкций сборных и сборно-монолитных галерей.

Книга предназначена в качестве учебного пособия студентам инженерно-строительных, автомобильно-дорожных и политехнических институтов специальностей "Автомобильные дороги", "Промышленный транспорт" и "Мосты и тоннели", а также может быть полезна инженерам-проектировщикам.

§ 1. ОБЩИЕ СВЕДЕНИЯ О ЛАВИНАХ

Лавины широко распространены во всех крупных горных районах СССР.

Снежные массы, накапливающиеся на склонах гор, под действием составляющей силы тяжести стремятся сдвинуться вниз по склону. Сдвигу препятствуют силы статического трения и силы сцепления снежного пласта в его основании и на его границах (в продольных и поперечном сечениях, нормальных к поверхности снежного покрова).

С увеличением толщины снежного пласта сила сдвига может превысить сумму сил сцепления и трения, вследствие чего снежная масса соскальзывает или осыпается со склона. Такая движущаяся снежная масса называется снежной лавиной или просто лавиной.

Причиной возникновения лавин может быть также ослабление структурных связей в снежном покрове, вызываемое таянием частиц льда в контактных зонах или в припочвенном слое под действием проникающей солнечной радиации, фильтрацией поверхностных вод в основании снежного пласта и другими факторами.

Генетическая классификация лавин (по В.Н. Аккуратову) приведена в табл. 1 [1].

По факторам лавинообразования и особенностям лавинного режима все районы СССР подразделяются на 6 типов (рис. 1) [2, 3]

Таблица 1

Генетическая классификация лавин (по В.Н. Аккуратову)

Классы лавин

Типы лавин

Причина возникновения лавин

Характер движения лавин

1

2

3

4

Сухие

1. Свеже-выпавшего снега

Составляющая сила давления снега направленная вниз по склону, превышает сумму сил сцепления слоя с подстилающей поверхностью сил статического трения и сил сцепления в сечении слоя, нормальном к поверхности снежного покрова и проходящем по линии наибольшего растягивающего напряжения

Лавины представляют собой снежное облако, движущееся вниз с огромной скоростью

Сухие

2. Метелевого снега

Это условие возникает при большей скорости приращения первой сравнительно с суммой приращения трех последних сил

Беспорядочное движение вниз по склону снежных глыб, плит и комьев различных размеров

Сухие

3. Сублимационного дйафтореза

Ослабление связей в снежном покрове, вызываемое процессом сублимационного диафтореза

Характер движения может быть как в первом или втором типе

Сухие

4. Температурного сокращения снега

Уменьшение объема снежной толщи, вызываемое понижением ее температуры

Один из возможных вариантов, рассмотренных в первых трех типах

Сухие

5. Инсоляционные

Ослабление связей в результате таяния частиц льда в контактных зонах или в припочвенном слое, вызываемое проникающей солнечной радиацией

Лавины носят характер движения вязкой массы

Мокрые

6.Адвекционные

Ослабление связей в результате размыва водой, поступающей с поверхности снега путем фильтрации и в результате других процессов

 

Мокрые

7.Промежуточные

Ослабление связей в результате совместного воздействия на снежный покров солнечной радиации и адвективных масс воздуха

 

Лавины из свежевыпавшего снега сходят при обильных снегопадах, когда быстро возрастает высота снежного покрова и новый снег, ложась на поверхность старого, не удерживается и соскальзывает. Метелевые лавины возникают во время сильных метелей и сходят по поверхности старого снега.

Лавины сублимационного диафтореза. возникают при больших температурных градиентах внутри снежной толщи, имеющей большую пористость и воздухопроницаемость. В этих условиях возникают мощные (0,5 м и более) горизонты глубинной изморози, по которым низвергаются лавины [3].

Инсоляционные лавины возникают под влиянием нагрева солнечными лучами рыхлой толщи снега, лежащего на ветровом насте или на ледяной корке. Их таяние приводит к появлению слоя водной смазки, создающей лавину.

Адвективные лавины возникают при адвекции теплого и влажного, воздуха, когда происходит интенсивное таяние снежного покрова вне зависимости от экспозиции склона.

Рис. 1. Районирование СССР по факторам лавинообразования и особенностям лавинного режима

Типы районов: 1-районы 1-5; II - районы 6-12; III-районы 13-23; IV-районы 24-43; V-районы 44-51; VI-все остальные районы СССР

Границы лавиноопасных районов с указанием степени лавиноопасности, которые должны учитываться при размещений всех видов противоотвальных сооружений, показаны на карте лавиноопасных районов СССР /приложение 1 к [1]/.

Карта составлена учреждениями Главгидрометслужбы СССР и географическим (факультетом Московского государственного университета им. М.В. Ломоносова.

На карте выделены следующие районы:

- лавиноопасные со значительной опасностью /лавины встречаются часто, сходят ежегодно/;

- лавиноопасные со средней опасностью /сеть лавин разрежена, лавины сходят не ежегодно/;

- лавиноопасные со слабой опасностью /лавины встречаются в отдельных местах, сходят в многоснежные годы/;

- потенциально лавиноопасные /в настоящее время безопасные, но могут стать лавиноопасными при вырубке лесов, выемке грунта на склонах и т.п./;

- нелавиноопасные.

Сход лавин наблюдался при толщине слоя снега более 30 см и крутизне склонов от 15 до 60°[1, 3, 5, 6] .

Размеры лавин могут быть самыми различными: от небольшого снежного оползня до катастрофических снежных обвалов, проходящих путь в несколько километров.

Обычно лавины движутся со скоростью от 1-2 до 10-20 м/с, но достигают и 80-100 м/с.

По характеру движения в зависимости от морфологии подстилающей поверхности /склона/ различают три типа лавин /табл. 2 и рис. 2/:

1/осовы /О/ ; 2/лотковые лавины /ЛЛ/; 3 /прыгающие лавины /ПД/:

Таблица 2

Классификация лавин (по Г. К. Тушинскому) [1]

Морфология

Состояние и типы снега

снегосбора (снегосборного бассейна)

пути схода лавин

сухой (С) метелевый снег и снежные доски

влажный (В) свежевыпавший и старый снег

мокрый (М) свежевыпавший и старый снег

Ровный склон

Ровный склон

О-С

О-В

О-М

Эрозионный врез (1)

Лоток или лог

ЛЛ-1-С

ЛЛ-1-В

ЛЛ-1-М

То же

Участок отвесных стен

ПЛ-1-С

ПЛ-1-В

ПЛ-1-М

Денудационная воронка (2)

Лоток или лог

ЛЛ-2-С

ЛЛ-2-В

ЛЛ-2-М

То же

Участок отвесных стен

ПЛ-2-С

ПЛ-2-В

ПЛ-2-М

Деформированный кар (3)

Лоток или лог

ЛЛ-3-С

ЛЛ-3-В

ЛЛ-3-М

То же

Участок отвесных стен

ПЛ-3-С

ПЛ-3-В

ПЛ-3-М

Примечание. О - осов; ЛЛ - лотковая лавина; ПЛ - прыгающая лавина. Пример обозначения: лотковая мокрая лавина из деформированного кара - ЛЛ-3-М.

Осов представляет собой снежный оползень толщиной 30-40 см, не имеет строго фиксированного пути схода русла /канала стока/ и сходит по всей ширине охваченного им участка ровного склона /обычно травянистого/. После прохода осова у подошвы косогора на сотни метров образуется снежный вал. Надежной защитой от осовов служат навесы и щиты.

Лотковая лавина сходит по фиксированным лавинным лоткам - логам /рытвинам, бороздам/. Склоны лотков имеют следы лавинной шлифовки, обычно лишены растительности. В поперечном сечении лотки часто имеют корытообразную форму.

К лавинному лотку сверху примыкает лавиносборный (снегосборный) бассейн, а снизу - конус выноса. Лавины - зона отложения снега и обломочного материала, выброшенного лавиной.

Лавиносборный бассейн, лавинный лоток и конус выноса лавины в совокупности условно называются лавинным очагом (рис. 2).

Лотковые лавины в зависимости от морфологии лавиносборного бассейна подразделяются на три типа.

Лотковая лавина из эрозионного вреза (ЛЛ-1)

начинается в пределах последнего. Эта лавина не достигает больших объемов, так как крутые склоны вреза (рытвины, борозды) не дают скапливаться большим массам снега, и сход лавины за зиму происходит несколько раз.

Лотковая лавина из денудационной воронки (ЛЛ-2)

достигает больших размеров, так как верхняя часть лавиносборного бассейна представляет собой расширение в форме воронки, в котором снег может накапливаться в течение, длительного времени. Разветвленная сеть второстепенных логов в воронкообразном лавиносборном бассейне является каналами, по которым снег низвергается в основной лог - лавинный лоток.

Рис.2. Типы лавинных очагов в плане:

а - лотковые лавины; б - прыгающие лавины; 1 - снегосборный эрозионный врез; 2 - снегосборный бассейн типа денудационной воронки; 3 - снегосборный бассейн типа деформированного кара; 4 - линия отрыва лавины; 5 - лавинный лоток-канал стока; 6 - проектируемая дорога; 7 - обрыв; 8 - конус выноса лавины

Лотковая лавина из деформированного кара (ЛЛ-3).

Кар - чащеобразная впадина в верхних частях гребней хребтов, имеющая сравнительно плоское дно и отвесные заднюю и переднюю стенки. В ледниковую эпоху в карах лежали ледники, теперь они исчезли и плоское дно разрезано эрозийным врезом, т.е. кар деформирован эрозией. В такой лавиносборном бассейне скапливаются большие массы снега, которые могут создавать лавины объемом до 1-1,5 млн.м3, падающие с перерывом в насколько лет.

Прыгающие лавины /ПЛ/

возникают из лотковых там, где в лавинном лотке имеются обрывы /отвесные стены/ или участки резко возрастающей крутизны. Встретив крутой уступ, лавина отрывается от земли и продолжает движение по воздуху в виде огромной струи. Скорости прыгающих лавин особенно велики, а падение их наиболее часто сопровождается воздушной волной.

По морфологии лавиносборного бассейна прыгающие лавины, как и лотковые, делятся на три типа /ПЛ-1, ПЛ-2, ПЛ-3/.

Все перечисленные лавины могут быть сухими, влажными или мокрыми /см. табл. 2/, и движение их происходит по грунту /или ледяной корке/, по воздуху, по грунту или же имеет смешанный характер /рис. 3/.

Рис.3. Типы снежных лавин /по проекту международной классификации/

§ 2. ИСХОДНЫЕ МАТЕРИАЛЫ ДЛЯ ПРОЕКТИРОВАНИЯ ГАЛЕРЕЙ, РАЗМЕРЫ ЛАВИН, РАЗМЕЩЕНИЕ ГАЛЕРЕЙ И КОМПЛЕКСОВ ПРОТИВОЛАВИННЫХ СООРУЖЕНИЙ

Для обоснования размещения проектируемых галерей и других противолавинных сооружений в состав проектов входят следующее материалы:

- топографические карты района планируемого строительства масштаба 1:25000 и крупнее с отмеченными на них лавинными очагами /местами зарождения лавин - лавиносборными бассейнами, пути схода лавин и конусами выноса/;

-топографические планы масштаба 1:5000 и крупнее для строительных и примыкающих к ним участков с контурами лавиноопасной зоны /в лавиноопасных и потенциально лавиноопасных районах/ и характеристиками лавиноопасных участков /растительность, задернованность, микрорельеф/;

- характеристики снежного покрова и лавин, содержащие следующие данные:

а/ максимальные и средние высоты снежного покрова в зонах возникновения лавин и в местах, подлежащих застройке;

б/ средний по высота объемный вес снежного покрова в местах определения его максимальной высоты;

в/ тип лавин по качеству снега /непылевидного или пылевидного/ на данном участке склона;

г/ наибольшая глубина снежного потока в лавинах и наибольшая ширина лавин в намечаемых местах установки противолавинных сооружений;

д/ сроки начала и окончания лавиноопасного сезона в данной местности, частота схода лавин, следы действия воздушной волны.

Источниками сведений о снежном покрове и лавинах являются периодические издания Главгидрометслужбы СССР, материалы Гидрометфонда СССР, изысканий и аэрофотосъемок.

Предварительные сведения о снежном покрове и лавинах берутся по каталогу [4].

Для практического использования проектировщиками и строителями служат лавинные карты-прогнозы, образец которых показан на рис. 4.

Рис.4. Лавинная карта-прогноз с указанием типов лавин:

1 - снегосборный эрозионный врез; 2 - снегосборный бассейн типа денудационной воронки; 3 - снегосборный бассейн типа дефорнированного кара; 4 - лавинный лоток; 5 - конус выноса лавины; 6 - проектируемая дорога; 7 - постоянный водоток; 8 - озеро; 9 - ледник; 10 - песок; 11 - луг; 12 - болото; 13 - обрыв в рыхлых породах; 14 - скальный обрыв.

Карты-прогнозы составляются учреждениями Главного Управления Гидрометеослужбы СССР по запросам проектных организаций или совместно с последними, пользуясь руководством [1].

При изысканиях следует избегать пересечения дорогой лавиноопасных и потенциально лавиноопасных мест.

Однако лавины часто падают на обоих склонах долин /см. рис. 4/, вследствие чего дорога неизбежно проходит по лавиноопасным участкам.

При невозможности обхода дорогой лавиноопасных мест ее располагают выше концов выноса лавин, пересекая дорогой лавинные лотки, где потребуются противолавинные галереи меньшей длины.

Тщательное обследование и сравнение вариантов трассы дает возможность свести к минимуму число пересекаемых дорогой лавинных лотков.

На рис. 5 показаны два варианта трассы в районе со снежными лавинами. Первый вариант /сплошная линия/ - трасса проложена с развитием линии в пределах всего склона, но при этом она несколько раз пересекает каждый лавинный лоток.

Во втором варианте /пунктирная линия/ трасса развивается в пределах лесного массива, не подверженного опасности лавинных обвалов, и только 1 раз пересекает каждый лавинный лоток, где можно построить противолавинные галереи. Однако близкое расположение серпантин в лесу существенно ухудшает транспортные качества дороги [7].

Сход лавин сопровождается зоной снего-воздушного потока, которая в плане ограничивается двумя полосами, параллельными пути движения лавины и имеющими примерную ширину 30 м /в каждую сторону от боковой границы лавинного пути/. Поперечное сечение в вертикальной плоскости потока воздуха, сопровождающего сход лавины, принимается близким к форме сегмента /рис. 6/.

Рис. 5. Варианты трассы в лавиноопасном районе:

1 - лес: 2 - кустарник; 3 - альпийский луг; 4 - отвесный обрыв; 5 - конуса выноса лавин; 6 - граница распространения воздушной волны;

сплошная линия - первый вариант трассы; пунктирная линия - второй вариант трассы; ЛЛ - лотковая лавина; ПЛ - прыгающая лавина

Рис.6. Поперечное сечение лавины и сопутствующего ей снеговоздушного потока:

Нл - глубина, снежного потока в лавине (толщина лавины), считая по вертикали; Вл - ширина лавинного лотка (ширина лавины); а =30 м - примерная ширина действия снеговоздушного потока

Ширина a может быть и менее 30 м. Она уточняется на основании материалов изысканий по следам действия воздушных волн, вызванных лавинами.

Глубина снежного потока в лавине Нл при недостаточности сведений об этой величине в материалах изысканий принимается равной:

а/ для непылевидных лавин Нл = 3h0 ,

б/ для пылевидных лавин. Нл = 5h0,

где h0 - максимальная высота снежного покрова на данном участка склона /в частности в местах зарождения лавин/, способы определения которой указаны ниже в § 5.

Выбор типа противолавинных сооружений, системы их расположения на местности, расчет их устойчивости и надежность защиты производится исходя из максимально возможной высоты снежного покрова h0 для данного района. При этом необходимо учитывать, что в снегосборном /лавиносборном/ бассейне, в котором накопление снега происходит за счет метелевого переноса, снегоудерживающие сооружения будут работать и как снегоаккумулирующие, что приведет к увеличению высоты снега по сравнению с расчетной или определенной из наблюдений.

Обычно применяются автономные противолавинные сооружения или их комплексы:

а/ комплексы снегоудерживающих сооружений с снегосборном бассейне /рис. 7 и 8/;

б/ снегоудерживающие сооружения в снегосборном бассейне, дополняемые тормозящими сооружениями, лавинорезами, удерживающими или направляющими дамбами на пути схода лавины;

в/ автономная галерея /рис. 9, а/;

г/ галерея с тормозящими сооружениями на пути схода лавины /рис. 9 , б /;

д/ галерея с направляющими дамбами - стенами на пути схода лавины /рис. 9 , в/;

е/ галерея с лавинорезом на пути схода лавины /рис. 9, г/;

ж/ лавинорез с направляющими дамбами на пути схода лавины без галереи.

Рис. 7. Схемы отложений снега и снегозадерживающих сооружений [8]:

а - снежный карниз; б - защитная стенка, предотвращающая образование карниза; в - терраса в виде полувыемки – полунасыпи; г-терраса с подпорной стенкой; д - сквозной щит

Рис.8. Система снегозадерживающих сооружений на одном из участков трансальпийской дороги [8]:

1 -снегозадерживающий щит; 2 -деревянная стена; 3-каменная стена; 4-плетень

Рис.9. Комплексы противолавинных сооружений с галереями:

а - автономная галерея; б - галерея с тормозящими сооружениями; в - галерея с направляющими дамбами-стенами; г - галереи с лавинорезом;

1 - галерея; 2 - тормозящие сооружения решетчатые или сплошные (бетонные блоки); 3 - направляющая дамба - стена; 4 - лавинорез; Вл - ширина лавины; (лавинного лотка); L -длина галереи; υ - скорость лавины

В качестве сооружений, препятствующих сползанию, снега со склонов снегосборного /лавиносборного/ бассейна, устраивают террасы на склонах, направляющие дамбы-стены, устанавливают сквозные щиты, снегозащитные решетки, плетни, проволочные сетки и рвы (см. рис. 7 и 8). Рвы и террасы служат лишь для борьбы с осовами.

Наиболее распространены сквозные щиты (см. рис. 7, д).

Высота снегоудерживающего сооружения hс измеряемая по нормали к склону, должна быть не меньше

hсh0cosα

где h0 - максимальная высота снежного покрова, измеряемая по вертикали, м;

α - угол наклона участка склона, град.

Расстояние между рядами снегоудерживающих сооружений (в м) определяется по формуле

 ,

где φ - угол трения снега, принимаемый равным 23-27° для гладких, задернованных склонов и 30° для каменистых и прочих склонов.

Применение тормозящих сооружений решетчатых или сплошных в виде бетонных блоков (рис. 9, б) дает возможность существенно снизить скорость лавины ( с υ1 до υ на рис. 9, б) перед галереей и тем самым уменьшить ударное воздействие лавины на перекрытие галереи

Расстояние между сооружениями одного ряда (см. рис. 10, и 9, б)

l ≥ 4Hл

где Hл - глубина снежного потока в лавине (см. выше).

Нижний ряд тормозящих сооружении располагается так, что угол ψ ≤ 20°, чему соответствует расстояние между рядами сооружений Si = 5,5 (см. рис. 9, б).

Для уменьшения длины противолавинной галереи в отдельных случаях, при явно выраженном лотке лавины, резко расширяющемся у проектируемой галереи (от величины Вл до В'л на рис. 9, в) могут применяться направляюще стены-дамбы. Плановое очертание направляющих стен должно обеспечивать пропуск лавины без стеснения живого сечения лотка (в плане раструб стен должен быть обращен в сторону галереи). Применение направляющих стен дает возможность уменьшить длину проектируемой галереи от величины L до L' (см. рис. 9, в).

Минимальная высота противолавинной направляющей стены-дамбы, м,

Нст = Нл + 0,05υ2 ,

где Нл (в м) имеет прежнее значение, а υ - скорость движения лавины у стены, м/с (определение величины υ см. ниже в § 5).

Лавинорез у галереи (см. рис. 9, г) дает возможность взамен галереи длиной L применить две короткие галереи с суммарной длиной L' + L''L.

В отдельных случаях путем устройства направляющих стен в сочетании с лавинорезом лавина может быть отклонена от дороги и тем самым отпадает необходимость в устройстве галереи.

§ 3. ГАБАРИТНЫЕ РАЗМЕРЫ, ПЛАН, ПРОФИЛЬ И ДЛИНЫ ГАЛЕРЕЙ

Противолавинные галереи особенно целесообразно устраивать в тех случаях, когда снегосборные бассейны имеют большую площадь, а на склоне лавины проходят по узким лоткам.

Длина противообвальной галереи назначается по условиям пропуска над ней полного объема снежной лавины; при этом порталы противолавинных галерей желательно располагать на менее заносимых участках местности.

Минимальная длина галереи (см. рис. 9, а и б)

L = Bл + 2a ,

где Вл - ширина лавинного лотка (ширина лавины);

а ≤ 30 м - ширина зоны действия снеговоздушного потока, сопровождающего сход лавины (см. выше § 2).

Способы укорочения галерей с помощью направляющих стен и лавинорезов приведены в § 2 й на рис. 9.

Специально установленных габаритов для противолавинных галерей на автомобильных дорогах пока не существует.

Поперечное сечение галереи проектируется в соответствии с габаритами, установленными для мостов в СНиП П-Д.5-72 и в проекте новой редакции СНиП П-Д.7 (с уменьшенной шириной предохранительных полос ) [9].

Схема габарита приведена на рис 12, а размеры по ширине - в табл. 3.

Габариты по высоте над поверхностью покрытия (Н) в галерее принимают;

на дорогах I - III категорий . . . . . . . . . . Н = 5 м;

на дорогах IV - V категорий . . . . . . . . . Н = 4,5 м.

Рис.10. Схема габарита приближения конструкций галерей на автомобильных дорогах:

П - предохранительная полоса; n в - проезжая часть-число полос и ширина полосы движения (размеры даны в см).

Таблица 3

Элементы поперечного профиля галерей с односторонним служебным тротуаром [9]

Элементы

Размеры элементов для дорог разных категорий,

II

III

IV

V

Число полос движения, шт.

2

2

2

1

Ширина проезжей части, м

7,5

7,0

6,0

4,5

Ширина предохранительной полосы, м

1,0

1,0

0,75

0,75

Габарит Г, м

Г-9,5

Г-9

Г-7,5

Г-6

Ширина служебного тротуара Т, м

0,75

0,75

0,75

0,75

Продольный профиль и план галереи проектируют по нормам, установленный для проектирования открытых участков трассы (по СНиП П-Д.5-72), допуская любые сочетания профиля и плана.

При радиусах кривых в плане 1000 м и менее необходимо предусмотреть уширение проезжей части с внутренней стороны закругления в соответствии с табл. 9 СНиП П-Д.5-72 без уменьшения ширины предохранительных полос.

Расположение галерей в плане и по высоте склона должно по возможности обеспечивать снижение до минимума динамического воздействия на сооружение снежных лавин.

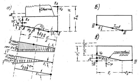
При движении лавины по склону на перекрытие галереи (рис. 11) действует давление Qл, нормальное к поверхности перекрытия, и касательная сила трения Тл, параллельная поверхности амортизирующей отсыпки, укладываемой поверх перекрытия галереи.

Силы Qл и Тл зависят от толщины Нл лавины и скорости υ подхода лавины к галерее.

Слагающие сил Qл и Тл, зависящие от скорости υ, оказывают динамическое (ударное) воздействие на галерею.

Это динамическое воздействие зависит от величины угла β = α - αот, где α - угол наклона поверхности косогора, a αот - угол наклона поверхности отсыпки.

При β = 0, т.е. α = αот когда горный склон и отсыпка имеют одинаковые наклоны, динамические слагающие сил Qл и Тл равны нулю. Эти динамические (ударные) слагающие можно не учитывать и при β > 0 только в том случае, когда расстояние d от галереи до вершины А угла β (см. рис. 11) превышает 2Нл или 15 м [10]

где Нл - толщина лавины. Это положение не распространяется на воздействие пылевидных и прыгающих лавин

Рис.11. Нагрузки Qл и Тл на галерею при движении лавины:

1-верховая опора; 2-низовая опора; 3-перекрытие галереи; 4-амортизирующая отсыпка из крупнообломочного грунта или песков (гравелистых, крупных или средней крупности) или других материалов.

При β > 0 и d < 2Нл (или 15 м) лавина оказывает большое динамическое (ударное) воздействие на галерею.

Указанные соображения должны по возможности учитываться при размещении галерей на склонах.

Как правило, галереи следует располагать в непосредственной близости от склона, что уменьшает кубатуру и стоимость выемки и амортизирующей отсыпки (рис. 11).

Однако иногда (при крутом обрыве в лотке схода лавины) это приводит к прямому удару прыгающих лавин, наиболее сильно воздействующих на перекрытие галереи (рис. 12).

Рис. 12. Размещение галереи у склона с прыгающей лавиной

§ 4. ТИПЫ И КОНСТРУКЦИИ ГАЛЕРЕЙ

В конструктивных решениях, применяемых при проектировании противолавинных галерей, следует обеспечивать требуемую надежность и долговечность сооружения, высокую производительность труда при строительстве и минимальные затраты при эксплуатации, а также соблюдать требования ТП 101-70 по экономному расходу материалов, учитывать возможность максимального использования мастных материалов и предусматривать индустриализацию строительства на базе современных средств комплексной механизации строительного производства.

При проектировании сборных конструкций надлежит предусматривать:

а) обеспечение надежности, требуемой плотности, водонепроницаемости и высокого качества выполнения монтажных стыков, сопряжений и опираний, удобства установки и быстрой выверки положения конструкции с учетом возможности монтажа передовыми методами при наименьших затратах труда;

б) изготовление на заводах (или полигонах) с использованием высокопроизводительного оборудования и передовой технологии с применением механизации и автоматизации;

в) сборку конструкции из блоков и элементов, размеры и вес которых допускают погрузку, беспрепятственное транспортирование и разгрузку.

При выборе системы галерей необходимо учитывать следующие их особенности:

а) балочные галереи позволяют полностью освободить низовые опоры от восприятия горизонтальных составляющих сил Qл и Тл, передаваемых на галерею при движении лавин (см. рис. 11), они наиболее просты в изготовлении и при монтаже. Однако с ростом расчетных нагрузок (лавины большой толщины и скорости движения, широкие габариты галереи) в балочных галереях резко возрастает кубатура перекрытия и, как правило, верховых опор;

б) рамные галереи позволяют сократить объем работ по перекрытиям и опорам, что особенно существенно при больших расчетных нагрузках. Однако в рамных галереях горизонтальная составляющая сил Qл и Тл обычно передается и на низовые опоры, а ответственные стыковые соединения, выполняемые при монтаже, усложняются;

в) в арочных галереях достигается существенное снижение расхода арматуры, однако их применение ограничено благоприятными топографическими и геологическими условиями. Низовые опоры арочных галерей воспринимают значительные горизонтальные силы от перекрытия, в связи с чем конструкция их усложняется.

Окончательный выбор системы галерей должен производиться путем технико-экономического сравнения вариантов.

Конструкции рамных и арочных галерей рассмотрены в учебных пособиях [8] и [11].

Наиболее распространены балочные галереи, типы и конструкции которых рассматриваются ниже [9] [10]

Балочная галерея состоит из следующих основных элементов:

а) перекрытие;

б) верховая опора;

в) низовая опора;

г) фундамент под верховую опору;

д) фундамент под низовую опору;

е) порталы;

ж) амортизирующая отсыпка;

з) гидроизоляция, водоотводные и дренажные устройства.

Перекрытия

При выборе типа сборных железобетонных перекрытий галерей балочного типа предпочтение следует отдавать конструкции из Т-образных бездиафрагменных блоков или пустотных плит (одно или двухярусных). Там, где позволяют местные условия, и при технико-экономической целесообразности перекрытия рекомендуется выполнять с разгрузочными консолями с нагорной стороны (см. рекомендации [10] и проекты галерей Тбилисского филиала Союздорпроекта [9].

Для перекрытий из обычного железобетона следует применять бетон марки не ниже 300, а из предварительно-напряженного железобетона - бетон парки не ниже 400 и стержневую арматуру класса не ниже А-IV.

Перекрытие, верховые и низовые опоры (включая фундаменты) делятся поперечными сквозными вертикальными швами на секции длиной от 6 до 16 м.

Блоки сборных перекрытий в пределах каждой секции галереи должны быть объединены между собой путем обетонировки поперечных швов с арматурными выпусками, путей сварки закладных деталей или шпоночными соединениями, а также устройством защитного слоя с арматурной сеткой поверх укладываемой гидроизоляции.

Верховые и низовые опоры

При выборе типов верховых опор галерей предпочтение следует отдавать сборным железобетонным конструкциям из крупноразмерных элементов или конструкциям с использованием бетонных блоков при условии надлежащего их замоноличивания с учетом требований сейсмостойкости (перевязка швов между блоками, устройство антисейсмических поясов, применение шпоночных соединений).

Для уменьшения объемов верховых опор рекомендуется применять опоры из железобетонных уголковых стен с контрдорсами или из бетонных поперечных стенок с закладными железобетонными плитами-брусьями.

Возможны также верховые опоры из монолитного бетона с разгружающими консолями или без них. При наличии скального косогора может быть применена анкеровка верховых опор.

Низовые опоры чаще всего проектирует в виде продольного ряда железобетонных колонн-стоек: (обычно с шагом в 3 м), объединенных поверху железобетонной насадкой в виде неразрезной (в пределах секции) трех-, пятипролетной балки или однопролетной с двумя консолями, длина которых равна половине длины пролета между стойками. Предпочтение следует отдавать однопролетным двухконсольным насадкам, в которых изгибающий момент посредине пролета от равномерной нагрузки равен нулю. Нижние концы стоек заделываются в фундаменте стыком стаканного типа.

Низовые и верховые опоры противолавинных галерей должны обладать продольной жесткостью для сопротивления, не учитываемым расчетом продольным составляющим лавинного воздействия, а также сейсмическим нагрузкам, направленным вдоль галереи.

Верховые сборные, железобетонные опоры в пределах каждой секции должны быть объединены поверху продольными обвязками или сваркой закладных деталей.

Для железобетонных опор следует применять бетон марки не ниже 300, а для бетонных блоков - не ниже 200.

Соединения перекрытий с опорами /опорные части/ должны рассчитываться на восприятие горизонтальных составляющих от прохождения снежной лавины, а также не срезающие или выдергивающие усилия, от сейсмической нагрузки.

Стойки низовых опор в поперечных к оси галереи гранях должны иметь вертикальные пазы для закладных железобетонных плит, предотвращающих занос снега с низовой стороны в галерею.

Фундаменты верховых и низовых опор

Фундаменты опор смежных секций галерей рекомендуется закладывать на одном уровне. В случае заложения фундаментов опор смежных секций на разных отметках переход от более углубленных к менее углубленным рекомендуется осуществлять уступами высотой не более 50 см. В скальных грунтах уступы могут устраиваться без ограничения по высоте, фундаменты низовых опор могут быть выполнены сборными из бетонных или железобетонных блоков или монолитными из неармированного бетона или бутобетона.

В соответствии с конфигурацией косогора сплошные монолитные фундаменты могут конструироваться в виде низовых подпорных стен переменной высоты.

Верхняя грань монолитных фундаментов может быть горизонтальной, ступенчатой или наклонной с уклоном, равным продольному уклону галереи.

Фундаментами верховых стен часто служат нижние горизонтальные плиты железобетонных уголковых контрфорсных стен или фундаменты выполняются из бетонных блоков монолитного бетона (бутобетона) или из бутовой кладки на растворе.

В случае монолитных фундаментов их конструкция должна предусматривать индустриальные способы производства работ (применение инвентарной опалубки, специальных бетоноукладчиков и т.п.).

Для железобетонных фундаментов следует применять бетон проектной марки не ниже 200. При устройстве монолитных фундаментов следует применять бетон марки не ниже 150 или бутовую кладку из камня марки не ниже 400 при растворе марки не ниже 100.

В нескольких грунтах между раздельными фундаментами рекомендуется устраивать железобетонные распорки вдоль галереи.

Для повышения сопротивления фундаментов опор галерей сдвигу подошве фундаментов рекомендуется придавать уклон в зависимости от свойств грунтов основания /в направлении поперек галереи/.

Глубина заложения подошвы фундамента верховых и низовых опор при непучинистых нескальных грунтах в основании должна быть не менее 1 м, а при прочих грунтах должна, кроме того, не менее чем на 0,25 м превышать расчетную глубину промерзания грунта. При опирании на скальные грунты глубина заложения подошвы фундамента должна быть не менее 0,25 м

Глубина заложения подошвы фундамента определяется для верховой опоры от отметки предохранительной полосы, расположенной сбоку проезжей части, а для низовой - от поверхности грунта /по нормали к ней/. Допускается при грунтах в основании, подверженных пучению, проектировать фундамент такой же глубины, как и в случае непучинистых нескальных грунтов, при условии, что под подошвой фундамента до глубины, на 0,25 м превышающей глубину промерзания, устроена специальная подушка из утрамбованного песка или щебня.

К подверженным пучению грунтам относятся суглинки, супеси, пылевидные и мелкие пески, а также крупнообломочные грунты, содержащие частицы разменом 0,1 мм в количестве 30 по весу и более.

В соединениях стаканного типа глубину заделки стоек опор в фундаментах следует принимать не менее 1,1 наибольшего размера поперечного сечения стойки и не менее длины анкеровки стержней арматуры стойки в бетоне.

Толщину стенок стакана поверху следующей принимать на менее 25 см и не менее 0,75 высоты верхней ступени фундамента. Стенки стаканов рекомендуется армировать замкнутыми сварными хомутами или спиральной арматурой и проверять расчетом

Минимальный разрез зазора между стенками стакана и стойки принимается 7,5 см поверху и 5,0 см понизу. Глубину стакана необходимо назначать на 5,0 см больше глубины заделки стойки.

Порталы

Вход в галерею отделывается декоративными колоннами и портальной стенкой, поставленной перпендикулярно оси галереи. Портальная стенка сопрягается с откосом выемки и поддерживает с торца галереи засыпку, расположенную за. верховой оперой.

Для поддержания подошвы откоса амортизирующей отсыпки с фасадной стороны портала над крайней балкой перекрытия и над портальной стенкой устраивается парапет-карниз.

Портальная стенка и колонны выполняются из бетона с рустованной цементной штукатуркой, железобетона и кладки из искусственных или естественных камней. Они могут иметь облицовку из штучных камней или из циклопской кладки.

Амортизирующая отсыпка

Толщину амортизирующей отсыпки противолавинных галерей над низовыми опорами следует принимать не менее 0,3 м. Поверхности амортизирующей отсыпки необходимо предавать уклон из условия плавного сопряжения с косогором для снижения до минимума ударного воздействия лавины, зависящего от параметров α, β и αот, /см. рис. 11/. При этом угол αот образованный поверхностью отсыпки с горизонтом рекомендуется принимать не менее 12-15º.

Как указывалось выше в § 3, динамическое воздействие лавины на галерею равно нулю при β = 0 и его можно не учитывать и при β > 0 только в том случае, когда расстояние от галереи до вершины А угла β /см. рис. 11/ превышает удвоенную толщину лавины или 15 м.

С целью предотвращения разрушения низовая часть амортизирующей отсыпки должна быть укреплена мощением или выкладкой из железобетонных: плит индустриального изготовления на ширину не менее 1,0 м и поддерживаться упором-карнизом соответствующей высоты, расположенным на перекрытии галереи.

Гидроизоляция, водоотвод и дренаж

Для перекрытия галереи могут быть применены следующие виды гидроизоляции:

а/ термопластичная из одного или двух армирующих слоев стеклосетчатой ткани между двумя или тремя слоями битумной мастики, наносимой механизированным способом;

б/ из битумных рулонных материалов на стеклосетчатой основе с безмастичной проклейкой /один или два слоя из утяжеленных рулонные материалов на стеклооснове, приклеиваемых к основанию и между собой оплавлением их поверхности пламенем горелки/;

в/ оклеечная из двух-трех слоев гидроизона между слоями горячей битумной мастики;

г/ оклеечная из двух слоев битуморезиновых рулонных материалов между слоями холодной битуморезиновой мастики.

Для гидроизоляции перекрытия галерей, строящихся в северной строительно-климатической зоне, рекомендуется тиокодовая гидроизоляция из двух слоев тиоколовых двух- или трех- компонентных мастик - герметиков, между которыми размещается стеклянная сетка.

Блоки перекрытия укладываются с поперечным в низовую сторону уклоном не менее 2 %.

Гидроизоляция перекрытия должна быть покрытия защитным слоем из батона толщиной 3 - 4 см с тем же поперечным уклоном, желательно марки не ниже марки бетона блоков перекрытия, что, в частности, будет способствовать наиболее эффективному /обычно не учитываемому расчетом/ включению защитного слоя в совместную работу на изгиб с балками перекрытия.

Поверхность занятного слоя после его отвердения покрывают битумным лаком /грунтовкой/, а после его высыхания - слоем горячей битумной мастикой.

Для отвода воды с защитного слоя устанавливают водоотводные трубки, проходящие сквозь карнизы, располагаемые на перекрытии галереи и служащие упорами для низа амортизирующих отсыпки /см. выше/.

Поверхности подпорных, стен /верховых опор и фундаментов низовых опор/, соприкасающихся с грунтом /кроме подошвы фундамента/, следует покрывать безрулонной обмазочной гидроизоляцией из двух слоев горячей битумной мостики.

Изолируемые поверхности перед нанесением оклеечной или обмазочной изоляции должны быть прогрунтованы битумным лаком /за 2 раза/.

Для обеспечения учитываемых в расчете сил трения между грунтом и боковыми поверхностями верховых подпорных стен эти поверхности следует делать неровными.

При бетонных и железобетонных стенах это можно достичь, смещая горизонтально расположенные соседние доски опалубки относительно друг друга на 0,5-1,0 см.

Для обеспечения водоотвода с поверхности амортизирующей отсыпки при пересечении водотоков должно быть предусмотрено устройство бетонных лотков, перепадов, консольных водосбросов приемных колодцев и т.п. Длина консолей водосбросов - леек назначается из условия устранения возможности попадания воды в галерею с низовой стороны.

Для отвода талых вод, стекающих с косогора и образующихся в процессе таяния занесенного внутрь галереи снега, в верховом кювете у порталов и в пределах галереи следует устраивать водоприемные колодцы с решетками. Отвод воды из колодцев должен осуществляться с помощью поперечных труб или закрытых лотков, располагаемых под проезжей частью дороги перед порталами и внутри галереи.

Для отвода грунтовых вод, стекающих сквозь боковую засыпку к фундаментам верховой опоры с верховой стороны склона, должно быть предусмотрено устройство продольного непрерывного застенного дренажа, связанного с упомянутыми предпортальньми водоприемными колодцами. В пределах длинных галерей продольный застенный дренаж должен быть разгружен путем устройства поперечных дренажей, связанных с упомянутыми водоприемными колодцами внутри галереи.

На рис. 13 - 16 приведены 8 типов технических решений сборных и сборно-монолитных конструкций балочных галерей, разработанных Тбилисским (филиалом Союздорпроекта для автомобильных дорог II, III, IV и V категорий [9].

С целью сокращения числа типов заводских блоков принят габарит галереи Г-9,5 с полной длиной блоков перекрытия 12,5 м для дорог II и III категорий габарит Г-7,5 с полной длиной блоков перекрытия 10,5 м для дорог IV и V категорий.

Для всех типов принят с низовой стороны один служебный тротуар шириной 75 см, отдаленный от предохранительной полосы парапетным или барьерным ограждением толщиной 25 см. С верховой стороны предусмотрена полоска безопасности шириной 50 см, возвышающаяся над предохранительной полосой.

Габарит по высоте в свету между поверхностью покрытия в галерее и низом блоков перекрытия для всех габаритов и категорий дорог принят равным 5 м, что стандартизировало высоты верховых и низовых опор галерей.

Конструкции галерей разработаны для двух толщин засыпки над верховыми опорами hзас = 2 и 5 м и для двух толщин лавин Нл = hсн = 5 и 10 м.

Основные размеры низовых и верховых опор для районов с сейсмичностью не более 8 баллов и 9 баллов приведены в таблицах 4 - 7.

В таблицах размеры, указанные в числителе, относятся к случаю когда основанием опор является грунт с условным сопротивлением R = 4 кг/см2; размеры, указанные в знаменателе, относятся к скальному грунту в основании.

Перекрытия, верховые и низовые опоры /включая фундаменты/ во всех 8 типах галерей делится поперечными сквозными вертикальными швами толщиной 2-4 см на секции длиной 6 м.

Для всех 8 типов конструкций галерей приняты однотипные низовые опоры со стандартными размерами их элементов.

Низовая опора принята в виде продольного ряда железобетонных стоек сечением 50´50 см с шагом в 3 м между осями. Стойки объединены поверху железобетонной насадкой сечением 60´50 см в виде двухконсульной балки с пролетом 3 м и двумя консолями по 1,5 м. Общая длина балки 6 м. Как указывалось выше, в таких насадках изгибающий момент посредине пролета от равномерной нагрузки равен нулю. Стойки низовых опор в поперечных к оси галереи гранях имеют вертикальные пазы для закладных железобетонных плит, предотвращающих занос снега с низовой стороны в галерею. Поверху стоек доски не устанавливаются с целью освещения галерей.

Закладные доски не устанавливаются в случае сооружения не галерей, а навесов.

Нижние концы стоек посредством стыка стаканного типа заделаны в фундамент бетонных блоках, имеющих стандартную высоту 1,5 м и сечение 270´150 см для всех толщин лавин и амортизирующей обсыпки /засыпки/, кроме hзас = 5 м и hзас = hсн = 10 м, для которых сечение блока увеличено до 270´180 см.

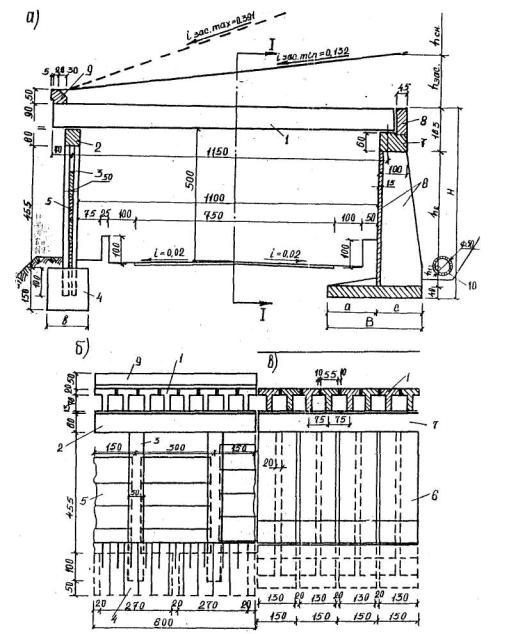
Рис.13. Галерея с Т-образными блоками перекрытия с уголковой контрфорсной верховой стеной для дорог II-III категории:

а - поперечный разрез; б - фасад; в - разрез I-I; 1 - блок перекрытия; 2 - двухконсольная насадка-прогон; 3 -колонна стойка; 4-блок фундамента; 5 - закладные плиты; 6 - уголковый контрфорсныи блок стены; 7 - блок верхней обвязки; 8 - закладной блок; 9 - блок карниза; 10 - дренажная труба

Таблица 4

Основные размеры галерей (в см), приведенных на рис. 13

Сейсмичность районов

Элементы галерей и их размеры

II-III категории дороги

IV-V категории дороги

hзас = 2

hзас = 2

hзас = 5

hзас = 5

hзас = 2

hзас = 2

hзас = 5

hзас = 5

hсн = 5

hсн = 10

hсн = 5

hсн = 10

hсн = 5

hсн = 10

hсн = 5

hсн = 10

Районы с сейсмичностью не более 8 баллов

низовая стена

в

150

150

150

180

150

150

150

180

верховая стена

a

180

180

250

210

250

210

180

180

250

210

250

210

C

170

140

170

140

200

190

200

190

170

140

170

140

200

190

200

190

B

350

320

350

320

450

400

450

400

350

320

350

320

450

400

450

400

h1

90

90

90

90

90

90

90

90

h2

400

400

400

400

400

400

400

400

H

693

693

693

693

693

693

693

693

Районы с сейсмичностью 9 баллов

низовая стена

в

150

150

150

180

150

150

150

180

верховая стена

a

210

180

210

180

320

250

320

250

210

180

210

180

320

250

320

250

C

190

190

190

190

200

200

200

200

190

190

190

190

200

200

200

200

B

400

370

400

370

520

450

520

450

400

370

400

370

520

450

520

450

h1

90

90

90

90

90

90

90

90

h2

400

400

400

400

400

400

400

400

H

693

693

693

693

693

693

693

693

 

Рис. 14. Галерея с Т-образными блоками перекрытия и верховой стеной в виде поперечных стенок с закладными блоками для дорог II-III категорий:

а - поперечный разрез; б - фасад; в - разрез I-I; г-вариант фундаментной плиты верховой стены для высоты засыпки hзас=5 м; 1-блок перекрытия; 2-двухконсольная насадка-прогон; 3-колонна-стойка; 4-блок фундамента;5-закладные плиты; 6-верховая стена в виде поперечных стенок с закладными блоками; 7-двухконсольный прогон-обвязка; 8-закладной блок; 9-блок карниза ;10-дранажный лоток; 11-фундаментная плита

Таблица 5

Основные размеры галерей (в см), приведенных на рис. 14

Сейсмичность районов

Элементы галерей и их размеры

II-III категории дороги

IV-V категории дороги

hзас = 2

hзас = 2

hзас = 5

hзас = 5

hзас = 2

hзас = 2

hзас = 5

hзас = 5

hсн = 5

hсн = 10

hсн = 5

hсн = 10

hсн = 5

hсн = 10

hсн = 5

hсн = 10

Районы с сейсмичностью не более 8 баллов

низовая стена

в

150

150

150

180

150

150

150

180

верховая стена

a

100

50

100

50

150

50

150

50

100

50

100

50

150

50

150

50

C

380

380

450

450

380

380

450

450

B

480

430

480

430

600

500

600

500

480

430

480

430

600

500

600

500

e

170

170

200

200

170

170

200

200

f

110

110

150

150

110

110

150

150

h1

220

220

250

250

220

220

250

250

h2

260

260

230

230

260

260

230

230

H

693

693

703

703

693

693

703

703

d

30

30

40

40

30

30

40

40

Районы с сейсмичностью 9 баллов

низовая стена

в

150

150

150

180

150

150

150

180

верховая стена

a

100

50

100

50

150

50

150

50

100

50

100

50

150

50

150

50

C

380

380

450

450

380

380

450

450

B

480

430

480

430

600

500

600

500

480

430

480

430

600

500

600

500

e

170

170

200

200

170

170

200

200

f

110

110

150

150

110

110

150

150

h1

220

220

250

250

220

220

250

250

h2

260

260

230

230

260

260

230

230

H

693

693

703

703

693

693

703

703

d

30

30

40

40

30

30

40

40

Рис. 15. Галерея с одноярусными пустотными плитами перекрытия и верховой стеной в виде поперечных стенок с закладными блоками для дорог IV - V категорий:

а - поперечный разрез; б - фасад; в - разрез I-I; 1 - одноярусные пустотные плиты перекрытия; 2 - двухконсольная насадка-прогон; 3 - колонная - стойка; 4 - блок фундамента; 5 - закладные плиты; 6 - верховая стена в виде поперечных стенок с закладными блоками; 7 - двухконсольный прогон-обвязка; 8 - закладной блок; 9 - блок карниза; 10 - дренажный лоток, 11 - фундаментная плита

Таблица 6

Основные размеры галерей (в см), приведенных на рис. 17

Сейсмичность районов

Элементы галерей и их размеры

II-III категории дороги

IV-V категории дороги

hзас = 2

hзас = 2

hзас = 5

hзас = 5

hзас = 2

hзас = 2

hзас = 5

hзас = 5

hсн = 5

hсн = 10

hсн = 5

hсн = 10

hсн = 5

hсн = 10

hсн = 5

hсн = 10

Районы с сейсмичностью не более 8 баллов

перекрытие

hп1

60

75

60

60

60

60

75

75

hп2

-

-

60

60

-

-

-

-

низовая стена

в

150

150

150

180

150

150

150

150

верховая стена

a

100

50

100

50

150

50

150

50

100

50

100

50

150

50

150

50

C

380

380

450

450

380

380

450

450

B

480

430

480

430

600

500

600

500

480

430

480

430

600

500

600

500

e

170

170

200

200

170

170

200

200

f

110

110

150

150

110

110

150

150

d

30

30

40

40

30

30

40

40

h1

220

220

250

250

220

220

250

250

h2

260

260

230

230

260

260

230

230

hр

75

90

135

135

75

75

90

90

H

555

570

615

615

555

555

570

570

Районы с сейсмичностью 9 баллов

перекрытие

hп1

60

75

60

60

60

60

75

75

hп2

-

-

60

60

-

-

-

-

низовая стена

в

150

150

150

180

150

150

150

150

верховая стена

a

150

130

150

130

170

100

170

100

150

130

150

130

170

100

170

100

C

380

380

450

450

380

380

450

450

B

530

510

530

510

620

550

620

550

530

510

530

510

620

550

620

550

e

170

170

200

200

170

170

200

200

f

110

110

150

150

110

110

150

150

d

30

30

40

40

30

30

40

40

h1

220

220

250

250

220

220

250

250

h2

260

260

230

230

260

260

230

230

hр

75

90

135

135

75

75

90

90

H

555

570

615

615

555

555

570

570

Рис. 16. Галерея с одноярусными пустотными плитами перекрытия и уголковой контрфорсной верховой стеной для дорог IV-V категорий:

а - поперечный разрез; б - фасад; в - разрез I-I; 1 - одноярусные пустотные плиты перекрытия; 2 - двухконсольная насадка-прогон; 3 - колонна-стойка; 4 - блок фундамента; 5 - закладные плиты; 6 - блоки контрфорсной верховой стены; 7 - блок верхней обвязки; 8 - закладной блок; 9 -блок карниза; 10 - дренажная труба

Таблица 7

Основные размеры галерей (в см), приведенных на рис. 16

Сейсмичность районов

Элементы галерей и их размеры

II-III категории дороги

IV-V категории дороги

hзас = 2

hзас = 2

hзас = 5

hзас = 5

hзас = 2

hзас = 2

hзас = 5

hзас = 5

hсн = 5

hсн = 10

hсн = 5

hсн = 10

hсн = 5

hсн = 10

hсн = 5

hсн = 10

Районы с сейсмичностью не более 8 баллов

перекрытие

hп1

60

75

60

60

60

60

75

75

hп2

-

-

60

60

-

-

-

-

низовая стена

в

150

150

150

180

150

150

150

180

верховая стена

C

170

140

170

140

200

190

200

190

170

140

170

140

200

190

200

190

a

180

180

250

210

250

210

180

180

250

210

250

210

B

350

320

350

320

450

400

450

400

350

320

350

320

450

400

450

400

h1

80

80

90

90

80

80

90

90

h2

400

400

400

400

400

400

400

4000

hр

75

90

135

135

75

75

90

90

H

595

610

665

665

595

610

665

665

Районы с сейсмичностью 9 баллов

перекрытие

hп1

60

75

60

60

60

60

75

75

hп2

-

-

60

60

-

-

-

-

низовая стена

в

150

150

150

180

150

150

150

150

верховая стена

C

190

190

190

190

200

200

200

200

190

190

190

190

200

200

200

200

a

210

180

210

180

320

250

320

250

210

180

210

180

320

250

320

250

B

400

370

400

370

520

450

520

450

400

370

400

370

520

450

520

450

h1

90

90

90

90

90

90

90

90

h2

400

400

400

400

400

400

400

4000

hр

75

90

135

135

75

75

90

90

H

605

620

665

665

605

620

665

665

Восемь типов конструкций галерей отличаются конструкциями или размерами элементов перекрытий и верховых опор.

I тип - сборный, /для дорог II-III категорий/ имеет Т - образные бездиафрагменные блоки перекрытия из обычного железобетона высотой 90 см с шагом в 75 см вдоль галереи и уголковые контрфорсные железобетонные блоки верховых стен /см. рис. 13/.

II тип - сборный /для дорог IV-V категорий/ имеет аналогичные с I типом более короткие Т-образные блоки перекрытия из обычного железобетона высотой 90 см с вдвое увеличенным по сравнению с I типом шагом в 150 см и уголковые стены, аналогичные типу,

III тип - сборно-монолитный /для дорог II-III категорий/ имеет сборное перекрытие, аналогичное I типу, и сборно-монолитные верховые опоры. Последние состоят из монолитных поперечных стен толщиной 50 см, поставленных с шагом в 3 м вдоль галереи и опертых на монолитную фундаментную плиту толщиной 50 см. Со стороны боковой засыпки на наклонные грани поперечных стен укладываются железобетонные плиты-блоки. По верху на поперечные стены опирается железобетонная обвязка-прогон длиной 6 м /см. рис. 14/.

IV тип - сборно-монолитный /для дорог IV и V категорий/ имеет сборные блоки перекрытия, аналогичные II типу, и сборно-монолитные верховые опоры, аналогичные III типу.

V тип - сборно-монолитный /для дорог II - III категорий/ имеет сборное перекрытие из пустотных преднапряженных железобетонных плит шириной 100 см, уложенных в два яруса, и сборно-монолитных верховых опор, аналогичных III типу.

VI тип сборно-монолитный /для дорог IV-V категории/ имеет, сборное перекрытие из пустотных преднапряженных железобетонных плит шириной 100 см, уложенных в один ярус, и сборно-монолитных верховых опор, аналогичных III типу /см. рис. 15/.

VII тип сборный /для дорог II-III категорий/ имеет двухъярусное сборное перекрытие, аналогичное V типу, и сборные верховые опоры, аналогичные I типу.

VIII тип сборный /для дорог IV-V категорий/ имеет одноярусное сборное перекрытие, аналогичное VI типу, и сборные верховые опоры, аналогичные II типу /см. рис. 16/.

Для всех типов галерей над верховыми опорами уложены закладные продольные блоки длиной 6 м у торцов блоков перекрытия, а над перекрытием с низовой стороны установлены карнизные упорные блоки той же длины для поддержания низа амортизирующей отсыпки.

Продольный непрерывный дренаж принят застенным из труб диаметром 50 см при сборных верховых опорах и в виде продольных лотков, проходящих через отверстия в поперечных станах, при сборно-монолитных верховых опорах.

Но косогорном участке длиной 1 км - одной горной дороги Советского Союза сооружены пять сборно-монолитных валочных галерей с длинами 180, 252, 102, 104 и 66 м, однотипная конструкция которых представлена на рис. 17 - 28.

Габарит галерей принят Г-7,6, одинаковым для их участков, расположенных на прямой или на кривой в плане /Г-7 плюс 0,6 м уширения по СНиП II-Д.5-62 при радиусе кривой в плане Р = 250 м/.

С верховой стороны /см. рис. 17/ предусмотрен служебный тротуар шириной 1 м, под съемными железобетонными плитами которого расположена оросительная канава /продольной канал/ с расчетным расходом 0,4 м3/с. С низовой стороны предусмотрена полоска безопасности шириной 0,4 м. Минимальная высота транспортной зоны галереи под перекрытием 5 м.

На прямолинейных в плане участках галереи проезжая часть имеет двухскатный поперечный профиль /см. рис. 17/, а на криволинейных участках устроен вираж с односкатным поперечным профилем. Галереи расположены на продольном уклоне /см. рис. 18 и 19/. Разбивка перекрытия и опор галереи на секции длиной 6 м показана на рис. 18 - 21.

Сборное перекрытие из обычного железобетона состоит из Т-образных бездиафрагменных блоков длиной 10,7 м, высотой 85 см с шириной плиты 122 см /см. рис. 17 - 21/.

Рис. 17 Поперечный разрез участка галереи расположенного на прямой в плане:

1 - Т - образный ж. б. блок перекрытия; 2 - ж. б. стойка сечением 50´50 см; 3 - ж. б. двухконсольная насадка; 4 - бетонный парапет между стойками; 5 - бетонный фундамент - низовая подпорная стена; 6 - верховая опора галереи - верховая бетонная стена; 7 - ж. б. опорная подушка; 8 - дренажный лоток; 9 - оросительная канава; 10 - ж. б. плита;11-укрепление бетонными плитами 49´49´8 см на гравии h = 10 см по всей длине галереи на ширину 25 м; 12 - карниз; 13 - засыпка

Рис. 18. Фасад секций галереи - вид по 1-1 (см. рис. 23):

НК - насадка на кривой в плане; НП - насадка на прямой в плане

Рис. 19. Продольный разрез галереи по 2 - 2 /см. рис. 23/:

БС - средние в пределах секции блоки перекрытия; БК лев - крайний блок перекрытия в левом конце секции; БК пр - то же, в правом конце секции

Рис. 20. План - разрез галереи по 3 - 3 (см. рис. 17)

Рис. 21. Схематическое расположение балок перекрытия в плане

Рис.22. Армирование ребра балки перекрытия:

а - продольный разрез ребер блоков БС, БК пр и БК лев и сварной каркас;

б - поперечный разрез посредине пролета блока БС;

в - стержни № 14 привариваемые к каркасу для стыкования с карнизом

Рис. 23. Армирование плиты блоков перекрытия БС, карниза и опорной подушки над верховой стеной и укладка гидроизоляции над блоками перекрытия:

а - армирование плиты блоков БС; б - стык плит блоков перекрытия; в - сечение карниза у арматурных выпусков № 14 (см. рис. 22); г-сечение карниза между арматурными выпусками № 14; д - укладка гидроизоляции; е - поперечное сечение опорной подушки

Рис. 24. Армирование стойки /блок С/:

а - стык стойки с насадкой; б - стык стойки с фундаментом

Рис. 25. Конструкция стальных опорных частей:

а - фасад; б - разрез 1-1; в - подушка № 5 для неподвижной опорной части; 2 - подушка № 5 для подвижной опорной части

Рис. 26. Застенный дренаж:

а - поперечный разрез; б - узел А; 1 - оросительная канава; 2 - плиты перекрытия канавы; 3 - засыпка; 4 - дренажный канал 20´20 см; 5 - жирная глина; 6 - рваный камень; 7 - крупный гравий; 8 - мелкий гравий; 9 - песок; 10 - фундамент верховой стены

Рис. 27. Фасад портала галереи:

1 - портальная фасадная бетонная стена толщиной 100 см; 2 - бетонная колонна сечением 100´150 см; 3 - подколонный бетонный фундамент сечением 250´150 см; 4 - то жe, сечением 310´150 см; 5 - бетонный парапет-карниз; 6 - укрепление бетонными плитами 49´49´8см

Рис. 28. Вид по 1 - 1 на узел А, показанный на рис. 37:

1 - крайняя /предпортальная/ балка перекрытия;

2 - бетонная колонна сечением 100´150 см с рустовкой ее цементной, штукатурки; 3 -бетонный парапет-карниз; 4 - двухконсольная насадка-ригель низовой опоры галереи

В пределах каждой 6-метровой секции устанавливается четыре блока - два средних БС и два крайних БКпр БКлев /см. рис. 18 и 19/

Плиты средних блоков имеют арматурные выпуски с двух сторон /см. рис. 23, а/, а плиты крайних блоков - с одной стороны.

На прямой в плане блоки перекрытия укладываются параллельно друг другу с зазором 36 см. На кривой в плане предусмотрено веерное расположение блоков с зазором 32 см у их низового и 40 см у их верхового торца /см. рис. 21/. Стыкование блоков осуществляется путем бетонирования на месте зазоров с арматурными выпусками /см. рис. 23/.

Ребра блоков перекрытия армированы двумя плоскими сварными арматурными каркасами с замкнутыми хомутами, объемлющими оба каркаса /см. рис. 22/.

К верхним стержням каждого каркаса привариваются арматурные выпуски-стержни № 14 для стыкования сборного перекрытия с бетонируемым на месте карнизом, служащим упором для низа амортизирующей отсыпки /см. рис. 22, 23, 17/

К выпускам стержней № 14 привязывается арматура карниза. Минимальная высота карниза 35 см. Бетон верха карниза укладывается с наклоном, равным продольному уклону галереи /см. рис. 18/.

При изготовлении блоков перекрытия одновременно должны быть установлены верхние стальные подушки опорных частей на расстояниях 95 см от низового и 18 см от верхового конца блока.

Блоки перекрытия укладываются с поперечным в низовую сторону уклоном в 2 %. Детали оклеечной гидроизоляции, укладываемой поверх перекрытия, показаны на рис. 23, д.

Низовая опора /см. рис. 17; 18; 20; 21; 24/ принята в виде продольного ряда железобетонных стоек марки С, устанавливаемых с шагом в 3 м на прямой и попеременно черев 3 и 2,88 м на кривой в плане /см. рис. 20/. Стойки объединены поверху железобетонной насадкой сечением 60´60 см а виде двухконсольной балки с пролетом 3 м. Насадки приняты двух марок /см. рис. 18/: НП - на прямой в плане /длиной 5,96 м/ и НК - на кривой в плене /длиной 5,84 м/.

Насадка армируется сварными арматурными каркасами При изготовлении насадки по ее продольной оси устанавливаются анкера с приваренными к ним планками подвижных опорных частей. На рис. 32 пунктиром показано расположены блоков перекрытия и опорных частей, размеры между которыми обозначены: без скобок на прямых участках галерей, в скобках - на криволинейных в плане.

Армирование стойки и ее стыки с фундаментом и насадкой представлены на рис. 24.

Между стойками понизу вдоль галереи поставлен бетонный парапет сечением 100´50 см с верхней гранью, имеющей уклон, равный продольному уклону галереи /см. рис. 17, 18/

Стойки низовой опоры опираются на монолитный фундамент из неармированного бетона, имеющий вдоль галереи наклонный верх и ступенчатую подошву /см. рис 17; 18/.

На отдельных участках в соответствии с рельефом косогора фундамент представляет собой низовую подпорную стену переменной высоты.

Верховая опора выполнена в виде монолитной подпорной, стены из неармированного батона /см. рис. 17, 19/ с железобетонной опорной подушкой поверху, армирование которой показано на рис. 23.

Фундамент низовой опоры, как и верховой, имеет вдоль галереи наклонный верх и ступенчатую подошву.

Опорные части /рис. 25/ приняты стальными тангенциального типа. С учетом сейсмичности района конструкция подвижной и неподвижной опорной части принята одинаковой /со штырем/ за исключением верхней подушки № 5, имеющей в неподвижной опорной части круглое отверстие для штыря, а в подвижной - овальное отверстие с удлиненной осью овала вдоль балки перекрытия.

Неподвижная опорная часть устанавливается на верхней опоре, подвижная - на низовой.

Непрерывный продольный застойный дренаж устроен по низу нагорной грани верховой опоры на уголковом железобетонном лотке, уложенном на обрез фундамента /рис. 26/,

Через поперечные сквозные дренажные отверстия сечением 20´20 см, расположенные в верховой опоре через 2 м, воду сбрасывают в продольную оросительную канаву /лоток под тротуаром/, разгружая застенный продольный, дренаж.

Амортизирующая отсыпка поверху укреплена бетонными плитами на гравийном основании по всей длине галерей на ширину 25 м /см. рис. 17/.

Вход в галерею оформлен двумя декоративными колоннами сечением 100´150 см и портальной - фасадной стеной, поставленной перпендикулярно оси галереи /см. рис. 27 и 28/

Над крайней балкой перекрытия и портальной стеной установлен карниз уголкового поперечного сечения высотой

Карниз, колонны и стена с их фундаментами выполнены из монолитного бетона марки 200.

Наружная поверхность портальной стены и колонн покрыта цементной штукатуркой с рустовкой /образованием в штукатурке полосок в виде вертикальных и горизонтальных швов/.

Балочно-консольные галереи, однотипная конструкция которых показана на рис. 29 и 30, возведены на нескольких участках двух высокогорных дорог по проекту Тбилисского филиала ГПИ Союздорпроект.

Несущая конструкция сборной галереи состоит из трех типов крупных железобетонных блоков: верховой и низовой опор и перекрытия. Вес блоков с округлением составляет: перекрытия и верховой опоры по 10 т, низовой опоры - 7 т.

Рис. 29. Поперечный разрез сборной балочно-консольной железобетонной галереи:

1 - ж. б. одноконсольный Т - образный блок перекрытия; 2 - ж. б. сквозные блоки низовой опоры; 3 - бетон фундамента низовой опоры; 4 - ж. б. контрфорсные блоки верховой опоры; 5 - бетон фундамента верховой опоры; 6 - водонепроницаемый экран из тощего бетона = 10 см; 7 - лоток застенного дренажа; 8 - одиночное мощение на цементном растворе; 9 - армированный бетон карниза; 10 - выравнивающий слой цементного раствора = 2 см, гидроизоляция = 1см и защитный слой бетона = 5 см; 11 - распорка между низом блоков верховой опоры; 12 - консоль ребра блока перекрытия

Блок перекрытия общей длиной 12,5 м представляет собой одноконсольную балку Т - образного поперечного сечения с длиной: консоли 2,6 м. Ребро блока перекрытия над низовой опорой имеет высоту 0,75 м, а над верховой /вместе с выступом-зубом ребра/ - 2,45 м. Зуб служит для сопряжения ребра блока перекрытия с контрфорсным ребром блока верховой опоры.

Каждые два блока перекрытия, имеющие плиту шириной 1,48 м и укладываемые с зазором в 2 см, опираются одним концом на один блок низовой опоры и своими выступами-зубьями на один блок верховой опоры. Блоки опор вдоль галереи имеют длину 2,98 м.

Для устойчивости блоки перекрытия в местах их опирания на опоры имеют укороченные диафрагмы, ширина которых меньше ширины плиты блоков.

Каждый сквозной блок низовой опоры состоит из четырех раскосов, связанных в верхней части общим ригелем, а в нижней - распоркой прямоугольного сечения. Ниже распорки блок имеет два вертикальных зуба-выступа, входящих в гнезда фундамента.

Каждый блок верховой опоры состоит из двух уширяющихся книзу ребер-контрфорсов высотой 4,58 м, объединенных поверху по высоте 3,05 м вертикальной плитой-шириной 2,98 м, а понизу - горизонтальной распоркой прямоугольного сечения. Блоки верховых опор устанавливаются на фундаментную подушку, верхняя поверхность которой предварительно выравнивается цементным раствором толщиной 2 см. Подушка понизу имеет зуб, предотвращающий сдвиг верховой опоры в низовую сторону под действием бокового давления грунта косогора и застенной засыпки.

Рис. 30. Фасад - вид по I - I и разрез по II - II галереи, показанной на рис.41:

а - фасад; б - разрез по II - II

Консоль блока перекрытия уменьшает изгибающий момент посредине пролета ребра блока, боковое давление застенной засыпки на верховую опору и кубатуру засыпки под консолью.

Фундаменты опор выполнены из монолитного бетона.

В продольный лоток застенного дренажа поступает вода из застенной засыпки, а также с проезжей части галереи между контрфорсными ребрами блока верховой опоры под его вертикальной продольной плитой по водонепроницаемому наклонному экрану из бетона толщиной 10 см /см. рис. 29/.

Схемы транспортировки и складирования блоков показаны на рис. 31. Схема установки блоков опор и перекрытия привалена на рис. 32.

Достаточно сложная конфигурация блоков потребовала устройства на полигоне специальных плазов и комплектов сборно-разборной опалубки.

Подробнее организация работ по сооружению балочно-консольной галереи освещена в учебном пособии [11]

§ 5. РАСЧЁТ ПАРАМЕТРОВ СНЕЖНОГО ПОКРОВА И ЛАВИН

А. Определение глубины снежного потока в лавине /расчетной толщины лавин/

Расчет параметров снежного покрова и лавин /толщины и скорости их движения/и расчет снеголавинных нагрузок при проектировании галерей производится в соответствии с "Указаниями по расчету снеголавинных нагрузок при проектировании сооружений - ВСН 02-73" /Гидрометеоиздат, 1973/, утвержденных Главгидрометслужбой, МПС СССР, Минтрансстроем СССР, Минавтодором РСФСР и согласованных с Госстроем СССР.

Максимальная высота снежного покрова в местах зарождения лавин определяется непосредственными наблюдениями, методика и организация которых описаны в "Руководстве по снеголавинным работам [1].

Обеспеченность максимальной высоты снежного покрова принимается равной 1,2 и 5% в зависимости от класса сооружения. Для галерей на автомобильных дорогах принимается 1%.

Измерения высоты снежного покрова производятся снегомерными экспедициями главного управления гидрометеорологической службы при Совете Министров СССР /Главгидрометслужбы/ по его автономному плану или по заказу организаций, проектирующих автомобильную дорогу.

Наблюдение за снежным покровом и измерения его высоты производятся на стационарных площадках вблизи снегосборного /лавиносборного/ бассейна или непосредственно в его пределах, в частности в зоне предполагаемого отрыва лавин.

Места установки снегомерных реек для определения высоты снега в снегосборных бассейнах выбираются с таким расчетом, чтобы можно было получить наглядную картину накопления снега во всех частях снегосборных воронок /тальвег, низ, верх и склоны различных экспозиций/.

В каждой воронке устанавливается от 5-6 до 10-12 специальных постоянных реек, прикрепляемых болтами к обетонированным металлическим сваям. Можно применять специальные металлические снегомерные рейки с визуальным отсчетом с вертолетов.

Установка реек производится осенью до образования снежного покрова.

В логах небольшой протяженности и эрозионных врезах /бороздах/ рейки устанавливаются по одной - две в верхней и средней части лога.

В снегосборных бассейнах значительных размеров необходимо проводить наблюдения за нарастанием высоты снежного покрова в большом числе пунктов, располагающихся по всей площади снегосборного бассейна, в частности, в зоне предполагаемого отрыва лавин.

При непродолжительном периоде этих наблюдений максимальная высота снежного покрова оценивается приблизительно по формуле.

где hмакс - наибольшая из наблюденных максимальных высот снежного покрова, измеренных по вертикали, м;

 - средняя максимальная высота снежного покрова по этим же наблюдениям, м;

hст - максимальная высота снежного покрова заданной обеспеченности на ближайшей репрезентативной /представительной/ метеостанции с периодом наблюдений более 10 лет, м;

Δh - средняя разность высоты снежного покрова /найденная по данным наблюдений за период, больший 10 лет/ на метеостанциях, находящихся в данном районе на различных абсолютных высотах H1 и Н2Н = H1 - Н2/, м;

Нх - абсолютная средняя высота того участка снегосборного бассейна, на котором проводились непродолжительные наблюдения, м;

Нст - абсолютная высота ближайшей репрезентативной метеостанции, м.

Величину следует уточнять в зависимости от экспозиции склонов по данным полевых наблюдений, учитывая при том, что ее значение может быть разным для различных высотных зон и лет наблюдений.

Как указывалось в § 2, глубина снежного потока в лавине Нл (расчетная толщина лавины по вертикали) при недостаточности сведений об этой величине в материалах изысканий принимается а/ для непылевидных лавин Нл = 3h0; б/ для пылевидных лавин Нл = 5h0 .

При непродолжительном периоде полевых наблюдений высоты снежного покрова в районах южного склона Главного Кавказского хребта может быть приближенно определена по графикам [12].

Б. Определение скорости движения и дальности выброса лавин

По топографической карте строят продольный профиль лавинного очага /траектории движения лавины/ от предполагаемого шеста отрыва лавины в снегосборном бассейне до подножия склона /дна долины/, т.е. до предполагаемого положения конуса выноса лавины /рис. 33/.

Продольный профиль строится по главному логу лавиносброса и далее по средней линии лавинного лотка до подошвы лавиноносного склона.

Расчет скорости движения непылевидной лавины и дальности ее пути выполняется в зависимости от продольного профиля склона.

Если профиль склона удовлетворительно аппроксимируется вплоть до его подножия /дна лавины/ прямой линией /линия АБ на рис. 33, а/, скорость лавины в м/с в подножии склона определяется по формуле

где a = 9,8 (sinα - fcosα) в м/с2 - ускорение равноускоренного движения лавины;

f - коэффициент трения лавины о склон, принимаемый равным 0,25 для скальных, снежноледяных и травяных гладких поверхностей склона и 0,3-для всех остальных поверхностей;

α - угол наклона прямой линии, аппроксимирующей склон град.;

S - длина прямой линии, аппроксимирующей склон м.

Примечание: Для определения скорости v в точке А в примыкании верха амортизирующей отсыпки к склону /см. рис. 11/ расстояние S принимается по аппроксимирующей линии до этой точки.

Рис. 31. Продольные профили лавинных очагов /траекторий движения лавин/:

а - склон аппроксимированный прямой АБ;

б - без участков с обратными уклонами;

в - с участком обратного уклона;

А - предлагаемая линия отрыва лавины в снегосборном бассейне;

Б - подножие склона /дно долины/;

1 - участок с обратных уклоном

В случае более сложного профиля склона, когда он удовлетворительно не аппроксимируется прямой линией /см. рис. 31, б и в/, склон разбивается на отдельные участки с постоянным углами наклона α.

Для первого участка скорость в м/с в его нижнем конце определяется по формуле

где a = 9,8(sinα1 - cosα1) в м/с2 ;

α1 - угол наклона первого участка, град.

Скорость в конце каждого последующего участка определяется в зависимости от конечной скорости на предыдущем участке по формуле

где S0 - сумма длин предыдущих участков пути лавины в м /для первого участка S0 = 0; для второго - S0 = S1 и т.д./;

a = 9,8(sinα - fcosα) в м/с2 - ускорение для данного участка, при движении лавины по участку с обратным уклоном /участок 3 на рис. 45, в/ это угол наклона считается отрицательным;

S - длина данного участка пути, м;

υ0 - скорость лавины в конца предыдущего участка пути м/с;

Δα - разность между углами наклона предыдущего и данного участков пути, град.

Расчет скорости лавины производится до того участка ее пути, на котором подкоренное выражение в формуле для определения скорости υ становится отрицательным /за счет величины ускорения a/. На этом отрезке следует определить расстояние, на котором лавина останавливается и формируется снежный конус выноса /рис. 32/ по формуле

где  

Sх - дальность пути лавины на участке конуса выноса, м;

Fсб - площадь зоны обрыва лавины, отвечающая случаю схода лавины максимального объема, м2;

Вк - максимальная ширина конуса выноса лавин, выраженного в ландшафте l м.

Площадь Fсб определяется по топографическому плану лавинного очага как площадь зоны отрыва лавин до начала выраженного пути схода /транзитной зоны/. Полученная величина делится на косинус среднего угла наклона снегосборной площади. За зону отрыва лавин принимается площадь лавинного снегосбора как водосбор баз участков с углом наклона более 60° и залесенных /покрытых кустарником и лесом, устойчивых к сходу лавин/ участков. Для полностью скальных снегосборов их площадь определяется суммированием площадей отдельных участков скальной поверхности с углом наклона менее 60°. Если снегосбор состоит из нескольких обособленных воронок /эрозионных врезов/, величина Fсб определяется для наибольшей из них.

Величина Вк определяется по геоморфологическим и ботаническим признакам на участке свободного /не стесненного лавинным руслом/ растекания лавинного снега в стороны в зоне его отложения.

Рис. 32. Схема для расчета дальности пути лавины.

Если лавина останавливается в узких эрозионных врезах или ее конус выноса никак на выражен на поверхности склона и дна долины, то принимается, что Sх = S'х.

Для облегчения расчетов скоростей υ в конце каждого участка и величины S'х, служит номограмма на рис. 33, пользование которой производится в следующей последовательности.

Для каждого участка пути вычисляются величины a и S0. Точка S = 0 горизонтальной оси соединяется прямой со значением a1 на вертикальной оси. На оси S справа налево откладывается величина S1. Пересечение ординаты, проведенной из левой точки отрезка S1, с полученной прямой даст значение конечной скорости для первого участка, которое прочитывается по изолиниям υ.

Рис. 33. Номограмма для определения скорости лавины υ и дальности ее пути

Полученная точка со значением скорости υ1 соединяется прямой со значением a2которая на пересечении с ординатой, проведенной, из левой точки отрезка S0 + S2 горизонтальной оси дает значение υ2. Определение величин υ для последующих участков аналогично.

Горизонтальная ось S является также линией со значением υ = 0. Пересечение прямой, соединяющей какие-то точки υi и a1+i, дает значение υi+1 = 0 , которое на горизонтальной оси отсекает отрезок пути лавины S'х находящийся между отрезком S0 + Si и точкой υi+1 = 0. Масштаб оси S можно менять. При увеличении S в n раз значения изололиний скорости увеличиваются в раз.

При значении разности углов двух смежных участков пути Δα > 2 полученное значение конечной скорости для предыдущего участка следует уменьшить умножением этого значения на cosΔα; новое значение откладывается на этой же ординате.

Пример вычислений υ и S'х по номограмме

Дано: S0 = 200 м, υ0 = 17 м/с, f = 0,25.

Длины участков пути, их углы наклона и вычисленные по участкам величины a, S0 и S0 + S привалены в табл. 9.

Ответ по номограмме рис. 33:

υ2 = 25,5 м/с; υ3 = 21 м/с; отрезок пути S'х = 60 м.

Таблица 9

Вычисленные значения a, S0 и S0 + S

Номер участка пути

S м

α град

a м/с2

S0 м

S0+S м

2

100

39

4,26

200

300

3

100

19

0,88

300

400

4

-1

-1

-2,63

 

 

Если в материалах изысканий есть указание о сходе пылевидных лавин /или возможности их схода/, следует определить скорость и дальность пути пылевидного снега.

Скорость пылевидных лавин в м/с определяется приближенно по формуле

где  - средний угол наклона лавиноопасного склона, град;

С - коэффициент в , определяемый в зависимости от угла наклона склона м:

* в градус . . . . . . 30 и менее     35             40                45 и более

С в  . . . . . . . . 0,00025           0,0004       0,00055       0,0006

За дальность пути пылевидной лавины по дну долины принимается длина участка основного склона, на котором возможен захват снега лавиной /без расчлененных участков/. Это расстояние откладывается от подножия склона по дну долины в направлении продольной оси лавинного очага.

§ 6. РАСЧЕТ ПЕРЕКРЫТИЯ ГАЛЕРЕИ

Действующие нормативные нагрузки /рис. 34/:

а/ равномерно распределенная вертикальная нагрузка от собственного веса перекрытия q0, тс/м, например от веса Т-образных бездиафрагменных железобетонных блоков шириной С поверху /см. рис. 34, в/; 1 тс/м = 9,81 кН/м;

б/ трапецеидальная нагрузка от веса амортизирующей отсыпки с концевыми ординатами, тс/м2; 1 тс/м2 = 9,81 кН/м2:

q1 = h1γот и q2 = h2γот .

где h1 и h1 - толщины отсыпки над точками опирания перекрытия на опоры, м;

γот = 1,7 - 1,8 т/м3 - объемная масса материала отсыпки;

в/ равномерно распределенная вертикальная нагрузка от веса лавинного снега в тс/м2, определяемая по формуле

q = γлНл ,

где Нл - расчетная толщина лавинного снега по вертикали м /см. выше § 5/;

γл = 0,45 т/м3 /для непылевидных лавин/ и 0,05 т/м3 /для пылевидных лавин/;

г/ равномерно распределенная вертикальная нагрузка от удара снежной лавины в тс/м2 определяемая по формула

где γл имеет прежнее значение, тс/м3;

g = 9,8 м/с2;

υ - скорость движения-лавины в момент удара, м/с /в точке А на рис. 34/, определяемая по формулам или номограмме, приведенным выше в § 5;

Рис. 34. Схема нагрузок на перекрытие балочной галереи:

а - схема; б - давление от. удара снежной лавины; в - разрез I-I; 1 - T-образный блок перекрытия; 2 - стык блоков перекрытия

β = α - αот /см. рис. 34/;

α - угол наклона поверхности конечного участка косогора перед галереей;

αот - угол наклона поверхности амортизирующей отсыпки;

при α = αот величины β = 0 и Рл = 0;

д/ касательная сила трения на все перекрытие длиной l и шириной 1 м вдоль галереи , действующая в плоскости верхней поверхности амортизирующей отсыпки и направленная в сторону движения лавины /см. рис. 34/, тс (1 тс = 9,81 кН) определяются по формуле (см. [2]);

где l - расчетный пролет блоков перекрытия, м;

f - коэффициент трения лавины при отсутствии наблюдений принимается равным 0,3.

Примечание. В момент удара снежной лавины давление Рл направлено по нормали к верхней поверхности отсыпки и измеряется в т на 1 м2 ее наклонной поверхности /см. рис. 34, б/; при этом на 1 м2 перекрытия передается равномерно распределенная вертикальная нагрузка, равная

Давление от удара Рл и составляющую Рл f удельной силы трения можно не учитывать при β > 0 в случаях, когда расстояние d от галереи до вершины А угла β /см. рис. 34/ превышает 2 Нл или 15 м /см [10]/.

Коэффициенты перегрузок /см [10]/:

для q0 . . . . . . . . . . . . . . . . . 1,1 или 0,9;

для q1 и q2 . . . . . . . . . . . . .  1,2 или 0,9;

для q = Нлγл и Рл . . . . . . . . 1,45.

Максимальные изгибающие моменты посредине пролета блока перекрытия в тс·м (1 тс·м = 9,81 кН·м):

нормативный

расчетный

где l - расчетный пролет блоков перекрытия, м;

с - ширина блоков перекрытия поверху с учетом ширины стыков между блоками -шаг блоков вдоль галереи, м /см. рис. 34 в/

По  рассчитывают ребро блока перекрытия в сечении посредине пролета на прочность, а по  на трещиностойкость.

Нормативный изгибающий момент от временных нагрузок q и Рл тс·м:

По этому моменту определяют прогиб блока перекрытия посредине его пролета. Максимальные расчетные поперечные силы в сечении блока перекрытия над низовой опорой

в сечении блока перекрытия над верховой опорой

в сечении блока перекрытия посредине пролета при загружении временными нагрузками q и Рл правой половины пролета

в том же сечении при загружении временным нагрузками q и Рл - левой половины пролета

По этим величинам Q рассчитываются отогнутые стержни и хомуты в сечениях ребра блока перекрытия.

Плита блоков перекрытия рассчитывается как балочная с пролетом равным расстоянию в свету между блоками-ребрами соседних блоков /с0 на рис. 34, в/. Расчет производится в нескольких сечениях блока на расчетную равномерно распределенную нагрузку равную

Элементы стальных опорных частей, например верхние и нижние, их подушку/см. рис. 23/, рассчитываются на смятие и изгиб при действии вертикальных нагрузок  /для подвижной опорной части на низовой опоре/ и .

Штырь неподвижной опорной части рассчитывается на срез силой, равной 1,45Тсоsαот /горизонтальная составляющая касательной нормативной силы трения Т с учетом коэффициента перегрузки 1,45/.

В сейсмических районах штырь дополнительно рассчитывается на срез горизонтальной сейсмической силой инерции /без ее суммирования с силой 1,45Тсоsαот/.

При отсутствии опорных частей на низовую и верховые опоры передаются одинаковые горизонтальные силы, равные  каждая.

Расчетные опорные давления на 1 пог. м опор:

верховой . . . . . . . . ;

низовой. . . . . . . . .  .

§ 7. РАСЧЕТ ВЕРХОВОЙ ОПОРЫ

Верховая опора рассчитывается как подпорная стена в соответствии с "Техническими указаниями по проектированию подпорных стен для транспортного строительства - ВСН 167-70 Минтрансстроя [13] с учетом "Указаний" ВСН 02-73 [2] и методических рекомендаций [10].

При расчете рассматривают участок стены длиной 1 м.

А. Расчет сечения I-I по обрезу фундамента

Действующие нормативные нагрузки в т при наличии на призме обрушения временных нагрузок от веса и удара движущейся лавины /рис. 35, а/:

а/ Р1, Р2 и Р3 - веса элементов бетонного тела стены /при γбет = 2 ,4 т/м /;

б/ С1, С2 и С3 - веса элементов амортизирующей отсыпки и застенной засыпки из дренирующего грунта γот = 1,7 - 1,9 т/м3 /крупноблочный грунт или пески: грвелистые, крупные или средней крупности/;

в/ Q1 = (q + Pл)a - вертикальная нагрузка от веса и удара лавинного снега, где временные нагрузки q и Pл определены выше в § 6 /там же указаны случаи, когда можно принять Pл = 0/;

г/  - нормативное опорное давление перекрытии, подсчитываемое так же, как  /см. § 6 /, но без учета коэффициентов перегрузки;

д/ Tcosαот - горизонтальная составляющая силы трения т /см. § 6/;

е/ E1 и V1 - горизонтальная и вертикальная составляющие активного бокового давления грунта на фиктивную вертикальную грань стены высотой h, определяемые по формулам

V1 = E1tgδ

где  - расчетный угол трения грунта о боковую поверхность подпорной стены, град.;

φ - расчетный угол внутреннего трения грунта засыпки в градусах, принимаемый равным нормативному углу φн внутреннего трения, установленному по данным лабораторного исследования грунта /φ = φн = 20-40°/;

γот = 1,7 - 1,9 т/м3 - объемный вес грунта отсыпки и засыпки;

λа - коэффициент активного бокового давления грунта, определяемый выражением

Рис. 35. Расчетная схема верховой опоры:

а - для сечения 1-1 по обрезу фундамента; б - для сечения II-II по подошве фундамента

αот - угол наклона амортизирующей отсыпки к горизонту, град, /значение λа для некоторых величин φ αот при  приведены в табл. 9/ град.

Сила E1 приложена выше сечения I-I стены /см. рис. 35, а/ на расстоянии Z1.

Таблица 9

Значения коэффициента активного бокового давления грунта λa

φ градусы

αот градусы

λа

φ градусы

αот градусы

λа

20

10

0,532

30

30

0,776

20

20

0,899

35

10

0,275

25

10

0,425

35

20

0,319

25

20

0,548

35

30

0,423

25

25

0,841

40

10

0,220

30

10

0,343

40

20

0,251

30

20

0,416

40

30

0,304

Коэффициенты перегрузок:

к силам Р1, Р2 и Р3 . . . . . . . . . . . . 1,1 или 0,9;

к силам С1, С2 и С3 . . . . . . . . . . . . 1,2 или 0,9;

к силам Q1, и Тcosαот . . . . . . . . . . 1,45;

к силам E1 и V1 . . . . . . . . . . . . . . . 1,3 (см. [10])

Сила вычислена выше в § 6.

В сечении I-I вычисляют нормативные и расчетные моменты  и в тс·м /от всех сил относительно центра сечения - точки 01 на рис. 35, а/ и нормальные силы и  в тс.

Проверку положения равнодействующей нормативных нагрузок производят в соответствии с ВСН 167-70 [13].

Эксцентриситет  не должен быть больше 0,35 - в, где в - ширина сечения, м.

Проверку на опрокидывание производят в соответствий с СН 200 - 62 [14].

Эксцентриситет  не должен быть больше 0,4 в.

Расчет прочности сечения бетонной стены производят в соответствии с СН 365 - 67 [15].

где , но не более 1 /коэффициент условий работы/;

Rи - расчетное сопротивление бетона на сжатие при изгибе в тс/м2/ для бетона марки 150 Rи = 650тс/м2, тс/м2, марки 200 - Rи = 800тс/м2/, 1 тс/м2 = 9,81 кПа.

Б. Расчет сечения II-III по подошве фундамента

Действующие нормативные нагрузки в т /рис. 35 б/:

в/ Р1, Р2 Р3и Р4 - веса элементов тела и фундамента стены;

б/ С1, С2 С3 С4 и С5 - веса элементов засыпки и полосы безопасности;

в/ Q1 = (q + Pл)a1 и Q2 = (q + Pл)a2 - вертикальные нагрузки от веса и удара лавинного снега;

г/  - нормативное опорное давление от перекрытия;

д/ Tcosαот - горизонтальная составляющая силы трения Т;

е/ E2 и V2 - горизонтальная и вертикальная составляющие активного бокового давления грунта на фиктивную вертикальную грань станы высотой Н, определяемые по формулам:

где величины δ, γот и λа имеют прежние значения; сила E2 приложена выше подошвы фундамента /см. рис. 35, б/ на расстоянии Z2, равном

ж/ Eп и Vп - горизонтальная и вертикальная составляющие учитываемой расчетом части пассивного бокового давления грунта на низовую вертикальную грань фундамента высотой Н1 верховой опоры, определяемые по формулам:

где

φ - расчетный угол внутреннего трения грунта, расположенного за низовой вертикальной гранью фундамента высотой Н1;

γ - объемный вес этого грунта, т/м3;

Н0 - расстояние от покрытия до обреза фундамента, м /см. рис. 35, б/;

λп - коэффициент пассивного бокового давления грунта, определяемый выражением

при

λп = 2,64 . . . . . . . . . . . . при φ = 20º;

λп = 3,55 . . . . . . . . . . . . при φ = 25º;

λп = 2,00 . . . . . . . . . . . . при φ = 30º;

λп = 2,40 . . . . . . . . . . . . при φ = 35º;

λп = 11,90 . . . . . . . . . . . при φ = 40º;

Сила Еп приложена выше подошвы фундаменте стены /см. рис. 35 б/ на расстоянии

Коэффициенты перегрузок:

к силам Р1, Р2 Р3и Р4 . . . . . . . . . . . . . . . 1,1 или 0,9;

к силам С1, С2 С3 С4 и С5 . . . . . . .. . . . . 1,2 или 0,9;

к силам Q1 Q2 и Tcosαот . . . . . . . . . . . . . 1,45;

к силам E2 и V2 . . . . . . . . . . . . . . . . . . . . 1,3;

к силам Eп и Vп . . . . . . . . . . . . . . . . . . . . 1,2 или 0,9.

В сечении II - III по подошве фундамента стены вычисляют нормативные и расчетные моменты  и  в тс·м /от всех сил относительно центра сечения - точки О2 на рис. 35, б/ и нормальные силы и .

В сечении II - III по подошва фундамента производят следующие проверки в соответствии с ВСН 167 -70[13]:

1. Проверка положения равнодействующей нормативных нагрузок /проверка на крен/

Должно соблюдаться условие

где  -эксцентристет, м;

d - ширина фундамента по подошве, м.

2.Проверка давлена на грунт

Первый случай:  , где .

Среднее и максимальное давление на грунт проверяют по формулам:

где F = d·1 - площадь сечения, м2;

R - расчетное сопротивление грунта в тс/м2 под подошвой фундамента по п. 682 СН 200-62.

Второй случай:

Максимальное давление на грунт

3. Проверка на опрокидывание /относительно точки А/

на рис. 35, б/ под действием расчетных нагрузок. Опрокидывающий в тс·м от действия силы активного давления грунта на заднюю поверхность стены /равнодействующей сил Е2 и V2/ и силы Tcosαот

где 1,3 и 1,45 - коэффициенты перегрузки.

Вычисляют величину предельного момента Мпред, равного моменту всех остальных сил относительно точки А.

Расчет устойчивости всей стены против опрокидывания производит по формуле

где m - коэффициент условий работы, принимаемый равным 0,7 при не скальном грунте под подошвой фундамента и 0,8-при скальном.

4. Проверка на сдвиг (скольжение) при действии расчетных нагрузок

К сдвигающим силам следует относить силы активного давления грунта на заднюю поверхность стены и вызванное ими по плоскости скольжения силы трения /также силы Tcosαот/, а к удерживающим - силы трения, вызванные всеми остальными силами, и пассивное давление грунта на фундамент.

Сдвигающая сила, тс

Предельная сдвигающая сила, равная проекции удерживающих сил на плоскость скольжения,

где f - коэффициент трения кладки о грунт /значения его приведены в п. 692 СН 200 - 62/.

Расчет устойчивости всей стены против скольжения производят по формуле

где m - коэффициент условий работы, принимаемый равным 0,9 /для низовых подгорных стен m = 0,8/.

Для увеличения устойчивости стены против скольжения подошве фундамента может быть придан наклон под углом ε, равный 10-15º /рис. 36, б/.

В этом случае при проверках устойчивости стены на крен и опрокидывание, а также давления на грунт момент всех сил MII-II определяется относительно центра спрямляющего сечения II - II /точки 0 на рис. 36, а/.

Нормальная сила  всех горизонтальных сил умноженных на sinε всех вертикальных сил умноженных на cosε, где ε - угол наклона спрямляющего сечения.

Опрокидывающий и предельные моменты Mопр и Mпред определяются относительно точки А.

Устойчивость стены против скольжения проверяется по двум возможным плоскостям скольжения: III - III /см. рис. 36, б/ и IV - IV совместно с грунтовым клином под наклонным участком подошвы фундамента / см. рис. 36, в/.

При проверке стены против скольжения по плоскости III - III силы Tсдв и Тпред определяется по следующим формулам;

При проверке стены против скольжения по плоскости IV - IV силы Tсдв и Тпред определяются по этим же формулам, но к вертикальным силам С добавляется масса грунтового клина Стр, а силы пассивного отпора Еп Vп определяется для высоты Н'1,  а не Н1, /см. рис. 36, в/.

Коэффициент трения

где f1 = tgφ1 - коэффициент трения грунта о грунт на длине l1;

f2 - коэффициент трения кладки о грунт на длине l2;

Рис. 36. К расчету ломанного сечения по подошве фундамента

φ1 - расчетный угол внутреннего трения грунта, расположенного под подошвой фундамента.

§ 8. РАСЧЕТ ВЕРХОВОЙ ОПОРЫ С УЧЕТОМ СЕЙСМИЧЕСКИХ НАГРУЗОК

Сейсмичность района строительства в баллах принимается по картам сейсмического районирования территории СССР /см. СНиП II-А.12-69, приложение I/ или по списку основных населенных пунктов СССР, расположенных в сейсмических районах /см. там же, приложение 2/.

Сейсмичность строительной площадки в баллах принимается в зависимости от сейсмичности района строительства и инженерно-геологических данных по табл. 1 СНиП II-А.12-69 и согласовывается с утверждающей проект инстанцией.

Расчетная сейсмичность галереи в баллах принимается равной сейсмичности, строительной площадки.

Значения сейсмичности коэффициента Кс определяется по таблице 10 в зависимости от расчетной сейсмичности галереи в баллах.

Таблица 10.

Значения сейсмического коэффициента Кс

Расчетная сейсмичность галереи в баллах

7

8

9

Кс

1

40

1

40

1

40

При расчете верховой опоры на сейсмичность нагрузки q и Рл /см. § 7/ от прохождения снежной лавины не учитывают [6]. Вместо этих нагрузок учитывается нагрузка от максимально возможного накопления сданного покрова на амортизирующей отсыпке, вызванного завалом лавинного снега.

Угол наклона к горизонту поверхности накопления снега /рис. 37/ принимают равным углу наклона отсыпки αот.

Расчетная высота накопления снежного покрова Hс и объемный вес лавинного снега в завале γс назначаются по данным метеостанций.

При этом расчетная высота накопления снежного покрова должна приниматься не менее 3 м для редкосходящих или небольших и не менее 6 м - для частосходящих или больших лавин.

Для мокрого осевшего снега объемная масса γс равна 0,4-0,55 т/м3, сухого - 0,2-0,4 т/м3.

Для мокрого фирнового /зернистого/ снега γс равен 0,6-0,8 т/м3, сухого - 0,4-0,7 т/м3. При отсутствии непосредственных наблюдений γс принимается равным 0,45 т/м3.

Действующие нормативные нагрузки, /см. рис. 37/, тс:

а/ Р1, Р2, Р3 и Р4 /см. § 7/;

б/ С1, С2, С3, С4 и С5 /см. § 7/;

в/ Q1 = Hc γс a1 и Q2 = Hc γс a2 - вес лавинного снега в завале над верховой опорой;

г/ опорные давления от перекрытия:

Рис. 37. Действующие нагрузки с учетом сейсмических воздействий

 - от веса лавинного снега над перекрытием, где величины q0, q1, q2 имеют прежние значения /см. § 7/;

д/ Е1 и V1 - силы активного бокового давления грунта при расчете опоры в сечении I-I по обрезу фундамента; в формуле для вычисления E1 /см. § 7/ величина q + Рл заменяется величиной ;

е/ Е2 и V2 - то же при расчете опоры в сечении II-II по подошве фундамента; в формуле для вычисления Е2 /см. § 7/ производится аналогичная замена;

ж/ Eп и Vп - силы пассивного бокового давления грунта /см. § 7/.

Вычисляют сейсмические горизонтальные силы /в. т/, приложенных в точках приложения соответствующих вертикальных сил Р, С и Q по формулам:

S1 = 1,5P1Kc;          S8 = 1,5Q4Kc;

S2 = 1,5P2Kc;          S9 = 1,5Q4Kc;

S3 = 1,5P3Kc;          S10 = 1,5Q4Kc;

S4 = 1,5P4Kc;          S11 = 1,5C1Kc;

S5 = 1,5Q3Kc;         S12 = 1,5C2Kc;

S6 = 1,5Q4Kc;         S13 = 1,5C3Kc;

S7 = 1,5Q5Kc;         S14 = 1,5C4Kc;

                               S15 = 1,5C5Kс;

Силы S1S15 направлены в низовую сторону /в сторону галереи/.

Вычисляют сейсмические горизонтальные силы /в т/, приложенные в уровне действия горизонтальных сил Е1, Е2 и Еп /см. рис. 37/ по формулам:

где φ - расчетный угол внутреннего трения грунта.

Вычисляют сейсмические вертикальные силы /в т/, приложенные в точках приложения сил V1, V2 и Vп /см. рис. 37/ по формулам;

Коэффициенты перегрузок:

к силам P1, P2, P3, P4, Q6, Q5 и Q4 . . . . 1,1 или 0,9;

к силам С1, С2, С3, С4 и С5 . . . . . . . . . . 1,2 или 0,9;

к силам Е1, V1, Е2, V2, Еп и Vп . . . . . . . . 1,2;

к силе Q1, Q2, и Q3 . . . . . . . . . . . . . . . . . 1,1;

ко всем сейсмическим силам . . . . . . . . 1,0.

Изменения в расчетных проверках при учете сейсмики приведены  в табл. 11 и 12

Таблица 11

Расчеты в сечении I-I по обрезу фундамента

Номера проверок

Без учета сейсмики (см. § 7)

С учетом сейсмики

1

lнорм ≤ 0,35в

lнорм ≤ 0,45в

2

lрасч ≤ 0,40в

lрасч ≤ 0,50в

3

Rи

1,2Rи

Таблица 12

Расчеты в сечении II-II по подошве фундамента

Номера проверок

Без учета сейсмики (см. § 7)

С учетом сейсмики

1

2

3

4

 

§ 9. РАСЧЕТ НИЗОВОЙ ОПОРЫ

Двухконсольная железобетонная насадка рассчитывается на равномерно распределенную вертикальную нагрузку с интенсивностью  /см. § 6/.

Линии влияния усилий в насадке с пролетом l1 и консолями длиной по приведены на рис. 38.

Вычисляют расчетные усилия:

- момент посредине пролета, тс·м;

 на опоре, тс·м;

 - поперечная сила посредине пролета, тс;

 - поперечная сила опоры, тс;

 - поперечная сила правее опоры, тс;

- давление на стойку, тс,

По этим моментам рассчитывают насадку на прочность в сечениях посредине пролета и на опоре.

По поперечным силам рассчитываются отогнутые стержни и хомуты в сечениях.

Рис. 38 Линии влияния усилий в двухконсольной насадке

Стойка низовой опоры высотой Нст с жесткой заделкой по концам /рис, 39, а/ рассчитывается на сжатие с продольным изгибом под действием продольной силы Арасч

Рис. 39. К расчету стойки низовой опоры:

а - расчетная схема; б - фасад опоры при наличии закладных плит; в - фасад опоры при наличии парапета или перил;

1 - закладные, плиты; 2 - парапет или перила

Кроме того, стойка должна быть рассчитана на внецентренное сжатие под действием продольной силы Арасч и боковой ветровой нагрузки интенсивность W /2- я комбинация нагрузок/; при этом давление на стойку Арасч определяется не при движении лавины, а при максимально возможном накоплении снежного покрова на амортизирующей отсыпке, вызванного завалом лавинного снега.

Для второй комбинации нагрузок

где l - пролет перекрытия, С - расстояние между осями блоков перекрытия, величины q0, q1, q2, Hc и γс и их коэффициенты перегрузки имеют прежние значения /см. § 6 - 9/.

Интенсивность ветровой нагрузки в тс/м

W = KW0l1,

где W0 = 0,18 тс/м2 - нормативная горизонтальная поперечная ветровая нагрузка на расчетную поверхность в соответствии с СН 200-62;

К - коэффициент сплошности, равный 1 при наличии закладных плит /см. рис. 39, б/ и 0,4 - при наличии парапета или перил /см. рис. 39, б и [10]/.

Рассчитывается участок фундамента низовой опоры диной l1, равной расстоянию между осями стоек.

Рис. 40. Действующие нагрузки

Действующие нормативные нагрузки в т, учитываемые при расчете сечения II-II по подошве фундамента опоры /рис. 40/:

а/ Р1 - вес насадки длиной l1;

б/ Р2 - вес стойки и закладных досок длиной l1 /или парапета перил/;

в/ Р3 - вес фундамента;

г/ -нормативное опорное давление на стойку при движении лавины, где опорное нормативное давление перекрытия  подсчитывается так же, как и при вычислений  /см. § 6/, но без учета коэффициентов перегрузки;

д/ 0,5Tcosαот - 50 % полной горизонтальной составляющей силы трения Т /см. § 6/, условно передаваемое на низовую опору при установке на ней подвижных опорных частей скользящего типа, независимо от передачи на верховую опору с неподвижными опорными частями 100 % силы Tcosαот;

е/ Р4 - вес грунта не обрезах фундамента;

ж/ Еп и Vп - горизонтальная и вертикальная составляющие учитываемой расчетом части пассивного бокового давления грунта на низовую вертикальную грань фундамента высотой Н1 низовой опоры, определяемые по формулам:

где величины δ, φ, γ и λп имеют прежние значения /см. § 7/; сила Еп приложена выше подошвы фундамента /см. рис. 40/ на расстоянии Zп , равном

з/ Е2 и V2 - горизонтальная и вертикальная составляющие активного бокового давления на вертикальную грань фундамента высотой Н1, определяемые по формулам:

где имеют прежние значения, а коэффициент активного бокового давления грунта λа определяется выражением

при

λa = 0,446 . . . . . . . . при

φ = 20°;

λa = 0,367 . . . . . . . . при

φ = 25°;

λa = 0,301 . . . . . . . . при

φ = 30°;

λa = 0,246 . . . . . . . . при

φ = 35°;

λa = 0,200 . . . . . . . . при

φ = 40°.

Сила Е2 приложена выше подошвы фундамента /см. рис. 40/ на расстоянии Z2 .равном

Сила Е2 определяется по приведенной формуле если в пределах основной призмы обрушения отсутствует временная вертикальная подвижная нагрузка, например НК-80, т.е. при соблюдении условий Т + 0,25 + П > L0 + K1, , где Т, П и К -соответственно ширина тротуара, предохранительной полосы и обреза фундамента /см. рис. 40/.

В противном случае /Т + 0,25 + П < L0 + K1/горизонтальная составляющая активного бокового давления грунта E2 определяется с учетом нахождения, на призме обрушения колес временной нагрузки в соответствии с ТУ ВСН 167-70 Минтрансстроя СССР 8

Коэффициенты перегрузок и расчетные проверки в сечении II-II по подошве фундамента, низовой опоры те же, что и для верховой /см. § 7/.

Приложение

Перевод некоторых единиц измерения системы МКГСС (технической) в единицы системы СИ

Наименование величины

Прежнее обозначение единицы измерения

Обозначение единицы в системе СИ

Основная единица в системе СИ

Кратная единица в СИ

Соотношение единиц

Сила, нагрузка, вес

тс

Н

ньютон

кН

1тс=9,81·103Н = 9,81кН

1кН = 103Н

Линейная нагрузка

тс/м

Н/м

ньютон на метр

кН/м

1тс/м = 9,81кН/м

Поверхностная нагрузка

тс/м2

Н/м2

ньютон на квадратный метр

КН/м2

1тс/м2 = 9,81кН/м2

Момент силы

тс·м

Н·м

ньютон-метр

кН·м

1тс·м=9,81кН м

Давление, напряжение, модуль деформации, модуль упругости

тс/м2

Па

паскаль

кПа

1тс/м2 = 9,81кПа

1Па = 1Н/м2

1кПа = 1кН/м2

Примечание: В таблице приведены только единицы, встречающиеся в данной книге. В ней не указаны те единицы, которые при переводе в систему СИ остаются без изменения. Наравне с единицами СИ используются следующие: для измерения массы - тонна (т), 1т = 1000 кг; для измерения объемной массы - т/м3; для измерения времени - секунда (с), для измерения скорости - м/с, для измерения ускорения - м/с2 , для измерения плоского угла - градус(°)

Список литературы

1. Руководство по снеголавинным работам. Л. Гидрометеоиздат, 1965, 388 с.

2. Указания по расчету снеголавинных нагрузок при проектировании сооружений (ВСН 02-73, Главгидрометслужба), М., Гидрометеоиздат, 1973, 20 с.

3. Лавиноопасные районы Советского Союза. М. Издательство МГУ, 1970, 200 с.

4. Каталог "Распространение и режим лавин на территории СССР". М., Гидрометеоиздат, 1970, 234 с.

5. Физика снега и снежные лавины. Л., Гидрометеоиздат, 1967, 206 с.

6. Физика снега и снежные лавины. Л., Гидрометеоиздат, 1969, 188 с.

7. Бабков В.Ф. и др. Проектирование автомобильных дорог, часть II. М. Издательство "Транспорт", 1970, 315 с.

8. Толмачев К.Х. Специальные сооружения на горных дорогах. М., Автотрансиздат, 1963, 285 с.

9. Технические решения конструкций защитных сооружений на автомобильных дорогах в горной местности. Тбилиси, изд. Союздорпроекта, 1973, 60 с.

10. Методические рекомендации по проектированию противообвальных и противолавинных галерей и эстакад для пропуска скальных обвалов в районах северной строительно-климатической зоны. М. ВДИИС Минтрансстроя, 1972, 42 с.

11. Коновалов С.В. и Орешкин Б.М. Организация и технология строительства дорог в сложных природных условиях. М., "Высшая школа", 1968.

12. Кулиджанов В.Х. Графики для определения максимальной высоты снежного покрова в горных районах Южного склона Главного Кавказского хребта на территории Грузинской ССР. Тбилиси. Изд. Тбилгипроавтодортранса, 1976, 90 с.

13. Технические указания по проектированию подпорных стен для транспортного строительства (ВСН 167-70, Минтрансстрой) . М. Оргтрансстрой, 1970, 36 с.

14. Технические условия проектирования железнодорожных, автодорожных и городских мостов и труб (СН 200-62, Госстрой СССР). М. Трансжелдориздат, 1962, 328 с.

15. Указания по проектированию железобетонных и бетонных конструкций железнодорожных, автодорожных и городских мостов и труб (СН 365-67, Госстрой СССР). М. Стройиздат, 1967, 145 с.

 




ГОСТЫ, СТРОИТЕЛЬНЫЕ и ТЕХНИЧЕСКИЕ НОРМАТИВЫ.
Некоммерческая онлайн система, содержащая все Российские Госты, национальные Стандарты и нормативы.
В Системе содержится более 150000 файлов нормативно-технической документации, действующей на территории РФ.
Система предназначена для широкого круга инженерно-технических специалистов.

Рейтинг@Mail.ru Яндекс цитирования

Copyright © www.gostrf.com, 2008 - 2026