Крупнейшая бесплатная информационно-справочная система онлайн доступа к полному собранию технических нормативно-правовых актов РФ. Огромная база технических нормативов (более 150 тысяч документов) и полное собрание национальных стандартов, аутентичное официальной базе Госстандарта. GOSTRF.com - это более 1 Терабайта бесплатной технической информации для всех пользователей интернета. Все электронные копии представленных здесь документов могут распространяться без каких-либо ограничений. Поощряется распространение информации с этого сайта на любых других ресурсах. Каждый человек имеет право на неограниченный доступ к этим документам! Каждый человек имеет право на знание требований, изложенных в данных нормативно-правовых актах!

  


 

ТИПОВЫЕ ТЕХНОЛОГИЧЕСКИЕ КАРТЫ НА ПРОИЗВОДСТВО ОТДЕЛЬНЫХ ВИДОВ РАБОТ

ТИПОВАЯ ТЕХНОЛОГИЧЕСКАЯ КАРТА

НА БЕТОННЫЕ И ЖЕЛЕЗОБЕТОННЫЕ РАБОТЫ (МОНОЛИТНЫЙ ЖЕЛЕЗОБЕТОН)

ВОЗВЕДЕНИЕ НАРУЖНЫХ И ВНУТРЕННИХ СТЕН ТИПОВОГО ЭТАЖА ЖИЛОГО МОНОЛИТНОГО ДОМА В БЛОЧНОЙ ОПАЛУБКЕ ЦНИИОМТП

МОСКВА-1990

СОДЕРЖАНИЕ

I. МОНТАЖ И ДЕМОНТАЖ ОПАЛУБКИ БЛОЧНОЙ И КРУПНОЩИТОВОЙ ДЛЯ ВОЗВЕДЕНИЯ СТЕН ЖИЛЫХ ДОМОВ С НАРУЖНЫМИ И ВНУТРЕННИМИ СТЕНАМИ ИЗ МОНОЛИТНОГО БЕТОНА

1. ОБЛАСТЬ ПРИМЕНЕНИЯ

2. ОРГАНИЗАЦИЯ И ТЕХНОЛОГИЯ ВЫПОЛНЕНИЯ РАБОТ

3. ТРЕБОВАНИЯ К КАЧЕСТВУ И ПРИЕМКЕ РАБОТ

4. КАЛЬКУЛЯЦИЯ ЗАТРАТ ТРУДА, МАШИННОГО ВРЕМЕНИ И ЗАРАБОТНОЙ ПЛАТЫ

5. ГРАФИК ПРОИЗВОДСТВА РАБОТ

6. МАТЕРИАЛЬНО-ТЕХНИЧЕСКИЕ РЕСУРСЫ

7. ТЕХНИКА БЕЗОПАСНОСТИ

8. ТЕХНИКО-ЭКОНОМИЧЕСКИЕ ПОКАЗАТЕЛИ

II. ПРЕДВАРИТЕЛЬНАЯ СБОРКА ЗАМКНУТОЙ СЕКЦИИ БЛОЧНОЙ ОПАЛУБКИ (РЧ 992-2.10.000-03)

1. ОБЛАСТЬ ПРИМЕНЕНИЯ

2. ОРГАНИЗАЦИЯ И ТЕХНОЛОГИЯ ВЫПОЛНЕНИЯ РАБОТ

3. ТРЕБОВАНИЯ К КАЧЕСТВУ И ПРИЕМКЕ РАБОТ

4. КАЛЬКУЛЯЦИЯ ЗАТРАТ ТРУДА, МАШИННОГО ВРЕМЕНИ И ЗАРАБОТНОЙ ПЛАТЫ

5. ГРАФИК ПРОИЗВОДСТВА РАБОТ

6. МАТЕРИАЛЬНО-ТЕХНИЧЕСКИЕ РЕСУРСЫ

7. ТЕХНИКА БЕЗОПАСНОСТИ

8. ТЕХНИКО-ЭКОНОМИЧЕСКИЕ ПОКАЗАТЕЛИ

III. АРМИРОВАНИЕ НАРУЖНЫХ И ВНУТРЕННИХ СТЕН ТИПОВОГО ЭТАЖА

1. ОБЛАСТЬ ПРИМЕНЕНИЯ

2. ОРГАНИЗАЦИЯ И ТЕХНОЛОГИЯ ВЫПОЛНЕНИЯ РАБОТ

3. ТРЕБОВАНИЯ К КАЧЕСТВУ И ПРИЕМКЕ РАБОТ

4. КАЛЬКУЛЯЦИЯ ЗАТРАТ ТРУДА, МАШИННОГО ВРЕМЕНИ И ЗАРАБОТНОЙ ПЛАТЫ

5. ГРАФИК ПРОИЗВОДСТВА РАБОТ

6. МАТЕРИАЛЬНО-ТЕХНИЧЕСКИЕ РЕСУРСЫ

7. ТЕХНИКА БЕЗОПАСНОСТИ

8. ТЕХНИКО-ЭКОНОМИЧЕСКИЕ ПОКАЗАТЕЛИ

IV. БЕТОНИРОВАНИЕ НАРУЖНЫХ И ВНУТРЕННИХ СТЕН ТИПОВОГО ЭТАЖА

1. ОБЛАСТЬ ПРИМЕНЕНИЯ

2. ОРГАНИЗАЦИЯ И ТЕХНОЛОГИЯ ВЫПОЛНЕНИЯ РАБОТ

3. ТРЕБОВАНИЯ К КАЧЕСТВУ И ПРИЕМКЕ РАБОТ

4. КАЛЬКУЛЯЦИЯ ЗАТРАТ ТРУДА, МАШИННОГО ВРЕМЕНИ И ЗАРАБОТНОЙ ПЛАТЫ

5. ГРАФИК ПРОИЗВОДСТВА РАБОТ

6. МАТЕРИАЛЬНО-ТЕХНИЧЕСКИЕ РЕСУРСЫ

7. ТЕХНИКА БЕЗОПАСНОСТИ

8. ТЕХНИКО-ЭКОНОМИЧЕСКИЕ ПОКАЗАТЕЛИ 

I. МОНТАЖ И ДЕМОНТАЖ ОПАЛУБКИ БЛОЧНОЙ И КРУПНОЩИТОВОЙ ДЛЯ ВОЗВЕДЕНИЯ СТЕН ЖИЛЫХ ДОМОВ С НАРУЖНЫМИ И ВНУТРЕННИМИ СТЕНАМИ ИЗ МОНОЛИТНОГО БЕТОНА

1. ОБЛАСТЬ ПРИМЕНЕНИЯ

Технологическая карта предусматривает монтаж и демонтаж блочной опалубки (РЧ 992-2.00.000) и крупнощитовой опалубки (РЧ 625А-2.00.000), разработанной ЦНИИОМТП Госстроя СССР.

За основу разработка технологической карты принят проект 16-этажного экспериментального жилого дома в г. Вильнюсе. Объем работ принят из расчета на типовой этаж: высота этажа 2,88 м; толщина внутренних стен 24 см, наружных стен - 36 см; перекрытия сборные толщиной 22 см.

В технологической карте рассматривается монтаж и демонтаж блоков опалубки, щитов опалубки наружных и внутренних стен (возможен вариант сборки укрупненных панелей), угловых щитов, щитов-компенсаторов и проемообразователей (разработка ЭПСО "Монолит" Минстроя ЛитССР).

Площадь опалубливаемой поверхности - 1246 м2.

Объем бетона - 203 м3.

Работа ведутся в летний период в одну смену.

При привязке технологической карты к конкретному объекту и условиям строительства уточняется состав и объемы работ, калькуляция затрат труда, средства механизации, потребность в материально-технических ресурсах, графическая схема организации строительства.

2. ОРГАНИЗАЦИЯ И ТЕХНОЛОГИЯ ВЫПОЛНЕНИЯ РАБОТ

До начала работ по монтажу опалубки должны бить выполнены организационно-подготовительные мероприятия в соответствии со СНиП 3.01.01-85 "Организация строительного производства".

В том числе необходимо:

возвести основание (плиту перекрытия) и сдать его по акту;

выполнить армирование стен и сдать арматуру по акту;

проверить комплектность и техническое состояние элементов опалубки, приспособлений и инструментов, наличие необходимых материалов для устройства настила.

Подача элементов опалубки в рабочую зону производится краном. Блоки опалубки подают в собранном состоянии, щиты опалубки - поштучно, а при варианте сборки укрупненными панелями - в собранном состоянии. Детали и мелкие сборочные единицы подают в ларях для закладных деталей.

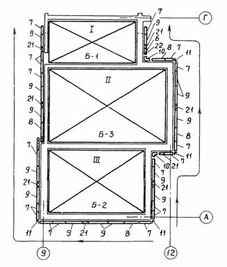
Схема организации строительной площадки (с площадками складирования и местом установки монтажного крана) показана на рис. 1.

Собранные на монтажной площадке блоки и панели опалубки складируются в зоне действия монтажного крана в постоянном месте.

Максимальные размеры блока 7,2 × 5,4 м в осях стен. Максимальная длина отдельной укрупненной панели 6,48 м. Монтаж элементов опалубки выполняется башенным краном КБ-503.

Техническая характеристика монтажного крана

Марка                                                                   КБ-503

Грузоподъемность, т:

максимальная                                                      10

минимальная                                                       7,5

Вылет стрелы, м:

максимальный                                                    35

минимальный                                                     7,5

Высота подъема крюка, м:

максимальная                                                      67

минимальная                                                       53

Строповка элементов опалубки производится четырехветвевым стропом 4CK-10.

Для поточного производства работ по монтажу опалубки каждый этаж здания в плане разбит на пять захваток (рис. 2).

Необходимый комплект опалубки обеспечивает одновременную работу на I, II и III (лифтовая шахта и лестничная клетка) захватках (рис. 3).

Опалубка с I-й захватки переставляется на IV-ю захватку, а со II-й - на V-ю захватку (рис. 4).

Опалубка с III-й захватки (лифтовая шахта и лестничная клетка) опускается на площадку складирования и монтируется на следующем этаже. Рабочие швы между захватками устраиваются с помощью сетки "Рабица", привязываемой к арматуре вязальной проволокой.

Комплект опалубки состоит из блоков опалубки, щитов крупнощитовой опалубки (или смонтированных укрупненных панелей), щитов доборных, щитов-компенсаторов, крепежных и соединительных деталей.

Схема блока опалубки показана на рис. 5, 6, 7, 8.

По контуру блока устраивается настил с ограждением. Блок фиксируется в проектном положении в плане эксцентриковыми зажимами и по высоте регулируется при помощи домкратов. Щиты крупнощитовой опалубки (или укрупненные панели) наружных стен, устанавливаются на подмости, навешиваемые на балки, которые крепятся на пальцы, устанавливаемые в отверстия из-под стяжек.

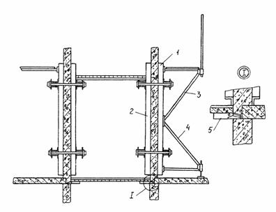
Щиты (укрупненные панели) раскрепляются с блочной опалубкой при помощи стяжек и струбцин (рис. 9, 10).

Соединение монтажных уголков, угловых щитов и панелей наружной опалубки производится между собой при помощи замков.

Последовательность монтажа элементов опалубки по захваткам и разрезы даны на рис. 11, 12, 13, 14 и 15.

Сначала устанавливаются блоки опалубки, затем монтируются щиты (укрупненные панели) наружной опалубки на предварительно навешенные подмости. Последовательность монтажа элементов опалубки на III захватке (лифтовая шахта и лестничная клетка) дана на рис. 16.

Сначала монтируются блоки опалубки лифтовой шахты и лестничной клетки, а затем наружные щиты (укрупненные панели) опалубки в указанной последовательности.

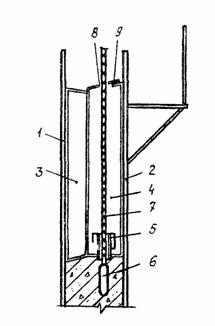
Блок опалубки лифтовой шахты устанавливается на опорное днище, которое при помощи четырех опор, шарнирно прикрепленных к днищу, опирается на участки стен. По опорам выставляются деревянные короба, позволяющие после бетонирования произвести их выемку.

Опорное днище поднимается на следующий этаж, при этом опоры выходят из гнезда-короба, что позволяет поднимать днище до нужной отметки (рис.17, 18).

Блок опалубки лестничной клетки одной стороной опирается на две металлические подставки, устанавливаемые на промежуточной лестничной площадке (рис. 19).

Проемообразователи для оконных проемов крепятся к наружным щитам (укрупненным панелям) опалубки заранее и вместе с ними монтируются. До крепления проемообразователей к щитам (укрупненными панелями) необходимо произвести разбивку места их установки по проекту. Проемообразователи для внутренних дверных проемов устанавливаются после монтажа блока опалубки до монтажа смежного блока.

Монтаж и демонтаж блочной опалубки выполняется в соответствии с техническим описанием и инструкцией по эксплуатации 992-2.00.000Т0, а крупнощитовой опалубки - в соответствии с 625А-2.00.000Т0.

Монтаж блочной опалубки производится в следующем порядке:

палуба блока смазывается с помощью краскопульта;

блок стропуется за монтажные петли верхних эксцентриковых зажимов и при помощи крана устанавливается на рабочее место;

производится выверка установки блока и при необходимости его регулировка эксцентриковыми зажимами и домкратами с раскреплением его с соседними блоками или панелями опалубки при помощи стяжек (см. рис.9, узел 1).

 


Рис. 11. Монтажная схема наружной опалубки на I захватке

→ направление монтажа наружной опалубки

Рис. 12. Монтажная схема наружной опалубки на II захватке

Позиции элементов даны в табл. 5

 

 

Рис. 13. Монтажная схема наружной опалубки на IV захватке

→ направление монтажа наружной опалубки

Рис. 14. Монтажная схема наружной опалубки на V захватке

 

 

Позиции элементов даны в табл. 5

 

 

Рис. 15. Монтажная схема наружной опалубки на III захватке

→ направление монтажа наружной опалубки

Рис. 16. Сечение В-В:

1 - блочная опалубка

2 - опалубка крупнощитовая

3 - кронштейн

 

Позиции элементов даны в табл. 5

Узел 1 на стр. 9

Рис. 17. опалубка лифтовой шахт:

1 - щит наружный; 2 - блок лестничной шахты; 3 - подкос; 4 - кронштейн; 5 - опора

Рис. 18. Схема монтажа опорного днища:

1 - опорное днище; 2 - опора; 3 - четырехветвевой строп; 4 - крюк монтажного крана

 

Рис. 19. Опалубка лестничной площадки:

1 - опалубка блочная (БДК); 2 - опалубка крупнощитовая (щит наружный); 3 - подставка

Рис. 20. Монтажная схема навесных подмостей

 


Демонтаж блочной опалубки производится в следующем порядке:

отвертываются и вынимаются стяжки;

ослабляются гайки натяжных крюков угловых вставок;

поворотом гаек натяжных крюков производится отрыв угловых вставок и подтягивание их к щитам;

блок стропится за монтажные петли верхних зажимов и с помощью крана переносится либо на следующую захватку, либо на площадку складирования;

перед установкой блока в проектное положение на новую захватку щиты и угловые вставки очищают от налипшего бетона и покрывают смазкой.

До монтажа щитов (укрупненных панелей) опалубки наружных стен производится навеска подмостей. Подмости навешиваются на балку, которая крепится болтами, устанавливаемыми в отверстия от стяжек в наружных стенах предыдущего этажа (см. рис. 10, узел III).

Схема установки подмостей по захваткам дана на рис. 20.

Монтаж щитов (укрупненных панелей) опалубки наружных стен производится в следующем порядке:

падуба щита (панели) смазывается с помощью краскопульта;

щит (панель) стропят и устанавливают на рабочее место (подмости);

раскрепляют щиты (панели) опалубки наружных стен с блоками опалубки при помощи стяжек;

регулируется вертикальность установки щитов (панелей) при помощи подкосов;

наружные углы опалубки формируются путем соединения взаимно;

перпендикулярных щитов (панелей) через монтажные уголки;

внутренние углы опалубки формируются путем соединения взаимно перпендикулярных щитов (панелей) через щиты угловые;

по верху щиты (панели) опалубки соединяются с блочной опалубкой при помощи струбцин.

Опалубка лифтовой шахты формируется в блок из типовых элементов крупнощитовой опалубки и устанавливается на опорное днище лифтовой шахты.

Опалубка лестничной клетки формируется из типовых элементов блочной опалубки с опиранием с одной стороны на лестничную площадку, с другой стороны - на подставки.

Работы по монтажу и демонтажу опалубки выполняются звеном из 5 человек:

монтажник IV разряда - 1;

монтажник III разряда - 2;

монтажник-такелажник III разряда - 1;

плотник III разряда - 1.

3. ТРЕБОВАНИЯ К КАЧЕСТВУ И ПРИЕМКЕ РАБОТ

Операционный контроль качества работ по монтажу и демонтажу опалубки выполняется в соответствии с требованиями главы 7 СНиП 3.01.01-85 "Организация строительного производства" и приводится в табл. 1.

Отклонения в размерах и положении элементов опалубки не должны превышать допусков, указанных в СНиП 3.03.01-87 "Несущие и ограждающие конструкции".

 


Таблица 1

Операции, подлежащие контролю

Предмет контроля

Инструмент и способ контроля

Время контроля

Привлекаемые службы

производителем работ

мастером

 

Подготовительные работы

Качество основания (под стены)

Визуально

До установки опалубки

 

То же

Соответствие проекту и качество щитов опалубки и крепления (геометрические размеры всех элементов)

Визуально, складной метр

То же

-"-

Правильность складирования и хранения

Визуально

-"-

Установка опалубки

 

Соответствие положения опалубки установочным осям

Теодолит, отвес, стальная рулетка

В ходе установки опалубки

Геодезическая служба

Установка опалубки

Соблюдение проектных отметок и размеров, горизонтальность и вертикальность

То же, нивелир

То же

То же

Качество установки опалубки

Визуально

-"-

-"-

Качество смазки поверхности опалубки

Визуально, 2-метровая рейка

-"-

Демонтаж опалубки

 

Соблюдение сроков распалубливания

Анализ лабораторных данных (в зависимости от температуры воздуха)

До начала демонтажа

Лаборатория

То же

 

Состояние опалубки после демонтажа и наличие внешних дефектов

Визуально

После демонтажа

 

Демонтаж опалубки

Соответствие технологии демонтажа ППР

То же

В процессе демонтажа

То же

Правильность складирования и хранения элементов и конструкции опалубки

-"-

После демонтажа

-"-

Очистка опалубки от бетона и грязи

-"-

То же

4. КАЛЬКУЛЯЦИЯ ЗАТРАТ ТРУДА, МАШИННОГО ВРЕМЕНИ И ЗАРАБОТНОЙ ПЛАТЫ

Таблица 2

Наименование работ

Обоснование (ЕНиР)

Единица измерения

Объем работ

Норма времени на единицу измерения, чел.-ч

(маш.-ч)

Трудоемкость на весь объем работ, чел.-см.

(маш.-см.)

Расценка на единицу измерения, руб.-коп.

Стоимость затрат труда, руб.-коп

Подготовительные работы

Предварительная сборка замкнутых секций блочной опалубки на этаж

M16-TK-1 (технологическая карта № 1)

м2

420

0,87

44,56

0-46,4

194-88

Работа крана

 

 

 

(0,018)

(0,922)

(0-09,9)

(41-58)

Сортировка и подача элементов наружной опалубки к месту складирования при помощи крана

ЕНиР, § Е5-1-1, п. 1

т

46,5

0,65

3,69

0-48,4

22-51

Работа крана

п. 2

 

 

(0,32)

(1,81)

(0-33,9)

(15-76)

ИТОГО:

 

 

48,25

 

217-39

работа крана

 

 

(2,73)

 

(57-34)

Монтаж опалубки

Устройство настила на наружных щитах

EHиP, § E6-52, п. 3

1 м2

165

0,06

1,21

0-04

6-60

Подъем элементов опалубки краном (приведенная высота подъема 24 м)

массой до 1 т

ЕНиР, § Е1-7, п. 28,б, г

100 т

0,31

17,8

0,67

11-40

3-53

массой до 5 т

п. 32, б, г

100 т

0,45

5,08

0,28

3-25

1-46

Работа крана по подъему элементов опалубки

массой: 1 т

п. 28, а, в

100 т

0,31

(8,8)

(0,33)

(8-00)

(2-48)

5 т

п. 32, а, в

100 т

0,45

(2,54)

(0,14)

2-31,2

(1-04)

Монтаж элементов наружной и внутренней опалубки на этаж

ЕНиР, § Е4-1-37, табл. 4, п.1; к = 1,1

м2

1246

0,308

46,8

0-22,4

279-10

Монтаж проемообразователей

ЕНиР, § Е4-2-65, табл. 2, п.6, к = 1,1 (применит.)

шт.

66

0,92

7,4

0-66,1

43-63

Работа крана

 

 

 

(0,462)

(3,72)

(0-48,95)

(32-30)

Смазка поверхности опалубки эмульсолом

ЕНиР, § Е8-1-15, табл. 12, п. 3а (прим.)

100 м2

12,46

5,3

8,05

3-71

46-23

Смазка поверхности лроемообразователей

То же

100 м2

0,564

5,3

0,36

3-71

2-09

Устройства рабочего шва из сетки "Рабица"

ЕНиР, § Е8-1-1, табл. 3, п. 3а

м2

6,3

0,18

0,14

0-11,5

0-72

ИТОГО:

 

 

64,91

 

383-36

работа крана

 

 

(4,19)

 

(35-82)

Демонтаж опалубки

Демонтаж блочной и наружной щитовой опалубки

ЕНиР, § Е4-1-37, табл. 4, п. 1, к = 1,1.

м2

1246

0,12

18,23

0-08

99-68

Демонтаж проемообразователей

ЕНиР, § Е4-2-65, табл. 2, п. 6в

шт.

66

1,4

1127

0-94,4

62-30

Работа крана

п. 6г, к = 1,1

 

 

(0,7)

(5,63)

(0-74,6)

(49-24)

Очистка поверхности опалубки и проемообразователей от бетона

ЕНиР, § Е8-1-15, табл. 12, п. 1а

100 м2

13,024

3,6

5,72

2-30

29-96

Разборка настила наружных стен

ЕНиР, § Е6-52, табл. 2, л.3; к = 0,5

1 м2

165

0,03

0,6

0-02

3-30

Работа крана

 

100 т

 

 

(0,47)

 

(3-52)

ИТОГО:

 

0,76

 

(6,1)

 

195-24

(52-76)

ВСЕГО:

 

 

 

148,38

(13,02)

 

795-99

(145-92)

5. ГРАФИК ПРОИЗВОДСТВА РАБОТ

Таблица 3

 


6. МАТЕРИАЛЬНО-ТЕХНИЧЕСКИЕ РЕСУРСЫ

Потребность в инструменте, инвентаре и приспособлениях приведена в табл. 4.

Таблица 4

Наименование

Марка, техническая характеристика, ГОСТ, № чертежа

Кол-во, шт.

Назначение

1

2

3

4

ОБОРУДОВАНИЕ

Электрокраскопульт

СО-22

1

Смазка опалубки

ИНСТРУМЕНТ

Пистолет-распылитель

СО-24А

1

То же

Пила-ножовка поперечная по дереву

ГОСТ 11094-86

1

Изготовление доборов, настила

Клещи

ГОСТ 14184-83

2

То же

Молоток плотничный

МПЛ, ГОСТ 11042-83

2

-"-

Лом-гвоздодер

ЛГ-20, ГОСТ 1405-83

2

-"-

Ключи гаечные разводные

ГОСТ 3108-71*

4

Монтаж и демонтаж опалубки

Щетка металлическая

ТУ 494-01-04-76

2

Очистка опалубки

Кувалда массой 3 кг

ГОСТ 11402-75*

1

Сборка опалубки

ИНВЕНТАРЬ

Каска строительная

ГОСТ 12.4.087-84

5

Для рабочих

ПРИСПОСОБЛЕНИЯ

Строп четырехветвевой

4CK-10, ТУ 400-28-231-77

1

Погрузоразгрузочные работы, монтаж и демонтаж опалубки

Строп кольцевой

УСК-1.0-1/400, РЧ 4985-80ВС тр. "Мосоргстрой"

2

То же

Ларь для закладных деталей

ТУ 400-28-234-77, тр. "Мосоргстрой"

2

Складирование мелких деталей и сборочных единиц

КОНТРОЛЬНО-ИЗМЕРИТЕЛЬНЫЙ ИНСТРУМЕНТ

Уровень строительный

УС1-30, ГОСТ 9416-83

2

Контроль горизонтальности установки опалубки

Рулетка металлическая

РС-20, ГОСТ 7502-80

1

Разметка сооружения

Метр складной металлический

-

2

Обмер опалубки

Отвес строительный

ОТ-400, ГОСТ 7948-80

2

Контроль вертикальности установки опалубки

Шнур разметочный

ТУ 22-5076-811

1

Разметка сооружения

Нивелир

НСМ-2, ГОСТ 10528-76

1

Геодезические работы

Потребность в материалах, полуфабрикатах и конструкциях приведена в табл. 5.

Таблица 5

№ п/п

Наименование материала, полуфабриката, конструкции

Марка, техническая характеристика, ГОСТ, № чертежа

Кол-во, шт.

Масса всех элементов, кг

1

2

3

4

5

Элементы опалубки

1

Блок опалубки № 1

992-2.10.000-03

41

15892

2

Блок опалубки № 2

992-2.10.000-18

2

9818

3

Блок опалубки № 3

992-2.10.000-27

2

11478-

4

Блок лифтовой шахты БЛШ

см. стр. 10

1

3070

5

Блок лестничкой клетки БЛК

992-2.10.000-06

1

4426

6

Щит ЩМ-2,5×0,3

625A-2.00.300

4

302,4

7

Щит ЩМ-2,5×0,6

625А-2.00.400

54

6269,4

8

Щит ЩМ-2,5×0,9

625А-2.00.500

12

1867,2

9

Щит ЩМ-2,5×1,2

625А-2.00.600

40

7784

10

Щит угловой

625A-2.01.500

17

1948,2

11

Уголок монтажный УМ-2,4×0,12

625А-2.01.800-01

14

266

12

Щит доборный ВД-0,3×0,46

625А-2.02.600-08

4

61,2

13

Щит доборный ЩЦ-0,6×0,46

625А-2.02.600-08

34

7944

14

Щит доборный ЩЦ-0,9×0,46

625А-2.02.800-03

6

224,6

15

Щит доборный ЩЦ-1,2×0;46

625А-2.02.900-03

22

970

16

Щит угловой доборный ВД 0,3×0,16

625A-2.05.100

14

163,8

17

Щит угловой доборный ЩУД 0,3×0,26

625А-2.05.100-03

2

28,8

18

Щит угловой доборный ЩУД 0,3×0,46

625А-2.05.200-03

14

299,6

19

Уголок монтажный УМ-0,46×0,12

625A-2.05.700

14

19,88

20

Уголок монтажный УМ-0,46×0,12

625А-2.05.800-03

14

45,47

21

Щит-компенсатор ЩК-3,06

625А-2.06.700

20

840

22

Щит-компенсатор ЩК-2,56

625А-2.06.700-02

24

710

23

Вставка, L - 2880 мм

992-2.11.001

5

169

24

Вставка, L = 3480 мм

992-2.11.001.01

-

-

25

Вставка, L = 4080 мм

992-2 11.001-02

2

93,8

26

Вставка, L = 4680 мм

992-2.11.001-03

2

110

27

Вставка, L = 6480 мм

992-2.11.001-06

2

152,6

28

Балка, L = 1660 мм

625A-2.02.100

112

1952

29

Подмости

625A-2.12.000

10

5300

30

Подмости

625А-2.12.000-01

20

8960

31

Проемообразователь

ПДВ 22-9

8

1088

32

То же

ПОВ 12-12

8

920

33

-"-

ПДН 22-9

8

744

34

-"-

ПОН 12-12

8

560

35

-"-

ПОВ 15-15

3

417

36

-"-

ПОН 15-15

3

279

37

Стяжка (Lст = 360 мм)

625A-2.02.012

215

322,7

38

Стяжка (Lст = 220 мм)

625А-2.02.012-01

207

600,3

39

Кронштейн

625А-2.06.800

63

1008

40

Домкрат

625A-2.06.300

63

214,2

41

Стержень

625A-2.00.001

699

349,5

42

Втулка

625А-2.00.003

699

139,8

43

Клин

625А-2.00.004

699

111,84

44

Гайка

625А-2.00.005

422

50,64

45

Доска-2 (сосна) 40×100 мм

ГОСТ 8486-86*Е

19,3 м3

 

45

Сетка "Рабица" Р № 20-1,6

ГОСТ 5336-80

6,3 м2

12,35

 


Потребность в элементах опалубки и материалах по захваткам бетонирования приведена в табл. 6.

Таблица 6

Поз.

Наименование

Обозначение

Ед. изм.

Потребное количество по захваткам:

Примечание

I

II

Ш

IV

V

max

1

2

3

4

5

6

7

8

9

10

11

1

Блок опалубки № 1 (секция замкнутая;

992-2.10.000-03

шт.

2

2

-

1

1

4

3973 кг

2

Блок опалубки № 2 (секция замкнутая;

992-2.10.000-18

шт.

1

1

-

1

1

2

4909 кг

3

Блок опалубки № 3 (секция замкнутая)

992-2.10.000-27

шт.

1

1

-

1

1

2

5739 кг

4

Блок лифтовой шахты (БЛШ)

 

шт.

-

-

1

-

-

1

Размер в осях 2880 мм,

2100×4800 мм (3070 кг)

5

Блок лестничной клетки (БЛК)

992-2.10.000-06

шт.

-

-

1

-

-

1

Размер в осях 3600×720 мм (7084 кг)

6

Щит ЩМ-2,5×0,3

625А-2.00.300

шт.

1

1

-

2

2

4

75,6 кг

7

Щит ЩМ-2,5×0,6

625А-2.00.400

шт.

25

21

8

15

15

54

116,1 кг

8

Щит ЩМ-2,5×0,9

625А-2.00.500

шт.

3

3

6

5

5

12

155,6 кг

9

Щит ЩМ-2,5×1,2

625А-2.00.600

шт.

13

13

14

15

15

40

194,6 кг

10

Щит угловой

625A-2.0I.500

шт.

5

4

8

2

2

17

114,0 кг

II

Уголок монтажный УМ-2,4×0,12

625А-2.01.800-01

шт.

4

4

6

4

4

14

300×300×2400 мм, 19,0 кг

12

Щит доборный ЩД-0,3×0,46

625А-2.02.600-03

шт.

1

1

-

2

2

4

300×460 мм, 15,3 кг

13

Щит доборный ЩД-0,6×0,46

625А-2.02.700-03

шт.

18

16

-

12

12

34

600×460 мм, 26,6 кг

14

Щит доборный ЩД-0,9×0,46

625А-2.02.800-03

шт.

3

3

-

3

3

6

900×460 мм, 37,4 кг

15

Щит доборный ЩД-1,2×0,46

625А-2.02.900-03

шт.

11

11

-

9

9

22

1200×460 мм, 48,5 кг

16

Щит угловой доборный ЩУД-0,3×0,16

625A-2.05.100

шт.

3

3

8

2

2

14

300×300×160 мм, 11,7 кг

17

Щит угловой доборный ЩУД-0,3×0,26

625А-2.05.100-03

шт.

1

1

-

-

-

2

300×300×260 мм, 14,4 кг

18

Щит угловой доборный ЩУД-0,3×0,46

625А-2.05.200-03

шт.

3

3

8

2

2

14

300×300×460 мм, 21,4 кг

19

Уголок монтажный УМ-0,16×0,12

625А-2.05.700

шт.

4

4

6

4

4

14

L = 160 мм, 1,42 кг

20

Уголок монтажный УМ-0,46×0,12

625А-2.05.800-03

шт.

4

4

6

4

4

14

L = 460 мм, 3,92 кг

21

Щит-компенсатор ЩК-3,06

625А-2.06.700

шт.

9

8

3

5

5

20

Н = 3,06 мм, 42,0 кг

22

Щит-компенсатор ЩК-2,56

625А-2.06.700-02

шт.

6

5

13

5

5

24

Н = 2,56 мм, 35,5 кг

23

Вставка, L = 2880 мм

992-2.11.001

шт.

3

2

-

1

1

5

33,8 кг

24

Вставка, L = 3480 мм

992-2.11.001-01

шт.

-

-

-

-

-

-

40,9 кг

25

Вставка, L, = 4080 мм

992-2.11.001-02

шт.

-

-

1

1

1

2

48,0 кг

26

Вставка, L = 4680 мм

992-2.11.001-03

шт.

-

-

-

1

1

2

55,0 кг

27

Вставка, L = 6480 мм

992-2.11.001-06

шт.

-

-

2

-

-

2

76,3 кг

28

Балка, L = 1660 мм

625A-2.02.100

шт.

60

52

 

40

40

112

Ставится по щитам-компенсаторам, 8,5 кг

29

Подмости

625A-2.12.000

шт.

3

3

 

5

5

10

L - 2,9 м, 530 кг

30

Подмости

625А-2.12.000-01

шт.

9

8

3

2

2

20

L = 2,0 м, 448 кг

31

Проемообразователь

ЦДВ 22-9

шт.

3

3

2

3

3

8

(Н×В = 2195×750 мм), 136 кг

32

То же

ПОВ 12-12

шт.

3

3

2

3

3

8

(Н×В = 1200×1180 мм), 115 кг

33

-"-

ПДН 22-9

шт.

3

3

2

3

3

8

(Н×В = 2110×635 мм), 93 кг

34

-"-

ПОН 12-12

шт.

3

3

2

3

3

8

(Н×В = 109×1085 мм), 70 кг

35

-"-

ПОВ 15-15

шт.

1

1

1

1

1

3

(Н×В = 1480×1500 мм), 139 кг

36

-"-

ПОН 15-15

шт.

1

1

1

1

1

3

Н = 1320 мм, В = 954 мм, 93 кг

37

Стяжка (L = 360 мм)

625A-2.02.012

шт.

100

98

17

86

86

215

2,3 кг

38

Стяжка (L = 220 мм)

625А-2.02.012-01

шт.

72

57

78

60

60

207

2,9 кг

39

Кронштейн

625А-2.06.800

шт.

22

22

19

19

4

63

16 кг

40

Домкрат

625А-2.06.300

шт.

22

22

19

19

4

63

3,4 кг

41

Стержень

625А-2.00.001

шт.

319

245

135

230

230

699

0,5 кг

42

Втулка

625А-2.00.003

шт.

319

245

135

230

230

699

0,2 кг

43

Клин

625А-2.00.004

шт.

319

245

135

230

230

699

0,16 кг

44

Гайка

625А-2.00.005

шт.

172

155

95

146

146

422

0,12 кг

45

Доска-2 (сосна) 40×100 мм

ГОСТ 8486-86

м3

7,8

7,3

4,2

5,5

5,5

19,3

15,1 м3

46

Сетка "Рабица" Р 20-1,6

ГОСТ 5336-80*

м2

4,2

2,1

-

-

-

6,3

12,35 кг


7. ТЕХНИКА БЕЗОПАСНОСТИ

При производстве работ необходимо соблюдать правила техники безопасности СНиП III-4-80 "Техника безопасности в строительстве"

8. ТЕХНИКО-ЭКОНОМИЧЕСКИЕ ПОКАЗАТЕЛИ

 

Монтаж опалубки

Демонтаж опалубки

Затраты труда на весь объем, чел.-см.

64,91

35,22

Затраты труда на 1 м2 опалубки, чел.-ч

0,43

0,23

Заработная плата рабочих (на 1 м2 опалубливаемой поверхности), руб.-коп.

0-30,8

0-15,7

Заработная плата механизаторов (на 1 м2 опалубливаемой поверхности), руб.-коп.

0-02,9

0-04,2

Выработка на одного рабочего в смену, м3

19,2

35,4

II. ПРЕДВАРИТЕЛЬНАЯ СБОРКА ЗАМКНУТОЙ СЕКЦИИ БЛОЧНОЙ ОПАЛУБКИ (РЧ 992-2.10.000-03)

1. ОБЛАСТЬ ПРИМЕНЕНИЯ

Технологическая карта разработана на предварительную сборку на монтажной площадке замкнутой секции блочной опалубки конструкции ЦНИИОМТП Госстроя СССР (проект 992-2.00.000), используемой при возведении монолитных железобетонных стен жилых домов по типу 16-этажного экспериментального жилого дома в г. Вильнюсе.

Площадь опалубливаемой поверхности блока опалубки размером в плане 3600×5400 мм, высотой 2660 мм - 48 м2.

В состав работ, предусмотренных картой, входят:

укрупнительная сборка панелей 992-2.11.000 и 992-2.11.000-03 из модульных унифицированных щитов;

сборка замкнутой секции блочной опалубки 992-2.10.000-03 из панелей и угловых вставок.

Работы ведутся в летний период в одну смену.

2. ОРГАНИЗАЦИЯ И ТЕХНОЛОГИЯ ВЫПОЛНЕНИЯ РАБОТ

До начала предварительной сборки замкнутой секции блочной опалубки необходимо выполнить следующие организационно-подготовительные мероприятия:

организовать площадку складирования элементов опалубки в зоне действия крана со складированием элементов опалубки и материалов, необходимых для технологических операций, уложенных по маркам и типоразмерам;

подготовить основание монтажной площадки;

проверить комплектность и техническое состояние элементов опалубки, приспособлений и инструментов, наличие необходимых материалов для устройства настила;

произвести разметку монтажной площадки (краской) по размерам собираемого блока в плане.

Подача элементов опалубки собираемого блока на монтажную площадку осуществляется башенным краном КБ-503 со следующими техническими характеристиками:

Грузоподъемность, т:

максимальная                                                                              10

минимальная                                                                              7,5

Вылет стрелы, м:

максимальный                                                                            35

минимальный                                                                             7,5

Высота подъема крюка, м:

максимальная                                                                             67

минимальная                                                                              53

Монтаж опалубки блочной производится в следующем порядке:

из унифицированных щитов собирают панели;

на монтажной площадке с помощью крана устанавливаются панели с опиранием на монтажные кронштейны;

с помощью домкратов выверяется вертикальность установки панелей;

на схватке несущей панели устанавливаются и закрепляются нижние и верхние кронштейны;

угловая вставка устанавливается е помощью крана и раскрепляется с помощью прижима и натяжного крюка;

аналогично устанавливаются остальные панели блока и собираются углы;

выверяется сборка блока, производится его раскрепление.

До начала сборки блока опалубки (замкнутой секции) комплект элементов опалубки раскладывается на монтажной площадке.

На монтажной площадке производится разметка габаритов монтируемого блока.

Предварительно из унифицированных щитов и щитов-компенсаторов (поз. 1÷4, рис. 1) собирают панели и с помощью крана укладывают их на подкладочные доски. Щиты укладывают палубой вниз.

Щиты при сборке в панели соединяются между собой при помощи пары "винт-гайка" (сеч. А-А, рис. 7) и объединяются при помощи схваток (поз. 5, 6, сеч. Е-Е, рис. 4 и сеч. Б-Б, рис. 7) в двух ярусах по высоте.

Схватки крепятся на щиты опалубки при помощи крюков натяжных (поз. 23, сеч. Б-Б, рис. 7).

По нижней части панели при помощи болтовых соединений крепятся вставки (поз. 28, 29, сеч. Г-Г, рис. 7) и устанавливаются по два домкрата (поз. 7, сеч. В-В, рис. 7) на каждую собираемую панель.

На каркасы щитов панели навешиваются кронштейны со стойками (поз. 16, 17, рис. 1). Кронштейны служат основанием для рабочего настила.

По концам верхних схваток панелей крепятся верхние эксцентриковые зажимы и верхние кронштейны (поз. 12, 13, 14, 15, узел 1, рис. 2).

По концам нижних схваток панелей крепятся нижние эксцентриковые зажимы и нижние кронштейны (поз. 8, 9, 10, 11, сеч. Г-Г, рис. 4).

Собранные панели, расположенные по длинной стороне блока, подаются краном к месту сборки блока и устанавливаются по разметке в проектное положение с регулировкой домкратами и фиксируются временно в вертикальном положении с помощью кронштейнов и домкратов (поз. 32, 33, рис. 8).

Панели, расположенные по короткой стороне блока, краном навешиваются на панели, расположенные по длинной стороне.

При помощи эксцентриковых зажимов производится соединение панелей в замкнутый блок (рис. 5) и регулировка его размеров.

В углах блока устанавливаются вставки 240×240 мм (поз. 21, сеч. В-В, рис. 3), раскрепляемые на панели при помощи гаек, направляющих и прижимов (поз. 19, 20, 22, сеч. В-В, рис. 3).

Производится устройство настила подмостей и ограждения из доски 40×100 мм (поз. 34, рис. 1).

Производится окончательная выверка и регулировка габаритных размеров по палубе блока и окончательное раскрепление отдельных элементов и узлов.

В состав комплекта замкнутой секции блочной опалубки входят струбцины (поз. 18, рис. 1), гайки, стяжки, накладки, втулки и шайбы (поз. 19, 24, 25, 26, узел II, рис. 2), служащие для восприятия давления от бетонной смеси.

Работы выполняет в одну смену звено из 4-х человек:

монтажники конструкций          4 разр. - 2,

3 разр. - 2.

 


Рис. 4. Сечения Г-Г, Е-Е

Рис. 5. Схема блока опалубки:

А - план расположения верхних эксцентриковых зажимов и кронштейнов;

Б - план расположения нижних эксцентриковых зажимов и кронштейнов

Спецификацию см. в табл. 4

Спецификацию см. в табл. 4

 


3. ТРЕБОВАНИЯ К КАЧЕСТВУ И ПРИЕМКЕ РАБОТ

Операционный контроль качества работ по монтажу опалубки выполняется в соответствии с требованиями главы 7 СНиП 3.01.01-85 "Организация строительного производства" и приводится в табл. 1.

Отклонения в размерах и положении элементов опалубки не должны превышать допусков, указанных в СНиП 3.03.01-87 "Несущие и ограждающие конструкции".

Таблица 1

Операции, подлежащие контролю.

Предмет контроля

Инструмент и способ контроля

Время контроля

производителем работ

мастером

 

Подготовительные работы

Соответствие комплектности элементов опалубки

Визуально

До установки опалубки

То же

Правильность сборки панелей (геометрические размеры, узлы крепления)

То же

То же

Установка опалубки

Правильность сборки панелей в блок (соединение верхних и нижних эксцентриковых зажимов, крепление угла)

-"-

В ходе установки опалубки

Сборка замкнутой секции блочной опалубки

 

Соответствие положения опалубки установочным осям

Теодолит, отвес, стальная рулетка

То же

 

Установка опалубки

Качество смазки поверхности опалубки

Визуально, двухметровая рейка

-"-


4. КАЛЬКУЛЯЦИЯ ЗАТРАТ ТРУДА, МАШИННОГО ВРЕМЕНИ И ЗАРАБОТНОЙ ПЛАТЫ

Таблица 2

Наименование работ

Обоснование

Ед. изм.

Объем работ

Норма времени на единицу измерения, чел. -ч (маш.-ч)

Затраты труда на весь объем, чел.-см.

(маш.-см.)

Расценка на единицу измерения руб. - коп.

Стоимость затрат труда на весь объем работ,

руб.-коп.

Разгрузка элементов опалубки с подачей к месту складирования при помощи крана

ЕНиР, § Е5-1-1, п. 1, 2

т

4,236

0,65

(0,32)

0,34

(0,17)

0-48,4

(0-33,9)

2-05

(1-44)

Перемещение элементов опалубки от места складирования к месту сборки при помощи крана

ЕНиР, § Е1-7, п. 28, а, б

100 т

0,04236

13,0

(6,40)

0,07

(0,03)

8-32

(5-82)

0-35

(0-25)

Соединение щитов на монтаже с установкой кронштейнов, подкосов и домкратов при помощи крана

Местная норма НИС тр. "Мослифтмонтаж" (применит.)

м2

48,33

0,24

(0,072)

1,41

(0,42)

0-13

(0-05,04)

6-28

(2-44)

Установка схваток (вручную) и раскрепление на щитах посредством крюков

То же

шт.

8

0,7

0,7

0-05,17

0-41

Установка вставок в нижние и верхние части панелей и угловых вставок

-"-

шт.

8

0,2

0,2

0-15,8

1-26

Крепеж верхних и нижних эксцентриковых зажимов, верхних и нижних кронштейнов на концах схваток (верхн. и нижн.)

-"-

шт.

8

0,021

0,02

0-05,91

0-47

Установка стяжек со специальными втулками из полиэтилена

-"-

шт.

28

0,1

0,34

0-31

8-68

Сборка панелей в замкнутый блок в вертикальном положении с помощью крана

Местная норма НИС тр. "Мослифтмонтаж" (применит.)

м2

48,33

0,24

(0,072)

1,41

(0,42)

0-13

((0-05, 04)

6-28

(2-44)

Итого:

4,49

(1,04)

 

25-78

(6-57)

5. ГРАФИК ПРОИЗВОДСТВА РАБОТ

 


6. МАТЕРИАЛЬНО-ТЕХНИЧЕСКИЕ РЕСУРСЫ

Потребность в инструменте, инвентаре и приспособлениях приведена в табл. 3.

Таблица 3

Наименование

Марка, техническая характеристика, ГОСТ, № чертежа

Кол-во, шт.

Назначение

ОБОРУДОВАНИЕ

Электрокраскопульт

СО-22

1

Смазка опалубки

ИНСТРУМЕНТ

Пистолет-распылитель

СО-24А

1

То же

Пила-ножовка поперечная по дереву

ГОСТ 11094-86

1

Изготовление доборов, настила

Клещи

ГОСТ 14184-83

2

То же

Молоток плотничный

МПЛ, ГОСТ 11042-83

2

-"-

Лом-гвоздодер

ЛГ-20, ГОСТ 1405-83

2

-"-

Ключи гаечные разводные

ГОСТ 3108-71

4

Монтаж и демонтаж опалубки

Щетка металлическая

ТУ 494-01-04-76

2

Очистка опалубки

Кувалда (3 кг)

ГОСТ 11402-75

I

Сборка опалубки

ИНВЕНТАРЬ

Каски строительные

ГОСТ 12.4.087-84

4

Для рабочих

ПРИСПОСОБЛЕНИЯ

Строп четырехветвевой

4CK-10, ТУ 400-28-231-77

1

Погрузоразгрузочные работы, монтаж и демонтаж опалубки

Строп кольцевой

УСК-1.0-1/400, РЧ. 4985-80ВС тр. "Мосоргстрой"

2

То же

Ларь для закладных деталей

ТУ 400-28-234-77, тр. "Мосоргстрой"

2

Складирование мелких деталей и сборочных единиц

Потребность в материалах, полуфабрикатах и конструкциях приведена в табл. 4.

Таблица 4

№ п/п

Наименование материала, полуфабриката, конструкции

Марка, техническая характеристика, ГОСТ, № чертежа

Кол-во, шт.

Масса, кг

одного элемента

всех элементов

1

2

3

4

5

6

1

Щит унифицированный 0,6×2,56

992-2.11.100

2

125

250

2

Щит унифицированный

992-2.11.100-01

4

163

652

3

Щит унифицированный

992-2.11.100-02

8

200

1600

4

Щит-компенсатор Н = 2,56

992-2.11.200

4

34,5

138

5

Схватка, L = 2880 мм

992-2.11.300

8

28,1

224,8

б

Схватка, L = 4680 мм

992-2.11.300-03

8

46,5

372

7

Домкрат

992-2.11.400

8

4,8

38,4

8

Зажим эксцентриковый

992-2.12.000

2

9

18

9

Зажим эксцентриковый

992-2.12.00-01

2

9

18

10

Кронштейн нижний

992-2.13.000

2

4,6

9,2

11

Кронштейн нижний

992-2.13.000-01

2

4,6

9,2

12

Зажим эксцентриковый

992-2.14.000

2

18,5

37

13

Зажим эксцентриковый

992-2.14.000-01

2

18,5

37

14

Кронштейн верхний

992-2.15.000

2

14

28

15

Кронштейн верхний

992-2.15.000-01

2

14

28

16

Кронштейн

992-2.16.000

20

14,6

29,2

17

Стойка

992-2.17.000

20

5

100

18

Струбцина

992-2.18.000

10

11,6

116

19

Гайка

992-2.19.000

8

0,42

3,3с

20

Направляющая

992-2.21.000

64

0,53

33,92

21

Вставка (угловая) 240×240 мм

992-2.22.000

4

82

328

22

Прижим

992-2.23.000

8

3,4

27,2

23

Крюк натяжной

992-2.24.000

64

0,4

25,6

24

Стяжка

992-2.10.001

28

1,8

50,4

25

Накладка

992-2.10.002

56

0,4

22,4

26

Втулка

992-2.10.003

28

0,3

8,4

27

Шайба

992-2.10.004

20

0,02

0,4

28

Вставка, L = 2880 мм

992-2.11.001

2

33,8

67,6

29

Вставка, L = 4680 мм

992-2.11.001-03

2

48

96

30

Втулка

992-2.11.003

8

0,15

1,2

31

Шайба

992-2.11.002

56

0,08

4,48

32

Кронштейн

625А-2.06.800

4

16

64

33

Домкрат

625А-2.06.300

4

3,4

13,6

34

Доска 40×100 мм

 

0,6 м3

-

-

7. ТЕХНИКА БЕЗОПАСНОСТИ

При производстве работ необходимо соблюдать правила техники безопасности согласно СНиП III-4-80* "Техника безопасности в строительстве", а также ССБТ ГОСТ 12.1.013-78.

8. ТЕХНИКО-ЭКОНОМИЧЕСКИЕ ПОКАЗАТЕЛИ

Затраты труда на монтаж замкнутой секции блочной

опалубки, чел.-см                                                                                                          4,49

Затраты труда на монтаж 1 м2 опалубки, чел.-ч                                             0,76

Затраты машинного времени на весь объем работ, маш.-см                        1,04

Общие затраты труда на монтаж 1 м2, маш.-см                                              0,022

Стоимость затрат труда на весь объем работ, руб.-коп.                                25-78

Стоимость затрат труда на монтаж 1 м2 опалубки, руб.-коп                         0-53,3

III. АРМИРОВАНИЕ НАРУЖНЫХ И ВНУТРЕННИХ СТЕН ТИПОВОГО ЭТАЖА

1. ОБЛАСТЬ ПРИМЕНЕНИЯ

Технологическая карта разработана на монтаж арматуры наружных и внутренних стен при возведении 16-этажного экспериментального жилого дома в г. Вильнюсе из монолитного бетона с применением блочно-щитовой опалубки.

Высота этажа - 2,88 м; толщина внутренних стен - 24 см; наружных - 36 см.

Работа выполняются с помощью башенного крана КБ-503 (см. рис. 1., стр. 6).

В состав работ, рассматриваемых картой, входит армирование стен.

Работы выполняются в летний период в одну смену.

При привязке технологической карты к конкретному объекту и условиям строительства уточняются калькуляция затрат труда, средства механизации, потребность в материально-технических ресурсах, графическая схема организации строительства.

2. ОРГАНИЗАЦИЯ И ТЕХНОЛОГИЯ ВЫПОЛНЕНИЯ РАБОТ

До начала монтажа арматуры внутренних и наружных стен должны быть выполнены следующие работы:

смонтированы плиты перекрытия;

нанесены риски разбивочных осей;

доставлены на рабочее место инструменты, приспособления и инвентарь.

Доставленные на стройплощадку арматура и армоизделия раскладываются в зоне действия крана на подкладках рассортированными по маркам, диаметрам и длинам. Сетки хранятся в рулонах в вертикальном положении. Толщина подкладок должна быть не менее 50 мм.

Армирование стен этажа производится по захваткам. Для поточного производства работ по монтажу блочной опалубки стены этажа здания разбиваются на 5 захваток (рис. 1).

Армирование стен может производиться до установки блочной опалубки или после установки ее c одной стороны стены (рис. 2).

Армирование может осуществляться отдельными стержнями и вязкой их вручную или установкой плоских арматурных каркасов с креплением их на месте установки с помощью сварки.

В данной технологической карте принято армирование комбинированным способом, т.е. установка плоских арматурных каркасов и крепление их между собой отдельными стержнями и вязкой пересечений.

Армирование производится согласно рабочему проекту в следующем порядке (рис. 3): башенным краном подаются на перекрытие каркасы и отдельные стержни; на опалубке до установки каркасов мелом размечаются места их расположения (для временного крепления каркасов к опалубке используются струбцины).

Каркасы массой до 100 кг устанавливают вручную, более 100 кг - монтируют краном и крепят к выпускам нижележащей стены либо сваркой, либо пропуском стержней.

После установки и выверки каркасов их соединяют между собой отдельными стержнями с вязкой пересечений.

Для вязки арматуры применяется отожженная вязальная проволока диаметром 0,8 - 1,0 мм, нарезанная на отрезки длиной 80 - 200 мм.

Для образования защитного слоя между арматурой и опалубкой устанавливаются пластмассовые фиксаторы с шагом для стен 1,0 - 1,2 м.

Рис. 1. План этажа. Разбивка на захватки

 


Рис. 2. Схема армирования I захватки:

1 - блочная опалубка; 2 - арматурные стержни; 3 - пространственные каркасы; 4 - передвижная площадка

Рис. 3. Схема арматуры:

1 - блочная опалубка; 2 - струбцина; 3 - фиксаторы

Примечание: II, IV, V захватки армируются аналогично

 


Допускаемые отклонения от проектной толщины защитного слоя бетона - 3 мм при толщине до 15 мм и 5 мм - при проектной толщине более 15 мм.

Работы по установке арматуры выполняет звено из 3-х человек:

арматурщики 3 разр. - 1,

2 разр. - 1,

электросварщик 5 разр. - 1.

Обязанности в звене распределяются следующим образом: арматурщик 3 разр. производит разметку расположения каркасов и стержней, устанавливает каркасы вертикально, крепит вязальной проволокой места пересечения арматурных стержней с каркасами; арматурщик 2 разр. выполняет все подсобные работы: подносит и подает каркасы и арматурные стержни, помогает при установке каркасов и вязке стержней, устанавливает пластмассовые фиксаторы защитного слоя.

Арматурщики также выполняют обязанности такелажников при подаче арматуры на этаж и приеме на месте ее монтажа.

Электросварщик производит сварку стыков каркасов по вертикали (если в проекте предусмотрена электросварка стыков).

3. ТРЕБОВАНИЯ К КАЧЕСТВУ И ПРИЕМКЕ РАБОТ

Приемка установленной арматуры производится до монтажа блочной опалубки со второй стороны внутренних стен (до монтажа щитов опалубки наружных стен) и оформляется актом освидетельствования скрытых работ.

Схема операционного контроля качества арматурных работ приведена в табл. 1.

Допускаемые отклонения в расстоянии между отдельно установленными каркасами ±20 мм.

Таблица 1

Операции, подлежащие контролю

Предмет контроля

Инструменты и способы контроля

Время контроля.

Привлекаемые службы

производителем работ

мастером

Подготовительные работы

-

Состояние арматуры (ржавчина, масло), сортамент, соответствие проектным размерам

Стальным метром, штангенциркулем

Во время приемки

-

 

Установка арматуры

Правильность положения арматурных каркасов и стержней в соответствии с проектом, надежность закрепления

Отвесом, стальным метром

В процессе выполнения работ

 

Сварка стыков арматурных каркасов

 

Качество сварки, марка применяемых электродов

Визуально, замеры, механические испытания образцов

После установки и сварки арматуры

Строительная лаборатория

 


4. КАЛЬКУЛЯЦИЯ ЗАТРАТ ТРУДА, МАШИННОГО ВРЕМЕНИ И ЗАРАБОТНОЙ ПЛАТЫ

Таблица 2

Наименование работ

Обоснование

Ед. изм.

Объем работ

Норма времени на единицу измерения, чел.-ч

(маш.-ч)

Трудоемкость на весь объем, работ,

чел.-см.

(маш.-см.)

Расценка на единицу измерения, руб.-коп.

Стоимость затрат труда на весь объем,

руб.-коп.

Разгрузка арматуры с транспортных средств

ЕНиР, § Е1-7, п. 28б

100 т

0,04

13,0

0,063

8-32

0-33

Работа крана

п. 28а

100 т

0,04

(6,4)

(0,03)

(5-82)

(0-23)

Сортировка и подача арматуры краном к месту складирования

ЕНиР, § Е5-1-1, п.1

т

4

0,65

0,32

0-48,4

1-94

Работа крана

п.2

т

4

(0,32)

(0,16)

(0-33,9)

(1-36)

Подъем арматуры башенным краном на этаж

ЕНиР, § Е1-7, табл. 2, п. 28б, г

100 т

0,04

17,8

0,087

11-40

0-46

Работа крана

п. 28 а, в

100 т

0,04

(8,8)

(0,04)

(8-00)

(0-32)

Установка арматурных каркасов массой до 20 кг вручную

ЕНиР, § Е4-1-44, табл. 2, п.а; к = 1,1

шт.

370

0,19

8,57

0-12,3

45-51

Установка и вязка арматуры отдельными стержнями -0,6 мм

ЕНиР, § Е4-1-46, п. 10 а; к = 1,1

т

0,6

39,05

2,86

30-26

18-16

Электродуговая сварка арматуры, установленной в конструкцию

ЕНиР, § Е22-1-6, п. 11, 14 в; к = 1,1

10 м шва

11,84

2,97

4,2

2-70,6

320-03

Итого:

16,1

(0,23)

 

98-43

(1-91)

5. ГРАФИК ПРОИЗВОДСТВА РАБОТ

 


6. МАТЕРИАЛЬНО-ТЕХНИЧЕСКИЕ РЕСУРСЫ

Потребность в основных материалах и полуфабрикатах приводится в табл. 3.

Таблица 3

Наименование

Марка.

Ед. изм.

Кол-во

Арматурные каркасы

-

шт.

370

Арматура (стержни) Ø 6 мм

-

т

0,59

Пластмассовые фиксаторы

-

шт.

1200

Вязальная проволока Ø 0,8-1,0 мм

-

кг

3,5

Электроды

Э-42А

кг

236

Потребность в машинах, оборудовании, инструменте, инвентаре и приспособлениях приведена в табл. 4.

Таблица 4

Наименование

Марка, ГОСТ, TУ, № чертежа

Кол-во, шт.

Техническая характеристика

1

2

3

4

Кран башенный

КБ-503

1

Грузоподъемность 10 т

Передвижная мастерская

ИРМ

1

 

Оборудование газокислородной резки

ГОСТ 1077-79

ГОСТ 5190-78*

1 компл.

 

Будка сварщика

 

1

 

Трансформатор сварочный

ТД-500

1

 

Электрододержатель ЭА-310571

ГОСТ 14651-78E

2

 

Щиток сварщика типа НН

ГОСТ 12.4.023-84*

1

 

Кабель одножильный с резиновой изоляцией

ГОСТ 6731-77E

60

 

Пенал для электродов

ЦНИИОМТП

2

 

Приспособление для вязки арматуры

И 5H-21A треста Оргтехстрой Главзапстроя

2

 

Кувалда кузнечная

ГОСТ 11402-75*

1

Масса 3 кг

Молоток слесарный с круглым бойком

ГОСТ 2310-77*

1

 

Кусачки торцевые

ГОСТ 7282-75*

4

 

Плоскогубцы комб.

ГОСТ 17439-72*Е

2

 

Ножницы

ГОСТ 7210-75*Е

2

 

Зубило слесарное 20×60

ГОСТ 7211-86E

2

 

Лом монтажный Ж-24

ГОСТ 1405-83

2

 

Напильник плоский тупоносый

ГОСТ 1465-80*

2

 

Щетка стальная

МРТУ Минторга

4

 

Отвес

ГОСТ. 7948-80

2

 

Рулетка. PC-20

ГОСТ 7502-80*

1

 

Топор А2

ГОСТ 1399-73*

1

 

Площадка для сварщика и монтажника

400-28-9-73 тр. "Мосоргстрой"

2

 

Ножовка

 

1

 

Уровень строительный

УС2-700, ГОСТ 9416-83

2

 

Строп четырехветвевой 4CK-10

ГОСТ 25573-82*

1

 

Строп кольцевой УСК2-5

ГОСТ 25573-82*

2

 

Струбцина для временного крепления каркаса к опалубке

ТУ 34-42-2423-78

4

 

Набор инструмента для ручной дуговой сварки ЭНИ-300

ТУ 36-1162-81

1

 

Метр складной металлический МСМ-74

ТУ 2-12-156-76

2

 

Штангенциркуль типа ЩЦ-1-125

ГОСТ 166-80*

1

 

7. ТЕХНИКА БЕЗОПАСНОСТИ

При производстве арматурных работ необходимо строгое соблюдение правил техники безопасности (СНиП III-4-80*).

Арматурщики, выполняющие такелажные работы, должны иметь удостоверение стропальщиков.

Корпус сварочного трансформатора должен быть заземлен.

Проемы в перекрытии должны быть ограждены или закрыты щитами.

8. ТЕХНИКО-ЭКОНОМИЧЕСКИЕ ПОКАЗАТЕЛИ

Объем работ, т                                                                            4,0

Затраты труда, чел.-см                                                               16,1

Трудоемкость, чел.-см./т                                                            4,03

Выработка на одного рабочего в смену, т                               0,25

Стоимость затрат труда, руб.-коп.                                            98-43

Потребность в маш.-см                                                              0,23

IV. БЕТОНИРОВАНИЕ НАРУЖНЫХ И ВНУТРЕННИХ СТЕН ТИПОВОГО ЭТАЖА

1. ОБЛАСТЬ ПРИМЕНЕНИЯ

Технологическая карта разработана на бетонирование стен типового этажа 16-этажного экспериментального жилого дома в блочно-щитовой опалубке, разработанной ЦНИИОМТП Госстроя СССР (проект 992-2.00.000).

Монолитные наружные и внутренние стены запроектированы из керамзитобетона марки 150.

Объем работ принят из расчета на типовой этаж: высота этажа 2,88 м; толщина внутренних стен 24 см, наружных стен - 36 см; перекрытия сборные толщиной 22 см.

В состав работ, рассматриваемых картой, входят:

укладка бетонной смеси в конструкцию;

уплотнение бетонной смеси;

уход за бетоном.

Работы предусмотрено вести в две смены.

2. ОРГАНИЗАЦИЯ И ТЕХНОЛОГИЯ ВЫПОЛНЕНИЯ РАБОТ

До начала бетонирования на захватке должны быть выполнены следующие работы:

установлены вся арматура и закладные детали;

смонтированы все элементы опалубки;

проверена правильность установки и надежность крепления элементов опалубки;

проверено наличие смазки на щитах;

увлажнена поверхность стен нижележащего этажа;

подготовлены инструменты и инвентарь.

Схема организации строительной площадки (с площадками складирования и местом установки монтажного крана) показана на рис.1, стр. 6.

Стены бетонируются с помощью башенного крана КБ-503 грузоподъемностью 10 т.

Бетонная смесь к месту укладки подается в вертикальных бадьях вместимостью 1,5 м3.

Бетонная смесь транспортируется на объект в автобетоносмесителях, что предупреждает ее расслоение. Для бетонной смеси с заполнителем из керамзитобетона продолжительность транспортирования от места изготовления до места укладки не должна превышать 45 мин.

При укладке в конструкцию подвижность смеси должна соответствовать осадке конуса 6 - 8 см. Для бесперебойной подачи бетонной смеси необходимо составить и согласовать график движения автобетоносмесителей.

Для производства работ по бетонированию стен каждый этаж здания в плане делят на пять захваток (рис. 1). Работы ведутся по захваткам с учетом общего потока работ на типовом этаже.

Непосредственно перед бетонированием и при длительных перерывах в работе необходимо с поверхности ранее уложенного бетона без ее повреждения удалить цементную пленку.

Прочность бетона должна быть не менее:

30 кН/см2 - при очистке водяной или воздушной струей под напором 0,3 - 0,5 Н;

150 кН/см2 - при очистке механической металлической щеткой с последующей промывкой водой;

500 кН/см2 - при гидропескоструйной очистке.

Бетонную смесь укладывают в конструкцию горизонтальными слоями толщиной 50 см без разрывов, выдерживая направление укладки в одну сторону во всех слоях. Каждый слой укладывается до начала схватывания предыдущего слоя бетона и тщательно уплотняется глубинными вибраторами.

Схема бетонирования стен дана на рис. 2.

В процессе бетонирования необходимо установить каналообразователи и вкладыши, чтобы образовать штрабы и каналы для электропроводки.

Бетонная смесь уплотняется глубинными вибраторами ИВ-47 с соблюдением следующих правил:

шаг перестановки вибраторов не должен превышать полуторного радиуса их действия;

глубина погружения вибратора в бетонную смесь должна обеспечить углубление его в ранее уложенный слой на 5 - 10 см;

опирание вибраторов во время их работа на арматуру и закладные части бетонируемых конструкций, а также на тяги и другие элементы крепления опалубки не допускается.

Продолжительность вибрирования на каждой позиции составляет 20 - 30 с. Уплотнение кончают, когда бетонная смесь перестает оседать, на ее поверхности появляется цементное молоко и прекращается выделение пузырьков воздуха.

Особенно тщательно следует уплотнять бетонную смесь непосредственно у стенок опалубки, у дверных и оконных проемообразователей и вкладышей, в углах стен.

В верхней и нижней стенках проемообразователя предусмотрены отверстия (рис. 3), в которые пропускается вибратор для уплотнения бетонной смеси под проемообразователем. В нижнее отверстие устанавливается вставка (5), которая после окончания бетонирования стен и демонтажа опалубки вынимается, а выплывший бетон срезается. Верхнее отверстие (8) после окончания вибрирования закрывается пластиной (9).

При бетонировании стен в журнал бетонных работ должны заноситься следующие данные:

дата начала и окончания бетонирования по захваткам;

заданные марки бетона, рабочие составы бетонной смеси и показатели ее подвижности (жесткости);

объемы выполненных бетонных работ по захваткам;

даты изготовления контрольных образцов бетона, их число, маркировка, сроки и результаты испытаний образцов;

температура наружного воздуха во время бетонирования;

температура бетонной смеси при укладке (в зимних условиях);

тип опалубки и дата распалубливания конструкций.

Для бетонной смеси с заполнителем из керамзитобетона в журнал заносится также объемная масса уложенной бетонной смеси в уплотненном состоянии.

При выдерживании уложенного бетона в начальный период его твердения необходимо:

поддерживать температурно-влажностный режим, обеспечивающий нарастание прочности бетона;

осуществлять при необходимости тепловую обработку, уложенного бетона в целях ускорения его твердения и оборачиваемости опалубки;

предохранять твердеющий бетон от ударов, сотрясений и других механических воздействий;

периодически поливать бетон водой в течение первых дней твердения.

 


Рис. 1. План этажа. Разбивка на захватки

Рис. 2. Схема бетонирования стен: 1 - бетонируемая стена; 2 - блочно-щитовая опалубка; 3 - вертикальная бадья; 4 - башенный кран КБ-503; 5 - плита перекрытия

 

 


При производстве бетонных работ в зимних условиях следует руководствоваться СНиП 3.03.01-87 с учетом следующих рекомендаций:

опалубка должна быть утеплена;

температура укладываемой бетонной смеси должна быть не ниже 30°С;

для ускорения схватывания бетона следует применять быстротвердеющий портландцемент марки не ниже 400 (расход 400 кг/м3);

в бетон необходимо вводить добавку нитрата натрия (расход на 1 м3 бетона составляет 16 - 24, 24 - 32 и 32 - 40 кг при наружной температуре воздуха соответственно -5, -10 и -15°С);

перед укладкой бетонной смеси элементы опалубки, соприкасающиеся с бетоном, должны быть отогреты горячим воздухом до положительной температуры;

стык с ранее уложенным бетоном должен быть прогрет на глубину не менее 30 см способом, исключающим снижение прочности ранее уложенного бетона.

Бетонирование стен выполняется звеном бетонщиков из шести человек: 4-го разр. - 2, 3-го разр. - 2, 2-го разр. - 2. Один бетонщик 2-го разр. находится внизу и принимает бетонную смесь из автобетоносмесителей в бадьи с последующей строповкой их для подачи к месту укладки. Бетонщики 4 и 3-го разр. принимают бетонную смесь, укладывают ее в опалубку и уплотняют вибраторами. Бетонщик 2-го разр. лопатой подбирает выпавший на настил бетон, в процессе бетонирования устанавливает вкладыши и каналообразователи.

Рис. 3. Схема уплотнения бетонной смеси под оконным проемообразователем:

1 - наружная панель опалубки; 2 - блочная панель опалубки; 3 - наружный проемообразователь; 4 - внутренний проемообразователь; 5 - вставка; 6 - рабочая часть вибратора; 7 - гибкий шланг; 8 - верхнее отверстие; 9 - пластина

3. ТРЕБОВАНИЯ К КАЧЕСТВУ И ПРИЕМКЕ РАБОТ

Операционный контроль качества работ по бетонированию стен выполняется в соответствии с требованиями СНиП 3.03.01-87.

Схема операционного контроля качества работ приведена в табл. 1.

Отклонения в размерах и положении выполненных монолитных бетонных стен не должны превышать величин, указанных в табл. 11 СНиП 3.03.01-87.

На бетонирование стен должен быть составлен акт освидетельствования скрытых работ в соответствии с установленной формой.

 


Таблица 1

Операции, подлежащие контролю

Предмет контроля

Инструмент и способ контроля

Время контроля

Привлекаемые службы

производителем работ

мастером

Подготовительные работы

-

Правильность установки и надежность крепления опалубки. Состояние арматуры и закладных деталей. Акты приемки опалубки и арматуры

Визуально

До бетонирования

 

То же

-

Соответствие проекту отметки верха опалубки

Нивелиром

То же

 

Укладка бетонной смеси

-

Качество бетонной смеси (подвижность, кубиковая прочность)

Конусом СтройЦНИЛ, прессом (ПСУ-500). Результаты заносить в журнал

-"-

Лаборатория

-

Подготовительные работы

Качество основания (очистка от грязи, наледи, снега). Отработка рабочих швов

Визуально

-"-

-

-

Укладка бетонной смеси

Правильность технологии укладки бетонной смеси. Правильность выполнения рабочих швов

-"-

В процессе укладки

-

-

То же

Температура наружного воздуха и бетонной смеси (зимой)

Термометром

То же

-

-

Уплотнение бетонной смеси

Шаг перестановки и глубина, погружения вибраторов, правильность их установки. Толщина бетонируемого слоя

Визуально, стальным метром

В процессе уплотнения

-

-

Уход за бетоном при твердении

Соблюдение температурно-влажностного режима

Термометром

В процессе твердения

-

4. КАЛЬКУЛЯЦИЯ ЗАТРАТ ТРУДА, МАШИННОГО ВРЕМЕНИ И ЗАРАБОТНОЙ ПЛАТЫ

Таблица 2

Наименование работ

Обоснование

Ед. изм.

Объем работ

Норма времени на единицу измерения,

чел.-ч

(маш.-ч)

Затраты труда на весь объем работ,

чел.-см

(маш.-см.)

Расценка на единицу измерения, руб.-коп.

Стоимость затрат труда на весь объем работ,

руб.-коп.

Прием бетонной смеси из автотранспорта

ЕНиР, § Е4-1-54, п.19

100 м3

2,03

8,2

2

5-25

10-66

Подача бетонной смеси башенным, краном к месту укладки (приведенная высота подъема 24 м)

ЕНиР, § Е1-7, табл. 2, п. 21б, г; п.21 а, в

м3

203

0,340

(0,17)

8,42

(4,2)

0-21,6

(0-15,4)

43-85

(31-26)

Укладка бетонной смеси в опалубку стен толщиной 24 см

ЕНиР, § Е4-1-49, табл. 3; п. 1г; к = 1,1

м3

74,4

1,32

11,98

0-94,4

70-23

То же, толщиной 36 см

п. 1 д, к = 1,1

м3

128,6

0,869

13,63

0-62,2

79-99

Обработка рабочих швов

ЕНиР, § Е4-1-54, п.7

100 м2

1,6

1,9

0,37

1-52

1-95

Поливка бетонной поверхности водой

п. 9

100 м2

14,1

0,14

0,24

0-09

1-27

Устройство штраб и каналов для электропроводки

ЕНиР, § Е23-1-7, табл. 2, п. 1 а

100 м

0,27

0,16

0,53

11-04

2-98

ИТОГО:

37,17

(4,2)

 

210-93

(31-56)

5. ГРАФИК ПРОИЗВОДСТВА РАБОТ

 


6. МАТЕРИАЛЬНО-ТЕХНИЧЕСКИЕ РЕСУРСЫ

Потребность в основных материалах и полуфабрикатах дана в табл. 3.

Таблица 3

Наименование

Марка

Ед. изм.

Кол-во

Бетонная смесь

По проекту

м3

203

Вода

-

-

По потребности

Потребность в машинах, оборудовании, инструментах, инвентаре и приспособлениях дана в табл. 4.

Таблица 4

Наименование

Марка, ГОСТ, чертежа

Кол-во

Техническая характеристика

1

2

3

4

Грузопассажирский подъемник

"ГНЕЗНО"-1000 (ПНР)

1

Грузоподъемность 1000 кг

Башенный кран

КБ-503

1

Грузоподъемность 10 т

Строп четырехветвевой

4СК-5/4700, ГОСТ 25573-82*

1

Масса 65 кг

Вертикальная бадья

5409 треста Оргтехстрой Минстроя ЛитССР

3

Масса 710 кг, вместимость 1,5 м3

Насос

3K-6

1

-

Радиостанция

"Ласточка" 60P1

2

-

Понижающий трансформатор

ИВ-4

1

-

Вибратор глубинный

ИВ-47

2

Диаметр наконечника 51 мм

Лестница

3.257.02.000 ЦНИИОМТП Госстроя СССР

2

-

Мачта поэтажная

3.294.55.000 ЦНИИОМТП Госстроя СССР

1

-

Пост вибраторов

Трест ЖБК Минстроя ЛитССР

1

-

Стояк для воды

МС.49.40.00 треста Оргстрой Минстроя Молдавской ССР

1

-

Лопата растворная типа ЛП

ГОСТ 19596-87

2

-

Кельма типа КБ

ГОСТ 9533-81

2

-

Шуровка.

Индивидуальная

2

-

Рулетка РС-20

ГОСТ 7502-80*

1

-

Рукав резиновый

ГОСТ 18698-79*

30 м

-

Ведро

ГОСТ 20558-82*Е

1

-

Каска винипластовая

ГОСТ 14185-77*

6

-

Пояс предохранительный

ОСТ 17-15-70

5

-

7. ТЕХНИКА БЕЗОПАСНОСТИ

При производстве работ необходимо соблюдать правила техники безопасности, приведенные в СНиП III-4-80* "Техника безопасности в строительстве".

8. ТЕХНИКО-ЭКОНОМИЧЕСКИЕ ПОКАЗАТЕЛИ

Затраты труда на бетонирование стен, чел.-см:

на типовой этаж                                                                  37,17

на 1 м3 бетона                                                                      0,18

То же, маш.-смен                                                                        4,2

Выработка на одного рабочего в смену, м3                             5,4

Стоимость затрат труда, руб.-коп.                                            210-93

 




ГОСТЫ, СТРОИТЕЛЬНЫЕ и ТЕХНИЧЕСКИЕ НОРМАТИВЫ.
Некоммерческая онлайн система, содержащая все Российские Госты, национальные Стандарты и нормативы.
В Системе содержится более 150000 файлов нормативно-технической документации, действующей на территории РФ.
Система предназначена для широкого круга инженерно-технических специалистов.

Рейтинг@Mail.ru Яндекс цитирования

Copyright © www.gostrf.com, 2008 - 2026