|
|
ВЕТРОЗАЩИТА ИЗ МАТЕРИАЛА «ТАЙВЕК» В МНОГОСЛОЙНЫХ СТЕНАХ И ПОКРЫТИЯХ С ТЕПЛОИЗОЛЯЦИЕЙ ИЗ МИНЕРАЛО- И СТЕКЛОВАТНЫХ ПЛИТ И МАТОВ Материалы для проектирования и рабочие чертежи узлов Шифр М24.13/05 Москва, 2005 г. Содержание
1. ОБЩИЕ ПОЛОЖЕНИЯ1.1. Альбом содержит материалы для проектирования и рабочие чертежи узлов с применением ветро- и гидрозащитных пленок «Tyvek®» («Тайвек») в многослойных стенах и скатных кровлях отапливаемых зданий различного назначения с минерало- или стекловолокнистой теплоизоляцией. Пленки «Тайвек» изготавливают по нетканой технологии фирмой «Du Pont de Nemours (Luxembourg) S.a.r.l.») г. Люксембург. ® - зарегистрированный торговый знак компании Дюпон или ее филиалов. 1.2. Материалы разработаны для следующих условий: здания одно- и многоэтажные, II - V степени огнестойкости с сухим, нормальным, влажным и мокрым температурно-влажностным режимом для строительства на всей территории страны; стены - несущие, самонесущие или навесные из кирпича или других каменных материалов, бетона, дерева, металла, с вентиляционным каналом над теплоизоляционным слоем из минерало- и стекловатных плит и матов и защитно-декоративным наружным слоем из профилированного металлического листа или других листовых или штучных материалов; покрытия - совмещенные или чердачные вентилируемые с указанной выше теплоизоляцией и кровлей из мелкоштучных, волнистых и профилированных листовых материалов, оцинкованной стали и меди; температура холодной пятидневки обеспеченностью 0,92 - до минус 55 °С. 1.3. Проектирование следует вести с учетом указаний и ограничений действующих норм: СНиП 31-01-2003 «Здания жилые многоквартирные»; СНиП 31-05-2003 «Общественные здания административного назначения»; СНиП 31-03-2001 «Производственные здания»; СНиП 2.09.04-87* «Административные и бытовые здания» (изд. 2001); СНиП 23-02-2003 «Тепловая защита зданий»; СНиП 21-01-97* «Пожарная безопасность зданий и сооружений»; СНиП 23-01-99 «Строительная климатология». 2. ПРИМЕНЯЕМЫЕ МАТЕРИАЛЫ2.1. В качестве ветро- и гидрозащиты теплоизоляции стен и покрытий применяется рулонный материал типа «Тайвек»: «Тайвек Софт» («Tyvek Soft (1460В)»), «Тайвек Супро» («Tyvek Supro (2506B)»), «Тайвек Хаусрэп» («Tyvek Housewrap (1060В)»), «Тайвек Солид» («Tyvek Solid (2480B)»), на которые получено Техническое свидетельство Госстроя России № ТС-07-0949-04/2. Стеновой материал имеет торговую марку «Тайвек Хаусрэп» («Tyvek Housewrap (1060B)»). Остальные марки рекомендуется применять в кровлях из штучных материалов (все виды черепицы, волнистых листов и т.п.). 2.2. Физико-технические показатели материалов Tyvek. Согласно Протоколу Независимого испытательного центра пожарной безопасности «АНТИП» № 1-95-97 от 13.08.97 г. по результатам экспериментального определения горючести текстиль «Tyvek» имеет группу горючести Г2 (трудногорючий). Таблица 1
2.3. Для теплоизоляции стен и покрытий применяют изделия из гидрофобизированных минераловатных плит марок «Руф Баттс Фасад», «Руф Баттс Н» и «Руф Баттс В» (ТУ 5762-005-45757203-99 изменение №1); П-75, П-125 (ГОСТ 9573-96), ППЖ-200 (ГОСТ 22950-95) и из стеклянного штапельного волокна марок ППС-75 и ПЖС-175, в т.ч. с покровным слоем из стеклоткани или стеклохолста (ГОСТ 10499-78). 2.4. Для утепления мансард применяют следующие теплоизоляционные изделия «URSA®» по ТУ 5763-002-00287697-97: маты марок М-15, М-15С, М-17. М-17С, М-25, М-25С; плиты марок П-15, П-15С, П-15Г, П-17, П-17С, П-17Г, П-20, П-20С, П-20Г, П-30, П-ЗОС, П-30Г. Примечание: изделия с индексом «С» имеют покровный слой из стеклохолста, а с индексом «Г» - гидрофобизированы. 2.5. В качестве пароизоляции рекомендуется применять «Тайвек ВСЛ» СД2» («Tyvek VCL SD2 (8327 АД»). Для проклейки швов применяют двухстороннюю клеящую ленту на бутилкаучуковой основе или лента «Тайвек» на акриловой основе. 3. НОРМЫ ТЕПЛОЗАЩИТЫ И ДАННЫЕ ПО ТОЛЩИНЕ ТЕПЛОИЗОЛЯЦИИ3.1. Минимальное допустимое сопротивление теплопередаче стен и покрытий зданий различного назначения и разных климатических условий регламентировано СНиП 23-02-2003 «Тепловая защита зданий». 3.2. По назначению рассматриваемые в работе здания образуют четыре группы: 1. Жилые, лечебно-профилактические и детские учреждения, школы, интернаты; 2. Общественные, кроме указанных выше, административные и бытовые, за исключением помещений с влажным режимом; 3. Производственные с сухим и нормальным режимами; 4. Здания с влажным и мокрым режимами. 3.3. При новом строительстве необходимая толщина слоя теплоизоляции из минераловатных плит определялась с учетом следующих условий. В вентилируемых конструкциях стен несущая часть предусмотрена из полнотелого керамического кирпича или камней толщиной 380 мм, а в качестве облицовки могут быть использованы природные плитные материалы, асбестоцементные плоские листы, окрашенные или офактуренные цветной каменной крошкой, плиты керамогранита, стальные и алюминиевые кассеты, керамические блоки и т.п. В зданиях 1 и 2 группы стена с внутренней стороны имеет отделочный штукатурный слой толщиной 20 мм. Коэффициент теплотехнической однородности 0,95, без учета откосов проемов и других теплопроводных включений. Возможен вариант наружного защитно-декоративного слоя из лицевого кирпича толщиной 120 мм. В вентилируемых покрытиях несущая часть предусмотрена из сборных железобетонных ребристых плит по серии 1.465.1-21, многопустотных железобетонных плит толщиной 220 мм по ГОСТ 9561-91, монолитного железобетона или металлических профнастилов. 3.4. Необходимая толщина слоя теплоизоляции из минерало- и стекловолокнистых плит для стен и скатных кровель перечисленных выше трех групп приведена, соответственно, в табл. 2 и 2а. Для зданий с влажным и мокрым режимом толщина теплоизоляции принимается большей из приведенных в табл. 2. 3.5. При реконструкции толщина слоя дополнительной теплоизоляции определялась с учетом следующих условий: Стены выполнены из полнотелого керамического кирпича толщиной в зависимости от назначения здания и района строительства - 380, 510, 640 или 770 мм со штукатуркой 20 мм для зданий 1 и 2 группы и без штукатурки - для зданий 3 группы. Покрытия имеют существующее сопротивление теплопередаче, равное его значению, определенному по формуле, исходя из санитарно-гигиенических условий для tв = 18 °C и jв = 55%. Дополнительная теплоизоляция предусматривается по существующему покрытию с учетом кровли. Необходимая толщина дополнительной теплоизоляции для реконструируемых стен и скатных кровель для первых трех групп зданий и всех областных и республиканских центров страны приведены соответственно в таблицах 2 и 2а. 3.6. Для стен из легкого или монолитного железобетона определяют сопротивление теплопередаче и соответственно корректируется необходимая толщина теплоизоляции. Например, для третьей группы зданий в г. Москве для стены из керамзитобетона g = 1200 кг/м3 (lб = 0,525 Вт/(м·0С)) толщиной 300 мм с существующим сопротивлением теплопередаче Rсущ = 1/8,7 + 0,3/0,52 + 1/23 = 0,74 м2·°С толщина дополнительной теплоизоляции составит: d = (Rтр - Rсущ)´l; где по табл. 5 Rтр =1,9 м2·°С/Вт; d = (1,9 - 0,74)´0,06 = 7,0 см. 3.7. Необходимость устройства специального парозащитного слоя определяется расчетом по СНиП 23-02-2003. Пароизоляционный слой располагается между несущим слоем стены или покрытия и слоем эффективной теплоизоляции.
4. СТЕНЫ С ЭКРАНОМ ИЗ ПЛИТОК4.1. Решения стен с вентилируемой воздушной прослойкой разработан на примере материалов фирмы «КЕМОПЛАСТ» и имеют технические свидетельства: ТС-07-0754-03/2; ТС-07-1013-04. 4.2. Стены с вентилируемой воздушной прослойкой включают несущую часть, выполненную из полнотелого керамического кирпича, бетонных блоков или из монолитного железобетона, металлический каркас, теплоизоляционный слой из минерало- или стекловолокнистых плит, ветрозащитную пленку и облицовочные плитки. 4.3. Каркас состоит из кронштейнов, Т-образного и L-образного вертикального профиля и кляммеров для закрепления облицовки. 4.4. Кронштейны и профили, а также кляммеры для крепления плит облицовки должны изготавливаться из нержавеющей или оцинкованной стали. Толщина прижимов кляммеров должна составлять не менее 1 мм, ширина прижима - не менее 10 мм. 4.5. Кронштейн вилочного типа с максимальным вылетом от 40 до 300 мм с шагом 20 мм. 4.6. Шаг кронштейнов по горизонтали рекомендуется принимать равным 600 мм, а по вертикали не менее 1400 мм. 4.7. Кронштейны крепят к несущей части стены анкерными дюбелями, число которых определяется расчетом, исходя из величины ветровой нагрузки и веса облицовки с каркасом. 4.8. Стандартная длина Т-образного профиля составляет 3000 мм. Направляющие закрепляют к кронштейнам самонарезающими винтами. При этом свободный конец направляющей от места закрепления к кронштейну не должен превышать 300 мм. 4.9. Стык направляющих по вертикали осуществляется с помощью вставок. При этом между направляющими предусматривается зазор в 8¸10 мм. 4.10 При скрытом креплении материалов облицовочного слоя после установки в проектное положение вертикальных направляющих к ним крепят на заклепках горизонтальные направляющие. 4.11. Минераловатные плиты теплоизоляции крепят к несущей части стены тарельчатыми дюбелями. Схема установки плит теплоизоляции и тарельчатых дюбелей представлена на чертеже М24.13/05-1.2. 4.12. При открытом креплении облицовочных плит кляммеры располагаемые с шагом, соответствующим размеру облицовочных плит, крепят к направляющему профилю на заклепках. При этом конструкция кляммера определяет величину горизонтального зазора между плитами облицовки равную 4 мм. Вертикальный зазор между плитами также принимается равным 4 мм. 4.13. При скрытом креплении на плитах облицовки для их навески на горизонтальные направляющие устанавливают опорные элементы. Опорный элемент крепится посредством самозапирающейся втулки, которая вставляется в предварительно рассверленное в плите отверстие 4.14. Фиксация плит в проектном положении обеспечивается по вертикали регулировочным винтом опорного элемента, а по горизонтали - посредством свободного перемещения опорного элемента вдоль горизонтальной направляющей. 4.15. При облицовочном слое из металлических кассет перед их установкой внутрь Т-образного профиля вставляют салазки имеющие поперечный штифт. Салазки крепят к направляющим двумя заклепками. 4.16. После навески на штифты кассету выравнивают согласно проектному положению и крепят заклепками через верхний отгиб кассеты к направляющим. 4.17. Для ветро- и гидрозащиты минерало- и стекловолокнистого утеплителя в системах с вентилируемым фасадом рекомендуется применять пленку марки «Tyvek® Housewrap», возможно также применение «Tyvek® Solid» и «Tyvek® Supro». 4.18. Монтаж материала «Tyvek®» осуществляется непосредственно на поверхность утеплителя в соответствии со схемой.
СХЕМА ЗАКРЕПЛЕНИЯ МАТЕРИАЛА «ТАЙВЕК» Материал «Tyvek®» допускается устанавливать любой стороной к утеплителю, однако для модификаций «Tyvek® Solid» и «Tyvek® Supro» рекомендуется монтировать белой (без маркировки) стороной к утеплителю для достижения максимально положительного эффекта. 4.19. Материал раскладывают с натягом по поверхности утеплителя горизонтально или вертикально и фиксируют тарельчатыми дюбелями к стене. Количество дюбелей, рекомендованное для крепления, не менее 3-х на 1 м2. Теплоизоляционные плиты рекомендуется сначала зафиксировать минимальным количеством дюбелей, далее раскатывают полотно «Тайвек» и оба материала окончательно фиксируют необходимым количеством дюбелей. Минимальное расстояние дюбелей от края полотна не менее 70 мм. Нахлестка полотен «Tyvek®» составляет 150 мм. 4.20. В местах нахлестки полотен, а также в местах расположения тарельчатых дюбелей допускается проклейка клеящими лентами на бутиловой или акриловой основе с целью увеличения эффективности системы. В случае разрыва полотна возможна проклейка аналогичными лентами. 4.21. При применении материала «Tyvek® Housewrap» возможны акустические хлопки, если мембрана не натянута. Для устранения такого эффекта рекомендуется применять модификации «Tyvek® Solid» или «Tyvek® Supro» или устанавливать «Tyvek® Housewrap» без провисания. 4.22. В оконных и дверных проемах полотна «Tyvek®» приклеивают клеящими лентами на бутиловой или акриловой основе. 4.23. Материал «Tyvek®» устойчив к ультрафиолетовому излучению солнца и намоканию, и может применяться в температурном диапазоне - 73 °С ... + 100 °С, однако не рекомендуется оставлять фасад, обтянутый полотном «Tyvek®», в открытом состоянии более 4 месяца. 5. СТЕНЫ С ОБЛИЦОВКОЙ ИЗ ОЦИНКОВАННЫХ СТАЛЬНЫХ ПРОФЛИСТОВ5.1. В работе приведены стены из стального профнастила послойной сборки или из предварительно собираемых трехслойных металлических панелей. 5.2. Узлы примыкания листа наружной обшивки к цоколю и карнизу (парапету) обеспечивают вентиляцию гофров и, таким образом, предохранение теплоизоляции от возможного увлажнения. Ветрозащитный диффузионно-гидроизоляционный слой из мембраны «Тайвек» выполняют в соответствии с п. 4.11. 5.3. Толщину теплоизоляции из минерало- или стекловатных плит принимают по табл. 5. 5.4. Сортамент листа приведен в ГОСТе 24045-94 «Профили стальные листовые гнутые с трапециевидными гофрами для строительства. Технические условия». 6. ПОКРЫТИЯ С КРОВЛЕЙ ИЗ ОЦИНКОВАННЫХ СТАЛЬНЫХ ПРОФЛИСТОВ6.1. В качестве кровельных листов рекомендуется применять в "перевернутом положении" профили стальные гнутые с высотой гофра не менее 44 мм с цинковым, алюмоцинковым или алюминиевым покрытием и защитно-декоративным лакокрасочным покрытием. 6.2. Наиболее целесообразно кровлю из металлических профлистов применять в зданиях с длиной ската до 12 м. При большей длине ската и уклоне кровли более 10 % профлист должен устанавливаться с величиной нахлестки вдоль ската не менее 200 мм и с обязательной герметизацией продольной нахлестки, а при уклонах менее 10 % - с величиной нахлестки не менее 300 мм и герметизацией мест продольной и поперечной нахлесток. 6.3. В утепленных покрытиях для разрыва "мостиков холода" между верхней полкой дистанционного прогона и профлистом должны быть установлены прокладки из бакелизированной фанеры толщиной 10 мм, окрашенные пентафталевыми,. или хлорвиниловыми эмалями за 2 раза, или для дистанционного прогона использован термопрофиль. В качестве противоветрового барьера рекомендуется использовать рулонный ветрозащитный диффузионно-гидроизоляционный материал "Tyvek Soft", "Tyvek Solid", "Tyvek Supro". 6.4. Примыкание кровли из металлического профлиста к стенам следует осуществлять с устройством фартуков из оцинкованной стали толщиной 0,8 мм, окрашенной с обеих сторон. Крепление их выполняется на заклепках, а между собой одинарным лежачим фальцем. Коньковый и карнизный фасонные элементы, а также фартуки для отделки пропусков через кровлю должны иметь "гребенку" по форме поперечного сечения металлического профлиста. 6.5. При кровлях из стальных профилированных листов работы ведут в следующей последовательности: к прогонам покрытия несущий профилированный настил закрепляют самонарезающими винтами В6´25 (ТУ 36-2042-78), устанавливаемыми в каждый гофр (впадину) профиля к крайним и коньковым прогонам; на промежуточных опорах закрепление производят с шагом через гофр. Шаг прогонов 1,5 - 3,0 м. - в продольном направлении соединение профнастилов между собой выполняют на заклепках ЗК - 12 (ТУ 36-2088-78) с шагом 250 мм; - перпендикулярно гофрам с нахлесткой полотнищ на 100 мм раскатывают пленку «Тайвек ВСЛ СД2», заводя ее во второй и третий гофр каждого профлиста для установки опорных элементов с шагом 750 мм; - опорные элементы закрепляют к прогонам двумя самонарезающими винтами в каждую "лапку"; - дистанционные прогоны закрепляют к опорным элементам через термовкладыш из бакелизированной фанеры двумя самонарезающими винтами; - теплоизоляцию из плит или матов выполняют заподлицо с дистанционными прогонами с перевязкой стыков нижнего слоя верхними плитами; - под опорные элементы и дистанционные прогоны укладывают доборные вкладыши из этих же плит; - по плитам расстилают пленку «Тайвек», начиная от пониженных участков покрытия, с нахлесткой полотнищ равной 110 ... 150 мм (см. п. 4.11). - профилированные листы кровли закрепляют к дистанционным прогонам самонарезающими винтами В6´80 с шайбой и уплотнителем из герметизирующей ленты в каждый гофр (гребень) на карнизных и коньковых прогонах; с шагом через гофр - на промежуточных прогонах; - для увеличения жесткости продольных кромок кровельных профлистов на дистанционный прогон под накрываемый гофр листа устанавливается элемент жесткости; - между собой в продольном направлении кровельные профлисты соединяют на заклепках после нанесения на накрываемую кромку герметика. Отверстия в заклепках также промазывают герметиком. Перед нанесением герметизирующих мастик поверхности должны быть обеспылены и обезжирены бензином (ГОСТ 443-76* или ГОСТ 3134-78*). 7. ОГРАЖДАЮЩИЕ КОНСТРУКЦИИ МАНСАРД И ЧЕРДАКОВ7.1. Несущие конструкции мансард могут быть выполнены из дерева или стали марок С235, С245, С255, С345 по ГОСТ 27772-88*. 7.2. В поперечнике несущие конструкции мансард представляют собой раму. Шаг рам и сечения элементов определяются статическим расчетом. 7.3. Соединения металлоконструкций предусматривается на сварке и монтажных болтах или на постоянных болтах. 7.4. Сечения узловых элементов и величина сварных швов определяются расчетом. 7.5. Деревянные несущие конструкции следует выполнять из пиломатериалов хвойных пород по ГОСТ 8486-86*. 7.6. Для изготовления настилов и обрешетки применяется древесина 3 сорта, а для несущих элементов стропильной системы (стропил, мауэрлатов, прогонов, стоек, подкосов, связей) - древесина 2 сорта. 7.7. Соединения деревянных элементов несущих конструкций предусмотрены гвоздевыми с прямой расстановкой гвоздей или расположением их в шахматном порядке. 7.8. Для устройства деревянных несущих конструкций должны применяться элементы с глубокой антипиреновой пропиткой. 7.9. Огнезащитная облицовка стальных и деревянных несущих конструкций предусмотрена гипсокартонными листами марок ГКЛО или ГКЛВО (ГОСТ 6266-97), а также гипсоволокнистыми листами марок ГВЛ и ГВЛВ (ГОСТ Р 51829). 7.10. Устройство огнезащитной облицовки несущих стальных и деревянных конструкций следует выполнять в соответствии с указаниями СП 55-101-2000 и СП 55-102-2001. 7.11. Кровлю мансард рекомендуется выполнять из кровельной стали, мягкой черепицы, керамической или цементно-песчаной черепицы и других материалов. При этом во избежании образования конденсата в конструкции покрытия должен быть предусмотрен вентиляционный канал (табл. 3). 7.12. Для естественного освещения мансардных помещений в ограждающие конструкции встраивают мансардные окна. 7.13. В зависимости от расположения теплоизоляции и ветро- гидроизоляционной пленки «Тайвек» различают следующие конструктивные решения (см. табл. 7): - толщина теплоизоляции меньше высоты стропила, диффузионно-гидроизоляционная пленка располагается с провисом и образованием двух каналов вентиляционного зазора, в этом случае для утеплителя крыш мансарды необходимо применять маты с плотностью 15 ... 25 кг/м3 или плиты с плотностью 15 ... 30 кг/м3 слоем пленки «Tyvek®»; - толщина теплоизоляции равна высоте стропила, ветрозащитная диффузионно-гидроизоляционная пленка располагается на поверхности теплоизоляции с образованием над нею одноканального вентиляционного зазора; в этом случае для утепления кровли мансарды применяют теплоизоляционные изделия без покровного (ветрозащитного) слоя; - толщина теплоизоляции больше высоты стропила; в этом случае дополнительный слой теплоизоляции может быть расположен снизу между поперечными потолочными брусками либо между брусками контробрешетки, высота которых равна толщине дополнительной теплоизоляции (при реконструкции крыши). 7.14. Для создания дополнительного барьера от проникновения влаги в помещение через кровлю, а также для ветро- и гидрозащиты теплоизоляции в мансардах рекомендуется применять Tyvek® Soft, Tyvek® Solid или Tyvek® Supro. Данные материалы рекомендуются к применению со всеми видами кровельных материалов перечисленных в табл. 7. 7.15. Материал Tyvek® допускается устанавливать любой стороной, однако приклейку модификаций Tyvek® Solid или Tyvek® Supro рекомендуется монтировать белой (без маркировки) стороной внутрь для достижения максимально положительного эффекта. Материал раскатывают параллельно или перпендикулярно стропилам. Сверху материал «Тайвек» прижимается к стропилам или обрешетке контробрешеткой. Для фиксации пленки применяются шиферные гвозди. Не допускается применять скобы или гвозди без установленной деревянной рейки поверх мембраны. Возможен монтаж, как по поверхности утеплителя, так и с зазором. Для достижения максимального эффекта рекомендуется укладывать Tyvek® непосредственно на утеплитель, однако при таком монтаже обязательна полная пароизоляция мансарды; при отсутствии пароизоляции или наличии в ней щелей или отверстий возможно намокание или намерзание льда в утеплителе или на внутренней поверхности Tyvek® в зимний период. Для холодных чердаков также рекомендуется применение материала Tyvek® с целью снижения эффекта выноса тепла из здания. Нахлестку полотен Tyvek® принимают в зависимости от уклона кровли по табл. 4. Таблица 4
При углах наклона кровли менее 12,5° применение «Тайвека» не рекомендуется. В местах нахлесток полотен, а также местах креплений с целью увеличения эффективности системы допускается проклейка скотчами на бутиловой или акриловой основе. В случае разрыва полотен возможна проклейка аналогичными скотчами. В оконных проемах Tyvek® проклеиваются скотчами на бутиловой или акриловой основе.
РАЗДЕЛ 1
|
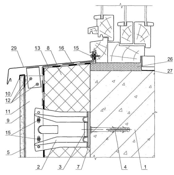
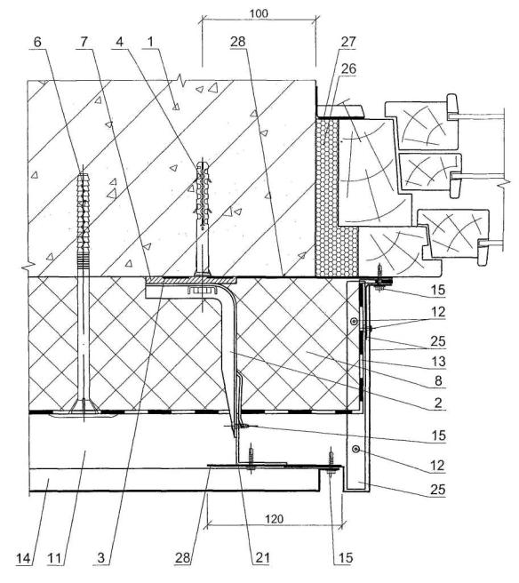
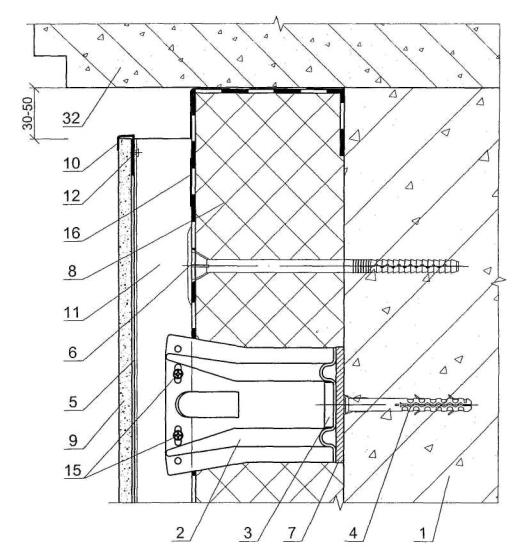
|||||||||||||||||||||||||||||||||||||||||||||||||||||||||||||||||||||||||||||||||||||||||||||||||||||||||||||||||||||||||||||||||||||||||||||||||||||||||||||||||||||||||||||||||||||||||||||||||||||||||||||||||||||||||||||||||||||||||||||||||||||||||||||||||||||||||||||||||||||||||||||||||||||||||||||||||||||||||||||||||||||||||||||||||||||||||||||||||||||||||||||||||||||||||||||||||||||||||||||||||||||||||||||||||||||||||||||||||||||||||||||||||||||||||||||||||||||||||||||||||||||||||||||||||||||||||||||||||||||||||||||||||||||||||||||||||||||||||||||||||||||||||||||||||||||||||||||||||||||||||||||||||||||||||||||||||||||||||||||||||||||||||||||||||||||||||||||||||||||||||||||||||||||||||||||||||||||||||||||||||||||||||||||||||||||||||||||||||||||||||||||||||||||||||||||||||||||||||||||||||||||||||||||||||||||||||||||||||||||||||||||||||||||||||||||||||||||||||||||||||||||||||||||||||||||||||||||||||||||||||||||||||||||||||||||||||||||||||||||||||||||||||||||||||||||||||||||||||||||||
|
№ поз. |
Наименование |
№ поз. |
Наименование |
|
1 |
Существующая стена |
18 |
Перфорированный нащельник |
|
2 |
Кронштейн |
19 |
Слив |
|
3 |
Шайба |
20 |
Облицовка цоколя |
|
4 |
Анкерный дюбель |
21 |
L-образный вертикальный профиль |
|
5 |
Т-образный вертикальный профиль |
22 |
Нащельник угловой |
|
6 |
Тарельчатый дюбель для крепления утеплителя |
23 |
Угловая пластина |
|
7 |
Паронитовая прокладка |
24 |
Кассета угловая |
|
8 |
Минераловатный утеплитель |
25 |
Элемент обрамления |
|
9 |
Плиты облицовочные |
26 |
Пенный утеплитель |
|
10 |
Кляммер |
27 |
Пароизоляционная лента |
|
11 |
Воздушная прослойка |
28 |
Полоса стальная оцинкованная 5 = 0,55 мм |
|
12 |
Заклепка |
29 |
Оконный слив |
|
13 |
Ветрозащитная пленка «Тайвек» |
30 |
Отверстие d = 10 мм |
|
14 |
Кассета типовая |
31 |
Компенсирующий зазор |
|
15 |
Самонарезающий винт |
32 |
Карниз здания |
|
16 |
Водоизоляционная паропроницаемая лента |
33 |
Элемент парапета |
|
17 |
Элемент крепления цоколя |
34 |
Элемент крепления парапета |

1а

1б
Вертикальный разрез стены системы вентилируемого фасада с облицовкой кассетами
а - "открытый" стык;
б - "закрытый" стык.

2а

2б

2в

2г

3а

3б

4а

4б

5а

5б

6а

6б

7а

7б

8а

8б
Экспликация материалов и деталей к узлам стен с облицовкой из оцинкованного стального профлиста
|
№ поз. |
Наименование |
№ поз. |
Наименование |
|
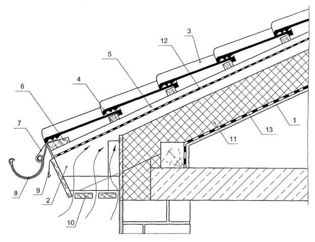
1 |
Панель стеновая |
21 |
Стена из кирпича или монолитного железобетона |
|
2 |
Окно |
22 |
Ригель |
|
3 |
Цоколь |
23 |
Самонарезающие винты |
|
4 |
Ворота |
24 |
Ригель |
|
5 |
Пленка «Тайвек» |
25 |
Термовкладыш из бакелизированной фанеры |
|
6 |
Наружная облицовка из оцинкованного стального профлиста |
26 |
Теплоизоляция |
|
7 |
Утеплитель, завернутый в пленку «Тайвек» |
27 |
Фартук коньковый с гребенкой |
|
8 |
Каркас панели |
28 |
Шуруп 1 - 4´40 (шаг 300) |
|
9 |
Угловой нащельник |
29 |
Герметизирующая мастика |
|
10 |
Слив |
30 |
Антисептированный деревянный брус сечением 40´130, крепить шурупами 1 -6´90 с шагом 600 |
|
11 |
Внутренняя облицовка |
31 |
Антисептированный деревянный брусок 40´90 (120) |
|
12 |
Заклепка |
32 |
Нащельник МС 7 |
|
13 |
Кровля из профлиста |
33 |
Утеплитель П125 |
|
14 |
Прогон |
34 |
Подоконник из деревянной доски 60´280 |
|
15 |
Пароизоляция |
35 |
Слив МС 8 |
|
16 |
Костыль |
36 |
Стойка панели |
|
17 |
Деревянный брусок |
37 |
Болт M16´50 с шагом 600 |
|
18 |
Фартук |
38 |
Заклепка 12 с шагом 300 |
|
19 |
Несущий настил покрытия |
39 |
Нащельник МС 9 |
|
20 |
Балка |
40 |
Элемент крепления окна У2; УЗ с шагом 600 |

Фрагмент фасада №1.
Вариант металлических стен из трехслойных панелей укрупнительной
сборки. Продольный фасад.

Фрагмент фасада №2.
Вариант металлических стен из трехслойных панелей укрупнительной
сборки. Торцевой фасад.

Фрагмент фасада №3.
Несущие стены из кирпича или монолитного железобетона

Фрагмент фасада №4.
Самонесущие стены из сборных железобетонных панелей каркасного
здания

1

2

3

4

5

6

7

8а

8б

8в

9

10
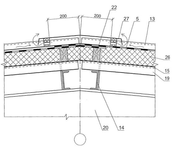
Экспликация материалов и деталей к узлам покрытия с кровлей из профилированных стальных листов
|
№ поз. |
Наименование |
№ поз. |
Наименование |
|
1 |
Несущий стальной профилированный настил |
21 |
Гребенчатый уплотнитель из пористой резины |
|
2 |
Стальной профилированный настил |
22 |
Труба |
|
3 |
Пароизоляция |
23 |
Стальной квадратный стакан с фланцем |
|
4 |
Ветрозащита из пленки "Тайвек" |
24 |
Дополнительные прогоны |
|
5 |
Теплоизоляция |
25 |
Хомут |
|
6 |
Термовкладыш из бакелизированной фанеры |
26 |
Зонт из оцинкованной стали |
|
7 |
Опорный элемент из стали d = 3 мм |
27 |
Коньковый защитный фартук |
|
8 |
Элемент жесткости d = 2 мм |
28 |
Гребенка |
|
9 |
Дистанционный прогон |
29 |
Слив |
|
10 |
Шайба стальная |
|
|
|
11 |
Герметизирующая лента |
|
|
|
12 |
Мастика герметизирующая |
|
|
|
13 |
Винт самонарезающий |
|
|
|
14 |
Заклепка комбинированная |
|
|
|
15 |
Винт самонарезающий |
|
|
|
16 |
Шайба неопреновая |
|
|
|
17 |
Заглушка из минераловатного мата |
|
|
|
18 |
Стальная гребенка по форме профлиста |
|
|
|
19 |
Оцинкованная сталь d = 0,8 мм |
|
|
|
20 |
Защитный фартук из оцинкованной стали d = 0,8 мм |
|
|

Покрытие с кровлей из профилированных стальных листов. Схема маркировки узлов.

2

3

4

5

1-1 (узел 5)
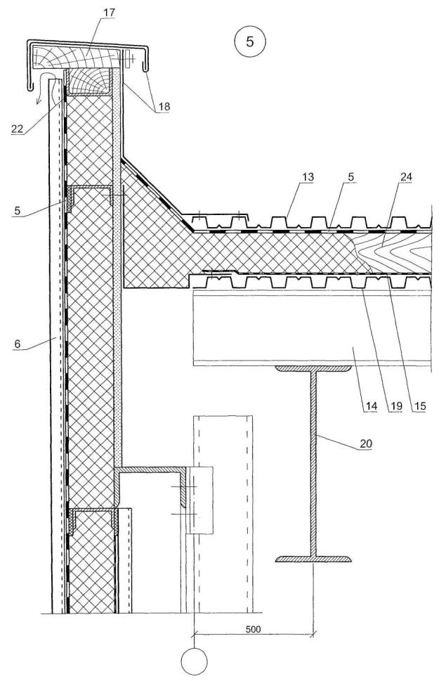
Экспликация материалов и деталей к узлам к ограждающим конструкциям мансард и чердаков
|
№ поз. |
Наименование |
№ поз. |
Наименование |
|
1 |
Гипсокартонный лист |
27 |
Шуруп ГОСТ 1144-80 |
|
2 |
Стропило деревянное |
28 |
Деревянный брусок 40´30 мм |
|
3 |
Цементно-песчаная черепица |
29 |
Стропило стальное |
|
4 |
Обрешетка |
30 |
Подкладочный слой |
|
5 |
Контробрешетка |
31 |
Стена |
|
6 |
Клинообразный брус |
32 |
Несущая плита |
|
7 |
Фартук свеса |
33 |
Наружная обшивка |
|
8 |
Желоб |
34 |
Стальной профлист |
|
9 |
Капельник |
35 |
Деревянный каркас |
|
10 |
Подшивка карниза |
36 |
Пол |
|
11 |
Утеплитель с покровным (ветрозащитным) слоем из «Тайвека» |
37 |
Фундамент |
|
12 |
Ветрозащитная пленка «Тайвек» |
38 |
Стойка деревянная |
|
13 |
Пароизоляция |
39 |
Рулонный самоклеящийся материал |
|
14 |
Сетка |
40 |
Дренажный желоб |
|
15 |
Оцинкованный гвоздь |
41 |
Труба |
|
16 |
Скоба крепления желоба |
42 |
Снеговой барьер |
|
17 |
Желоб |
43 |
Щипцовое окно |
|
18 |
Поролоновая полоса |
44 |
Вытяжка |
|
19 |
Сплошной настил |
45 |
Подкладочный слой |
|
20 |
Крепление хребтового бруска |
46 |
Кровля из оцинкованной стали, меди или цинк-титана |
|
21 |
Коньковая черепица |
47 |
Металлочерепица |
|
22 |
Коньковый брус |
48 |
Асбестоцементный или битумный волнистый лист |
|
23 |
Вентиляционная черепица |
49 |
Гибкая черепица |
|
24 |
Минеральная вата |
50 |
Стропило стальное |
|
25 |
Оконный блок |
51 |
Отмостка |
|
26 |
Обвязочный брус |
52 |
Перегородка |

Ограждающие конструкции мансард и чердаков




1а

1б

1в

2а

2б

3а

3б

4а

4б


3-3

В

7а

7б

8

9

10

11а

11б

11в

11г

12
Устройство защитного экрана с вентилируемой воздушной прослойкой в многослойной конструкции стены способствует уменьшению начальной влажности эффективной теплоизоляции, в летний период снижают теплопоступления через стены, а зимой - способствуют удалению парообразной влаги, проникающей в стену из помещения.
Наличие вентилируемой воздушной прослойки благоприятно сказывается на влажностном состоянии стены и поэтому наиболее эффективно применять такие конструкции стен в зданиях с повышенной влажностью воздуха в помещении.
При проектировании таких стен необходимо выявить зависимость между сопротивлением паропроницанию внутренней части ограждающей конструкции со слоем эффективной теплоизоляции и требуемой толщиной воздушной прослойки из условия обеспечения нормального влажностного режима стен в зимний период эксплуатации.
Влажностное состояние многослойных конструкций стен с эффективной теплоизоляцией и вентилируемой воздушной прослойкой зависит от их конструктивного решения. При этом необходимо учитывать значение коэффициентов паропроницаемости теплоизоляционного и конструкционного слоя. Рекомендуется, чтобы конструктивный слой был выполнен из материала с сопротивлением паропроницанию не менее 2 (м2·ч·Па)/мг и при этом отношение коэффициентов паропроницания материалов утеплителя и конструкционного слоя было не менее 3:1.
Расчет многослойных конструкций стен со слоем эффективной теплоизоляции и вентилируемой воздушной прослойкой включает:
- определение необходимой толщины теплоизоляционного слоя из условий невыпадения конденсата на внутренней поверхности ограждения и энергосбережения;
- определение параметров воздушной прослойки, обеспечивающих нормальный температурно-влажностный режим стенового ограждения.
Термическое сопротивление слоя эффективного утеплителя за исключением случаев, когда экран выполнен из тонкой (20 - 30 мм) панели «Сэндвич», следует определять без учета теплоизолирующих качеств экрана, а так как прослойка вентилируемая, необходимо ввести коэффициент 0,5 к величине термического сопротивления замкнутой воздушной прослойки.
Требуемое значение Rym определяют по формуле:
(1)
где:
- приведенное сопротивление теплопередаче, (м2·°С)/Вт,
принимаемое по табл. 4 СНиП
23-02-2003;
R1 - термическое сопротивление конструкционного слоя стены, (м2·°С)/Вт;
Rв.п. - термическое сопротивление замкнутой воздушной прослойки.
Влияние теплопроводных включений в виде металлических кронштейнов на снижение величины приведенного сопротивления теплопередаче учитывается коэффициентом теплотехнической однородности, значение которого в зависимости от коэффициента теплопроводности и толщины слоя теплоизоляции с несущей частью стены из кирпичной кладки или железобетона при количестве кронштейнов 1,75 мг/м2 определяется по графикам (рис. 1; 2; 3).
При другом количестве кронштейнов на 1 м2 стены значения, полученные по графикам пересчитываются по формуле:
где: пк - количество кронштейнов на 1 м2 стены;
Ro - сопротивление теплопередаче стены по глади;
Ro - сопротивление теплопередаче стены без учета воздушной прослойки, (м2·С)/Вт;
r - коэффициент теплотехнической однородности, определяемый по графикам (см. рис. 1;2 и 3).
При этом принятая толщина слоя эффективного утеплителя должна быть не менее величины, найденной из условия, при котором температура на границе утеплителя с конструкционным слоем не будет ниже - 5 °С.
(3)
где: aпр - коэффициент теплоотдачи поверхности воздушной прослойки, принимаемый равным 10,0 Вт/(м2·°С).
Целью аэродинамического расчета является определение давления в воздушной прослойке, обусловленного гравитационными силами и ветровой нагрузкой, а также скорости движения воздуха в воздушной прослойке с учетом потерь на местные сопротивления.
Естественная вентиляция имеет место, если воздушная прослойка образована сплошным экраном, в качестве которого, например, используется профилированный металлический лист, металлические кассеты и другие изделия, при которых исключаются горизонтальные и вертикальные зазоры между отдельными элементами экрана. При использовании экранов из отдельных облицовочных изделий, таких как асбестоцементные, цементно-волокнистые плоские листы, плиты керамогранита и т.п. элементов, между ними предусматриваются зазоры для возможности восприятия ими температурных и других деформаций.
В этих случаях воздушная прослойка продувается наружным воздухом через горизонтальные и вертикальные зазоры между облицовочными элементами экрана. И поэтому, строго говоря, нельзя рассматривать такую воздушную прослойку с естественной вентиляцией по высоте стены, вызываемой гравитационным и ветровым давлением, в связи с тем, что один и тот же зазор является и местом входа и выхода воздуха.
Такие воздушные прослойки рассматривать непрерывными по высоте можно с определенной степенью условности.
Характер вентиляции воздушной прослойки в пределах высоты облицовочной плиты экрана достаточно сложен, характеризуется турбулентным движением воздуха в ней и поэтому может описан зависимостями, справедливыми для непрерывной по высоте вентилируемой прослойки только с некоторой степенью достоверности.
Движение воздуха в воздушной прослойке происходит под действием гравитационного и ветрового давлений.
Р = Рg + Рв (4)
Гравитационное давление кг/м2 определяется по формуле:
где: Н - высота вентилируемой части стены, м;
gн , gпр - соответственно плотность воздуха снаружи и внутри прослойки, кг/м3.
Ориентировочно величину Рg можно принять:
Рg = 4·10-3·(tср - tн)·H (6)
где: tср - средняя температура воздуха в прослойке, °С;
tн - температура наружного воздуха, °С.
Средняя температура воздуха в вентилируемой прослойке может быть определена по формуле:
где:
А = kв · tв + kн · tн ; (8)
W = 3600·F·V·gnp; (9)
V - скорость ветра в воздушной прослойке, м/с;
tв и tн - соответственно температура воздуха в помещении и наружного воздуха, °С;
kв и kн - коэффициенты теплопередачи внутренней и наружной частей стены (от воздушной прослойки до воздуха помещений и от воздушной прослойки до наружного воздуха), Вт/(м2·°С);
F - площадь сечения воздушной прослойки шириной 1 м, м2;
С - удельная теплопроводность воздуха, 0,001 Дж/(кг·°С);
W - количество воздуха, проходящее через сечение воздушной прослойки площадью F, кг/(м·ч).
Температура воздуха в любом сечении воздушной прослойки на расстоянии X от входа в прослойку определяется по формуле:
При расчете kв и kн коэффициент теплообмена в воздушной прослойке aпр находится по формуле:
где: d - эквивалентный диаметр участка воздушной прослойки шириной 1 м, м.
Зависимость плотности воздуха, кг/м3, от его температуры приближенно может быть представлена формулой:
(12)
Ветровое давление определяется по формуле:
(13)
где: Vв - скорость ветра, м/с;
k1 и k2 - аэродинамические коэффициенты на входе и выходе воздуха, в соответствии со СНиП 2.01.07-85;
k1 - 0,8 для наветренных фасадов;
k2 - определяется по таблице 1;
Значения коэффициента k2
|
L/B |
Н/В |
||
|
0,5 |
1,0 |
2,0 |
|
|
£1 |
-0,4 |
-0,5 |
-0,6 |
|
³2 |
-0,5 |
-0,6 |
-0,6 |
Н - высота здания до карниза, м;
L - длина фасада, перпендикулярного направлению ветра, м;
В - ширина здания в направлении ветра, м;
k3 - коэффициент учета изменения ветровой нагрузки в зависимости от высоты здания и типа местности, определяемый по таблице 2.
Значения коэффициента k3
|
Тип местности |
Высота, м, над поверхностью земли |
||||||
|
10 |
20 |
40 |
60 |
100 |
200 |
350 и более |
|
|
Открытая местность |
1,0 |
1,25 |
1,55 |
1,75 |
2,1 |
2,6 |
3,1 |
|
Город с окраинами (местность, покрытая препятствиями 10 м) |
0,65 |
0,9 |
1,2 |
1,45 |
1,8 |
2,45 |
3,1 |
q - ускорение силы тяжести, м/с2.
Скорость воздуха в воздушной прослойке вычисляют по формуле:
где:
- сумма
аэродинамических местных сопротивления течению воздуха:
где: xвх, xпов, xвых - значения аэродинамических местных сопротивлений в прослойке у входа, поворота и выхода в зависимости от принятой конструкции входных и выходных участков можно принять равными:
xвх = 0,54; xпов = 1¸1,5; xвых = 0,5
Для прямых вертикальных воздушных прослоек минимальное и максимальное значение суммарного коэффициента местного сопротивления:
(16)
(17)
При расположении приточных и вытяжных отверстий воздушной прослойки на одной стороне здания формула для определения скорости воздуха в ней имеет вид:
Установлено, что ветер практически при всех возможных ориентациях и конфигурациях зданий увеличивает воздухообмен в прослойке, в связи с чем в теплотехническом расчете следует учитывать минимальную скорость движения воздуха в прослойке, вызываемую только гравитационным напором без влияния ветра.
Для надежной вентиляции воздушной прослойки минимальная скорость воздуха в ней должна быть не ниже 0,2 м/с. В противном случае следует понизить сопротивление на входе и выходе, например, за счет увеличения размеров отверстий.
Минимальная ширина входного и выходного отверстия должна быть не менее 0,04 м.
Скорость движения воздуха в вентилируемой воздушной прослойке определяют методом итерации при совместном решении уравнений (7 и 14). Предварительно приняв температуру воздуха в прослойке равной 0,8tн при aпр = 10 Вт/(м2·°С), вычисляют скорость движения воздуха по формуле (18), после чего находят среднюю температуру воздуха в прослойке, соответствующую этой скорости по формуле.
Допустимая разница между предыдущим и последующим значениями скорости должна быть в пределах 5 %.
Упругость водяного пара воздуха, выходящего из прослойки, вычисляют по формуле:
где:
А' = mв · eв + mн · eн ; (20)
W' = 3600·F·V; (21)
(22)
ев и ен - соответственно упругость водяного пара воздуха помещения и наружного воздуха, Па;
mв и mн - соответственно коэффициенты паропроницания внутренней и наружной части стены, мг/(м·ч·Па);
Н - высота вентилируемого участка стены, м;
W' - количество воздуха, м3, проходящее через сечение воздушной прослойки площадью F за 1 ч.
Температура внутренней поверхности экрана у входа воздуха в прослойку, °С, находим по формуле:
Максимальная упругость водяного пара, Па, у внутренней поверхности экрана в месте выхода воздуха из прослойки можно определить по следующим формулам:
для tэ от 0 °С до +20 °С
Е = 610,6 · ехр(0,0726 · tэ - 0,276 · 10-3 · tэ2) (23)
для tэ от 0 °С до -20 °С
Е = 610,6 · ехр(0,082 · tэ - 0,35 · 10-3 · tэ2) (24)
для tэ от -21 °С до -45°С
Е = 610,6 · ехр(0,082 · tэ - 0,4335 · 10-3 · tэ2) (25)
При соблюдении условия е £ Ев отсутствует конденсация влаги на внутренней поверхности экрана стены с вентилируемой воздушной прослойкой.
В многослойных конструкциях с вентилируемой прослойкой необходимо обеспечивать ветрозащиту эффективной теплоизоляции паропроницаемыми материалами типа «Тайвек» во избежание повышения коэффициента теплопроводности ее вызываемой инфильтрацией воздуха.
Величина коэффициента теплопередачи ограждающей конструкции с учетом инфильтрации воздуха определяется по формуле:
(26)
где: с - теплоемкость воздуха, принимаемая равной 0,001 Дж/кг·°С;
Ro - сопротивление теплопередаче ограждающей конструкции, (м2·°С)/Вт;
W - количество воздуха, которое будет проникать в ограждение при отсутствии ветрозащиты, кг/(м2·ч), определяемое по формуле:
(27)
где: DР - разность давлений воздуха со стороны воздушной прослойки и помещения, Па;
- сумма сопротивлений воздухопроницанию всех
слоев ограждающей конструкции, (м2·ч·Па)/кг;
Сопротивление воздухопроницанию материалов вычисляется по формуле:
(28)
где: d - толщина слоя, м;
i - коэффициент воздухопроницаемости материала, кг/(м·ч·Па).
При совместном учете действия ветра и разности температур величина суммарного давления, Па может быть определена по приближенной формуле:
(29)
где: Vв - расчетная скорость ветра, м/с;
Н - расстояние по вертикали от середины этажа до нейтральной зоны, м. Положение нейтральной зоны принимается на расстоянии 0,7 высоты здания от уровня земли.
п - коэффициент, учитывающий несовпадение во времени расчетной скорости ветра и средней температуры воздуха в прослойке, принимаемый равным 0,6;
gпр - плотность воздуха в воздушной прослойке, кг/м3.
Температура в рассматриваемой плоскости ограждения при отсутствии ветрозащиты теплоизоляционного слоя находится по формуле:
(30)
где: tпр - средняя температура воздуха в воздушной прослойке, °С.
ПРИМЕР 1: Рассчитать теплотехнические параметры многослойной стены с вентилируемой воздушной прослойкой административного здания.
Несущая часть стены - кирпичная кладка толщиной 510 мм с lкл = 0,87 (м·°С)/Вт, оштукатуренная слоем толщиной 25 мм со стороны помещения. Теплоизоляция - минераловатные плиты lут = 0,045 (м·°С)/Вт. Ширина воздушной прослойки в = 0,05 м. Экран - металлические кассеты с отбортовкой по 4-м сторонам. Количество кронштейнов 1,9 шт/м2, высота воздушной прослойки - 12 м. место строительства - г. Москва. Расчетные параметры воздуха tн = - 28 °С, tв = 18 °С, jвн = 55 %.
1. Вычисляем ГСОП:
ГСОП = (tв - tom.nep)·Zom.nep = (18 + 3,1)·214 = 4515.
2. По табл. 4 СНиП 23-02-2003 по интерполяции находим:
![]()
3. Требуемое термическое сопротивление слоя теплоизоляции при коэффициенте теплотехнической однородности r = 1.

dут = 1,72 · 0,045 = 0,077 м. Принимаем dут = 0,08 м.
4. Определяем коэффициент теплотехнической однородности стены при кронштейнах массой до 0,7 кг и количестве их 1,9 на м2. Для этого по графику (рис. 1) находим r' = 0,9 (по интерполяции).
По формуле (2) вычисляем:

где
- сопротивление
теплопередаче стены без учета воздушной прослойки.

Тогда требуемая толщина теплоизоляции с учетом коэффициента теплотехнической однородности составит:
dут = 0,077 / 0,95 = 0,08 м. Принимаем dут = 80 мм.
Определение скорости движения воздуха, температуры воздуха и коэффициента теплообмена в прослойке производим методом итерации при расчетной зимней температуре наиболее холодного месяца (января), tн = -10,2 °С.
На первом этапе итерации.
5. Принимаем среднюю температуру воздуха в прослойке равной tnp = 0,8·tн = 0,8·(-10,2) = - 8,2 °С и aпр = 10 Вт/(м2·°С).
6. Определяем скорость движения воздуха в прослойке по формуле:

где:
7. Вычисляем:
![]()
![]()
![]()
![]()
8. Находим:
А = kв · tв + kн · tн = 0,38·18 + 7,14·(-10,2) = - 65,9 Вт/м2
kв + kн = 0,38 + 7,14 = 7,52 Вт/(м2·°С)
9. Количество воздуха, проходящего через прослойку:
W = 3600·F·V·gnp = 3600·0,06·0,8·1,333 = 230 кг/м3
где: ![]()
10. Средняя температура воздуха в прослойке:

На втором этапе итерации.
11. Определяем:
![]()
12. Находим:
![]()
13. Вычисляем:
W = 3600·0,06·0,29·1,339 = 83,8 м2/ч
14. Значение:

где


![]()
15. Вычисляем:
![]()
![]()
![]()
![]()
А = 0,35·18 + 2,56·(-10,2) = - 19,8 Вт/м2
kв + kн = 0,35 + 2,56 = 2,91 Вт/(м2·°С)
На третьем этапе итерации.
17. Вычисляем:
![]()
18. Находим:
![]()
W = 3600·0,06·0,43·1,34 = 124 м2/ч

![]()
![]()
![]()
![]()
![]()
А = 0,35·18 + 2,78·(-10,2) = - 22,0 Вт/м2
kв + kн = 0,35 + 2,78 = 3,13 Вт/(м2·°С)

На четвертом этапе итерации.
19. Вычисляем:
![]()
![]()
W = 3600·0,06·0,375·1,34 = 108 м2/ч

![]()
![]()
![]()
![]()
![]()
А = 0,35·18 + 2,7·(-10,2) = - 21,2 Вт/м2
kв + kн = 0,35 + 2,7 = 3,0 Вт/(м2·°С)

В этом случае скорость воздуха в прослойке:
![]()
20. Так как на четвертом
этапе итерации скорость воздуха в прослойке изменилась
менее, чем на 5 %,
поэтому принимаем
![]()
Для оценки возможности конденсатообразования на внутренней поверхности экрана проводим расчет влажностного режима в воздушной прослойке.
21. Вычисляем коэффициент паропроницания части покрытия от помещения до воздушной прослойки.

22. При tв = +1,8 °C и j = 55% ев = 2064·0,55 = 1135 Па;
tн = -10,2 °С и j = 70 % ев = 255·0,7 = 178 Па.
23. Вычисляем:
А' = 0,197·1135 = 223,6 Вт/(м2·ч)
W' = 3600·0,06·0,39 = 84 м2/ч
24. Определяем по формуле (10) температуру воздуха у выхода из воздушной прослойки в зоне наибольшей вероятности конденсации влаги:

25. Находим:

26. Определяем упругость водяного пара, выходящего из прослойки по формуле (19):

27. Температура воздуха на внутренней поверхности экрана у выхода воздуха из прослойки вычисляется по формуле (23):
![]()
28. Максимальная упругость водяного пара у внутренней поверхности экрана из кассет:

29. Так как е = 202 Па < Е = 269 Па конденсация влаги на внутренней поверхности экрана отсутствует.
ПРИМЕР 2: Определить при отсутствии ветрозащиты утеплителя снижение теплоизолирующих качеств многослойной стены, представленной в примере ... 5-этажного здания с высотой этажа 2,8 м, строящегося в г. Москве при расчетной скорости ветра VB = 5 м/с, высоте здания - 14 м, ширине -14 м, длине - 30 м.
1.При
![]()
k2 = - 0,6 k3 = 0,75 (по интерполяции)
3. Определяем суммарное давление:

4. Находим:
![]()
5. Вычисляем:
W = 21,8/394 = 0,055 кг/(м2·ч)
6. Определяем коэффициент теплопередачи части стены от воздушной прослойки до помещения:
![]()
Ro = 1/0,39 = 2,56 (м2·°С)/Вт
7. Снижение сопротивления теплопередаче стены при отсутствии ветрозащиты теплоизоляции составило 2,84/2,56 = 1,11, т. е. 11 %.
8. Температура внутренней поверхности слоя теплоизоляции при отсутствии ветрозащиты составит:

9. При ветрозащите теплоизоляции температура на ее внутренней поверхности равна:
![]()
10. Температура наружной поверхности теплоизоляции:
![]()
11. Температурный перепад:
- при отсутствии ветрозащиты
Dt = 7,1 + 6,8 = 13,9 °С
- при ветрозащите
Dt = 11 + 6,8 = 17,8 °С
12. Из условия равенства теплового потока:

Таким образом, коэффициент теплопроводности теплоизоляции за счет инфильтрации воздуха возрос более, чем вдвое.
В утепленных покрытиях с кровлями из листовой стали, меди, профнастила, металлочерепицы во избежание конденсации влаги на поверхности кровли, обращенной к воздушной прослойке необходимо обеспечивать естественную вентиляцию прослойки наружным воздухом.
Для наклонной воздушной прослойки формула (5) принимает вид:
Рg = l·sina·(gн - gпр)
где: l - длина ската кровли;
a - уклон кровли.
Температура воздуха изменяется по длине прослойки, а следовательно изменяется и величина сопротивления теплопередаче ограждения по длине прослойки.
Температура tx воздуха в прослойке на расстоянии lx, м, от места входа в прослойку может быть определена по формуле:
(31)
где: А = kв · tв + kн · tн ;
W = 3600·F·V·gnp;
V - скорость движения воздуха в прослойке, м/с;
tв и tн - соответственно температура воздуха в помещении и наружного воздуха, °С;
kв и kн - соответственно коэффициенты теплопередачи части конструкции покрытия от воздушной прослойки до воздуха помещения и от воздушной прослойки до наружного воздуха, Вт/(м2·°С);
F - площадь сечения воздушной прослойки, м2;
С - удельная теплопроводность воздуха при значениях kв и kн в кВт/(м2·°С) равная 1005 Дж/(кг·°С), при значениях kв и kн в Вт/(м2·°С) равная 1,005 Дж/(кг·°С);
W - количество воздуха, проходящее через сечение воздушной прослойки площадью сечения F, за 1 ч.
Как было указано в Приложении 1, коэффициент теплообмена в воздушной прослойке может быть определен по формуле (11):
(11)
где: d - эквивалентный диаметр участка воздушной прослойки шириной 1 м, м.
Таким образом, можно определить значения температуры в нескольких сечениях по длине воздушной прослойки, на основании которых вычислить ее среднее значение.
Средняя температура воздуха в вентилируемой прослойке может быть также определена по формуле:
(32)
Скорость движения воздуха в прослойке вычисляется по формуле:
(33)
где:
сумма
аэродинамических местных сопротивлений течению воздуха в прослойке, вычисляемая
по формуле (15)
(15)
где: xвх, xпов, xвых - значения аэродинамических местных сопротивлений в прослойке у входа, поворота и выхода из прослойки, которые могут быть приняты равными:
xвх = 1; xпов = 0,75; xвых = 1 (34)
Тогда
(35)
Для надежной вентиляции воздушной прослойки минимальная скорость воздуха в ней должна быть не менее 0,2 м/с.
В противном случае следует понизить сопротивление на входе и выходе за счет увеличения размера отверстий. Минимальная толщина входного и выходного отверстий должна быть не менее 0,04 м.
Скорость движения воздуха в воздушной прослойке следует определять методом итерации при совместном решении уравнений (32) и (33).
При этом сначала среднюю температуру воздуха в прослойке принимают равной 0,8tн, а коэффициент теплообмена aпр =10 и вычисляют скорость движения воздуха в прослойке по формуле (33). Затем определяют среднюю температуру воздуха в прослойке, соответствующую этой скорости по формуле (32). Расчет заканчивают при условии, когда разница между предыдущим и последующим значениями скорости движения воздуха не превысит 5 %. Упругость водяного пара, выходящего из прослойки может быть определена по формуле:
(36)
где:
А' = mв · eв + mн · eн ; (20)
W' = 3600·F·V; (21)
(22)
ев и ен - соответственно упругость водяного пара воздуха помещения и наружного воздуха, Па;
mв и mн - соответственно коэффициенты паропроницания части покрытия от помещения до воздушной прослойки и части покрытия от воздушной прослойки до наружного воздуха, мг/(м·ч·Па);
l - длина воздушной прослойки, м;
W' - количество воздуха, м , проходящее через сечение воздушной прослойки площадью сечения F за 1 ч.
Температура внутренней поверхности кровли у выхода воздуха из прослойки вычисляется по формуле (23):
(23)
Для исключения возможности конденсатообразования разности соответствующее этой температуре значение упругости водяного пара Е должно быть больше, чем величина «е».
ПРИМЕР: Рассчитать покрытие мансардного этажа с вентилируемой воздушной прослойкой и кровлей из листовой стали (рис. 121) жилого дома, строящегося в районе с ГСОП = 4000 и средней температурой самого холодного месяца tн = - 10 °С.

Конструктивное решение покрытия мансарды
1. В соответствии со
СНиП 23-02-2003
требуемое сопротивление теплопередаче покрытия составляет ![]()
2. Определяем требуемую толщину теплоизоляции из минплиты с lут = 0,05 Вт/(м·°С)

dут = (4,2 - 1,01)· 0,05 = 0,159 м. Принимаем dут = 160 мм.
3. Сопротивление теплопередаче нижней части покрытия (от воздушной прослойки до воздуха помещения):

где: aн = 12 Вт/(м2·°С) - коэффициент теплоотдачи для чердачных перекрытий.
4. Сопротивление теплопередаче верхней части покрытия (от воздушной прослойки до наружного воздуха):
![]()
5. Коэффициенты теплопередаче нижней и верхней части конструкции покрытия:
kв = 1/3,973 = 0,251 Вт/(м2·°С)
kн = 1/0,425 = 2,35 Вт/(м2·°С)
6. При температуре наружного воздуха tн = - 10 °С примем среднюю температуру воздуха в воздушной прослойке 0,8·tн = 0,8·(-10) = -8 °С и минимальную толщину воздушной прослойки 0,04 м.
7. Плотность наружного воздуха и воздуха в воздушной прослойке:
![]()
![]()
8. Скорость движения воздуха в прослойке:

где: ![]()
9. Количество воздуха, проходящего через сечение воздушной прослойки площадью:
Fnp = 0,04·1 = 0,04 м2
W = 3600·0,04·0,37·1,33 = 71 кг/ч
10. Находим:
А = kв · tв + kн · tн = 0,251 · 20 - 2,35 · 10 = 18,48 Вт/м2
11. Для любого сечения, отстоящего на расстоянии x = lx·sina, м от входного отверстия температуру воздуха в прослойке определяем по формуле:

12. Выполняем расчет температуры воздуха в прослойке от входного отверстия начиная с х = 0,25 м и далее через каждый метр. Для этих же сечений производим расчет коэффициента теплопередачи по формуле:
![]()
Так как x = lx·sina, то ![]()
Результаты расчета сводим в таблицу 31.
Результаты расчета теплотехнических параметров воздушной прослойки
Таблица 31
|
x, м |
Расстояние от входа в прослойку по ее длине, м |
Расчет температуры воздуха, tx, °C |
Расчет «К» |
||||
|
0,018·х |
е-0,018·х |
-7,52·е-0,018 |
tx |
tв - tx |
К, Вт/(м2·оС) |
||
|
0,25 |
0,5 |
0,009 |
0,99 |
-7,4 |
-9,95 |
29,95 |
0,25 |
|
0,75 |
1,5 |
0,027 |
0,97 |
-7,3 |
-9,9 |
29,9 |
0,25 |
|
1,25 |
2,5 |
0,045 |
0,95 |
-7,1 |
-9,8 |
29,8 |
0,249 |
|
1,75 |
3,5 |
0,064 |
0,94 |
-7,0 |
-9,8 |
29,8 |
0,249 |
|
2,25 |
4,5 |
0,082 |
0,92 |
-6,9 |
-9,7 |
29,7 |
0,248 |
|
2,75 |
5,5 |
0,1 |
0,9 |
-6,7 |
-9,65 |
29,65 |
0,248 |
|
3,25 |
6,5 |
0,12 |
0,88 |
-6,6 |
-9,6 |
29,6 |
0,247 |
|
|
|
|
|
|
tср = -9,8°C |
|
Кср = 0,249 |
13. Средняя
температура воздуха в воздушной прослойке
, а среднее значение коэффициента теплопередачи конструкции
покрытия к = 0,249 Вт/(м2·°С) или сопротивление теплопередачи
Ro = 1/0,249 = 4,0 (м2·°С)/Вт. Таким образом,
наличие вентилируемой воздушной прослойки снизило сопротивление теплопередаче
конструкции покрытия на 0,2 (м2·°С)/Вт, что должно быть
компенсировано дополнительным слоем теплоизоляции равным
![]()
14. Средняя температура воздуха в вентилируемой воздушной прослойке может быть так же определена методом итерации.
На первом этапе итерации.
15. Для tnp = 0,8·tн = - 8 °С и gпр = 1,332 кг/м3
V = 0,37 м/с и W = 71 кг/ч
Вычисляем среднюю температуру воздуха в прослойке по формуле:

На втором этапе итерации.
16. Находим: ![]()
17. Скорость воздуха в прослойке:
![]()
18. При V = 0,12 м/с определяем aпр по формуле (11) и Rnp :

где


![]()
19. Вычисляем:
![]()
![]()
![]()
![]()
kв + kн = 0,23 + 1,38 = 1,61 Вт/(м2·°С)
20. Находим значения «А» и расход воздуха «W»:
А = 0,23·20 - 1,38·10 = -9,2 Вт/м2
W = 3600·0,04·1,341·0,12 = 23 кг/ч

На третьем этапе итерации.
22. При этой температуре воздуха в прослойке определяем:
![]()
23. Скорость воздуха:
![]()
24. Вычисляем:

![]()
25. Определяем:
![]()
![]()
![]()
![]()
А = 0,235·20 + 1,44·(-10) = -9,6 Вт/м2
W = 3600·0,04·1,34·0,165 = 32 м2/ч
kв + kн = 1,44 + 0,235 = 1,675 Вт/(м2·°С)
26. Вычисляем среднюю температуру воздуха в прослойке:

27. Проверяем значение скорости воздуха в воздушной прослойке:
![]()
Таким образом, тепло- и аэродинамические параметры воздушной прослойки составляют:
Vпр
= 0,165 м/с; aпр
= 2,67 Вт/м2·°С; ![]()
В итоге можно констатировать, что расчет средней температуры воздуха в вентилируемой воздушной прослойке выполненный методом итерации дает примерно на 2-2,5 % более точный результат, что обусловлено корректировкой значения «aпр» в зависимости от скорости и температуры воздуха в ней.
Для оценки возможности конденсатообразования на внутренней поверхности кровли из листовой стали проведен расчет влажностного режима в воздушной прослойке.
28. Вычисляем коэффициенты паропроницания части покрытия от помещения до воздушной прослойки и от воздушной прослойки до наружного воздуха:
где: Rn - сопротивление паропроницанию рулонного битумно-полимерного материала.
29. 
30. При tв = + 20 °С и j = 50 % ев = 2338·0,5 = 1169 Па;
tн = -10 °С и j = 70 % ен = 260·0,7 = 182 Па.
31. Вычисляем:
А' = 0,61 · 1169 + 8 · 182 = 730 + 1456 = 2186 Вт/(м2·ч)
W' = 3600 · 0,04 · 0,165 = 24 м2/ч
32. Так как наибольшая вероятность конденсации пара в покрытии будет у выхода из воздушной прослойки определим температуру в этом сечении, для чего воспользуемся формулой:

33. Находим:

34. Определяем упругость водяного пара, выходящего из прослойки по формуле:

35. Температура воздуха на внутренней поверхности кровли из листовой стали:
![]()
36. Максимальная упругость водяного пара у внутренней поверхности кровли из листовой стали:

37. При е = 231 Па < Е = 271 Па конденсация влаги на внутренней поверхности кровли из листовой стали отсутствует.
38. При отсутствии вентиляции воздушной прослойки сопротивление паропроницанию ее с учетом конвекции воздуха составит:
![]()
39. Определяем температуру воздуха в прослойке, для чего вычислим ее значение на поверхностях:
![]()
![]()
![]()
Упругость водяного
пара при
равна Е = 363
Па.
40. Количество пара, поступающего к зоне конденсации:
![]()
где:
![]()
Итак, на внутренней поверхности кровли из листовой стали при отсутствии вентиляции воздушной прослойки будет конденсироваться на м2 в час около 500 г влаги.
|
ГОСТЫ, СТРОИТЕЛЬНЫЕ и ТЕХНИЧЕСКИЕ НОРМАТИВЫ. Некоммерческая онлайн система, содержащая все Российские Госты, национальные Стандарты и нормативы. В Системе содержится более 150000 файлов нормативно-технической документации, действующей на территории РФ. Система предназначена для широкого круга инженерно-технических специалистов. Copyright © www.gostrf.com, 2008 - 2026 |