Крупнейшая бесплатная информационно-справочная система онлайн доступа к полному собранию технических нормативно-правовых актов РФ. Огромная база технических нормативов (более 150 тысяч документов) и полное собрание национальных стандартов, аутентичное официальной базе Госстандарта. GOSTRF.com - это более 1 Терабайта бесплатной технической информации для всех пользователей интернета. Все электронные копии представленных здесь документов могут распространяться без каких-либо ограничений. Поощряется распространение информации с этого сайта на любых других ресурсах. Каждый человек имеет право на неограниченный доступ к этим документам! Каждый человек имеет право на знание требований, изложенных в данных нормативно-правовых актах!

  


 

ФЕДЕРАЛЬНОЕ АГЕНТСТВО ПО ОБРАЗОВАНИЮ

МИНИСТЕРСТВА ОБРАЗОВАНИЯ И НАУКИ РОССИЙСКОЙ ФЕДЕРАЦИИ

ГОСУДАРСТВЕННОЕ ОБРАЗОВАТЕЛЬНОЕ УЧРЕЖДЕНИЕ ДОПОЛНИТЕЛЬНОГО ПРОФЕССИОНАЛЬНОГО ОБРАЗОВАНИЯ

"ГОСУДАРСТВЕННАЯ АКАДЕМИЯ ПРОФЕССИОНАЛЬНОЙ ПЕРЕПОДГОТОВКИ И ПОВЫШЕНИЯ КВАЛИФИКАЦИИ РУКОВОДЯЩИХ РАБОТНИКОВ И СПЕЦИАЛИСТОВ ИНВЕСТИЦИОННОЙ СФЕРЫ"

(ГОУ ДПО ГАСИС)

 

Утверждаю:

Начальник Госжилинспекции

Утверждаю:

Ректор ГОУ ДПО ГАСИС

А.М. Стражников

А.С. Щенков

 

 

ТЕХНИЧЕСКИЕ УКАЗАНИЯ ПО ГЕРМЕТИЗАЦИИ СТЫКОВ ПОЛНОСБОРНЫХ ЗДАНИЙ ПОЛИМЕРАМИ

 

 

Согласовано:

Разработал

Директор ООО

Завод герметизирующих материалов

Научный руководитель

проблемы "Гидрозащита"

Г.А. Савченкова

О.А. Лукинский

 

Москва 2006

СОДЕРЖАНИЕ

Предисловие

1. Общие положения

2. Герметизирующие материалы

3. Типовые конструктивные решения стыковых соединений

Стыки закрытого типа

Стыки дренированного типа

Стыки открытого типа

4. Технология герметизации стыков при новом строительстве

5. Технология ремонтной герметизации швов

Герметизация швов при их первичном ремонте

Герметизация стыковых соединений одно- и трехслойных стеновых панелей

Герметизация стыковых соединений одномодульных панелей и блоков

6. Механизмы, инструменты и приспособления для выполнения герметизации при строительстве и ремонте

7. Контроль качества герметизации

8. Техника безопасности и производственная санитария

Приложение 1 Характеристики стыковых соединений полносборных зданий

Приложение 2 Пример расчета провиса - компенсатора

Литература

Приложение 3 ЖУРНАЛ-ВЕДОМОСТЬ работ по ремонтной герметизации стыков

Приложение 4 Составы профилактических паст

 

Предисловие

Настоящие указания разработаны членом-корреспондентом Жилищно-коммунальной Академии России профессором О.А. Лукинским. Указания содержат проектные решения по применению разработанных и выпускаемых "Заводом герметизирующих материалов" в г. Дзержинске Нижегородской обл. (ЗГМ) универсальных самоклеящихся и герметизирующих материалов ремонтно-строительного назначения для герметизации стыков наружных стен полносборных зданий, выполняемых как в ходе нового строительства, так и при ремонте.

В основу настоящего нормативного документа положены лабораторно-производственные исследования НИИМосстроя, ЦНИИПромзданий, ГАСИС, МНИИТЭП и "ЗГМ". При составлении указаний были использованы следующие нормативные документы, в разработке которых автор принимал непосредственное участие: "Руководство по технологии герметизации стыков при ремонте наружных стен крупнопанельных и крупноблочных зданий", МосжилНИИпроект и МНИИТЭП, М., 1982; ВСН 13-83 "Указания по герметизации стыков при ремонте полносборных жилых зданий мастикой АМ-0,5 и армогерметиками". Указания составлены с учетом: СНиП 3.03.01-87 "Несущие и ограждающие конструкции" раздел 3 "Монтаж сборных железобетонных и бетонных конструкций"; Инструктивное письмо ЦНИИЭП жилища по устройству водо- и воздухоизоляции стыков панелей наружных стен в крупнопанельных зданиях, М., 1983; "Рекомендации по ремонту стыков панелей наружных стен полносборных домов", ЦНИИЭП жилища (при участии АКХ им. К.Д. Памфилова), М., 1987.

На самоклеящиеся и мастичные герметики "ЗГМ" (товарный знак № 229118) получены: Сертификат соответствия СК № 12-00345 Госстандарта России; Сертификат соответствия № РОСС RU.CJI44.H00041 Госстроя России; Санитарно-эпидемиологическое заключение № 52.20.05.577.П.000242.05.04; Сертификат пожарной безопасности № ССПБЖ1.ОП019.Н00077.

Указания предназначены проектировщикам, инженерно-техническому персоналу домостроительных предприятий и организациям, выполняющим ремонт и техническую эксплуатацию зданий, а также для контролирующих органов.

1. Общие положения

1.1. Технические решения настоящих "Указаний" распространяются только на герметизирующие материалы "Завода герметизирующих материалов" в г. Дзержинске Нижегородской обл., поэтому замену указанных материалов другими следует согласовывать с соответствующей проектной или исследовательской организацией, при этом строго соблюдая соответствующие нормативные документы.

1.2. Швы*, загерметизированные герметиками "ЗГМ", препятствуют переувлажнению прилегающих к ним участков наружных стен и исключают возможность продувания и проникания атмосферной влаги на внутренние поверхности ограждений.

* Швы - загерметизированные стыковые соединения строительных конструкций.

1.3. Старение эластических герметизирующих материалов сопровождается возрастанием жесткости, т.е. модуля упругости, что ведет к росту внутренних напряжений, а, следовательно, к неизбежной деструкции (разрушению). Учитывая эти факторы в "Указаниях…." предложены такие конструктивные решения межпанельных (блочных) швов, которые не только обеспечивают герметичность (водо- и воздухонепроницаемость) более 15 лет, но и ремонтопригодны.

1.4. При обнаружении инфильтрации влаги или воздуха в помещение целесообразно оперативно выполнить ремонтную герметизацию снаружи, обязательно счистив старый герметик. В противном случае утеплитель и кромки панелей (блоков) подвергнутся интенсивному разрушению под воздействием попеременного замораживания-оттаивания, а самоуплотнение шва превратится в "мостик холода". Обычно это выражается в темных пятнах и черной плесени в помещениях при резком понижении температуры у наружных стен. Следует учитывать, что плесень (грибы) разрушают не только отделочные материалы и ограждающие конструкции, но и опасны для здоровья людей.

1.5. Следует иметь в виду, что герметики в загерметизированных стыковых соединениях строительных конструкций подвергаются не только воздействию окружающей среды (дождь, снег, лед, "кислотный дождь", УФ облучение), но и растяжению-сжатию при температурных колебаниях, ветре, усадке** и ползучести бетона, сдвигу при неравномерной осадке отдельных частей здания, т.е. шов "работает" в трехосном напряженном состоянии. Поэтому при выполнении лабораторных исследований герметизирующих материалов необходимо подвергать испытаниям по возможности конкретные конструкции швов при комплексном воздействии указанных факторов (рис. 1.1) (Приложение 1).

** Существенное влияние на величину раскрытия стыков оказывает усадка стеновых панелей, которая заканчивается к 3 - 5 году эксплуатации здания. Размер этих деформаций достигает 30 - 35% от деформаций, вызванных температурными колебаниями. В результате суммарное раскрытие стыка в сопряжении двухмодульных панелей в средней полосе России достигает 4,5 - 5 мм.

1.6. При герметизации стыковых конструкций следует иметь в виду, что при прочих равных условиях, чем больше отношение толщины герметика к ширине шва, тем большим напряжениям он подвергается. Толщина слоя герметика должна быть более чем в два раза меньше ширины шва. Этот фактор особенно важен при герметизации стыков, устье которых шире 10 мм, что, к сожалению, характерно для полносборного строительства России (рис. 1.2).

Рис. 1.1. Схемы характерных деформаций стыкуемых конструкций:

а - деформация осадки, б - температурные деформации (сжатие-растяжение), в, г - деформации сдвига, д - трехосное деформированное состояние

1.7. На рис. 1.3 показаны характерные конструктивные решения неправильной герметизации устья стыков в панельных и блочных зданиях.

1.8. На рис. 1.4 показаны характерные ошибки оклеечной герметизации стыков полносборных зданий и как "работает" герметик в шве с правильно выполненной оклеечной герметизации.

1.9. На рис. 1.5 показана "работа" оклеечного герметика в трехосном, напряженном состоянии. Анализ "работы" правильно выполненного оклеечного шва показывает, что герметик всегда в ненапряженном состоянии за счет провиса-компенсатора, а, следовательно, такой шов повышенной долговечности (Приложение 2).

К преимуществам оклеенных швов следует отнести и ремонтопригодность, и минимальный расход герметизирующих материалов, т.к. слой мастичного герметика в заливочном (обмазочном) шве в три раза больше, чем в оклеенном.

1.10. Основным преимуществом самоклеящихся герметиков является исключительная технологичность, т.е. простота выполнения герметизации при сравнительно низкой стоимости. Кроме того, упрощается технология ремонта, как за счет упрощения подготовительных работ, так и за счет аутогезионных (самосцепления) самоклеящихся герметиков.

1.11. При выполнении ремонтной герметизации следует учитывать совместимость различных по химическому составу герметизирующих материалов (табл. 1.1). Самоклеящиеся герметики имеют преимущество по отношению к другим герметикам, т.к. адгезируют (липнут) практически ко всем строительным и большинству герметизирующих материалов.

1.12. Необходимость выборочного текущего ремонта дефектных (инфильтрующих) стыковых соединений определяют жилищные эксплуатационные организации (РЭО) на основании жалоб квартиросъемщиков. Решение необходимости капитального ремонта - сплошной герметизации наружных стыковых соединений дома при наличии более чем 30% дефектных стыков, принимает муниципальная служба префектуры.

1.13. При выборочном ремонте целесообразно руководствоваться следующими правилами. При протекании стыковых соединений панелей торцевых стен нужно отремонтировать все стыки торцевого фасада, включая стыки между панелями торцевых и продольных стен. Если протекает вертикальный стык продольного фасада, нужно герметизировать вертикальные и горизонтальные стыки между двумя смежными панелями по всей высоте здания над местом протечки. При протекании горизонтального стыка нужно герметизировать все стыки между панелями трех-четырех вертикальных рядов.


Изменение величин деформаций герметика-эластомера при расширении шва в зависимости от величины отношения глубины заполнения шва к его ширине. 

Изменение величин деформаций герметика-эластомера при расширении шва на 100%

Изменение величин деформаций герметика-эластомера при сжатии шва на 50 %

Рис. 1.2. Деформации герметиков при различных соотношениях толщины герметика (h) к ширине (Вш).


Рис. 1.3.
Характерные ошибки при герметизации полносборных зданий:

1 - стыкуемые панели, 2 - пористый уплотнитель, 3 - нетвердеющая мастика, 4 - цементно-песчаный раствор, 5 - эластомерный герметик

 

Рис. 1.5.
Схематические положения оклеечной герметизации при деформациях:

температурных, осадочных, сдвигающих и трехосном напряженном состоянии

Рис. 1.4.
Схемы правильно и неправильно выполненной оклеенной герметизации конструкций:

I - правильно выполненная герметизация с провисом-компенсатором, Г - положение компенсатора при деформации Растяжения (воздействие холода), II - неправильно выполненная герметизация (отсутствие компенсационного провиса), IГ - характерное разрушение оклеенного шва при деформации растяжения, III - правильно выполненная герметизация мастикой с антиадгезионной прокладкой типа скотч, IIГ - состояние герметика-эластомера при наличии антиадгезионного подслоя, IV - неправильно выполненная герметизация, IV" - характерное разрушение шва при деформации растяжения (отсутствие антиадгезионного подслоя)

Таблица 1.1.

Совместимость различных герметиков между собой и со строительными материалами

Наименование материалов

Ц.п.бетон (Раствор)

Кирпич

Дерево

Стекло

Металлы:

Мастики бит. Каучу-
ковые типа БСКМ

Эпокси-
мастики

Тиольные мастики

Силико-
новые мастики

Уретановые мастики

Самоклея-
щиеся герметики типа Абрис

1

2

3

4

5

6

7

8

9

10

11

12

Ц.п.бетон (Раствор)

СА

С

НС

НС

С

С

С

С

С

С

С

Кирпич

С

СП

СП

НС

НС

С

С

С

С

С

С

Дерево

НС

СП

СП

НС

НС

С

С

С

С

С

С

Стекло

НС

НС

НС

СП

НС

НС

С

С

С

С

С

Металлы: Сталь

С

НС

НС

НС

СП

С

С

С

С

С

С

Медь

НС

НС

НС

НС

НС

С

С

НС

СА

СА

СА

Оцинковка

НС

НС

НС

НС

СП

С

С

СА

СА

СА

СА

Алюминий

НС

НС

НС

НС

СП

С

С

С

С

С

С

Мастики битумно-каучуковые типа БСКМ

С

С

С

НС

С

СА

НС

НС

НС

С

С

Эпокеимастики

С

С

С

С

С

НС

СА

НС

НС

НС

С

Тиольные мастики

С

С

С

С

С

НС

НС

СА

НС

НС

С

Силиконовые мастики

С

С

С

С

С

НС

НС

НС

СА

НС

НС

Уретановые мастики

С

С

С

С

С

С

НС

НС

НС

СА

С

Самоклеящиеся герметики типа Абрис

С

С

С

С

С

С

С

С

НС

С

СА

Примечания:

С - совместимы                                       СА - адгезионно совместимы

НС - несовместимы                                СП - совместимы с подслоем

Под совместимостью (С) подразумевается механическое сцепление за счет диффузионного проникания одного материала в другой, в результате которого не происходит отторжения в процессе эксплуатации. Несовместимы (НС) те материалы, которые не прилипают друг к другу из-за химической несовместимости. Адгезионно совместимы (СА) те материалы, у которых совпадают или близки химические составы и у них при соединении происходит не только диффузионное проникание одних в другие, но и срастание на молекулярном уровне. Совместимы с подслоем (СП) те по существу разнородные материалы (например, металлы и герметики), для склейки которых необходимы дополнительные адгезионные присадки (праймеры, подслои), обеспечивающие диффузионную адгезию к пористым субстратам (бетон, кирпич, дерево) или электрическую к плотным (металлы)

1.14. Основной причиной преждевременной разгерметизации являются характерные ошибки проектирования и выполнения. Конструкции открытых стыков предопределяют негерметичность, учитывая нормативные допуски (отклонения) по размерам панелей (± 8 + 10 мм по длине), отклонений плоскости панелей от вертикали (± 5 мм), согласно СНиП III-16-80. При ремонте таких стыков приходится превращать их в традиционные - закрытые.

1.15. Нельзя сочетать жесткие уплотнения с пласто-эластическими герметиками. При повышении температуры окружающей среды и неизбежном удлинении панелей цементно-песчаный раствор уплотнения разрушается, вклиниваясь в мастики и нарушая их целостность, а, следовательно, вызывая разгерметизацию. Герметики длительно сохраняют свои эластические свойства (деформативность) и адгезионно-когезионную прочность, если нанесены на мягкие упругие прокладки, когезионная прочность которых значительно ниже прочности герметика

1.16. Оклеенные герметики (армогерметики, самоклеящиеся ленты) нельзя наклеивать без провиса (внатяг), так как при понижении температуры окружающей среды и последующем неизбежном укорочении стыкуемых панелей герметик или отслоится, или разорвется.

Самоклеящуюся ленту обязательно наклеивать с адгезионным подслоем, обеспечивая большую свободу при растяжении, а в противном случае лента обязательно разорвется. В правильно выполненном оклеечном стыковом соединении напряжения в материале практически близки к нулю, а, следовательно, повышается долговечность герметика и непроницаемость шва.

2. Герметизирующие материалы

Основными герметизирующими материалами согласно настоящим "Указаниям" являются мастики и самоклеящиеся ленты "Завода герметизирующих материалов" (ЗГМ) в г. Дзержинске Нижегородской области.

2.1. Свойства герметиков "ЗГМ", соответствующие требованиям ТУ 5772-003-43008408-99 и ТУ 5775-004-52471462-2003, приведены в табл. 2.1, а эксплуатационные характеристики герметизирующих лент, полученные по результатам испытаний, в табл. 2.2 и 2.3.

2.2. Герметики Абрис®С и Абрис®Р обладают теплостойкостью соответственно до плюс 140°С и 160°С, могут эксплуатироваться во всех климатических районах России (при температурах до минус 60°С) и в большинстве своем устойчивы к воздействию ультрафиолетовых лучей.

Таблица 2.1.

№ п/п

Наименование показателей

Абрис® С-ЛТ и С-ЛБ

Абрис® С-Ш

Абрис® С-Б

1.

Внешний вид

Пластичная однородная масса без разрывов и сквозных отверстий

2.

Цвет

По требованию заказчика (базовые: белый, серый, черный)

3.

Пенетрация, 0,1 мм

30- 170

4.

Прочность связи с бетоном, МПа

≥ 0,1

5.

Прочность связи с металлом при отслаивании, Н/м, не менее

100

6.

Сопротивление текучести, мм

< 2

7.

Коэффициент паропроницаемости (для пароизоляционных герметиков). Мг/(м*ч*Па), не более

2*10-5

8.

Водопоглащение после высыхания, %

0 ÷ 0,02

9.

Относительное удлинение при максимальной нагрузке, %, не менее

35

10.

Предел прочности при растяжении, МПа, не менее

0,008

11.

Характер разрушения

когезионный

12.

Условный срок годности, лет

20

13.

Ширина, мм

2 ÷ 250

-

Брикеты 1-5кг

14.

Толщина, мм

1 ÷ 5

-

 

15.

Диаметр, мм

-

1,8-40

 

Таблица 2.2.

№ п/п

Наименование показателей

Абрис® С-ЛТ и С-ЛБ

Абрис® С-Ш

Абрис® С-Б

 

1.

Внешний вид

Однородная пастообразная масса

2.

Цвет

По требованию потребителя

Черный

По требованию потребителя

 

3.

Пенетрация, 0,1 мм

280 - 380

250 - 400

400 - 450

 

4.

Прочность связи с бетоном, МПа

0,1

5.

Прочность связи с металлом при отслаивании, Н/м, не менее

150

6.

Сопротивление текучести:

-

2

-

 

- при толщине 1 - 2 мм, не более, мм

 

- при толщине 5 мм, не более, мм

2

-

-

 

7.

Паропроницаемость, не более, мг/(м*ч*Па)

0,01

№ п/п

Наименование показателей

Абрис® С-ЛТ и С-ЛБ

Абрис® С-Ш

Абрис® С-Б

 

1,

Водопоглащение, не более, %

0,3

 

2.

Относительное удлинение при максимальной нагрузке, %, не менее

50

-

 

3.

Массовая доля сухого вещества, % не менее

60

50

-

 

4.

Время высыхания при t=20°C

24

12

 

5.

Удельная масса, г/см3

1,2 - 1,3

0,9 - 1,1

0,9 - 1,1

 

6.

Расход, кг

1,3

1

0,2 - 0,4

 

7.

Условный срок годности, лет

20

 

 

Таблица 2.3.

Наименование характеристики, ед. измерения

Результаты испытаний

1. Сопротивление теплопередаче, (м2К)/Вт

2,33

2. Воздухопроницаемость при давлении 100 Па, м3/(ч*м)

≤ 0,1

3. Водонепроницаемость при давлении, Па

1900

4. Деформативная устойчивость (относительное удлинение), %

39,5

5. Звукоизоляция, дБ А

36

2.3. Марки герметика отличаются друг от друга отдельными элементами и поэтому имеют разную область применения, характеристика которой приведена в табл. 2.4.

2.4. Основными сопутствующими материалами являются уплотнители, которые выполняют функции теплозащиты и подосновы под мастики и самоклеящиеся ленты (табл. 2.5). Наиболее эффективны вспенивающиеся составы на основе полиуретана (ППУ).

2.5. В качестве открытий-сливов используют листовые полиолефины, в частности, стабилизированный полиэтилен высокого давления или оцинкованную сталь толщиной около 0,6 мм. Стыки полиолефиновых листов сваривают горячим воздухом, а стыки металлических листов соединяют лежачими фальцами, которые следует герметизировать самоклеящимися шнурами Абрис®С-Ш**.

** Технология детально описана в "Указаниях по технической эксплуатации скатных крыш и технологиям антикоррозионной защиты и герметизации сопряжений металлических кровельных покрытий при устройстве и ремонте материалами марки Абрис*С и Абрис*Р", разработанных ГАСИС МОиН РФ, согласованных "ЗГМ" и утвержденные Госжилинспекцией в 2005 г.

Таблица 2.4.

Марка герметика, его характеристика

Вид герметика

Область Применения

1

2

3

1. Абрис® С-ЛТдиф

Диффузионная (паропроницаемая) лента из прочной полипропиленовой ткани с двумя крепежными полосами по краям из бутилкаучука высокой клейкости; коэффициент паропроницания μ = 0,2 мг/(м-ч-Па)

Устанавливают под слив окна и по периметру проема с наружной стороны;

Рекомендуется защищать от воздействия ультрафиолетовых лучей.

2. Абрис® С-ЛТф

Самоклеящаяся бутилкаучуковая влаго-, газонепроницаемая уплотнительная лента с одной стороны покрыта антиадгезионной пленкой, с другой алюминиевой фольгой для теплоотражения и защиты от ультрафиолетовых лучей. Разработаны варианты, армированные гофрированной алюминиевой фольгой и фольгой из свинца.

Герметизация стыков и швов в конструкциях фонарей, светопрозрачных ограждений зимних садов; для ремонта и герметизации фальцев металлической кровли, а также примыканий кровли к стенам и трубам.

3. Абрис® С-ЛТфиз

Самоклеящаяся бутилкаучуковая влаго-, газонепроницаемая уплотнительная лента с одной стороны покрыта антиадгезионной пленкой, с другой фольгоизолоном (вспененный полиэтилен покрытый светоотражающей металлизированной пленкой), стойка к УФ, X = 0,032 Вт/(мК), температура эксплуатации от -60 °С до 100 °С

Уплотнение, утепление стыков и швов; повышает звукоизоляцию конструкций.

4. Абрис® С-ЛТдиз

С отсутствием светоотражающей металлизированной пленкой коэффициент теплопроводности X = 0,032 Вт/(мК), температура эксплуатации от -60 °С до 100 °С, рекомендуется защищать от воздействия ультрафиолетовых лучей.

5. Абрис® С-ЛТбаз

Самоклеящаяся уплотнительная бутилкаучуковая лента с одной стороны покрыта антиадгезионной пленкой, с другой негорючим базальтовым полотном.

Для уплотнения швов изнутри помещений; при сухой и мокрой отделке откосов, после заполнения швов теплоизоляцией. Повышается теплостойкость и огнестойкость.

6. Абрис® С-ЛТдуб

Самоклеящаяся уплотнительная бутилкаучуковая пароизоляционная лента дублирована нетканым полотном, имеет самоклеющуюся дополнительную полосу для крепления ленты в скрытом месте.

Для паронепроницаемого уплотнения мест сопряжения оконных рам, дверных коробок с конструкциями здания при любых (сухих и мокрых) способах отделки откосов до заполнения шва теплоизоляцией.

7. Абрис® С-ЛТмдуб

Самоклеящаяся пароизоляционная бутилкаучуковая уплотнительная лента, дублирована металлизированной пленкой, имеет дополнительную самоклеющуюся крепежную полосу для монтажа ленты в скрытом месте.

Для паронепроницаемого уплотнения мест сопряжения оконных рам и дверных коробок с конструкциями здания при "сухой" отделке откосов до заполнения шва теплоизоляцией.

8. Абрис® С-ЛТнп

Самоклеящаяся пароизоляционная бутилкаучуковая уплотнительная лента, с одной стороны дублирована, нетканым полотном.

Для защиты шва от влаги, пара и газа, совместима с красками и штукатуркой.

9. Абрис® С-Б

Пластичная масса на основе бутилкаучука с высокой клейкостью; брикеты герметика завернуты в антиадгезионную (полиэтиленовую) пленку.

Для паро-, влаго-, газонепроницаемого уплотнения зазоров швов в строительных конструкциях. Наносится вручную или электрогерметизатором.

10. Абрис® С-Ш

Самоклеящаяся пластоэластичная масса на основе бутилкаучука в виде шнуров, покрытых антиадгезионной пленкой.

Для паро-, влаго-, газонепроницаемого уплотнения зазоров швов в строительных конструкциях.

11. Абрис® С-ЛБ

Бутилкаучуковая уплотнительная лента с двух сторон покрыта антиадгезионной пленкой.

Для влаго-, газонепроницаемого уплотнения и склеивания сопрягаемых поверхностей.

12. Абрис® С-ЛБиз

Двухсторонняя липкая лента, армирована изолоном.

Для герметизации стыков, нахлестов, волнистых листов и склеивания сопрягаемых поверхностей.

13. Абрис® С-ЛТм

Самоклеящаяся бутилкаучуковая уплотнительная лента покрыта антиадгезионной пленкой, с другой прочной светоотражающей металлизированной пленкой.

Для пароизоляции и герметизации мест сопряжений элементов светопрозрачных конструкций, швов внутри помещений и легких металлоконструкций фасадных систем.

14. Абрис® Рс

Бутилкаучуковая мастика (пастообразная масса) высыхающего типа.

Герметизация межпанельных стыков и склеивания сопрягаемых поверхностей.

15. Абрис® Py

Бутилкаучуковая мастика (пастообразная масса) высыхающего типа.

Герметизация межпанельных стыков и склеивания сопрягаемых -поверхностей гидроизоляции, приклеивание полимерных (здастомерных) пленок и антикоррозионная защита.

16. Праймер Абрис® Рп

Для обработки (грунтования) поверхности перед нанесением герметика.

2.6. Надо иметь в виду, что при использовании герметиков, не включенных в настоящие "Указания…", следует пользоваться соответствующими нормативными документами.

3. Типовые конструктивные решения стыковых соединений

Стыки закрытого типа

3.1. В настоящем разделе приведены схемы основных типов стыков конструкций наружных стен полносборных зданий, строящихся и эксплуатируемых в различных регионах России. Эти типы отличаются конструктивными особенностями, связанными с обеспечением изолирующих свойств, в частности водо- и воздухоизоляции помещений.

3.2. В стыках закрытого типа (рис. 3.1, 3.2, 3.3) водо- и воздухоизоляция обеспечиваются установкой в устье стыка уплотнителя (пенополиуретан или прокладка Вилатерм) и наклеенной самоклеящейся лентой Абрис®С-ЛТдуб или Абрис®С-ЛТнп. Кроме того, воздухоизолядию обеспечивает воздухозащитная лента Абрис®С-ЛТнп, наклеенная в стыковом колодце в процессе монтажа панелей.


Рис. 3.1. Вертикальный стык закрытого типа

Рис. 3.2. Горизонтальный стык закрытого типа

Рис. 3.3. Плоский горизонтальный стык закрытого типа

1 - наружная стеновая панель, 2 - внутренняя омоноличенная стеновая панель, 3 - плита перекрытия, 4 – нижняя горизонтальная грань наружной панели, 5 - верхняя горизонтальная грань наружной панели, 6 – противодождевой зуб, 7 - противодождевой гребень, 8 - уплотняющая прокладка, 9 - теплоизоляционный вкладыш, 10 - воздухозащитная оклеечная изоляция, например Абрис®С-ЛТнп, 11 - цементно-песчаный раствор, 12 - герметизирующая мастика, например, Абрис®Рс

Таблица 2.5

Основные сведения о материалах и изделиях, применяемых для герметизации стыков

Наименование материала, ГОСТ или ТУ

Описание материала

Назначение материала

Средний расход на 1 п.м.стыка, кг

Изготовитель

Примечания

1

2

3

4

5

6

Прокладки пенополиэтиленовые уплотняющие марок
Вилатерм-СМ,
ТУ 6-05-2048-87 и
Вилатерм-СП,
ТУ 6-05-2049-87

Вспененные прокладки, получаемые методом экструзии из композиции на основе полиэтилена высокого давления (низкой плотности). Цвет белый.

Устройство упругой основы под мастику в стыках элементов, ограждающих конструкций зданий. Устройство воздухозащиты в стыках всех типов.

Вилатерм-СМ:

0,03-0,08; Вилатерм-СП:

0,03-0,17

Вилатерм-СМ:

Завод пластмасс, г. Нелидово, Тверская обл. Вилатерм-СП: АО"Стройдеталь", г.Москва

Интервал температур эксплуатации от -60 до 70°С. Прокладки устанавливают при температурах воздуха не ниже -30°С. Рекомендуется обжатие прокладок в стыках 20-50% от их первоначального диаметра.

Прокладки резиновые пористые уплотняющие ПРП,
ГОСТ 19177-81

Вспененные прокладки из резиновых смесей на основе различных каучуков. Цвет черный и коричневый. Диаметры от 20 до 60мм.

Устройство упругой основы под мастику в стыках элементов, ограждающих конструкций зданий. Устройство воздухозащиты в стыках всех типов.

0,7

Комбинат "Строительные материалы" г.Пески Московской обл.

Интервал температур эксплуатации от -30 до 70°С. Прокладки устанавливают при температурах воздуха не ниже -20°С. Рекомендуется обжатие прокладок в стыках 20 - 50% от их первоначального диаметра.

Вспенивающиеся полиуретановые композиции
ППУ 6ТЗ и ППУ6ТН,
ТУЯ 10-19-06-85

ППУ 6ТЗ: заливочный полужесткий пенопласт. Цвет светло-желтый. ППУ 6ТН: напыляемый полужесткий пенопласт. Цвет светло-желтый.

Утепление (уплотнение) мест примыкания оконных (дверных) блоков к четвертям проёмов стен. Ремонтная герметизация стыков различных типов.

0,18

Предприятия химической и нефтехимической промышленности, а также промышленности, производящей удобрения.

Интервал температур эксплуатации от -60 до 70°С. Поверхность нанесения предварительно обеспылиают и обезвреживают. Наносят ППУ 6ТЗ путем заливки; ППУ 6ТН путем напыления с помощью установок типа "Пена 12" или "Пена 98П20" при температурах воздуха не ниже-10°С.

При применении в закрытых помещениях необходим интенсивный воздухообмен в зоне проведения работ.

Вспенивающая полиуретановая композиция
ППУ 13Н
ТУ 6-05-221-194-77

Полужесткий пенопласт замкнуто-мелкоячеистой структуры. Цвет от белого до желтого.

Утепление (уплотнение) мест примыкания оконных (дверных) блоков к четвертям проёмов стен. Ремонтная герметизация стыков различных типов.

0,15

Предприятия химической и нефтехимической промышленности, а также промышленности, производящей удобрения.

Интервал температур эксплуатации от -60 до 70°С. Поверхность нанесения предварительно обеспылиают и обезвреживают. Наносят ППУ 6ТЗ путем заливки; ППУ 6ТН путем напыления с помощью установок типа "Пена 12" или "Пена 98П20" при температурах воздуха не ниже -10°С.

При применении в закрытых помещениях необходим интенсивный воздухообмен в зоне проведения работ.

Вспенивающая полиуретановая композиция
ППУ 17Н
ТУ 6-05-459-83

-"-

-"-

0,18

-"-

-"-

Вспенивающая полиуретановая композиция
ВИЛАН 405
ТУ 6-05-221-816-85

Полужесткий пенопласт. Цвет светло-желтый.

-"-

0,16

-"-

-"-

Стабилизированный полиэтилен (высокого давления)
ГОСТ 16337-77

Лист размером 220×220 мм толщиной 1,5-1 8 мм. Цвет черный.

Водоотводящий фартук в стыках дренированного типа

-

Завод пластмасс, г. Нелидово, Тверская обл.

Интервал температур эксплуатации от -40 до 60°С. Наклеивают на клеях типа КН и 51 -Г-18 в местах пересечений вертикальных и горизонтальных стыков.

Сопрягаемые панели, между которыми размещаются горизонтальные закрытые стыки, могут быть выполнены как с противодождевым зубом и гребнем, так и без них. В последнем случае образуется плоский горизонтальный шов (рис. 3.3).

К типу закрытых относятся и стыки крупнопанельных домов, изолированные с применением вспенивающихся полиуретановых композиций, а также стыки крупноблочных домов.

3.3. Представленные на рис. 3.4 - 3.6 варианты конструкций закрытых стыков принципиально отличаются от традиционных решений тем, что в качестве основного герметика применены самоклеящиеся ленты Абрис®С-ЛТбаз (базальтовая ткань в качестве армирующей основы) или Абрис®С-ЛТнп. Такое решение не только надежно, но и экономично (количество мастики уменьшается втрое), и ремонтопригодно. По рекомендации архитектурного надзора поверхность ленты можно окрасить в тон панели, используя фасадные краски.

Стыки дренированного типа

3.4. В стыках дренированного типа водоизоляция обеспечивается установленной в устье стыка уплотняющей прокладкой и мастикой-эластомером (рис. 3.7, 3.8) или самоклеящейся лентой Абрис®С-ЛТнп (рис. 3.9, 3.10), а также специальными конструктивными элементами для поэтажного удаления воды (декомпрессионная полость, дренажное отверстие, водоотводящий фартук). Воздухоизоляция обеспечивается уплотняющими прокладками и оклейкой лентой Абрис®С-ЛТнп (ЛТбаз).

Стыки открытого типа

3.5. В стыках открытого типа (рис. 3.11, 3.12) водоизоляция обеспечивается специальными конструктивными элементами (водоотбойные экраны, водоотводящие фартуки) для поэтажного удаления воды и лабиринтной конфигурацией сопрягаемых граней панелей (наличием противодождевых зуба и гребня), а воздухоизоляция - уплотняющими прокладками и оклеечной изоляцией, например Абрис®С-ЛТнп.

При новом строительстве герметизация устья в стыках открытого типа не предусмотрена. Однако ее приходится применять при ремонте таких стыков.

3.6. Стыковые соединения между оконными (дверными) блоками и четвертями проемов панельных стен следует изолировать по периметру блоков герметизирующей мастикой (рис. 3.13, 3.14). То же относится и к стыкам между указанными блоками и четвертями проемов стен из любых материалов, в том числе применяемых в малоэтажном и коттеджном строительстве.

Варианты конструктивных решений закрытых стыков, герметизируемых в процессе строительства лентой Абрис®С

Рис. 3.4
Вертикальный стык закрытого типа

Рис. 3.5.
Горизонтальный стык закрытого типа

Рис. 3.6.
Плоский горизонтальный стык закрытого типа

1 - стыкуемые панели, 2 - внутренняя омоноличенная стена, 3 - уплотняющая прокладка, 4 - прокладка Абрис®С-ЛТбаз, 5 - уплотнитель пористый Вилатерм СП (СМ), 6 - зона очистки, 7 – грунтовка (праймер) Абрис®РП, 8 - Абрис®С-ЛТбаз или С-ЛТнп

 

Конструктивные решения стыков дренированного типа

Рис. 3.7.
Вертикальный стык дренированного типа: А - рядовое сечение,

Б - сечение в уровне перекрытия

Рис. 3.8.
Горизонтальный стык дренированного типа

(Сечение по вертикальной оси стыка)

1 - наружная стеновая панель, 2 - внутренняя омоноличенная стеновая панель, 3 - теплоизоляционный вкладыш, 4 - воздухозащитная оклеечная изоляция, 5 - декомпрессионная полость, 6 - плита перекрытия, 7 – водоотводящий фартук, 8 - дренажное отверстие, 9 - бетон замоноличивания стыка, 10 - цементно-песчаный раствор, 11 - уплотняющая прокладка, 12 - герметизирующая мастика, например Абрис®РС

Рис. 3.9.
Вариант герметизации вертикального стыка дренированного типа!

Рис. 3.10.
Вариант герметизации горизонтального стыка дренированного типа!

1 - стыкуемые наружные панели, 2 - внутренняя стеновая панель, 3 - теплоизоляционный вкладыш, 4 - воздухозащитная самоклеящаяся лента Абрис®С -ЛТбаз или Абрис®С-ЛТнп, 5 - декомпрессионная полость, 6 - Вилатерм СП (СМ), 7 - водоотводящий фартук (слив) из оцинкованной стали δ = 0,6 - 0,7 мм), 8 - зона очистки, 9 - праймер Абрис®Рп, 10 - Абрис®С-ЛТнп или Абрис®С-ЛТбаз

 

Рис. 3.11
Вертикальный стык открытого типа

Рис. 3.12.
Горизонтальный стык открытого типа (сечение по оси вертикального типа)

1 - наружная стеновая панель, 2 - внутренняя стеновая панель, 3 - теплоизоляционный вкладыш, 4 - воздухозащитная оклеенная изоляция Абрис®С -ЛТбаз, 5 - бетон замоноличивания колодца стыка, 6 - уплотняющая прокладка типа Вилатерм, 7 - водоотбойный экран, 8 - водоотводящий фартук

Рис. 3.13.
Стыки между оконным блоком и четвертями проемов стен

(А - верхний, Б - боковой)

Рис. 3.14.
Стыки между оконным и дверным блоком

и нижними четвертями проемов стен

(В - оконный блок, Г - дверной блок)

1 - наружная стеновая панель, 2 - оконный блок, 3 - дверной блок, 4 - пористое уплотнение стыка (пакля, ППУ), 5 - грунтовка Абрис®РП, 6 - герметизирующая мастика Абрис®Рс, 7 - подоконник, 8 - металлический слив, 9 - уплотнение полимерраствором

4. Технология герметизации стыков при новом строительстве

4.1. Работы по устройству стыков элементов наружных стен полносборных зданий и их герметизацию при новом строительстве следует выполнять в соответствии с требованиями СНиП 3.03.01-87 "Несущие и ограждающие конструкции", раздел 3 "Монтаж сборных железобетонных и бетонных конструкций"

4.2. Герметизацию стыков обеспечивают комплексом мер, включающим: ремонт панелей при обнаружении дефектов на тех участках их лицевых и торцевых поверхностей, которые при сопряжении сборных элементов образуют стыки;

- устройство воздухоизоляции стыков;

- установку в устья стыков уплотняющих прокладок;

- нанесение герметизирующей мастики или самоклеящейся ленты (см. рис. 3.1 - 3.12).

4.3. Ремонт панелей с целью устранения дефектов их изготовления или механических повреждений (пористая структура бетона в местах, образующих устье стыка, околы граней и углов панелей, поломки и сквозные трещины на противодождевых зубе и гребне, повреждения отделочного покрытия панелей на участках, примыкающих к стыкам, и т.п.) необходимо, как правило, выполнять на специальных постах в цехах изготовления наружных стеновых панелей домостроительных предприятий.

4.4. Работы по устройству воздухоизоляции стыков с применением воздухозащитных лент выполнять поэтажно, до монтажа внутренних стен.

Поверхности стыковых колодцев перед наклейкой лент необходимо обеспылить и обезжирить. Перед наклейкой ленты Абрис®С-ЛТнп на поверхности кистью нанести праймер Абрис®Рп. Минимальная толщина наносимого клеевого слоя праймера около 100 мкм. Соединение лент между собой необходимо выполнять внахлест с длиной участка нахлеста 100 - 120 мм. При этом конец нижерасположенной ленты следует наклеивать поверх ленты, располагаемой в стыке монтируемого этажа. Места соединений лент должны быть на расстоянии не менее 300 мм от пересечения вертикального и горизонтального стыков.

ЗАПРЕЩАЕТСЯ применять для оклеечной воздухоизоляции рулонные битуминозные материалы типа рубероида.

4.5. При герметизации стыков закрытого типа кроме выполнения работ согласно п.п. 4.3 и 4.4 устанавливают в устья стыков уплотняющие прокладки и наносят по ним герметизирующую мастику (см. рис. 3.1 - 3.3).

4.6. Установку уплотняющих прокладок и нанесение герметизирующей мастики следует выполнять с подвесных подъемных люлек, подъемных вышек, навесных лесов, подмостей или иных средств подмащивания в зависимости от этажности здания и расположения стыков в соответствии с действующими инструкциями по эксплуатации указанных средств.

Кроме этого, целесообразно использовать будку изолировщиков, предназначенную для временного хранения оборудования, приспособлений и инструментов, запаса праймера и мастики, уплотняющих прокладок, воздухозащитных лент, растворителей, спецодежды, аптечки, а также для укрытия и обогрева рабочих.

4.7. Перед началом работ следует, пользуясь средствами подмащивания, осмотреть стыки для уточнения состояния стыкуемых граней сборных элементов. Выявленные при этом поврежденные грани необходимо отремонтировать полимерцементным раствором, например Лукаром-ОХ.

4.8. Поверхности, на которые наносят мастику, следует очистить и обезжирить. Для этого их следует предварительно обеспылить, очистить от наплывов раствора, грязи, снега и инея. Указанную обработку рекомендуется выполнять пневмо- или электрощетками, ветошью, смоченной уайт-спиритом, продувкой сжатым воздухом, подсушкой с помощью специального аппарата (см. раздел 6).

4.9. Уплотняющие прокладки следует устанавливать после окончания монтажа панелей каждого этажа. Прокладки, установленные в устья стыков, должны быть обжаты на 20 - 50% от их первоначального диаметра. На стройплощадках следует иметь прокладки различных диаметров с учетом возможного при монтаже сборных элементов разброса размеров стыковых зазоров. При ширине стыковых устий менее 12 мм допускается их уплотнение другими биостойкими материалами, например антисептированной паклей.

4.10. Размещать уплотняющие прокладки в устьях стыков следует сплошной линией без разрывов. Во избежание повреждений поверхности прокладок необходимо их заводить без натяжения, используя закругленную деревянную лопатку. Соединять прокладки по длине необходимо "на ус" при помощи клейкой полиэтиленовой или матерчатой изоляционной лент, располагая место соединения на расстоянии не менее 300 мм от пересечения вертикального и горизонтального стыков.

ЗАПРЕЩАЕТСЯ:

- прибивать уплотняющие прокладки к стыкуемым граням панелей;

- монтировать панели с заранее закрепленными на них уплотняющими прокладками, кроме случаев, специально оговоренных в проектах;

- уплотнять стыки двумя и более скрученными вместе прокладками;

- устанавливать прокладки в неочищенное устье.

4.11. Работы по нанесению мастики можно выполнять при температурах воздуха от минус 20°С до любой положительной при отсутствии осадков.

ЗАПРЕЩАЕТСЯ наносить мастику и ленты во время дождя и снегопада, если существует опасность попадания осадков на герметизируемые поверхности.

4.12. Наносить мастику в устье стыка наружных ограждений следует с использованием ручных или пневматических шприцев любых марок, например, ручного шприца конструкции ЦНИИОМТП емкостью 0,95 л, универсального строительного шприца фирмы Manel (Испания) емкостью 0,8 л, универсального пистолета английской фирмы Сох (модель Avon) емкостью 0,6 л и т.п.

Шприц конструкции ЦНИИОМТП заправляют с помощью соответствующего смесительно-заправочного устройства (СЗУ) (см. раздел 6).

4.13. Наносить мастику в устья стыков следует в соответствии с проектом, как правило, по уплотняющим прокладкам. Мастику нагнетают в устье, постепенно перемещая наконечник шприца вдоль герметизируемого стыка и одновременно нажимая на курок шприца.

При нанесении мастики в вертикальные стыки наконечник шприца перемещают сверху вниз, удерживая шприц под углом а между продольными осями шприца и стыка, составляющим 60 - 80°. При нанесении мастики в горизонтальные стыки рекомендуется выдерживать угол между продольными осями шприца и стыка 45 - 60° (см. раздел 6).

Мастику следует нагнетать в устья стыков равномерно, без разрывов, наплывов и пустот. После укладки мастику необходимо разровнять с помощью стальной или деревянной расшивки, смоченной в мыльном растворе (при отрицательных температурах воздуха - в воде, подсоленной поваренной солью).

Толщина мастичного слоя должна отвечать проектной.

Перед нанесением пенополиуретановых композиций и самоклеящихся лент сопрягаемые стенки стыковых устий обеспыливают, обезжиривают и при необходимости просушивают. Композиции наносят, используя, как правило, установки типа. Пена при температурах воздуха не ниже минус 10°С (см. раздел 6).

4.14. При герметизации стыков дренированного типа (см. рис. 3.7 - 3.10) следует:

- в пересечениях вертикального и горизонтального стыков наклеивать (устанавливать - в случае его изготовления из жестких материалов) водоотводящий фартук размером 220><220 мм;

- поверх фартука на верхней горизонтальной плоскости противодождевого гребня устанавливать отрезок уплотняющей прокладки длиной 500 мм с привязкой к оси вертикального стыка по 250 мм в каждую сторону;

- работы по установке водоотводящего фартука и уплотняющей прокладки выполнять с перекрытия после замоноличивания колодца вертикального стыка;

- в отличие от закрытых стыков уплотняющие прокладки в устья стыков дренированного типа устанавливать с учетом расположения дренажных отверстий: в горизонтальных стыках - отступив на 25 - 30 мм в каждую сторону от оси вертикального стыка (в месте расположения водоотводящего фартука - поверх него), в вертикальных стыках - так, чтобы не пересекать горизонтальных стыков.

4.15. При наличии в цокольном этаже технического подполья стыки панелей следует уплотнять на всю глубину их устий полимерцементным раствором.

Полимерцементный раствор готовят, вводя в цементно-песчаный раствор полимерные добавки (поливинилацетатной эмульсии, латексов дивинилстирольного СКС 65ГП "Б" или винилиденхлоридного ВХВД 65ГЩ) в виде водных дисперсий в количестве 10 - 20% от массы цемента в расчете на сухой остаток полимера.

4.16. При герметизации стыков между оконными (дверными) блоками и четвертями проемов панельных стен (см. рис. 3.13 - 3.14) следует:

- оконные (дверные блоки) устанавливать и закреплять в проемах панелей, как правило, в условиях заводского производства изделий; утеплять места примыкания оконных (дверных) блоков вспенивающимися полиуретановыми композициями, либо паклей, либо уплотняющими прокладками типа Вилатерм;

- нанесение пенополиуретановых композиций (кроме ППУ 6ТЗ) выполнять методом напыления с использованием установок типа Пена. При этом необходимо строго соблюдать технику безопасности, в частности, обеспечивать интенсивный воздухообмен в зоне проведения работ в соответствии с требованиями нормативных документов на указанные материалы.

4.17. После окончания работ все оборудование и инструмент, с помощью которых проводилась герметизация, следует очистить. Грубое удаление остатков мастики осуществляют ножом, скребком и т.п. Цилиндр смесительно-заправочного устройства и гильзы шприцев очищают с помощью поршней и шомпола. Затем указанные механизмы тщательно промывают уайт-спиритом (ксилолом, сольвентом) и горячей водой с мылом.

ЗАПРЕЩАЕТСЯ во избежание порчи гильз шприцев выжигать остатки мастики открытым пламенем.

Остатки неиспользованной мастики и лент следует утилизировать, собирая в специальные емкости, и вывозить для захоронения по согласованию с Госсанэпиднадзором.

5. Технология ремонтной герметизации швов

5.1. В общем объеме герметизационных работ ремонтные значительно превышают объем первичной герметизации. При этом практически все технологические операции выполняются снаружи с использованием люлек и герметчиков-скалолазов. Именно при выполнении ремонтной герметизации всех видов стыков наиболее эффективны самоклеящиеся материалы, использование которых позволяет обеспечить надежность при существенном снижении трудоемкости.

5.2. Ремонтные работы по устранению дефектов в швах полносборных зданий в период гарантийного срока эксплуатации обязаны выполнить домостроительные предприятия, а по истечении этого срока - специализированные ремонтно-строительные организации в строгом соответствии с утвержденными нормативными документами.

5.3. Проектные решения по ремонтной герметизации следует принимать в соответствии с результатами натурных обследований эксплуатационных и инспектирующих организаций с учетом жалоб населения.

5.4. Эффективно выполнять натурные обследования швов зданий в осенне-зимний период для полноценного выявления дефектов (протечек, промерзаний, продуваний). Натурные обследования, как правило, выполняют визуально и при необходимости с использованием инструментов и специальной аппаратуры. Визуально обследуют здания как снаружи, так и изнутри, учитывая замечания проживающих.

5.5. Внутри зданий обязательно осматривают квартиры, имеющие дефекты стыков, а также смежные квартиры, т.е. расположенные рядом, выше и ниже этажами. При обходе квартир следует измерить в них относительную влажность и температуру воздуха и опросить жильцов для уточнения информации об изъянах водо-, воздухо- и теплоизоляции ограждений и выявления режима эксплуатации помещений, всесторонне оценив причины, вызывающие дефекты. При наружных визуальных обследованиях должны быть зафиксированы повреждения защитного слоя в стыках, дефекты наружных стеновых панелей (околы граней и углов панелей, трещины в фактурном слое и т.п.), дефекты примыканий плит лоджий и балконов к наружным стеновым панелям, а также дефекты примыканий оконных и дверных (балконных) блоков к четвертям проемов стен.

В отдельных случаях, когда причина дефекта неясна, и при наличии соответствующих возможностей следует проводить дополнительные обследования, применяя специальные инструментальные методы, например, тепловизионные с привлечением специализированных организаций, располагающих соответствующей аппаратурой.

Все выявленные дефекты следует фиксировать на схемах.

5.6. На основании результатов обследований швов зданий устанавливают объем работ по ремонтной герметизации. При этом в случаях, связанных с устранением протечек следует исходить из следующего:

- при наличии в доме более 30% дефектных швов необходим капитальный ремонт - сплошная ремонтная герметизация швов. Решение об этом принимает соответствующая муниципальная служба, например, Дирекция единого заказчика;

- при наличии дефектов швов в 30% и более помещений, выходящих на данный фасад, должен быть произведен ремонт всех швов этого фасада здания, включая швы в местах примыкания оконных (дверных) блоков к четвертям проемов;

- при наличии отдельных дефектов швов в менее чем 30% помещений, выходящих на данный фасад, ремонтируют дефектный шов, смежные с ним горизонтальные и вертикальные швы этого и вышерасположенного этажей, а также швы в местах примыканий оконных (дверных) блоков к четвертям проемов смежных панелей вышерасположенного этажа;

- при наличии отдельных дефектов швов в местах примыканий оконных (дверных) блоков к четвертям проемов выполняют соответствующий выборочный ремонт согласно описи заказчика.

5.7. В случаях, связанных с устранением точечных промерзаний и повышенной воздухопроницаемости, ремонтируют только дефектные участки швов.

5.8. В домах со стыками открытого типа при обнаружении дефектов следует все межпанельные швы ремонтировать как закрытые.

5.9. Ремонтную герметизацию наружных швов следует вести при сухой погоде и, как правило, при положительной температуре наружного воздуха.

5.10. Работы по ремонтной герметизации швов, выполняемые снаружи, следует вести с подвесных подъемных люлек, а также с подъемных консольно-шарнирных вышек, смонтированных на автомашинах. В необходимых случаях возможно привлечение герметчиков-скалолазов.

5.11. Перед началом ремонтной герметизации необходимо выполнить следующие подготовительные работы:

- изучить техническую документацию, составленную по результатам обследований; завезти необходимые материалы, механизмы, инвентарь, инструмент и приспособления для ремонта;

- смонтировать и опробовать подъемно-транспортное оборудование;

- подвести электроэнергию;

- завезти специальные запирающиеся металлические лари для хранения инструмента, герметизирующих и уплотняющих материалов, установить их в специально оборудованных местах;

- завезти и установить в рабочей зоне специальные оповестительные плакаты, предназначенные для пропаганды безопасных способов ведения работ;

- провести инструктаж рабочих по правилам технологии, техники безопасности и охраны труда.

Герметизация швов при их первичном ремонте

5.12. Характерными ошибками проектирования и нового строительства, вызывающими необходимость первичной ремонтной герметизации швов являются:

- неправильное заполнение устий стыков элементами изоляции, в том числе заполнение устий цементно-песчаным раствором без уплотняющих прокладок и герметизирующей мастики;

- нанесение герметизирующей мастики в устьях непосредственно на жесткое основание типа цементно-песчаного раствора, использование цементно-песчаного раствора в качестве защитного слоя (см. рис. 1.3, 1.4);

- неверное назначение и (или) неточное выдерживание при производстве работ толщины слоя герметизирующей мастики в устьях стыков. В результате при ширине устья 20 мм превышение предельной трехмиллиметровой толщины в самом тонком месте поперечного сечения слоя эластомерных мастик в процессе эксплуатации приводит к отрыву (отслоению) мастики от стенок стыкового устья;

- нарушение содержащихся в инструкциях по применению конкретных герметизирующих мастик требований, предъявляемых к подготовке стыкуемых поверхностей сопрягаемых элементов перед нанесением мастик, а также правил ее приготовления и нанесения в устья стыков.

5.13. Ремонтную герметизацию стыков закрытого и дренированного типов следует выполнять по методу поверхностной герметизации - оклеечной.

5.14. Восстановительную герметизацию выполняют в случае выхода из строя изолирующих элементов, расположенных в устье стыка, т.е. при глубоких трещинах и отслоения герметизирующей мастики от стыкуемых граней панелей или ее разрыве* потере уплотняющими прокладками упругих свойств, нарушении поэтажного водоотвода (в стыках дренированного типа).

5.15. При этом виде ремонта следует предварительно расчистить устье, удалив заполняющие его элементы, кроме водоотводящих фартуков в стыках дренированного типа. Для расчистки используют скарпель, молоток, стальную щетку или пневматическое зубило, пневмо- или электрощетки (см. раздел 6). Кромки панелей, образующих стыки, очищают клюкарзой. Затем из расчищенных стыков удаляют пыль и остатки раствора, просушивают полости продувкой сжатым воздухом, кромки панелей и стенки стыковых устий обезжиривают растворителями. Эффективны специальные инструменты ЗАО Ф. Мобиле Multi Master (см. раздел 6).

5.16. При ремонте стыков дренированного типа в местах пересечений горизонтальных и вертикальных стыков возможны два решения восстановительной герметизации. Первое применяют, когда расчет показывает, что наличие дренажных отверстий, устраиваемых в указанных пересечениях, приводит к несоблюдению требовании тепло- и воздухозащиты зданий, установленных согласно изменению № 3 к СНиП П-3-79 "Строительная теплотехника". В этом случае ремонтируемые дренированные стыки переделывают в закрытые (рис. 5.1); водоотводящие фартуки обрезают в основании водозащитного гребня и нижние части фартуков удаляют, в расчищенных устьях стыков размещают уплотняющие прокладки, выполняют оклеенную герметизацию.

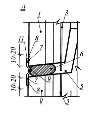
5.17. Ремонт дефектного дренированного шва выполняют в следующей последовательности (рис. 5.1):

- используя механический инструмент, расчищают полость шва, удаляя часть фартука-слива, уплотняющие и герметизирующие материалы;

- деревянной лопаткой уплотняют полость стыка антисептированной паклей или заполняют монтажной пеной (пенополиуретан типа Макрофлекс), которую после отверждения подрезают клюкарзой с таким расчетом, чтобы оклеечную самоклеящуюся ленту, например, Абрис С-ЛТбаз можно было наклеить с компенсатором (провисом) (рис. 5.1);

- приклеиваемые кромки ленты следует тщательно уплотнить, прикатывая наборным роликом (см. рис. 6.11);

- по решению архитектурного надзора поверхность самоклеящейся ленты окрашивают в тон поверхности панелей, при этом следует использовать только высокоэластичные краски, например, на основе хлорсульфированного полиэтилена (ХСПЭ) или на основе жидких атмосферостойких каучуков.

5.18. Ремонтную герметизацию стыков открытого типа выполняют, превращая их в закрытые, в следующей последовательности (рис. 5.2):

- расчищают полость открытого стыка до водоотбойной ленты, тщательно очищая кромки стыкуемых панелей от грязи, и обезжиривают их уайт-спиритом;

- полость уплотняют либо паклей, либо ППУ, прокладывая антиадгезив (полиэтиленовая пленка толщиной 150 мкм);

Рис. 5.1. Конструктивные решения ремонтной герметизации стыков дренированного типа:

А - ремонтный горизонтальный шов после расчистки устья; Б - вертикальный шов в месте пересечения с горизонтальным после расчистки устья; В - горизонтальный шов после ремонта;

1 - стыкуемые панели, 2 - старая уплотняющая прокладка (установлена при монтаже), 3 - цементно-песчаный раствор (уложен при монтаже), 4 - линия обреза фартука, 5 - удаляется часть фартука, 6 - сохраняемая часть фартука, 7 - антисептированная пакля или пенополиуретан, 8 - зона очистки и обезжиривания, 9 – праймер Абрис®РП, 10 - самоклеящаяся лента Абрис®С-ЛТбаз или Абрис®С-ЛТнп

- обрабатывают зоны будущей оклейки грунтовкой Абрис®Рп, нанося кистью флейц тонкий слой мастики (не более 150 мкм);

- вслед за этим наклеивают самоклеящуюся ленту Абрис®С-ЛТбаз или Абрис®С-ЛТтп с компенсатором-провисом или выпуклостью согласно конкретному проектному решению;

- по согласованию с архитектурным надзором принимают решение по декоративно-защитной окраске, обязательно применяя эластичные окрасочные составы, содержащие жидкий каучук.

5.19. При ремонтной переделке открытых стыков в закрытые в случае, если нижняя часть водоотводящего фартука-слива отстает от нижней поверхности горизонтального стыкового устья, указанную часть фартука следует отрезать. При этом линия обреза должна быть ближе к фасадной поверхности панели, чем место упора в фартук водоотбойного экрана, расположенного выше горизонтального стыка. Если водоотводящий фартук плотно прилегает к нижней поверхности горизонтального стыкового устья, он может быть сохранен в случае оклейки, заведенной в полость устья (рис. 5.2).

5.20. Если в результате вспенивания пенополиуретана (при отверждении ППУ происходит значительное увеличение объема*) часть его объема окажется за пределами устья, то эту часть следует срезать клюкарзой.

*) Рекомендуется применять вспенивающиеся полиуретановые композиции отечественного производства: ППУ 17Н, ГШУ 6ТЗ, ППУ 6ТН, ППУ 13Н, Вилам 405, а также идентичные им по физико-механическим свойствам.

5.21. В тех случаях, когда разгерметизация швов произошла после первичной герметизации, выполненной недоброкачественно, целесообразно на старый герметик или раствор наклеить самоклеящуюся пленку типа ПЭЛ или скотч и, перекрывая ее по ширине, наклеить самоклеящуюся ленту Абрис®С-ЛТбаз или Абрис®С-ЛТпн с обязательной компенсационной складкой. Если устье ремонтируемого шва полностью уплотнено старым, но сохранившимся материалом, то следует по оси шва наклеить прокладку из ППУ или Вилатерма для образования компенсатора, а затем наклеить самоклеящуюся ленту Абрис®С-ЛТбаз или Абрис®С-ЛТпн (рис. 5.3).

5.22. Если приходится ремонтировать шов, ранее оклеенный, например, лентой Герлен-Д, которая либо потрескалась, либо частично отслоилась, то целесообразно на поверхность деформированной ленты по оси шва наклеить прокладку из ППУ или Вилатерма для образования компенсатора, а поверх наклеить ленту Абрис®С-ЛТбаз или идентичную согласно проекту (рис. 5.3).

5.23. В отечественной практике ремонтной герметизации могут встречаться разнообразные дефекты в швах не только из-за недоброкачественной первичной герметизации, но и в связи с последовавшими значительными деформациями стыкуемых ограждающих конструкций (осадка, усадка, случайные повреждения). В таких случаях конкретное решение по ремонту принимает проектная или научно-исследовательская организация, руководствуясь основными принципами, изложенными в настоящих "Указаниях".

Рис. 5.2. Конструктивные решения ремонтной герметизации стыков открытого типа:

А, Б, В, - варианты ремонтной герметизации вертикальных стыков, Г, Д - варианты ремонтной герметизации горизонтальных стыков;
1 - стыкуемые панели, 2 - старая уплотняющая прокладка (установлена при монтаже), 3 - водоотбойная лента (установлена при монтаже), 4 – сохраняемый водоотводящий фартук, 5 - сохраняемая часть водоотводящего фартука, 6 - Вилатерм, антисептированная пакля или пенополиуретан, 7 - зона очистки и обезжиривания, 8 - праймер Абрис®Рп, 9 - антиадгезив, 10 - самоклеящаяся лента Абрис®С -ЛТбаз или Абрис®С-ЛТбаз

Рис. 5.3. Конструктивное решение повторной ремонтной герметизации стыков

Рис. 5.5. Конструктивное решение дополнительной герметизации горизонтальных стыков:

1 - стыкуемые стеновые панели, 2 – существующая уплотняющая прокладка, 3 - существующий герметик, 4 - существующий цементно-песчаный раствор, 5 - Герлен-Д, наклеенный при первичном ремонте, 6 - мастика Абрис®Рс, 7 - половина Вилатерма сплошного сечения 0 6-8 мм, 8 –зона очистки и обезжиривания, 9 - праймер Абрис®Рп, 10 -самоклеящаяся лента Абрис®С -ЛТбаз или Абрис®С-ЛТпн

1 - стыкуемые стеновые панели, 2 - перекрытие, 3 - старый цементно-песчаный раствор, 4 - старое уплотнение, 5 - зона очистки,

6 - самоклеящаяся лента Абрис®С-ЛТ, 7 - плинтус

 

5.24 Ремонтную герметизацию сопряжений оконных (дверных) блоков с четвертями проемов стен выполняют со стороны фасадов здания в следующей последовательности (рис. 5.4):

- снимают металлический слив-окрытие;

- расчищают стыки по периметру оконного (дверного проема), удаляя цементно-песчаный раствор,

- расчищают штрабы для установки металлического слива в нижней четверти проема, а при отсутствии пробивают штрабы на всю четверть;

- при наличии трещин на четвертях проемов по периметру окон (дверей) выполняют расшивку трещин полимерраствором или цементно-песчаным раствором на напрягающем цементе НУ-20(40);

- герметизируют полости по периметру окон (дверей) мастикой Абрис®гс или оклеивают самоклеящейся лентой Абрис®С-ЛТбаз или Абрис®С-ЛТнп;

- устанавливают металлический слив - окрытие в штрабы с заведением фальца слива в прорезь оконного блока;

- крепят слив к оконной коробке гвоздями с шагом около 200 мм, прокладывая по периметру слива самоклеящуюся ленту Абрис®С-ЛБ шириной 60 - 80 мм;

- уплотняют штрабы в местах установки слива полимерраствором;

- выполняют декоративно-защитную окраску четвертей и оконных (дверных) блоков.

5.25. В связи с тем, что уплотненные при строительстве горизонтальные стыковые соединения зачастую подвержены инфильтрации воздуха (продувание), следует выполнять дополнительную герметизацию, укладывая под плинтус самоклеящуюся ленту Абрис®С-ЛТнп (ЛТбаз) в следующей последовательности (рис. 5.5):

- аккуратно снять плинтус в зоне горизонтального шва и тщательно очистить его заднюю поверхность, стену и пол в зоне расположения плинтуса (участки плинтусов, примыкающих к внутренним стенам, на длину около 200 мм также снять и очистить);

- наклеить ленту Абрис®С-ЛТнп, предварительно сняв антиадгезионную пленку с одной стороны;

-затем снять антиадгезионную пленку с поверхности наклеенной ленты, с прижатием установить и закрепить плинтус.

- затем снять антиадгезионную пленку с поверхности наклеенной ленты, с прижатием установить и закрепить плинтус.

Герметизация стыковых соединений одно- и трехслойных стеновых панелей

Рис. 5.4. Конструктивное решение ремонтной герметизации стыков между оконными (дверными) блоками и четвертями проемов:

А - боковой стык между оконным блоком и четвертью проема стены, Б - стык между оконным блоком и нижней четвертью проема стены;
1 - наружная стеновая панель, 2 - оконный блок, 3 - пористое уплотнение стыка (установлено при монтаже), 4 - старая герметизирующая мастика, 5 - подоконник, 6 - металлический слив, 7 - лента Абрис®С-ЛТбаз или Абрис®С -ЛТнп, 8 - лента Абрис®С -ЛБ, 9 - уплотнение полимерраствором.

5.26. Стыки одно- и трехслойных панелей наружных стен закрытого типа в процессе строительства, как правило, герметизированы мастиками-эластомерами в сочетании с пористыми уплотнителями. В связи с тем, что такие панели подвержены значительным деформациям, прежде всего, под воздействием перепадов температур, часты расстройства швов, особенно при недостаточных деформативности на морозе и адгезии мастик бетонным поверхностям (рис. 5.6). Именно эти факторы обусловливают целесообразность герметизации стыковых соединений таких конструкций самоклеящимися армированными лентами. При этом исключительно важно обеспечить достаточный компенсационный провис (или складку) для того, чтобы напряжения в шве были близки к нулю.

5.27. В одно- и трехслойных стеновых панелях герметизацию выполняют, используя в качестве пористых прокладок либо вспененный полиэтилен (Вилатерм-СП (СМ), либо антисептированную паклю, либо пенополиуретан с оклейкой самоклеящейся армированной лентой Абрис®С-ЛТбаз или Абрис®С-ЛТнп (рис. 5.7). Конкретное решение принимает проектная организация.

5.28. Подготовка поверхностей стыкуемых конструкций в устье определяет качество герметизации, поэтому следует тщательно очистить бетон от наплывов цементно-песчаного раствора, а при обнаружении трещин или раковин уплотнить их полимерраствором. В качестве полимеррастворов применяют цементно-песчаные растворы 1:3 с добавкой до 15% ПВАЭ от массы цемента или используют более надежный полизоцианатный состав Лукар-ОВ или Лукар-ОХ*.

* Стандартная продукция - Лукар-ОП соответствует Техническим Условиям ТУ 5772-002-58275026-02 от 05.02.2002 г., как и все Лукары относятся к малоопасным веществам четвертого класса опасности по ГОСТ 12.1.007-76 (Гигиеническое заключение № 52.НЦ.15.577.П.000355.02.03 от 17.02.2003 г). Свидетельство на товарный знак № 257756 от 27.10.2003 г.

5.29. При наличии остатков смазки на кромках панелей следует их смыть, используя ветошь, смоченную в уайт-спирите, до механической очистки.

5.30. В качестве праймера-грунтовки следует применять мастику Абрис®Рп, которую наносят щетинной кистью флейц тонким слоем (толщина слоя не должна превышать 150 мкм) за один проход.

5.31. Паклю и пористые прокладки круглого сечения (диаметр прокладки должен быть в два раза больше ширины зазора в устье стыка) вводят насухо в полость, используя закругленные деревянные лопатки. Соединение прокладок следует выполнять "на ус" на расстоянии не менее 300 мм от места пересечения вертикального и горизонтального стыков. В качестве клеев эффективны "ОНИКС", "88-КР" и "88-КРМ".

Рис. 5.6. Решение первичной герметизации в сопряжении конструкций трехслойных панелей:

1 - наружная стеновая панель, 2 - внутренняя стеновая панель, 3 - утеплитель, 4 - уплотняющая прокладка, 5 - герметизирующая мастика Абрис®Рс

Рис. 5.8. Решение первичной герметизации в сопряжении одномодульных панелей(блоков):

1 - наружная стеновая панель, 2 – уплотняющая прокладка, 3 - бетон замоноличивания, 4 - цементно-песчаный раствор, 5 - герметизирующая мастика Абрис®Рс

5.32. При необходимости устье стыка просушивают, используя малогабаритные горелки.

5.33. Самоклеящиеся ленты Абрис®С-ЛТнп Абрис®С-ЛТбаз и Абрис®С-ЛТм следует наклеивать без натяга и желательно прикатывать обрезиненным валиком, исключая морщины и вздутия.

При температуре воздуха ниже 5°С самоклеящиеся ленты следует выдерживать в помещении при температуре около 20°С в течение суток или прогреть в термошкафу в течение часа при температуре около 40°С.

5.34. ЗАПРЕЩАЕТСЯ вести работы по герметизации на морозе при температуре ниже -20°С и нежелательно при температуре выше 40°С, а также нельзя работать при выпадении осадков.

Герметизация стыковых соединений одномодульных панелей и блоков

5.35. Стыки одномодульных панелей и блоков являются стыками закрытого типа (герметики располагаются только с внешней поверхности), следовательно, и ремонт их осуществляется только снаружи (рис. 5.8).

5.36. При осредненной ширине устьев стыков, составляющей 20 мм, их можно герметизировать как мастикой, так и самоклеящимися лентами (рис. 5.9).

5.37. В качестве герметизирующей мастики применять Абрис®С-Б или Абрис®Рс к праймеру - грунтовке Абрис®Рп. Наносить мастику следует пневмопистолетом или шпателем.

5.38. Вместо мастики можно использовать самоклеящиеся ленты Абрис®С-ЛТбаз или Абрис®С-ЛТнп. Конкретное решение определяется проектом или по согласованию с авторским надзором.

5.39. Оклеечную герметизацию целесообразно выполнять в теплое время года, учитывая максимальное раскрытие стыка за счет укорочения стыкуемых конструкций в холодное время.

6. Механизмы, инструменты и приспособления для выполнения герметизации при строительстве и ремонте

6.1. Для очистки бетонных поверхностей от старых материалов и заусенец используют пневмо- или электродрели со сменными насадками (рис. 6.1). Для срезки старых герметиков рационально использовать оборудование Hilti и виброножи Fajn для вскрытия швов, а также Multi Master (рис. 6.2).

6.2. Для подсушки поверхностей перед нанесением герметиков применяют газовые горелки или аппарат СКВ Мосстроя (рис. 6.3 и 6.4).

6.3. Для нанесения мастики типа Абрис®С-Б, Абрис®Рс можно применять пистолеты (шприцы) (рис. 6.5 - 6.7) и заправочное устройство (рис. 6.8).

 


 

Рис. 5.7. Рациональные конструктивно-технические решения ремонтной герметизации швов одно- и трехслойных панелей:

1 - стыкуемые наружные панели, 2 - мелкозернистый бетон, 3 - пористая прокладка типа Вилатерм СМ Ø 40 - 60мм (ППУ или антисептированная пакля), 4 - зона очистки, 5 - праймер Абрис Рп, 6 - самоклеящаяся лента Абрис С-ЛТнп или Абрис С-ЛТбаз, 7 - полимерраствор, 8 - пористый утеплитель (минвата, базальтовая вата)

 

Рис. 5.9. Раци●…  руктивно-технологические решения ремонтной герметизации швов одномодульных панелей (блоков):

1 - стыкуемые наружные панели, 2 - уплотняющая прокладка Вилатерм СМ 0 40 мм (ППУ или антисептированная пакля), 3 - зона очистки, 4 - праймер Абрис®Рп, 5 – мастика Абрис®С-Б или Абрис®Рс, 6 - самоклеящаяся лента Абрис®С-ЛТнп или Абрис®С-ЛТбаз

 

 


6.4. Для уплотнения пакли в полости стыка рационально использовать пневматическую конопатку (рис. 6.9).

6.5. Для нанесения пенополиуретановых композиций применяют установки типа Пена-98П20, Пена-9М или Пена-12 (рис. 6.10). При небольших объемах запенивания полостей стыков используют стандартные баллончики отечественного или зарубежного производства типа Макрофлекс.

Для заливки полостей в вертикальных стыках рационально применять установку Пена-98 НПФ "Н.С.Т." со специальной заливочной головкой. В этом случае происходит смешивание компонентов ППУ механическим способом, что позволяет создавать равномерную по плотности однородную смесь ППУ на выходе заливочного устройства.

6.6. Для уплотнения полости устья пористыми прокладками и при наклейке самоклеящихся лент применяют наборные ролики (рис. 6.11).

6.7. Для нанесения мастик Абрис®Рс и Абрис®Ру рекомендуется применять электрогерметизаторы, которые можно изготовить в строительной организации, используя стандартные электродрели (рис.6.6а, б). Для заглаживания мастик применяют ручные гладилки (рис. 6.12).

6.8. Для срезки избыточной массы пенополиуретана рекомендуется использовать клюкарзы, которые пригодны и для счистки старых эластомеров (рис. 6.13).

6.9. Все инструменты, механизмы, приспособления и материалы целесообразно располагать в специально оборудованном вагончике (помещении) (рис. 6.14).

7. Контроль качества герметизации

7.1. Контроль качества герметизации стыков и ремонт швов предусматривает контроль правильности хранения, приготовления и использования материалов, пооперационный контроль технологических операций по герметизации, а также приемку выполненных работ. Контроль качества герметизирующих материалов в частности осуществляет поставщик, "Завод герметизирующих материалов", а также по договору ведущие специалисты Госакадемий, НИИ и проектных институтов. Периодический контроль осуществляет жилищная инспекция.

7.2. Необходимым условием качественной герметизации является соответствующая квалификация персонала. Работы по герметизации стыков (швов) должны выполнять рабочие, обученные по специальным программам обязательно на рабочем месте.

7.3. Перед использованием мастик и самоклеящихся лент необходимо проверить:

Рис. 6.1. Схема механизмов для очистки конструкций: а) реверсная пневматическая угловая щетка, б) электродрель,

1 - стильная щетка, 2 - крепление для сменного оборудования, 3 - турбинка, 4 - корпус дрели, 5 - выключатель, 6 - сменная стальная щетка, 7 - фреза для расчистки швов, 8 - материальный шланг

Рис. 6.2. Шведский механизм для расчистка швов между стеновыми панелями (блоками)

Рис. 6.4. Схема механизма СКБ Мосстроя для сушки стыков:

1 - корпус электронагревателя, 2 - электрошкаф с пультом управления, 3 - резино-тканевый рукав подвода воздуха от компрессора, 4 - высокотемпературный шланг, 5 -удочка

 

Рис. 6.3. Конструктивная схема инжекционной горелки для подсушки устья стыка:

1 - сопло, 2 - стабилизатор, 3 - смеситель, 4 - форсунка, 5 - кран, 6 - ниппель

Рис. 6.5. Пистолет со шнековым смесителем:

А - общий вид и продольный разрез, Б - в сборке и разобранном виде;
1 - шнек, 2 - подшипники, 3 - втулка, 4 - насадка, 5 - стакан, 6 - вал

Рис. 6.6. Электрогерметизатор:

А - схема устройства, Б - в рабочем состоянии;

1 - дрель, 2 - крепление, 3 - корпус, 4 - спираль, 5 - электронагреватель, 6 - насадка, 7 - двухполосный разъем, 8 - втулка, 9 - электрообогрев, 10 - ручка, 11 - выключатель, 12 - электропривод

Рис. 6.7. Ручной шприц для нанесения мастики:

А - схема устройства шприца, Б - герметизация устья шва шпринцеванием;

1 - лента ворсовая, 2 - мундштук, 3 - гайка, 4 - наконечник, 5 - поршень, 6 - стержень, 7 - цилиндр, 8 - крышка, 9 - ручка, 10 - пружина

Рис. 6.8. Смесительно-заправочное устройство конструкции ЦНИИОМТП для легкотекучих мастик:

1 - бак (емкость), 2 - съемное кольцо, 3 - резиновое днище, 4 - защелка, 5 - поршень, 6 - пята гильзы шприца, 7 - рукоятка поршня, 8 - ручка бака, 9 - пята рукоятки поршня

Рис. 6.9. Схема устройства пневматической конопатки (чеканки):

1 - пневмомолоток КМП-31, 2 - державка, 3 - фиксатор, 4 – сменная конопатка (чеканка)

Рис. 1.10. Схема установки Пена - 12:

1 - емкость для полиэфирной смеси (компонент А), 2 - насос, 3 - фильтр, 4 - емкость для полиизоцианата (компонент Б), 5 - сменные шестерни, 6 - муфта, 7 - пневматическая дрель, 8 - механизм прокрутки, 9 - нагнетательные шланги, 10 - нагнетательные шланги, 11 – регулятор давления, 12 - фильтр влагоотделитель, 13 - пистолет-распылитель, 14 - камера смешивания, 15 – курок

Рис. 1.14. Схема помещения для герметчиков:

1 - механизмы для заточки клюкарз и шпателей,

2 - ящик для утилизации использованных приспособлений,

3,4 - ящики для защитных приспособлений,

5 - место для растворителей,

6 - туалетное помещение,

7 - электрощит,

8 – ящики для хранения шприцов (пистолетов),

9 – место расположения машины для нанесения пенополиуреата,

10 - емкости для герметиков,

11 - шкаф для одежды,

12 - место отдыха,

13 - индивидуальные шкафчики,

14 - раковина-умывальник

Рис. 6.11. Конструкции роликов для уплотнения шва пористыми прокладками:

А - наборный ролик, Б - фигурный ролик, В - схема уплотнения шва наборным роликом

Рис. 6.12. Конструкция ручной конопатки для уплотнения полостей швов паклей

Рис. 6.13. Схема очистки кромок стыкуемых конструкций от старой мастики клюкарзой

- правильность комплектации поставки в соответствии с паспортом завода-изготовителя, наличие маркировок (этикеток) на емкостях и упаковках;

- соблюдение указанных в ТУ 5772-003-43008408-99 и 5775-004-52471462-2003 условий хранения компонентов мастики;

- целостность (герметичность) тары, в которой поставлены мастика (праймер);

- соответствие времени использования мастики и лент гарантийному сроку хранения с учетом даты их изготовления. Эти сроки и дата занесены в этикетки (маркировки) и содержатся в паспорте, в котором также указаны показатели качества мастики по ТУ и фактические, определенные по результатам лабораторных испытаний на заводе-изготовителе.

7.4. Необходим контроль за тем, чтобы при наличии хотя бы одного из перечисленных ниже нарушений - просроченном гарантийном сроке хранения любого материала, несоблюдении условий их хранения, нарушении герметичности тары, несоответствии внешнего вида - использовать только после получения результатов испытаний на соответствие требованиям, указанным в п. 7.3.

7.5. В отношении других материалов, применяемых при герметизации стыков (швов), необходим контроль соблюдения приведенных в ТУ на эти материалы условий их поставки, маркировки, хранения, а также соответствия времени применения материалов гарантийному сроку их хранения.

7.6. Выполнение работ по герметизации стыков (швов) необходимо регулярно фиксировать в специальном журнале. На весь комплекс указанных работ следует составлять акты на скрытые работы.

7.7. Для обеспечения качественного выполнения работ необходим систематический пооперационный контроль в продолжение всех этапов герметизации стыков, как в ходе нового строительства, так и при ремонте. Контроль осуществляют ИТР подрядчика и заказчика, а также работники технического контроля предприятий домостроения и представители проектной организации.

7.8. При проведении ремонтной герметизации швов необходим надзор со стороны эксплуатационной организации, в ведении которой находится ремонтируемое здание.

При обнаружении отклонений от положений настоящих указаний следует составить акт в двух экземплярах - для эксплуатационной и вышестоящей ремонтно-строительной организации, а также фиксировать нарушения в журнале "Контроль качества производства работ по герметизации стыков полносборных зданий".

7.9. Приемку выполненных работ следует сопровождать осмотром всех отремонтированных швов. По завершении приемки следует составить акт, который подписывают представители организации, проводившей ремонт, и эксплуатационной организации, в ведении которой находится здание.

7.10. Качество герметизации стыков рекомендуется проверять выборочно (5% от общего количества отремонтированных стыков в доме) путем контрольных испытаний их на водопроницаемость способом дождевания в соответствии с "Указаниями по методике инструментальной проверки герметичности стыков наружных стеновых панелей, оконных и балконных блоков методом дождевания на заводах и стройплощадках" ВСН-100-74 и РСН 58-82 "Инструкция по испытанию на водо- и воздухопроницаемость стыков наружных стен крупнопанельных и объемноблочных жилых зданий в натурных условиях", Минск, Госстрой БССР, 1982.

7.11. Проверять на воздухопроницаемость следует устья стыков, герметизированных с наружной стороны (не менее: вертикальных рядовых - 10, горизонтальных - 5, пересечений вертикального и горизонтального - 3, вертикальных угловых - 2) по методике, изложенной в ОСТ 20-2-74 "Методы проверки теплозащитных качеств и воздухопроницаемости ограждающих конструкций в крупнопанельных зданиях" и "Карты трудовых процессов на герметизацию стыков наружных стен, гидроизоляцию и утепление поверхностей конструкций зданий", Мосоргтехстрой, М.,1987.

7.12. Качество адгезии герметиков в натурных условиях определяют при помощи адгезиометра АГ конструкции ЛНИИАКХ им К.Д. Памфилова.

7.13. После окончания ремонтной герметизации швов для каждого дома заполнить журнал-ведомость (Приложение 3). Кроме того, после интенсивного косого дождя (дождя, сопровождавшегося ветром), а также сильного ветра необходимо опросить жильцов, ранее подававших жалобы на протечки или продувание наружных стен в зоне стыков, не наблюдаются ли рецидивы прежних дефектов.

8. Техника безопасности и производственная санитария

8.1. Работы по герметизации стыков (швов) как в ходе нового строительства, так и при ремонте, следует выполнять, строго соблюдая требования:

- СНиП 12-04-2002 "Безопасность труда в строительстве. Часть 2. Строительное производство";

- ГОСТ 12.0.004-90 "ССБТ. Организация обучения безопасности труда";

- ГОСТ 12.3.005-76 "Работы окрасочные, общие требования безопасности";

- ГОСТ 12.4.011-75 "Средства защиты работающих";

- ГОСТ 12.4.020-82 "ССБТ. Средства индивидуальной защиты рук. Номенклатура показателей качества";

- "Типовой инструкции по охране труда для работников строительства, промышленности строительных материалов и жилищно-коммунального хозяйства" ТОИ Р-66-01-95, Минстрой России;

- "Правил техники безопасности при текущем и капитальном ремонте жилых и общественных зданий". Стройиздат, М., 1972;

- "Правил пожарной безопасности при производстве строительно-монтажных работ", утвержденных ГУ ПО МВД РФ;

- ГОСТ 12.1.004-76 "Пожарная безопасность";

- конкретных проектов и настоящих указаний.

8.2. В соответствии с Кодексом законов о труде и действующими правилами техники безопасности в строительстве ответственность за создание безопасных условий труда возлагается на руководящий административно-технический персонал ремстройорганизации.

8.3. Для пропаганды безопасных способов ведения работ администрация обязана вывешивать в рабочей зоне оповестительные плакаты размером не менее 400×400 мм (рис. 8.1 - 8.6).

8.4. Рабочие-герметчики обязаны пройти медицинское обследование и иметь при себе допуск на работу с полимерными материалами и растворителями.

8.5. Растворители пожароопасны – это должно определять исключительную осторожность к решению вопросов складирования, транспортирования и использования их на объекте ремонтных работ.

8.6. Инженерно-технический персонал и герметчиков следует обучить правилам безопасного выполнения каждой технологической операции непосредственно на рабочем месте. После проверки знаний они должны расписаться в специальном журнале по технике безопасности. Повторный инструктаж проводят не реже раза в 3 месяца.

8.7. К ремонтной герметизации не допускаются рабочие моложе 21 года, страдающие хроническими заболеваниями верхних дыхательных путей, глаз и желудка.

8.8. Герметчикам выдается наряд на особо опасные работы. Разрешается использовать самоподъемные люльки, испытанные при статическом и динамическом нагружении (обязательно наличие акта испытаний на каждую люльку). Скалолазы обязаны иметь разрешение на герметизационные работы.

8.9. Герметчики должны быть одеты в хлопчатобумажные комбинезоны - спецодежду согласно ГОСТ 12.04.001.75.

8.10. В люльках запрещается курить, принимать пищу и пользоваться открытым огнем. В люльке обязательно должен находиться пенный углекислотный огнетушитель.

8.11. Для защиты рук и лица целесообразно пользоваться пастами, составы которых приведены в Приложении 4, или силиконовым кремом.

Рис. 8.1. Плакат с надписью: "Курить и разводить огонь запрещается" на белом фоне красная штриховка и пламя)

Рис. 8.2. Плакат с надписью: "Посторонним проход воспрещен" (на светлом фоне фигура черного цвета и красная штриховка)

Рис. 8.3. Плакат с надписью: "Огнетушитель расположен в 5 метрах" (на белом фоне красная штриховка)

Рис. 8.4. Плакат с надписью: "Здесь можно курить и разводить огонь" (на светло-зеленом фоне красное пламя)

Рис. 8.5. Плакат с надписью: "Работай в перчатках" (на светлом фоне желтая штриховка и зеленые перчатки)

Рис. 8.6. Плакат с надписью: Работай в респираторе" (на светлом фоне темные контуры головы и зеленый респиратор)

Рис. 8.7. Рабочий со щитком

Рис. 8.8 Схема устройства пылезащитного респиратора:

1 - резиновая полумаска, 2 - оголовье, 3 - клапан выхода, 4- корпус, 5 - фильтр, 6 - кольцо-экран, 7 - поджимное кольцо

8.12. Герметчики должны работать в перчатках, защитных очках или щитках и респираторах (рис. 8.7).

8.13. Индивидуальные респираторы следует использовать согласно прилагаемого паспорта и хранить в полиэтиленовом пакете (рис. 8.8).

8.14. Герметчикам следует соблюдать следующие санитарные правила:

- избегать прямого контакта с герметиками и растворителями;

- брызги мастик смывать теплой водой с мылом;

- спецодежду, обувь и защитные приспособления хранить в индивидуальных шкафах;

- не использовать шерстяную, шелковую и синтетическую одежду, а также не работать в украшениях из металлов (кольцах, браслетах и т.п.);

- не принимать пищу в местах хранения, приготовления герметиков и на рабочем месте.

8.15. Все герметчики обязаны проходить медицинское обследование один раз в 6 месяцев в соответствии с приказом Минздрава СССР № 400 от 30 мая 1969 г.

8.16. По окончании работы приспособления и инструменты следует промыть растворителем (уайт-спиритом), протереть хлопчатобумажными концами и хранить в металлическом ящике.

8.17. К работе с пневмо-, электроинструментом и подъемными механизмами допускаются рабочие, прошедшие специальное обучение, инструктаж по технике безопасности и оказанию первой помощи. Покидая рабочее место, электроустановки и электроинструменты следует обесточить.

8.18. ЗАПРЕЩАЕТСЯ открытое хранение емкостей с покрытием, растворителем и пустых во дворах и на улицах.

8.19. Вывинчивать пробки из бочек и бидонов с растворителями необходимо только специальным ключом. Использовать для этого зубило и молоток ЗАПРЕЩАЕТСЯ.

Приложение 1
Характеристики стыковых соединений полносборных зданий

При устройстве стыковых соединений ограждающих конструкций зданий для обеспечения их водо- и воздухоизоляции используют разнообразные конструктивные решения, при этом каждый элемент, образующий стык выполняет определенные функции.

Конструктивные элементы

Экран - защитное устройство, ширина которого в рабочем положении больше базисного размера зазора стыкуемых конструкций. Экран предназначен для гашения ветрового напора и задержания капельной влаги. Экран выполняют в воде ленты из полиолефинов или металлов, которые устанавливают в специально предусмотренные пазы глубиной до 20 мм свободно или враспор, либо снаружи.

Уплотняемая зона - часть стыка с зазором, оканчивающимся устьем, в которое помещают уплотняющий материал, предотвращающий фильтрацию влаги и воздуха внутрь стыка и в помещение.

Декомпрессионный канал - незаполненная полость стыка с зазором больше базисного, обеспечивающая резкое снижение скорости воздуха и влаги, проникающих в стык. Декомпрессионный канал выравнивает давление наружного воздуха, снижая кинетическую энергию капельной влаги. Декомпрессионный канал выполняют в виде вентилируемого воздушного пространства между экраном и уплотняемой зоной. Сечение декомпрессионного канала должно превышать ширину устья стыка. Для препятствия смыканию стыкуемых конструкций в уплотняемой зоне предусматривают компенсатор геометрических погрешностей размеров.

Конструкция вертикальных стыков предусматривает обеспечение при любых допусках на изготовление и монтажа конструкций минимального зазора не менее 10 мм. Для этого используют конструктивный способ - устройство монтажных выпусков, обеспечивающих минимальный зазор в 10 мм.

Водоотводящее устройство предназначено для вывода наружу осадков, попадающих в стык. В качестве таких канализационных устройств для поэтажного отвода воды из декомпрессионного канала применяют фартуки и трубки, стойкие к атмосферным воздействиям.

При их деформации происходит капиллярный подсос и гравитационное проницание влаги в тело ограждающих конструкций.

Гребень - барьер высотой не менее 60 мм в горизонтальном стыке, препятствующий проникновению осадков.

Открытая зона конструктивных устройств, обеспечивающая защиту стыка от осадков, дренаж и отвод их наружу.

Закрытая зона конструктивных устройств, в которой водонепроницаемость стыка обеспечивается за счет ограждения его воздухопроницаемости.

Закрытый стык - характеризуется закрытой зоной снаружи, т.е. герметик расположен снаружи, обеспечивая водо- и воздухозащиту стыка.

Открытый стык с открытой зоной снаружи, а герметик помещен внутри стыка.

В связи с тем, что интенсивность старения герметиков определяется воздействием УФ облучения, осадками, обледенением, "кислотными дождями", то открытый стык и предназначен для исключения большей части этих воздействий.

Герметичность открытого стыка в основном зависит от качества монтажа и допусков стыкуемых конструкций.

Приложение 2
Пример расчета провиса - компенсатора

В качестве примера выполняем расчет для условий средней полосы России при следующих исходных данных:

- характерная длина бетонной панели - 6 м (ее поверхность не защищена от проникновения влаги);

- расчетная зимняя температура -31°С, летняя +30°С;

- проектная ширина стыка (b) - 20 мм, максимальная (bтах) - 50 мм, минимальная (bтin) - 10 мм, устье - 15×15 мм×45°;

- по суммарному воздействию на ограждающие конструкции влажности и температуры за экстремумы принимаем январь и июль месяцы.

Расчет начинаем с определения величины продольной деформации стеновой панели с учетом воздействия влажности и температуры, а затем определяем величины компенсационной складки для стыков с шагом 10 мм от bтin до bтах. В экстремальном случае температурно-влажностные воздействия вызывают деформации панелей в одном направлении: зимой в случае минимальной влажности панели min) с наименьшей температурой (tmin) = -31°C, (tmax) летом = 30°С. Максимальная деформация тах) панели составит:

Δmax = alΔtlΔU                                                               (1)

где а - усредненный коэффициент линейного расширения панели 10-5 град-1*,

Ψ - коэффициент линейного набухания бетона панели;

Δt - действующая разность экстремальных температур;

ΔU -  расчетный перепад влажности;

l - длина панели.

Коэффициент линейного набухания определяем, исходя из условия атмосферных воздействий на панели:

           (2)

где Umax, Umin - соответственно максимальная и минимальная среднемесячные относительные влажности наружного воздуха;

р - числовая величина по таблице 47 [1];

τ, τ1, - время в часах с отсчетом от января месяца.

Подставляя величины Umin = 30%, Umax = 90%, τ = 8640, τ1 = 4320, р = π, определяем Ψ(τ) = 0,0125 г/ч.

Тогда из (1) следует, что максимальное осевое приращение длины панели составит:

Δmax = 10-5*6000*61+5*10-3*6000*1,25*10-2 = 3,975 мм

* Для состава смеси цемент + песок 1:1 а = 12,6*10-6 град-1,

для состава смеси 1:8 а = 9,5*10-6 град-1,

усредненное значение а = 10* 10-6 град-1 = 10-5 град-1.

С учетов возможных вариаций составов бетона назначаем коэффициент запаса К=1,2, тогда расчетное значение величины деформации панели составит:

Δрасч. = 1,2*3,975 = 4,8 мм

На рис. 2 показана схема стыка с компенсатором.

Данные для определения величины стрелы прогиба для различных значений b приведены в таблице (2).

Таблица.

b, мм

L, мм

h, мм

10

14,8

4,15

20

24,8

6,15

30

34,8

7,55

40

44,8

8,71

50

54,8

9,73

Литература

1. К.Ф. Фокин. Строительная теплотехника ограждающих частей зданий. Стройиздат, М., 1973.

2. С.В. Александровский. Расчет бетонных и железобетонных конструкций на изменение температуры и влажности с учетом ползучести. Стройиздат, М., 1974.

Приложение 3
ЖУРНАЛ-ВЕДОМОСТЬ
работ по ремонтной герметизации стыков

Адрес здания, серия

Дата обследования и дата предыдущего ремонта

Адрес здания, серия

 

Наименование дефекта

Количество

при обследовании

фактически выполнено

Протечки и продувания в вертикальных межпанельных стыках, п.м

 

 

Протечки и продувания в горизонтальных межпанельных стыках, п.м„

Протечки и продувания в стыках между оконными (дверными) блоками и четвертями проёмов стен, п.м

 

Представитель заказчика

 

Представитель ремонтно-строительной организации

 

"___"_________________г.

 

Приложение 4
Составы профилактических паст

Наименование пасты

Ингредиенты

% по массе

ПМ-1-МИОТ

Крахмал

14

Глицерин

13

Белая глина

10

Тальк

8

Вазелиновое масло

7

Желатин пищевой

2

Вода

44

Спирт этиловый

1,7

Салициловая кислота

0,3

Казеин

20

Биологические ("невидимые") перчатки

Этиловый спирт

58

Глицерин

20

25% раствор аммиака

2

ИЭР-1

Глицерин

10

Каолин (белая глина)

40

Вода

38

Мыло натриевое нейтральное

12

Паста Селисского

Борная кислота

2

Крахмал картофельный

15

Тальк

21

Желатин пищевой

2

Ланолин

36

Глицерин

14

Мыло МДМ

Вода

10

Глицерин

5

Спирт этиловый

5

Порошок пемзы

45

Салициловая кислота

45

 

 

 




ГОСТЫ, СТРОИТЕЛЬНЫЕ и ТЕХНИЧЕСКИЕ НОРМАТИВЫ.
Некоммерческая онлайн система, содержащая все Российские Госты, национальные Стандарты и нормативы.
В Системе содержится более 150000 файлов нормативно-технической документации, действующей на территории РФ.
Система предназначена для широкого круга инженерно-технических специалистов.

Рейтинг@Mail.ru Яндекс цитирования

Copyright © www.gostrf.com, 2008 - 2026