|
|
|
министерство мелиорации и водного хозяйства ссср всесоюзный головной проектно-технолОГИЧескиЙ институт комплект (Пособие к ВСН 33-3...87 Москва 1987 Комплект технологических карт на строительство комбинированного дренажа разработан в соответствии с заказом № 60 от 2 июня Технологические карты выполнены в соответствии с требованиями «Методических указаний по разработке типовых технологических карт в строительстве» ЦНИИОМТП Госстроя СССР, М., I987. В комплекте даны решения по организации и технологии строительства скважины-усилителя с установкой водоподъемной колонны из полиэтиленовых труб и подключением ее к дрене, смотровому колодцу и открытому коллектору. Вопросы организации и технологии производства работ по строительству коллекторно-дренажной сети в данном комплекте не рассматриваются. При производстве работ по строительству коллекторно-дренажной сети следует руководствоваться другими комплектами технологических карт. Комплект технологических карт разработан отделом технологии водохозяйственного строительства в
зоне орошения ВГПТИ «Союзоргтехводстрой» (Л.Н. Перевезенцев, А.И. Калинин, А.В. Березин, Л.А. Злобина), рассмотрен и одобрен НТС ВГПТИ «Союзоргтехводстрой» (протокол № 8 от 30 ноября При разработке комплекта использованы материалы САНИИРИ, Средазгипроводхлопка, института «Оргтехстрой» Главсредазирсовхозстроя. Комплект технологических карт предназначен для специалистов строительных и проектно-технологических организаций Минводхоза СССР. Содержание
ОБЩАЯ ЧАСТЬ1. ОБЛАСТЬ ПРИМЕНЕНИЯ Комплект технологических карт разработан на строительство скважины-усилителя с установкой водоподъемной колонны из полиэтиленовых труб и подключением ее к дрене, смотровому колодцу и открытому коллектору. Водоподъемная колонна выполнена из полиэтиленовых труб (ПВП
типа «С») диаметром Строительство и подключение скважин-усилителей производится
при низком (более Конструкции комбинированного дренажа приняты в соответствии с пособием «Конструкции горизонтального, вертикального и комбинированного дренажа» к ВСН 33-2.2.03-86 «Мелиоративные системы и сооружения. Дренаж на орошаемых землях. Нормы проектирования» М., В/О «Союзводпроект», 1986. При расчете калькуляций затрат труда, машинного времени, заработной платы учтены «Временные поправочные коэффициенты к действующим Единым нормам и расценкам на строительные, монтажные и ремонтно-строительные работы (ЕНиР)», приложение к постановлению
Госстроя СССР, Госкомтруда СССР и ВЦСПС от 10 ноября Работы по строительству скважины-усилителя и подключение ее к водоотводящей сети выполняются при положительных температурах и ведутся в две смены. Продолжительность смены 8,2 часа. Состав комплексно-механизированной бригады приведен в табл. 1. Таблица 1
При привязке комплекта технологических карт к конкретному объекту уточняются объемы работ, калькуляции трудовых затрат, средства механизации и материально-технические ресурсы. 2. ТЕХНИКО-ЭКОНОМИЧЕСКИЕ ПОКАЗАТЕЛИ Таблица 2
3. ТЕХНИКА БЕЗОПАСНОСТИ При производстве работ по строительству комбинированного дренажа необходимо соблюдать требования по технике безопасности, предусмотренные СНиП III-4-80 «Техника безопасности в строительстве» и инструкциями по эксплуатации применяемых машин и оборудования. Все машины должны быть в исправном состоянии. Необходимо предусмотреть ограждения отстойника. Освещение буровой в ночное время должно отвечать требованиям СН 81-70 «Указания по проектированию электрического освещения строительных площадок». ТЕХНОЛОГИЧЕСКАЯ КАРТА
|
|||||||||||||||||||||||||||||||||||||||||||||||||||||||||||||||||||||||||||||||||||||||||||||||||||||||||||||||||||||||||||||||||||||||||||||||||||||||||||||||||||||||||||||||||||||||||||||||||||||||||||||||||||||||||||||||||||||||||||||||||||||||||||||||||||||||||||||||||||||||||||||||||||||||||||||||||||||||||||||||||||||||||||||||||||||||||||||||||||||||||||||||||||||||||||||||||||||||||||||||||||||||||||||||||||||||||||||||||||||||||||||||||||||||||||||||||||||||||||||||||||||||||||||||||||||||||||||||||||||||||||||||||||||||||||||||||||||||||||||||||||||||||||||||||||||||||||||||||||||||||||||||||||||||||||||||||||||||||||||||||||||||||||||||||||||||||||||||||||||||||||||||||||||||||||||||||||||||||||||||||||||||||||||||||||||||||||||||||||||||||||||||||||||||||||||||||||||||||||||||||||||||||||||||||||||||||||||||||||||||||||||||||||||||||||||||||||||||||||||||||||||||||||||||||||||||||||||||||||||||||||||||||||||||||||||||||||||||||||||||||||||||||||||||||||||||||||||||||||||||
|
Наименование комплекта машин и оборудования |
Вариант (фасет- |
Техническая характеристика |
Марка |
Коли- |
|
Бульдозер |
1 |
Гидравлический, поворотный, на базе трактора Т-130.1Г-1, длина отвала |
ДЗ-109 |
1 |
|
|
2 |
На базе трактора ДТ-75, с неповоротным отвалом, длина отвала |
ДЗ-42 |
1 |
|
Поливочная машина |
1 |
Полуприцепная, на базе
трактора К-700,
емкость цистерны - |
ПМ-10 |
1 |
|
Буровая установка |
1 |
Самоходная, для бурения скважин роторным способом; на базе МАЗ-500А; глубина
бурения - |
УРБ-3АМ |
1 |
Работы по строительству скважины-усилителя выполняются бригадой, состоящей из 6 человек:
машинист бульдозера 6 разр. - 1
машинист поливочной машины 6 разр. - 1
машинист буровой 5 разр. - 1
пом. машиниста 4 разр. - 2
пом. машиниста 3 разр. - 1
3. ТРЕБОВАНИЯ К КАЧЕСТВУ И ПРИЕМКЕ РАБОТ
Операционный контроль качества работ по строительству скважины-усилителя выполняется в соответствии с требованиями глав СНиП III-8-76 «Правила производства и приемки работ. Земляные сооружения», СНиП 3.07.03-85 «Мелиоративные системы и сооружения», СНиП 3.02.01-83 «Основания и фундаменты».
По окончании работ оформляется акт на скрытые работы по установке фильтровой колонны и обсыпке скважины.
Технические критерии и средства контроля операций и процессов приводятся в табл. 2.
Таблица 2
|
Наименование процессов, подлежащих контролю |
Предмет контроля |
Инструмент и способ контроля |
Время контроля |
Ответственный за контроль |
Технические критерии оценки качества |
|
Срезка растительного грунта с поверхности отстойника |
Соответствие размеров площадки и толщины срезаемого слоя проектному. Правильность складирования грунта |
Визуально, мерная лента |
В процессе работ |
Мастер |
Допустимые отклонения толщины срезаемого слоя ± 10 % |
|
Устройство отстойника |
Соответствие отметок дна отстойника, геометрических размеров проектным |
Нивелир, мерная лента |
По окончании разработки отстойника |
То же |
Величина недобора грунта бульдозером не должна превышать 5- |
|
Устройство скважины- усилителя |
Вертикальность скважины; наличие вывалов грунта; глубина и диаметр скважины. |
Лот, шаблоны, пробные замеры |
После бурения скважины |
То же |
Отклонение оси скважины от вертикали не должно превышать 0,005 глубины скважины |
|
|
Наличие овальности, кривизны водоподъемных труб |
Визуально |
До спуска водоподъемных труб |
То же |
Трубы и фильтры должны соответствовать требованиям ГОСТов и технических условий |
|
|
Соответствие фракционного состава песчано-гравийной смеси проекту |
Лабораторный |
До устройства фильтровой обсыпки |
Строительная лаборатория |
Отбирается одна проба на потребный объем фильтровой обсыпки для 5 скважин-усилителей. Подача фильтра должна производиться равномерно и непрерывно |
|
Промывка скважины (строительная откачка) |
Соответствие дебита проектному |
Замеры объемным способом |
В процессе откачки |
Мастер, Строительная лаборатория |
При строительной откачке должен быть достигнут дебит, превышающий эксплуатационный не менее, чем на 20 %. Содержание механических примесей не должно превышать 0,01 % по весу |
4. КАЛЬКУЛЯЦИЯ ЗАТРАТ ТРУДА, МАШИННОГО ВРЕМЕНИ, ЗАРАБОТНОЙ ПЛАТЫ НА СТРОИТЕЛЬСТВО
1 СКВАЖИНЫ-УСИЛИТЕЛЯ
Таблица 3
|
Наименование процесса |
Номер фасет
для пере- |
Единица изме- |
Объем |
Обоснование
(ЕНиР и др. |
Норма времени |
Расценка, р.-к. |
Затраты труда |
Заработная плата, р.-к. |
Время пребы- |
Зара- |
||||
|
рабо- |
маши- |
рабо- |
маши- |
рабо- |
маши- |
рабо- |
маши- |
|||||||
|
1 |
2 |
3 |
4 |
5 |
6 |
7 |
8 |
9 |
10 |
11 |
12 |
13 |
14 |
15 |
|
1. Планировка строительной площадки бульдозером |
01 |
|
0,36 |
ЕНиР § 2-1-24 |
- |
0,216 |
- |
0-23 |
- |
0,08 |
- |
0-08,3 |
0,08 |
0-08,3 |
|
2. Срезка растительного грунта с поверхности отстойника бульдозером |
02 |
|
0,115 |
ЕНиР § 2-1-5, |
- |
0,69 |
- |
0-73 |
- |
0,079 |
- |
0-08,4 |
0,079 |
0-08,4 |
|
3. Разработка котлована отстойника бульдозером |
03 |
|
0,72 |
ЕНиР § 2-1-15 |
- |
1,55 |
- |
1-64 |
- |
1,11 |
- |
1-18,1 |
1,11 |
1-18,1 |
|
4. Доставка
воды поливочной машиной на расстояние |
04 |
1 рейс |
4 |
По расчету |
- |
0,958 |
- |
1-02 |
- |
3,83 |
- |
4-08 |
3,83 |
4-08 |
|
5. Монтаж буровой установки |
- |
1 aгp. |
1 |
ЕНиР § 14-19 |
5 |
15 |
3-50 |
12-46 |
5 |
15 |
3-50 |
12-46 |
5 |
12-46 |
|
6. Бурение
скважины Д = |
|
|
|
Применительно |
|
|
|
|
|
|
|
|
|
|
|
II гр. |
- |
|
8 |
п. 47б |
0,3 |
0,9 |
0-21 |
0-74,7 |
2,4 |
7,2 |
1-68 |
5-97,6 |
2,4 |
5-97,6 |
|
IV гр. |
- |
1 м |
12 |
п. 47г |
0,86 |
2,58 |
0-60 |
2-14 |
10,32 |
30,96 |
7-20 |
25-68 |
10,32 |
25-68 |
|
7. Подъем бурильных труб и их демонтаж |
- |
|
20 |
ЕНиР § I4-6B |
0,02 |
0,06 |
0-01,4 |
0-05 |
0,4 |
1,2 |
0-28 |
1-00 |
0,4 |
1-00 |
|
8. Установка а скважину полиэтиленовых труб и фильтровых колонн |
- |
|
20 |
Применительно |
0,2 |
0,6 |
0-14 |
0-49,8 |
4,0 |
12,0 |
2-80 |
9-96 |
4,0 |
9-96 |
|
9. Монтаж эрлифта |
- |
|
17 |
ЕНиР § 14-15 |
0,05 |
0,15 |
0-03,5 |
0-12,5 |
0,85 |
2,55 |
0-59,5 |
2-12,5 |
0,85 |
2-12,5 |
|
10. Засыпка в затрубное пространство фильтра из песчано-гравийной смеси вручную |
- |
|
2,3 |
Применительно |
0,7 |
- |
0,41,4 |
- |
1,61 |
- |
0-95,2 |
- |
- |
- |
|
11. Промывка скважины водой |
- |
час |
8 |
|
- |
8,0 |
- |
0-91 |
- |
8,0 |
- |
7-28 |
8,0 |
7-28 |
|
12. Демонтаж эрлифта |
- |
|
17,0 |
ЕНиР § 14-15 |
0,045 |
0,135 |
0-03,2 |
0-11,2 |
0,765 |
2,295 |
0-54,4 |
1-90,4 |
0,765 |
1-90,4 |
|
13. Обратная засыпка отстойника бульдозером |
- |
|
0,72 |
ЕНиР § 2-1-15 |
- |
0,94 |
- |
0-99,8 |
- |
0,677 |
- |
0-71,9 |
0,677 |
0-71,9 |
|
14. Демонтаж буровой установки |
- |
1 агр. |
1 |
ЕНиР § 14-19 |
2,5 |
7,5 |
1-75 |
6-23 |
2,5 |
7,5 |
1-75 |
6-23 |
2,5 |
6-23 |
|
Итого |
|
|
|
|
|
|
|
|
27,85 |
92,48 |
19-30 |
78-70 |
40-01 |
78-76 |
Примечание: Калькуляция затрат труда, машинного времени и заработной платы составлена для варианта подключения скважины-усилителя к дрене.
5. ГРАФИК ПРОИЗВОДСТВА РАБОТ НА СТРОИТЕЛЬСТВО 1 СКВАЖИНЫ-УСИЛИТЕЛЯ
Таблица 4

Примечание: График производства работ составлен для варианта подключения скважины-усилителя к дрене.
6. МАТЕРИАЛЬНО-ТЕХНИЧЕСКИЕ РЕСУРСЫ
Потребность в инструменте, инвентаре и приспособлениях приведена в табл. 5.
Таблица 5
|
Наименование |
Марка, техническая характеристика, ГОСТ, № чертежа |
Коли- |
Назначение |
|
Лот |
|
1 |
Измерение глубины скважины |
|
Рулетка |
Стальная, PC-20, длина - |
1 |
Контроль качества срезки растительного грунта, измерение расстояний перемещения грунта |
|
Нивелир, |
HB-1 |
1 |
Контроль качества работ по разработке отстойника |
|
рейка нивелирная |
складная, РНЧ-3000, длина - |
1 |
|
|
Лопата: |
|
|
|
|
штыковая |
ЛКП |
1 |
Подача фильтра в затрубное пространство |
|
совковая |
ЛР |
2 |
|
|
Шаблон |
Металлический |
1 |
Контроль качества бурения скважины |
Потребность в материалах и полуфабрикатах для выполнения работ на 1 скважину-усилитель приводится в табл. 6.
Таблица 6
|
Наименование материала, полуфабриката, конструкции (марка, ГОСТ) |
Вариант (фасет, код) |
Единица измерения |
Потребность в материалах |
|
Песчано-гравийная смесь |
- |
м3 |
3,00 |
|
Вода |
- |
м3 |
40 |
|
Металлическая крышка |
- |
шт. |
1 |
|
Бетон М-100 |
- |
л |
1 |
|
Центрирующие фонари |
- |
шт. |
4 |
7. ТЕХНИКО-ЭКОНОМИЧЕСКИЕ ПОКАЗАТЕЛИ НА СТРОИТЕЛЬСТВО 1 СКВАЖИНЫ-УСИЛИТЕЛЯ
|
Нормативные затраты труда рабочих, чел.-ч |
27,85 |
|
Нормативные затраты машинного времени, маш.-ч |
92,48 |
|
Заработная плата рабочих, р.-к. |
19-30 |
|
Заработная плата механизаторов, р.-к. |
78-76 |
|
Продолжительность выполнения работ, смена |
4,24 |
|
Условные затраты на механизацию для базового варианта, р.-к. |
438-01 |
|
Сумма изменяемых затрат, р.-к. |
457-31 |
8. ФАСЕТНЫЙ КЛАССИФИКАТОР ФАКТОРОВ
ФАСЕТ 01
Планировка строительной площадки
|
Наименование фактора |
Обоснование |
Код |
Значение фактора |
|
Бульдозер ДЗ-109 |
ЕНиР § 2-1-24 |
1 |
По калькуляции |
|
Бульдозер ДЗ-42 |
ЕНиР § 2-1-24 |
2 |
Н.вр. умножать на 1,907 |
ФАСЕТ 02
Срезка растительного грунта с поверхности отстойника
|
Наименование фактора |
Обоснование |
Код |
Значение фактора |
|
Бульдозер ДЗ-109 |
ЕНиР § 2-1-5 |
1 |
По калькуляции |
|
Бульдозер ДЗ-42 |
ЕНиР § 2-1-15 |
2 |
Н.вр. умножать на 1,567 |
ФАСЕТ 03
Разработка котлована отстойника
|
Наименование фактора |
Обоснование |
Код |
Значение фактора |
|
Бульдозер ДЗ-109 |
ЕНиР § 2-1-15 |
1 |
По калькуляции |
|
Бульдозер ДЗ-42 |
ЕНиР § 2-1-15 |
2 |
Н.вр умножать на 1,484 |
ФАСЕТ 04
Доставка воды поливочной машиной ПМ-10
|
Наименование фактора |
Обоснование |
Код |
Значение фактора |
|
Транспортирование воды на расстояние, км: |
|
|
|
|
5 |
Расчет |
1 |
По калькуляции |
|
4 |
То же |
2 |
Н.вр. умножать на 0,925 |
|
3 |
То же |
3 |
Н.вр. умножать на 0,851 |
|
2 |
То же |
4 |
Н.вр. умножать на 0,776 |
|
1 |
То же |
5 |
Н.вр. умножать 0,701 |
ФАСЕТ 05
Стоимость 1 маш.-ч работы машин и оборудования, руб.
|
Наименование фактора |
Обоснование |
Код |
Значение фактора |
|
|
Бульдозер ДЗ-109 |
СНиП IV-3-82 |
1 |
|
|
|
Бульдозер ДЗ-42 |
То же |
2 |
2,52 |
|
|
Поливочная машина ПМ-10 |
То же |
3 |
|
|
|
Буровая установка УРБ-ЗАМ |
То же |
4 |
|
Примечание: Рамкой обведены значения факторов, на которые рассчитаны показатели в технологической карте.
Приложение 1
Расчет нормы времени и расценки на доставку воды на объект
Доставка воды на объект осуществляется поливочной машиной ПМ-10 на базе трактора К-700.
Емкость цистерны -
Дальность возки -
Обслуживающий персонал - машинист 6 разр. - 1
Норма времени и расценка на простой цистерны при наливе и сливе наливных грузов -
36 мин.
63,72 коп.
Норма времени и расценка на 1 ткм при работе на перевозке наливных грузов, имеющих удельный вес 1,0 и более, составляет -
0,43 мин.
0,76 коп.
(«Единые нормы времени на перевозку грузов автомобильным транспортом и сдельные расценки для оплаты труда водителей», М.,
Норма времени и расценка на 1 рейс:
![]()
1. ОБЛАСТЬ ПРИМЕНЕНИЯ
Технологическая карта разработана на измеритель конечной продукции - подключение одной скважины-усилителя. Карта рекомендуется для применения при подключении скважины-усилителя к дрене (рис. 1); смотровому колодцу на дрене (рис. 2); открытому коллектору (рис. 3).
Картой предусматривается:
- срезка растительного грунта с поверхности котлована;
- разработка котлована;
- подключение скважины-усилителя;
- обратная засыпка котлована;
- восстановление растительного слоя на поверхности котлована.
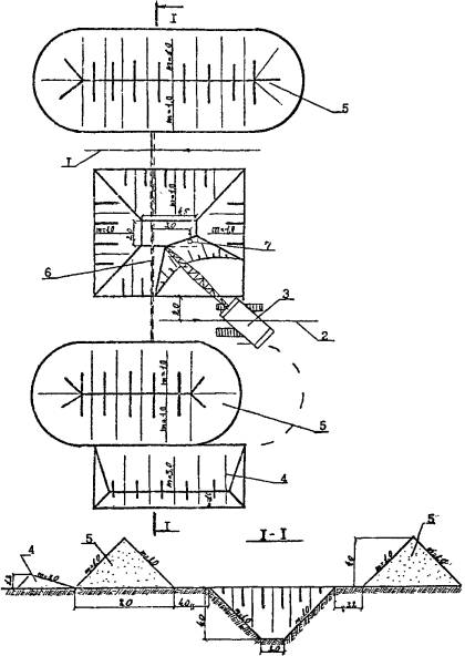
СКВАЖИНА-УСИЛИТЕЛЬ НА ЗАКРЫТОЙ ДРЕНЕ

Рис. 1
1 - фильтровая колонна из полиэтиленовых труб;
2 - песчано-гравийная обсыпка; 3 - тампон из плотной глины; 4 - уплотненный
местный грунт; 5 - заглушка; 6 - фасонная часть из полиэтилена; 7 - дрена; 8 -
проволока; 9 - металлическая крышка; 10 - болт; 11 - асбестоцементная труба
диаметром
СКВАЖИНА-УСИЛИТЕЛЬ С ПОДКЛЮЧЕНИЕМ К СМОТРОВОМУ КОЛОДЦУ НА ЗАКРЫТОЙ ДРЕНЕ
Рис. 2
1 - смотровой колодец; 2 - гравийная подготовка; 3 - тампон из плотной глине; 4 - уплотненный местный грунт; 5 - фильтровая колонна из полиэтиленовых труб; 6 - песчано-гравийная обсыпка; 7 - заглушка; 8 - водоотводящая полиэтиленовая труба; 9 - фасонная часть из полиэтилена; 10 - ось скважины; 11 - ось дрены; 12 - водоносный слой; 13 - условный водоупор; 14 - покровный слой мелкозема
СКВАЖИНА-УСИЛИТЕЛЬ С ПОДКЛЮЧЕНИЕМ К ОТКРЫТОМУ КОЛЛЕКТОРУ
Рис. 3
1 - водоотводящая полиэтиленовая труба; 2 - песчано-гравийная обсыпка; 3 - фильтровая колонна из полиэтиленовых труб; 4 - заглушка; 5 - уплотненный местный грунт; 6 - тампон из плотной глины; 7 - отсыпка из крупного гравия; 8 - фасонная часть из полиэтилена; 9 - ось скважины-усилителя; 10 - ось коллектора; 11 - водоносный слой; 12 - условный водоупор; 13 - покровный слой мелкозема
2. ОРГАНИЗАЦИЯ И ТЕХНОЛОГИЯ ВЫПОЛНЕНИЯ РАБОТ
Подключение скважины-усилителя выполняется после устройства дренажной линии и скважины-усилителя.
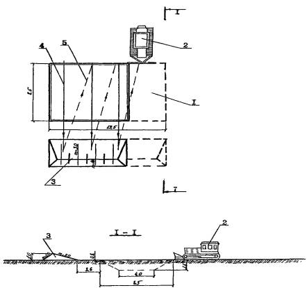
Срезка растительного грунта с поверхности котлована производится бульдозером поперечными проходками (рис. 4).
Котлован для подключения скважины-усилителя разрабатывается одноковшовым экскаватором за 2 проходки (рис. 5). Доработка грунта в котловане до проектных отметок производится вручную.
срезка растительного грунта С поверхности КОТЛОВАНА

Рис. 4
1 - бульдозер; 2 - кавальер растительного грунта; 3 - рабочие ходы бульдозера; 4 - холостые ходы бульдозера; 5 - поверхность котлована
РАЗРАБОТКА КОТЛОВАНА

Pиc. 5
1 - ось первой проходки экскаватора; 2 - ось второй проходки экскаватора; 3 - экскаватор; 4 - кавальер растительного грунта; 5 - отвал минерального грунта; 6 - дренажная линия; 7 - скважина-усилитель.
Подключение скважины-усилителя к дрене выполняется вручную в следующей последовательности:
-
разработка гравийно-песчаной обсыпки скважины на глубину
- устройство тампона из плотной глины;
- обрезка пластмассовой трубы;
- устройство ложа под водоотводящую трубу из местного грунта с уплотнением ручными трамбовками;
- установка фасонных частей и водоотводящей трубы;
- присыпка водоотводящей трубы местным грунтом с уплотнением ручными трамбовками.
При подключении скважины-усилителя к коллектору, место выхода трубы в коллектор («карман») укрепляется гравийной наброской
толщиной
Стыки труб и фасонных частей уплотняются просмоленной пеньковой прядаю.
Стык трубы со стенкой колодца заделывают цементным раствором М-100.
При подключении скважины-усилителя к дрене одновременно с установкой фасонных частей и водоотводящей трубы устанавливают наблюдательную трубу.
По окончании засыпки котлована в месте выхода трубы на поверхность устраивают наблюдательный колодец с выполнением вручную следующих операций:
- разработка приямка;
- установка асбестоцементной трубы Д
=
- замоноличивание асбестоцементной трубы бетоном М-100 с внешней стороны;
-
устройство внутри трубы тампона из плотной глины толщиной
- засыпка межтрубного пространства местным грунтом до уровня
на
Обратную засыпку котлована выполняют послойно с уплотнением
грунта. Уплотнение слоев выполняют ручными электрическими трамбовками ИЭ-4502 (толщина слоя
Восстановление, растительного слоя на поверхности котлована производится бульдозером (рис. 8.).
ОБРАТНАЯ ЗАСЫПКА КОТЛОВАНА ЭКСКАВАТОРОМ И УПЛОТНЕНИЕ ГРУНТА

Рис. 6
1 - экскаватор; 2 - отвал минерального грунта; 3 - кавальер растительного грунта; 4 - место стоянки передвижной электростанции; 5 - наблюдательная труба скважины-усилителя.
ОБРАТНАЯ ЗАСЫПКА КОТЛОВАНА БУЛЬДОЗЕРОМ И УПЛОТНЕНИЕ ГРУНТА

Рис. 7
1 - бульдозер; 2 - автокран с вибротрамбовкой; 3 - отвал минерального грунта; 4 - кавальер растительного грунта; 5 - наблюдательная труба скважины-усилителя; 6 - холостые ходы бульдозера; 7 - рабочие ходы бульдозера.
ВОССТАНОВЛЕНИЕ РАСТИТЕЛЬНОГО СЛОЯ НА ПОВЕРХНОСТИ КОТЛОВАНА

Рис. 8
1 - бульдозер; 2 - кавальер растительного грунта; 3 - рабочий ход бульдозера; 4 - холостой ход бульдозера; 5 - поверхность котлована; 6 - наблюдательный колодец.
Варианты рекомендуемых машин и оборудования приводятся в табл. 1.
Таблица 1
|
Наименование комплекта машин и оборудования |
Вариант |
Техническая характеристика |
Марка |
Коли- |
|
Бульдозер |
1 |
Гидравлический, поворотный, на базе
трактора Т-130.1Г-1, длина отвала - |
ДЗ-109 |
1 |
|
Экскаватор-одноковшовый |
1 |
Драглайн; радиус копания - |
Э-652Б |
1 |
|
|
2 |
Обратная лопата; радиус копания - |
ЭО-4121А |
1 |
|
|
3 |
Обратная лопата; радиус копания - |
ЭО-4121А |
1 |
|
Электроагрегат |
1 |
Передвижной, бензиновый, мощность - 4 кВт; напряжение - 230 В |
АБ-4Т230-ВПМ2-Ж |
1 |
|
Электротрамбовка |
1 |
Ручная, мощность - 1,5 кВт; масса |
ИЭ-4502 |
2 |
|
Вибротрамбовка |
2 |
Навесная, масса - 2,6 т; плита 800×800 мм |
ПВТ-3 |
1 |
|
Автокран |
1 |
На базе МАЗ-5334; грузоподъемность - 10
т; длина стрелы - |
КС-3562А |
1 |
|
|
2 |
На базе ЗИЛ-130; грузоподъемность - 6,3
т; длина стрелы - |
KC-2561E |
1 |
Работы по подключению скважины-усилителя выполняются звеном, состоящим из 4 человек:
машинист бульдозера 6 разр. - 1
машинист экскаватора 6 разр. - 1
рабочие 4 разр. - 1
рабочие 3 разр. - 1
3. ТРЕБОВАНИЯ К КАЧЕСТВУ И ПРИЕМКЕ РАБОТ
Операционный контроль качества работ по подключению скважины-усилителя выполняется в соответствии с требованиями глав СНиП III-8-76 «Правила производства и приемки работ. Земляные сооружения», СНиП III-16-73 «Правила производства и приемки работ. Бетонные и железобетонные конструкции сборные», СНиП 3.07.03-85 «Мелиоративные системы и сооружения».
Технические критерии и средства контроля операций и процессов приводятся в табл. 2.
Таблица 2
|
Наименование процессов, подлежащих контролю |
Предмет контроля |
Инструмент и способ контроля |
Время контроля |
Ответственный за контроль |
Технические критерии оценки качества |
|
Срезка растительного грунта с поверхности котлована |
Соответствие размеров площадки и толщины срезаемого слоя проектным значениям. Правильность складирования грунта |
Визуально, мерная лента |
В процессе работ |
Мастер |
Допустимые отклонения толщины срезаемого слоя ±10 % |
|
Разработка котлована |
Соответствие отметок дна котлована, геометрических размеров проектным |
Нивелир, мерная лента |
По окончании разработки котлована |
То же |
Величина недобора грунта
экскаватором ≤ |
|
Обратная засыпка котлована |
Толщина слоя отсыпки, качество уплотнения грунта |
Стальной метр, плотномер |
В процессе выполнения работ |
мастер, лаборант |
Одна проба на |
|
Устройство наблюдательного колодца |
Вертикальность установки элемента колодца, соответствие размеров бетонируемой площадки проектным |
Отвес, мерная лента |
В процессе выполнения работ |
Мастер |
Внешний осмотр. Допустимые отклонения оси колодца от вертикали ± |
|
Восстановление растительного слоя |
Равномерность распределения растительного грунта |
Визуально |
То же |
То же |
Внешний осмотр |
4. КАЛЬКУЛЯЦИЯ ТРУДА ЗАТРАТ, МАШИННОГО ВРЕМЕНИ, ЗАРАБОТНОЙ ПЛАТЫ НА ПОДКЛЮЧЕНИЕ
1 СКВАЖИНЫ-УСИЛИТЕЛЯ
Таблица 3
|
Наименование процесса |
Номер фасет
для пере- |
Единица изме- |
Объем работ |
Обоснование
(ЕНиР и др. |
Норма времени |
Расценка, р.-к. |
Затраты труда |
Заработная плата, р.-к. |
Время пребы- |
Зара- |
||||
|
рабо- |
маши- |
рабо- |
маши- |
рабо- |
маши- |
рабо- |
маши- |
|||||||
|
1 |
2 |
3 |
4 |
5 |
6 |
7 |
8 |
9 |
10 |
11 |
12 |
13 |
14 |
15 |
|
1. Срезка растительного грунта с поверхности котлована бульдозером |
- |
|
0,125 |
ЕНиР § 2-1-5 |
- |
0,69 |
- |
0-72,9 |
- |
0,086 |
- |
0-09,1 |
0,086 |
0-09,1 |
|
2. Разработка
котлована экскаватором Э-652Б с ковшом емкостью |
01 |
|
1,81 |
ЕНиР § 2-1-7А
табл. 3 п. 3з |
- |
1,91 |
- |
2-03 |
- |
3,5 |
- |
3-67,4 |
3,5 |
3-67,4 |
|
3. Доработка грунта в котловане вручную, разработка гравийно-песчаной обсыпки скважины |
- |
|
2,3 |
ЕНиР §
2-1-31Б |
2,4 |
- |
1-53,8 |
- |
5,52 |
- |
3-53,7 |
- |
- |
- |
|
4. Устройство тампона из глины |
- |
|
0,067 |
Применительно |
0,8 |
- |
0-49,7 |
- |
0,054 |
- |
0-03,3 |
- |
- |
- |
|
5. Установка водоотводящей трубы с заделкой стыков |
- |
|
7,0 |
Применительно
§ T-155-1-19A |
0,07 |
- |
0-05,2 |
- |
0,49 |
- |
0-36,4 |
- |
- |
- |
|
6. Установка фасонных частей из полиэтилена: |
|
|
|
|
|
|
|
|
|
|
|
|
|
|
|
патрубок |
- |
1 эле- |
1 |
Применительно |
0,42 |
- |
0-31,3 |
- |
0,42 |
- |
0-31,3 |
- |
- |
- |
|
тройник |
1 |
0,63 |
- |
0-47 |
- |
0,63 |
- |
0-47 |
- |
- |
- |
|||
|
7. Обратная засыпка котлована вручную с уплотнением |
- |
|
4,83 |
ЕНиР § 2-1-44 |
0,86 |
- |
0-53,3 |
- |
4,15 |
- |
2-57,4 |
- |
- |
- |
|
8. Послойная засыпка котлована экскаватором |
02 |
|
1,785 |
ЕНиР § 2-1-7A |
- |
1,57 |
- |
1-66 |
- |
2,80 |
- |
2-96,3 |
2,80 |
2-96,3 |
|
9. Уплотнение грунта в котловане |
03 |
|
5,34 |
Применительно |
4,85 |
- |
3-11 |
0-91 |
25,9 |
8,63 |
16-61 |
7-85 |
8,63 |
7-85 |
|
10. Устройство наблюдательного колодца: |
|
|
|
|
|
|
|
|
|
|
|
|
|
|
|
установка асбестоцементной трубы |
- |
1 блок |
1,0 |
Применительно Красц. = 1,11 |
0,218 |
- |
0-16,2 |
- |
0,218 |
- |
0-16,2 |
- |
- |
- |
|
замоноличивание асбестоцементной трубы |
- |
|
0,16 |
Применительно |
1,24 |
- |
0-89,1 |
- |
0,2 |
- |
0-14,3 |
- |
- |
- |
|
11. Восстановление растительного слоя |
- |
|
0,25 |
В-12 |
- |
0,99 |
- |
1-05 |
- |
0,248 |
- |
0-26,3 |
0,248 |
0-26,3 |
|
12. Устройство обсыпки из гравия |
- |
|
1,25 |
Применительно |
0,456 |
- |
0-34 |
- |
0,57 |
- |
0-42,5 |
- |
- |
- |
|
ИТОГО: |
|
|
|
|
|
|
|
|
37,58 |
15,26 |
24-21 |
14-84 |
15,26 |
14-84 |
Примечания:
1. Калькуляция затрат труда, машинного времени и заработной платы составлена для варианта подключения скважины-усилителя к дрене с устройством наблюдательного колодца.
2. Разработка приямка под наблюдательный колодец учтена в п. 3, устройство тампона в колодце учтено в п. 4; п. 11 относится к подключению скважины-усилителя к открытому коллектору.
5. ГРАФИК ПРОИЗВОДСТВА РАБОТ НА ПОДКЛЮЧЕНИЕ 1 СКВАЖИНЫ-УСИЛИТЕЛЯ
Таблица 4

Примечание: График производства работ составлен для варианта подключения скважины-усилителя к дрене с устройством наблюдательного колодца.
6. МАТЕРИАЛЬНО-ТЕХНИЧЕСКИЕ РЕСУРСЫ
Потребность в инструменте, инвентаре и приспособлениях приведена в табл. 5
Таблица 5
|
Наименование |
Марка, техническая, характеристика, ГОСТ № чертежа |
Количество вариантов |
Назначение |
||
|
I |
II |
III |
|||
|
Нивелир |
HB-1 |
1 |
1 |
1 |
Контроль качества работ по разработке котлована |
|
Рейка нивелирная |
складная, PHЧ-3000, длина |
1 |
1 |
1 |
|
|
Мерная лента |
Стальная, РС-20, длина |
1 |
1 |
1 |
Контроль качества срезки растительного грунта, измерения расстояния перемещения грунта |
|
Стальной метр |
|
1 |
1 |
1 |
Проверка толщины отсыпаемого слоя |
|
Лопата: |
|
|
|
|
|
|
штыковая |
ЛКП |
2 |
2 |
2 |
Зачистка дна, частичная перекидка грунта |
|
совковая |
ЛР |
2 |
2 |
2 |
|
|
Нож специальный |
|
1 |
1 |
1 |
Обрезка дренажной трубы |
|
Ведро |
Металлическое, емкость |
1 |
1 |
1 |
Подача глины для тампона |
|
Отвес |
От-400 |
1 |
- |
- |
Вертикальность установки элемента колодца |
|
Ножницы |
|
1 |
1 |
- |
Резка проволоки |
|
Трамбовка |
Ручная, деревянная |
2 |
2 |
2 |
Уплотнение грунта |
Потребность в материалах и полуфабрикатах для выполнения работ на подключение скважины к дрене приводится в табл. 6.
Таблица 6
|
Наименование материала, полуфабриката, конструкции (марка, ГОСТ) |
Вариант (фасет- |
Единица измерения |
Потребность в материалах |
|
1 |
2 |
3 |
4 |
|
Труба полиэтиленовая Д = |
04-2 |
м |
7,0 |
|
Фасонная часть из полиэтилена: |
|
|
|
|
тройник |
- |
1 элемент |
1,0 |
|
патрубок |
- |
1,0 |
|
|
Глина |
04-1 |
|
0,067 |
|
Труба асбестоцементная Д = |
- |
|
1,0 |
|
Бетон М-100 |
- |
|
0,16 |
|
Проволока вязальная |
- |
|
3,0 |
7. ТЕХНИКО-ЭКОНОМИЧЕСКИЕ ПОКАЗАТЕЛИ
|
Нормативные затраты труда рабочих, чел.-ч |
37,58 |
|
Нормативные затраты машинного времени, маш.-ч |
15,26 |
|
Заработная плата рабочих, р.-к. |
24-21 |
|
Заработная плата механизаторов, р.-к. |
14-84 |
|
Продолжительность выполнения работ, смена |
2,51 |
|
Условные затраты на механизацию для базового варианта, р.-к. |
41-74 |
|
Сумма изменяемых затрат, р.-к. |
65-95 |
8. ФАСЕТНЫЙ КЛАССИФИКАТОР ФАКТОРОВ
ФАСЕТ 01
Разработка котлована одноковшовым экскаватором
|
Наименование фактора |
Обоснование |
Код |
Значение фактора |
|
Экскаватор-драглайн с емкостью ковша, м3 |
|
|
|
|
0,65 |
ЕНиР § 2-1-7А |
1 |
По калькуляции |
|
0,8 |
То же |
2 |
Н.вр. умножать на 1,48 |
|
Экскаватор обратная лопата с емкостью ковша, м: |
|
|
|
|
0,65 |
§ B12-1-1B |
3 |
Н.вр. умножать на 1,204 |
|
0,8 |
То же |
4 |
Н.вр. умножать на 1,047 |
|
1,0 |
То же |
5 |
Н.вр. умножать на 0,89 |
ФАСЕТ 02
Обратная засыпка котлована
|
Наименование фактора |
Обоснование |
Код |
Значение фактора |
|
Экскаватором Э-652Б |
ЕНиР § 2-1-7А |
1 |
По калькуляции |
|
Бульдозером ДЗ-109 |
ЕНиР § 2-1-15 |
2 |
Н.вр. умножать на 0,59 |
ФАСЕТ 03
Уплотнение грунта котлована
|
Наименование фактора |
Обоснование |
Код |
Значение фактора |
|
Электротрамбовка |
применительно |
1 |
По калькуляции |
|
Вибротрамбовка |
Применительно |
2 |
Н.вр. умножать на 0,6 |
ФАСЕТ 04
Строительные материалы при подключении скважины-усилителя к смотровому колодцу
|
Наименование фактора |
Обоснование |
Код |
Значение фактора |
|
Глина |
Пособие к ВСН 33-2.2.03-86 «Конструкции горизонтального, вертикального и комбинированного дренажа» |
1 |
|
|
Труба полиэтиленовая Д = |
То же |
2 |
|
|
Фасонная часть из полиэтилена («колено») |
То же |
3 |
1 шт. |
|
Цементный раствор М-100 |
То же |
4 |
|
ФАСЕТ 05
Строительные материалы при подключении скважины-усилителя к открытому коллектору
|
Наименование фактора |
Обоснование |
Код |
Значение фактора |
|
Глина |
Пособие к ВСН 33-2.2.03-86 «Конструкции горизонтального, вертикального и комбинированного дренажа» |
1 |
|
|
Труба полиэтиленовая Д = |
То же |
2 |
|
|
Фасонная часть из полиэтилена («колено») |
То же |
3 |
1 шт. |
|
Гравий |
То же |
4 |
|
ФАСЕТ 06
Стоимость 1 маш.-ч работы машин и оборудования, руб.
|
Наименование фактора |
Обоснование |
Код |
Значение фактора |
|
|
Бульдозер ДЗ-109 |
СНиП IV-3-82 |
1 |
|
|
|
Экскаватор Э-652Б |
То же |
2 |
|
|
|
Экскаватор ЭО-4121А емкость ковша, м: |
|
|
|
|
|
0,65;0,8 |
То же |
3 |
4,57 |
|
|
1,0 |
То же |
4 |
5,75 |
|
|
Передвижная электростанция АБ-4Т230-ВПМ2-Ж |
То же |
5 |
|
|
|
Электротрамбовка ИЭ-4502 |
То же |
6 |
|
|
|
Вибротрамбовка ПВТ-3 |
То же |
7 |
0,32 |
|
|
Автокран КС-3562А |
То же |
8 |
4,01 |
|
|
Автокран KC-2561E |
То же |
9 |
4,01 |
Примечание. Рамкой обведены значения факторов, на которые рассчитаны показатели в технологической карте.
|
ГОСТЫ, СТРОИТЕЛЬНЫЕ и ТЕХНИЧЕСКИЕ НОРМАТИВЫ. Некоммерческая онлайн система, содержащая все Российские Госты, национальные Стандарты и нормативы. В Системе содержится более 150000 файлов нормативно-технической документации, действующей на территории РФ. Система предназначена для широкого круга инженерно-технических специалистов. Copyright © www.gostrf.com, 2008 - 2026 |