Крупнейшая бесплатная информационно-справочная система онлайн доступа к полному собранию технических нормативно-правовых актов РФ. Огромная база технических нормативов (более 150 тысяч документов) и полное собрание национальных стандартов, аутентичное официальной базе Госстандарта. GOSTRF.com - это более 1 Терабайта бесплатной технической информации для всех пользователей интернета. Все электронные копии представленных здесь документов могут распространяться без каких-либо ограничений. Поощряется распространение информации с этого сайта на любых других ресурсах. Каждый человек имеет право на неограниченный доступ к этим документам! Каждый человек имеет право на знание требований, изложенных в данных нормативно-правовых актах!

  


 

АССОЦИАЦИЯ ЗАЩИТЫ СТРОИТЕЛЬНЫХ КОНСТРУКЦИЙ
ЗДАНИЙ И СООРУЖЕНИЙ

ООО НАУЧНО-ПРОИЗВОДСТВЕННОЕ ОБЩЕСТВО
«ГИДРОЛ-РУФИНГ»

ООО «СТРОЙПРОЕКТЗАЩИТА»

РУКОВОДСТВО
по применению в кровлях и гидроизоляции
полимерных материалов

МДС 12-54.2010

Москва 2010

ассоциация защиты строительных конструкций зданий и сооружений

ООО НАУЧНО-ПРОИЗВОДСТВЕННОЕ ОБЩЕСТВО
«ГИДРОЛ-РУФИНГ»

ООО «Стройпроектзащита»

СОГЛАСОВАНО:

Председатель совета ассоциации
защиты строительных конструкций
зданий и сооружений

_______________ В.П. Шевяков

«___» ___________ 20__ г.

 

УТВЕРЖДАЮ:

Генеральный директор
НПО «Гидрол-Руфинг»

 

_______________ Ю.П. Шульженко

«___» ___________ 20__ г.

СОГЛАСОВАНО:

Заместитель генерального директора
ОАО «ЦНИИПромзданий»

 

_______________ С.М. Галкин

«___» ___________ 20__ г.

 

УТВЕРЖДАЮ:

Генеральный директор
ООО «Стройпроектзащита»

 

_______________ Б.Е. Усольцев

«___» ___________ 20__ г.

СОГЛАСОВАНО:

Руководитель отдела покрытий и
кровель ОАО «ЦНИИПромзданий»

_______________ А.М. Воронин

«___» ___________ 20__ г.

 

 

 

 

 

РУКОВОДСТВО
по применению в кровлях и гидроизоляции
полимерных материалов

МДС 12-54.2010

Москва 2010

СОДЕРЖАНИЕ

ВВЕДЕНИЕ

1. ОБЩАЯ ЧАСТЬ

2. ХАРАКТЕРИСТИКИ МАТЕРИАЛОВ

2.1. Материал рулонный полимерный кровельный и гидроизоляционный «Элон-Супер»

2.2. Материал рулонный полимерный кровельный и гидроизоляционный с наплавляемым слоем «Элон-Супер-Н»

2.3 Мастики кровельные и гидроизоляционные «Унимаст»

2.4. Лента мастичная приклеивающая «ДЛЛ-Элон»

2.5. Материал рулонный эластомерный "Кровлелон-Е"

3. ПРОЕКТИРОВАНИЕ КРОВЕЛЬ

3.1. Кровли рулонные и мастичные

Таблица 7

3.2. Примеры конструктивных решений кровель при новом строительстве и ремонте

4. ПРОЕКТИРОВАНИЕ ГИДРОИЗОЛЯЦИИ

4.1. Гидроизоляция подземных конструкций

4.2. Полы промышленных зданий, в т.ч. с агрессивными средами

4.3. Изоляция наливных сооружений. Химически стойкие экраны

4.4. Защита гидроизоляции от механических повреждений

4.5. Требования к основаниям под гидроизоляцию

5. КРОВЕЛЬНЫЕ И ГИДРОИЗОЛЯЦИОННЫЕ РАБОТЫ

5.1. Подготовка к работе

5.2. Работа с мастиками «Унимаcт»

5.3. Работа с «Элоном-Супер»

5.4. Работа с «Элоном-Супер Н»

5.5. Работа с «Кровлелоном-Е»

5.6. Работа с «Кровлелоном - Е» по технологии НПО «Гидрол-Руфинг»

5.7. Оборудование и инструменты

5.8. Работа со сварочным оборудованием

6. КОНТРОЛЬ КАЧЕСТВА РАБОТ

7. ТРАНСПОРТИРОВКА И ХРАНЕНИЕ

8. ТЕХНИКА БЕЗОПАСНОСТИ И ПРОИЗВОДСТВЕННАЯ САНИТАРИЯ

Приложение 1 ПЕРЕЧЕНЬ НОРМАТИВНЫХ ДОКУМЕНТОВ И ЛИТЕРАТУРНЫХ ИСТОЧНИКОВ, НА КОТОРЫЕ ИМЕЮТСЯ ССЫЛКИ В ТЕКСТЕ

Приложение 2 ТЕХНИЧЕСКОЕ ЗАКЛЮЧЕНИЕ

по результатам испытаний полимерного рулонного материала "кровлелон", приклеенного к битумно-полимерному наплавляемому рулонному материалу "техноэласт" при воздействии атмосферных факторов.

Приложение 3 ЗАКЛЮЧЕНИЕ по испытанию кровельных рулонных материалов на водонепроницаемость.

Приложение 4 Письмо генеральному директору ООО НПО "Гидрол-Руфинг" с отзывом о методе наклеивания материала "Кровлелон" к основанию на мастику "Унимаст"

Приложение 5 Предложения по выполнению восстановительного ремонта совмещенных крыш (покрытий) с устройством их дополнительного утепления и высушиванием утеплителя, замоченного в процессе эксплуатации

Приложение 9.6 Основные термины и определения

ВВЕДЕНИЕ

Настоящее руководство предназначено для использования при проектировании, устройстве и ремонте кровель и гидроизоляции полимерными материалами НПО «Гидрол-Руфинг», к числу которых относятся: «Элон-Супер», «Элон-Супер Н», мастики «Унимаст» различных марок, «Кровлелон Е» (www.gidrol.ru).

Руководство разработано в дополнение к главе СНиП 3.04.01-87 «Изоляционные и отделочные покрытия» и серии 1.010-1 «Гидроизоляция подземных частей зданий и сооружений»; к «Руководству по проектированию и устройству кровель с применением рулонных полимерных кровельных и гидроизоляционных материалов «Элон» и «Элон-Супер» НПК «Гидрол-Руфинг» М. 2005 г.; к «Руководству по проектированию и устройству кровель с применением рулонного полимерного кровельного и гидроизоляционного материала «Кровлелон» НПК «Гидрол-Руфинг» М. 2005 г.; к Стандарту ОАО «ЦНИИПРОМЗДАНИЙ» СО-002-02495342 «Кровли зданий и сооружений. Проектирование и строительство» М 2005 г.; «Рекомендациям по проектированию гидроизоляции подземных частей зданий и сооружений» ред. 1998 г. ОАО «ЦНИИПРОМЗДАНИЙ» М. 2007 г.

Особенностью настоящего руководства является попытка систематизации и обобщения накопленного опыта применения отечественных полимерных кровельных и гидроизоляционных материалов с высокими качественными показателями, как в новом строительстве, так и при ремонтах кровли и гидроизоляции.

В настоящее время имеется довольно большой выбор полимерных кровельных и гидроизоляционных материалов импортного производства, однако, их стоимость выше отечественных материалов, не уступающих по качеству своим зарубежным аналогам.

Все приведенные в руководстве материалы сертифицированы, сочетаются с традиционными отечественными битумно-полимерными материалами (такими как «Техноэласт», «Элабит» и другими, подобными им материалами), проверены в натурных условиях, а их производство налажено на российских заводах.

В написании руководства приняли участие:

От ООО НПО «Гидрол-Руфинг» генеральный директор, д.т.н. Шульженко Ю.П.; гл. специалист, к.т.н. Левин А.Ф.; ведущий научный сотрудник, к.т.н. Щербак Н.Н.. Чертежи подготовлены Левиным А.Ф. и инж. Козловым А.В..

От ООО «Стройпроектзащита» технический директор, к.т.н. Шевяков В.П.. Чертежи подготовлены инж. Александровым А.В.; инж. Барышниковым И.А.

В руководстве учтены замечания руководителя отдела покрытий и кровель ОАО «ЦНИИПРОМЗДАНИЙ», к.т.н. Воронина A.M., за что авторы выражают ему глубокую благодарность.

1. ОБЩАЯ ЧАСТЬ

Проблемы кровли и гидроизоляции в нашей стране кратко характеризуются следующими фактами.

По состоянию на 2004 г. на российском рынке мягких кровельных и гидроизоляционных материалов сложилась следующая ассортиментная структура [25]:

- рубероиды                                                                      55 %

- наплавляемые материалы на окисленном битуме     28 %

- битум-полимерные материалы                                    16 %

- полимерные материалы                                                1 %

Затраты на эксплуатацию кровель составляют от 5 до 12 % общих расходов на все здание. Более 40 % повреждений зданий приходится на кровли. Ремонт рубероидных кровель, эксплуатирующихся на предприятиях химической, нефтеперерабатывающей, металлургической и других отраслей промышленности с агрессивными выбросами, обходится в 1,5-2 раза дороже устройства новых. Дефицит химически стойких материалов приводит не только замене кровель, но и к ежегодной потере до 10 % несущей способности коррозирующих элементов конструкций зданий, снижению долговечности сооружений, значительным материальным и трудовым затратам [10]. Этому способствует ухудшающаяся экологическая обстановка в городах нашей страны [2].

По эффективности применения в строительстве рубероид занимает одно из последних мест среди строительных материалов, используемых в ограждающих конструкциях зданий и сооружений. Реальная долговечность зданий и сооружений 60 - 100 лет, а средний срок службы мягких рулонных битуминозных кровель составляет 2-7 лет. По данным исследований ВНИИТПИ через 1-2 года протекает до 30% кровель из битумных и битум-полимерных материалов, через 5 лет - до 70%, а через 7 лет текут практически все кровли. В России до 50% вновь выпускаемых битумных материалов используется на ремонтные работы [10, 23, 33], при совокупном годовом выпуске примерно 450 -470 млн. кв. м. (в период 2001 - 2006 г. г.) [25, 26].

Что касается гидроизоляции, то на сегодняшний день практически все сооружения подземной инфраструктуры в городах по истечении определенного срока эксплуатации, который, как правило, существенно ниже проектного, имеют протечки. В подавляющем большинстве случаев это приводит к неизбежному преждевременному ремонту всего сооружения. Несмотря на огромные средства, расходуемые на ликвидацию последствий протечек, результаты ремонтов оказываются неудовлетворительными [58].

Одна из причин сложившейся ситуации заключается в отсутствии в течение длительного времени в нашей стране производства полимерных материалов кровельного и гидроизоляционного назначения [10]. Эти материалы появились в мировой строительной практике в начале 40-х годов XX века [4]. На первых порах, вследствие относительно высокой стоимости полимеров, темпы внедрения их в строительство были низкими. Заметное появление их на отечественном рынке строительных материалов произошло в последнее десятилетие, после длительной практической апробации в реальных условиях, в результате которой четко определилось, что однослойные полимерные кровли и гидроизоляция, выполненные в различных странах, уверенно служат более 20 - 50 и более лет [1, 8, 29, 55]. К настоящему времени накопилось достаточно фактов для того, чтобы утверждать, что применение полимерных материалов на основе эластомеров является удачным вариантом решения названных проблем, в особенности в плоских кровлях гражданских и промышленных зданий. Достаточно сказать, что по состоянию на 2000 год общая доля полимерных кровельных и гидроизоляционных материалов превысила: в США - 40%, Японии и Италии - 30%, Франции и Германии - 20% [18].

Срок службы полимерной кровли примерно равен межремонтному сроку службы здания от окончания его постройки до капитального ремонта, то есть 25 - 30 годам [17].

НПО «Гидрол-Руфинг» является разработчиком собственных полимерных кровельных и гидроизоляционных материалов, технологии их изготовления и применения в строительстве на базе отечественного сырья и оборудования [3, 6, 7, 9,]. Такой подход позволяет создавать доступные материалы, которые значительно дешевле зарубежных аналогов.

Известно, что более 90% протечек возникает в примыканиях и сопряжениях водоизоляционных мембран. Одним из эффективных направлений решения проблемы надежности примыканий и сопряжений является разработка материалов, обладающих повышенными эластическими свойствами в эксплуатационном диапазоне температур в течение наиболее длительного времени. При этом более высокая эластичность обусловливает более высокую трещиностойкость, которая, в свою очередь, придает полимерным покрытиям долговечность в разы превосходящую сроки служб битумных и битум-полимерных покрытий. В этой связи основная концепция разработки и совершенствования материалов НПО «Гидрол-Руфинг» связана с принципом придания высокой эластичности кровлям и гидроизоляции.

Эластичность кровельных и гидроизоляционных материалов в нормативных документах характеризуют двумя качественными показателями - гибкостью и относительным удлинением [21, 22]. При этом показатель гибкости косвенно указывает на возможность материала быть развернутым из рулона при низкой температуре, что важно для производства работ в зимнее время. Показатель относительного удлинения служит косвенной оценкой надежности материала при его эксплуатации в конструкции под воздействием таких разрушающих факторов, как:

- внутренние касательные напряжения, возникающие вследствие разницы коэффициентов температурного линейного расширения материалов кровли и основания;

- осадки сооружений, в результате чего несущие конструкции здания в т.ч. и кровельные претерпевают изгиб;

- давление паро-воздушной смеси под кровлей.

Для сравнения - гибкость «Элона-Супер» и гибкость лицевого эластомерного слоя «Элона-Супер-Н» равны минус 50 °С на брусе с радиусом закругления 5 мм. Пленка из мастики «Унимает» имеет гибкость минус 55 °С на брусе с радиусом 2,5 мм. При этом - битуминозные материалы на окисленных битумах имеют гибкость от минус 15 до плюс 5 °С на брусе с радиусом 25 мм. Лучшие битум-полимерые материалы имеют гибкость выше минус 30°С на брусе с радиусом закругления 25 мм [21, 22].

Относительное удлинение «Элона-Супер-1» и «Элона-Супер-Н» равно 330 %, а «Элона-Супер-2» - 280 %. Относительное удлинение пленок мастики «Унимает» варьируется от 700 % до 800 %. Относительное удлинение «Кровлелона Е» равно 160 %. При этом относительное удлинение битуминозных и битум-полимерных материалов на кровельном картоне, стеклоосновах и стеклохолстах варьируется от 1 % до 10 %, а на тканых и нетканых полиэфирных основах - от 20 % до 80 % [21, 22].

Материалы НПО «Гидрол-Руфинг» применяют для всех типов кровель и объектах гидроизоляции во всех климатических районах РФ по СНиП 2.03.11 [43], и, в частности там, где предъявляют требования по хим- и биостойкости.

Высокое качество эластомерных материалов «Элона-Супер» и «Элона-Супер Н» обусловлено применением технологии электронно-лучевой вулканизации их резиновых составляющих. При этом формируется молекулярная структура резины с отсутствием двойных связей, стойкая к воздействию солнечной радиации, озонному старению, химической агрессии [10].

Технология изготовления термопластичного материала «Кровлелон Е» на основе ПВХ предусматривает введение в его состав специальных химических добавок, придающих ему высокую атмосферостойкость. НПО «Гидрол-Руфинг» совместно с ГУП «НИИМосстрой» провели сравнительные испытания стойкости материалов «Кровлелон» и «Алькорплан» - положительно зарекомендовавших себя в различных странах на предмет прогнозирования срока службы. Прогноз долговечности, выполненный в соответствии с МИ 12.02.2002 «Методика испытаний рулонных мастичных материалов на долговечность», разработанной в ГУЛ «НИИМосстрой», и утвержденной Госстроем России, на основании результатов испытаний по 10 условно-годовым циклам показал, что сравниваемые материалы имеют одинаковую долговечность порядка 30 лет [30].

Существенным преимуществом полимерных материалов НПО «Гидрол-Руфинг» по сравнению с материалами на основе битумных и битум-полимерных составов является сокращение количества слоев в кровельном ковре. В кровлях полимерные материалы укладывают в 1 слой, а битуминозные 2 - 4 и более слоев. Снижение слойности приводит:

- к экономии расходов на транспортировку и хранение материалов;

- к сокращению времени производства кровельных работ;

- к уменьшению пожарной нагрузки.

При устройстве рубероидных кровель процесс укладки включает 17 операций, при устройстве наплавляемых кровель - 12. При работе с материалами НПО «Гидрол-Руфинг» количество операций равно 5. В этом случае возрастает не только производительность и культура труда рабочих, но также и качество всей кровли [1 - 5, 10, 26, 52 - 55].

С помощью материалов НПО «Гидрол-Руфинг» решается широкий круг задач, связанных с проектированием, устройством новых и ремонтом старых кровель и гидроизоляции. Небольшой собственный вес и высокие прочностные характеристики рулонных материалов дают возможность быстрого соединения их в крупноразмерные мембраны в построечных условиях, что позволяет быстро и всепогодно производить монтаж кровли и гидроизоляции [10].

Материалы на полимерной основе «Кровлелон Е», мастика «Унимаст ЦВ» значительно улучшают и расширяют архитектурные возможности кровель.

Будучи окрашенными пигментами в массе они способствуют созданию более разнообразных по цветовой гамме покрытий, оболочек, складок и др.

Представленные в настоящем руководстве материалы с успехом могут заменить традиционные битумные и битум-полимерные материалы. При этом их также можно использовать в комбинации с битум-полимерными материалами (с покровной массой, содержащей спецполимер), не только в кровлях, но и в других элементах зданий (рис. 1).

Рис. 1 Область применения полимерных материалов НПО «Гидрол-Руфинг»

1 - кровля; 2 - пол подвала; 3 - перекрытия; 4 - эксплуатируемая кровля; 5 - покрытие подвала; 6 - наружные стены подвала; 7 - пол на грунте; 8 - лоджии (балконы); 9 - полы в санитарных узлах; 10 - горизонтальная гидроизоляция

2. ХАРАКТЕРИСТИКИ МАТЕРИАЛОВ

Все материалы НПО «Гидрол-Руфинг», применяемые в строительной практике, можно схематически представить в следующей виде (рис. 2).

Рис. 2 Материалы НПО «Гидрол-Руфинг»

Все полимерные материалы НПО «Гидрол-Руфинг» укладывают на подготовленные сухие основания.

2.1. Материал рулонный полимерный кровельный и гидроизоляционный «Элон-Супер»

«Элон-Супер» - полимерный рулонный кровельный и гидроизоляционный материал черного цвета (рис. 3).

Рис. 3 Внешний вид рулона «Элона-Супер»

«Элон-Супер» изготавливают из резинового полотна на основе этиленпропиленового каучука, соединенного путем дублирования с несущей синтетической основой и вулканизированного по электронно-лучевой технологии. Допускается использование других типов основ при соблюдении качественных показателей материала. На лицевой поверхности «Элона-Супер» имеется рельефный отличительный рисунок (рис. 4), способствующий уменьшению скольжения.

Рис. 4 Рельефный рисунок поверхности «Элона-Супер»

«Элон-Супер» предназначен для устройства и ремонта кровли и гидроизоляции.

Линейные размеры полотна в рулоне: длина - 10 ÷ 15 (+0,3 ÷ 0,4) м; ширина - 900 ÷ 1400 (±20) мм; толщина - 1,2 ÷ 1,5 (±0,2) мм. Допускается по согласованию с потребителем изготовление «Элона-Супер» других размеров по длине и ширине.

Технические характеристики «Элона-Супер» даны в таблице 1.

Таблица 1

Наименование показателя

Значения для марок

«Элон-Супер 1»

«Элон-Супер 2»

норма

факт*

норма 6

факт*

Условная прочность, Мпа (кгс/см2), не менее

8,0 (80,0)

8,7

6,0 (60,0)

7,9

Относительное удлинение при разрыве, %, не менее

330

490

280

483

Водопоглощение, % по массе, не более

0,7

0,6

1

0,9

Изменение линейных размеров, %, не более

2

-0,3

2

-0,4

Водонепроницаемость

отсутствие признаков проникания воды на лицевой поверхности образца

при давлении не менее 0,001 МПа в теч. не менее 72 ч и давлении не менее 0,2 МПа в теч. не менее 2 ч

 

соответствует

 

соответствует

 

соответствует

 

соответствует

Гибкость на брусе с закруглением радиусом 5±0,2 мм при температуре -60±1°С, не выше

отсутствие трещин на лицевой поверхности образца

 

соответствует (минус 62)

 

соответствует (минус 62)

Примечание *) фактические значения по результатам сертификационных испытаний

Для «Элона-Супер 1» и «Элона-Супер 2» твердость по Шору А - соответственно не менее 60 и 55 условных единиц.

Плотность «Элона-Супер» - 1050 ÷ 1150 кг/м3

«Элон-Супер» является биостойким материалом и обладает химической стойкостью. Температурный интервал эксплуатации от минус 60 до плюс 130°С.

Полотно «Элона-Супер» должно быть плотно смотано в рулоны с ровными торцами. Допустимая высота выступов на торцах рулонов не должна превышать 20 мм.

Полотно «Элона-Супер» не должно иметь трещин, дыр, разрывов, складок, отслоений резинового покрытия от основы. При транспортировании, хранении и производстве работ необходимо предохранять Элон от повреждений, загрязнений и увлажнения.

«Элон-Супер» не токсичен, взрывобезопасен. Является горючим материалом (группа горючести Г4), однако, при однослойном кровельном ковре пожарная нагрузка по сравнению с многослойным битумным ковром снижается в 100 раз [10]. При возгорании для тушения пригодны любые средства - вода, песок, асбестовое полотно, пенные, углекислотные и порошковые огнетушители.

Для приклеивания полотен «Элона-Супер» к основанию применяют мастику «Унимаст У». К основанию полотнища из «Элона-Супер» также прикрепляют и механическим способом, с помощью дюбелей, реек и других крепежных изделий, закладываемых в нахлестки полотнищ. Сами нахлестки склеивают мастикой «Унимаст У», а также липкой лентой «ДЛЛ-Элон».

2.2. Материал рулонный полимерный кровельный и гидроизоляционный с наплавляемым слоем «Элон-Супер-Н»

«Элон-Супер-Н» представляет собой многослойный материал, состоящий из лицевого эластомерного слоя, соединенного путем дублирования с несущей основой, с нанесенным на него со стороны основы слоем битумно-полимерного вяжущего с антиадгезионным разделительным материалом - полимерной пленкой или силиконизированной бумагой. В «Элоне-Супер-Н» в качестве лицевого эластомерного слоя используют «Элон-Супер 1».

«Элон-Супер-Н» предназначен для устройства однослойных кровель, ремонта покрытий (по старому кровельному ковру), подземной и надземной гидроизоляции промышленных и гражданских зданий и сооружений.

Линейные размеры полотна в рулоне: длина - 10+15 (+0,3 ÷ 0,4) м; ширина - 900 ÷ 1000 (±20) мм; толщина - 3,5 ÷ 6,0 (±0,2) мм.

Технические характеристики «Элона-Супер Н» даны в таблице 2.

Таблица 2

Наименование показателя

Значения

норма

факт*

Масса 1 м2, кг, в пределах

3,0 - 5,5

5,0

Масса вяжущего с наплавляемой стороны, кг/м2, не менее

2,0

3,7

Условная прочность эластомерного слоя, МПа (кгс/см2), не менее

8,0 (80,0)

9,9

Относительное удлинение при разрыве, %, не менее

330

452

Температура размягчения вяжущего, °С, не ниже

95

соответствует

Температура хрупкости вяжущего, °С, не выше

минус 25

соответствует

Водопоглощение, % по массе, не более

1,0

0,8

Изменение линейных размеров, %, не более

2

-0,1

Твердость по Шору А, усл. ед. не менее

60

60

Водонепроницаемость

отсутствие признаков проникания воды на лицевой поверхности образца

при давлении не менее 0,001 МПа в теч. не менее 72 ч

 

соответствует

и давлении не менее 0,2 МПа в теч. не менее 2 ч

 

соответствует

Гибкость

отсутствие трещин на лицевой поверхности образца со стороны эластомерного слоя

на лицевой (эластомерной) поверхности образца при огибании бруса с закруглением радиусом 5±0,2 мм при температуре не выше -60±1 °С

 

соответствует (минус 60)

Гибкость

отсутствие трещин на обратной поверхности образца со стороны наплавляемого слоя

на обратной (наплавляемой) стороне поверхности образца при огибании бруса с закруглением радиусом 25±0,2 мм при температуре не выше -15±1 °С

 

Соответствует (минус 25)

Примечание *) фактические значения по результатам сертификационных испытаний

В качестве полимерной добавки в битум-полимерный состав наплавляемого слоя «Элона-Супер-Н» используют спецполимер, позволяющий получить вяжущее, сохраняющее гибкость при температуре минус 25 °С и ниже.

Приклеивание к основанию «Элона-Супер-Н» и соединение нахлесток полотен между собой ведут огневым методом по аналогии с технологией устройства битум-полимерных наплавляемых материалов.

Положительный эффект от применения «Элона-Супер-Н» слагается из эксплуатационной долговечности эластомерного материала с удобством, быстротой и технологической эффективностью теплового способа устройства наплавляемых битум-полимерных мембран. При этом битум-полимерный слой служит дополнительным гидроизоляционно-демпфирирующим элементом мембраны.

2.3 Мастики кровельные и гидроизоляционные «Унимаст»

Мастики «Унимаст» - представляет собой жидкие, готовые к применению однокомпонентные составы на основе спецполимера с наполнителем, растворителем и необходимыми добавками. Состав имеет второе название «жидкая резина».

Мастики выпускают четырех марок - «ЦВ» - цветная, «У» - универсальная, «П» - праймерная (грунтовочная), «Б» - битумсодержащая.

Области применения мастик указанных марок даны в таблице 3.

Таблица 3

Марка мастики

Цвет

Температурный, интервал эксплуатации мастичного слоя, °С

Область применения

от

до

«ЦВ» цветная

Суриковый, зеленый и др.

-55

+130

для окрасочной гидроизоляции, цветной кровли или других объектов

«У» универсальная

серый

-55

+120

для гидроизоляции, устройства и ремонта кровель, защиты от коррозии, приклеивания полимерных гидроизоляционных и кровельных материалов

«П» праймерная (грунтовочная)

серый

-55

+120

для грунтовки поверхностей различных материалов под приклейку гидроизоляционных и кровельных мембран

«Б» битумсодержащая

черный

-40

+100

для гидроизоляционных окрасочных слоев

По внешнему виду каждая из мастик должна быть однородной массой без видимых посторонних включений.

Область применения мастик постоянно расширяется и в настоящий момент их можно считать самостоятельным материалом для окрасочной гидроизоляции. Мастики успешно используют при ремонте скатных металлических крыш, для промазки фальцев с армированием стеклотканью или синтетическим нетканым полотном. Мастики используют в новом строительстве и при ремонте для создания окрасочной гидроизоляции различных частей зданий и сооружений, наиболее подверженных атмосферному разрушению, таких как цоколи, парапеты, балконы и пр..

Мастику «Унимаст У» применяют в качестве универсального клея, для склеивания дерева, металла и других материалов. В последнее время практически установлено, что эту мастику можно использовать для приклеивания «Кровлелона Е» к сухим подготовленным основаниям (Приложение 4).

Рис. 5 Мастика «Унимаст У» в таре «Евроведро»

Пленочные покрытия, полученные из мастик должны соответствовать требованиям, указанным в таблице 4.

Таблица 4

Наименование показателя

Нормы для марок

«Унимаст-ЦВ»

«Унимаст-У»

«Унимаст-П»

«Унимаст-Б»

Условная прочность при разрыве, МПа (кгс/см2), не менее

1,0 (10)

1,0 (10)

1,0 (10)

1,0 (10)

Относительное удлинение при разрыве, %, не менее

800

800

800

700

Прочность сцепления с бетоном, МПа (кгс/см2), не менее

 

 

 

 

Через 3 ч при 80 °С

0,25 (2,5)

0,25 (2,5)

0,25 (2,5)

0,25 (2,5)

Через 14 сут при 20 °С

0,5 (5,0)

0,5 (5,0)

0,5 (5,0)

0,5 (5,0)

Прочность сцепления промежуточных слоев, МПа (кгс/см2), не менее

 

 

 

 

Через 3 ч при 80 °С

0,2 (2,0)

0,2 (2,0)

0,2 (2,0)

0,2 (2,0)

Через 14 сут при 20 °С

0,35 (3,5)

0,35 (3,5)

0,35 (3,5)

0,35 (3,5)

Прочность на сдвиг клеевого соединения, МПа (кгс/см2), не менее

 

 

 

 

Через 3 ч при 80 °С

1,5 (15,0)

1,5 (15,0)

1,5 (15,0)

1,5 (15,0)

Через 14сут при 20 °С

1,5 (15,0)

1,5 (15,0)

1,5 (15,0)

1,5 (15,0)

Водопоглощение за 24 часа, %, не более

0,5

0,5

0,5

0,5

Условная вязкость, с, не более

200

200

100

300

Содержание сухого, в-ва по массе %, не менее

38

38

13

45

Гибкость на стержне d = 5 мм при

не должно быть трещин

температуре, °С, не выше

-55

-55

-55

-40

Водонепроницаемость при давлении не менее 0,001 МПа в теч 72 ч

отсутствие признаков проникания воды

Теплостойкость в течение не менее 2 ч

не должно быть вздутий и подтеков

при температуре °С, не ниже

130

120

120

100

Защитные пленки, получаемые из мастик обладают высокой адгезией к металлам, асбестоцементу, бетону, дереву и др.

Температурные интервалы эксплуатации покрытий, выполненных из мастик

для марки «Унимаст-ЦВ»                  от минус 55 до плюс 130 °С;

для марки «Унимаст-У»                     от минус 55 до плюс 120 °С;

для марки «Унимаст-П»                     от минус 55 до плюс 120 °С;

для марки «Унимаст-Б»                      от минус 40 до плюс 100 °С.

Защитные пленочные покрытия, выполненные из мастик, обладают биостойкостью.

Мастики «Унимаcт» в жидком виде относится к легковоспламеняющимся веществам. По степени воздействия на организм человека мастика относится к 4 классу опасности (вещества малоопасные).

Упаковка мастики проводится в металлическую тару: бочки, фляги и пр.

Допускается упаковка в другую тару, обеспечивающую сохранность свойств.

Объем заполнения тары не более 85 - 90 %. Предупреждающая надпись:

«Работать в резиновых перчатках и защитных очках».

Перед употреблением мастики перемешивают до однородного состояния. В жидкой смеси не должно быть посторонних включений.

Мастики наносят кистью или валиком. Вследствие дуктильности (нитеобразования) нанесение мастик с помощью распыляющих устройств нецелесообразно.

2.4. Лента мастичная приклеивающая «ДЛЛ-Элон»

Клеящая лента «ДЛЛ-Элон» представляет собой липкую пластичную массу черного цвета, отформованную в виде полосы, заключенной между антиадгезионными прокладками. Лента смотана в рулоны на бумажных втулках вместе с антиадгезионным разделительным материалом - силиконизированной бумагой (рис. 5).

Ленту применяют для склеивания полотнищ «Элона-Супер» в нахлестах между собой при устройстве, ремонте кровли и гидроизоляции зданий и сооружений.

Размеры ленты: длина в рулоне - 12 (±0,3) м; ширина - 45 (±2) мм; толщина - 2,0 (±0,2) мм.

Технические характеристики приклеивающей ленты «ДЛЛ-Элон» даны в таблице 5.

Таблица 5

Наименование показателя

Значения

норма

факт*

Прочность сцепления с основанием МПа (кгс/см2), не менее

 

 

- с бетоном

0,20

0,21

- металлом

0,20

0,22

- характер разрушения

когезионный

когезионный

Прочность сцепления между слоями, МПа (кгс/см2), не менее

0,20

0,21

Прочность на сдвиг клеевого соединения, МПа (кгс/см2), не менее

1,00

2,22

Теплостойкость при температуре 100 °С в течение 5 часов, не ниже

не должно быть вздутий и подтеков

 

соответствует

Температура хрупкости (гибкость на брусе с закруглением радиуса 5 мм) при температуре, °С, не выше

-55

-

Водопоглощение, %, не более

0,20

0,18

Примечание *) фактические значения по результатам сертификационных испытаний

Лента «ДЛЛ-Элон» обладает высокой эластичностью и хорошим сцеплением с бетоном и металлом. Температурный интервал эксплуатации от минус 55 до плюс 100°С.

Рис. 6 Лента «ДЛЛ-Элон»

Лента не должна иметь разрывов и сквозных отверстий. Антиадгезионная прокладка должна легко отделяться от ленты.

«ДЛЛ-Элон» является горючим материалом (группа горючести Г4). При загорании рекомендуется тушение кислотными или пенными огнетушителями, асбестовым полотном, водой.

Лента эффективна при работе с «Элоном-Супер», при закладке в нахлестки полотнищ, вследствие чего увеличивается производительность труда рабочих по сравнению с использованием мастики «Унимаст У». При этом сами нахлестки имеют эстетичный внешний вид.

Лента также может быть использована в качестве ленточного герметика при ремонтах соединений сантехнического оборудования, канализационных труб и пр..

2.5. Материал рулонный эластомерный "Кровлелон-Е"

"Кровлелон-Е" - материал рулонный эластомерный светло-серого цвета на основе поливинилхлорида (ПВХ), модифицированного химическими компонентами, придающими ему высокую атмосферостойкость. "Кровлелон-Е" выпускают двух типов:

- тип "А" - армированный синтетической основой, предназначен для устройства и ремонта рулонных кровель и гидроизоляции;

- тип "Г" - не содержит армирующей основы, предназначен для устройства и ремонта гидроизоляции и химзащиты строительных конструкций.

Линейные размеры полотна "Кровлелона-Е" типов А и Б в рулоне: длина -15 ÷ 20 (±0,15) м; ширина -1450 (±50) мм; толщина - 1,45 (±0,15) мм. Технические характеристики "Кровлелона-Е" даны в таблице 6.

Рис. 7 Внешний вид рулона "Кровлелона-Е" (типа А или Г)

Таблица 6

Наименование показателя

Значения для «Кровлелона Е»

тип А

тип Г

норма

факт*

норма

Условная прочность (на разрыв), МПа (кгс/см2), не менее

9,8 (100)

10,6 (108)

11,8 (120)

Относительное удлинение при разрыве, %, не менее

160

172

200

Водопоглощение за 24 часа, % по массе, не более

0,8

0,54

0,8

Изменение линейных размеров при нагревании, %, не более

0,4

0,2 - вдоль 0,09 - поперек

2,0

Гибкость на брусе с радиусом закругления 5 мм при температуре, °С, не выше минус 40

отсутствие трещин

 

соответствует

 

Химическая стойкость (изменение условной прочности и относительного удлинения при разрыве после воздействия кислот, щелочей и бензина), %

±10

соответствует

±10

Водонепроницаемость при давлении не менее 0,15 МПа (1,5 кгс\см2) в теч. не менее 1ч

на поверхности образца не должно быть признаков проникания воды

 

соответствует

 

Стойкость к тепловому старению при температуре 80 ±2 °С в течение 168 час, %

±20

соответствует

±20

Примечание *) фактические значения по результатам сертификационных испытаний

"Кровлелон-Е" обладает масло- бензо- хим- стойкостью. Плотность 1475 - 1500 кг/м3. Температурный интервал эксплуатации от минус 50 до плюс 120 °С.

"Кровлелон-Е" относится по пожарной безопасности к группе слабогорючих материалов (группа Г1).

"Кровлелон-Е" является биостойким материалом.

Полотно "Кровлелона-Е" должно быть плотно смотано в рулоны с ровными торцами. Допустимая высота выступов на торцах рулонов не должна превышать 25 мм. Полотна в рулонах не должны слипаться.

Полотна "Кровлелона-Е" не должны иметь трещин, дыр, разрывов, складок. При транспортировании, хранении и производстве работ необходимо предохранять "Кровлелон-Е" от повреждений, загрязнения и увлажнения.

Благодаря термопластичности развернутые полотна "Кровлелона-Е" сваривают внахлест потоком горячего воздуха, создаваемым тепловоздушными фенами.

Мембрану из "Кровлелона-Е" прикрепляют к основанию двумя методами: клеевым или механическим, с помощью крепежных элементов (реек, дюбелей и пр.) [39], размещаемых в нахлестках. Во время приклеивания мембраны к основанию и при склеивании нахлесток используют полиуретановый (PU) клей. Границы мембран обрабатывают герметиком, например, "Раберфлексом" [50, 51].

В НПО "Гидрол-Руфинг" клеевой метод прикрепления полотен "Кровлелона-Е" к основанию был усовершенствован. Сущность метода заключается в приплавлении* "Кровлелона-Е" на предварительно наплавленный** к бетонному основанию слой битум-полимерного материала без посыпки, например, "Техноэласт" или "Элабит", с оставлением свободных нахлесток «Кровлелона Е», с последующей их тепловоздушной сваркой. Данная технология обеспечивает надежное крепление мембраны к основанию и более высокую производительность труда, по сравнению с традиционными способами ведения кровельных работ, с использованием PU клея или механического крепежа [30, 39].

ООО «КапиталМонтажСтрой» совместно с «ЦНИИПромзданий» успешно применили наклеивание материала «Кровлелон Е» к основанию с использованием мастики «Унимаст У» на важнейших объектах ОАО «ПО «Севмаш». По отзывам специалистов ОАО «ПО «Севмаш» данное решение проявило себя с положительной стороны (Приложение 4).

_____________

* приплавление - способ приклейки, при котором перед раскатываемым рулоном «Кровлелона Е» пламенем газовой горелки нагревают до расплавления битумно-полимерный материал, лежащий на основании, после чего «Кровлелон-Е» раскатывают на расплавленной поверхности, с последующим разглаживанием неровностей, складок и т.п.

** наплавление - способ приклейки, при котором раскатываемый битумно-полимерный материал разогревают в месте касания рулона основания, при этом нагревается основание и наклеиваемый материал.

3. ПРОЕКТИРОВАНИЕ КРОВЕЛЬ

3.1. Кровли рулонные и мастичные

3.1.1. Кровли из рулонных и мастичных материалов могут быть выполнены в традиционном (при расположении водоизоляционного ковра над теплоизоляцией) и инверсионном (при размещении водоизоляционного ковра под теплоизоляцией) вариантах (табл. 7). Такие кровли предпочтительно применять на уклонах 1,5 ... 10%.

Таблица 7

Уклон, %

Схема покрытия, тип кровли

Новое строительство

1,5-15

К-1 - традиционная неэксплуатируемая на покрытии с применением несущих профилированных листов

1,5-25

К-2 - традиционная неэксплуатируемая на покрытии с применением железобетонных плит

9* - устаревшее решение

1,5-3

К-3 - традиционная эксплуатируемая

1,5-3

К-4 - инверсионная кровля

 

Схема покрытия, тип кровли

Ремонт покрытия

По факту

К-5 - традиционная неэксплуатируемая

а) - новое покрытие; б) - существующее (старое) покрытие

По факту

К-6 - инверсионная кровля на существующем (старом) покрытии

б) - существующее (старое) покрытие

Продолжение таблицы 7

Условные обозначения

1

Профлист

14

Защитный слой из цементно-песчаного раствора или асфальтобетона

2

Пароизоляция (см. прил. 1 [49])

15

Предохранительный фильтрующий слой из синтетических волокон, например, «Геотекстиль» или др.

3

Плитный негорючий утеплитель

16

Дренажный слой из гравия

4

Сборная стяжка

17

Почвенный слой

5

Грунтовка мастикой «Унимаст У» или «Унимаст П»

18

Экструзионный пенополистирол

6

Водоизоляционный ковер

19

Пригрузочный слой из гравия

7

Монопанель

20

Пригрузочный слой из бетонных плиток

8

Плитный утеплитель (см. прил. 2 [49])

21

Стяжка из цементно-песчаного раствора или уклонообразующий слой из легкого бетона;

9

Монолитная выравнивающая стяжка

22

Приклейка мастикой «Унимаст-У»;

10

Монолитный утеплитель (см. прил. 2 [29])

23

Не приклеенное к основанию однослойное водоизоляционное покрытие из «Элона-Супер», «Элона-Супер Н» или «Кровлелона Е»;

11

Железобетонная плита;

24

Существующий (старый) водоизоляционный ковер

12

Разделительный слой из рулонного материала (например, из пергамина и др.);

25

Существующий утеплитель

13

Тротуарная плитка на цементно-песчаном растворе;

26

Вентилируемый канал

Основание под водоизоляционный ковер

3.1.2. Основанием под водоизоляционный ковер могут служить ровные поверхности:

- железобетонных несущих плит, швы между которыми заделаны цементно-песчаным раствором марки не ниже 100 или бетоном класса не ниже В 7,5;

- теплоизоляционных плит из минеральных волокон с пределом прочности на сжатие при 10 %-ной линейной деформации не менее 0,06 МПа (0,6 кгс) и из пенопласта - не менее 0,15 МПа (1,5 кгс).

Теплоизоляционные плиты (в зависимости от наличия в кровельном ковре холодных или горячих мастик) должны обладать устойчивостью к органическим растворителям (бензин, этилацетон, нефрас и др.) и стойкостью к воздействию температур горячих мастик. Возможность применения в качестве основания под водоизоляционный ковер без устройства выравнивающей стяжки нового плитного утеплителя должна устанавливаться по результатам испытаний их физико-технических свойств, проводимых имеющими лицензию лабораториями:

монолитной теплоизоляции с прочностью на сжатие не менее 0,15 МПа (1,5 кгс) из легких бетонов, а также материалов на основе цементного или битумного вяжущего с эффективными заполнителями - перлитом, вермикулитом и др.;

выравнивающих монолитных стяжек из цементно-песчаного раствора и асфальтобетона с прочностью на сжатие соответственно не менее 5 и 0,8 МПа, а также сборных (сухих) стяжек из асбестоцементных плоских прессованных листов толщиной 10 мм по ГОСТ 18124 или цементно-стружечных плит толщиной 10-12 мм по ГОСТ 26816.

Под монолитную цементно-песчаную или сборную стяжку минераловатные плиты рекомендуется применять с прочностью на сжатие при 10 %-ой деформации не менее 0,045 МПа (0,45 кгс/см2); между цементно-песчаной стяжкой и поверхностью минераловатных плит или другой пористой теплоизоляцией предусматривают разделительный слой из кровельного рулонного материала. Требования к монолитным стяжкам по ровности их поверхности, влажности и толщине приведены в таблице 2.

3.1.3. В выравнивающих стяжках из цементно-песчаного раствора и асфальтобетона должны быть предусмотрены температурно-усадочные швы в соответствии с требованиями п.п. 2.19 и 2.20 главы СНиП II-26.

3.1.4. Теплоизоляционные плиты из пенополистирола, фенольного пенопласта и других сгораемых утеплителей могут быть использованы в качестве основания под водоизоляционный ковер из рулонных материалов без устройства выравнивающей стяжки только при свободной укладке рулонного материала, в том числе с механическим креплением его, так как огневой способ наклейки при сгораемом утеплителе недопустим, а использование горячих мастик и холодных клеящих составов на растворителях разрушающе воздействует на такие материалы.

Таблица 8

 

Основание

теплоизоляционные слои монолитной укладки на

стяжка из цементно-песчаного раствора по

стяжка из песчаного асфальто­бетона**

Теплоизоляционные плиты из волокнистых материалов

цемен­тном вяжущем

Битумном вяжущем (перлито-битум)

засыпной теплоизоляци и* (керамзитовый гравий и т.п.)

теплоизоляционным плитам (пеностекло, керамзитобетон и т.п.)

ров­ность

плавно нарастающие неровности вдоль уклона не более ± 5 мм, а поперек уклона - не более ± 10 мм, в ендове не более ± 5 мм; количество неровностей должно быть не более одной на базе 2 м

перепад между смежными плитами не более 3 мм

влаж­ность, %, не более

5,0

по ГОСТ или ТУ на плиты

толщи­на, мм

***

***

40 ±10%**** с армированием

30 ±10%****

30 ±10% ****

***

* допускается при уплотнении катком верхнего слоя засыпки мелкими фракциями утеплителя с устройством армированной монолитной стяжки или с применением сборной стяжки

** не допускается по засыпным и сжимаемым утеплителям

*** толщина теплоизоляции по расчету

**** приведенные значения являются минимальными для уклонообразующих стяжек.

3.1.5. Пароизоляция для предохранения теплоизоляционного слоя и основания под кровлю от увлажнения должна предусматриваться в соответствии с требованиями СНиП 23-02 из рулонных кровельных, армированных мастичных или специально изготовленных материалов.

В местах примыканий теплоизоляционного слоя к стенам, стенкам фонарей, шахтам и оборудованию, проходящему через покрытие или чердачное перекрытие, пароизоляция должна быть поднята на высоту, равную толщине теплоизоляционного слоя, а в местах деформационных швов должна перекрывать

края металлического компенсатора. Слой пароизоляции должен быть водонепроницаемым.

3.1.6. Конструктивное решение покрытия с кровлей в инверсионном варианте включает (см. табл. 7) железобетонные сборные или монолитные плиты, стяжку из цементно-песчаного раствора или уклонообразующий слой из легкого бетона, грунтовку, водоизоляционный ковер, теплоизоляцию, предохранительный фильтрующий слой, противокорневой слой из термопластичного рулонного материала (например, «Тефонд» по ТУ 5774-003-45940433-99 или др.), пригруз из гравия или бетонных плиток из расчета 50 кгс/м2. В инверсионных кровлях для водоизоляционного ковра должны применяться материалы на негниющей основе.

3.1.7. В кровле в инверсионном варианте в качестве теплоизоляции должен применяться только плитный экструзионный пенополистирол, характеризующийся практически нулевым водопоглощением, исклющим возможность накопления в нем влаги и размораживания в процессе эксплуатации кровли (например, «Пеноплэкс» по ТУ 5767-002-46261013-99 или др.).

Водоизоляционный ковер

3.1.8. Рулонные кровли могут быть выполнены из полимерных материалов НПО «Гидрол-Руфинг», как на основе эластомеров - «Элона-Супер» и «Элона-Супер Н» (с битум-полимерным наплавляемым слоем), так и на основе термоэластопластов - «Кровлелона Е», с применением, в ряде случаев, в качестве адгезива наплавляемых битум-полимерных материалов таких как «Техноэласт» или «Элабит», в новом строительстве и при ремонте.

3.1.9. Мастичные кровли выполняются из мастик «Унимаст -У», «Унимаст Б», «Унимаст Ц», которые армируются стекловолокнистыми материалами или прокладками из полимерных волокон.

Мастичные кровли рекомендуются преимущественно при сложном рельефе покрытия в новом строительстве, а также для ремонта существующих (старых) кровель, в том числе кровель из металлических или шиферных листов.

3.1.10. Основной водоизоляционный ковер кровель типов К-1, К-2 и К-5 независимо от уклонов скатов покрытия выполняются из одного слоя рулонных полимерных материалов «Элон-Супер», «Элон-Супер Н», «Кровлелон Е».

Дополнительный водоизоляционный ковер в местах перепада высот пролетов, в коньке, ендовах, у водосточных воронок, на карнизных свесах, у парапетов, вентиляционных шахт, труб, компенсационных швов зданий и в других местах примыканий также выполняется из одного слоя рулонных полимерных материалов.

3.1.11. Высота наклейки рулонных материалов и мастичных слоев в местах примыканий к вертикальным поверхностям должна быть не менее 150 мм - для основного водоизоляционного ковра и не менее 250 мм - для дополнительного.

3.1.12. Основной водоизоляционный ковер кровель типов К-3; К-4; и К-6 выполняется из одного слоя «Элона-Супер» (на мастике «Унимаст-У») или двух слоев кровельных материалов - верхнего слоя - «Кровлелона Е», приправленного на нижний слой, выполненный из «Техноэласта» или «Элабита». В случае применения наплавляемого материала «Элона-Супер Н» кровля выполняется в один слой.

Дополнительный водоизоляционный ковер выполняется в соответствии с п.п. 3.1.10 и 3.1.11.

3.1.13. Область применения холодных покрытий типов К-1-А и К-2-Б неотапливаемых зданий определяется районами, расчетная температура наиболее холодных суток которых не ниже температуры, характеризующей гибкость (эластичность) полимерного кровельного материала и приклеивающей мастики.

3.1.14. Допустимый уклон кровли типа К-2-А определяется технологией укладки монолитной теплоизоляции.

Крепление водоизоляционного ковра к основанию

3.1.15. Крепление кровли, в т.ч. водоизоляционной мембраны из рулонных полимерных материалов НПО «Гидрол-Руфинг» к основанию осуществляется:

- приклеиванием с помощью адгезивов (мастик, расплавов);

- механических креплений с использованием крепежных изделий;

- свободной укладкой с пригружением балластом.

3.1.16. Крепление «Элона-Супер» к основанию осуществляется:

- приклеиванием с помощью мастики «Унимаст У» в соотв. с п. 5. 3. 6. [40] (в т.ч. с применением лент «ДЛЛ-Элон» в нахлестках полотнищ);

- механически - с использованием крепежных изделий в соотв. с п. 2.5.21. [34] (в т.ч. с применением лент «ДЛЛ-Элон» в нахлестках полотнищ);

- свободной укладкой с пригружением балластом - гравием, щебнем или бетонными плитками.

3.1.17. Крепление «Элона-Супер Н» к основанию осуществляется:

- наплавлением, по технологии применения наплавляемых материалов [38, 53].

- механически с использованием крепежных изделий в соотв. с п. 2.5.21. [34] (в т.ч. с применением лент «ДЛЛ-Элон» в нахлестках полотнищ);

- свободной укладкой с пригружением балластом - гравием, щебнем или бетонными плитками.

3.1.18. Крепление «Кровлелона Е» к основанию осуществляется:

- приплавлением на предварительно наплавленный слой «Техноэласта» или «Элабита» или приклеиванием с помощью мастики «Унимаст У» в соотв. с п. 5. 3. 6. [40] с последующим тепловоздушным свариванием нахлесток полотнищ;

- приплавлением на предварительно наплавленный слой «Техноэласта» или «Элабита» с последующим тепловоздушным свариванием нахлесток полотнищ;

- механически с использованием крепежных изделий в соотв. с п. 9.2. [39];

- свободной укладкой с пригружением - гравием, щебнем или бетонными плитками.

Стыки и нахлестки смежных полотнищ рулонных кровельных материалов

3.1.19. Стыки смежных полотнищ «Элона-Супер», «Элона-Супер Н» и «Кровлелона Е» должны быть выполнены с нахлесткой кромок полотнищ в продольном направлении (направлении раскатки рулона) 120 мм, в поперечном направлении ≥70 мм. При механическом креплении водоизоляционного ковра к основанию, ширина нахлестки увеличивается в соответствии с размерами крепежных изделий (табл. 9) [49].

3.1.20. Места нахлесток «Элона-Супер», «Элона-Супер Н» (для повышения их надежности) могут дополнительно оклеиваться армирующей лентой из стеклоткани или нетканого полиэфирного полотна шириной 80 - 100 мм с последующим покрытием защитным слоем (из 3 слоев) мастики «Унимаст У». При этом край стеклоткани, находящийся на нижнем полотнище, должен быть расположен на расстоянии 40 - 50 мм от края верхнего полотнища (табл. 9).

3.1.21. Стыки смежных полотнищ «Элона-Супер Н» допускается соединять (без нахлесток друг на друга) наплавлением на ленты «Техноэласта» или «Элабита» шириной ≥180 мм, расположенных под полотнищами «Элона-Супер Н» наплавляемой стороной вверх. При этом нахлестка «Элона-Супер Н» на «Техноэласт» или «Элабит» должна быть ≥90 мм на каждую сторону (табл. 9).

3.1.22. Стыки смежных полотнищ «Кровлелона Е» не должны совпадать со стыками смежных полотнищ «Техноэласта» или «Элабита».

3.1.23. Допускаются Т-образные нахлестки при соединении полотнищ. Крестообразные нахлестки не допускаются.

Таблица 9

Тип крепления кровли, конструкция нахлестки

Вариант стыка полотнищ и нахлестки

«Элон-Супер»

001

Сплошная приклейка со склеиванием нахлестки мастикой «Унимаст У»

002

Сплошная приклейка с дополнительной оклейкой стыка армирующей лентой и покрытием защитным слоем из мастики «Унимаст У»

003

Сплошная приклейка с применением в стыках ленты «ДЛЛ-Элон»

004

Механическое крепление со склеиванием нахлестки

«Элон-Супер Н»

005

Сплошное наплавление с выполнением стыков наплавлением на ленты «Техноэласта» или «Элабита»

«Кровлелон Е»

006

Свободная укладка под пригружение с тепловоздушной сваркой нахлесток

007

Механическое крепление с последующей тепловоздушной сваркой нахлесток

008

Приплавление на предварительно наплавленный слой «Техноэласта» или «Элабита» с последующей тепловоздушной сваркой нахлесток

Условные обозначения

1

«Элон-Супер»

8

Лента из «Техноэласта» или «Элабита»; «Кровлелон Е»

2

Мастика «Унимаст У»

9

Сварной шов

3

Основание под кровлю

10

PU-клей или мастика «Унимаст У»

4

Лента из стеклоткани или полиэфирного нетканого полотна

11

Лента «ДЛЛ-Элон»

5

Защитный слой из трех слоев мастики «Унимаст У»

12

Геотекстиль

6

Механическое крепление (саморез)

13

Наплавляемый слой «Элона-Супер Н»;

7

«Элон-Супер Н»

14

«Техноэласт» или «Элабит»

Защитный слой

3.1.24. Защитный слой эксплуатируемых кровель должен быть плитным или монолитным из негорючих материалов НГ и маркой по морозостойкости не менее 100, толщиной не менее 30 мм и прочностью, определяемой расчетом на нагрузки в соответствии со СНиП 2.01.07, а при травяном покрове - земляным. В защитном слое эксплуатируемых кровель должны быть предусмотрены температурно-усадочные швы в соответствии с требованиями главы СНиП II-26, заполняемые герметизирующими составами.

На кровлях, где требуется, обслуживание размещенного на них оборудования (крышные вентиляторы и т.п.), должны быть предусмотрены ходовые дорожки и площадки вокруг оборудования.

3.1.25. В эксплуатируемых кровлях тип К-4, предназначенных для размещения кафе, спортивных площадок, соляриев, автостоянок и т.п., для защитного слоя рекомендуется применять также бетонные плиты по слою цементно-песчаного раствора либо цементно-песчаный раствор или монолитный железобетон.

3.1.26. Защитный слой на участках уборки производственной пыли, снега, складирования материалов и т.п. предусматривают из цементно-песчаного раствора или плитных материалов, укладываемых на цементно-песчаном растворе с соблюдением требований п. 3.1.7.

3.1.27. В кровлях с уклоном до 2,5 % из эластомерных и термопластичных рулонных кровельных материалов, выполненных методом свободной укладки, должен предусматриваться плитный или гравийный пригрузочный слой из расчета 50 кгс/м2 фракций 20 - 40 мм.

3.1.28. Максимально допустимая площадь кровли из рулонных и мастичных материалов групп горючести Г2, Г3 и Г4 при общей толщине водоизоляционного ковра до 8 мм, не имеющей защиты слоем гравия, а также площадь участков, разделенных противопожарными поясами (стенами), не должна превышать значений приведенных в табл. 10.

3.1.29. Противопожарные пояса должны быть выполнены как защитные слои эксплуатируемых кровель (п. 3.1.24.) шириной не менее 6 м. Противопожарные пояса должны пересекать основание под кровлю (в т.ч. теплоизоляцию), выполненное из материалов групп горючести Г3 и Г4, на всю толщину этих материалов с учетом требований СНиП 21-01.

Таблица 10

Группа горючести (Г) и распространения пламени (РП) водоизоляционного ковра кровли, не ниже

Группа горючести материала основания под кровлю

Максимально допустимая площадь кровли без гравийного слоя или крупнозернистой посыпки, а также участков кровли, разделенных противопожарными поясами, м2

Г2; РП2

НГ; Г1

Без ограничений

 

Г2; Г3; Г4

10000

Г3; РП2

НГ; Г1

10000

 

Г2; Г3; Г4

8500

Г3; РП3

НГ; Г1

5200

 

Г2

3600

 

Г3

2000

 

Г4

1200

Г4

НГ Г1

3600

 

Г2

2000

 

Г3

1200

 

Г4

400

3.1.30. Детали водоизоляционного ковра традиционной кровли (тип К-1, К- 3, К-5), инверсионной кровли (тип К-4 и К-6) выполняются в соответствии с [39; 40], с учетом требований п.п. 3.1.10., 3.1.11., 3.1.12.

3.1.31. В новом строительстве и при выполнении ремонта в толще покрытия должны проектироваться и выполняться вентилируемые наружным воздухом каналы, обеспечивающие естественную сушку его материалов в процессе эксплуатации здания. Для этого в толще утеплителя и/или стяжки выполняются каналы, сообщающиеся с наружным воздухом через продухи у карнизов, парапетов, торцевых стен, возвышающихся над кровлей частей зданий с установкой при необходимости специальных аэраторов, увеличивающих воздухообмен в каналах (приложение 5).

3.2. Примеры конструктивных решений кровель при новом строительстве и ремонте

Кровли приклеиваемые

На рисунке 8 показаны три варианта кровель, используемых в новом строительстве - а, б, в (соответственно К-1-Г; К-2-Г; К-2-Г).

Рис. 8 Кровли приклеиваемые

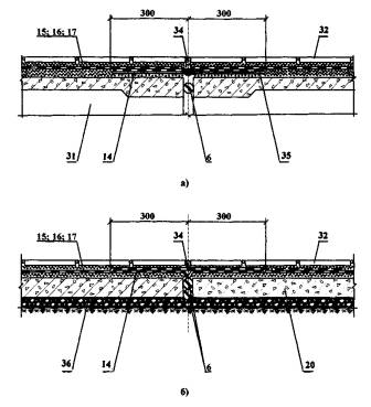
а) - из «Элона-Супер»; б) - из «Элона-Супер-Н»; в) - из «Кровлелона Е» на «Техноэласте» или «Элабите»

Вариант а. Сборная стяжка 22 выполнена из цементно-стружечных плит (ЦСП). Стяжка 22, утеплитель 17 (по расчету), пароизоляция 16 (по расчету) прикреплены к профлисту 23 механически, с помощью крепежных элементов 20. Во избежание увлажнения дождем плиты ЦСП предварительно покрыты со всех сторон двумя слоями мастики «Унимаст У» или тремя слоями мастики «Унимаст П». Плиты утеплителя разнесены, с учетом ширины вентилируемых наружным воздухом каналов 18. Протяженность и сечение вентилируемых каналов рассчитаны по методике, приведенной в приложении 11.4. Мембрана 1 из «Элона-Супер» приклеена к сухому ровному сборному основанию мастикой «Унимаст У». Полотнища в нахлестках склеены между собой мастикой «Унимаст У» и/или двусторонней липкой лентой «ДЛЛ-Элон» 10.

Вариант б. На железобетонную плиту 24, положена пароизоляция 16, например, из полиэтиленовой пленки. Выше - слой утеплителя 17, например, из минераловатных плит, пеностекла и пр. с разнесением плит на ширину вентилируемых каналов 18. Вентилируемые каналы закрыты полосами 22, выпиленными из плит ЦСП, покрытыми со всех сторон двумя слоями мастики «Унимаст У» или тремя слоями мастики «Унимаст П». Над утеплителем выполнена цементно-песчаная стяжка 21 праймированная битумной мастикой. Над вентилируемыми каналами 18 установлены аэраторы 19. Количество аэраторов рассчитано по методике, приведенной в приложении 5. Мембрана 3 из «Элона-Супер Н» приклеена к основанию огневым наплавлением. Развернутые из рулонов полотнища соединены друг с другом с помощью лент 31, вырезанных из «Техноэласта» или «Элабита», положенных на основание наплавляемой стороной вверх (см. разд. 4.1. п. 4.1.19).

Вариант в. В отличие от варианта б, мембрана 4 выполнена из «Кровлелона Е», приправленного на слой адгезива, в качестве которого взяты «Техноэласт» 35 или «Элабит» 36, ранее наплавленный на, предварительно покрытую слоем битумного праймера, цементно-песчаную стяжку 21. Оставленные свободными нахлестки полотнищ 13 соединены друг с другим в сплошную водоизоляционную мембрану автоматической тепловоздушной сваркой.

«Кровлелон Е» может быть приклеен к основанию мастикой «Унимаст У» с оставлением нахлесток свободными и с последующей их тепловоздушной сваркой.

Кровля, прикрепляемая к основанию механическими крепежными изделиями

На рисунке 9 показан один из многих вариантов кровли (К-2-В), прикрепляемой к основанию механическими крепежными изделиями, используемой в новом строительстве.

Мембрана 1, 2, 3, 4 из «Элона-Супер», «Элона-Супер Н» или «Кровлелона Е» механически прикреплена к основанию в нахлестках с помощью расчетного количества крепежных изделий [34, 39].

Нахлестки полотнищ «Элона-Супер» склеены мастикой «Унимаст У» или с помощью липкой ленты «ДЛЛ-Элон» 10. Нахлестки полотнищ «Элона-Супер Н» соединены с помощью газовой горелки. Нахлестки полотнищ «Кровлелона Е» сварены автоматическим тепловоздушным феном.

Между сборной стяжкой 22 и мембраной проложена прокладка 14 из нетканой полиэфирной основы (геотекстиля развесом 300 г/м2).

Во избежание образования вздутий и повреждений нахлесток полотнищ мембран в процессе эксплуатации в толще утеплителя 17 предусмотрены вентилируемые каналы 18 с установленными над ними аэраторами (не показано).

Рис. 9 Кровля, прикрепляемая к основанию механическими крепежными изделиями

Кровля, укладываемая свободно с пригрузочным слоем

На рисунке 10 показан типичный вариант кровли (К-З-А) укладываемой свободно с пригрузочным слоем, используемой в новом строительстве.

В данном примере кровля 1, 2, 3, 4 не крепится к основанию, что обеспечивает ей возможность деформироваться без внутренних напряжений. Пригрузочный слой 27 - гравий фракции 20 - 40 мм исключает влияние ультрафиолетового излучения. Сверху и снизу полимерной кровли проложены предохранительные разделительные слои 14 из геотекстиля.

Рис. 10 Кровля, укладываемая свободно с пригрузочным слоем из гравия

Эксплуатируемые кровли

На рисунке 11 показаны три варианта а, б, в эксплуатируемых кровель (соответственно К-3-Г, К-3-Д, К-3-Б), используемых в новом строительстве и при ремонте. Вариант в, относится к эксплуатируемой кровле, служащей автостоянкой, над гаражами, расположенными в стилобатной части здания.

На рисунке 12 изображен участок эксплуатируемой кровли (К-3-А) с газоном.

Рис. 11 Эксплуатируемые кровли

а) - из «Элона-Супер»; б) - из «Элона-Супер Н»; в) - из «Кровлелона Е» на «Техноэласте» или «Элабите»

Рис. 12 Кровля с газоном (зеленая кровля)

Инверсионная кровля

На рисунке 13 показана схема инверсионной кровли (К-4-А), используемая в новом строительстве. Над цементно-песчаной стяжкой 21 собрана свободно лежащая водоизоляционная мембрана 1, 2, 3, 4 из «Элона-Супер», «Элона-Супер Н» или «Кровлелона Е». Сверху и снизу мембраны положены защитные слои 14 из геотекстиля. Выше - теплоизоляция 17, и, еще выше - гравий 27.

Рис. 13 Инверсионная кровля

Ремонт кровли без съема старого битуминозного ковра

На рисунке 14 показана схема ремонта кровли без съема старого кровельного ковра. Схема ремонта предусматривает дополнительное утепление кровли и выполнение системы вентилируемых каналов и аэраторов, рассчитанных по методике, приведенной в приложении 11.4.

Рис. 14 Схема ремонта кровли без съема старого битуминозного кровельного ковра

Ремонт кровель из металла и шифера

Герметичность, пропускающих воду стоячих и лежачих фальцев, соединяющих картины металлической кровли, восстанавливают нанесением кистью 3-4 слоев мастик «Унимает ЦБ», «Унимаст У», согласно схеме, показанной на рисунке 15. При этом не требуется раскрытие фальцев. Для повышения надежности герметизации на фальцы накладывают полосы шириной 80 - 100 мм, вырезанные из стеклоткани или нетканого полиэфирного полотна с последующим нанесением на них защитного покрытия из 3 слоев мастики «Унимаст У». Подобным образом герметизируются трещины в шиферных листах также.

Условные обозначения к рисункам 8 - 15.

1

«Элон-Супер 1»

18

Вентиляционный канал

2

«Элон-Супер 2»

19

Аэратор

3

«Элон-Супер Н»

20

Крепежный элемент

4

«Кровлелон Е» тип А

21

Цементно-песчаная стяжка

5

«Кровлелон Е» тип Б

22

Цементно-стружечная плита (ЦСП)

6

Мастика «Унимаст ЦВ»

23

Профлист

7

Мастика «Унимаст У»

24

Железобетонная плита

8

Мастика «Унимаст П»

25

Существующая кровля

9

Мастика «Унимаст Б»

26

Существующие конструкционные слои покрытия

10

Лента «ДЛЛ Элон»

27

Гравий

11

«Техноэласт»

28

Тротуарная плитка

12

«Элабит»

29

Асфальт

13

Сварное соединение полотен «Кровлелона Е»

30

Битумный праймер

14

Геотекстиль

31

Полоса подкладочного битум-полимерного материала

15

Стеклоткань

32

Склейка полотен мастикой «Унимаст У»

16

Пароизоляция по расчету

33

Почва и растения

17

Утеплитель по расчету

 

 

Рис. 15 Восстановление водоизоляционных свойств стоячих и лежачих фальцев мастикой «Унимаст»

4. ПРОЕКТИРОВАНИЕ ГИДРОИЗОЛЯЦИИ

4.1. Гидроизоляция подземных конструкций

Представленные в настоящих рекомендациях материалы с успехом могут заменять традиционные рулонные битумные и битумно-полимерные материалы соответственно типа «Гидростеклоизола» и «Техноэласта» и др. или использоваться в комбинации с битум полимерными материалами (с покровной массой, содержащей спецполимер, например, «Техноэласт» или «Элабит») не только в кровлях, но и в других элементах зданий (рис. 1).

При этом «Элон-Супер» и «Кровлелон Е» отличаются более высокой эластичностью, а также устойчивостью к микроорганизмам и агрессивным средам.

Выбор типа изоляции подземных конструкций (количество слоев, решения узлов сопряжений, материалы для защитных стенок, необходимость устройства дренажной системы) при новом строительстве в условиях грунтовых вод является сложной и весьма ответственной задачей, от правильного решения которой во многом зависит нормальная эксплуатация подвалов, жилых зданий, гаражей, тоннелей, резервуаров.

Но даже правильно выбранная гидроизоляционная система не может быть эффективной, если при производстве работ нарушены требования нормативных документов и стандартов, гарантирующих качество работ.

Поэтому работы по гидроизоляции целесообразно выполнять по специально разработанному проекту, предварительно согласованному с исполнителями работ.

При разработке такого проекта должны быть учтены :

1. Данные гидрогеологических изысканий по составу и характеру грунтов и грунтовых вод, в том числе по степени их агрессивного воздействия.

2. Уровень залегания грунтовых вод и возможные колебания этого уровня в процессе эксплуатации, возможность образования верховодки.

3. Расчетные величины осадок фундаментов, характер трещиностойкости сооружений.

4. Конструктивные особенности подземных конструкций (материал стен, днища, полов, сопряжения с коммуникациями).

5. Характер рельефа местности и возможность устройства дренажа (пластового, пристенного)

6. Функциональное назначение используемых подземных помещений и их температурно-влажностный режим согласно СНиП II-3-79* (Строительная теплотехника)

7. Организация водоотвода атмосферных осадков с кровли.

8. Возможные техногенные изменения уровня грунтовых вод. Наличие расположенных вблизи здания подземных коммуникаций, утечки из которых могут в процессе эксплуатации оказать влияние на обводнение грунтов (водопроводные или канализационные коллекторы, каналы и т.д.).

Наиболее эффективно применять полимерные материалы с наружной стороны конструкций, когда они работают на активное (положительное) давление воды, что обеспечивает их прижатие к поверхности стен сооружений (рис. 16 - 19).

Рис. 16 Гидроизоляция фундамента без подвала

Рис. 17 Горизонтальная и вертикальная гидроизоляция фундаментов и стен в помещениях с подвалом (вариант 1)

Рис. 18 Горизонтальная и вертикальная гидроизоляция фундаментов и стен в помещениях с подвалом и утеплителем (вариант 2)

Рис. 19 Горизонтальная и вертикальная гидроизоляция фундамента и стен подвала при наличии грунтовых вод

Примечание: Вариант 2 отличается от варианта 1 применением «Кровлелона Е» с «Техноэластом» или «Элабитом»

Такая схема защиты осуществляется при новом строительстве.

Использование полимеров возможно и при отрицательном (негативном) давлении, когда изоляция выполняется со стороны помещений.

Потребность в такой защите может возникать в случае появления протечек в эксплуатируемом сооружении.

При этом следует иметь в виду, что при наличии гидростатического напора изоляция является лишь гидроизоляционной мембраной. Гидростатическое давление должна воспринять кирпичная или бетонная стена, установленная вплотную к изоляции. Ее прочность и особенно устойчивость проверяется по строительным нормам проектирования железобетонных или каменных конструкций.

При наличии грунтовых вод гидроизоляционная мембрана должна быть выполнена в виде сплошного замкнутого многослойного покрытия, приклеенного по всей наружной поверхности стен и днища, особенно тщательно в местах стыковки и пропуска трубопроводов. Количество слоев зависит от величены гидростатического напора и приведено в таблице 10.

Таблица 10

Назначение гидроизоляции

Материал

Количество слоев или толщина, мм.

Защита от капиллярной влаги

Мастика «Унимает» или

0,5 мм

«Элон-Супер»

1сл.

При наличии гидростатического напора до 5 м.

«Элон-Супер»

2 ел.

«Элон-Супер Н»

1 ел

«Кровлелон Е» и «Техноэласт» или «Элабит»

1 сл.+ 1 сл.

При наличии гидростатического напора до 10 м.

Техноэласт совместно с «Элоном Супер-Н»

1 сл.+ 1 сл

«Кровлелон» и «Техноэласт»

1 сл.+ 1 сл.

Все поверхности железобетонных элементов, предназначаемые для нанесения гидроизоляции, должны соответствовать категории не ниже А4 по ГОСТ 13015.0-83.

Желательно, чтобы при разработке гидрозащиты выбор материалов для оклеечной изоляции рассматривался совместно с вопросами дренажа.

От механических повреждений в процессе производства работ изоляцию необходимо защищать.

СТЕНЫ - путем устройства после приклейки (перед обратной засыпкой грунтом) прижимной стенкой из кирпича, листов асбестоцемента, бетонных блоков, профилированных полиэтиленовых листов и др.

ДНИЩЕ - после укладки гидроизоляционной мембраны на горизонтальную поверхность полотном из геотекстиля, а затем цементно-песчаной стяжкой

Вместо стяжки можно использовать также, как и в стенах, листы из профилированного полиэтилена. Использование этого материала позволяет не только защищать мембрану от механических воздействий, но и улучшает дренаж. Материалы для механической защиты изоляции приведены в таблице 12.

При выборе защиты следует учитывать, что над горизонтом грунтовых вод высота капиллярного подъема (капиллярная кайма) зависит от типа грунта и составляет от 30 см (крупнозернистые пески) до 4 м (суглинки, глины).

Однако в течение года уровень грунтовых вод может значительно колебаться. Поэтому при назначении оклеечной мембраны высоту наклейки следует предусматривать выше уровня грунтовых вод не менее чем на 0.5-1.0 м.

Независимо от наличия капиллярной зоны (даже при отсутствии грунтовых вод), соприкасающиеся с грунтом наружные поверхности стен подземных сооружений должны иметь обмазочную изоляцию, кроме тех помещений, где допускаются при эксплуатации сырые стены.

4.2. Полы промышленных зданий, в т.ч. с агрессивными средами

Гидроизоляция является обязательным конструктивным элементом полов в промышленных и гражданских зданиях при наличии мокрой уборки помещений.

Материалы, из которого выполнены несущие конструкции, как правило, не герметичны (бетон, керамзитобетон, профилированный настил, и т.д.).

Не является гидроизоляцией большинство материалов, используемых в покрытиях полов.

В зданиях из сборных ж.б. конструкций, например плиты перекрытий, имеют многочисленные швы.

Вода или технологические растворы, при отсутствии гидрозащиты, проникает к нижележащим конструкциям. При этом может развиваться коррозия арматуры, разрушаются отделочные покрытия, нарушается температурно-влажностный режим.

Для некоторых видов оборудования попадание воды может привести к полному нарушению их работы. Еще более опасны последствия протечек, если на полы действуют агрессивные или токсические среды.

Гидроизоляция, наряду с верхним покрытием пола, являются тем барьером, который не дает проникнуть к нижележащим элементам здания жидким средам.

Поэтому в промышленных зданиях, при наличии гидросмыва, полы должны иметь гидроизоляцию и, соответственно, систему для удаления стоков: трапы, канализационные трубы, уклоны в полах.

Что касается жилых зданий, то в санузлах, открытых балконах в помещениях душевых гидроизоляция должна быть обязательным элементом пола. При этом желательно чтобы изоляция была оклеечной.

Гидроизоляция полов необходима, как на перекрытиях, так и на грунтовом основании. Это особенно важно учитывать если покрытие полов выполняется из монолитных полимерных материалов («наливные полы»), не обладающих паропроницаемостью.

При этом гидроизоляция должна выполняться (вне зависимости от наличия грунтовых вод) до устройства бетонного пола (по которому укладываются полимерные полы).

Назначение такой гидроизоляции - исключить капиллярный подсос влаги из грунтов.

В условиях действия воды материалом, обеспечивающим непроницаемость, может служить любой из полимерных материалов НПО «Гидрол-Руфинг» одного слоя которого вполне достаточно в условиях мокрой уборки помещений (рис. 20 - 23).

Рис. 20 Гидроизоляция в химически стойких полах на перекрытии

Рис. 21 Гидроизоляция в химически стойких полах на грунте

Рис. 22 Деформационные швы в химически стойких полах а) на перекрытии; б) на грунтовом основании

Преимуществом рассматриваемых полимерных материалов является возможность их использования без применения открытого огня и при отрицательных температурах («Элон-Супер», «Кровлелон Е», мастики «Унимаст»).

Особую роль изоляция играет в защите строительных конструкций при воздействии на полы агрессивных жидкостей, кислот, щелочей, растворов солей, растворителей, масел, нефтепродуктов.

В практике антикоррозионной защиты, при действии агрессивных сред, этот элемент пола иногда называют не гидроизоляцией, а непроницаемым химически стойким подслоем.

При действии агрессивных сред, в особенности, кислот, органических солей, битумно-полимерные материалы не обладают химической стойкостью.

В таких условиях «Элон-Супер», и «Кровлелон Е» являются одними из немногих гидроизоляционных материалов, способных выдержать такие воздействия.

Так, например, «Элон-Супер»», основой которого является этилен-пропиленовый каучук, по своим свойствам близок к химически стойким резинам, которыми защищают железнодорожные цистерны с соляной кислотой.

В отечественной практике вплоть до настоящего времени основным химически стойким материалом в полах используется полиизобутилен типа «ПСГ» толщиной 2,5 мм. Такая толщина оправдыват себя весьма редко, в основном при защите наливного оборудования с концентрированными кислотами. Однако более тонких полиизобутиленовых листов «ПСГ» наша промышленность пока не изготавливает.

Представленные материалы не уступают полиизобутилену по химстойкости, но значительно технологичнее и дешевле, причем «Кровлелон Е» обладает кроме прочего еще и стойкостью к растворителям. В таблице 11 приведена химическая стойкость «Элона-Супер», «Элона-Супер Н» и «Кровлелона Е».

Таблица 11

Материал

Кислоты (серная, соляная, уксусная, азотная) концентрация, %

Щелочи концентрация, %

Растворители (ацетон, уайт-спирит, спирты, нефтепродукты)

До 5

До 10

более 10

До 5

До 10

более 10

«Элон-Супер», «Элон супер-Н»

+

+

+ -

+

+

+

-

«Кровлелон Е»

+

+

+ -

+

+ -

+ -

+

Условные обозначения : (+) стоек, (+ -) относительно стоек (в зависимости от температуры и концентрации), (-) не стоек

4.3. Изоляция наливных сооружений. Химически стойкие экраны

Важной проблемой охраны окружающей среды является обеспечение герметичности подземных наливных сооружений с агрессивными и токсичными средами.

Проектирование защиты таких сооружений желательно выполнять с привлечением специализированных организаций.

Рассматриваемые в настоящих рекомендациях материалы могут использоваться для защиты металлических и железобетонных резервуаров, коллекторов, каналов, технологического оборудований.

Благодаря высоким диэлектрическим свойствам «Элон-Супер» и «Кровлелон Е» являются отличным защитным покрытием от действия блуждающих токов и почвенной коррозии. Они могут с успехом использоваться для наружной защиты стальных резервуаров и трубопроводов.

При защите наливных резервуаров в зависимости от характера среды и механических воздействий полимерные материалы могут быть применены в качестве непроницаемого подслоя с последующей футеровкой или самостоятельно как бы в виде « вкладыша».

Химически стойкие экраны используются для изоляции грунтов и грунтовых вод от инфильтрации жидких сред, образующихся под свалками, шламовыми накопителями, хранилищами промышленных отходов.

Под действием атмосферных осадков происходит растворение твердых частиц, которые при попадании в нижележащие слои могут проникать в грунтовые воды и затем в водоемы или даже в зону водозаборов питьевой воды.

Для экологической защиты подобных сооружений используются изоляционные экраны из «Кровлелона Е» со сваркой швов.

4.4. Защита гидроизоляции от механических повреждений

Защитные устройства (защита) должны выполняться после приемки гидроизоляции, подтвердившей качественное ее выполнение с составлением акта на скрытые работы.

Для устройства защитных ограждений должны применяться прочные и долговечные материалы, стойкие к механическому повреждению и химическому воздействию грунтовых вод и микроорганизмов.

В качестве защиты от механических повреждений могут применяться различные материалы в том числе, кирпич на цементно-песчаном растворе, бетонные плиты, асбестоцементные листы, полимерные материалы, геотекстиль и т.д..

Обратная засыпка выполняется по мере установки защитных слоев.

При выполнении изоляции и ее защиты на горизонтальных и наклонных поверхностях эти поверхности должны быть тщательно выровнены. В противном случае следует выполнять слой геотекстиля и выравнивающую стяжку из цементно-песчаного раствора. При этом защитный слой из цементно-песчаного раствора должен быть не менее 20-30 мм.

Пазухи между креплениями котлована и конструкцией защиты гидроизоляции, а также нижняя часть котлована с откосами должна заполняться песчаным грунтом. Засыпка в последнем случае производиться на высоту, необходимую для образования горизонтальной площадки для прохода бульдозеров или катков.

В остальной части котлована засыпку следует производить местным грунтом и слоями равной высоты (примерно 50 см), уплотняя их до проектной плотности.

Выполнение засыпки конструкций следует выполнять в срок не ранее одних суток после устройства защитного слоя гидроизоляции стен и перекрытий.

При этом запрещается применять для засыпки замерший грунт, строительный мусор, куски бетона, связной грунт и т.п.

По мере засыпки движение машин, осуществляющих разравнивание и уплотнение грунта, допускается на расстоянии не менее 0,5 м от стен конструкции.

Материалы для механической защиты гидроизоляции подземных сооружений представлены в таблице 12.

Таблица 12

МАТЕРИАЛЫ

Марка, обозначение условное, сокращенное

Номер стандарта или ТУ

Примечание

Для устройства подготовительного основания, выравнивающего и подготовительного слоя

Цементно-песчаный раствор

Класс не ниже В 7,5

 

 

Некоторые материалы для защитных стенок

Кирпич красный

 

ГОСТ 530-95

 

Кирпич керамический пустотелый

 

Определяется по проекту

 

Плиты железобетонные

Марка определяется по проекту

Определяется по проекту

 

Листы асбестоцементные плоские

Толщина 10-12мм.

ГОСТ 18124-95

 

Листы асбестоцементные волнистые

ВУ-К

ГОСТ 8423-75

 

Профилированные мембраны из полиэтилена

Дельта, Тефонд, Изостуд, Изостуд ГЕО

ТУ по проекту

Выполняют также функцию дренажа

Листы из полиэтилена

Марка определяется по проекту

ТУ 6-49-301-025-89

 

Полиэтиленовое полотно «Гидропласт»

Марка определяется по проекту

ТУ 2246-049-00203387-99

 

Геотекстиль плотностью 200-500 г/м2

Марка определяется по проекту

ТУ 341455.014-2003

ТУ 5772-017-25388761-2004

ТУ 8391-001-50099417-2001

 

Цементно-стружечные плиты

Марка определяется по проекту

ГОСТ 26816-86

 

4.5. Требования к основаниям под гидроизоляцию

Важнейшим требованием, предъявляемым к правильному проектированию и применению материалов НПО «Гидрол-Руфинг», обусловливающих долговечность мембраны, является обеспечение сухого и ровного основания.

Основанием под устройство мембран из «Элона-Супер», «Элона-Супер Н», «Кровлелона-Е», а также окрасочных мембран из мастики «Унимаст» могут служить:

- ровные без выбоин и раковин поверхности железобетонных плит без устройства по ним выравнивающих стяжек;

- ровные поверхности бетонных подготовок;

- поверхности бетонных оснований, выравнивающих стяжек из цементно-песчаного раствора (марок по прочности не ниже 150), при этом толщина стяжки должна быть не менее 40 мм, прочностью не менее 50 кгс/см2 и влажностью не более - 5%, неровности вдоль уклона должны быть не более ±5 мм и ±10 мм поперек уклона между основанием и контрольной рейкой длиной 2 м, при этом количество неровностей должны быть не более 1 на базе 1 м;

- поверхности из песчаного асфальтобетона (прочность на сжатие не ниже 8 кгс/см2 при температуре + 50 оС и влажностью не более 3 %);

- цементно-стружечных плиты толщиной не менее 10 мм влажностью не более 15%, асбестоцементные плоские листы толщиной 10 мм влажностью не более 19 %, водостойкая фанера толщиной не менее 19 мм влажностью не более 10% или антисептированная доска толщиной не менее 24 мм влажностью не более 18%;

В выравнивающей стяжке из цементно-песчаного раствора по теплоизоляции должны быть предусмотрены температурно-усадочные швы шириной 10-15 мм, разделяющие поверхность стяжки на участки не более 6*6 м. Эти швы должны располагаться над температурно-усадочными швами в слоях монолитной теплоизоляции.

Основание должно соответствовать требованиям СНиП II-26-76 «Кровли. Нормы проектирования», СНиП 3.04.01-87 «Изоляционные и отделочные покрытия. Глава 2. Изоляционные покрытия и кровли».

Основание должно быть ровным, прочным, без трещин и отслоений, сухим, очищенным от мусора и обеспыленным. Стены из кирпича или блоков должны быть оштукатурены цементно-песчаным раствором марки не ниже 50. Неровности - не более ±10 мм, не более одной на 1 м длины.

Основание в местах примыканий к стенам, шахтам, трубам большого диаметра и другим выступающим конструктивным элементам выполняются:

в виде переходных бортиков высотой не менее 100 мм с уклоном 45°;

посредством вкладывания в угол овального или круглого эластичного профиля диаметром не менее 40 мм («Вилатерм», «Пороизол», «Гернит»), деформирующегося под нагрузкой и восстанавливающего первоначальную форму после снятия нагрузки.

Недопустимо приплавление «Кровлелона-Е» на свеженанесенный неокисленный и окисленный битум различных марок, а также рулонные кровельные материалы на их основе. Исключение составляет наплавляемые материалы «Техноэласт», «Элабит».

Условные обозначения к рисункам 16 - 22

1

Стена

19

Стена из бетонных блоков

2

Пол на грунте

20

Бетонный пол

3

Фундамент

21

Защитная цементно-песчаная стяжка слоем 20 - 30 мм

4

Отмостка из асфальта или бетона

22

Выравнивающая цементно-песчаная стяжка

5

Саморезы

23

Бетонная или железобетонная подготовка;

6

Жгут из «Велотерма»

24

Теплоизоляция по расчету "Пеноплекс" экструдированный

7

Герметик

25

Защитная кладка из красного кирпича

8

Стяжка по уклону из морозостойкого раствора

26

Монолитная стена подвала

9

Козырек из кровельной оцинкованной стали

27

Бетонное днище подвала

10

Горизонтальная однослойная гидроизоляция из «Кровлелона Е»; «Элона-Супер»; «Элон-Супер Н»

28

"Техноэласт"

11

Уплотненный щебень с песком

29

"Элабит"

12

Резиновая гидрошпонка

30

Краевая герметизация "Раберфлекс" и др

13

«Геотекстиль»

31

Плита перекрытия

14

Дополнительный слой гидроизоляции

32

Химически стойкое покрытие пола

15

«Кровлелон Е»

33

Ограждение

16

«Элон-Супер»

34

Химически стойкая эластичная мастика

17

«Элон-Супер Н»

35

Компенсатор из оцинкованной или нержавеющей стали

18

Защитная стенка из цементностружечных плит

36

Уплотненный щебень с проливкой битумом

5. КРОВЕЛЬНЫЕ И ГИДРОИЗОЛЯЦИОННЫЕ РАБОТЫ

5.1. Подготовка к работе

Подготовительные работы, проводимые перед устройством кровельных и гидроизоляционных мембран из полимерных материалов НПО «Гидрол-Руфинг», как при новом строительстве, так и при ремонте имеют сходные этапы, включающие:

- изучение проектной документации, при необходимости замена морально устаревших материалов на материалы НПО «Гидрол-Руфинг»;

- при ремонте проведение дополнительного обследования ремонтируемого объекта, поиск мест протечек и/или выпадения конденсата, фотографирование;

- выбор и принятие решений по устройству окрасочных слоев мастик «Унимает» или новых мембран из «Элона-Супер», «Элона-Супер Н», «Кровлелона Е»;

- при устройстве кровель: расчет вентиляционной системы с аэраторами;

- при устройстве гидроизоляции фундаментов: размещение мембраны снаружи или изнутри помещения в сочетании с устройством подпорной стены или дополнительным утеплением стен для предотвращения образования конденсата;

- окончательное выполнение и приемку всех предыдущих строительно-монтажных работ на изолируемых объектах и участках;

- при ремонте гидроизоляции: отрытие котлована по периметру здания; ремонт дренажа, ликвидацию протечек с последующим осушением стен изолируемых помещений известными способами [4] и пр.;

- подготовку инвентаря: инструментов, подъемных и транспортных механизмов;

- проверку сертификатов на материалы; при необходимости - проверку качества на соответствие требованиям технических условий в испытательной лаборатории;

- подготовку оснований из железобетонных плит, замоноличевание швов между сборными железобетонными плитами, установку и закрепление пропусков труб через ограждения, устройство арматурных выходов, деформационных швов и пр.;

- выравнивание или ремонт стяжек с устройством уклонов для стоков влаги, в том числе заделку цементным раствором раковин, трещин, неровностей, оштукатуривание примыканий, устройство в сопряжениях переходных наклонных бортиков под углом 45° и высотой не менее 100 мм, либо укладку полых жгутов диаметром 45 - 50 мм из пенополиэтилена;

- огрунтовку мастикой «Унимаcт П» или праймером из мастики «Унимает У» (разбавленной бензином в соотношении 1:3 при расходе 250 - 300 г/кв. м) всех поверхностей оснований из железобетона, стяжек из цементно-песчаного раствора согласно СНиП II-26-76;

- обработку мастикой «Унимаcт П» или праймером, приготовленным из мастики «Унимаст У» всех элементов (листов, плит) сборной стяжки (например, из цементно-стружечных плит - ЦСП) со всех сторон до укладки;

- монтаж утеплителя и сборных стяжек;

- окончательное удаление влаги с подготавливаемых оснований с помощью сушильных установок, принудительной вентиляции и др.;

- уборку рабочих площадок от накопившихся остатков материалов в конце каждой рабочей смены;

- оформление актов на скрытые работы.

5.2. Работа с мастиками «Унимаcт»

Работы с применением- мастик «Унимает» выполняют при температуре окружающего воздуха не ниже минус 20°С при отсутствии атмосферных осадков по сухой, без наледи и снега, выровненной поверхности.

Мастики «Унимаcт» при температуре ниже 0°С загустевают, при этом их нанесение тонким слоем затруднено. Поэтому перед работой в условиях отрицательных температур тару с мастикой помещают в отапливаемое помещение с температурой выше 12°С на 8 часов, либо подогревают на водяной бане при температуре не более 50°С. При этом нагреватель не должен создавать открытого пламени.

После длительного хранения мастики могут загустеть. Их можно разбавлять бензином, нефрасом, уайтспиритом в количестве 0,2 - 0,5 литра растворителя на 1 литр готовой мастики.

Если изолируемая поверхность не огрунтована, то на нее наносят кистью или валиком мастику «Унимаcт П» или грунтовку (праймер) из разбавленной бензином мастики «Унимаcт У» (в соотношении 1:3). Время высыхания грунтовки примерно 30 минут «на отлип». Расход мастики «Унимаcт П» или праймера примерно 250 - 300 г на кв. м.

После высыхания грунтовки на изолируемую поверхность наносят три и более слоев мастики с выдержкой каждого слоя «на отлип». Послойный расход мастики при этом составляет 500 - 600 г на кв. м.

Высохшую пленку из мастики, подлежащую засыпке землей, закрывают защитным экраном.

5.3. Работа с «Элоном-Супер»

Устройство гидроизоляционных мембран включает прикрепление развернутых полотнищ «Элона-Супер» к основанию и соединение нахлесток.

Работы с применением «Элона-Супер», мастики «Унимаcт У» и ленты «ДЛЛ-Элон» выполняют при температуре окружающего воздуха не ниже минус 20°С, при отсутствии атмосферных осадков по сухому, без наледей и снега, основанию. При низких температурах рулоны «Элона-Супер» и емкости с мастикой «Унимаcт У» перед укладкой выдерживают в теплом помещении не менее 8 часов при температуре выше 18°С. Затем рулоны раскатывают и выдерживают в таком состоянии не менее 2 часов при той же температуре для релаксации внутренних напряжений.

Горизонтальные мембраны под утеплитель прикрепляют к основанию сплошной приклейкой мастикой «Унимаcт У».

Вертикальные мембраны прикрепляют к основанию сплошной приклейкой мастикой «Унимаcт У» и/или механически - с помощью реек.

Все вертикальные мембраны по верхнему периметру должны быть механически прикреплены к основанию с помощью реек.

Нахлестки гидроизоляционных мембран из полотен «Элона-Супер» должны быть склеены мастикой «Унимаcт У» или двусторонней липкой лентой «ДЛЛ-Элон».

Тыловая сторона полотен «Элона-Супер» должна быть предварительно огрунтована мастикой «Унимаcт П» или праймером из мастики «Унимаcт У», разбавленной растворителем в соотношении 1:3. Время высыхания грунтовки варьируется от 15 до 60 минут в зависимости от температуры и влажности окружающего воздуха. Расход праймера примерно 250 - 300 г на кв. м.

«Элон-Супер» наклеивают с нахлестками кромок полотен в направлении раскатки рулона не менее 120 мм, и в поперечном направлении - не менее 70 мм. При этом следят, чтобы смещения полотен образовывали трехкратные наложения в виде буквы «Т» и не образовывали четырехкратные - в виде креста.

При устройстве мембран на предварительно огрунтованное основание кистью или малярным валиком наносят слой мастики «Унимаcт» с расходом примерно 700 - 800 г на кв. м. перед разворачиваемым рулоном «Элона-Супер». Здесь, при устройстве горизонтальной мембраны рулон должен быть предварительно развернут, сориентирован в нужном направлении, а потом снова свернут.

При устройстве традиционного покрытия приклейку «Элона-Супер» ведут клеточно-полосовым методом. В продольном направлении приклеивание ведет тремя полосами шириной 100 - 150 мм каждая (две полосы по краям полотна, одна пл середине). В поперечном направлении полосы наносят таким образом, чтобы при пересечении с продольными полосами получались замкнутые квадраты.

При устройстве вертикальной мембраны рулон должен быть развернут, надлежащим образом сориентирован и прикреплен верхней частью полотна к стене с помощью рейки. Полотно клеят к стене, отгибая нижнюю часть (так же, как клеят обои). Следующее ниже расположенное полотно закрепляют на стене с помощью рейки также. При этом в нахлестке учитывают ширину рейки плюс 120 мм.

В процессе приклейки, для вытеснения попавшего под мембрану воздуха, горизонтальные полотна «Элона-Супер» прикатывают катком массой 50 - 70 кг с мягкой обкладкой. Вертикальные полотна прикатывают более легкими валиками с ручным нажимом. Особое внимание обращают на края полотен в местах нахлесток. Следят, чтобы там не было складок. Если они все же образуются, то их разъединяют (а при необходимости рассекают) и заново переклеивают.

Для усиления швов места нахлесток «Элона-Супер» дополнительно оклеивают стеклотканью шириной 80 - 100 мм, при этом край стеклоткани, находящийся на нижнем полотнище, должен быть расположен на расстоянии 40 - 50 мм от края верхнего полотна.

После высыхания с проверкой «на отлип» на стеклоткань последовательно наносят четыре слоя мастики с выдержкой для высыхания каждого слоя от 15 до 60 минут в зависимости от температуры и влажности окружающего воздуха. Здесь общий расход мастики составляет примерно 350 -450 г, на 1 пог. м. стыка.

* * *

При устройстве горизонтальной мембраны с использованием ленты «ДЛЛ-Элон» рулон подлежащего приклейке полотна «Элона-Супер» разворачивают и накладывают на приклеенное полотно. Его ориентируют в продольном направлении с учетом нахлестки и складывают пополам в том же продольном направлении, отгибая сторону, обращенную к приклеенному полотну. Далее на кромку приклеенного полотна, там, где должна быть нахлестка, из разворачиваемого рулончика, накладывают ленту «ДЛЛ-Элон» без снятия антиадгезионной бумаги. Примерно посередине, сложенного полотна на прямоугольном участке основания шириной от продольной складки до раскатанной ленты «ДЛЛ-Элон» и длиной 1 - 2 м (вдоль сложенного полотна) наносят клеящий слой мастики «Унимаcт У». Далее, верхнюю половину свободнолежащего полотна двигают по основанию в поперечном направлении оси полотна. При этом движении полотно накладывается на смазанный мастикой участок, оборачиваясь вокруг оси перемещающейся складки. После наложения полотно разглаживают валками, расправляя складки и выдавливая из-под полотна, захваченный воздух. Далее, с верхней части, заложенной в нахлестке ленты «ДЛЛ-Элон» снимают антиадгезионную бумагу. Затем нахлестку тщательно прикатывают специальным маленьким ручным обрезиненным роликом, выдавливая из-под полотна «Элона-Супер» воздух и разглаживая морщины. Дальнейшую приклейку «Элона-Супер» и формирование нахлестки ведут сначала в направлении к одному концу полотна, а затем к другому. Другую, не приклеенную половину полотна «Элона-Супер» отгибают; и приклеивают к основанию аналогичным способом.

По сравнению с устройством мембраны с приклейкой к основанию «Элона-Супер» при использовании только лишь мастики «Унимаcт У», при комбинированной приклейке мастикой «Унимаcт У» с использованием двухсторонней липкой ленты «ДЛЛ-Элон» повышается производительность и культура труда рабочих. При этом за счет черного цвета ленты и небольшого выхода ее материала за пределы нахлестки они получаются с более эстетичным внешним видом.

При устройстве вертикальной мембраны с использованием ленты «ДЛЛ-Элон», на кромку приклеенного полотна там, где должна быть нахлестка, кладут из разворачиваемого рулончика ленту «ДЛЛ-Элон» без снятия антиадгезионной бумаги. Приклеиваемый рулон «Элона-Супер» должен быть развернут, надлежащим образом сориентирован и прикреплен в верхней части полотна к стене с помощью рейки. Антиадгезионную бумагу снимают, полотно клеят к стене с отгибанием нижней части. Место склейки приглаживают валиком.

5.4. Работа с «Элоном-Супер Н»

Работа с «Элоном-Супер-Н» аналогична работе с любым битум-полимерным наплавляемым материалом [16, 44].

5.5. Работа с «Кровлелоном-Е»

Устройство гидроизоляционных мембран из «Кровлелона-Е» ведут при температурах окружающего воздуха не ниже 20°С. Не допускается работа в дождь или при высокой влажности воздуха, обусловливающей образование капельного конденсата на поверхности материала.

Поверхности «Кровлелона-Е», подлежащие термосварке, должны быть сухими.

На горизонтальную плоскость основания мембраны из «Кровлелона-Е» обычно кладут свободно, т.е. без прикрепления или с прикреплением с помощью крепежных изделий, размещаемых в нахлестках. При этом само основание должно быть предварительно высушено и очищено от пыли и мусора.

Укладку «Кровлелона-Е», на горизонтальной плоскости выполняют в следующем порядке. Раскатывают несколько рулонов «Кровлелона-Е». Дают ему отлежаться не менее 30 мин. Примеряют полотнища так, чтобы вышележащее по уклону полотно покрывало нижележащее. Уточняют размеры нахлесток (70 мм вдоль и 160 мм поперек полотна), не допуская крестообразных наложений. Выполняют механические крепления, затем, сварные соединения полотен автоматическим или ручным сварочным оборудованием. Через 30 мин после окончания работы проверяют качество сварных швов шлицевой отверткой.

К вертикальной плоскости мембрану из «Кровлелона-Е» прикрепляют механическими крепежными элементами или приклеивают в соответствии с проектом производства работ (ПНР), фирменными инструкциями или иными рекомендациями [39].

5.6. Работа с «Кровлелоном - Е» по технологии НПО «Гидрол-Руфинг»

Названная технология была разработана в НПО «Гидрол-Руфинг» после того как были проведены лабораторные эксперименты, свидетельствующие о том, что битум-полимерные композиции на основе SBS обладают достаточно прочным адгезионным контактом с ПВХ в течение длительного времени.

Технология устройства горизонтальных мембран из битум-полимерных подкладочных материалов методом наплавления известна и изложена в соответствующей технической литературе [12, 16, 50].

Технология приплавления «Кровлелона-Е» на горизонтальной плоскости аналогична технологии горячего наплавления битум-полимерных подкладочных материалов.

Рулоны «Кровлелона-Е» раскатывают и ориентируют, таким образом, чтобы нахлестки полотен «Кровлелона-Е» имели размеры в продольном направлении 70 мм, в поперечном 160 мм, а также и так чтобы вышележащее по уклону полотно покрывало в нахлестке нижележащее. Кроме того, нахлестки «Кровлелона-Е» не должны совпадать с нахлестками битум полимерного слоя.

Особенность процесса приплавления состоит в том, что пламенную струю газовой горелки направляют на битум-полимерный слой. Горелкой действуют таким образом, чтобы расплавить небольшую «захватку» непосредственно перед раскатываемым рулоном «Кровлелона-Е» в продольном направлении, равную примерно 1 м и, примерно 1,6 м, в поперечном направлении, т.е. шириной немного больше ширины рулона. Это делается с тем, чтобы «Кровлелон-Е» был подвержен нагреву в минимальной степени.

Далее на горячую «захватку», из раскатываемого рулона, налагают полотно «Кровлелона-Е». Место наложения разглаживают, расправляя, образовавшиеся складки от центра наложения к периферии, вытесняя попавшие газовые включения.

По окончании приплавления свободные, нахлестки полотен «Кровлелона-Е» сваривают ручными или полуавтоматическими тепловоздушными фенами. Получается сплошная мембрана ПВХ.

Технология устройства вертикальных битум-полимерных и полимерных мембран сложнее горизонтальных. Желательно, чтобы она была предварительно экспериментально проработана и обязательно отражена в проекте производства работ для каждого объекта.

Устройство мембраны может вестись различными способами: снизу вверх или сверху вниз; с присыпанием землей или без присыпания; снаружи, или изнутри заглубленной стены подземного сооружения. При этом может возникнуть необходимость в сооружении лесов.

При устройстве вертикальных мембран, рулон битум-полимерного или полимерного материала разрезают на короткие полотнища длиной около 1,5 -2,5 м. Затем их сворачивают вновь в маленькие рулоны. Эти рулоны доставляют к месту приклейки, надлежащим образом ориентируют с учетом нахлесток и прикрепляют верхней частью полотна к стене с помощью рейки.

Затем начинают приклеивание. Работу ведут два человека, стоящие по обе стороны полотнища. Они слегка отгибают его от стены руками (примерно так, как это делают во время приклейки обоев). В промежутке между стеной и полотнищем, один из рабочих осторожно воздействует на него пламенем горелки.

Расплавление, обращенной к основанию стороне полотнища ведут «захватками» высотой 0,5 - 0,7 м и шириной равной ширине полотна. Затем горячее полотнище накладывают на основание, разглаживая, образовавшиеся складки от центра наложения к периферии, вытесняя попавшие под него газовые включения.

Представляет удобство способ, при котором развернутое полотнище длиной 1,5 - 2,0 м примерно посередине ее высоты прижимают к стене ребром жесткого листового, желательно негорючего материала; поставленного с небольшим наклоном противоположным ребром на устойчивую поверхность подмостей. Верхнюю половину полотнища перегибают через верхнее ребро листа и пламенем газовой горелки расплавляют «захватку» высотой 0,5 - 0,7 м на тыловой стороне наплавляемого материала, обращенной к рабочему. Затем горячее полотно накладывают на основание, разглаживая, образовавшиеся складки от центра наложения к периферии, вытесняя попавшие газовые включения из-под полотна. При этом полотнище прочно приклеивается к основанию. После этого листовой материал отставляют в сторону и начинают постепенную приклейку наплавляемого материала «захватками», действуя сначало снизу вверх, потом сверху вниз. Завершают приклейку полотнища -проплавлением нахлесток. Для этого кромку налагаемого полотнища, отгибают легким металлическим крюком с удлиненной рукояткой; после чего расплавленную часть накладывают на предыдущее полотнище и разглаживают нахлестку. При данном способе рабочие экономят физические силы, а прикрепление рейкой промежуточных по высоте полотнищ к стене не требуется.

Во время приплавления «Кровлелона-Е» расплавляют «захватку» на битум-полимерном слое, налагают на него «Кровлелон-Е» и разглаживают,

образующиеся складки от центра наложения к периферии, вытесняя попавшие газовые включения из-под полимерного полотнища.

По окончании приплавления свободные нахлестки полотен «Кровлелона-Е» заваривают ручными тешювоздушными фенами. Получается сплошная ПВХ мембрана.

Недопустимо приплавление «Кровлелона-Е» к поверхностям, покрытым неокисленным или окисленным битумам различных марок, а также к кровельным материалам на их основе. Исключение составляет битумно-полимерный наплавляемые материалы «Техноэласт» или «Элабит».

Через 30 мин после окончания работы проверяют качество сварных швов шлицевой отверткой. Качество покрытия, т.е. наличие пустот, проверяют легким простукиванием деревянным предметом.

5.7. Оборудование и инструменты

Во время проведения кровельных и гидроизоляционных работ с полимерными материалами применяют следующее оборудование.

Растворонасос диафрагменный СО-69. Производительность - 1 м3/ч. Габаритные размеры: 875×460×650 мм. Масса 20 кг. Применяется для устройства выравнивающего и защитного слоев.

Машина штукатурно-затирочная СО-66А. Производительность - 50 м2/ч. Масса - 2,7 кг. Применяется для устройства подготовительных слоев.

Пистолет-краскораспылитель СО-72. Производительность - 600 м2/ч. Масса - 1,3 кг. Применяется для огрунтовки изолируемой поверхности битумным праймером.

Бак красконагнетательный СО-12А. Емкость - 20 л. Масса - 20 кг. Используется для огрунтовки изолируемой поверхности битумным праймером.

Компрессор СО-7А. Производительность -, м3/ч 28-30. Мощность - 4 кВт. Масса - 140 кг. Применяется для очистки и нанесения грунтовки на основания.

Установка для наклейки гидроизоляции методом наплавления на горизонтальные поверхности ГУ. Габариты - 1220×815×650 мм. Скорость наклейки - 5 м/мин. Масса - 50 кг. Предназначена для наклейки гидроизоляции способом наплавления на горизонтальные поверхности.

Установка для наклейки гидроизоляции методом оплавления на цельносекционную обделку КГО-1 или Ташметростроя. Предназначена для безмастичной наклейки гидроизоляции на цельносекционную обделку.

Устройство для гидроизоляции вертикальных поверхностей УГВ-1. Производительность - 87 м2/ч. Габариты - 4400×2900×5500 мм. Масса - 2600 кг. Предназначена для наклейки рулонных материалов способом наплавления на стены тоннелей.

Горелка воздушнопропановая ГВ-1. Производительность -, 60-90 м2/ч. Масса -1,5 кг. Предназначена для выполнения наплавяемых работ.

Горелка газовоздушная пропановая нагревательная ГВПН ТУ СД.0569. Производительность - 60 м2/ч. Масса - 1,5 кг. Предназначена для выполнения наплавяемых работ.

Горелка воздушно-пропановая линейная ГВПЛ РЧ ВНИИавтогенмаш. Производительность - 220-240 м2/ч. Масса - 11 кг. Производительность - 60 м /ч; масса - 1,5 кг. Предназначена для выполнения наплавяемых работ.

Баллоны стальные емкостью 50 л для сжиженных газов ГОСТ 15860-70.

Контейнер-тележка с баллонами пропана. Используется для перевозки баллонов с пропаном.

Регулятор давления ДПП-1-65 (ПВО-5 ГОСТ 6268-78). Рабочее давление - 0,01-0,3 МПа. Масса - 2 кг. Предназначен для понижения давления пропана с 1,6 МПа до рабочего - 0,1-0,15 МПа.

Лебедка ручная с траверсой ТК2-01. Грузоподъемность - 200 кг. Масса - 50 кг. Применяется для подъема - опускания и наклейки рулонных материалов на стены.

Машина для очистки и перемотки рулонных материалов СО-98. Производительность - 600 м2/ч. Масса - 250 кг. Предназначена для перемотки рулонных материалов..

Рукав Б. ГОСТ 18698-79. Ø 9 мм (3/8). Предназначен для подачи пропана от баллона к горелке.

Водосборочная машина СО 222. Масса - 15 кг. Предназначена для сбора воды.

Пылесос «Karcher NT» - 420*420*525 мм. Используется для сбора воды.

Кран крышевой К-1. Грузоподъемность - 300 кг. Предназначен для подъема- опускания материалов.

Кран крышевой КБК-2. Грузоподъемность - 250 кг. Предназначен для подъема- опускания материалов.

Ручная сварочная машина (тепловоздушный фен) "LEISTER". Предназначена для сварки нахлесток термопластичных материалов.

Автоматическая сварочная машина "LEISTER". Предназначена для сварки нахлесток термопластичных материалов.

Валик линолиумный. Масса - 2 кг. Используется для прикатай рулонных материалов.

Силиконизированный или тефлоновый прикаточный ролик. Предназначен для соединения термопластичных рулонных материалов прикатыванием свариваемых полотнищ в нахлестке.

Каток с мягкой обкладкой. Масса - 50÷70 кг. Используется для выравнивания складок и выдавливания воздушных включений во время прикатывания приклеиваемых рулонных материалов.

Кисти КР-50, КР-40. Используются для нанесения мастики.

Молоток стальной НПЛ, НПС. ГОСТ 11-042-72. Используется в сопутствующих работах.

Шлицевая отвертка. Применяется во время контроля качества швов «Кровлелона Е».

Рулетка металлическая РС-20 ГОСТ 7502-80. Длина 20 м. Предназначена для проведения измерений.

Двухметровая рейка. Используется для измерения отклонений поверхности оснований под кровлю или гидроизоляцию на горизонтальных или вертикальных поверхностях.

Металлическая линейка по ГОСТ 427-75. Используется для измерения нахлесток полотнищ рулонных материалов.

Лупа типа «Мир». Используется для оценки качества поверхности кровли и гидроизоляции, для определения наличия пузырей, вздутий, воздушных мешков, разрывов, вмятин, проколов, губчатого строения, потеков, наплывов, трещин и др..

Дистанционный портативный пирометр «RAYTEK MiniTemp MT6». Диапазон измеряемых температур от - 30 °С до 500 °С. Дистанции измерений - до 10 м. Масса 200 г. Предназначен для дистанционного измерения температур.

5.8. Работа со сварочным оборудованием

Кровельные и гидроизоляционные мембраны из «Кровлелона-Е» сваривают потоком горячего воздуха, создаваемым электровоздушным феном. Производить сварку полотен открытым пламенем запрещается. Допускается применять только специальное автоматическое или ручное сварочное оборудование, предназначенное для сварки термопластичных мембран ПВХ, ХСПЭ, ТПО и др.. Ширина сварного шва, выполняемого в нахлестке, должна быть не менее 40 мм. Автоматическое оборудование применяют для сварки стыков на основном поле кровли или гидроизоляции, а также на удобных наклонных и вертикальных плоскостях относительно большой протяженности. Рекомендуемые модели автоматического оборудования: "LEISTER", "VARIMAT", "LEISTER X84", "CADILLAC 2010". Ручное оборудование применяют для устройства стыков мембран на участках, не доступных для применения автоматического оборудования: в зонах примыканий, в местах перехода горизонтальных участков мембраны в вертикальные, на криволинейных участках. Рекомендуемые модели: "LEISTER", "TRIAC 1A HAND WELDER", "TRIAC DRIVE", "HOT JET", "CADILLAC 2000 HAND WELDER".

К основным параметрам теплового соединения полотен термопластичного материала «Кровлелон-Е» относятся:

- температура расплавления в месте контакта соединяемых полотен полотен (от 160 °С до 180 °С);

- усилие прижатия полотен друг к другу.

Усилие прижатия полотен друг к другу во время ручной сварки создают специальным силиконизированным или тефлоновым прикаточным роликом. Величину усилия определяют во время пробной сварки, в зависимости от температуры и влажности окружающего воздуха, наличия ветра и вида основания.

Усилие прижатия полотен друг к другу во время автоматической сварки создается весом аппарата, передающимся на колеса, которые одновременно являются прикаточными роликами с силиконизированным или тефлоновым покрытием.

Перед началом работы ручной или автоматический сварочный аппарат прогревают в течение 5 минут в режиме рабочей температуры.

Ручную сварку ведут двумя руками. В правой руке держат прикаточный ролик, а в левой - тепловоздушный фен. Тепловую струю из шлицевой насадки тепловоздушного фена шириной 40 мм направляют между полотен внутрь нахлестки. Место контакта, где происходит расплавление ПВХ, прикатывают валиком. При этом правая рука совершает возвратно-поступательные движения. Сварной шов выполняют за два прохода. За первый проход выполняют предварительный шов, фиксирующий полотна мембраны друг относительно друга. За второй проход выполняют основной шов с минимальной шириной 40 мм, при этом следят, чтобы край шлицевой насадки сопла выступал на 4 - 5 мм из под края накладываемого полотна. При этом прикаточный ролик ведут параллельно кромке шлицевой насадки, с отступом 5 - 7 мм, совершая им возвратно-поступательные движения под некоторым (удобным) углом к направлению движения.

При автоматической сварке следят за тем, чтобы край сопла был отрегулирован на 70 - 85 мм от места касания подвижного ролика аппарата поверхности нижнего свариваемого полотнища, при этом обод ролика должен выходить за кромку верхнего полотнища на 1 - 2 мм.

Ручную сварку за два прохода ведут при выполнении любых деталей мембран из «Кровлелона-Е». Оптимальный нагрев воздушной струи аппарата 400 - 500 °С при температуре окружающего воздуха 15 - 20 °С соответствует отметкам 6 - 6,5 шкалы потенциометра аппарата [13].

При автоматической сварке оптимальный режим работы аппарата подбирают путем пробной сварки двух кусков «Кровлелона-Е» с последующим разрывом руками.

Качественный шов характеризуется:

- шириной не менее 40 мм;

- обнажением армирующего слоя одного из сваренных кусков по всей ширине шва при разрыве руками;

- равномерностью сварки по всей длине пробного шва;

- отсутствием складок на всем протяжении шва;

- отсутствием признаков перегрева (потемнение).

Некачественный шов получается вследствие:

- неправильного подбора скорости движения аппарата и температуры сварки;

- неправильного выбора насадки сопла аппарата;

- неправильного подбора усилия прикатки шва;

- наличия влаги и загрязнений на свариваемых поверхностях;

- неровности основания и др.

Оптимальные параметры автоматической сварки при температуре 15-20 °С и влажности 40 - 60 % окружающего воздуха:

- температура воздушного потока 400 - 500 °С;

- скорость перемещения аппарата 2,0-3,0 м/мин.

Качество сварного шва проверяют не ранее, чем через 30 минут после окончания его выполнения. Ищут морщины, складки, пустоты, «прожоги» и др. Сплошность проверяют острием шлицевой отвертки, проведением им вдоль шва, с легким надавливанием на место соединения полотен. Найденные дефекты помечают фломастером.

При обнаружении дефектов мембраны и швов (дыр, порезов, складок, мест несплошности швов и др.) производят их ремонт наложением заплат нужного размера из материала той же мембраны. Размеры заплат должны не менее чем на 100 мм в любом направлении быть больше площади обнаруженного дефекта. При этом сами заплаты должны быть вырезаны с закругленными углами радиусом не менее 40 мм.

Приваривание заплаты ведут от «центра» к «периферии».

После окончания работы, а также при замене или очистке насадок, для охлаждения всех деталей аппарата необходимо в течение 5 минут держать его с включенным вентилятором при выключенном нагревательном элементе.

Условные обозначения:

1 - ручной сварочный аппарат (фен);

2 - шлицевая насадка;

3 - прикаточный ролик

Рис. 23 Сварка «Кровлелона Е»

6. КОНТРОЛЬ КАЧЕСТВА РАБОТ

Руководство работами по устройству кровель и гидроизоляции с применением материалов НПО «Гидрол-Руфинг» должно осуществляться инженерно-техническими работниками, освоимшими технологию применения материалов: «Элона-Супер», мастики «УниМаст», двусторонней липкой ленты «ДЛЛ-Элон», «Элона-Супер Н», "Кровлелона-Е» а также наплавляемых битум-полимерных материалов "Техноэласт», «Элабит» и др..

Производственный контроль подразделяют на входной, операционный (технологический), инспекционный и приемочный.

Входной контроль. При входном контроле проверяют наличие технических паспортов и сертификатов на каждую партию поступающих материалов. При необходимости качество материалов проверяют в испытательной лаборатории.

Входной контроль возлагают на инженерно-технический персонал строительной организации, строительной лаборатории или специальной службы. Место выполнения - приобъектные базы или непосредственно - строительные участки. Входной контроль на участке возлагают, как правило, на начальника участка (производителя работ). Результаты входного контроля заносят в журнал входного контроля.

Количество изделий и материалов, подлежащих входному контролю, должно соответствовать нормам, приведенным в технических условиях, стандартах и других документах.

Операционный (технологический) и инспекционный контроль. При операционном (технологическом) контроле проверяют соответствие выполнения основных производственных операций требованиям, установленным строительными нормами и правилами, проектом конструкции кровли или гидроизоляции, а также другими нормативными документами.

При операционном контроле подготовленной под грунтовку поверхности подлежит проверке:

- степень ее отверждения, отсутствие отслоений, раковин и трещин, сцепление выравнивающего слоя с бетоном - осмотром и простукиванием;

- ровность оснований - наложением на поверхность рейки в различных направлениях с замером линейкой просветов;

- правильность устройства закруглений внутренних и внешних углов в местах сопряжения поверхностей - наложением шаблона;

- чистота и сухость поверхности - по отсутствию мусора, просачивания воды, мокрых пятен.

Сухость поверхности контролируют пробной наклейкой в разных местах кусков рулонного материала площадью около 1 м2 с последующим их отрывом. Поверхность считается сухой, если рулонный материал нельзя оторвать без его разрыва.

По окончании проверки составляют акт приемки на скрытые работы.

При операционном контроле наклейки отдельных слоев мембраны подлежат проверке:

- непрерывность слоя и правильность соединений полотнищ в стыках, размеры нахлесток, отсутствие крестообразных наложений в нахлестках полотен и др.;

- отсутствие дефектов мембраны: воздушных и водяных пузырей, отслоений, складок, проколов, дыр, вздутий, трещин, острых перегибов, переломов, оползаний, механических повреждений, а также просачиваний воды - путем осмотра и простукивания изоляции легким деревянным молотком;

- правильность защиты концов кровли или гидроизоляции, оставленных для наращивания;

- прочность приклейки рулонного материала. Обнаруженные дефекты устраняют.

Все места взятия проб из подготовленного под гидроизоляцию элемента сооружения из готового покрытия тщательно заделывают и дополнительно перекрывают. Особого внимания требуют различные швы, стыки, сопряжения как на изолируемой поверхности, так и в мембране.

Прочность приклейки рулонного материала кровли или гидроизоляции (за исключением соединения «Кровлелона Е» с «Техноэластом» или «Элабитом») проверяют пробным отрывом у края. Приклейка считается прочной, если при отрыве произойдет разрыв материала.

После устранения всех дефектов составляют акт на скрытые работы, разрешающий выполнять последующие работы по закрытию кровли или гидроизоляции другими конструктивными элементами. Составление актов освидетельствования скрытых работ в случаях, когда последующие работы должны начинаться после длительного перерыва, следует осуществлять непосредственно перед производством последующих работ.

Результаты операционного контроля должны быть зарегистрированы в журнале производства работ.

При инспекционном контроле качество работ проверяют выборочно по усмотрению заказчика или генерального подрядчика с целью проверки эффективности ранее проведенного производственного контроля. Этот вид контроля может быть проведен на любой стадии возведения сооружения.

Результаты контроля качества, осуществляемого техническим надзором заказчика, авторским надзором, инспекционным контролем и замечания лиц, контролирующих производство и качество работ, должны быть занесены в журнал производства работ.

Приемка работ. При приемочном контроле и приемке работ проверяют соответствие выполненных работ проекту, нормативным документам постадийно - по мере их окончания на отдельных участках устройства мембраны, т.е. производится - промежуточная приемка, либо приемка законченного объекта.

Приемочный контроль при промежуточной приемке возлагают на представителя технического надзора заказчика. При разногласиях между заказчиком и генподрядчиком создают комиссию из представителей заказчика, проектировщика (авторский надзор), генерального подрядчика (руководство строительно-монтажного управления), служб геодезическо-маркшейдерской и управления качеством (при устройстве гидроизоляции), специалистов строительной лаборатории и др. специалистов.

Водонепроницаемость готовой мембраны дополнительно проверяют заливкой водой. При этом герметично закрывают водоприемные воронки, устанавливают маяки для контроля уровня воды, после чего заливают воду. Уровень воды - не менее 100 и не более 200 мм. Крупноразмерные объекты делят на участки, ограниченные деревянными бортиками или уложенными насухо кирпичами. Бортики укрывают гидроизоляционным материалом, склеенным с мембраной. Уровень воды отмечают на маяках. Продолжительность испытания один час при температуре воздуха не ниже плюс 5 оС. Убыль воды не допускается.

Приемочный контроль работ при приемке законченного объекта завершают составлением двустороннего акта, которым подрядчик сдает, и заказчик принимает объект согласно условиям договора (контракта) между ними. При этом учитывают требования СНиП 3.04.01-87 «Изоляционные и отделочные покрытия», «Кровли. Руководство по проектированию, устройству, правилам приемки и методам оценки качества» ОАО «ЦНИИПромзданий, М, 2002 г.

Генеральный подрядчик предъявляет представителю заказчика журналы работ, акты освидетельствования на скрытые работы, протоколы, исполнительную документацию, сертификаты и паспорта на примененные материалы, образцы материалов кровли или гидроизоляции для сопоставления с требованиями проекта, технических условий, норм и стандартов.

Результаты приемочного контроля и приемку работ оформляют актами установленного образца с необходимыми подписями.

7. ТРАНСПОРТИРОВКА И ХРАНЕНИЕ

«Элон-Супер»

Рулоны «Элона-Супер» должны храниться рассортированными по маркам в сухом закрытом помещении в горизонтальном положении не более, чем в пять рядов по высоте на расстоянии не менее 1 м от отопительных приборов, при этом должна быть обеспечена сохранность нижнего ряда от повреждений.

Допускается транспортирование «Элона-Супер» в контейнерах и на поддонах [22].

По согласованию с потребителем допускаются другие способы транспортирования, обеспечивающие сохранность материала.

Загрузка и перевозка рулонов «Элона-Супер» производиться в соответствии с правилами перевозки грузов, действующих на транспорте данного вида.

Мастика «Унимает»

Мастику транспортируют всеми видами транспорта в крытых транспортных средствах при соблюдении правил перевозок, действующих на транспорте данного вида.

Допускается транспортирование мастики «Унимает» при температуре не ниже минус 40°С, при этом перед использованием мастика должна быть выдержана не менее 24 часов при температуре (20 ±2°С).

Мастика должна храниться в герметически закрытой таре при температуре от минус 25 до плюс 25 °С в специальном помещении, предназначенном для хранения ЛВЖ материалов.

Лента «ДЛЛ-Элон»

Упакованную в вертикальном положении в коробки из гофрированного картона, общей массой не более 12 кг ленту «ДЛЛ-Элон» перевозят всеми видами крытого транспорта с учетом правил перевозки грузов, действующих для данного вида транспорта. При транспортировании должны быть приняты меры по исключению возможности увлажнения, загрязнения и механического повреждения ленты. При погрузочно-разгрузочных работах запрещается бросать и кантовать коробки с лентой.

Коробки с лентой хранят в закрытых сухих помещениях на расстоянии не менее чем 1,5 м от отопительных приборов не более, чем в 2 ряда по высоте.

После транспортирования или хранения ленты при температуре окружающего воздуха ниже 15°С распаковку ленты производят не ранее, чем через 24 часа после выдержки ее при температуре (23±2°С).

«Элон-Супер-Н»

Рулоны «Элона-Супер-Н» должны храниться в сухом закрытом помещении в вертикальном положении в один ряд по высоте на поддонах или без них на расстоянии не менее 1 м от отопительных приборов.

Допускается хранение поддонов с «Элоном-Супер-Н» в два ряда по высоте, при этом вес верхних поддонов должен равномерно распределяться на все рулоны нижнего ряда с помощью деревянных щитов или поддонов.

По согласованию с потребителем допускаюся другие условия хранения «Элона-Супер-Н», обеспечивающие защиту от воздействия влаги и солнца.

Транспортирование рулонов «Элона-Супер-Н» производят в крытых транспортных средствах в вертикальном положении в один ряд по высоте или в горизонтальном положении не более пяти рулонов по высоте [22].

Допускается транспортирование поддонов с «Элоном-Супер-Н» в два ряда по высоте. При этом вес верхних поддонов должен равномерно распределяться на все рулоны нижнего ряда с помощью деревянных щитов или поддонов.

По согласованию с потребителем допускаются другие способы транспортирования, обеспечивающие сохранность материала.

Загрузка и перевозка рулонов «Элона-Супер-Н» производиться в соответствии с правилами перевозки грузов, действующих на транспорте данного вида.

«Кровлелон-Е»

«Кровлелон-Е» транспортируют всеми видами транспорта в крытых транспортных средствах в соответствии с правилами перевозки грузов, действующих на каждом виде транспорта [22]. Рулоны материала укладывают горизонтально не более, чем в 6 рядов по высоте.

При транспортировании, погрузке и выгрузке «Кровлелона-Е» должны быть приняты меры, обеспечивающие его сохранность от повреждений, увлажнения и загрязнений.

При перевозке «Кровлелона-Е» транспортом потребителя за сохранность отвечает потребитель.

При температуре минус 15 оС и ниже в процессе погрузки и разгрузки рулоны не должны подвергаться ударам.

Рулоны или бобины «Кровлелона-Е» должны храниться в сухом закрытом помещении, при температуре не ниже плюс 10 С в горизонтальном положении. Рулоны - не более, чем в 5 рядов по высоте, бобины - в два ряда по высоте.

8. ТЕХНИКА БЕЗОПАСНОСТИ И ПРОИЗВОДСТВЕННАЯ САНИТАРИЯ

Во время производства работ по устройству и ремонту кровли и гидроизоляции с применением материалов НПО «Гидрол-Руфинг» необходимо выполнять:

- требования СНиП III-4-80 «Техника безопасности в строительстве»,

- «Правила техники безопасности при текущем и капитальном ремонте жилых и общественных зданий» - М., Стройиздат, 1981 г.;

- «Правила пожарной безопасности в Российской Федерации - ППБ 01-03.

К работам по устройству кровли и гидроизоляции с использованием материалов НПО «Гидрол-Руфинг» допускают лиц не моложе 18 лет, прошедших медицинский осмотр, сдавших экзамены после обучения по специальной программе и получивших удостоверения.

Запрещается допускать к работе лиц, не прошедших медицинский осмотр и не получивших разрешения на право работы с полимерными материалами на высоте, а также с хроническими заболеваниями верхних дыхательных путей, глаз, печени, желудка.

Перед работой по устройству гидроизоляции необходимо убедиться в надежности временного или постоянного крепления (обделки) котлована.

Перед началом работы проверяют состояние ограждений, лесов, лестниц. При неисправности их ремонтируют.

Запрещается производить работы в котловане при отключенной системе водопонижения.

Запрещается выполнение кровельных и гидроизоляционных работ во время ливневого дождя, грозы, при гололеде, снегопаде, густом тумане и ветре со скоростью 7,5 м/с (5 баллов) и более.

При наличии на объекте перепада высот боле 1,3 м все работающие обязаны пристегиваться предохранительными поясами к страховочным веревкам.

При перемещениях по объекту запрещается прикасаться к электрическим проводам и прочим электроустановкам во избежание поражений электрическим током.

Рабочие места при работе в закрытых помещениях должны быть снабжены приточно-вытяжной вентиляцией. Запрещается работать при неисправной вентиляции.

В зоне производства кровельных и гидроизоляционных работ запрещается проводить работы с открытым огнем и электросваркой, за исключением работ с газовыми горелками, предназначенными для работ с наплавляемыми материалами.

Растворители и мастику хранят в герметически закрытой таре в помещении, оснащенном вентиляцией.

При вскрытии металлических емкостей с мастикой пользуются омедненным инструментом.

В местах хранения рулонов «Элона-Супер», «Элона-Супер Н», мастик «Унимаст», картонных коробок с лентой «ДЛЛ-Элон», порожней тары из-под мастики, растворителей, рулонов битумно-полимерных материалов и других сопутствующих материалов, а также в зоне производства работ с вышеуказанными материалами, ЗАПРЕЩАЕТСЯ КУРИТЬ, использовать открытый огонь, производить электросварочные и другие работы, при которых возможно образование искр, пламени, а также загорание материалов. Электрооборудование должно быть выполнено во взрывобезопасном исполнении.

При работе в закрытом помещении с полимерными материалами «Элон-Супер», «Элон-Супер Н» и мастиками «Унимаcт» освещение и прочее электрооборудование должно быть во взрывобезопасном исполнении.

Запрещается одновременное выполнение работ по наплавлению материалов и нанесению мастики «Унимаст».

Места производства работ должны быть снабжены средствами и инвертарем пожаротушения, а также медицинской аптечкой.

Для пожаротушения применяют: углекислотные огнетушители, песок, асбестовые одеяла.

При производстве работ соблюдают следующие санитарные правила:

- избегают прямого контакта с мастикой «Унимает», растворителями, лентой «ДЛЛ-Элон»;

- не пользуются шерстяной, шелковой и синтетической одеждой;

- не одевают украшения из металла (кольца, цепочки, браслеты);

- не принимают пищу в зоне производства работ и местах хранения материалов;

- при работе пользуются защитными очками, перчатками и предохранительными пастами для защиты лица и рук;

- для защиты органов дыхания пользуются респираторами РПГ-67А, РУ-60М с запасными фильтрами.

Во время приплавления и наплавления, работающие должны проявлять внимание, выбирать удобные и безопасные позиции с тем, чтобы пламя кровельной горелки не было случайно направлено в сторону находящегося поблизости человека.

Газовые горелки с баллонами и/или иное оборудование не допускается использовать с неисправностями, способными привести к пожару или взрыву.

При использовании оборудования для подогрева запрещается:

- отогревать замерзшие трубопроводы, вентили, редукторы и другие детали газовых установок открытым огнем или раскаленными предметами;

- пользоваться шлангами, длина которых превышает 30 м;

- перекручивать, заламывать или зажимать газопроводящие шланги;

- использовать одежду и рукавицы со следами масел, жиров, бензина, керосина и других горючих жидкостей;

- производить ремонт и другие работы на оборудовании и коммуникациях, заполненных горючими веществами;

- допускать к самостоятельной работе учеников, а также работников, не имеющих квалификационного удостоверения.

Хранение и транспортирование баллонов с газами должно осуществляться только с навинченными на их горловины предохранительными колпаками. При транспортировании баллонов нельзя допускать толчков и ударов. К месту сварочных работ баллоны должны доставляться на специальных тележках, носилках, санках. Переноска баллонов на плечах и. руках запрещается.

При обращении с порожними баллонами из-под горючих газов должны соблюдаться такие же меры безопасности, как и с наполненными баллонами.

При перерывах в работе, а также в конце рабочей смены оборудование для нагрева кровельного материала должно отключаться, шланги должны быть отсоединены и освобождены от газов и паров горючих жидкостей. По окончании работ вся аппаратура и оборудование должны быть убраны в специально отведенные места.

У мест проведения работ допускается размещать только баллоны с горючими газами непосредственно используемые при работе. Создавать запас баллонов или хранить пустые баллоны у мест проведения работ не допускается.

По окончании работ необходимо провести осмотр рабочих мест и привести их в пожаровзрывобезопасное состояние. Рабочую зону освобождают от накопившихся обрезков «Элона-Супер» или «Элона-Супер Н», порожней тары мастики «Унимаст», коробок от ленты «ДЛЛ-Элон», или же «Кровлелона Е» с сопутствующими материалами.

Инструмент и инвентарь после прекращения работ хранят в специальных металлических ящиках.

Огнетушители должны всегда содержаться в исправном состоянии, периодически осматриваться и своевременно перезаряжаться

При расстановке огнетушителей необходимо выполнять условие, что расстояние от возможного очага пожара до места размещения огнетушителя не должно превышать 20 м.

В зимнее время (при температуре ниже 1°С) огнетушители необходимо хранить в отапливаемых помещениях, на дверях которых должна быть надпись «Огнетушители».

Приложение 1

ПЕРЕЧЕНЬ НОРМАТИВНЫХ ДОКУМЕНТОВ И ЛИТЕРАТУРНЫХ ИСТОЧНИКОВ, НА КОТОРЫЕ ИМЕЮТСЯ ССЫЛКИ В ТЕКСТЕ

1 Шульженко Ю.П. К вопросу о долговечности кровель Журнал Строительные материалы, № 12, 2003 г., с. 4 - 6.

2 Шульженко Ю.П. Надежная и долговечная гидроизоляция НПО «Гидрол-Руфинг» Журнал Жилищное строительство. - № 2, 2009 г.

3 Шульженко Ю.П. Новые разработки НПК «Гидрол-Руфинг» Элон-Супер и Элон-Супер Н Журнал Строительные материалы, № 3, 2005 г., с. 28 - 29.

4 Шульженко Ю.П. Полимерные кровельные и гидроизоляционные материалы - материалы третьего тысячелетия, Журнал Стройпрофиль, № 7, 2002 г.

5 Шульженко Ю.П. Полимерные кровельные и гидроизоляционные материалы. Опыт разработки и применения в строительстве Сборник «Труды 2-ой конференции «Кровля и изоляция для строительных объектов и инженерных коммуникаций». Госстрой РФ. 12.03-15.03 2002 г., с. 57 - 60.

6 Шульженко Ю.П. Полимерные кровельные материалы Журнал Строительные материалы, № 11, 1998 г, с. 8 - 10.

7 Шульженко Ю.П. Полимерные кровельные материалы и полимерные кровли, предлагаемые НПО «Гидрол-Руфинг» Информационный бюллетень КРОВЛЯ и ИЗОЛЯЦИЯ, № 1(7), 2000 г., с. 11 - 16.

8 Шульженко Ю.П. Полимерные кровли - основные проблемы и опыт применения Журнал. Строительные материалы, № 12, 2002 г., с. 2 - 5.

9 Шульженко Ю.П. Современное состояние и перспективы развития отечественных полимерных кровель Журнал Гидроизоляция. Теплоизоляция. Кровля (ГиТеК), № 2 (6) июль 2001 г., с. 5 - 7.

10 Шульженко Ю.П., Григорьева Л.К. Полимерные кровельные и гидроизоляционные материалы. Аналитический обзор в сб. ВНИИЭСМ, серия 6 Промышленность строительных материалов, М., 1993 г. 37 с.

11 Шульженко Ю.П., Левин А.Ф. Гидроизоляция коттеджей полимерными материалами Сборник «Современные строительные материалы» Стройинформ. 2007 с. 160 -163

12 Белевич В.Б. Кровельные работы «Высшая школа», - М, 1991

13 «LEISTER» Инструкция по эксплуатации аппаратов 4R8, 4R9

14 «Правила пожарной безопасности в Российской Федерации. ППБ 01-03

15 «Правила техники безопасности при текущем и капитальном ремонте жилых и общественных зданий» - М., Стройиздат, 1981 г

16 Устройство кровли из утяжеленных наплавляемых материалов. Пособие по производству кровельных работ - М: АО «ЦНИИОМТП», ООО «ТехноНИКОЛЬ-КРОВЛЯ», 1996 г.

17 Бородин В.Н. Мягкие кровельные и гидроизоляционные материалы гл. 11 в справочнике «Строительные материалы» под ред. Болдырева А.С, Золотова П.П. - М. Стройиздат, 1985 г.

18 Вольфсон С. И др. Резиновые рулонные кровельные материалы, НИИ «Спецкаучук» КГТУ, В справочнике «Крыши и кровли» серия 3 «Застройщик», НТС «Стройинформ» НОРМА 2001 г.

19 ВСН 104-93 Нормы по проектированию и устройству гидроизоляции тоннелей метрополитенов открытым способом

20 ГОСТ 12.3.040-86 РАБОТЫ КРОВЕЛЬНЫЕ И ГИДРОИЗОЛЯЦИОННЫЕ. Требования безопасности

21 ГОСТ 2678-94 Материалы рулонные кровельные и гидроизоляционные. Методы испытаний

22 ГОСТ 30547-97 «Материалы рулонные кровельные и гидроизоляционные. Общие технические условия»

23 Дементьев В. Каков он, битум. Серия «ЗАСТРОЙЩИК» справочник. М. 2001 г. с. 213-214.

24 Еропов Л.А. Покрытия и кровли гражданских и промышленных зданий. Издательство ассоциации строительных вузов М. 2004.

25 Зельманович Я.И. Развитие кровельных рынков Китая и России Журнал Строительные материалы, № 5, 2006 г.

26 Зельманович Я.И. Рынок рулонных битуминозных материалов в России в 2001 году в Сб. Труды 2-ой конференции «Кровля и изоляция для строительных объектов и инженерных коммуникаций». Госстрой РФ. 12.03 - 15.03 2002 г., с. 53 - 54.

27 Карпов В.В., Мейтус М.Э., Цукерман Н.Я. Кровельные и гидроизоляционные работы Справочное пособие Стройиздат, - М - Л, 1961

28 Каталог материалов Рязанского картонно-рубероидного завода

29 Левин А.Ф. Долговечные полимерные кровли и гидроизоляция Журнал СТРОН, № 3, 2006 г., с. 36 - 37.

30 Левин А.Ф., Серебренникова Н.Д. Полимерные кровельные материалы и кровли НПК «Гидрол-Руфинг» Журнал Строительные материалы, № 5, 2006 г.

31 Майдалян Г.М. Фундаменты Сборник «Современные строительные материалы» Стройинформ. 2007 с. 9 - 31

32 Майоренко Н.Д. Гидроизоляция убежищ гражданской обороны Стройиздат 1977 г.

33 Москалев Ю.Г. Полимеры - будущее мягких кровельных материалов ТОО РИФ, Журнал. Строительные материалы, № 12, 1997 г. с. 8 - 10.

34 КРОВЛИ. Руководство по проектированию и устройству, правилам приемки и методам оценки качества - М: ОАО «ЦНИИПРОМЗДАНИЙ» 2002 г.

35 Пособие по обследованию строительных конструкций зданий - М: ОАО «ЦНИИПРОМЗДАНИЙ» 1997 г.

36 Рекомендации по проектированию гидроизоляции подземных частей зданий и сооружений» ред. 1998 г. М: ОАО «ЦНИИПРОМЗДАНИЙ», 2007 г.

37 Попченко С.Н. Гидроизоляция сооружений и зданий Стройиздат, - Л. 1981

38 Руководство по проектированию и устройству кровель из битумно-полимерных материалов кровельной компании «Технониколь» Москва 2003 г.

39 Руководство по проектированию и устройству кровель с применением рулонных полимерных кровельных и гидроизоляционных материалов «Элон» и «Элон-Супер» ООО «Гидрол-Руфинг» - М. 2005 г.

40 Руководство по проектированию и устройству кровель с применением рулонного полимерного кровельного и гидроизоляционного материала «Кровлелон» ООО «Гидрол-Руфинг» - М. 2005 г.

41 СН 301-65 Указания по проектированию гидроизоляции подземных частей зданий и сооружений Госстрой СССР М. 1965 г.

42 СНиП 2.03.01-84* Бетонные и железобетонные конструкции

43 СНиП 2.03.11-85 Защита строительных конструкций от коррозии

44 СНиП 23-01-99* Строительная климатология

45 СНиП 3.04.01-87 Изоляционные и отделочные покрытия

46 СНиП II-26-76 Кровли

47 СНиП II-3-79* Строительная теплотехника

48 СНиП III-4-80* Техника безопасности в строительстве

49 СО-002-02495342-2005 ОАО «ЦНИИПРОМЗДАНИЙ» Кровли зданий и сооружений. Проектирование и строительство. М. 2005 г.

50 Сокова С.Д. Системы покрытий из эластомерных материалов Ст. В сб. «Кровельные системы, материалы и технологии Серия «Застройщик» Стройинформ М. 2004 с. 131 - 170.

51 Сокова С.Д. Требования к материалам и конструкциям, находящимся в агрессивных средах Сборник «Современные строительные материалы» Стройинформ М. 2007 с. 127-152.

52 СТ СЭВ 2440-88 Защита от коррозии в строительстве. Конструкции бетонные и железобетонные. Классификация агрессивных сред

53 ТР 198-08 Технические рекомендации по устройству кровель жилых, общественных и промышленных зданий с применением рулонных битумных, битумно-полимерных и полимерных материалов ГУЛ «НИИМОССТРОЙ» М. 2008 г.

54 ТСН КР-97 МО Кровли. Технические требования и правила приемки» М, 1998 г.

55 Фаустов Г.И. Полимерная кровля не боится ни погоды, ни времени Журнал Кровельные и изоляционные материалы, № 1, 2006 г., с. 16-17.

56 Фокин К.Ф. Строительная теплотехника ограждающих частей зданий - М. «АВОК-ПРЕСС» 2006

57 Шевяков В.П., Жолудов B.C. Защита от коррозии промышленных зданий и сооружений - ТОО «Редакция газеты Архитектура» М. 1995.

58 Шилин А.А., Зайцев М.В., Золотарев И.А., Ляпидевская О.Б. Гидроизоляция подземных и заглубленных сооружений при строительстве и ремонте - Изд-во «Русская торговая марка», - Тверь 2003

59 Щербак Н.Н. Конструкции и тепловлажностный режим вентилируемых совмещенных крыш зданий. Устройство и приближенные методы расчета Журнал Кровли, № 1 (16), 2008 г., с. 132 - 142.

60 Щербак Н.Н. Конструкции и тепловлажностный режим вентилируемых совмещенных крыш зданий. Устройство и приближенные методы расчета Журнал Кровли, № 3 (17), 2008 г., с. 86 - 93.

61 Рекомендации по проектированию гидроизоляции подземных частей зданий и сооружений. Конструктивные детали гидроизоляции. - М: ОАО «ЦНИИПРОМЗДАНИЙ» 2009 г. 118 с.

Приложение 2

УТВЕРЖДАЮ:

Зам. генерального директора

ОАО "ЦНИИПромзданий"

______________С.М. Гликин

30 аперля 2003 г.

ТЕХНИЧЕСКОЕ ЗАКЛЮЧЕНИЕ

по результатам испытаний полимерного рулонного материала "кровлелон", приклеенного к битумно-полимерному наплавляемому рулонному материалу "техноэласт" при воздействии атмосферных факторов.

1. Характеристика образцов, цель и методы испытаний.

Для испытаний ООО НПК Тидрол - Руфинг" представлены образцы "техноэласта" (ТУ 5774-003-00287852-99) с приставленным верхним слоем из "кровлелона" (ТУ 95-25048396-054-93); полотнища "кровлелона" имеют нахлестку 70 мм и сварной шов шириной 50 мм. Размеры образцов 210×300 мм, сварной шов расположен в средней части образца и ориентирован вдоль длинной стороны образца.

Данный вариант образцов изготовлен ООО НПК Тидрол-Руфинг" по одному из способов выполнения кровельного ковра из "кровлелона", включающего приклеивание его к основанию под кровлю за счёт вяжущего "техноэласта" и сваривание швов (нахлёсток) горячим воздухом.

Цель испытаний заключаются в определении изменений показателя адгезии "кровлелона" к "техноэласту" в процессе воздействия атмосферных факторов, а также адгезии в месте стыка полотнищ "кровлелона". Подготовку образцов осуществило ООО "Гидрол-Руфинг" в натурных условиях при устройстве кровельного ковра

Адгезию образцов после атмосферных воздействий определяли следующим образом:

- образец прорезали по окружности отрывного элемента (металлического штампа) при помощи ножа на всю его толщину;

- с "техноэласта" удаляли защитную плёнку и методом подплавления приклеивали к нему отрывной элемент;

- с другой стороны образца с помощью эпоксидной смолы к "кровлелону" приклеивали другой отрывной элемент.

После набора эпоксидной смолой достаточной прочности, готовый образец помещали в разрывную машину; скорость перемещения подвижного захвата 25 ± 5 мм/мин.

Испытания проведены в Испытательной лаборатории кровель ОАО "ЦНИИПромзданий", аккредитованной Госстроем РФ (аттестат аккредитации № РОСС RU 9001.21СЛ13 от 24.06.2002 г.).

2. Воздействия на кровельный ковер.

Кровельный ковер подвергается длительному воздействию атмосферных факторов, к которым относятся вода, отрицательная температура, солнечная радиация, ветер. Испытания на длительные воздействия не предусмотрены в технических условиях на кровельные материалы, но эти испытания необходимы для оценки поведения материала в процессе эксплуатации в кровле. К таким испытаниям относятся: длительное водопоглощение, термостарение, циклические воздействия тепла, воды и мороза.

Испытания на длительное водопоглощение были проведены в связи с тем, что на малоуклонных кровлях (с уклоном до 1,5 %) возможно образование микрорельефа, приводящего к появлению "застойных" участков небольшой площади, которые длительное время могут находиться под споем воды, а в летний период значительно нагреваться.

При испытании на термостарение определяли изменение показателя адгезии материала при длительном воздействии повышенной температуры, что имитирует воздействия в летний период.

При испытаниях на воздействие тепла, воды и мороза определяли изменение показателя адгезии рулонного материала при циклических воздействиях атмосферных факторов в переходные периоды года: осенне-зимние и зимне-весенние.

Поскольку цель данных испытаний заключается в определении показателя адгезии "кровелелона" к "техноэласту", то, по нашему мнению, приоритетными воздействиями, влияющими на изменение этого показателя являются воздействие воды, отрицательных и положительных температур.

Были проведены следующие испытания, имитирующие воздействия атмосферных факторов:

- воздействие воды при температуре 20 °С;

- воздействие воды при температуре 80 °С;

- термостарение при температуре 80 °С;

- циклические: замораживание при минус 20 °С, оттаивание в воде при 20 °С и нагревание при 80 °С.

3. Результаты испытаний.

3.1. Воздействие воды.

Испытаниями установлено, что попадание воды в сварное соединение стыка (нахлестки) "кровлелона" мало вероятна, т.к. ни одного случая разрушения сварного шва не наблюдалось, а отрыв (разрыв) склеенных материалов происходил по материалу "техноэласта".

Следует также отметить, что варьирование исходной величины адгезии стало следствием неравномерной наклейки "кровлелона" на "техноэласт". На некоторых испытанных образцах четко видны следы не расплавленной защитной пленки на поверхности "техноэласта". В связи с этим исходные показатели адгезии колебались в интервале от 2,0 до 4,5 кгс/см2 (см. рис. 1).

Рис. 1. Изменение адгезии "кровлелона" к "техноэласту" при длительном воздействии воды при 20 °С.

При длительном воздействии "холодной" воды (в течение 60 суток) показатели адгезии практически не изменились: они находились в указанном выше интервале.

Через 7 суток действия "горячей" воды произошло увеличение (в 1,5 раза) адгезии (рис. 2), что можно объяснить, видимо, "доподплавлением" битумного вяжущего "техноэласта" и улучшением за счет этого склеивания по всей площади контакта. В дальнейшем (после 7 суток) показатель адгезии стабилизировался.

Рис. 2. Изменение адгезии "кровлелона" к "техноэласту" при длительном воздействии воды при 80 °С.

3.2. Термостарение.

При испытании на термостарение в течение первых 14 суток произошло увеличение показателя адгезии в 1,9 раза (рис. 3), что, вероятнее всего, связано с постепенным разрушением нерасплавленной при изготовлении образцов защитной пленки на поверхности "техноэласта" и, как следствие, увеличением площади контакта материалов. Такое заключение было сделано при изучении поверхности материалов после испытаний, где следы не расплавленной пленки, присутствовавшие на исходных образцах, отсутствовали.

Рис. 2. Изменение адгезии "кровлелона" к "техноэласту" при термостарении.

3.3. Циклические испытания.

Этими испытаниями установлено (рис. 4), что соединение (склеивание) материалов выдержало попеременное воздействие воды, отрицательных и положительных температур. Эти воздействия не привели к разрушению соединения: показатель адгезии был стабилен на протяжении всего периода циклических испытаний - в течение 300 циклов (около 5 лет).

Рис. 4. Изменение адгезии "кровлелона" к "техноэласту" при циклических воздействиях тепла, мороза и воды.

4. Выводы.

1. Установлена высокая надёжность сварного шва (нахлёстки) полотнищ "кровлелона'': при всех испытаниях адгезии образцов "кровлелона" к "техноэласту" разрыв происходил по "техноэласту";

2. Испытания показали стабильность показателя адгезии в течение длительного воздействия воды, мороза и тепла: 300 циклов (5 лет);

3. Поскольку "кровлелон" и его сварной шов обладают стабильностью свойств, а "технозласт", имеющий по результатам испытаний ОАО "ЦНИИПромзданий" потенциальный срок службы 20...25 лет, в процессе эксплуатации находится под "кровлелоном" и защищен от непосредственного воздействия атмосферных факторов, можно прогнозировать устойчивость сцепления "кровлелона'' с "техноэластом" также в течение 20...25 лет и потенциальный срок службы "кровлелона" не менее 25 лет.

Рук. отдела кровель

ОАО "ЦНИИПромзданий"                             А.М. Воронин

Инженер                                                         В.В. Маккавеев

Приложение 3

МОСКОВСКИЙ НАУЧНО-ИССЛЕДОВАТЕЛЬСКИЙ И ПРОЕКТНЫЙ ИНСТИТУТ ТИПОЛОГИИ, ЭКСПЕРИМЕНТАЛЬНОГО ПРОЕКТИРОВАНИЯ

Испытательная лаборатория стройматериалов и коррозии (ЛСК) Аттестат аккредитации № RU.MCC.AЛ 1.003

103031, г. Москва

Столешников пер. 15/13

тел. для справок 213-88-77

УТВЕРЖДАЮ

Зам. Директора по научной работе

______________ Максименко В.А.

«___»_______________2001 г.

ЗАКЛЮЧЕНИЕ

по испытанию кровельных рулонных материалов на водонепроницаемость.

В лаборатории стройматериалов и коррозии МНИИТЭП проводились испытания на водонепроницаемость трех видов образцов рулонной кровли, представленных ООО НПК «Гидрол-Руфинг». Испытания проводились по методике ГОСТ 2678-94 «Рулонные кровельные материалы. Методы испытаний». Были испытаны три образца:

- образец рулонного материала Элон;

- образец места склейки материалов Элон с мастикой Унимаст;

- образец места стыка из Кровлелона, выполненного методом наплавления Техноэластом.

Результаты испытаний показали, что все образцы выдерживают испытание на водонепроницаемость при давлении 0,3 Мпа в течение 24 часов.

Зав. Лабораторией

стройматериалов и коррозии                      H.Д. Серебрянникова

Приложение 4

Общество с ограниченной ответственностью

«КапиталМонтажСтрой»

Почтовый адрес: 164504, Архангельская обл.,

г. Северодвинск, ул. Юбилейная, 15, оф 24

тел/факс (881842) 2-37-53, тел. (88184) 52-19-27

ИНН 2902060072 / КПП 290201001

ОГРН1082902002391

E-mail: kms-ooo@vandex.ra

от 23.06.2009 №29

на № ______ от ________

Генеральному директору

ООО НПО «Гидрол Руфинг»

Доктору технических наук

Ю.П. Шульженко

 

Уважаемый Юрий Петрович!

Предприятие ООО «КапиталМонтажСтрой» на протяжении ряда лет успешно сотрудничает с Научно-производственной компанией «Гидрол-Руфинг». ООО «КапиталМонтажСтрой» освоил технологию устройства и ремонта мягких кровель с применением материалов «Элон», Элон-Супер», «Кровлелон» и полимерного материала «Унимает».

ООО «КапиталМонтажСтрой» принял активное участие в разработке и выполнении покрытий из вышеуказанных материалов на важнейших объектах ОАО «ПО «Севмаш». На основании разработок ОАО «ЦНИИПромзданий» нами был применен метод наклеивания материала «Кровлелон» к основанию на мастику «Унимаст». За время эксплуатации данный узел проявил себя с положительной стороны, о чем свидетельствуют отзывы специалистов ОАО «ПО «Севмаш».

Материал «Кровлелон» был нами применен при ремонте важнейших объектов в Северодвинске и Архангельске. В 2006г. произведен капитальный ремонт кровли ГОУ ДОД «Областной центр дополнительного образования», где основными требованиями были по горючести верхнего кровельного покрытия. Материал «Кровлелон-Е» (категория Г-1) этим условиям полностью отвечает.

Надеемся на дальнейшее сотрудничество и помощь Ваших специалистов во внедрении полимерных материалов на важнейших объектах области.

Директор ООО «КапиталМонтажСтрой»                         /В.А. Заволожин/

Приложение 5

Предложения по выполнению восстановительного ремонта совмещенных крыш (покрытий) с устройством их дополнительного утепления и высушиванием утеплителя, замоченного в процессе эксплуатации

Щербак Н.Н.

Дополнительное утепление крыш в соответствию! с новыми нормами по теплозащите ограждающих конструкций [12] устройство вентилируемых каналов и сборной стяжки из листовых материалов в сочетании с полимерными кровлями, например, выполняемыми НПО "Гидрол-Руфинг», а также эффективными утеплителями, в основном негорючими минераловатными изделиями, позволяет получить реальную экономию средств за счет исключения дорогостоящего демонтажа и транспортировки на свалку старого утеплителя и за счет увеличения срока службы ограждения. В роли «старого утеплителя» в наше время чаще других выступают пеногазобетоны, керамзитобетон, фибролит и другие материалы со стяжками из цементно-песчаного раствора, сильно увлажненными и изрядно поврежденными многочисленными циклами замораживаний-оттаиваний, но при условии последующего высушивания еще пригодными к эксплуатации. Кровля, представленная, как правило, несколькими кровельными коврами, более двух лет без протечек не существует и чаще всего подлежит удалению, в том числе для уменьшения нагрузки на несущие конструкции.

Результаты расчета требуемого сопротивления паропроницанию нижней части вентилируемых и невентилируемых совмещенных крыш для ряда городов России в различных климатических зонах по методике [7] приведены в таблицах 1 и 2. Анализ результатов расчета показывает, что вентиляция воздушных прослоек и каналов оказывает благотворное влияние на влажностный режим ограждения, а следовательно, и на улучшение теплозащитных свойств крыш и на срок их безотказной службы.

Приведенную ниже методику расчета и предлагаемые конструктивные решения целесообразно использовать при восстановительном ремонте совмещенных крыш с сильно увлажненным утеплителем.

Увеличение сопротивления паропроницанию слоев совмещенных крыш от потолочной поверхности до водоизоляционного ковра может быть достигнуто за счет нанесения пароизоляционных составов на нижнюю поверхность несущих железобетонных плит или герметизации снизу стыковых соединений несущих профилированных листов.

При выполнении ремонта вентилируемые каналы легче всего устроить путем раздвижки верхнего слоя плит дополнительной теплоизоляции с укладкой листов сбороной стяжки. Задача расчета влажностного режима сводится к определению воздухообмена в каналах и расчету длительности удаления имеющейся в конструкции воды в предположении, что в зимний период влага переносится в верхний слой дополнительной теплоизоляции, а в летние периоды она будет отводится в атмосферу через каналы, влагосодержание воздуха в которых на выходе будет приближаться к максимальному.

Если же канал в верхнем слое дополнительной теплоизоляции имеет выход в атмосферу или в вентилируемый наружным воздухом канал только с одного своего торца, а второй торец является «тупиковым», то в нем движение паровоздушной смеси происходит по большей части вследствие разности ее концентраций, и такое движение называется диффузией, а канал - диффузионным. При этом скорость диффузии в изотермических условиях и при малых (менее 10%) уклонах кровли по данным [1; 4] составляет приблизительно 0,01 м/с.

В летний период, особенно в солнечные дни, происходит нагрев и расширение паровоздушной среды, за счет чего скорость ее движения с учетом конвекции возрастает до 0,015 м/с. Поэтому для зимнего периода скорость диффузии пара в каналах принимается 0,01 м/с, а для летнего - 0,015 м/с. Для материалов с сообщающимися порами с малым сопротивлением паропроницанию, например, минераловатных, скорость диффузии водяного пара в нем при отсутствии конденсации может быть приблизительно принята из соотношения коэффициентов паропроницаемости воздуха, равного 0,625 мг/(м*ч*Па), и минераловатного утеплителя, например, «Руф-Батс», плотностью 160 кг/м3, равного 0,31 мг/(м*ч*Па). Отношение этих величин составляет: 0,625/0,31 ≈ 2, поэтому скорость диффузии водяного пара в минераловатном утеплителе в летний период будет v = 0,015/2 - 0,0075 м/с.

В качестве примера расчета определяем осушающую способность вентилируемых и диффузионных каналов в конструкции ремонтируемой крыши. Здание имеет размер в плане 36*144 м. Высота до вентилируемых отверстий 12 м. Выступающие над кровлей части здания отсутствуют. При ширине здания 36 м длина скатов с уклоном 1,5 % составляет 18 м. Окружающая застройка со всех сторон здания отсутствует. Ориентация продольной оси здания СВ - ЮЗ. Климатические характеристики соответствуют данным СНиП по г. Москве. Параметры внутреннего микроклимата tв = 18 °С; φ = 60 % - для зимних условий и tв = 20 °С; φ = 60 % для летних.

Натурные обследования крыши показали, что кровля не пригодна для дальнейшей эксплуатации и подлежит демонтажу, в стяжке обнаружены сквозные трещины через 3 - 7 м вдоль и поперек ската, обусловленные отсутствием компенсационных швов при ее устройстве, но, в целом она может быть отремонтирована.

Пароизоляция выполнена из одного слоя толя на дегтевой мастике. Весовая влажность пенобетона с начальной плотностью 400 кг/м3 составляет от 22 до 40% при нормативном значении 12 %, однако разрушения материала не обнаружены.

Состояние железобетонных ферм и несущих железобетонных плит вполне удовлетворительное, и нет признаков потери их несущей способности.

Предложено снять старую кровлю, из нескольких многослойных ковров, выполнить ремонт стяжки, дополнительно утеплить крышу двумя слоями минераловатных плит (γ = 160 + 180 кг/м3) с прочностью на сжатие не менее 0,45 кгс/см2 размером 0,05*0,5*1,0 м и верхний слой плит раздвинуть с образованием вентилируемых каналов шириной 100 мм через 1,1 м, длиной 36 м вдоль скатов без выходов в коньке (рис. 1), а затем, как вариант, и диффузионных каналов шириной 50 мм через 550 мм поперек скатов (рис. 2), поверх плит утеплителя уложить сборную стяжку из плит ЦСП (δ = 12 мм), предварительно праймированных со всех сторон раствором мастики «Унимаст У» в бензине или мастикой «Унимаст П», с устанокой комбинированных механических креплений и заделкой швов (рис. 3; 4; 5; 7). Кровлю выполнить из «Элона-Супер» на мастике «Унимаст У» (НПО «Гидрол-Руфинг»). Парапет решен по принципам узлов, приведенных в [3].

Средневзвешенная скорость ветра определялась по формулам [2; 8], а средняя скорость движения воздуха по каналам вдоль короткой стороны здания за летний период - по формулам [2]. Она составила 0,24 м/с. Упругость водяного пара на выходе воздуха из каналов Епр и воздухообмен определены для каждого из месяцев со средней температурой выше 0 °С и представлены в таблице 3. Максимальное влагосодержание выходящего воздуха определялось по формуле:

В2 = 2,168 *Eпр/(tпр+273)                                                                                            (1)

Количество влаги, удаляемой из толщи утеплителя с площади крыши 1 м2 через вентилируемые каналы сечением 0,05*0,1 м через 1, 1 м в осях (рис. 1), например, за июль месяц без учета воздействия солнечной радиации составляет:

q1 = [(0,05*0,l*0,24*3600*24*31*(15,6-9,6)]/(1,1*36) = 487 г/м3

Общее количество влаги, удаляемой через вентилируемые каналы, за весь сезон с положительными температурами наружного воздуха при средней за этот период скорости движения воздуха в каналах 0,24 м/с (см. табл. 3) Σq1 = 2322 г/м2, что явно недостаточно для интенсивной сушки утеплителей. Рассмотрим вариант устройства диффузионных каналов поперек скатов 0,05*0,05 м путем раздвижки верхнего слоя минераловатных плит дополнительно к вентилируемым (рис. 2). При скорости диффузии водяного пара в минераловатном утеплителе 0,0075 м/с на участке вентилируемого канала между диффузионными каналами, а всего таких участков 64 , при площади испарения 0,05*0,5*2 м, среднем значении упругости водяного пара в диффузионных каналах е≈0,8Епр и в предположении, что в них попадает только 50 % испаряющейся влаги (остальные 50 % поступают непосредственно в вентилируемые каналы), количество влаги, поступающей из диффузионных каналов в вентилируемый, например в июле, будет:

[0,64*2*0,05*0,5*0,5*0,0075*3600*24*(15,6-12,5)*0,31]/(1,1*36) = 2516 г/м2

Всего за 7 месяцев теплого периода в каждый вентилируемый канал с 1 м2 крыши может поступать 12578 г влаги. Проверяем, какое количество влаги способен удалить за тот же период вентилируемый наружным воздухом канал при условии, что на выходе из него упругость водяного пара будет не более 0,9Еmax≈0,9Епр. Так, за июль:

q1 = [(0,05*0,1*0,24*3600*24*31*0,9*15,61/(1,1*36) = 1139 г/м2

Доля влаги, поступающей в июле из диффузионных каналов: q2 = l139-487 = 652 г/м2

Всего за теплый период года с помощью вентилируемых и диффузионных каналов из толщи теплоизоляционных материалов будет удалено с каждого квадратного метра 5680 г, или примерно 5,7 кг влаги.

Если при определении средней температуры наружного воздуха tсум учесть воздействие солнечной радиации [15] по формуле

tсум = tн + (ρ*Qpaд*ψ)/αн                                                                                               (2)

где: ρ - коэффициент поглощения солнечной радиации кровельным материалом;

Qpaд - интенсивность воздействия солнечной радиации на горизонтальную поверхность;

ψ - коэффициент прозрачности атмосферы для широты 55° и условий Москвы ψ = 0,75, то расчетное количество удаляемой влаги увеличивается примерно в 1,5 раза (см. табл. 3).

Для оценки интенсивности диффузии водяного пара из пенобетона в толщу минераловатного утеплителя по методике К.Ф. Фокина [1] построены графики температуры и упругости водяного пара в толще дополнительно утепленной конструкции при средней за зимний период температуре наружного воздуха

tнcp = -8,7 °С; tв = 18 °С и φв = 60 %.

Графики свидетельствуют о том, что плоскость конденсации переместилась с верхней поверхности монолитной стяжки на нижнюю поверхность листов сборной стяжки из ЦСП; общее сопротивление теплопередаче конструкции Ro = 2,69 м2 °С/Вт, температура tк = -8 °С, упругость водяного пара Ек = 309 Па, ев = 1238 Па, температура средней части пенобетона с учетом его высокой влажности и теплопроводности t = 15,3 °С и упругость водяного пара Е= 1739 Па.

Количество влаги Q1, которое переместится из толщи пенобетона в верхнюю зону минераловатных плит за зимний период длительностью 151 день составляет:

Q1 = [(1739-309*24*151)]/1,11 = 4668757 мг/м2 = 4669 г/м2;

Тогда скорость движения воздуха в канале, средняя за месяц, зимний или летний периоды, может быть определена по формуле:

v = {|ΔР| /[(γ/2g) *(Л*L/d+Σξ+1)]}^0,5                                                                      (3)

где: |ΔР| - абсолютная величина разности ветровых давлений у поверхности кровли, кг/м2;

Л - коэффициент сопротивления трению;

L - длина вентилируемого канала, м;

d - эквивалентный диаметр канала;

Σξ - сумма местных сопротивлений.

Эквивалентный диаметр канала прямоугольного сечения определяется по формуле:

d = 2ab/(a+b)

где: a, b - размеры сечения канала, м;

Коэффициент сопротивления трению

Л = 0,11Δ0,25 + 1/(Δ104 + 90)                                                                                      (4)

где Δ - приведенная шероховатость стенок канала;

Δ = (Δ1 + Δ2)/2d.

При наличии перепада отметок входных и выходных вентиляционных отверстий более 1 м скорость движения воздуха в каналах за счет гравитационного напора [2] определяется по формуле:

v = {[2H(γн - γср)] / [γ*(Л*L/d+Σξ+1)]}^0,5                                                                (5)

где: Н - перепад отметок входа и выхода воздуха, м;

γп, γср - плотность наружного воздуха и воздуха в прослойке, кг/м3.

При совпадении направлений векторов скоростей, определенных по формулам (3) и (5), скорости суммируются. Если векторы направлены в противоположные стороны, то значения скорости вычитаются.

Аэродинамические сопротивления движению потока воздуха на входе и на выходе из каналов и значения местных сопротивлений приведены в [2; 13; 16], а количество влаги Q2, поступившей из помещения в зону конденсации будет:

Q2 = [(1238 - 309)/3,5]*24*151 = 962327 мг/м2 = 962 г/м2

Общее количество влаги Q, которое может поступить в зону конденсации за один зимний период, будет:

Q = 4669+ 962 = 5631 г/м3,

что больше, чем количество влаги, содержащейся в пенобетоне при ω = 22 %, и примерно равно количеству влаги, удаляемой за счет вентиляции и диффузии в каналах. Следовательно процесс вертикального перемещения влаги зимой не будет сдерживать процесс горизонтального выноса влаги из толщи крыши летом. Для тех случаев, когда не представляется возможным конструктивно решить вентиляцию каналов наружным воздухом то типу [1, 2, 3], рекомендуется вентилируемые каналы устраивать вдоль или поперек конька, а вентиляцию одного или нескольких каналов осуществлять путем установки над ними кровельных аэраторов (вентиляционных патрубков с дефлекторами) (рис. 3; 4).

Аэраторы либо должны иметь различную высоту патрубка, либо различные отметки по высоте. Движение воздуха в каналах в летний период будет происходить за счет гидростатического напора, и скорость движения можно определить по формуле (5). В любом случае, движение воздуха в каналах обусловливается различными аэродинамическими коэффициентами по площади крыши, а следовательно, и воздухообменом в патрубках одинакового диаметра под воздействием ветра.

Анализ результатов исследований и расчетов Э.И. Реттера [13] по определению эпюр ветровых давлений и приведенных скоростей движения воздуха над малоуклонными крышами зданий размером в плане 48*144 м и средней отметкой кровли 10 м показывает, что на базе 6 - 8 м как вдоль, так и поперек линии конька в патрубках аэраторов одинакового диаметра при всех направлениях ветра со скоростью 2 - 5 м/с возникает разность давлений ΔР, составляющая 0,12 - 0,14 кг/м2, в результате чего в вентилируемых каналах происходит движение воздуха.

Скорость движения воздуха в канале между двумя аэраторами может быть определена в результате решения уравнения Бернулли [2].

Кроме того, в настоящее время существуют и применяются аэраторы «высокого давления», снабженные встроенными электрическими вентиляторами, способными реверсироваться, создавать давление и работать круглый год, как на вход, так и на выход воздуха. Возможно, а скорее всего даже оптимально, сочетание обычных аэраторов с аэраторами «высокого давления».

Для примера рассмотрим случай, когда над вентилируемым каналом в минераловатном утеплителе сечением 0,05*0,1 м через 6 м расположены аэраторы "Alipai" с внутренним диаметром патрубков 110 или 160 мм. За счет различных давлений в патрубках, возникающих при воздействии ветра, происходит движение воздуха в канале. Этому движению противостоят силы трения и местные сопротивления.

Средняя температура наружного воздуха за летний период без учета воздействия солнечной радиации в дневные часы - tнср = 11,7 °С, объемный вес воздуха - γнср = 1,24 кг/м3, скорость ветра - 3,4 м/с. При этой скорости ветра воздухообмен в патрубке аэратора Ø 110 мм (рис. 5) составляет от 60 м3/ч, или 0,0167 м3/с, а в патрубке аэратора Ø 160 мм 110 м3/ч или 0,031 м3/с. Эквивалентная скорость движения воздуха в патрубке аэратора Ø 110 мм с площадью поперечного сечения 0,00785 м2 составляет

v1 = 0,0167/0,00785 = 2,12 м/с

Температура воздуха t в канале составляет 12,25 °С, а объемный вес

γ = 358/(273 + 12,25) = 1,24 кг/м3.

Тогда давление воздуха в патрубке аэратора Ø 110 мм будет

P1 = (1,238*2,122)/(2*9,82) = 0,284 кг/м2.

При коэффициенте сопротивления трению Л = 0,0348, эквивалентном диаметре 0,067 м и 12-ти местных сопротивлений (внезапные расширения через 1 м в обе стороны) Еξ = 12*3 = 36 средняя за летний период скорость движения воздуха в канале составляет:

v = {0,13/ [(1,238/(2*9,82))(0,0348*(12/0,067) + (12*3) + 1)]}^0,5 = 0,22 м/с.

При условии, что средняя упругость водяного пара наружного воздуха за летний период е = 939 Па, влагосодержание В1 = 2,168*939/(273+11,7) = 7,15 г/м3, максимальная упругость на выходе из аэратора Е = 1489 Па, а влагосодержание В2 = 2,168*1489/(273+18,25) = 11,1 г/м3, осушающая способность канала с аэраторами за летний период составляет q = 0,05*0,1*0,22*3600*214*(11,1 - 7,15) = 95590 г, или 95,6 воды, однако фактическое количество удаляемой влаги будет определяться интенсивностью диффузии водяного пара из толщи минераловатного утеплителя в диффузионные каналы, а из них в вентилируемый канал. Если разделить полученное количество воды на площадь, которую обслуживает канал (12*36 = 432 м2), то получается, что с каждого квадратного метра крыши за летний период может быть удалено q = 195 г/м2 влаги, при увеличении сечения канала до 0,05*0,16 м - q ≈ 314 г/м. При устройстве по обе стороны конька на расстоянии 0,5 - 0,6 м двух вентилируемых каналов сечением, например, 0,05*0,16 м и установке аэраторов Ø 160 мм через 6 м над ними - осушающая способность системы составит за летний сезон составит 644 г/м2, а при черном цвете кровельного материала и учете солнечной радиации - приблизительно 1200 г/м2. Для данного примера расчета, когда отсутствуют конструкции, выступающие над кровлей и ее затеняющие, учет влияний солнечной радиации на формирование температурно-влажностного режима совмещенной крыши с диффузионными вентилируемыми каналами вполне оправдан. Если же имеется достаточно большая площадь затененных участков кровли, образуемых П - и М - образными светоаэрационными фонарями или выступающими частями зданий, то расчет выполняется отдельно для каждого участка фактической влажности существующего утеплителя и стяжки. Влагосодержание слоя пенобетона толщиной 100 мм при весовой влажности 22 % составляет 400*0,1*0,22 = 8,8 кг/м3, при этом допустимое влагосодержание (при ω = 12 %) - 4,8 кг/м2. Следовательно, количество сверхнормативной влаги будет 8,8 - 4,8 = 4 кг/м2, для влажности пенобетона 30 % - 7,2 кг/м2, а для влажности 40 % - 11,2 г/м2. При укладке минераловатных плит дополнительной теплоизоляции всегда существует вероятность увлажнения их атмосферными осадками, особенно во время обеденного перерыва. В качестве источника увлажнения принимается 20-минутный дождь (Q20) с вероятностью максимальной интенсивности 50 %, учитывая относительно небольшую площадь крыши и соотношение сторон здания в плане. Так, например, при Q20 = 80 л/с га (г. Москва) дополнительное увлажнение утеплителя может составить 0,5*0,12*80 = 4,8 кг/м2. Время Т в летних сезонах без учета воздействия солнечной радиации, в течение которого влажность пенобетона и минераловатного утеплителя достигнут нормативного значения составит:

ωпен = 22 %    Т = (4 + 4,8)/5,7                          ≈ 1,5 летних сезона;

ωпен = 30 %    Т = (7,2 + 4,8)/5,7                       ≈ 2    летних сезона;

ωпен = 40 %    Т = (11,2 + 4,8)/5,7                     ≈ 2,8 летних сезона.

При отсутствии затенений кровли и учете влияния солнечной радиации на температуру наружного воздуха и в слоях крыши длительность сушки утеплителя будет:

ωпен = 22 %    Т = (4 + 4,8)/8,6                          ≈ 1    летний сезона;

ωпен = 30 %    Т = (7,2 + 4,8)/8,6                       ≈ 1,4 летних сезона;

ωпен = 40 %    Т = (11,2 + 4,8)/8,6                     ≈ 2    летних сезона.

Для ускорения сушки утеплителя верхний слой минераловатных плит необходимо уложить длинными сторонами вдоль скатов с устройством вентилируемых каналов по 100 мм,, ширину диффузионных каналов оставить прежней - 50 мм и принять конструкцию парапета по типу [3; 16], обеспечив доступ наружного воздуха в продольные каналы , что создаст естественную вентиляцию крыши в двух направлениях и ускорит сушку теплоизоляционных материалов крыши в 3 - 4 раза.

Следует учитывать, что в первые же зимние месяцы сушки происходит активное перераспределение влагосодержания утеплителей по площади крыши, в основном от ендовы к коньку, и при недостаточных или неправильно выполненных нахлестках рулонных пароизоляционных материалов и некачественной герметизации стыков несущих плит или профнастила, кратковременные протечки могут появиться там, где их не было до начала сушки и идея благотворного влияния осушающей вентиляции на температурно-влажностный режим крыши может быть незаслуженно опорочена, что неоднократно и случалось на практике. Поэтому в тех случаях, когда нет возможности проверить качество выполненной пароизоляции или ее переделать, необходимо в проекте восстановительного ремонта крыши обязательно предупредить заказчика о возможности кратковременных протечек в помещения в первый зимний период сушки, так как во второй зимний период сушки эти протечки, как правило, уже не возобновляются.

Довольно часто, если утеплитель в ендовах насыщен влагой выше полного водопоглощения, строители по согласованию со службой эксплуатации заказчика выполняют в несущих плитах или профнастилах отверстия и удаляют воду в сторону помещений либо откачивают ее с помощью насосов.

Дополнительное введение в отечественные и зарубежные нормы требований об обязательной герметизации стыковых соединений рулонных пароизоляционных материалов в целях создания водонепроницаемого барьера и соблюдения этих норм значительно бы уменьшило опасность попадания воды в помещения зданий, как во время строительства, так и при их эксплуатации.

Примеры решений вентилируемых каналов в верхнем слое дополнительной теплоизоляции и установка кровельных аэраторов представлены на рисунках 1-7.

Литература

1. Фокин К.Ф. Строительная теплотехника ограждающих частей зданий. 5-е изданине (Под редакцией Ю.А. Табунщикова, В.Г. Гагарина.) - М., 2006.

2. Реттер Э.И., Баранов Е.И. Аэродинамический расчет вентилируемых покрытий сельскохозяйственных производственных зданий / Материалы первой научной конференции/ - Апрелевка, 1970.

3. Серия 1.465-11. Асбестоцементные плиты покрытий для производственных зданий с легкими несущими металлическими конструкциями. ЦНИИПромзданий. ЦНИИСК. НИИСФ. - 1977.

4. Мачинский В.Д. Теплотехнические основы строительства. - Стройиздат, 1949.

5. Цветаев В.Д., Фокин К.Ф., Одиноков С.Д. Исследование температурно-влажностного режима деревянных пустотных покрытий на промышленных зданиях. - ОНТИ. 1936.

6. Поваляев М.И., Щербак Н.Н., Табунщиков Ю.А. Температурно-влажностный режим вентилируемых покрытий из асбестоцементных панелей // Промышленное строительство. 1969. № 8.

7. Щербак Н.Н. Расчет влажностного режима покрытий из асбестоцементных плит /Труды ЦНИИПромзданий, вып. 53. - М., 1976.

8. Справочник по климату СССР. Вып. 3. Ветер. - Гидрометеоиздат, 1966.

9. Кровли. Руководство по проектированию, устройству, правилам приемки и методам оценки качества. ЦНИИПромзданий. - М, 2002.

10. СНиП II-26-76. Кровли. - М, 1998.

11. Одельский Э.Х. Защитные свойства вентилируемых совмещенных крыш. - Минск. 1960.

12. СНиП II-3-79.* Строительная теплотехника. - М, 2000.

13. Реттер Э.И., Стриженов СИ. Аэродинамика зданий. - Стройиздат. 1968.

14. Зайферт К. Расчет воздухообмена в вентилируемых крышах. - Берлин, 1978. Перевод Бердичевского В.Г. - М., 1952.

15. Шкловер А.М. Теплоустойчивость зданий. - М., 1952.

16. Щербак Н.Н. Конструкции и температурно-влажностный режим вентилируемых совмещенных крыш зданий. Устройство и приближенные методы расчета. Журнал КРОВЛИ, № 1(16) и № 3(18) 2008.

1 - "Элон-Супер" на мастике "Унимаст У";

2 - сборная стяжка из ЦСП;

3 - минераловатные плиты ППЖ;

4 - вентилируемые каналы;

5 - существующая стяжка из цементно-песчаного раствора;

6 - увлажненный пенобетон

Вентилируемые наружным ветром каналы через 1,1 м (в осях)

Рис. 1

Расчетная схема вентиляции каналов и диффузии водяного пара

Рис. 2

Пример установки кровельного аэратора (вентиляционного патрубка) "Alipai" над каналом 100 мм на крыше здания администрации президента РФ (проект):

1 - слой стеклоткани на мастике "Унимаст У"; 2 - дополнительный слой водоизоляционного ковра; 3 - основной слой ковра; 4 - стяжка сборная из ЦСП; 5 - плиты "Руф-Баттс"; 6 - слой керамзитового гравия; 7 - плиты из пеностекла; 8 - слой пароизоляции из "Гидроизола" на битумной мастике; 9 - затирка из цементно-песчаного раствора; 10 -железобетонная несущая плита

Рис. 3

План расположения диффузионных, вентилируемых каналов и кровельных аэраторов

Рис. 4

Рис. 5

Пример решения конька крыши с дополнительным утеплением одним слоем минераловатных плит и объединяющим каналом 100 мм:

1 стяжка из цементно-песчаного раствора; 2 - перфорация стяжки; 3 - увлажненный пенобетон; 4 - полоса кровельного материала над стыком асбестоцементных листов; 5 - подкладка под кромки консольной части листов 250*250 мм; 6 = 0,8 мм через 500 мм; 6 - асбестоцементные листы, 6 = 10 мм

Рис. 6

Рис. 7. Пример решения выхода вентилируемых и диффузионных каналов в местах установки светоаэрационных фонарей

Требуемое сопротивление паропроницанию вентилируемых крыш, м2 ч Па/мг

Таблица 1

Наименование пункта строительства

Средняя за год темпе­ратура наруж­ного воздуха, °С

Зона влаж­ности

Сред­няя за зимний период ско­рость ветра, м/с

Температура и относительная влажность воздуха помещения

tв = 18°C; φв = 75%

Длина вентилируемых каналов L, м

24

72

144

144*2

Ориентация невентилируемых каналов

1

2

3

4

1

2

3

4

1

2

3

4

1

2

3

4

Москва

4,8

н

3,1

0,67

0,76

0,72

0,67

2,27

2,8

2,67

2,27

4,13

5,07

4,67

4

5,07

6,27

5,73

4,93

Орел

4,6

н

4,8

0,51

0,51

0,51

0,51

1,6

1,6

1,73

1,73

3,1

3,2

6,47

3,47

4

4

4,27

4,27

Владивосток

4

в

7,2

0,59

0,59

1,2

0,59

0,89

1,25

5,6

1,04

2,13

3,07

14,5

2,53

3,2

4,13

14,5

3,6

Самара

3,8

с

4,3

0,88

0,81

0,76

0,79

2,93

2,67

2,53

2,67

5,33

4,8

4,53

4,67

4,67

4,13

4,13

4,14

Ярославль

2,7

н

4,9

0,59

0,61

0,63

0,59

1,87

2,4

2,27

2

3,6

4,67

4,4

3,87

5,73

7,07

6,67

6

Хабаровск

1,4

н

5,3

1,09

0,8

0,99

5,87

3,33

2,27

2,93

12

4,13

3,33

3,73

12,5

6,27

4,8

5,73

12,5

Магнитогорск

1,2

с

4,2

0,77

0,75

1,2

1,09

2,67

2,53

4,8

4,13

4,13

4

7,33

6,4

5,2

4,93

8,4

7,2

Архангельск

0,8

в

3,8

1,04

1,07

0,99

0,95

2,27

2,27

2,27

2,27

3,07

3,07

3,07

3,07

4

4

3,87

4

Мурманск

0

в

4,4

0,69

0,69

0,96

0,69

1,47

1,73

4,13

2

2,67

3,07

8,4

3,6

6,53

7,47

18,3

8,4

Иркутск

-1,1

с

1,9

3,33

11,5

2,8

1,87

5,73

18,8

5,07

3,87

8

20,3

7,07

5,47

8,63

20,3

7,87

6,93

Енисейк

-1,8

с

2,9

2,53

2,53

2,27

2,53

4,53

4,8

4

4,93

6,67

6,93

5,87

7,33

10,4

11,2

9,47

11,7

Магадан

-4,7

н

3,6

1,05

0,75

0,76

1,73

3,2

1,87

2

6,53

6,27

3,73

4

14,1

14

8,93

9,87

29,6

Салехард

-6,4

н

4,3

1,73

1,73

1,87

2,4

4,53

4,53

4,8

7,33

6,4

6,4

6,8

10,3

11,1

11,7

11,6

17,3

Туруханск

-7

н

4,1

1,87

2,27

2,4

1,87

5,07

5,73

6,8

4,67

6,27

7,07

8,27

5,73

14,4

15,2

18,1

12,8

Норильск

-9,8

н

8,2

1,6

2,4

1,87

1,47

4,4

6,27

5,47

3,87

7,2

10,1

9,07

6,4

14,4

18,9

17,3

12,8

Примечание:

1. Обозначение зон влажности: с - сухая; н - нормальная; в - влажная.

2. Ориентация: 1 - С - Ю; 2 - СВ - ЮЗ; 3 - В-3; 4 - ЮВ -СЗ.

3. Чертой снизу отмечены сопротивления паропроницанию, достигшие значения этих величин в невентилируемых крышах.

Требуемое сопротивление паропроницанию вентилируемых крыш, м2 ч Па/мг

Таблица 2

Наименование пункта строительства

Средняя за год температура наружного воздуха, °С

Зона влажности

Относительная влажность воздуха помещения, φв, %

50

60

70

75

Температура воздуха помещения, tв, °C

18

18

22

18

18

22

Москва

4,8

н

1,73

2,67

8,13

6,8

9,07

16,8

Орел

4,6

н

1,6

3,47

10

8,8

11,5

18,5

Владивосток

4

в

2,13

4,53

11,7

11,2

14,5

26,7

Самара

3,8

с

2,13

3,07

7,47

6,13

8,1

15,3

Ярославль

2,7

н

2

5,6

15,9

14,7

18

29,6

Хабаровск

1,4

н

2,53

4,4

10,5

10

12,5

21,6

Магнитогорск

1,2

с

2,4

5,87

11,7

10,7

12,9

22,1

Архангельск

0,8

в

6

15,5

22,4

20,1

25,6

36,5

Мурманск

0

в

8,93

16,8

26,1

23,9

29,7

31,6

Иркутск

-1,1

с

4

10,1

18,7

16,8

20,3

32

Енисейк

-1,8

с

4,93

11,2

20

18,3

21,9

34,7

Магадан

-4,7

н

11,1

23,6

36

35,5

40

57,1

Салехард

-6,4

н

14,4

25,2

38,4

36,9

42,7

62,3

Туруханск

-7

н

11,9

21,7

33,9

31,6

36,4

53,6

Норильск

-9,8

н

19,7

29,5

45,7

44,5

50,8

73,6

Исходные данные и количество влаги, удаляемой из толщи крыши через вентилируемые и диффузионные каналы

Таблица 3

Наименование

Апрель

Май

Июнь

Июль

Август

Сентябрь

Октябрь

tнc

4,4

11,9

16

18,1

16,3

10,7

4,3

φв, %

66

58

59

63

68

73

78

ен, Па

552

813

1066

1293

1266

933

653

tпр °с

5,5

12,5

16,3

18,2

16,6

11,3

5,4

епр, Па

904

1449

1853

2089

1889

1339

897

В2, г/м3

7

11

13,9

15,6

14,1

10,2

7

В1 г/м3

4,3

6,2

8

9,6

9,5

7,1

5,1

q1, г/м3

212

390

463

487

373

243

154

q2, г/м3

283

415

519

652

656

477

356

Qрад, Вт/м2

232

322

343

333

261

174

84

tсумc

10,5

20,3

24,9

26,8

23,1

15,2

6,5

Е'пр, Па

1321

2381

3093

3421

2792

1761

1029

В2', г/м3

10,1

17,6

25,3

24,8

20,5

13,2

8

q1', г/м2

455

925

1146

1234

893

479

236

q2', г/м2

259

360

642

577

605

454

348

Примечания:

Σq1 = 2322 г/м2; Σ(q1+q2) = 5680 г/м2; Σq1' = 5368 г/м2; Σ(q1'+q2') = 8613 г/м2;

tпр, Eпp - температура и упругость водяного пара на выходе воздуха из прослойки;

B1, В2 - влагосодержание воздуха, входящего и выходящего из прослойки;

Е'пр, В'2 - максимальная упругость и влагосодержание воздуха, выходящего из прослойки при учете воздействия солнечной радиации;

q1, q2 - количество влаги, удаляемой из толщи крыши за счет вентиляции и диффузии;

q1', q2' - то же, но с учетом воздействия солнечной радиации

Приложение 9.6

Основные термины и определения

Покрытие здания (крыша) - верхнее ограждение здания для защиты внутреннего объема от внешних климатических факторов и воздействий. При наличии пространства (проходного или полупроходного) между крышей и перекрытием верхнего этажа - это пространство и перекрытие именуются чердачными.

Кровля - верхний водоизолирующий слой покрытия (крыши) здания или сооружения.

Основание под кровлю - в кровлях из рулонных материалов - поверхность теплоизоляции, несущих плит, стяжек, а также (при ремонте) рулонные или мастичные кровли, по которым укладывают слои водоизоляционного ковра.

Основной водоизоляционный ковер - слой или слои рулонных материалов, последовательно выполняемые по основанию под кровлю.

Дополнительный водоизоляционный ковер - слой или слои из рулонных материалов, выполняемые для усиления основного водоизоляционного ковра в ендовах, на карнизных участках, в местах примыкания к парапетам, стенам, шахтам и другим конструктивным элементам.

Защитный слой - элемент кровли , предохраняющий основной водоизоляционный ковер от механических повреждений, непосредственного воздействия атмосферных факторов, солнечной радиации и распространения огня по поверхности кровли.

Кровля рулонная традиционная - кровля из рулонных материалов с расположением водоизоляционного ковра по основанию из слоя и теплоизоляции или стяжки.

Кровля рулонная инверсионная - кровля из рулонных материалов с расположением водоизоляционного ковра под слоем теплоизоляции и выполненная по основанию из монолитного железобетона, сборных железобетонных плит или стяжки, образующей уклон покрытия, либо по существующей кровле, нуждающейся в ремонте.

Кровля эксплуатируемая - кровля с рабочим настилом (защитным слоем), рассчитанная на пребывание на ней людей, размещение оборудования или транспортных средств.

Уклон кровли - отношение падения участка кровли к его длине, выраженное относительной величиной в (%), либо в градусах, как угол между линией наибольшего ската кровли и ее проекцией на горизонтальную плоскость.

Мембрана - водонепроницаемый кровельный ковер, чаще однослойный, выполненный из полимерного кровельного материала путем предварительной склейки или сварки стыков полотнищ, приклеиваемый, механически закрепляемый или свободно уложенный на основание под кровлю с последующим пригрузом.

 

 




ГОСТЫ, СТРОИТЕЛЬНЫЕ и ТЕХНИЧЕСКИЕ НОРМАТИВЫ.
Некоммерческая онлайн система, содержащая все Российские Госты, национальные Стандарты и нормативы.
В Системе содержится более 150000 файлов нормативно-технической документации, действующей на территории РФ.
Система предназначена для широкого круга инженерно-технических специалистов.

Рейтинг@Mail.ru Яндекс цитирования

Copyright © www.gostrf.com, 2008 - 2026