Крупнейшая бесплатная информационно-справочная система онлайн доступа к полному собранию технических нормативно-правовых актов РФ. Огромная база технических нормативов (более 150 тысяч документов) и полное собрание национальных стандартов, аутентичное официальной базе Госстандарта. GOSTRF.com - это более 1 Терабайта бесплатной технической информации для всех пользователей интернета. Все электронные копии представленных здесь документов могут распространяться без каких-либо ограничений. Поощряется распространение информации с этого сайта на любых других ресурсах. Каждый человек имеет право на неограниченный доступ к этим документам! Каждый человек имеет право на знание требований, изложенных в данных нормативно-правовых актах!

  


 

ТИПОВЫЕ ТЕХНОЛОГИЧЕСКИЕ КАРТЫ НА ПРОИЗВОДСТВО ОТДЕЛЬНЫХ ВИДОВ РАБОТ

ТИПОВАЯ ТЕХНОЛОГИЧЕСКАЯ КАРТА

НА МОНТАЖ СТРОИТЕЛЬНЫХ КОНСТРУКЦИЙ

6307030131
41131

МОНТАЖ КОНСТРУКЦИЙ КРУПНОПАНЕЛЬНОГО ЖИЛОГО 9-ЭТАЖНОГО ДОМА СЕРИИ 90

10. МОНТАЖ ВЕНТИЛЯЦИОННЫХ БЛОКОВ ТИПОВОГО ЭТАЖА

МОСКВА 1991

РАЗРАБОТАНА

СОГЛАСОВАНО

Институтом "Оргюгстрой" Минюгстроя РСФСР

Главный инженер института           А.А. Редькин

Начальник отдела ТС-3                   А.С. Выприков

Главный технолог                            И.А. Шурыгин

Управлением механизации и технологии строительства Госстроя СССР

Письмо от 13.12.90г„ №12-349

Введена в действие с 01.03.1991 г.

Содержание

1. ОБЛАСТЬ ПРИМЕНЕНИЯ

2. ОРГАНИЗАЦИЯ И ТЕХНОЛОГИЯ ВЫПОЛНЕНИЯ РАБОТ

3. ТРЕБОВАНИЯ К КАЧЕСТВУ И ПРИЕМКЕ РАБОТ

4. КАЛЬКУЛЯЦИЯ ЗАТРАТ ТРУДА, МАШИННОГО ВРЕМЕНИ И ЗАРАБОТНОЙ ПЛАТЫ НА МОНТАЖ ВЕНТИЛЯЦИОННЫХ БЛОКОВ ТИПОВОГО ЭТАЖА

5. ГРАФИК ПРОИЗВОДСТВА РАБОТ НА МОНТАЖ ВЕНТИЛЯЦИОННЫХ БЛОКОВ ТИПОВОГО ЭТАЖА

6. МАТЕРИАЛЬНО-ТЕХНИЧЕСКИЕ РЕСУРСЫ

7. ТЕХНИКА БЕЗОПАСНОСТИ

8. ТЕХНИКО-ЭКОНОМИЧЕСКИЕ ПОКАЗАТЕЛИ НА ТИПОВОЙ ЭТАЖ

9. ФАСЕТНЫЙ КЛАССИФИКАТОР ФАКТОРОВ

 

1. ОБЛАСТЬ ПРИМЕНЕНИЯ

1.1. Типовая технологическая карта разработана на монтаж вентиляционных блоков типового этажа, крупнопанельного 9-этажного жилого дома серии 90.

1.2. В состав работ, рассматриваемых в карте, входит монтаж вентиляционных блоков.

1.3. Все работы по монтажу вентиляционных блоков выполняют в три смены. Картой предусматривается монтаж вентиляционных блоков башенным краном КБ-405.1А грузоподъемностью 10 т при высоте здания до 30 м.

1.4. При привязке типовой технологической карты к конкретному объекту и условиям строительства принятый в карте порядок выполнения работ по монтажу вентиляционных блоков, размещение машин и оборудования, объемы работ, средства механизации уточняют в соответствии с проектными решениями.

2. ОРГАНИЗАЦИЯ И ТЕХНОЛОГИЯ ВЫПОЛНЕНИЯ РАБОТ

2.1. До начала монтажа вентиляционных блоков должны быть выполнены организационно-подготовительные мероприятия в соответствовать со СНиП 3.01.01-85 "Организация строительного производства".

Кроме того должны быть выполнены следующие работы:

смонтированы, наружные и внутренние стеновые панели (в случае монтажа, вентиляционных блоков, примыкающих к внутренним стеновым панелям и сантехкабинам);

смонтированы все конструкции типового этажа, включая плиты перекрытия (в случае монтажа отдельно стоящих вентиляционных блоков);

очищены каналы нижестоящего вентиляционного блока от остатков раствора и других посторонних предметов;

доставлены на площадку и подготовлены к работе механизмы, инвентарь и приспособления;

рабочие и ИТР ознакомлены о технологией работ и обучены безопасным методам труда.

2.2. Монтаж надземной части здания, в" том числе вентиляционных блоков, рекомендуется выполнять башенными кранами.

Расположение башенного крана и расстояние подкрановых путей от здания устанавливается при привязке карты в зависимости от объемно-планировочного решения здания и марки крана. Максимальное расстояние, от оси движения крана до стены определяется его технической характеристикой, минимальное - условиями безопасности работ в соответствии со СНиП III-4-80* "Техника безопасности в строительстве". Схема расположения монтажного крана приведена на рис 1, 2.

2.3. Транспортирование вентиляционных блоков осуществляют полуприцепами-панелевозами в вертикальном или слегка наклонном (не более 12° к вертикали) положении.

Размещают вентиляционные блоки на панелевозах в соответствии с погрузочными карточками, которые составляют на заводах-изготовителях согласно графику монтажа объектов.

Автотранспорт должен иметь необходимые приспособления, обеспечивающие устойчивое положение вентиляционных блоков при транспортировании и предохраняющие. их от повреждения.

Под тросы, крепящие вентиляционные блоки, следует подкладывать мягкие прокладки во избежание повреждений кромок и поверхностей.

Монтаж вентиляционных блоков выполняют в основном с транспортных средств. В случае, когда монтаж с транспортных средств невозможен, вентиляционные блоки выгружают на оклад, расположенный в зоне действия монтажного крана.

Хранить вентиляционные блоки на складе следует в кассетах или в пирамидах (рис. 3).

Загрузка и разгрузка должна быть равномерной с обеих сторон пирамиды во избежание ее опрокидывания. Строповку и расстроповку вентблоков, хранящихся на складе-пирамиде, производят с ее верхней площадки.

Погрузочно-разгрузочные работы и транспортирование вентиляционных блоков производят с соблюдением мер, исключающих возможность их повреждения.

Раствор готовят централизованно и доставляют на объект при помощи автотранспортных средств: авторастворовозов, автобетоновозов, автобетоносмесителей и автосамосвалов.

Растворные смеси на строительной площадке следует хранить в ящиках-контейнерах, в поворотных бадьях, в бункерах, в узлах и установках приема, перемешивания и выдачи смесей.

Подачу раствора к месту производства работ осуществляют монтажным краном в растворных ящиках.

2.4. Монтаж вентиляционных блоков примыкающих к внутренним стеновым панелям и санитарно-техническим кабинам, выполняют в процессе монтажа внутренних стеновых панелей, перегородок и сантехкабин. Монтаж отдельно стоящих вентиляционных блоков производят после монтажа плит перекрытия.

Строповку вентиляционных блоков осуществляют траверсой универсальной четырехветвевой за две петли (рис. 4). Угол наклона строп к вертикали допускается не более 15°.

Монтаж вентиляционных блоков осуществляют по захваткам (за захватку принята одна блок-секция) и производят в определенной технологической последовательности. Схема последовательности монтажа вентиляционных блоков на примере блок-секции 90-05 приведена на рис. 5.

Вентиляционные блоки устанавливают на слой цементного раствора с совмещением каналов по высоте и тщательным замоноличиванием горизонтальных швов. Для предотвращения попадания раствора в каналы вентиляционного блока, его расстилают по верху шаблон-рамки с заглушками. После укладки раствора рамку снимают и приступают к установке вентиляционного блока.

Монтаж вентиляционных блоков примыкающих к внутренним стеновым панелям и сантехкабинам ведется следующим образом:

поданный краном на высоту 0,2 - 0,3 м от растворной постели вентблок принимают монтажники;

производят выверку его положения и опускают на растворную постель. При этом монтажники следят за тем, чтобы петли нижестоящего блока вошли в пазы устанавливаемого блока. Выверку вентиляционных блоков, выполняют совмещая оси двух взаимно перпендикулярных граней устанавливаемых блоков в уровне нижнего сечения с рисками осей нижестоящего блока. Относительно вертикальной плоскости блоки устанавливают, выверяя плоскости двух взаимно перпендикулярных граней с помощью рейки-отвеса.

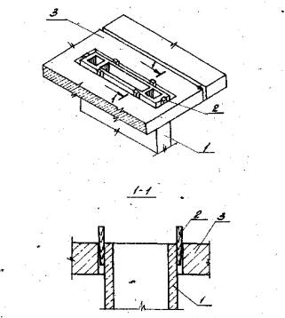
выверенный вентиляционный блок временно крепят к внутренней стенной панели двумя струбцинами (рис. 6);

после выверки и временного закрепления вентиляционного блока монтажники расстроповывают блок.

Временные крепления (струбцины) можно убирать только после установки сантехкабин, примыкающих к установленным блокам.

Монтаж отдельно стоящих вентиляционных блоков осуществляют в следующем технологическом порядке:

вентиляционный блок, поданный к месту монтажа, принимают и направляют в отверстие в плите перекрытия. Монтажник, находящийся на нижележащем перекрытии, принимает его на расстоянии 0,2 - 0,3 м от растворной постели и разворачивает в нужном направлении;

вентиляционный блок опускают на подготовленную растворную постель и производят выверку его положения, совмещая оси двух взаимно перпендикулярных граней блока в уровне нижнего сечения с рисками осей нижестоящего блока. Если имеются отклонения от проектного положения, монтажники подправляют низ блока монтажными ломиками;

монтажники, находящиеся на вышележащем перекрытии, корректируют  положение верха блока, и после достижения проектного положения закрепляя его с помощью деревянных клиньев (рис. 7);

после окончательной выверки, убедившись в надежности временного крепления, блок расстроповывают.

Внутреннюю полость каналов обязательно прочищают от выдавленного раствора с помощью швабровки.

Места прохода вентиляционного блока через плиту перекрытия заделывают цементным раствором.

2.6. При производстве работ в зимнее время необходимо руководствоваться указаниями СНиП 3.03.01-87 "Несущие и ограждающие конструкции", а также действующими инструкциями, руководствами и специальными указаниями проекта.

Зимние условия работ определяют среднесуточной температуре наружного воздуха ниже 5°С и минимальной суточной температуре ниже 0°С (СНиП 3.03.01-87).

В зимнее время необходимо обеспечить правильное складирование и хранение конструкции на приобъектном складе, оберегая их от образования наледи. Верх вентиляционных блоков на складе пришивают полотнищами рулонного материала.

До подъема вентблока проверяют, не примерз ли он к грунту или соседним изделиям.

Подготовка вентиляционных блоков к монтажу включает их очистку от снега и наледи, особенно тщательно в местах стыков. Очистку следует выполнять с помощью скребков или стальных щеток. По окончании удаления наледи стыкуемые поверхности следует просушить струей горячего воздуха.

Не допускается применять для очистки стыкуемых поверхностей пар, горячую воду или раствор поваренной соли.

До начала установки вентиляционных блоков следует удалить снег и наледь с перекрытия и стыковых соединений, посыпать песком рабочее Место, площадки складирования и проходы, лестничные марши и площадки, очистить каналы смонтированного вентиляционного блока от снега.

Монтажные работы в зимних условиях следует выполнять используя те же инструменты, приспособления и инвентарь, что и в летний период.

Все такелажные и монтажные приспособления должны содержаться в очищенном от наледи состоянии и просушиваться. Муфты и винтовые соединения должны быть смазаны маслом.

Монтаж вентиляционных блоков в зимних условиях может выполняться на растворах с противоморозными добавками, обеспечивающими их твердение на морозе.

В качестве противоморозных добавок, вводимых в растворы, следует применять нитрит натрия (NaNO2), комплексную добавку НКМ (нитрит натрия + мочевина), поташ (K2CO3) и совмещенную добавку поташа и нитрита натрия.

Применение противоморозных добавок - нитрита натрия, рекомендуется при температуре наружного воздуха до минус 15°С, НКМ - до минус 20 °С, поташа и смеси нитрита натрия с поташом - до минус 30°С.

Количество противоморозных добавок в зависимости от температуры наружного воздуха следует назначать в соответствии с "Руководством по монтажу крупнопанельных жилых домов с малым шагом", ЦНИИЭПжилища, 1980.

При выполнении монтажа при температуре ниже минус 20°С раствор следует применять на одну марку выше проектной.

Раствор под очередной монтируемый вентиляционный блок должен расстилаться непосредственно перед его установкой на место.

Использование замерзшего и отогретого горячей водой раствора не допускается.

На строительной площадке обычную растворную смесь необходимо хранить в утепленной таре, расположенной в специально отведенном месте, защищенном от ветра и попадания атмосферных осадков.

Хранение раствора с добавкой нитрита натрия при температуре до минус 15°С,с поташом - до минус 30°С допускается в неутепленной таре.

В журнале производства работ должны фиксироваться температура наружного воздуха, количество вводимой в раствор добавки и другие данные, отражающие влияние на процесс твердения растворов.

2.7. Варианты рекомендуемых машин и транспортных средств и оборудования для монтажа вентиляционных блоков приведены в табл. 1.

Таблица 1

Наименование комплекта машин и оборудования

Вариант (фасет-код)

Техническая характеристика

Марка

Количество, шт.

Кран монтажный

-

Кран башенный грузоподъемностью

MCK-10-20

КБ-405.1A

1

 

Кран башенный грузоподъемностью 9 т

КБ-405.2

1

Транспортные средства

-

Полуприцеп-панелевоз кассетного типа грузоподъемностью 12 т

УПП-1207

2

 

Тягач

МАЗ-504А

1

 

Полуприцеп-панелевоз хребтового типа грузоподъемностью 14т

ПП-1307

2

 

Тягач

КамАЗ-5410

1

Оборудование

 

Установка компрессорная передвижная

С0-7Б

1

3. ТРЕБОВАНИЯ К КАЧЕСТВУ И ПРИЕМКЕ РАБОТ

Производство и приемку работ по монтажу вентиляционных блоков следует выполнять согласно требованиям СНиП 3.03.01-87. Контроль качества монтаж вентиляционных блоков включает:

входной контроль качества конструкций и используемых материалов;

операционный контроль качества выполняемых работ; приемочный контроль выполненных работ.

Входной контроль качества конструкций на строительной площадке производят инженерно-технические работники монтирующей организацией. Изделия должны иметь паспорт, хорошо водимую маркировку и штамп ОТК завода с датой изготовления. Проверяется соответствие паспортных данных проектным и осуществляется внешний осмотр и обмер конструкций.

Вентиляционные блоки, поступающие на строительную площадку, должны соответствовать ГОСТ 17079-88 и рабочим чертежам.

Технические критерии и средства контроля операций и процессов приведены в табл. 2.

Приемочный контроль смонтированных вентиляционных блоков производят в процессе поэтажной приемки смонтированных конструкций на захватке. При приемке работ предъявляют журналы монтажных работ, документы лабораторных анализов и испытаний при замоноличивании стыков.

Таблица 2

Наименование процессов, подлежащих контролю

Предмет контроля

Инструмент и способ контроля

Периодичность контроля

Ответственный контролер

Технические критерии оценки качества

Подготовительные предмонтажные работы

Соответствие геометрических размеров проектным

Рулетка

До начала монтажа

Мастер

Отклонение размеров по ГОСТ 17079-88: по длине блока ±5 мм; по толщине блока ±5 мм; по высоте блока ±8 мм; в поперечном сечении каналов, размеров, выступов вырезов и отверстий ±5 мм по положению каналов 5 мм

Внешний вид конструкции

Визуально

До начала монтажа

Мастер

Отсутствие дефектов, трещин шириной более 0,2 мм. На лицевых поверхностях не допускаются жировые и ржавые пятна

Монтаж вентиляционных блоков

Подготовка поверхности под устанавливаемую конструкцию

То же

Поверхность нижестоящего вентблока и его каналы должны быть очищены от загрязнения (зимой от снега и наледи)

Устройство постели из раствора

Метр складной стальной, визуально

В процессе монтажа

Толщина равномерно укладываемого между каналами слоя раствора должна быть не более 20 мм и при этом на 5-10 мм отступать от внутренних стенок каналов

Выверка вентиляционных блоков:

по ориентирным осям (рискам)

Визуально

В процессе Монтажа

Мастер

Путем совмещения осей двух взаимно перпендикулярных граней устанавливаемых блоков в уровне нижнего сечения с рисками осей нижестоящего блока

в вертикальной плоскости

Рейка-отвес

То же

Выверяя плоскости двух взаимно перпендикулярных граней относительно вертикали

соблюдение смещения вентиляционных каналов

Визуально

Вентиляционные каналы устанавливаемого блока должны быть совмещены с каналами нижестоящего блока

Контроль точности монтажа

Точность установки вентиляционных блоков

Рулетка, метр складной, стальной, рейка-отвес

В процессе монтажа

Мастер

Отклонение от совмещения рисок геометрических осей или граней в нижнем сечении установленных вентиляционных блоков с рисками геометрических осей или гранями нижележащих блоков 8 мм. Отклонение от вертикали верха вентиляционных блоков 10 мм.

Заполнение горизонтальных швов и заделка мест прохождения вентиляционных блоков через плиты перекрытия

Качество заделки стыков и швов

Визуально, лабораторный контроль

После установки блоков

Горизонтальные швы в стыках вентиляционных блоков и в местах прохождения блоков через плиты перекрытия должны быть тщательно зачеканены цементным раствором. Марка раствора должна соответствовать проекту (M100). Подвижность раствора 5-7 см по глубине погружения стандартного конуса

Качество очистки каналов вентиляционных блоков

Визуально

После установки блоков

Мастер

Внутренние поверхности вентиляционных каналов должны быть тщательно . очищены. Раствор, выдавленный внутрь каналов, должен быть удален

Технологическая схема выполнения строительного процесса

1 - башенный кран КБ-405.1А; 2 - подкрановый путь; 3 - ограждение подкранового пути; 4 - контур заземления; 5 - контрольный груз; 6 - прицеп-панелевоз; 7 - тягач; 8 - прожекторы; 9 - временная автодорога; 10 - площадка разгрузки автотранспорта; 11 - площадка для приема раствора; 12 - временная открытая площадка складирования; 13 - граница зоны работы крана.

Рис. 1

Рис. - 2.

Схема складирования вентиляционного блока

1 - вентиляционные блоки; 2 - склад-пирамида.

Рис. - 3

Схема строповки вентиляционного блока

1 - траверса универсальная (четырехветвевая самобалансирная)

Рис. - 4.

Схема последовательности монтажа сборных конструкций типового этажа на приеме секций 90-05

Рис. - 5.

Примечание: 1. На схеме последовательности монтажа конструкций цифрами в числителе указана марка, а в знаменателе - порядковый номер монтажа конструкций.

2. Конструкции, отмеченные (*), выгружают на приобъектный склад и монтируют в порядке очередности.

Выверка вентиляционного блока.

Схема временного крепления вентиляционного блока к стеновой панели.

Рис. - 6.

Схема временного крепления отдельно стоящего вентиляционного блока

1 - вентиляционный блок; 2 - деревянные клинья; 3 - плита перекрытия.

Рис. - 7.


4. КАЛЬКУЛЯЦИЯ ЗАТРАТ ТРУДА, МАШИННОГО ВРЕМЕНИ И ЗАРАБОТНОЙ ПЛАТЫ НА МОНТАЖ ВЕНТИЛЯЦИОННЫХ БЛОКОВ ТИПОВОГО ЭТАЖА

Таблица 3

Наименование процесса

Номер фасета для пересчета показателей

Единица измерения

Объем работ

Обоснованно (ЕНиР и д.р, нормы)

Норма времени

Расценка, р.-к.

Затраты труда

Заработная плата, р.-к.

Время пребывания машины на объекте, маш.-ч

Заработная плата машиниста с учетом пребывания машины на объекте, Р.-к.

 

рабочих, чел.-ч

машиниста, чел.-ч

рабочих

машиниста

рабочих, чел.-ч

машиниста, чел.-ч (маш.-ч)

рабочих

машиниста

 

1. Частичная выгрузка вентиляционных блоков, инвентаря и приспособлений с автотранспорта на приобъектный склад при массе поднимаемого груза до 1 т

01

100т

0,12

ЕНиР, §Е 1-7, № 28 а-, б, К=0,8 (ПР-2)

13,00

6,40

8-32

5-82

1,25

0,61

0-80

0-56

0,61

0-56

 

2. Прием раствора в емкости из кузова автосамосвала с очисткой кузова

 

100м3

0,007

ЕНиР, §Е 4-1-51, № 19

8,20

-

5-25

-

0,06

-

0-04

-

-

-

 

3. Подача раствора к месту укладки башенным краном в ящиках вместимостью 0,25 м3 на высоту до 12 м

04, 05

3

0,67

ЕНиР, §Е 1-7, 3 9 а, б

0,54

0,27

0-34,6

0-24,6

0,36

0,18

0-23

0-16

0,18

0-16

 

4. Установка вентиляционных блоков массой до 1т

02, 03

1 блок

.24

ЕНиР, §Е 4-4-14, табл. 2, 1а, б

1,00

0,25

0-73

0-26,5

24,00

6,00

17-52

6-36

6,00

6-36

 

5. Заделка мест прохождения вентиляционных блоков через плиты перекрытия цементным раствором

 

100м шва

0,57

ЕНиР, §Е 4-1-26, (ПР-1)

4,3

-

3-40

-

2,45

-

1-94

-

-

-

 

б. Погрузка на автотранспорт инвентаря и приспособлений

01

100т

0,005

ЕНиР, §Е 1-7, № 28 а,б К=0,8 (ПР-2)

13,00

6,40

8-32

5-82

0,05

0,03

0-03

0-02

0,03

0-02

 

Итого:

 

 

 

 

 

 

 

 

28,17

6,82

20-56

7-Ю

6,82

7-10

 

5. ГРАФИК ПРОИЗВОДСТВА РАБОТ НА МОНТАЖ ВЕНТИЛЯЦИОННЫХ БЛОКОВ ТИПОВОГО ЭТАЖА

Таблица 4

Примечания. 1.(ТП)- технологический перерыв, связанный с монтажом плит перекрытия.

2. Графическая часть выполнена условно, без учета монтажа других конструкций


6. МАТЕРИАЛЬНО-ТЕХНИЧЕСКИЕ РЕСУРСЫ

Потребность в инструменте, инвентаре и приспособления приведена в табл. 5

Таблица 5

Наименование

Марка, техническая характеристика, ГОСТ, *№ чертежа

Количество

Назначение

Траверса универсальная (четырехветвевая самобалансирная)

3408.05.000 ЦНИИОМТП Госстроя СССР

1

Подъем элементов

Струбцина

462IA трест "Мосоргстрой"

4

Временное крепление вентиляционных блоков

Столик монтажника СУ-0,9

42197-14 ТУ 67-486-83 ЭПКБ, Главмехтранса

2

Обеспечение монтажных работ на высота

Склад-пирамида

3348.01.000 ЦНИИОМТП Госстроя СССР

2

Складирование вентблоков на приобъектном складе

Контейнер для раствора

3293.15.000 ЦНИИОМТП Госстроя СССР

1

Хранение и подача раствора в зимнее время

Контейнер К3-2,5Г

3495.08.000 ЦНИИОМТП Госстроя СССР*

1

Перевозке и хранение материалов, сопутствующих монтажному потоку

Ящик для раствора стальной вмести-мостыг0,25 м3

3241.42.000 ЦНИИОМТП Госстроя СССР

2

Хранение и подача раствора

Осветительное устройство

CM-188 Киевское КБ Главтяжстроймеханизации Минстроя УССР

2

Освещение стройплощадки

Лом стальной строительный

ЛМ ГОСТ 1405-83

2

Рихтовка элементов

Лопата подборочная

ЛП ГОСТ 19596-87*

2

Подача раствора

Лопата растворная

ЛР ГОСТ 19596-87*

2

То же

Кельма

КБ ГОСТ 9533-81

2

Разравнивание раствора

Скребок

ТУ 22-4629-80

I

Очистка поверхностей

Ведро оцинкованное

ГОСТ 20558-82

2

Хранение воды или раствора на рабочем месте

Подштопка

266.000.000 трест "Мосоргстрой"

2

Уплотнение горизонтальных стыков

Шаблон-рамка с заглушками

Изготовление в мастерской строительной организации '

2

Устройство растворной постели

Швабровка

Р.ч. МС-397 Институт "Ортюгстрой" Минюгстроя РСФСР

2

Прочистка вентиляционных каналов от раствора

Рулетка измерительная металлическая

ЗПК3-20. АУТ/1 ГОСТ 7502-80*

1

Измерение элементов и разбивка осей

Метр складной стальной

ТУ 2-17-303-84

1

Измерение элементов

Линейка измерительная металлическая

ГОСТ 427-75*

1

То же

Рейка-отвес

3295.03.000 ЦНИИОМТП Госстроя СССР

1

Определение вертикальности при установке блоков

Будка монтажников

3295.07.000 ЦНИИОМТП Госстроя СССР

1

Помещение для обогрева в зимнее время и хранение инструмента

Каска строительная

ГОСТ 12.4.087-84

6

Защита головы

Пояс предохранительный

ГОСТ 12.4.089-86

4

Защита от падения с высоты

Перчатки (рукавицы) специальные

ГОСТ 12.4.010-75*

6 пар

Защита рук от травмирования

Потребность в материалах и полуфабрикатах для выполнения работ по монтажу вентиляционных блоков типового этажа приведена в табл. 6

Таблица 6

Наименование материала, конструкции (марка, ГОСТ)

Вариант (фасет-код)

Исходные данные

Потребность

единица измерения

объем работ в нормативных единицах

принятая норма расхода материалов

в материалах

Блоки вентиляционные ГОСТ 17079-88

-

шт.

-

-

24

Раствор цементный М100 (растворная постель) ГОСТ 28013-89

06

100 шт. блоков

0,24

0,7

0,17 м3

Раствор цементный M100 (для заделки мест прохождения вентиляционных блоков через плиту перекрытия) ГОСТ 28013-89

 

м3

 

 

0,50

7. ТЕХНИКА БЕЗОПАСНОСТИ

7.1. При производстве работ по монтажу вентиляционных блоков необходимо обеспечить безопасные условия труда в соответствии со СНиП III-4-80*. а также "Правилами устройства и безопасной эксплуатация грузоподъемных кранов".

7.2. Рабочие, выполняющие монтажные работы, должны пройти:

медицинское освидетельствование;

вводный инструктаж по технике безопасности, производственной санитарии и оказанию доврачебной помощи;

первичный инструктаж непосредственно на рабочем месте (ГОСТ 12.0.004-79).

7.3. Все работающие на строительной площадке должны быть обеспечены средствами индивидуальной защиты, спецодеждой и спецобувью в соответствии с "Типовыми отраслевыми нормами бесплатной выдачи спецодежды, спецобуви и предохранительных приспособлений", утвержденных Госкомтруда СССР и ВЦСПС.

Рабочие при получении средств индивидуальной защиты должны быть проинструктированы о порядке пользования этими средствами и ознакомлены с требованиями по уходу за ними (ГОСТ 12.3.009-76*).

7.4. Траверсы и стропы перед эксплуатацией необходимо освидетельствовать и испытать, а затем составить соответствующий акт.

Крюки грузозахватных приспособлений должны иметь исправные запирающие устройства. Необходимо, чтобы все грузозахватные приспособления были снабжены паспортами со штампом ОТК и инвентарным номером.

Перед началом, а также во время производства работ такелажные в монтажные приспособления (стропы), инвентарь и тару необходимо освидетельствовать.

7.5. Погрузочно-разгрузочные работы должны выполняться под руководством мастера или бригадира, который обязан следить за правильным размещением конструкций на складе, исправным состоянием подъемно-транспортного оборудования и приспособлений.

7.6. При выгрузке с транспортных средств вентиляционной блок поднимают на высоту 20-30 см, проверяют надежность строповки, после, чего такелажник сходит с транспортного средства, отходит на безопасное расстояние и подъем блока продолжается.

При выгрузке вентиляционных блоков с транспортных средств шофер обязан выходить из кабины. Перемещать груз над нею запрещается.

Складировать блоки следует в соответствии с указанием типовой технологической карты.

7.7. На участке работ должны быть определены опасные зоны, в пределах которых постоянно могут действовать опасные производственные факторы (зона действия монтажного крана и д.р.).

Опасные зоны должны быть обозначены знаками безопасности и надписями установленной формы, а в темное время суток у этих мест должны быть выставлены световые сигналы. Зоны постоянно, действующих опасных производственных факторов должны быть ограждены защитными ограждениями (ГОСТ 23407-78).

7.8. Участки работ, рабочие места, проезды и подходы к ним в темное время суток должны быть освещены.

7.9. При проведении монтажных работ следует пользоваться системой условных сигналов, установленных администрацией. Все сигналы подаются только одним лицом (бригадиром, звеньевым, такелажником), кроме сигнала “Стоп”, который подается любым лицом, заметившим явную опасность (СНиП III-4-80* п. 12.18).

7.10. На участке (захватке), где ведутся монтажные работы, не допускается выполнение других работ и нахождение посторонних лиц (СНиП III-4-80* п. 12.1).

7.11. Монтировать вентиляционные блоки следует в технологической последовательности, предусмотренной картой.

При этом необходимо соблюдать следующие правила монтажа:

перед подъемом блоков проверять качество и надежность их строповки;

не допускается подъем краном блоков, зажатых другими элементами или примерзших к земле;

перемещать блоки в горизонтальном направлении на высоте не менее 0,5 м и на расстоянии не менее 1 м от других конструкций;

не переносить вентиляционные блоки краном над рабочим местом монтажников, а также над той захваткой, где ведутся другие строительные работы;

принимать подаваемый блок только тогда, когда он находится в 0,2 - 0,3 м от места установки. Принимая элемент монтажники не должны находиться между ним и другой конструкцией.

7.12. Устанавливать вентиляционные блоки следует без толчков, не допуская ударов по другим конструкциям.

7.13. Во время перерывов в работе не допускается оставлять поднятые вентиляционные блоки или грузы на весу.

7.14. Установленные в проектное положение вентиляционные блоки должны быть закреплены так, чтобы обеспечивались их устойчивость и геометрическая неизменяемость.

Расстроповку конструкций, установленных в проектное положение, допускается производить после постоянного или временного надежного их закрепления. Перемещать установленные конструкции после их расстроповки не допускается.

7.15. Ящики с раствором следует устанавливать только в местах примыкания плит перекрытия друг к другу, т.е. над панелями внутренних стен.

7.16. При приготовлении растворной смеси с использованием химических добавок требуется принять меры к предупреждению ожогов кожи

и повреждения глаз. Эту работу следует выполнять в соответствии с "руководством по применению бетонов с противоморозными добавками".

7.17. При производстве работ в зимнее время лестничные площадки, марши, проходы, монтируемые вентиляционные блоки, а также монтажные приспособления необходимо очищать от снега и наледи, а рабочие места посыпать песком.

7.18. Не допускается выполнять монтажные работы на высоте в открытых местах при скорости ветра 15 м/с и более, при гололедице, грозе и тумане, исключающим видимость в пределах фронта работ.

7.19. Если в процессе монтажа вентблоков образуются открытые проемы, к которым возможен доступ, людей, необходимо устанавливать инвентарные переносные ограждения или пользоваться щитами для перекрытия отверстий.

7.20. При работе на высоте монтажники и другие рабочие должны быть снабжены проверенными и испытанными предохранительными поясами (ГОСТ 12.4.089-86), без которых они не могут допускаться к работе.

8. ТЕХНИКО-ЭКОНОМИЧЕСКИЕ ПОКАЗАТЕЛИ НА ТИПОВОЙ ЭТАЖ

Нормативные затраты труда рабочих, чел.-ч

28,17

Нормативные затраты машинного времени, маш.-ч

6,82

Заработная плата рабочих-монтажников р.-к.

20 - 56

Заработная плата механизаторов, р.-к.

7 - 10

Продолжительность выполнения работ, смен

0,99

Выработка на одного рабочего в смену, вентиляционных блоков

6,99

Условные затраты на механизацию, р.-к.

31 - 30

Сумма изменяемых затрат, р.-к.

51 - 86

9. ФАСЕТНЫЙ КЛАССИФИКАТОР ФАКТОРОВ

ФАСЕТ 01

Разгрузка элементов на приобъектный оклад

Наименование фактора

Обоснование

Код

Значение фактора

Масса разгружаемых вентблоков, т, до: 1

§ Е 1-7, № 28 а,б К=0,8 (ПР-2)

1

По калькуляции

2

То же, 29 а, б

2

Н.вр. и расценки для машиниста умножить на 0,688. Н.вр. и расценки для такелажника умножить на 0,692

3

То же, № 30 а, б

3

Н.вр. и расценки для машиниста умножить на 0,438. Н.вр. и расценки для такелажника умножить на 0,431

ФАСЕТ 02

Высота от уровня планировочных отметок

Наименование фактора

Обоснование

Код

Значение фактора

Рыгота, м, до: 15

ЕНиР, сб. 4, вып. 1, вводная часть, п.3

1

По калькуляции

20

То же, ВЧ-1

2

Норму времени и расценку умножить на 1,05

30

ВЧ-2

3

То же, 1,10

40

ВЧ-3

4

1,20

ФАСЕТ 03

Масса монтируемого элемента

Наименование фактора

Обоснование

Код

Значение фактора

Масса вентиляционного блока, т, до:

 

 

 

1

§ Е 4-1-14,* 1

1

По калькуляции

1,5

То же, № 2

2

Норму временя и расценку умножить на 1,5

2

То же, № 3

3

То же, 2

3,5

То же, № 4

и

То же 2,2

ФАСЕТ 04

Подача раствора к месту работы башенным краном (высота подъема до 12 м)

Наименование фактора

Обоснование

Код

Значение фактора

Вместимость ящика, м3, до:

0,25

§ Е 1-7, 9 а, б

1

По калькуляция

0,5

То же, № II а, б

2

Норму времени к расценку умножить на 0,556

ФАСЕТ 05

Высота подъема раствора к месту работы башенным краном

Наименование фактора

Обоснование

Код

Значение фактора

Высота подъема, м, до:

 

 

 

12

§ Е 1-7, № 9 а, б

1

По калькуляции

18

То же, № 9а, б + в, г

2

Норму времени и расценку умножить на 1,2037

24

То же, 9а, б + 2 в, г

3

То же, 1,407

30

То же, №9 а, б + 3 в, г

4

То же, 1,611

36

То же, № 9 а, б + 4в, г

5

То же, 1,815

ФАСЕТ 06

Расход цементного раствора на 100 шт. блоков (растворная постель), м3

Наименование фактора

Обоснование

Код

Значение фактора

Масса блока, т, до: 1

СНиП IV-2-82, приложение, том 2, табл. 7-49

 

0,7

2,5

То же

 

0,89

более 2,5

То же

 

1,2

Примечание. Рамкой обведены в таблице значения факторов, на которые рассчитаны показатели в данной технологической карте.

 

 




ГОСТЫ, СТРОИТЕЛЬНЫЕ и ТЕХНИЧЕСКИЕ НОРМАТИВЫ.
Некоммерческая онлайн система, содержащая все Российские Госты, национальные Стандарты и нормативы.
В Системе содержится более 150000 файлов нормативно-технической документации, действующей на территории РФ.
Система предназначена для широкого круга инженерно-технических специалистов.

Рейтинг@Mail.ru Яндекс цитирования

Copyright © www.gostrf.com, 2008 - 2026