|
|
|
ФЕДЕРАЛЬНОЕ АГЕНТСТВО
ГРУНТЫ Метод
определения сопротивления сдвигу
Цели и принципы стандартизации в Российской Федерации установлены Федеральным законом от 27 декабря 2002 г. № 184-ФЗ «О техническом регулировании», а правила применения национальных стандартов Российской Федерации - ГОСТ Р 1.0-2004 «Стандартизация в Российской Федерации. Основные положения» Сведения о стандарте 1 РАЗРАБОТАН Научно-исследовательским, проектно-изыскательским и конструкторско-технологическим институтом оснований и подземных сооружений НИИОСП им Н.М. Герсеванова - филиалом Федерального государственного унитарного предприятия «Научно-исследовательский центр «Строительство» (ФГУП «НИЦ» «Строительство») 2 ВНЕСЕН Техническим комитетом по стандартизации ТК 465 «Строительство» 3 УТВЕРЖДЕН И ВВЕДЕН В ДЕЙСТВИЕ Приказом Федерального агентства по техническому регулированию и метрологии от 15 декабря 2009 г. № 892-ст 4 ВВЕДЕН ВПЕРВЫЕ Информация об изменениях к настоящему стандарту публикуется в ежегодно издаваемом информационном указателе «Национальные стандарты», а текст изменений и поправок - в ежемесячно издаваемых информационных указателях «Национальные стандарты». В случае пересмотра (замены) или отмены настоящего стандарта соответствующее уведомление будет опубликовано в ежемесячно издаваемом информационном указателе «Национальные стандарты». Соответствующая информация, уведомление и тексты размещаются также в информационной системе общего пользования - на официальном сайте Федерального агентства по техническому регулированию и метрологии в сети Интернет Содержание ГОСТ Р 53582-2009 НАЦИОНАЛЬНЫЙ СТАНДАРТ РОССИЙСКОЙ ФЕДЕРАЦИИ ГРУНТЫ Метод определения сопротивления сдвигу оттаивающих грунтов Soils. Method for determination of thawing soil shear resistance Дата введения - 2010-06-01 1 Область примененияНастоящий стандарт устанавливает метод лабораторного определения сопротивления сдвигу оттаивающих глинистых, органоминеральных грунтов, а также мелких и пылеватых песков для оценки устойчивости склонов и откосов при строительстве в районах распространения многолетнемерзлых и сезонномерзлых грунтов. 2 Нормативные ссылкиВ настоящем стандарте использованы ссылки на следующие стандарты: ГОСТ 5180-84 Грунты. Методы лабораторного определения физических характеристик ГОСТ 12071-2000 Грунты. Отбор, упаковка, транспортирование и хранение образцов ГОСТ 12248-96 Грунты. Методы лабораторного определения характеристик прочности и деформируемости ГОСТ 12536-79 Грунты. Методы лабораторного определения гранулометрического (зернового) и микроагрегатного состава ГОСТ 20522-96 Грунты. Методы статистической обработки результатов испытаний ГОСТ 24847-81 Грунты. Методы определения глубины сезонного промерзания ГОСТ 25100-95 Грунты. Классификация ГОСТ 30416-96 Грунты. Лабораторные испытания. Общие положения Примечание - При пользовании настоящим стандартом целесообразно проверить действие ссылочных стандартов в информационной системе общего пользования - на официальном сайте Федерального агентства по техническому регулированию и метрологии в сети Интернет или по ежегодно издаваемому информационному указателю «Национальные стандарты», который опубликован по состоянию на 1 января текущего года, и по соответствующим ежемесячно издаваемым информационным указателям, опубликованным в текущем году. Если ссылочный стандарт заменен (изменен), то при пользовании настоящим стандартом следует руководствоваться заменяющим (измененным) стандартом. Если ссылочный стандарт отменен без замены, то положение, в котором дана ссылка на него, применяется в части, не затрагивающей эту ссылку. 3 Термины и определенияВ настоящем стандарте использованы термины по ГОСТ 25100, а также следующие термины с соответствующими определениями: 3.1 оттаивающий грунт: Грунт, в котором при переходе из мерзлого состояния в талое разрушаются криогенные структурные связи. 3.2 граница оттаивания (нулевая изотерма): Граница раздела оттаивающего и мерзлого грунта, движущаяся сверху вниз в процессе оттаивания. 3.3 приконтактный слой грунта: Тонкий (2-4 мм) слой оттаивающего грунта вблизи границы оттаивания, имеющий наибольшие разрыхленность, водопроницаемость, влажность и поровое давление. 3.4 оттаявший грунт: Грунт, в котором восстанавливается структура, уменьшаются разрыхленность, водопроницаемость, влажность и поровое давление (расположен выше приконтактного слоя). 4 Общие положения4.1 Настоящий стандарт устанавливает метод лабораторного определения сопротивления сдвигу оттаивающих грунтов. 4.2 Для испытаний используются образцы мерзлого грунта ненарушенного и нарушенного сложения в зависимости от свойств грунта и целевого назначения определения характеристик грунта. Образцы мерзлого грунта ненарушенного сложения должны сохранять форму, природную температуру, влажность и льдистость. 4.3 Горные выработки для отбора образцов мерзлого грунта ненарушенного сложения необходимо проходить без предварительного протаивания грунта, с сохранением плотности, влажности и криогенной структуры. 4.4 Образцы мерзлого грунта необходимо отбирать при отрицательной температуре окружающего воздуха, в теплое время года - при условии их немедленной теплоизоляции и доставки в хранилище с отрицательной температурой воздуха. Бурение скважин допускается вести без применения жидкости, с продувкой воздухом, охлажденным до отрицательной температуры (см. ГОСТ 12071). 4.5 Образцы грунта нарушенного сложения (с заданными физическими свойствами) должны замораживаться в холодильных камерах при заданной температуре в специальных формах из нетеплопроводного материала, обеспечивающих требуемое направление теплопотока и формирование криогенной текстуры грунта. 4.6 Общие требования к лабораторным испытаниям грунтов, оборудованию и приборам, лабораторным помещениям, способы изготовления образцов для испытаний приведены в ГОСТ 30416 и ГОСТ 12248. 4.7 Для испытываемых грунтов должны быть определены следующие физические характеристики по ГОСТ 5180: суммарная влажность для мерзлого грунта, плотность, плотность частиц, влажность на границе текучести и раскатывания, влажность оттаивающего грунта на контакте с мерзлым грунтом, гранулометрический и микроагрегатный составы грунтов по ГОСТ 12536, а также должны быть вычислены коэффициент пористости, степень заполнения объема пор льдом и незамерзшей водой, число пластичности и показатель текучести для оттаивающего грунта. 4.8 В процессе испытаний грунтов ведут журнал по форме, приведенной в приложении А. 5 Сущность метода5.1 Испытания оттаивающего грунта методом одноплоскостного среза по поверхности мерзлого грунта проводят для определения следующих характеристик: сопротивления грунта срезу т, угла внутреннего трения φ, удельного сцепления с оттаивающих грунтов. 5.2 Эти характеристики определяют по результатам испытаний образцов мерзлого грунта нарушенного и ненарушенного сложения в одноплоскостных срезных приборах с фиксированной плоскостью среза путем сдвига касательной нагрузкой оттаивающего образца относительно другой его части - мерзлого образца. 5.3 Оттаивание образцов мерзлого грунта нарушенного и ненарушенного сложения проводится сверху вниз. Сдвиг проводится на контакте оттаивающего грунта с мерзлым слоем («приконтактный слой»). 5.4 Сопротивление грунта сдвигу определяют как предельное среднее касательное напряжение, при котором образец оттаивающего грунта сдвигается по фиксированной плоскости, проходящей на 2-4 мм выше поверхности мерзлого грунта при заданном нормальном напряжении. Для определения значений φ и с необходимо провести не менее трех испытаний при различных значениях нормального напряжения. 5.5 Испытания проводят по схеме быстрого недренированного испытания - сдвига глинистых, органоминеральных грунтов, а также мелких и пылеватых песков. Для испытаний используют образцы мерзлого грунта ненарушенного сложения с природной плотностью и влажностью - льдистостью или образцы нарушенного сложения с заданными значениями плотности и влажности. Образцы должны иметь форму цилиндра диаметром не менее 70 мм и высотой 0,6-0,7 диаметра. Примечание - По специальному заданию могут применяться другие методы оттаивания грунта и конструкции приборов, обеспечивающие моделирование процесса промерзания - оттаивания и нагружения грунта. 6 Оборудование и приборы6.1 Все операции по изготовлению, подготовке и испытанию образцов мерзлого грунта следует выполнять в помещениях с постоянной отрицательной температурой (холодильных камерах или подземных лабораториях, расположенных в толще вечномерзлых грунтов), которая должна обеспечивать сохранность мерзлого состояния грунта, недопущение сколов и других нарушений поверхности в процессе обработки. Температура воздуха в помещении для подготовки образцов ненарушенного сложения и изготовления образцов нарушенного сложения должна приниматься в соответствии с техническим заданием или моделированием природного состояния. 6.2 Измерения, контроль и запись значений температуры в холодильных камерах осуществляется автоматически или с помощью термодатчиков, заленивленных термометров и термографов. Монолиты, проботборники, ножи, кольца, приборы, эксикаторы должны постоянно находиться в помещении для приготовления и подготовки образцов или выдерживаться до начала работ не менее двух часов в помещении с отрицательной температурой. 6.3 В состав установки для испытаний оттаивающего грунта методом одноплоскостного сдвига по поверхности мерзлого грунта должны входить: - срезной прибор с фиксированной плоскостью среза, состоящий из подвижной и неподвижной частей, включающих в себя рабочие кольца с внутренними размерами не менее 70 мм; - жесткий тепловой штамп с регулируемой постоянной температурой; - устройство для создания и регулирования температуры теплового штампа; - датчики (щупы и др.) для контроля границы раздела оттаивающего и мерзлого грунта; - механизм для вертикального нагружения образца; - механизм для создания касательной нагрузки; - устройства для измерения вертикальных и горизонтальных деформаций образца; - комплект оборудования для изготовления и подготовки образцов мерзлого грунта к лабораторным испытаниям на сдвиг оттаивающих грунтов. Принципиальная схема установки для определения сопротивления сдвигу оттаивающего грунта на контакте с мерзлым грунтом приведена в приложении Б. 6.4 В комплект оборудования для подготовки образцов мерзлого грунта к лабораторным испытаниям на сдвиг оттаивающих грунтов должны входить: - винтовой пресс-станок; - кольца-пробоотборники из нержавеющей стали с режущим краем, заостренным под углом 45°, внутренним диаметром, соответствующим диаметру образца грунта и высотой, на 5 мм превышающей высоту образца, предназначенного для испытаний; - выталкиватель диаметром, равным диаметру образца грунта; - пила (по дереву и металлу); - нож из нержавеющей стали с прямым лезвием; - эксикатор (со льдом или снегом на дне); - технические весы; - изопаролента (или полиэтиленовая пленка, пакеты). 6.5 В комплект оборудования для изготовления образцов мерзлого грунта нарушенного сложения дополнительно к 6.4 должны входить: - формы для замораживания грунта; - уплотнитель. 6.6 Формы, в которых проводится замораживание грунта, должны быть изготовлены из нетеплопроводного материала (органическое стекло и др.) со стенками толщиной не менее 20 мм и обеспечивать возможность промораживания в заданном направлении, а также исключать возможность отжатия воды или утечки ее из грунта во время промораживания. Схема формы для приготовления образца мерзлого грунта нарушенной структуры приведена в приложении В. Примечание - Для исключения радиального оттаивания изготавливаются рабочие кольца из нетеплопроводного материала или штамп, диаметр которого на 2 мм меньше диаметра рабочего кольца. 7 Подготовка образцов грунта к испытанию7.1 Образцы мерзлого грунта ненарушенного сложения с природной влажностью и льдистостью вырезают из монолита или керна так, чтобы при последующем испытании он имел по отношению к нагрузке ориентировку, соответствующую природному залеганию. 7.2 При изготовлении образцов грунта из монолита предварительно выпиливают заготовки в виде призм, размеры основания и высота которых должны на 2-3 см превышать заданные размеры образцов. 7.3 Перед изготовлением образцов мерзлого грунта кольца-пробоотборники нумеруют, взвешивают, измеряют их высоту и внутренний диаметр. Кольцо-пробоотборник смазывают с внутренней стороны тонким слоем технического вазелина и устанавливают режущим краем на зачищенную поверхность основания призмы (или керна). Кольцо-пробоотборник одновременно может служить рабочим кольцом. 7.4 При помощи пресса кольцо-пробоотборник слегка вдавливают в мерзлый грунт и острым ножом начинают срезать грунт. Постепенно надвигают кольцо на образующийся грунтовый цилиндр до полного его заполнения. Штангенциркулем измеряют высоту образца не менее чем в четырех различных точках, расположенных по диаметру образца в двух взаимно перпендикулярных направлениях, проверяют взаимную параллельность оснований образца с погрешностью 0,1 мм. Из кольца-пробоотборника образец грунта перемещают в рабочие кольца. Образец грунта вместе с рабочим кольцом взвешивают с погрешностью не более 0,01 г. 7.5 Для испытуемых образцов грунта дополнительно к физическим характеристикам, указанным в 4.7, должны быть определены тип криогенной текстуры и льдистость по ГОСТ 25100. 7.6 Образцы грунта нарушенного сложения изготавливают из талого грунта заданного состава, влажности и плотности. Требуемая плотность достигается уплотнением грунта при заполнении рабочих колец. Между рабочими кольцами помещают прокладки для создания зазора между кольцами. 7.7 Замораживание грунта проводят в специальных формах из оргстекла, крышку формы устанавливают в зависимости от заданных условий промораживания: при помещении крышки снизу - промораживание сверху; при помещении крышки сверху - промораживание снизу. Форму с образцом помещают в помещение или холодильный шкаф с заданной отрицательной температурой воздуха. 7.8 Во время замораживания измеряют температуру контрольного образца грунта, в который помещают термодатчик. Промораживание заканчивают, когда температура контрольного образца достигнет заданного значения. После этого образец извлекают из формы, герметизируют и сохраняют в эксикаторах (со льдом или снегом) до испытаний. Время хранения - не более пяти суток. 7.9 До начала проведения испытаний необходимо провести тарировку приборов. 8 Проведение испытания8.1 Образец грунта в рабочих кольцах помещают в сдвиговый прибор. На образец грунта ставят тепловой штамп и центрируют его. 8.2 Температура в тепловом штампе создается и регулируется с помощью ультратермостата (циркуляция антифриза или другой незамерзающей жидкости) или других нагревающих устройств. Температура на нижней поверхности штампа не должна превышать 50 °С. 8.3 Проводят регулировку механизма нагрузки. Закрепляют устройства для измерения вертикальных и горизонтальных деформаций, записывают время начала испытаний и начальные показания приборов. На образец грунта передают нормальное давление р, при котором будет проводиться сдвиг образца. Значение р принимают по таблице 1. Таблица 1 - Нормальное давление на образец грунта с учетом консистенции и водонасыщения
8.4 Время (скорость) оттаивания зависит от размеров образца, состава, плотности и влажности грунта. В процессе оттаивания с помощью щупа (термодатчиков и др.) контролируют температуру грунта в зоне сдвига, т. е. на границе раздела оттаивающего и мерзлого грунта, которая должна быть расположена на 1-3 мм ниже верхней части рабочего кольца в подвижной обойме (см. приложение Б). Устанавливают зазор 2 мм между подвижной и неподвижной частями срезной коробки. 8.5 Приводят в действие механизм для создания касательной нагрузки и проводят срез образца грунта не более чем за 2 мин с момента приложения нагрузки. При передаче касательной нагрузки ступенями их значения не должны превышать 10 % значения нормального давления, при котором проводится срез, и приложение ступеней нагрузки должно следовать через каждые 10-15 с. При передаче непрерывно возрастающей касательной нагрузки скорость среза принимают в интервале 2-3 мм/мин так, чтобы срез проходил в течение указанного времени. 8.6 Испытание следует считать законченным, если при приложении очередной ступени касательной нагрузки происходит мгновенный срез (срыв) одной части образца по отношению к другой или общая деформация среза превысит 5 мм. При проведении среза с постоянной скоростью за окончание испытаний принимают момент, когда срезающая нагрузка достигнет максимального значения, после чего будет наблюдаться некоторое ее снижение или установление постоянного значения, или общая деформация среза превысит 5 мм. 8.7 После окончания испытания следует разгрузить образец, извлечь рабочее кольцо с образцом из прибора и отобрать пробы для определения влажности из зоны среза образца. В процессе испытания ведут журнал, форма которого приведена в приложении А. 9 Обработка результатов9.1 По измеренным в процессе испытания значениям касательной и нормальной нагрузок вычисляют касательные и нормальные напряжения τ и σ, МПа, по формулам:
где Q и F - касательная и нормальная силы к плоскости среза, кН; А - площадь среза, см2. Определение τ необходимо проводить не менее чем при трех различных значениях р. Из каждого значения τ вычитают поправку за счет трения в приборе по заранее построенной тарировочной кривой. При фиксации хода испытаний автоматическими приборами в полученную диаграмму среза также вносят поправку за счет трения в приборе. По измеренным в процессе испытания значениям деформации среза Δl, соответствующим различным напряжениям τ, строят график зависимости Δl = f (τ) (см. приложение Г). За сопротивление грунта сдвигу принимают максимальное значение τ, полученное по графику Δl = f(τ) или по диаграмме среза на отрезке Δl, не превышающее 5 мм. Если значение τ возрастает постепенно, то за сопротивление грунта сдвигу следует принимать τ при Δl = 5 мм. 9.2 Угол внутреннего трения φ и удельное сцепление с оттаивающего грунта определяют как параметры линейной зависимости τ = σ tg φ + с. Угол внутреннего трения φ и удельное сцепление с, МПа, вычисляют по формулам в соответствии с ГОСТ 20522:
где τi - опытные значения сопротивления сдвигу оттаивающего грунта, определенные при различных значениях σi - и относящиеся к одному инженерно-геологическому элементу или отдельному монолиту грунта (при n ≥ 3); n - число испытаний. Примечание - Для оценки разброса экспериментальных данных и выявления ошибок испытаний перед вычислением значений tg φ и с строят график зависимости τ = f(σ) (см. приложение Г). Приложение А
|
|||||||||||||||||||||||||||||||||||||||||||||||||||||||||||||||||||||||||||||||||
|
Объект (пункт) _________________________ |
Данные о рабочем кольце и образце |
|
Сооружение ___________________________ |
высота, мм _____________________________ |
|
Шурф (скважина) № ____________________ |
диаметр, мм ____________________________ |
|
Глубина отбора образца, м _______________ |
площадь, см2 ___________________________ |
|
Лабораторный номер образца ____________ |
объем, см3 _____________________________ |
|
Наименование грунта ___________________ |
масса кольца, г _________________________ |
|
Сложение грунта _______________________ |
масса кольца с мерзлым грунтом, г ________ |
|
Визуальное описание образца |
масса образца мерзлого грунта, г __________ |
|
мерзлого грунта в лаборатории ___________ |
плотность мерзлого грунта, г/см3 __________ |
|
______________________________________ |
влажность мерзлого грунта, д.е. __________ |
|
Температура в холодильной камере _______ |
влажность грунта в приконтактной зоне, д. е._ |
|
Температура штампа ____________________ |
визуальное описание грунта в зоне сдвига___ |
|
Дата испытаний |
Время снятия отсчета ti, ч |
Время от начала оттаивания, мин |
Давление на образец грунта р, МПа |
Показания индикатора деформации осадки, мм |
Время от начала сдвига, мин |
Показания индикатора сдвига, мм |
Абсолютная деформация сдвига l, мм |
Касательное напряжение τ, МПа |
Касательное напряжение с учетом поправки на трение в приборе τ, МПа |
Примечание |
|
|
|
|
|
|
|
|
|
|
|
|

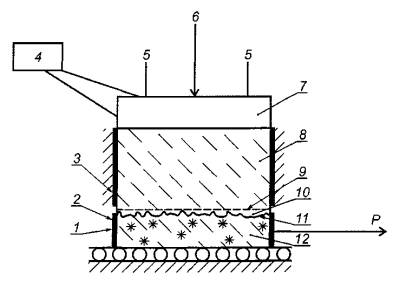
1- индикатор часового типа для измерений деформаций сдвига; 2 - подвижная обойма; 3 - неподвижная обойма; 4 - устройство для создания и регулирования температуры теплового штампа; 5 - индикаторы часового типа для измерения деформации осадки; 6 - вертикальная нагрузка; 7 - тепловой штамп; 8 - оттаявший грунт; 9 - плоскость среза; 10 - приконтактный слой (оттаивающий грунт); 11 - граница раздела оттаивающего и мерзлого грунта; 12 - мерзлый грунт; Р - сдвигающая нагрузка
Рисунок Б.1

1 - рабочее кольцо; 2 - грунт; 3 - крышка формы; 4 - защитное кольцо формы; 5 - кольцевая прокладка; 6 - опорное кольцо формы; 7 - диск-вкладыш
Рисунок В.1
|
График Δl = f(τ) |
График τ = f(σ) |
|
Масштаб графика: |
Масштаб графика: |
|
по горизонтали |
по горизонтали |
|
10 мм - l мм для Δl |
20 мм - 0,1 МПа для σ |
|
по вертикали |
по вертикали |
|
20 мм - 0,1 МПа для τ |
20 мм - 0,1 МПа для τ |
|
|
|
Рисунок Г.1
Ключевые слова: метод лабораторного определения сопротивления сдвигу, оттаивающий грунт, приконтактный слой
|
ГОСТЫ, СТРОИТЕЛЬНЫЕ и ТЕХНИЧЕСКИЕ НОРМАТИВЫ. Некоммерческая онлайн система, содержащая все Российские Госты, национальные Стандарты и нормативы. В Системе содержится более 150000 файлов нормативно-технической документации, действующей на территории РФ. Система предназначена для широкого круга инженерно-технических специалистов. Copyright © www.gostrf.com, 2008 - 2026 |