Крупнейшая бесплатная информационно-справочная система онлайн доступа к полному собранию технических нормативно-правовых актов РФ. Огромная база технических нормативов (более 150 тысяч документов) и полное собрание национальных стандартов, аутентичное официальной базе Госстандарта. GOSTRF.com - это более 1 Терабайта бесплатной технической информации для всех пользователей интернета. Все электронные копии представленных здесь документов могут распространяться без каких-либо ограничений. Поощряется распространение информации с этого сайта на любых других ресурсах. Каждый человек имеет право на неограниченный доступ к этим документам! Каждый человек имеет право на знание требований, изложенных в данных нормативно-правовых актах!

  


 

ФЕДЕРАЛЬНОЕ АГЕНТСТВО
ПО ТЕХНИЧЕСКОМУ РЕГУЛИРОВАНИЮ И МЕТРОЛОГИИ

НАЦИОНАЛЬНЫЙ
СТАНДАРТ
РОССИЙСКОЙ
ФЕДЕРАЦИИ

ГОСТ Р
8.669-
2009

Государственная система обеспечения
единства измерений

ВИБРОМЕТРЫ С ПЬЕЗОЭЛЕКТРИЧЕСКИМИ,
ИНДУКЦИОННЫМИ И ВИХРЕТОКОВЫМИ
ВИБРОПРЕОБРАЗОВАТЕЛЯМИ

Методика поверки

Предисловие

Цели и принципы стандартизации в Российской Федерации установлены Федеральным законом от 27 декабря 2002 г. № 184-ФЗ «О техническом регулировании», а правила применения национальных стандартов Российской Федерации - ГОСТ Р 1.0-2004 «Стандартизация в Российской Федерации. Основные положения»

Сведения о стандарте

1 РАЗРАБОТАН Федеральным государственным унитарным предприятием «Всероссийский научно-исследовательский институт метрологии им. Д.И. Менделеева» (ФГУП «ВНИИМ им. Д.И. Менделеева») Федерального агентства по техническому регулированию и метрологии

2 ВНЕСЕН Управлением метрологии Федерального агентства по техническому регулированию и метрологии

3 УТВЕРЖДЕН И ВВЕДЕН В ДЕЙСТВИЕ Приказом Федерального агентства по техническому регулированию и метрологии от 15 декабря 2009 г. № 1053-ст

4 ВВЕДЕН ВПЕРВЫЕ

Информация об изменениях к настоящему стандарту публикуется ежегодно в издаваемом информационном указателе «Национальные стандарты», а текст изменений и поправок - в ежемесячно издаваемых информационных указателях «Национальные стандарты». В случае пересмотра (замены) или отмены настоящего стандарта соответствующее уведомление будет опубликовано в ежемесячно издаваемом информационном указателе «Национальные стандарты». Соответствующая информация, уведомление и тексты размещаются также в информационной системе общего пользования - на официальном сайте Федерального агентства по техническому регулированию и метрологии в сети Интернет

Содержание

1 Область применения

2 Нормативные ссылки

3 Термины и определения

4 Операции поверки

5 Средства поверки

6 Требования к квалификации поверителей

7 Требования безопасности

8 Условия поверки

9 Подготовка к поверке

10 Проведение поверки

10.1 Внешний осмотр

10.2 Проверка электрического сопротивления изоляции измерительного прибора (согласующего усилителя, устройства питания и преобразования) виброметра

10.3 Проверка электрического сопротивления изоляции пьезоэлектрического вибропреобразователя

10.4 Опробование

10.5 Определение основной относительной погрешности виброметра

10.6 Определение основной относительной погрешности виброметра при поэлементной поверке

10.7 Проверка встроенных фильтров

10.8 Определение электрической емкости пьезоэлектрического вибропреобразователя

10.9 Проверка внутреннего сопротивления индукционного и вихретокового вибропреобразователей

10.10 Определение начального рабочего напряжения (тока) для вибропреобразователей с выходом по напряжению (току)

10.11 Определение действительного значения коэффициента преобразования вибропреобразователя

10.12 Определение относительного коэффициента поперечного преобразования пьезоэлектрического вибропреобразователя

10.13 Определение неравномерности частотной характеристики вибропреобразователя

10.14 Определение нелинейности амплитудной характеристики вибропреобразователя

10.15 Определение частоты установочного резонанса пьезоэлектрического вибропреобразователя

10.16 Определение частоты поперечного резонанса пьезоэлектрического вибропреобразователя

10.17 Определение основной относительной погрешности вибропреобразователя

10.18 Определение фазочастотной характеристики вибропреобразователя

11 Оформление результатов поверки

Приложение А (справочное) Определение основной относительной погрешности виброметра при применении электрических методов поверки измерительного прибора виброметра

Приложение Б (справочное) Проверка фильтров, встроенных в измерительный прибор виброметра

Приложение В (справочное) Порядок выбора рабочих тел и режимов для определения частоты установочного резонанса пьезоэлектрического вибропреобразователя

Приложение Г (рекомендуемое) Определение фазочастотной характеристики вибропреобразователя

Приложение Д (рекомендуемое) Форма записи на оборотной стороне свидетельства о поверке виброметра

Приложение Е (рекомендуемое) Форма записи на оборотной стороне свидетельства о поверке вибропреобразователя

Библиография

ГОСТ Р 8.669-2009

НАЦИОНАЛЬНЫЙ СТАНДАРТ РОССИЙСКОЙ ФЕДЕРАЦИИ

Государственная система обеспечения единства измерений

ВИБРОМЕТРЫ С ПЬЕЗОЭЛЕКТРИЧЕСКИМИ, ИНДУКЦИОННЫМИ
И ВИХРЕТОКОВЫМИ ВИБРОПРЕОБРАЗОВАТЕЛЯМИ

Методика поверки

State system for ensuring the uniformity of measurements.
Vibrometers with piezoelectric, induction and eddy current
vibrations transducers. Methods of verification

Дата введения - 2011-01-01

1 Область применения

1.1 Настоящий стандарт распространяется на виброметры с пьезоэлектрическими, индукционными и вихретоковыми вибропреобразователями, включая виброметры со встроенными фильтрами (далее - виброметры), пьезоэлектрические, индукционные и вихретоковые вибропреобразователи (далее - вибропреобразователи), включая вибропреобразователи со встроенными согласующими усилителями и стоковым питанием, и устанавливает методику их первичной и периодической поверок

1.2 Настоящий стандарт не распространяется на сейсмометры и сейсмоприемники.

1.3 Межповерочный интервал - один год.

Примечание - Допускается изменение межповерочного интервала (в сторону увеличения до срока не более двух лет) по документально подтвержденным результатам опытной эксплуатации виброметров и вибропреобразователей и проведенных испытаний на соответствие утвержденному типу.

2 Нормативные ссылки

В настоящем стандарте использованы нормативные ссылки на следующие стандарты:

ГОСТ 12.1.003-83 Система стандартов безопасности труда. Шум. Общие требования безопасности

ГОСТ 12.1.036-81 Система стандартов безопасности труда. Шум. Допустимые уровни в жилых и общественных зданиях

ГОСТ 12.2.007.0-75 Система стандартов безопасности труда. Изделия электротехнические. Общие требования безопасности

ГОСТ ИСО 5348-2002 Вибрация и удар. Механическое крепление акселерометров

ГОСТ 5963-67 Спирт этиловый питьевой 95 %-ный. Технические условия

ГОСТ 9486-79 Мосты переменного тока измерительные. Общие технические условия

ГОСТ 16819-71 Приборы виброизмерительные. Термины и определения

ГОСТ 17168-82 Фильтры электронные октавные и третьоктавные. Общие технические требования и методы испытаний

ГОСТ 23706-93 (МЭК 51-6-84) Приборы аналоговые показывающие электроизмерительные прямого действия и вспомогательные части к ним. Часть 6. Особые требования к омметрам (приборам для измерения полного сопротивления) и приборам для измерения активной проводимости

ГОСТ 24346-80 Вибрация. Термины и определения

ГОСТ 24347-80 Вибрация. Обозначения и единицы величин

ГОСТ 30296-95 Аппаратура общего назначения для определения основных параметров вибрационных процессов. Общие технические требования

Примечание - При пользовании настоящим стандартом целесообразно проверить действие ссылочных стандартов в информационной системе общего пользования - на официальном сайте Федерального агентства по техническому регулированию и метрологии в сети Интернет или по ежегодно издаваемому информационному указателю «Национальные стандарты», который опубликован по состоянию на 1 января текущего года, и по соответствующим ежемесячно издаваемым информационным указателям, опубликованным в текущем году Если ссылочный стандарт заменен (изменен), то при пользовании настоящим стандартом следует руководствоваться заменяющим (измененным) стандартом. Если ссылочный стандарт отменен без замены, то положение, в котором дана ссылка на него, применяется в части, не затрагивающей эту ссылку.

3 Термины и определения

В настоящем стандарте применены термины по ГОСТ 16819, ГОСТ 24346, [1], обозначения и единицы по ГОСТ 24347, а также следующие термины с соответствующими определениями:

3.1 физическая величина прямолинейной поступательной вибрации: Свойство прямолинейной поступательной вибрации, выражающееся в её виброускорении, виброскорости, виброперемещении.

3.2 параметры физической величины прямолинейной поступательной вибрации: Измеряемые параметры физической величины прямолинейной поступательной вибрации - частота, фаза, амплитудное значение, среднее квадратическое значение, среднее значение, размах.

3.3 вибропреобразователь: Первичный измерительный преобразователь, на который непосредственно воздействует физическая величина прямолинейной поступательной вибрации.

3.4 коэффициент преобразования вибропреобразователя: Отношение значения величины сигнала на выходе вибропреобразователя к значению физической величины прямолинейной поступательной вибрации на входе вибропреобразователя.

3.5 виброметр: Средство измерений параметров физической величины прямолинейной поступательной вибрации, состоящее из вибропреобразователя и измерительной цепи.

Примечания

1 Шкала измерительного прибора виброметра может быть градуирована в единицах измеряемой физической величины или в относительных единицах - децибелах.

2 Виброметр позволяет измерять амплитудное значение прямолинейной поступательной вибрации, действующей на вход вибропреобразователя, или (и) среднее квадратическое значение, или (и) среднее значение, или (и) размах.

3 Состав виброметра:

- пьезоэлектрический вибропреобразователь и измерительная цепь, состоящая из согласующего усилителя, измерительного прибора с набором полосовых фильтров или без него, соединительных кабелей, или

- пьезоэлектрический вибропреобразователь с выходом по току и измерительная цепь, состоящая из источника питания, адаптера и измерительного прибора с набором полосовых фильтров или без него, соединительных кабелей, или

- пьезоэлектрический вибропреобразователь с выходом по напряжению и измерительная цепь, состоящая из источника питания и измерительного прибора с набором полосовых фильтров или без него, соединительных кабелей, или

- индукционный вибропреобразователь и измерительная цепь, состоящая из измерительного прибора с набором полосовых фильтров или без него, соединительных кабелей, или

- вихретоковый вибропреобразователь и измерительная цепь, состоящая из устройства питания и преобразования (драйвер), измерительного прибора с набором полосовых фильтров или без него, соединительных кабелей.

4 Измерительная цепь виброметра может состоять из приборов, находящихся как в обособленных корпусах, так и в одном корпусе.

5 Ряд функций измерительного прибора виброметра могут быть реализованы с помощью аналого-цифрового преобразователя, блоков персонального компьютера и соответствующего программного обеспечения.

3.6 рабочий диапазон измеряемых значений: Область значений, измеряемых параметров физической величины (амплитудного, среднего квадратического, среднего значения, размаха), для которой нормирована погрешность средства измерений.

3.7 рабочий диапазон частот: Область значений частот прямолинейной поступательной вибрации, в пределах которой нормирована погрешность средств измерений.

3.8 базовая частота: Частота, на которой коэффициент преобразования вибропреобразователя должен быть определен с максимальной точностью и которую используют в качестве опорной для расчета основной погрешности виброметра или вибропреобразователя.

3.9 поверочная виброустановка: Комплекс средств измерений, утвержденный в установленном порядке в качестве рабочего эталона и служащий для передачи размера единицы физической величины прямолинейной поступательной вибрации рабочим средствам измерений.

Примечание - Поверочная виброустановка состоит из источника механических колебаний, форма которых, как правило, близка к синусоидальной (вибровозбудитель), и измерительной системы. В качестве измерительной системы может быть использован эталонный вибропреобразователь с согласующим усилителем и вольтметром или лазерный интерферометр с соответствующей системой обработки информации.

3.10 эталонный вибропреобразователь: Измерительный вибропреобразователь в составе измерительной системы поверочной виброустановки, утвержденный в качестве эталонного, непосредственно подвергаемый воздействию задаваемой вибровозбудителем прямолинейной поступательной вибрации, предназначенный для передачи размеров единиц другим средствам измерений параметров вибрации.

3.11 действительное значение физической величины: Значение физической величины, заданное поверочной виброустановкой.

3.12 значение частоты установочного резонанса вибропреобразователя: Значение первой резонансной частоты пьезоэлектрического вибропреобразователя, установленного в соответствии с требованиями руководства по эксплуатации на него.

4 Операции поверки

4.1 При проведении поверки виброметров должны быть выполнены следующие операции:

- внешний осмотр (10.1);

- проверка электрического сопротивления изоляции измерительного прибора (согласующего усилителя, устройства питания и преобразования) виброметра (10.2);

- опробование (10.4);

- определение основной относительной погрешности виброметра1) (10.5);

- определение основной относительной погрешности виброметра при поэлементной поверке (10.6);

- проверка встроенных фильтров (10.7).

____________

1) При значениях виброускорений более 1·103 м/с2 допускается определять основную относительную погрешность измерительного прибора виброметра в рабочем диапазоне амплитуд электрическими методами (определение основной относительной погрешности виброметра при применении электрических методов поверки измерительного прибора виброметра приведено в приложении А).

Примечания

1 Электрическое сопротивление изоляции определяют только для виброметров с питанием от сети переменного тока.

2 Относительный коэффициент поперечного преобразования для индукционных вибропреобразователей в составе виброметров с электромеханической обратной связью не определяют.

3 Способ проведения поверки виброметра (комплектная или поэлементная) определяет заказчик.

4.2 При проведении поверки вибропреобразователей должны быть выполнены операции, указанные в таблице 1.

Таблица 1 - Операции при поверке вибропреобразователей

Наименование операции

Номер пункта настоящего стандарта

Обязательность проведения операции при поверке

первичной

периодической

1 Внешний осмотр

10.1

Да

Да

2 Проверка электрического сопротивления изоляции пьезоэлектрического вибропреобразователя

10.3

Да

Да

3 Опробование

10.4

Да

Да

4 Определение электрической емкости пьезоэлектрического вибропреобразователя

10.8

Да

Да

5 Проверка внутреннего сопротивления индукционного и вихретокового вибропреобразователей

10.9

Да

Да

6 Определение начального рабочего напряжения (тока) для вибропреобразователей с выходом по напряжению (току)

10.10

Да

Да

7 Определение действительного значения коэффициента преобразования вибропреобразователя

10.11

Да

Да

8 Определение относительного коэффициента поперечного преобразования пьезоэлектрического вибропреобразователя

10.12

Да

Нет

9 Определение неравномерности частотной характеристики вибропреобразователя

10.13

Да

Да

10 Определение нелинейности амплитудной характеристики вибропреобразователя

10.14

Да

Нет

11 Определение частоты установочного резонанса пьезоэлектрического вибропреобразователя

10.15

Да

Нет

12 Определение частоты поперечного резонанса пьезоэлектрического вибропреобразователя

10.16

Да

Нет

13 Определение основной относительной погрешности вибропреобразователя

10.17

Да

Да

14 Определение фазочастотной характеристики вибропреобразователя 1)

10.18

Нет

Нет

1) Определяют по требованию заказчика.

Примечания

1 Пьезоэлектрический вибропреобразователь с выходом по току поверяют только в комплекте с рекомендуемым руководством по эксплуатации источником питания и усилителем.

2 Пьезоэлектрический вибропреобразователь с выходом по напряжению поверяют только в комплекте с усилителем и источником питания, если он входит в состав вибропреобразователя.

3 Индукционный вибропреобразователь поверяют только в комплекте с измерительной цепью виброметра.

4 Вихретоковый вибропреобразователь поверяют только в комплекте с устройством преобразования (драйвером) и источником питания, если он входит в состав вибропреобразователя.

5 Периодическая поверка допускает при определении значения частоты установочного резонанса по 10.15 не определять неравномерность частотной характеристики пьезоэлектрического вибропреобразователя по 10.13, а при определении неравномерности частотной характеристики по 10.13 - не определять значение частоты установочного резонанса по 10.15.

6 Допускается проводить поверку пьезоэлектрического вибропреобразователя совместно с согласующим усилителем или вольтметром. В этом случае свидетельство о поверке выдают на поверяемый комплект «вибропреобразователь - согласующий усилитель заряда» или «вибропреобразователь - соединительный кабель - вольтметр», или «вибропреобразователь - соединительный кабель - согласующий усилитель напряжения».

5 Средства поверки

5.1 При проведении поверки виброметров и вибропреобразователей должны быть применены средства поверки, указанные в таблице 2.

Таблица 2 - Средства поверки виброметров и вибропреобразователей

Номер пункта настоящего стандарта

Наименование и тип основного или вспомогательного средства поверки; обозначение нормативного документа, устанавливающего технические требования, и (или) метрологические и основные технические характеристики средства поверки

10.1

-

10.2

Мегомметр по ГОСТ 23706

10.3

Мегомметр по ГОСТ 23706

10.4

Вторичный эталон единиц длины, скорости и ускорения при колебательном движении твердого тела или поверочная виброустановка по [2]

10.5, 10.6

Вторичный эталон единиц длины, скорости и ускорения при колебательном движении твердого тела или поверочная виброустановка по [2]

10.7

Генератор низкочастотный:

- частота 0,3 - 20000 Гц;

- коэффициент гармоник не более 0,3 %.

Вольтметр переменного тока (класс точности не ниже 1 %)

10.8

Измерительный мост переменного тока по ГОСТ 9486

10.9

Омметр по ГОСТ 23706

10.10

Источник напряжения постоянного тока (от 0 до 30 В);

вольтметр напряжения постоянного тока (класс точности не ниже 0,5);

миллиамперметр постоянного тока (класс точности не ниже 0,5)

10.11

Вторичный эталон единиц длины, скорости и ускорения при колебательном движении твердого тела или поверочная виброустановка по [2], или устройство для поверки вихретоковых вибропреобразователей в статическом режиме

10.12

Вторичный эталон единиц длины, скорости и ускорения при колебательном движении твердого тела или поверочная виброустановка по [2]

10.13

Вторичный эталон единиц длины, скорости и ускорения при колебательном движении твердого тела или поверочная виброустановка по [2]

10.14

Вторичный эталон единиц длины, скорости и ускорения при колебательном движении твердого тела или поверочная виброустановка по [2]

10.15

Вторичный эталон единиц длины, скорости и ускорения при колебательном движении твердого тела или поверочная виброустановка по [2], или стальной кубик массой 180-220 г с пьезоэлектрическим вибратором и низкочастотным измерительным генератором по [3], или установка типа «падающий шар», спектроанализатор

10.16

Вторичный эталон единиц длины, скорости и ускорения при колебательном движении твердого тела или поверочная виброустановка по [2], или стальной кубик массой 180-220 г с пьезоэлектрическим вибратором и низкочастотным измерительным генератором по ГОСТ 9486, или установка типа «падающий шар», спектроанализатор

10.17

Расчеты по результатам измерений

10.18

Вторичный эталон единиц длины, скорости и ускорения при колебательном движении твердого тела или поверочная виброустановка по [2], измеритель разности фаз по [3]

5.2 При поверке могут быть применены другие средства поверки, метрологические характеристики которых аналогичны указанным в таблице 2.

6 Требования к квалификации поверителей

6.1 К поверке виброметров и вибропреобразователей допускают лиц:

- прошедших обучение в установленном порядке и аттестованных в качестве поверителей;

- изучивших нормативные документы на поверяемые приборы и настоящий стандарт;

- имеющих опыт работы со средствами измерений параметров вибрации не менее одного года.

7 Требования безопасности

7.1 При проведении поверки должны быть соблюдены следующие требования безопасности:

- средства поверки и поверяемые виброметры и вибропреобразователи, а также вспомогательное оборудование должны иметь защитное заземление; не допускается использовать в качестве заземления корпусы силовых электрических и осветительных щитов и арматуру центрального отопления;

- лица, допущенные к поверке, должны пользоваться средствами индивидуальной защиты от акустического шума (наушниками), которые снижают уровень шума не менее чем на 20 дБ;

- помещение для проведения поверочных работ должно иметь звукоизоляцию в соответствии с требованиями ГОСТ 12.1.036;

- помещение для проведения поверочных работ должно соответствовать группе 2 или 3 по ГОСТ 12.1.003;

- меры безопасности при подготовке и проведении измерений должны соответствовать требованиям ГОСТ 12.2.007.0, правил по охране труда [4].

7.2 Установку и подключение средств поверки, поверяемых виброметров и вибропреобразователей, а также вспомогательного оборудования проводят при выключенном источнике питания.

8 Условия поверки

8.1 При проведении поверки должны быть соблюдены следующие условия:

- температура окружающего воздуха от 18 °С до 25 °С;

- относительная влажность воздуха от 45 % до 80 %;

- атмосферное давление не установлено;

- напряжение питания промышленной сети от 215,6 до 224,4 В;

- частота переменного напряжения промышленной сети от 49,5 до 50,5 Гц;

- уровень звукового давления не более 65 дБ;

- уровни внешних электрических и магнитных полей, а также воздействие вибрации в месте установки измерительного прибора виброметра, согласующих и измерительных средств вибропреобразователя не должны превышать норм, установленных нормативными документами на них.

9 Подготовка к поверке

9.1 Эталонные, рабочие и вспомогательные средства поверки подготавливают к поверке в соответствии с требованиями, установленными нормативными документами на них.

9.2 Поверяемый вибропреобразователь крепят к вибровозбудителю в соответствии с руководством по эксплуатации на виброметр или вибропреобразователь. При отсутствии соответствующих указаний в руководстве по эксплуатации вибропреобразователь крепят к вибровозбудителю согласно требованиям ГОСТ ИСО 5348.

9.3 Поверяемый вихретоковый вибропреобразователь крепят к вибровозбудителю с помощью кронштейна, конструкция которого должна обеспечивать:

- отсутствие механической связи с рабочей поверхностью вибростола вибровозбудителя поверочной виброустановки (далее - вибростол);

- надежное крепление вибропреобразователя;

- совпадение направления главной оси чувствительности вибропреобразователя с направлением колебаний вибростола;

- отсутствие резонансных явлений в полосе частот, в два раза превышающей рабочую полосу частот, контролируемое независимым устройством измерения вибрации (например, пьезоэлектрическим вибропреобразователем, установленным непосредственно на кронштейне).

9.4 Для обезжиривания рабочей поверхности вибростола и основания вибропреобразователя перед установкой его на вибростол используют этиловый спирт по ГОСТ 5963 из расчета 5 г на один вибропреобразователь.

9.5 Применяемые эталонные и вспомогательные средства поверки должны иметь действующие свидетельства о поверке.

10 Проведение поверки

10.1 Внешний осмотр

10.1.1 При внешнем осмотре устанавливают соответствие виброметра и вибропреобразователя следующим требованиям:

- отсутствие механических повреждений корпуса, соединительных кабелей и электрических разъемов, влияющих на работоспособность виброметра и вибропреобразователя;

- соответствие комплектности и маркировки требованиям, установленным в паспорте на виброметр и вибропреобразователь;

- контактирующая поверхность вибропреобразователя должна быть очищена от загрязнения и не иметь выступающих заусенцев;

- резьбовые части вибропреобразователя и электрических разъемов не должны иметь видимых повреждений;

- контакты защитного заземления виброметров с питанием от сети должны иметь механическую надежность;

- контакты для подключения аккумуляторов к виброметрам с питанием от аккумуляторов должны быть чистыми, надежными и не иметь повреждений.

10.1.2 В случае несоответствия виброметра или вибропреобразователя хотя бы одному из вышеуказанных требований поверку не проводят до устранения выявленных дефектов. Если дефекты устранить невозможно, виброметр или вибропреобразователь бракуют.

10.2 Проверка электрического сопротивления изоляции измерительного прибора (согласующего усилителя, устройства питания и преобразования) виброметра

10.2.1 Между контактом вилки кабеля сетевого питания и корпусом измерительного прибора (согласующего усилителя, устройства питания и преобразования) виброметра подключают мегомметр и измеряют электрическое сопротивление.

10.2.2 Значение электрического сопротивления изоляции при требуемом испытательном напряжении должно быть не менее указанного в паспорте прибора.

10.3 Проверка электрического сопротивления изоляции пьезоэлектрического вибропреобразователя

10.3.1 Проверку электрического сопротивления изоляции пьезоэлектрического вибропреобразователя проводят совместно с его соединительным кабелем.

Примечание - Электрическое сопротивление изоляции вибропреобразователей, имеющих встроенные электронные (функциональные) устройства, не определяют.

10.3.2 Перед проверкой электрического сопротивления изоляции снимают статический заряд с вибропреобразователя путем замыкания сигнального контакта соединительного кабеля с корпусом.

10.3.3 Вибропреобразователь с кабелем подключают к входу мегомметра. Измеряют электрическое сопротивление изоляции. После проведения измерений снимают статический заряд с вибропреобразователя путем замыкания сигнального контакта соединительного кабеля с корпусом.

10.3.4 Если значение электрического сопротивления изоляции менее значения, указанного в паспорте, то вибропреобразователь считают неисправным и его бракуют.

10.4 Опробование

10.4.1 Опробование поверяемого виброметра с пьезоэлектрическим и индукционным преобразователями или пьезоэлектрического и индукционного вибропреобразователей

10.4.1.1 Устанавливают вибропреобразователь на вибростол таким образом, чтобы направление главной оси чувствительности вибропреобразователя совпадало с направлением колебаний вибростола.

10.4.1.2 В соответствии с руководством по эксплуатации подключают вибропреобразователь соединительным кабелем к входу измерительной цепи.

10.4.1.3 Включают и прогревают приборы измерительной цепи и поверочной виброустановки.

10.4.1.4 С помощью измерительного прибора фиксируют уровень помех на выходе индукционного вибропреобразователя или согласующего усилителя пьезоэлектрического вибропреобразователя.

10.4.1.5 Подают напряжение от генератора через усилитель мощности на вибровозбудитель. Частота подаваемого напряжения не должна превышать 0,25 максимального значения рабочего диапазона частот поверяемого виброметра или вибропреобразователя.

10.4.1.6 Плавно увеличивают напряжение на подвижной катушке вибровозбудителя до тех пор, пока сигнал на выходе вибропреобразователя не превысит уровень помех на 20 дБ (в 10 раз), что служит критерием работоспособности виброметра и вибропреобразователя.

10.4.2 Опробование поверяемого виброметра с вихретоковым вибропреобразователем или вихретокового вибропреобразователя

10.4.2.1 Закрепляют на вибростоле образец металла, вибрацию которого вибропреобразователь должен преобразовывать в электрический сигнал. Крепление образца металла к вибростолу может быть выполнено клеевым (клей Циакрин, Super glue) или резьбовым (данный способ предпочтителен) способом. Плоскость образца металла должна быть перпендикулярна к направлению колебаний вибростола.

Примечание - Образец, применяемый для поверки вихретокового вибропреобразователя, изготавливают в форме диска толщиной от 6 до 8 мм и диаметром от 15 до 30 мм (но не менее двух диаметров измерительной катушки вибропреобразователя) из металла той же марки, что и марка металла, из которого изготовлена поверхность, вибрацию которой преобразует в электрический сигнал вибропреобразователь (например, сталь вала ротора турбины или генератора). Образец металла указанных выше размеров для поверки поставляет заказчик совместно с поверяемым виброметром или вибропреобразователем. Если эталонный вибропреобразователь находится на верхней поверхности вибростола, то образец металла укрепляют на верхней поверхности этого вибропреобразователя с помощью клеевого (клей Циакрин, Super glue) или резьбового соединения. Если используют эталонный вибропреобразователь, встроенный в вибростол, то металлический диск укрепляют непосредственно на верхней поверхности вибростола. Плоскость окружности закрепленного на вибростоле образца металла должна быть перпендикулярна к направлению колебаний вибростола.

10.4.2.2 Вихретоковый вибропреобразователь устанавливают на кронштейне над образцом металла на расстоянии, указанном в руководстве по эксплуатации, таким образом, чтобы направление главной оси чувствительности вибропреобразователя совпадало с направлением колебаний вибростола (при отсутствии рекомендаций в руководстве по эксплуатации по закреплению вихретокового преобразователя его устанавливают таким образом, чтобы плоскость чувствительности вибропреобразователя находилась на расстоянии 1-1,5 мм от образца металла).

10.4.2.3 В соответствии с руководством по эксплуатации подключают вихретоковый вибропреобразователь соединительным кабелем к входу измерительной цепи.

10.4.2.4 Включают и прогревают приборы измерительной цепи и поверочной виброустановки.

10.4.2.5 С помощью измерительного прибора фиксируют начальный уровень сигнала на выходе устройства преобразования(драйвера)вибропреобразователя.

10.4.2.6 Подают напряжение от генератора через усилитель мощности на вибровозбудитель. Частота подаваемого напряжения не должна превышать 0,25 максимального значения рабочего диапазона частот поверяемого виброметра или вибропреобразователя.

10.4.2.7 Плавно увеличивают напряжение на подвижной катушке вибровозбудителя до тех пор, пока уровень амплитуды сигнала на выходе устройства преобразования (драйвера) вибропреобразователя не превысит начальный уровень сигнала, определенный по 10.4.2.5, в 10 раз, что служит критерием работоспособности виброметра и вибропреобразователя.

10.4.3 При невыполнении условий, указанных в 10.4.1.6 и 10.4.2.7, виброметр или вибропреобразователь считают неисправным и его бракуют.

10.5 Определение основной относительной погрешности виброметра

10.5.1 Основную относительную погрешность виброметра рассчитывают по результатам определения относительной погрешности:

а) в рабочем диапазоне значений измеряемой физической величины;

б) в рабочем диапазоне частот.

10.5.2 Определение относительной погрешности виброметра в рабочем диапазоне значений измеряемой физической величины

10.5.2.1 Относительную погрешность в рабочем диапазоне значений (амплитудных, средних квадратических, средних значений, размаха) измеряемой физической величины (далее - измеряемые значения) определяют на базовой частоте в диапазоне от 10 до 1000 Гц (предпочтительные значения базовых частот 40, 80 и 160 Гц). Измерения проводят не менее чем при пяти измеряемых значениях, равномерно распределенных по диапазону. Одно из измеряемых значений должно быть равно минимальному измеряемому значению диапазона для данного виброметра, другое - максимальному.

Примечание - Если позволяют технические возможности вибровозбудителя, то измерения проводят на базовой частоте, установленной для вибропреобразователя данного типа. Если такая возможность отсутствует, необходимое виброускорение воспроизводят на одной из частот рабочего диапазона частот виброметра, на которой требуемое виброускорение достижимо, или воспроизводят на поверочной виброустановке резонансного типа

10.5.2.2 Устанавливают вибропреобразователь виброметра на вибростол таким образом, чтобы направление главной оси чувствительности вибропреобразователя совпадало с направлением колебаний вибростола. В соответствии с руководством по эксплуатации подключают вибропреобразователь соединительным кабелем к входу измерительной цепи виброметра. Включают и прогревают приборы измерительной цепи виброметра и поверочной виброустановки.

Для определения относительной погрешности виброметра с вихретоковым вибропреобразователем в рабочем диапазоне измеряемых значений выполняют операции по 10.4.2.1. Вихретоковый вибропреобразователь виброметра устанавливают на специальном кронштейне над образцом металла на расстоянии, указанном в руководстве по эксплуатации, таким образом, чтобы направление главной оси чувствительности вибропреобразователя совпадало с направлением колебаний вибростола (при отсутствии в руководстве по эксплуатации рекомендаций по закреплению вихретокового преобразователя его устанавливают таким образом, чтобы плоскость чувствительности вибропреобразователя находилась от образца металла на расстоянии, равном половине диапазона измеряемого параметра, указанного в эксплуатационной документации). Кронштейн устанавливают и закрепляют на корпусе вибровозбудителя. В соответствии с руководством по эксплуатации подключают вибропреобразователь соединительным кабелем к входу измерительной цепи виброметра. Включают и прогревают приборы измерительной цепи виброметра и поверочной виброустановки.

10.5.2.3 Задают с помощью поверочной виброустановки действительное значение физической величины  (виброускорение или виброскорость, или виброперемещение), и считывают показания с измерительного прибора виброметра

Примечания

1 Как правило, при поверке виброметра с пьезоэлектрическим вибропреобразователем задают виброускорение, с индукционным - виброскорость, с вихретоковым - виброперемещение.

2 Если виброметр укомплектован пьезоэлектрическим вибропреобразователем, но имеет встроенные интеграторы и шкалы отсчета виброскорости и (или) виброперемещения, то значение виброскорости VД, мм/с, задаваемое с помощью поверочной виброустановки, вычисляют по формуле

                                                                                                                                                      (1)

а значение виброперемещения SД, мкм, - по формуле

                                                                                                                                                   (2)

где аД - действительное значение виброускорения, м/с2;

VД - действительное значение виброскорости, мм/с;

SД - действительное значение виброперемещения, мкм;

f - частота задаваемых с помощью поверочной виброустановки колебаний, Гц;

π 3,1416.

3 Числовые значения аД, VД, SД должны выражать амплитудные, средние квадратические, средние значения или размахи измеряемой физической величины (виброускорения, виброскорости или виброперемещения) в зависимости от измеряемого виброметром параметра вибрации.

4 Рекомендуется при каждом значении задаваемой физической величины  проводить считывание показаний измерительного прибора виброметра  не менее трех раз, определять среднее арифметическое показание измерительного прибора виброметра и применять его в дальнейших расчетах.

10.5.2.4 По результатам измерений при i-м значении задаваемой с помощью поверочной виброустановки физической величины определяют разность измеренного и действительного значений, единица физической величины

                                                                                                          (3)

и относительную разность, %

                                                                                                              (4)

10.5.2.5 За относительную погрешность виброметра в рабочем диапазоне измеряемых значений физической величины δА, %, принимают максимальное значение, вычисленное по формуле (4)

                                                                                                               (5)

Примечание - Если для виброметра нормируют основную приведенную погрешность, то погрешность в рабочем диапазоне измеряемых значений физической величины , %, определяют по формуле

                                                                                                                                                  (6)

где AN - нормирующее значение шкалы диапазона виброметра (например, верхнее предельное значение шкалы диапазона виброметра, на котором проводят измерения), м/с2, мм/с, мкм.

За приведенную погрешность виброметра в рабочем диапазоне измеряемых значений физической величины , %, принимают максимальное значение, вычисленное по формуле (6)

                                                                                                                                                  (7)

Если шкала поверяемого виброметра градуирована в децибелах, то разность относительных значений , дБ, определяют по формуле

                                                                                                           (8)

где  - выраженное в децибелах показание измерительного прибора виброметра;

 =  - выраженное в децибелах действительное значение измеряемой величины;

А0 - нулевой уровень воспроизводимой физической величины.

Примечание - Значение нулевого уровня измеряемой физической величины должно быть указано в руководстве по эксплуатации на виброметр. При отсутствии данных о нулевом уровне в руководстве по эксплуатации на виброметр нулевой уровень нормируют по стандарту [5] (для виброускорения нулевой уровень равен 1·10-6 м/с2, для виброскорости - 5·10-8 м/с).

За погрешность виброметра, выраженную в децибелах, в рабочем диапазоне измеряемых значений физической величины  принимают максимальное значение, дБ, вычисленное по формуле (8)

                                                                                                                (9)

10.5.2.6 Если поверяемый виброметр предназначен для измерений виброускорения, виброскорости и виброперемещения, то погрешность виброметра определяют для каждой физической величины.

Если в комплект виброметра входят несколько вибропреобразователей и в виброметре предусмотрена индивидуальная регулировка коэффициента передачи для каждого вибропреобразователя, то операции по 10.5.2.2 - 10.5.2.5 проводят для каждого вибропреобразователя.

10.5.2.7 Если в комплект виброметра входят несколько вибропреобразователей и в виброметре не предусмотрена индивидуальная регулировка коэффициента передачи, а результат измерений определяют с помощью индивидуального поправочного коэффициента для каждого вибропреобразователя, то относительную разность , %, вычисляют по формуле

                                                                                                 (10)

 - поправочный коэффициент;

 - действительное значение коэффициента преобразования вибропреобразователя, условно принятого за основной;

 - действительное значение коэффициента преобразования n-го вибропреобразователя;

 - результат измерения физической величины вибропреобразователем, условно принятым за основной, при базовом значении физической величины (например, 10 м/с2);

 - показание виброметра при базовом значении физической величины с n-м вибропреобразователем;

Ani - показание виброметра при /-м значении воспроизводимой физической величины с n-м вибропреобразователем.

Относительную погрешность виброметра в рабочем диапазоне измерений физической величины определяют по формуле (5).

Если величины, входящие в формулу (10), выражены в децибелах, то относительную разность , дБ, вычисляют по формуле

                                                                                                  (11)

где  - поправочный коэффициент, дБ;

 - результат измерения физической величины вибропреобразователем, условно принятым за основной, при базовом значении физической величины, дБ;

 - показание виброметра с n-м вибропреобразователем при базовом значении физической величины, дБ;

 - показание виброметра при i-м значении воспроизводимой физической величины с n-м вибропреобразователем, дБ.

Погрешность виброметра, выраженную в децибелах, в рабочем диапазоне измерений физической величины определяют по формуле (9).

10.5.2.8 Виброметр с цифровым выходом измеряемой величины должен иметь выходной сигнал, соответствующий требованиям ГОСТ 30296.

Допускается определять только с одним вибропреобразователем относительную или приведенную погрешность виброметра в рабочем диапазоне измерений каждой физической величины и каждого из значений (амплитудного, среднего, среднего квадратического значений, размаха) физической величины. С остальными вибропреобразователями, входящими в комплект виброметра, относительную или приведенную погрешность допускается определять только при одном значении физической величины.

10.5.3 Определение относительной погрешности виброметра в рабочем диапазоне частот

10.5.3.1 Относительную погрешность в рабочем диапазоне частот определяют при постоянных значениях физической величины (виброускорения, виброскорости, виброперемещения) на десяти или более значениях частот, находящихся в пределах рабочего диапазона частот виброметра или в непрерывном спектре частот. При этом два значения частоты должны быть в начале диапазона и два - в конце диапазона, а также обязательно наличие нижнего и верхнего значений частот рабочего диапазона.

Значения частот выбирают из ряда: 0,1; 0,125; 0,16; 0,2; 0,25; 0,315; 0,4; 0,5; 0,63; 0,8; 1; 1,25; 1,6; 2; 2,5; 3,15; 4; 5; 6,3; 8; 10; 12,5; 16; 20; 25; 31,5; 40; 50; 63; 80; 100; 125; 160; 200; 250; 315; 400; 500; 630; 800; 1000; 1250; 1600; 2000; 2500; 3150; 4000; 5000; 6300; 8000; 10000; 12500; 16000; 20000 Гц.

Допускается отклонение значения частот от значений указанного ряда при сохранении интервала между отдельными частотами не менее октавы.

Первичную поверку виброметра проводят на частотах третьоктавного ряда. Периодическую поверку допускается проводить на частотах октавного ряда.

10.5.3.2 На частотах более 20 Гц задаваемое с помощью поверочной виброустановки значение амплитуды виброускорения должно быть не менее 10 м/с2, амплитуды виброскорости - не менее 10 мм/с, амплитуды виброперемещения - не менее 5 мкм.

На частотах менее 20 Гц максимальное значение задаваемого виброускорения (виброскорости, виброперемещения) зависит от технической возможности поверочной виброустановки.

10.5.3.3 Выполняют операции, предусмотренные 10.5.2.2. Встроенные фильтры виброметра должны быть отключены. Если отсутствует возможность отключения встроенных фильтров, то поверку проводят со встроенными фильтрами, а проверку фильтров в соответствии с методикой, изложенной в 10.7, не проводят.

10.5.3.4 Задают с помощью поверочной виброустановки на базовой частоте fбаз действительное значение физической величины (виброускорения, виброскорости, виброперемещения) Адбаз не менее указанного в 10.5.3.2 (см. примечания к 10.5.2.3). Считывают показания измерительного прибора виброметра АВбаз. По результатам измерений на базовой частоте fбаз определяют поправку Δбаз, которая равна разности измеренного виброметром АВбаз и действительного Адбаз значений:

Δбаз = АВбаз - Адбаз.                                                                                                       (12)

При наличии в конструкции виброметра регулировочного элемента выставляют по шкале поверяемого прибора точное действительное значение задаваемой физической величины Адбаз. В этом случае поправка Δбаз = 0.

10.5.3.5 Последовательно на частотах ряда, указанного в 10.5.3.1, задают с помощью поверочной виброустановки действительное значение физической величины  (виброускорения, виброскорости, виброперемещения), не менее указанного в 10.5.3.2 (см. примечания к 10.5.2.3). Считывают показания с измерительного прибора виброметра . Рекомендуется на каждой частоте диапазона проводить не менее трех измерений, определять среднее арифметическое значение результатов трех измерений и использовать его в дальнейших расчетах относительной погрешности виброметра в рабочем диапазоне частот.

10.5.3.6 По результатам измерений при значении частоты fi определяют разность измеренного и действительного значений Δfi с учетом поправки Δбаз, единица физической величины

                                                                                               (13)

и относительную разность  %

                                                                                                                    (14)

10.5.3.7 За относительную погрешность виброметра в рабочем диапазоне частот δf принимают максимальное значение, %, вычисленное по формуле (14)

                                                                                                                (15)

10.5.3.8 Если шкала поверяемого виброметра градуирована в децибелах, то относительную погрешность виброметра  при значении частоты fi дБ, определяют по формуле

                                                                                               (16)

где  - измеренное виброметром значение физической величины на i-й частоте, дБ;

 - действительное значение задаваемой физической величины, дБ,

 - поправка, определенная на базовой частоте, дБ.

За относительную погрешность виброметра в рабочем диапазоне частот принимают максимальное значение  дБ

                                                                                                                (17)

10.5.3.9 Если действительное значение задаваемой физической величины изменяется в зависимости от частоты, то относительную разность измеренного и действительного значений , %, определяют по формуле

                                                                                 (18)

где  - поправочный коэффициент.

Примечание - Если поправка Δбаз = 0, то поправочный коэффициент  не применяют.

Если шкала поверяемого виброметра градуирована в децибелах, разность измеренного и действительного значений на i-й частоте , при условии отличия значения задаваемой физической величины  от значения на базовой частоте, дБ, вычисляют по формуле

                                                                                      (19)

где

10.5.3.10 Если конструкцией виброметра предусмотрено измерение нескольких параметров вибрации (например, амплитуды и среднего квадратического значения), то относительную погрешность виброметра в рабочем диапазоне частот определяют для каждого значения измеряемого параметра. Если виброметр укомплектован несколькими вибропреобразователями, то операции по определению погрешности виброметра в рабочем диапазоне частот проводят для каждого вибропреобразователя.

10.5.4 Определение границ основной относительной погрешности виброметра

10.5.4.1 По результатам измерений по 10.5.2 и 10.5.3 определяют границы основной относительной погрешности виброметра δВ, %, при доверительной вероятности 0,95 по формуле

                                                                                             (20)

где δЭТ - доверительная погрешность поверочной виброустановки, с помощью которой проведена поверка виброметра.

Примечания

1 Границы основной относительной погрешности виброметра δВ в рабочем диапазоне измерений физической величины на базовой частоте, %, при доверительной вероятности 0,95 рассчитывают по формуле

                                                                                                                                        (21)

2 Если нормируют основную приведенную погрешность виброметра, то границы основной приведенной погрешности виброметра 8В, %, в рабочих диапазонах измерений физической величины и частот при доверительной вероятности 0,95 определяют по формуле

                                                                                                                         (22)

3 Если шкала поверяемого виброметра градуирована в децибелах, то основную относительную погрешность δдБ рассчитывают в децибелах, при этом составляющую погрешности, выраженную в процентах 5%, переводят в погрешность выраженную в децибелах, по формуле

10.5.4.3 Границы основной относительной погрешности виброметра, рассчитанные по формуле (20), или основной приведенной погрешности, рассчитанные по формуле (22), не должны превышать значений, указанных в паспорте на виброметр.

10.6 Определение основной относительной погрешности виброметра при поэлементной поверке

10.6.1 При поэлементной поверке виброметра основную относительную погрешность рассчитывают после определения неравномерности амплитудно-частотной характеристики (далее - АЧХ) измерительного прибора виброметра по 10.6.2 и определения основной погрешности вибропреобразователя, входящего в состав виброметра, по 10.17.

10.6.2 Определение неравномерности амплитудно-частотной характеристики измерительного прибора виброметра

10.6.2.1 Неравномерность АЧХ измерительного прибора виброметра определяют при поэлементной поверке виброметра с пьезоэлектрическим вибропреобразователем.

10.6.2.2 Неравномерность АЧХ измерительного прибора виброметра определяют не менее чем при десяти или более значениях частот, находящихся в пределах рабочего диапазона частот виброметра или в непрерывном спектре частот. При этом два значения частоты должны быть в начале диапазона и два - в конце диапазона, а также обязательно наличие нижнего и верхнего значений частот рабочего диапазона.

Значения частот выбирают из ряда, указанного в 10.5.3.1.

10.6.2.3 При определении АЧХ измерительного прибора виброметра на его вход подают сигнал на базовой частоте от низкочастотного измерительного генератора. Значение напряжения, подаваемого на вход измерительного прибора виброметра, должно соответствовать значениям виброускорения, виброскорости и виброперемещения, задаваемым на базовой частоте при определении относительной погрешности виброметра по 10.5.3.4. Считывают показания измерительного прибора виброметра . Рекомендуется на каждой частоте диапазона проводить не менее трех измерений, определять среднее арифметическое значение результатов трех измерений и его применять в дальнейших расчетах относительной погрешности виброметра в рабочем диапазоне частот.

Примечания

1 В случае использования генератора без измерительной системы напряжение на выходе генератора контролируют вольтметром переменного тока.

2 При определении неравномерности АЧХ измерительного прибора виброметра с пьезоэлектрическим вибропреобразователем сигнал от низкочастотного генератора подают на вход согласующего усилителя через разделительный конденсатор, емкость которого с погрешностью ± 5 % равна емкости пьезоэлектрического вибропреобразователя с соединительным кабелем, а сопротивление изоляции не менее 1·1010 Ом.

3 При определении неравномерности АЧХ измерительного прибора виброметра с пьезоэлектрическим вибропреобразователем с токовым выходом сигнал от низкочастотного генератора подают на вход усилителя (при возможности) или измерительного прибора.

4 При определении неравномерности АЧХ измерительного прибора виброметра с пьезоэлектрическим вибропреобразователем с выходом по напряжению сигнал от низкочастотного генератора подают на вход усилителя.

5 При определении неравномерности АЧХ измерительного прибора виброметра с индукционным и вихретоковым вибропреобразователями сигнал от низкочастотного генератора подают на вход измерительного прибора.

10.6.2.4 Изменяют частоту сигнала, подаваемого на вход измерительного прибора виброметра, от нижнего значения рабочего диапазона частот виброметра до верхнего в соответствии с рекомендациями 10.6.2.2 и считывают показания измерительного прибора виброметра. Значение напряжения сигнала, подаваемого на вход измерительного прибора виброметра, при изменении частоты должно быть постоянным и равным значению, определенному по 10.6.2.3. Определяют отклонение показаний измерительного прибора виброметра на заданной частоте от показания на базовой частоте  по формуле, единица физической величины

                                                                                                      (23)

и относительное отклонение , % -

                                                                                                           (24)

где  - показание измерительного прибора виброметра на базовой частоте;

 - показание измерительного прибора виброметра на заданной частоте из диапазона, указанного в 10.6.2.2.

10.6.2.5 За неравномерность АЧХ измерительного прибора виброметра γИП, %, принимают максимальное абсолютное значение, вычисленное по формуле (24)

                                                                                                             (25)

10.6.2.6 Если шкала измерительного прибора виброметра градуирована в децибелах, то неравномерность АЧХ,  определяют по формуле

                                                                                         (26)

где  - показание измерительного прибора виброметра на базовой частоте, дБ;

 - показание измерительного прибора виброметра на заданной частоте из диапазона, указанного в 10.6.2.2, дБ.

10.6.2.7 При измерении виброметром различных значений параметров вибрации (амплитудного, среднего квадратического, среднего значения, размаха) допускается определение неравномерности АЧХ измерительного прибора виброметра только для одного из значений параметра.

Если виброметр укомплектован вибропреобразователями нескольких типов, то неравномерность АЧХ измерительного прибора виброметра определяют для подключаемого вибропреобразователя каждого типа, если при изменении типа подключаемого вибропреобразователя изменяются параметры измерительной цепи виброметра (например, изменяется емкость применяемого разделительного конденсатора).

10.6.2.8 Значение неравномерности АЧХ измерительного прибора виброметра не должно превышать значений, указанных в паспорте виброметра.

10.6.3 Границы основной относительной погрешности виброметра при поэлементной поверке , %, при доверительной вероятности 0,95 определяют по формуле

                                                                                  (27)

где δВИП - доверительная погрешность вибропреобразователя, границы которой определены по формуле (46) или (48), %;

δНГ - границы погрешности низкочастотного измерительного генератора при задании напряжения, %.

Примечание - В случае использования вольтметра переменного тока (см. примечание 1 к 10.6.2.3) для контроля выходного напряжения генератора границы основной относительной погрешности виброметра при поэлементной поверке , %, при доверительной вероятности 0,95 определяют по формуле

                                                                                                           (28)

где δВПТ - границы погрешности вольтметра переменного тока, %.

10.6.4 Границы основной относительной погрешности виброметра, рассчитанные по формуле (27) или (28), не должны превышать значений, указанных в паспорте виброметра.

10.7 Проверка встроенных фильтров

10.7.1 Проверку фильтров проводят для виброметров, имеющих отключаемые встроенные в измерительный прибор полосовые фильтры (в том числе, октавные, третьоктавные). Проверку выполняют при включенных полосовых фильтрах.

Проверяемые параметры фильтров и порядок их определения приведены в приложении Б.

10.8 Определение электрической емкости пьезоэлектрического вибропреобразователя

10.8.1 Электрическую ёмкость пьезоэлектрических вибропреобразователей определяют при отсутствии в их составе встроенных электронных устройств. Если пьезоэлектрический вибропреобразователь имеет неразъемное соединение с кабелем, то определяют емкость вибропреобразователя вместе с неразъемным кабелем. В этом случае емкостью вибропреобразователя считают его суммарную емкость с неразъемным кабелем.

10.8.2 Для определения электрической емкости пьезоэлектрического вибропреобразователя его подключают соединительным кабелем к входу низкочастотного измерительного моста переменного тока. Измеряют электрическую емкость вибропреобразователя с кабелем. Затем отсоединяют кабель от вибропреобразователя и определяют емкость кабеля. Емкость вибропреобразователя есть разность между результатами первого и второго измерений.

10.8.3 Значение емкости вибропреобразователя должно соответствовать значению, указанному в паспорте на вибропреобразователь.

10.9 Проверка внутреннего сопротивления индукционного и вихретокового вибропреобразователей

10.9.1 К контактам разъема, соединенным с сигнальной катушкой индукционного и вихретокового вибропреобразователей, подключают омметр и измеряют внутреннее сопротивление сигнальной катушки.

10.9.2 Значение сопротивления сигнальной катушки должно соответствовать значению, указанному в паспорте на вибропреобразователь.

10.10 Определение начального рабочего напряжения (тока) для вибропреобразователей с выходом по напряжению (току)

10.10.1 Начальное рабочее напряжение (ток) вибропреобразователей с выходом по напряжению (току) определяют при отсутствии в комплекте усилителя-возбудителя, с выхода которого снимают напряжение, пропорциональное измеряемому параметру физической величины на входе вибропреобразователя (например, драйвера или адаптера).

10.10.2 Для определения начального рабочего напряжения (тока) подключают вибропреобразователь с выходом по напряжению (току) к источнику питания в соответствии с требованиями руководства по эксплуатации.

Обобщенная схема подключения вибропреобразователя с выходом по напряжению (току) представлена на рисунке 1. К токовому выходу подключают нагрузочный резистор Rнагр, миллиамперметр мА, а к выходу по напряжению - вольтметр В. Значение электрического сопротивления нагрузочного резистора должно соответствовать паспортным данным (руководства по эксплуатации).

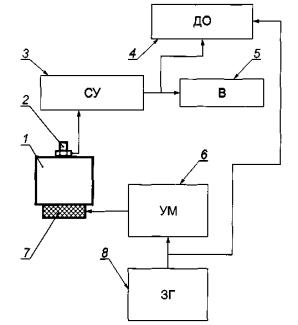
1 - вибропреобразователь; 2 - вольтметр; 3 - нагрузочный резистор; 4 - миллиамперметр; 5 - блок питания (БП)

Рисунок 1 - Обобщенная схема для определения начального рабочего напраяжения (тока) вибропреобразователей с выходом по напряжению (току)

10.10.2 Устанавливают и подают на вибропреобразователь указанное в паспорте напряжение питания и измеряют значение начального рабочего тока Iсм и начального рабочего напряжения UCM на выходе вибропреобразователя.

10.10.3 Значение начального рабочего напряжения (тока) вибропреобразователей должно соответствовать значению, указанному в паспорте вибропреобразователя

10.11 Определение действительного значения коэффициента преобразования вибропреобразователя

10.11.1 Поверяемый вибропреобразователь устанавливают на вибростол таким образом, чтобы направление главной оси чувствительности вибропреобразователя совпадало с направлением колебаний вибростола. Поверяемый вибропреобразователь закрепляют на вибростоле поверочной виброустановки в соответствии с требованиями, установленными в руководстве по эксплуатации (для пьезоэлектрических вибропреобразователей должны быть выполнены требования ГОСТ ИСО 5348). Для индукционных и пьезоэлектрических вибропреобразователей предпочтительно крепление с помощью резьбовых соединений (шпилька, крепление фланца вибропреобразователя с помощью болтов), для вихретоковых - с помощью специального кронштейна для закрепления над вибростолом вибровозбудителя (см. 10.4.2).

10.11.2 В соответствии с руководством по эксплуатации подключают вибропреобразователь соединительным кабелем к вторичным приборам. Включают и прогревают вторичные приборы, а также измерительные и технические средства поверочной виброустановки.

Выход пьезоэлектрического вибропреобразователя без встроенных согласующих электронных устройств подключают соединительным кабелем к входу согласующего усилителя, выход последнего - к входу вольтметра. Пьезоэлектрический вибропреобразователь с выходом по напряжению подключают непосредственно к вольтметру, с выходом по току - к миллиамперметру.

Индукционный вибропреобразователь подсоединяют непосредственно к вольтметру. Вихретоковый вибропреобразователь подсоединяют к вольтметру через устройство преобразования (драйвер). Вибропреобразователь с выходом по току подключают к вольтметру по схеме, приведенной на рисунке 1.

В зависимости от типа вибропреобразователя на вибростоле поверочной виброустановки задают действительное значение физической величины:

- для пьезоэлектрического вибропреобразователя - виброускорение ад с амплитудой не менее 10 м/с2 на частоте от 20 до 1000 Гц (предпочтительна базовая частота, указанная в паспорте вибропреобразователя);

- для индукционного вибропреобразователя - виброскорость Vд с амплитудой не менее 10 мм/с на базовой частоте от 5 до 200 Гц;

- для вихретокового вибропреобразователя в динамическом режиме - виброперемещение Sд с амплитудой не менее 50 мкм на базовой частоте от 20 до 160 Гц.

10.11.3 Считывают показания вольтметра. Рекомендуется при определении коэффициента преобразования на каждой частоте при использовании поверочной виброустановки с неавтоматизированной обработкой информации проводить не менее трех измерений, автоматизированной установки - не менее 12, среднее арифметическое значение результатов измерений использовать в дальнейших расчетах.

10.11.4 Действительное значение коэффициента преобразования Kд, мВ/мс-2 (с соединительным кабелем и согласующим усилителем), для пьезоэлектрического вибропреобразователя определяют по формуле

                                                                                                                  (29)

где Uсу - показание вольтметра, подключенного к выходу согласующего усилителя, мВ;

ад - виброускорение, задаваемое поверочной виброустановкой, м/с2.

Если действительное значение коэффициента преобразования пьезоэлектрического вибропреобразователя Kд должно быть выражено в единицах заряда, пКл /(м·с-2), его вычисляют по формуле

                                                                                                              (30)

где Ксу - коэффициент передачи согласующего усилителя, мВ/пКл.

Для индукционного вибропреобразователя действительное значение коэффициента преобразования Кд, мВ/(мм·с-1), вычисляют по формуле

                                                                                                                    (31)

где Uv - показание вольтметра, подключенного к выходу индукционного вибропреобразователя, мВ;

Vд - виброскорость, задаваемая поверочной виброустановкой, мм/с.

Для вихретокового вибропреобразователя с устройством преобразования (драйвером) действительное значение коэффициента преобразования Кд, мВ/мкм, вычисляют по формуле

                                                                                                                    (32)

где Us - показание вольтметра, подключенного к выходу вихретокового вибропреобразователя с устройством преобразования (драйвером), мВ;

SД - виброперемещение, задаваемое поверочной виброустановкой, мкм.

Действительное значение коэффициента преобразования вибропреобразователя, имеющего выходной унифицированный сигнал постоянного (переменного) тока Kд, мА/единица физической величины, вычисляют по формуле

                                                                                                            (33)

где АД - действительное значение воздействующей на вибропреобразователь физической величины (виброускорения, м/с2, виброскорости, мм/с, виброперемещения, мкм);

IA, IСМ - измеренное значение тока на выходе вибропреобразователя и тока смещения, мА.

10.11.5 Действительное значение коэффициента преобразования вихретокового вибропреобразователя, вычисленное по формуле (32) и относящееся к режиму измерения виброперемещений, принимают одним и тем же для измерения медленно меняющихся (квазистатических) перемещений и статических положений (зазоров).

Примечание - Допускается определение действительного значения коэффициента преобразования вихретокового вибропреобразователя статическим методом по формуле (32). В этом случае действительное значение виброперемещения SД заменяют на действительное значение статического положения (зазора) SCT, которое задают с помощью устройства для поверки вихретоковых вибропреобразователей в статическом режиме.

10.11.6 Если действительное значение коэффициента преобразования пьезоэлектрического вибропреобразователя более 100 мВ/(м·с-2) [пКл/(м·с-2)], то допускается его определение при меньших значениях виброускорений, обеспечивающих работу согласующего усилителя без перегрузки по входу (выходу).

Если действительное значение коэффициента преобразования пьезоэлектрического вибропреобразователя менее 0,1 мВ/(м·с-2) [пКл/(м·с-2)], то его определяют на базовой частоте от 80 до 1000 Гц при виброускорении 100 м/с2 или более.

10.11.7 Относительную разность между действительным значением коэффициента преобразования Kд, определенным по одной из формул (29) - (33), и номинальным значением Kн, указанным в паспорте вибропреобразователя δKД, % , определяют по формуле

                                                                                                   (34)

10.11.8 Относительная разность между действительным значением коэффициента преобразования и номинальным значением δКД не должна превышать пределов допускаемого отклонения, указанных в паспорте вибропреобразователя.

10.12 Определение относительного коэффициента поперечного преобразования пьезоэлектрического вибропреобразователя

10.12.1 Относительный коэффициент поперечного преобразования пьезоэлектрического вибропреобразователя определяют на фиксированной частоте от 10 до 200 Гц. Поверяемый вибропреобразователь устанавливают на вибростол поверочной виброустановки с помощью специального устройства таким образом, чтобы главная ось его чувствительности была перпендикулярна к направлению колебаний; соединяют выход вибропреобразователя с входом согласующего усилителя, выход последнего - с вольтметром.

Специальное устройство должно обеспечивать поворот вибропреобразователя вокруг его оси чувствительности на 360° с интервалом не более 30°.

10.12.2 Вибростолу задают виброускорение ад от 20 до 50 м/с2 на частоте от 10 до 200 Гц. Значение виброускорения для пьезоэлектрических вибропреобразователей не должно превышать предельно допустимых значений в поперечном направлении. Значение виброускорения ад выбирают таким образом, чтобы при направлении вибрации вибростола, совпадающем с направлением максимума коэффициента поперечной чувствительности вибропреобразователя, отношение значения измеренного на выходе согласующего усилителя напряжения к значению шума на его выходе было не менее 14 дБ ( 5 раз). Считывают показания вольтметра U'i для каждого положения вибропреобразователя, соответствующего повороту вокруг оси чувствительности на 0°, 30°, 60°, 90°, 120°, 150°, 180°, 210°, 240°, 270°, 300°, 330°. Повторяют процедуру еще раз и считывают показания вольтметра U"i. Вычисляют среднее арифметическое значение показаний вольтметра Ui cp, мВ, по формуле

Ui cp = 0,5(U'i + U"i).                                                                                                    (35)

Относительный коэффициент поперечного преобразования Kоп, для каждого положения вибропреобразователя, %, вычисляют по формуле

                                                                                                 (36)

где Кд - действительное значение коэффициента преобразования вибропреобразователя, определенное по формуле (30) при том же значении базовой частоты, что и при определении относительного коэффициента поперечного преобразования, пКл/(м·с-2).

Если действительное значение коэффициента преобразования вибропреобразователя определяют по формуле (29), то относительный коэффициент поперечного преобразования , %, для каждого положения вибропреобразователя вычисляют по формуле

                                                                                                        (37)

10.12.3 В качестве относительного коэффициента поперечного преобразования Коп принимают максимальное значение, %, вычисленное по формуле (36) или (37)

                                                                                                          (38)

10.12.4 Если для определения относительного коэффициента поперечного преобразования вибропреобразователя применяют специализированный поверочный вибростенд, который позволяет вращать вибропреобразователь вокруг оси, перпендикулярной к направлению колебаний, непрерывно поддерживая заданное виброускорение, то выполняют следующие операции.

Примечание - Специализированный поверочный вибростенд должен обеспечивать требования по частоте и виброускорению, предъявляемые в 10.12.2.

10.12.4.1 Поверяемый вибропреобразователь устанавливают на вибростол поверочной виброустановки таким образом, чтобы главная ось его чувствительности совпадала с направлением колебаний. Соединяют выход вибропреобразователя с входом согласующего усилителя, выход последнего - с вольтметром. Вибростолу задают виброускорение ад. Считывают показания вольтметра U0.

10.12.4.2 Поверяемый вибропреобразователь устанавливают на вибростол поверочной виброустановки таким образом, чтобы главная ось его чувствительности была перпендикулярна к направлению колебаний. Соединяют выход вибропреобразователя с входом согласующего усилителя, выход последнего - с вольтметром. Вибростолу задают ускорение ад. Вращая поверяемый вибропреобразователь вокруг оси на 360°, считывают максимальное показание вольтметра U'imax. Повторяют процедуру еще раз и считывают показания вольтметра U"imax. Вычисляют среднее арифметическое значение показаний вольтметра U'i max и U"i max мB, по формуле

Uср = 0,5 (U'i max + U"i max).                                                                                          (39)

Относительный коэффициент поперечного преобразования Kоп, %, вибропреобразователя вычисляют по формуле

                                                                                                     (40)

где KСУ о - коэффициент передачи согласующего усилителя при совпадающем положении оси чувствительности вибропреобразователя с направлением колебаний, мВ/пКл;

Kсу п - коэффициент передачи согласующего усилителя при перпендикулярном положении оси чувствительности вибропреобразователя к направлению колебаний, мВ/пКл.

10.12.5 Значения Коп, определенные по формулам (38) и (40), не должны превышать значений, указанных в паспорте вибропреобразователя.

10.13 Определение неравномерности частотной характеристики вибропреобразователя

10.13.1 Неравномерность частотной характеристики (ЧХ) определяют на частотах третьоктавного ряда, указанных в 10.5.3.1, в рабочем диапазоне частот при следующих значениях физической величины:

- для пьезоэлектрических вибропреобразователей амплитуда виброускорения должна быть не менее 10 м/с2.

Примечание - На частотах, где технически невозможно получить указанное ускорение, коэффициент преобразования определяют при ускорениях, достижимых для вибровозбудителя, с коэффициентом гармоник движения вибростола не более 10 %;

- для индукционных вибропреобразователей амплитуда виброскорости должна быть не менее 10 мм/с;

- для вихретоковых вибропреобразователей амплитуда виброперемещения должна быть не менее 5 мкм в диапазоне частот от 5 до 400 Гц и не менее 1 мкм в диапазоне частот от 500 до 1000 Гц.

Частотный ряд, в котором определяют неравномерность ЧХ, должен включать в себя нижнее и верхнее значения частот рабочего диапазона вибропреобразователя. Первичную поверку вибропреобразователя проводят на частотах третьоктавного ряда. Периодическую поверку допускается проводить на частотах октавного ряда.

10.13.2 Устанавливают поверяемый вибропреобразователь на вибростол поверочной виброустановки и подключают его в соответствии с требованиями 10.11.1 и 10.11.2. Задают значение физической величины последовательно на частотах рабочего диапазона вибропреобразователя и отсчитывают по вольтметру значения Ui, напряжений. Для каждого значения частоты вычисляют значение коэффициента преобразования по формулам (29) - (33) в зависимости от типа вибропреобразователя. Используя полученные значения коэффициентов преобразования , вычисляют их отклонения γi от действительного значения коэффициента преобразования Кд, %, определенного на базовой частоте в соответствии с требованиями 10.11.4, на всех частотах ряда, установленного в соответствии с требованиями 10.13.1:

                                                                                                      (41)

10.13.3 За неравномерность частотной характеристики вибропреобразователя у принимают максимальное абсолютное значение, %, вычисленное по формуле (41)

                                                                                                                (42)

Примечание - Допускается указывать неравномерность ЧХ для нескольких поддиапазонов частот, составляющих рабочий частотный диапазон поверяемого вибропреобразователя.

10.13.4 Значение неравномерности ЧХ γ в рабочем диапазоне частот не должно превышать значения, указанного в паспорте вибропреобразователя.

10.14 Определение нелинейности амплитудной характеристики вибропреобразователя

10.14.1 Нелинейность амплитудной характеристики δаBП вибропреобразователя определяют на фиксированной частоте рабочего диапазона вибропреобразователя не менее чем при пяти значениях физической величины, одно из которых должно быть минимальным, другое - максимальным для данного вибропреобразователя. Для определения нелинейности амплитудной характеристики предпочтительна базовая частота. При невозможности задания требуемых значений физической величины на базовой частоте нелинейность амплитудной характеристики определяют на одной из частот, принадлежащей рабочему диапазону частот вибропреобразователя, на которой возможно задание требуемого значения физической величины.

10.14.2 Поверяемый вибропреобразователь устанавливают на вибростол поверочной виброустановки, подключают его в соответствии с требованиями 10.11.1 и 10.11.2. Последовательно задают значения физической величины на выбранной частоте. Считывают значения напряжений Ui и определяют значения коэффициента преобразования  для каждого значения физической величины по одной из формул (29) - (33) в зависимости от типа вибропреобразователя. Определяют среднее арифметическое значение коэффициента преобразования вибропреобразователя Kср мВ (пКл, мА)/единица физической величины, по формуле

                                                                                                              (43)

где n - число значений задаваемой физической величины при определении нелинейности амплитудной характеристики.

Для каждого значения задаваемой физической величины определяют относительное отклонение δiВП коэффициента преобразования  от среднего арифметического значения Кср, %

                                                                                                  (44)

где i = 1, 2, 3, ..., n.

10.14.3 За нелинейность амплитудной характеристики вибропреобразователя  принимают максимальное значение, вычисленное по формуле (44)

                                                                                                             (45)

Примечание - Допускается указывать нелинейность амплитудной характеристики для нескольких поддиапазонов значений физической величины, составляющих рабочий диапазон поверяемого вибропреобразователя.

10.14.4 Значение нелинейности амплитудной характеристики  не должно превышать значения, указанного в паспорте вибропреобразователя.

10.15 Определение частоты установочного резонанса пьезоэлектрического вибропреобразователя

10.15.1 Определение частоты установочного резонанса пьезоэлектрического вибропреобразователя в вибрационном режиме

10.15.1.1 Для определения значения частоты установочного резонанса пьезоэлектрического вибропреобразователя в вибрационном режиме применяют поверочные электродинамические виброустановки или пьезоэлектрические вибраторы.

10.15.1.2 При использовании поверочной виброустановки крепление поверяемого вибропреобразователя к вибростолу поверочной виброустановки осуществляют способом, применяемым при его эксплуатации (например, резьбовое соединение, клеевое и т.д.).

Значение резонансной частоты системы «вибростол - эталонный вибропреобразователь» должно быть не менее чем в 1,2 раза выше значения частоты установочного резонанса поверяемого вибропреобразователя.

10.15.1.3 Поверяемый вибропреобразователь устанавливают на вибростол поверочной виброустановки и подключают его в соответствии со схемой, приведенной на рисунке 2.

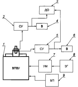
1 - вибростенд поверочной виброустановки; 2 - согласующий усилитель; 3 - двухлучевой осциллограф; 4 - вольтметр; 5 - согласующий усилитель встроенного виброметра; 6 - измерительный прибор встроенного виброметра; 7 - усилитель мощности; 8 - задающий генератор; 9 - блок подмагничивания

Рисунок 2 - Схема соединений для определения установочного резонанса поверяемого вибропреобразователя с помощью поверочной виброустановки

10.15.1.4 Задают на вибростоле виброускорение, значение которого не менее 5 м/с2, на частоте, не менее чем в 10 раз ниже предполагаемой частоты установочного резонанса поверяемого вибропреобразователя. Считывают значение напряжения с выхода согласующего усилителя поверяемого вибропреобразователя. По двухлучевому осциллографу проверяют наличие сдвига фаз между выходными сигналами согласующих усилителей встроенного эталонного и поверяемого вибропреобразователей.

Поддерживая приблизительно постоянным задаваемое виброускорение (не менее 5 м/с2), плавно (или с дискретностью не более 100 Гц) увеличивают частоту вибростола. Отмечают частоту, при которой показание вольтметра, измеряющего напряжение с выхода согласующего усилителя поверяемого вибропреобразователя, максимальное, а сдвиг фаз между выходными сигналами согласующих усилителей встроенного эталонного и поверяемого вибропреобразователей близок к 90°.

10.15.1.5 По окончании измерений снимают вибропреобразователь с вибростола и вновь устанавливают его. В последовательности, изложенной в 10.15.1.4, повторяют операцию определения значения частоты, при котором показание вольтметра, измеряющего напряжение с выхода согласующего усилителя поверяемого вибропреобразователя, максимальное, а сдвиг фаз между выходными сигналами согласующих усилителей встроенного эталонного и поверяемого вибропреобразователей близок к 90°. Полученные значения резонансных частот в первом и втором случае не должны различаться более чем на 5 %.

10.15.1.6 В качестве значения частоты установочного резонанса принимают среднее арифметическое значение, определенное по результатам, полученным в процессе измерений по 10.15.1.4 и 10.15.1.5.

10.15.1.7 При использовании пьезоэлектрического вибратора крепление поверяемого вибропреобразователя к основанию осуществляют способом, применяемым при его эксплуатации (например, резьбовое, клеевое соединение и т.д.). В соответствии со схемой соединений, представленной на рисунке 3, с противоположной стороны основания закрепляют пьезоэлектрический вибратор, который возбуждает колебания основания, воздействующие на поверяемый вибропреобразователь. В качестве пезоэлектрического вибратора может быть использована пьезопластина, к электрическим контактам которой подключают усилитель мощности. Значение резонансной частоты системы «основание - поверяемый вибропреобразователь» должно быть не менее чем в 1,2 раза выше значения частоты установочного резонанса поверяемого вибропреобразователя.

В качестве основания может быть использован стальной куб со стороной 25 мм и массой 180-220 г.

10.15.1.8 Поверяемый вибропреобразователь устанавливают на основание и подключают его в соответствии со схемой, приведенной на рисунке 3.

1 - основание; 2 - поверяемый вибропреобразователь; 3 - согласующий усилитель; 4 - двухлучевой осциллограф; 5 - вольтметр; 6 - усилитель мощности; 7 - пьезоэлектрический вибратор; 8 - задающий генератор

Рисунок 3 - Схема соединений для определения установочного резонанса поверяемого вибропреобразователя с помощью пьезоэлектрического вибратора

10.15.1.9 Возбуждают пьезоэлектрический вибратор с помощью задающего генератора на частоте не менее чем в 10 раз ниже предполагаемой частоты установочного резонанса поверяемого вибропреобразователя. Считывают значение напряжения с выхода согласующего усилителя поверяемого вибропреобразователя. По двухлучевому осциллографу проверяют наличие сдвига фаз между выходными сигналами согласующих усилителей встроенного эталонного и поверяемого вибропреобразователей.

Поддерживая приблизительно постоянным задаваемое напряжение, с выхода задающего генератора плавно (или с дискретностью не более 100 Гц) увеличивают частоту возбуждения пьезоэлектрического вибратора. Отмечают частоту, при которой показание вольтметра, измеряющего напряжение с выхода согласующего усилителя поверяемого вибропреобразователя, максимальное, а сдвиг фаз между выходными сигналами согласующих усилителей встроенного эталонного и поверяемого вибропреобразователей близок к 90°.

10.15.1.10 По окончании измерений снимают вибропреобразователь с основания и вновь устанавливают его. В последовательности, изложенной в 10.15.1.9, повторяют операцию определения значения частоты, при которой показание вольтметра, измеряющего напряжение с выхода согласующего усилителя поверяемого вибропреобразователя, максимальное, а сдвиг фаз между выходными сигналами согласующих усилителей встроенного эталонного и поверяемого вибропреобразователей близок к 90°. Полученные значения резонансных частот в первом и втором случае не должны отличаться один от другого более чем на 5 %.

10.15.1.11 В качестве значения частоты установочного резонанса принимают среднее арифметическое значение, определенное по результатам, полученным в процессе измерений по 10.15.1.9 и 10.15.1.10.

10.15.2 Определение частоты установочного резонанса пьезоэлектрического вибропреобразователя в ударном режиме

10.15.2.1 Для определения значения частоты установочного резонанса вибропреобразователя в ударном режиме применяют устройство, обеспечивающее возбуждение пьезоэлектрического вибропреобразователя механическим ударом с помощью стального падающего шарика. Форма возбуждающего импульса близка к 8-импульсу. Схема устройства типа «падающий шар» для определения установочных резонансов пьезоэлектрических вибропреобразователей приведена на рисунке 4.

1 - кронштейн; 2 - падающий шар; 3 - направляющая трубка; 4 - рабочее тело; 5 - регистрирующее устройство; 6 - поверяемый вибропреобразователь; 7 - согласующий усилитель

Рисунок 4 - Схема устройства типа «падающий шар» для определения значения установочного резонанса пьезоэлектрических вибропреобразователей

10.15.2.2 Устройство для определения значения частоты установочного резонанса пьезоэлектрического вибропреобразователя состоит из стойки с кронштейнами, в которые устанавливают направляющую трубку и через виброгасящую прокладку (например, поролоновую) рабочее тело. Рабочее тело представляет собой стальную сферу с лыской твердостью HRC не менее 50. Лыска рабочего тела служит для установки поверяемого вибропреобразователя способом, применяемым при его эксплуатации (например, резьбовое, клеевое соединение и т.д.). Направляющую трубку устанавливают таким образом, чтобы ее выходное отверстие (диаметром не более 5 мм) находилось над центром рабочего тела на расстоянии от 3 до 5 мм. Поверяемый вибропреобразователь через согласующий усилитель подключают к регистрирующему устройству. В качестве регистрирующего устройства может быть применен спектроанализатор или персональный компьютер с аналого-цифровым преобразователем и соответствующим программным обеспечением. В качестве падающего шарика используют стальные шарики, твердость которых не менее 50 HRC.

Рекомендации по выбору размеров падающего шарика и рабочего тела в зависимости от размеров и рабочего диапазона частот поверяемого вибропреобразователя, а также некоторых режимов работы регистрирующего устройства приведены в приложении В.

10.15.2.3 Закрепляют на лыске рабочего тела поверяемый вибропреобразователь способом, применяемым при его эксплуатации (например, резьбовое, клеевое соединение и т.д.). Рабочее тело с закрепленным вибропреобразователем и направляющую трубку устанавливают в соответствии со схемой, приведенной на рисунке 4. Поверяемый вибропреобразователь через согласующий усилитель подключают к регистрирующему устройству. Приборы включают и прогревают в соответствии с руководством по эксплуатации на них.

10.15.2.4 В верхнее отверстие направляющей трубки опускают стальной шарик, возбуждающий при соударении с рабочим телом поверяемый вибропреобразователь. Выходной сигнал поверяемого вибропреобразователя фиксируют (запоминают) в регистрирующем устройстве, преобразуют в цифровую форму и с помощью преобразования Фурье получают амплитудную и фазовые спектральные характеристики, по которым определяют максимальное пиковое значение частоты, при котором сдвиг фазы на характеристике приблизительно равен 90°.

Процесс определения максимального пикового значения частоты повторяют не менее трех раз. Максимальные пиковые значения частот не должны отличаться одно от другого в каждом случае более чем на 5%.

10.15.2.5 В качестве значения частоты установочного резонанса принимают среднее арифметическое значение максимальных пиковых значений частот, определенных по 10.15.2.4.

10.15.3 Значение частоты установочного резонанса должно быть не менее значения, указанного в паспорте вибропреобразователя.

10.16 Определение частоты поперечного резонанса пьезоэлектрического вибропреобразователя

10.16.1 Значение частоты поперечного резонанса пьезоэлектрического вибропреобразователя определяют способами, изложенными в 10.15.

10.16.2 Поверяемый пьезоэлектрический вибропреобразователь устанавливают на устройстве, возбуждающем колебания (поверочной виброустановке, основании или рабочем теле), таким образом, чтобы направление возбуждаемых колебаний было перпендикулярным к главной оси чувствительности поверяемого вибропреобразователя и соосным с направлением его максимального значения относительного коэффициента поперечного преобразования, определенного по 10.12.

Примечание - Допускается установка поверяемого вибропреобразователя на устройстве, возбуждающем колебания, с помощью переходника, позволяющего разместить поверяемый вибропреобразователь в соответствии с требованиями 10.16.2.

10.16.3 Значение частоты поперечного резонанса должно быть не менее значения, указанного в паспорте вибропреобразователя.

10.17 Определение основной относительной погрешности вибропреобразователя

10.17.1 Границы основной относительной погрешности вибропреобразователя δВИП, %, при доверительной вероятности 0,95 определяют по формуле

                                                 (46)

где δ0 - погрешность эталонного средства измерений параметров вибрации, входящего в состав поверочной виброустановки, %;

 - погрешность, вызванная наличием поперечного движения вибростола поверочной виброустановки, %;

Kпвс - коэффициент, характеризующий поперечное движение вибростола поверочной виброустановки, %;

Kоп - относительный коэффициент поперечного преобразования поверяемого вибропреобразователя %;

 - погрешность, вызванная наличием высших гармонических составляющих в законе движения вибростола поверочной виброустановки, %;

Kг - коэффициент гармоник в задаваемом режиме движения вибростола поверочной виброустановки, %;

Δв - погрешность средства измерений электрического сигнала с выхода поверяемого вибропреобразователя (или согласующего усилителя), %.

10.17.2 При периодической поверке допускается определять неравномерность частотной характеристики γ, %, поверяемого пьезоэлектрического вибропреобразователя расчетным путем по формуле

                                                                                         (47)

где fmax - верхнее значение частоты рабочего диапазона частот поверяемого пьезоэлектрического вибропреобразователя ;

fуст - определенное при периодической поверке значение частоты установочного резонанса поверяемого пьезоэлектрического вибропреобразователя.

Примечания

1 Определение границ основной относительной погрешности по формуле (46) предполагает, что в дальнейшей эксплуатации поверенный вибропреобразователь будет использован со значением коэффициента преобразования, равным номинальному Kн.

2 При периодической поверке значения относительного коэффициента поперечного преобразования Kоп и нелинейности амплитудной характеристики поверяемого вибропреобразователя δаВП определяют по паспортным данным.

10.17.3 При условии записи в свидетельство о поверке действительного значения коэффициента преобразования Kд, определенного при поверке по формулам (29) - (33), границы основной относительной погрешности вибропреобразователя δВИП, %, определяют по формуле

                                                           (48)

10.17.4 Границы основной относительной погрешности не должны превышать значений, указанных в паспорте поверяемого вибропреобразователя.

10.18 Определение фазочастотной характеристики вибропреобразователя

10.18.1 Порядок определения фазочастотной характеристики вибропреобразователя и границ абсолютной погрешности угла сдвига фаз приведен в приложении Г.

11 Оформление результатов поверки

11.1 На виброметры и вибропреобразователи, прошедшие поверку, выдают свидетельство о поверке по форме, установленной правилами [6], или в нормативный документ вводят соответствующую запись и наносят оттиск поверительного клейма.

Результаты поверки записывают на оборотной стороне свидетельства о поверке, форма которого приведена в приложениях Д и Е.

11.2 На комбинированные приборы, предназначенные для измерения физических величин вибрации и уровней звукового давления, выдают отдельные свидетельства на измерения каждого вида.

11.3 Приборы, не удовлетворяющие требованиям настоящего стандарта, к применению и выпуску в обращение не допускают. На них выдают извещение о непригодности с указанием причин по правилам [6]. Свидетельство о поверке аннулируют, оттиск поверительного клейма гасят. Приборы возвращают владельцу.

Приложение А
(справочное)

Определение основной относительной погрешности виброметра при применении электрических методов поверки измерительного прибора виброметра

А.1 При применении электрических методов поверки измерительного прибора виброметра расчет основной относительной погрешности виброметра в рабочем диапазоне амплитуд виброускорений свыше 1·103 м/с2 проводят в указанной ниже последовательности.

А.2 Определяют методами, рекомендованными в 10.5.2 и 10.5.3, погрешности виброметра в рабочем диапазоне измеряемых значений виброускорений до 1·103 м/с2 и в рабочем диапазоне частот.

А.3 Определяют нелинейность амплитудной характеристики измерительного прибора виброметра электрическим методом при поэлементной поверке виброметра с пьезоэлектрическим вибропреобразователем в рабочем диапазоне амплитуд виброускорений свыше 1·103 м/с2.

А.3.1 Нелинейность амплитудной характеристики измерительного прибора виброметра определяют не менее чем при пяти или более значениях амплитуд, находящихся в пределах рабочего диапазона виброметра свыше 1·103 м/с2. При этом одно значение должно быть равно 1·103 м/с2, а второе - верхнему значению амплитуд рабочего диапазона виброметра.

А.3.2 Для определения нелинейности амплитудной характеристики измерительного прибора виброметра на его вход подают напряжение на базовой частоте от низкочастотного измерительного генератора. Подключение низкочастотного измерительного генератора к измерительному прибору виброметра проводят с учетом рекомендаций, изложенных в примечаниях 1-4 к 10.6.2.3.

Первое значение амплитуды напряжения U1ИГ, подаваемого от измерительного генератора на вход измерительного прибора виброметра, должно соответствовать значению виброускорения 1·103 м/с2. Считывают показание измерительного прибора виброметра A1ИП. Рекомендуется при каждом значении напряжения проводить считывание показаний виброметра не менее трех раз, определять среднее арифметическое значение трех измерений и его использовать в дальнейших расчетах основной относительной погрешности виброметра.

А.3.3 В соответствии с рекомендациями А.3.1 последовательно увеличивают значение амплитуды напряжения с выхода измерительного генератора U1ИГ от значения, соответствующего виброускорению 1·103 м/с2, до верхнего значения амплитуды рабочего диапазона виброметра. При каждом значении напряжения считывают показание измерительного прибора виброметра A1ИП.

А.3.4 Определяют отклонение от пропорциональности показаний измерительного прибора виброметра при заданном значении амплитуды напряжения на выходе измерительного генератора по формуле

                                                                                                      (А.1)

и относительное отклонение, %

                                                                                                           (А.2)

где UiИГ - i-e значение амплитуды напряжения на выходе измерительного генератора, мВ;

AiИП - показание измерительного прибора виброметра при i-м значении амплитуды напряжения на выходе измерительного генератора, единица физической величины.

А.3.5 За нелинейность амплитудной характеристики измерительного прибора виброметра δАИП, определенную электрическим методом при поэлементной поверке виброметра с пьезоэлектрическим вибропреобразователем в рабочем диапазоне амплитуд виброускорений свыше 1·103 м/с2, принимают максимальное значение относительного отклонения по (А.2)

                                                                                                             (А.3)

Примечание - Если для виброметра нормируют основную приведенную погрешность, то нелинейность амплитудной характеристики измерительного прибора виброметра  определенную электрическим методом при поэлементной поверке виброметра с пьезоэлектрическим вибропреобразователем в рабочем диапазоне амплитуд виброускорений свыше 1·103 м/с2, %, рассчитывают по формуле

                                                                                                          (А.4)

где  - значение амплитуды напряжения, подаваемого от измерительного генератора на вход измерительного прибора виброметра, соответствующее нормирующему значению измеряемой физической величины, мВ.

За нелинейность амплитудной характеристики измерительного прибора виброметра, определенную электрическим методом при поэлементной поверке виброметра с пьезоэлектрическим вибропреобразователем в рабочем диапазоне амплитуд виброускорений свыше 1·103 м/с2, при нормировании основной приведенной погрешности, принимают ее максимальное значение, рассчитанное по формуле (А.4),

                                                                                                            (A.5)

Е.3.6 Если шкала измерительного прибора виброметра градуирована в децибелах, то нелинейность амплитудной характеристики измерительного прибора виброметра , определенную электрическим методом при поэлементной поверке виброметра с пьезоэлектрическим вибропреобразователем в рабочем диапазоне амплитуд виброускорений свыше 1·103 м/с2, дБ, рассчитывают по формуле

                                                         (А.6)

где  - i-е значение амплитуды напряжения на выходе измерительного генератора, дБ;

 - значение амплитуды напряжения на выходе измерительного генератора, соответствующее амплитуде виброускорения 1·103 м/с2, дБ;

 - показание измерительного прибора виброметра при i-м значении амплитуды напряжения на выводе измерительного генератора, дБ;

 - показание измерительного прибора виброметра при значении амплитуды напряжения на выходе измерительного генератора, соответствующем 1·103 м/с2.

Е.4 Границы основной относительной погрешности виброметра при использовании электрического метода поверки измерительного прибора виброметра в рабочем диапазоне амплитуд виброускорений свыше 1·103 м/с2 при доверительной вероятности 0,95, %, определяют по формуле

                                                                      (А.7)

где δЭт - доверительная погрешность поверочной виброустановки, с помощью которой проведена поверка виброметра, %;

δА - относительная погрешность виброметра в рабочем диапазоне измеряемых значений виброускорений до 1·103м/с2, %;

δf - относительная погрешность виброметра в рабочем диапазоне частот, %;

δНГ границы погрешности низкочастотного измерительного генератора при задании напряжения, %.

Примечания

1 Если нормируют основную приведенную погрешность виброметра, то границы основной приведенной погрешности виброметра δВ при использовании электрического метода поверки измерительного прибора виброметра в рабочем диапазоне амплитуд виброускорений свыше 1·103 м/с2, %, при доверительной вероятности 0,95 определяют по формуле

                                                                                              (А.8)

2 В случае использования вольтметра переменного тока (см. примечание 1 к 10.6.2.3) для контроля выходного напряжения генератора границы основной относительной погрешности виброметра, %, при доверительной вероятности 0,95 определяют по формулам:

                                                                                           (А.9)

                                                                                           (А.10)

где δВПт - границы погрешности вольтметра переменного тока, %.

А.5 Если границы основной относительной погрешности виброметра, рассчитанные по формуле (А.7), или основной приведенной погрешности, рассчитанные по формуле (А.8), превышают границы допускаемых значений, указанных в паспорте виброметра, то его считают не соответствующим паспортным требованиям и выписывают извещение о непригодности с указанием причины.

Приложение Б
(справочное)

Проверка фильтров, встроенных в измерительный прибор виброметра

Б.1 При проверке полосовых фильтров определяют соответствие требованиям эксплуатационной документации на виброметр:

- затухания АЧХ в области верхних и нижних частот среза;

- затухания АЧХ фильтра на частотах ниже нижней и выше верхней частот среза.

При проверке октавных и третьоктавных фильтров определяют соответствие требованиям эксплуатационной документации на виброметр:

- основного затухания сигнала на номинальной средней геометрической частоте фильтра;

- АЧХ фильтра.

Б.2 При проверке фильтров, встроенных в виброметры, предназначенные для измерения виброперемещения, виброскорости и виброускорения, переключатель вида измеряемой физической величины устанавливают в положение измерения виброускорения.

При измерении виброметром различных значений физических величин вибрации (амплитудного, среднего квадратического, среднего значения, размаха) допускается проводить проверку встроенных фильтров только для одного из значений параметра вибрации.

Б.3 Для проверки затухания АЧХ в области верхних и нижних частот среза полосовых фильтров, встроенных в виброметр, на вход измерительного прибора виброметра подают сигнал от измерительного генератора, частота которого приблизительно равна средней геометрической частоте проверяемого полосового фильтра fcp-г. Значение амплитуды напряжения, подаваемого на вход измерительного прибора виброметра, должно соответствовать значениям виброперемещения, виброскорости и виброускорения, задаваемым на базовой частоте при определении относительной погрешности виброметра по 10.5.3.2. Считывают показания измерительного прибора виброметра  Результаты измерений записывают в первой строке таблицы Б.1.

Не изменяя амплитудного значения сигнала, подаваемого от измерительного генератора на вход измерительного прибора виброметра, устанавливают соответствующие паспортным данным значения верхней fВЧC и нижней fНЧС частот среза полосового фильтра. Считывают показания измерительного прибора виброметра  и . Результаты измерений записывают в соответствующих строках таблицы Б.1.

Таблица Б.1 - Результаты определения параметров полосового фильтра виброметра

Значение задаваемой частоты fi, Гц

Измеренное виброметром значение физической величины

Затухание АЧХ полосового фильтра , , дБ

fср-г

 

fвчс

 

fнчс

 

fзнч

 

fзвч

 

 

 

Определяют затухание АЧХ полосового фильтра измерительного прибора виброметра, дБ, в областях верхней и нижней частот среза

                                                                     (Б.1)

Результаты расчетов записывают в соответствующих строках таблицы Б.1.

Затухание АЧХ в областях верхней и нижней частот среза определяют для всех полосовых фильтров, входящих в комплект измерительного прибора виброметра.

Значения затухания АЧХ в областях верхней и нижней частот среза всех полосовых фильтров, входящих в комплект измерительного прибора виброметра, не должны превышать значений, указанных в паспорте на виброметр.

Б.4 Для проверки затухания АЧХ на частотах ниже нижней и выше верхней частот среза полосового фильтра на вход измерительного прибора виброметра подают сигналы, частота которых определяется установленным в соответствии с паспортными данными интервалом затухания (например, если в паспорте на виброметр предусмотрено нормирование затухания в децибелах на октаву, то устанавливается частота в два раза ниже нижней частоты среза fзHч и в два раза выше верхней частоты среза fзВч полосового фильтра). Значение амплитуды сигнала, подаваемого от измерительного генератора, должно быть равно значению амплитуды, установленному при проверке по Б.3. Считывают показания измерительного прибора виброметра  и . Результаты измерений записывают в соответствующих строках таблицы Б.1.

Определяют затухание АЧХ полосового фильтра измерительного прибора виброметра в областях ниже нижней и выше верхней частот среза, дБ, в соответствии с Б.3:

                                                                      (Б.2)

Результаты расчетов записывают в соответствующих строках таблицы Б.1.

Затухание АЧХ в областях ниже нижней и выше верхней частот среза определяют для всех полосовых фильтров, входящих в комплект измерительного прибора виброметра.

Значение затухания АЧХ в областях ниже нижней и выше верхней частот среза всех полосовых фильтров, входящих в комплект измерительного прибора виброметра, должны соответствовать значениям, указанным в паспорте на виброметр.

Б.5 Для проверки основного затухания сигнала на номинальной средней геометрической частоте октавных и третьоктавных фильтров на вход измерительного прибора виброметра подают сигнал от измерительного генератора, частота которого равна средней геометрической частоте проверяемого фильтра fcp (октавного или третьоктавного). Значение амплитуды напряжения на выходе измерительного генератора  подаваемого на вход измерительного прибора виброметра, должно соответствовать значениям виброперемещения, виброскорости и виброускорения, задаваемым на базовой частоте при определении относительной погрешности виброметра по 10.5.3.2.

Б.6 При наличии в измерительном приборе виброметра выхода по напряжению к нему подключают вольтметр переменного тока и определяют выходное напряжение

При отсутствии в измерительном приборе виброметра выхода по напряжению определяют с помощью коэффициента преобразования вибропреобразователя эквивалентный параметр вибрации  соответствующий напряжению  по формуле

                                                                                                               (Б.3)

где Kд - действительное значение коэффициента преобразования вибропреобразователя,

Б.7 Считывают показания вольтметра, подключенного к выходу измерительного прибора виброметра (при его наличии)  или показания измерительного прибора виброметра  Результаты измерений записывают в первой строке таблицы Б.2.

Определяют основное затухание сигнала на номинальной средней геометрической частоте октавных и третьоктавных фильтров, дБ, по формуле

                                                                                                    (Б.4)

при наличии выхода по напряжению в измерительном приборе виброметра, а при его отсутствии - по формуле

                                                                                                   (Б.5)

Результаты расчетов записывают в соответствующей строке таблицы Б.2.

Таблица Б.2 - Результаты определения параметров октавных или третьоктавных фильтров виброметра

Значение задаваемой частоты fi, Гц

Показание вольтметра Uип или измеренное значение Aип, мВ

Затухание АЧХ октавного или третьоктавного фильтра , дБ

fср-г

 

 

 

 

 

 

 

Б.8 Основное затухание сигнала на номинальной средней геометрической частоте определяют для всех октавных и третьоктавных фильтров, входящих в комплект измерительного прибора виброметра.

Б.9 Значение основного затухания сигнала на номинальной средней геометрической частоте октавных и третьоктавных фильтров, входящих в комплект измерительного прибора виброметра, должно соответствовать значениям, указанным в паспорте на виброметр.

Б.10 Для определения соответствия АЧХ октавных и третьоктавных фильтров требованиям эксплуатационной документации на виброметр проверяют затухание на нижней и верхней граничных частотах полосы пропускания фильтра, установленных ГОСТ 17168, а также на частотах, отличающихся от номинальной средней геометрической частоты в два раза в сторону нижних и верхних частот.

Б.11 Для проверки затухания АЧХ октавного или третьоктавного фильтра на нижней и верхней граничных частотах его полосы пропускания на вход измерительного прибора виброметра подают сигналы от измерительного генератора, частота которых равна нижней и верхней граничным частотам полосы пропускания проверяемого фильтра  и . Значение амплитуды напряжения на выходе измерительного генератора UГ, подаваемого на вход измерительного прибора виброметра, должно быть равно значению амплитуды, установленному при проверке по Б.5.

Б.12 При наличии в измерительном приборе виброметра выхода по напряжению к нему подключают вольтметр переменного тока и определяют выходное напряжение UИП.

При отсутствии в измерительном приборе виброметра выхода по напряжению определяют с помощью коэффициента преобразования вибропреобразователя эквивалентный параметр вибрации, соответствующий напряжению UГ, по формуле

                                                                                                                     (Б.6)

Б.13 Считывают показания вольтметра, подключенного к выходу измерительного прибора виброметра (при его наличии) UИП или показания измерительного прибора виброметра АИП. Результаты измерений записывают в соответствующей строке таблицы Б.2.

Определяют затухание сигнала на верхней и нижней граничных частотах октавного или третьоктавного фильтра, дБ, по формуле

                                                                                                          (Б.7)

при наличии выхода по напряжению в измерительном приборе виброметра, а при его отсутствии - по формуле

                                                                                                          (Б.8)

Результаты расчетов записывают в соответствующей строке таблицы Б.2.

Б.14 Для проверки затухания АЧХ фильтра на частотах, отличающихся от номинальной средней геометрической частоты в два раза в сторону нижних  и верхних частот , подают на вход измерительного прибора виброметра сигналы от измерительного генератора, частота которых отличается от номинальной средней геометрической частоты в два раза в сторону нижних и верхних частот. Значение амплитуды напряжения на выходе измерительного генератора UГ, подаваемого на вход измерительного прибора виброметра, должно быть равно значению амплитуды, установленной при проверке по Б.5. Определяют затухание АЧХ на частотах, отличающихся от номинальной средней геометрической частоты в два раза в сторону нижних и верхних частот, по методике, изложенной в Б.12-Б.13.

Б.15 Затухание АЧХ на нижней и верхней граничных частотах полосы пропускания и на частотах, отличающихся от номинальной средней геометрической частоты в два раза в сторону нижних и верхних частот, определяют для всех октавных и третьоктавных фильтров, входящих в комплект измерительного прибора виброметра.

Б.16 Значение затухания АЧХ на нижней и верхней граничных частотах полосы пропускания и на частотах, отличающихся от номинальной средней геометрической частоты в два раза в сторону нижних и верхних частот октавных и третьоктавных фильтров, входящих в комплект измерительного прибора виброметра, должны соответствовать значениям, указанным в паспорте на виброметр.

Примечание - Собственник виброметра имеет право провести поверку фильтров до передачи в метрологическую службу. При этом должны быть представлены протоколы поверки.

Приложение В
(справочное)

Порядок выбора рабочих тел и режимов для определения частоты установочного резонанса пьезоэлектрического вибропреобразователя

В.1 При определении частоты установочного резонанса поверяемого пьезоэлектрического вибропреобразователя (ПВИП) методом «ударного возбуждения посредством падающего шарика» должны быть установлены следующие величины (параметры):

- размеры рабочего тела, на которое крепят поверяемый ПВИП (масса и диаметр шарика);

- масса и размеры падающего шарика;

- высота падения падающего шарика;

- частота дискретизации при съеме информации;

- время съема информации (число точек).

В.1.1 Выбор параметров рабочего тела, на которое устанавливают поверяемый ПВИП

В.1.1.1 Выбор минимального диаметра рабочего тела

Минимальный диаметр рабочего тела выбирают на основании соотношения масс поверяемого датчика и массы рабочего тела:

- масса рабочего тела должна быть не менее чем в 10 раз больше массы поверяемого датчика.

Это условие выполнимо, если

                                                                                       (В.1)

где DРТ min - минимальный диаметр рабочего тела, мм;

тпвип - масса ПВИП, г.

Согласно соотношению (В.1) принято, что диаметр рабочего тела (сферы) намного больше высоты лыски, на которую устанавливают ПВИП.

Если соотношение (В.1) меньше 10, то в результат измерения должна быть введена поправка по формуле (В.4) в обязательном порядке.

В.1.1.2 Выбор максимального диаметра рабочего тела

Максимальный диаметр рабочего тела выбирают из следующего условия:

- первая резонансная частота рабочего тела должна быть не менее чем в 1,2 раза выше первой резонансной частоты закрепленного на рабочем теле ПВИП (допускается принять приблизительно равной установочному резонансу).

Это условие выполнимо, если резонансная частота рабочего тела, кГц, удовлетворяет соотношению

                                                                                                     (В.2)

где DPТ max - максимальный диаметр рабочего тела, мм;

μ - модуль сдвига материала рабочего тела, Н/м2 (для стали μ = 8,2·1010 Н/м2);

ρ - плотность материала рабочего тела, кг/м3 (для стали ρ = 7,8·103 кг/м3);

fпвип - первая резонансная частота закрепленного на рабочем теле ПВИП, кГц.

В.1.2 Выбор параметров падающего шарика

В.1.2.1 Массу падающего шарика и высоту падения выбирают на основании требуемого частотного диапазона спектра импульса, возникающего при столкновении падающего с определенной высоты шарика и рабочего тела с закрепленным на нем ПВИП.

В качестве априорной информации принимают следующее:

- форма импульса - полусинусоида;

- длительность импульса зависит от высоты падения шарика;

- масса падающего шарика и его диаметр значительно меньше массы и диаметра рабочего тела;

- падающий шарик и рабочее тело изготовлены из одного и того же материала (модули упругости и коэффициенты Пуассона равны).

В.1.2.2 Приблизительные расчетные данные, которые могут быть использованы при выборе параметров падающего шарика, приведены в таблице В.1.

Таблица В.1 - Расчетные данные зависимости параметров частоты спектра импульса от диаметра падающего шарика и высоты его падения

Диаметр падающего шарика, мм

Высота падения шарика, м

Длительность импульса, мкс

Максимальная частота спектра, кГц

Максимальное значение определяемой первой резонансной частоты f1р.ч, кГц

2

0,03

7,4

202,5

168,75

0,04

7,2

208,4

173,67

0,05

7,04

213,1

177,58

0,07

6,8

220,4

183,67

0,08

6,7

223,3

186,08

0,1

6,57

228,4

190,3

0,12

6,45

232,6

193,8

0,15

6,3

237,9

198,25

0,2

6,13

244,8

204

4

0,03

14,8

101,2

84,3

0,04

14,4

104,2

86,8

0,05

14,1

106,6

88,8

0,07

13,6

110,2

91,8

0,08

13,4

111,7

93,08

0,1

13,1

114,2

95,17

0,12

12,9

116,3

96,917

0,15

12,6

118,9

99,08

0,2

12,2

122,4

102

6

0,03

22,2

67,5

56,25

0,04

21,6

69,5

57,917

0,05

21,1

71,0

59,17

0,07

20,4

73,5

61,25

0,08

20,1

74,5

62,08

0,1

19,7

76,1

63,417

0,12

19,3

77,5

64,58

0,15

18,9

79,3

66,08

0,2

18,4

81,6

68

8

0,03

29,6

50,6

42,17

0,04

28,8

52,1

43,417

0,05

28,1

53,3

44,417

0,07

27,2

55,1

45,917

0,08

26,9

55,8

46,5

0,1

26,3

57,1

47,58

0,12

25,8

58,2

48,5

0,15

25,2

59,5

49,58

0,2

24,5

61,2

51

В.1.2.3 Максимальное значение определяемой первой резонансной частоты механической системы «рабочее тело (сфера) - ПВИП» должно быть не менее чем в 1,2 раза меньше максимально требуемого значения частоты спектра, возбуждаемого в рабочем теле падающим шариком. Так, например, если первая резонансная частота f1p 50 кГц, то могут быть применены падающие шарики диаметрами от 2 до 6 мм, а шарик диаметром 8 мм должен падать с высоты не менее 20 см, поскольку рекомендуемое значение определяемой первой резонансной частоты приблизительно равно 51 кГц.

В.1.3 Выбор частоты дискретизации

Частоту дискретизации выбирают из следующего условия:

- частота дискретизации должна быть не менее чем в 2,5 раза выше первой резонансной частоты механической системы «рабочее тело (шар) - ПВИП».

Если, например, первая резонансная частота механической системы «рабочее тело (шар) - ПВИП» 30 кГц, то частота дискретизации fдискр должна быть не менее 75 кГц, т.е. период дискретизации Δдискр =  должен быть не более 13 мкс, если первая резонансная частота 50 кГц, то частота дискретизации fдискр должна быть не менее 125 кГц, т.е. период дискретизации Δдискр должен быть не более 8 мкс и т.д.

8.1.4 Выбор числа точек исходной информации

Число точек исходной информации (длину реализации) N выбирают из условия минимизации погрешности квантования частоты Δf при заданном значении частоты дискретизации fдискр.

                                                                                                        (В.3)

где Δf - погрешность квантования частоты в относительных единицах;

f1p - первая резонансная частота механической системы «рабочее тело (сфера) - ПВИП», кГц.

Если, например, fдискр = 75 кГц, f1p 30 кГц, a Δf должна быть не более 1 % (0,01), то N должно быть не менее 250. Если Δf должна быть не более 0,1 % (0,001), то N должно быть не менее 2500.

В.2 Корректировка результатов

В.2.1 При учете конечного значения массы рабочего тела (сферы) значение частоты установочного резонанса определяют по формуле

                                                                                           (В.4)

где fуст - корректированное значение частоты установочного резонанса ПВИП, кГц;

fизм - измеренное значение первого (низшего) резонанса системы «рабочее тело (сфера) - ПВИП», кГц;

МРТ - масса рабочего тела (сферы), г;

тпвип - масса поверяемого вибропреобразователя, г.

Приложение Г
(рекомендуемое)

Определение фазочастотной характеристики вибропреобразователя

Г.1 Общие положения

Г.1.1 Фазочастотную характеристику вибропреобразователя (ФЧХ) определяют на частотах третьоктавного ряда по 10.5.3.1 в рабочем диапазоне частот при значениях физических величин, указанных в 10.13.1.

Частотный ряд, в котором определяют ФЧХ, должен включать в себя нижнюю и верхнюю граничные частоты рабочего диапазона частот вибропреобразователя.

Г.1.2 Устанавливают поверяемый вибропреобразователь на вибростол поверочной виброустановки и подключают его в соответствии с требованиями 10.11.1 и 10.11.2. Выходные сигналы эталонного и поверяемого каналов дополнительно подключают соответственно к первому и второму входам измерителя разности фаз. Задают значение физической величины вибрации, близкое к постоянному, последовательно на частотах рабочего диапазона вибропреобразователя и отсчитывают с помощью измерителя разности фаз разность фазовых углов между сигналами эталонного и поверяемого каналов ΔφЭ-П.

При воспроизведении виброускорения значение угла сдвига фазы в угловых градусах определяют:

- для пьезоэлектрического вибропреобразователя на заданной частоте (с соединительным кабелем и согласующим усилителем) - по формуле

φА = ΔφЭ-П + φЭ;                                                                                                          (Г.1)

- для индукционного вибропреобразователя (или вибропреобразователя, измеряющего виброскорость) - по формуле

φV = ΔφЭ-П + φЭ - 90°;                                                                                                 (Г.2)

- для вихретокового вибропреобразователя (или вибропреобразователя, измеряющего виброперемещение) - по формуле

φS = ΔφЭ-П + φЭ - 180°,                                                                                               (Г.3)

где φЭ - угол сдвига фазы эталонным каналом.

Примечания

1 При воспроизведении поверочной виброустановкой виброскорости значение угла сдвига фазы в угловых градусах определяют:

- для пьезоэлектрического вибропреобразователя на заданной частоте (с соединительным кабелем и согласующим усилителем) - по формуле

φA = ΔφЭ-П + φЭ + 90°;                                                                                                                                          (Г.4)

- для индукционного вибропреобразователя (или вибропреобразователя, измеряющего виброскорость) - по формуле

φV = ΔφЭ-П + φЭ;                                                                                                                                                    (г.5)

- для вихретокового вибропреобразователя (или вибропреобразователя, измеряющего виброперемещение) - по формуле

φS = ΔφЭ-П + φЭ - 90°.                                                                                                                                           (Г.6)

2 При воспроизведении поверочной виброустановкой виброперемещения значение угла сдвига фазы в угловых градусах определяют:

- для пьезоэлектрического вибропреобразователя на заданной частоте (с соединительным кабелем и согласующим усилителем) - по формуле

φA = ΔφЭ-П + φЭ + 180°;                                                                                                                                        (Г.7)

- для индукционного вибропреобразователя (или вибропреобразователя, измеряющего виброскорость) - по формуле

φV = ΔφЭ-П + φЭ + 90°;                                                                                                                                          (Г.8)

- для вихретокового вибропреобразователя (или вибропреобразователя, измеряющего виброперемещение) - по формуле

φS = ΔφЭ-П + φЭ.                                                                                                                                                    (Г.9)

Г.1.3 Для каждого значения частоты вычисляют значение угла сдвига фазы по формулам (Г.1) - (Г.9) в зависимости от типа вибропреобразователя. Используя полученные значения углов сдвига фазы, строят зависимость угла сдвига фазы от частоты (ФЧХ) в графической или табличной форме.

Г.1.4 При определении ФЧХ вибропреобразователя без согласующего усилителя угол сдвига фазы вибропреобразователя φВИП на заданной частоте в угловых градусах вычисляют по формуле

φВИП = φа (φV, φS) - φСУ,                                                                                              (Г.10)

где φСУ - угол сдвига фазы согласующего усилителя.

Г.1.5 Границы основной абсолютной погрешности определения угла сдвига фазы поверяемого вибропреобразователя на заданной частоте ΔφВИП при доверительной вероятности 0,95 рассчитывают в угловых градусах по формуле

        (Г.11)

где δφИРФ - основная абсолютная погрешность измерителя разности фаз;

δφЭ - основная абсолютная погрешность определения угла сдвига фазы эталонного канала на заданной частоте;

δφсу - основная абсолютная погрешность определения угла сдвига фазы согласующего усилителя на заданной частоте;

ΔφнстЭ - абсолютная погрешность, вызванная нестабильностью угла сдвига фазы эталонного канала;

ΔφнстСУ - абсолютная погрешность, вызванная нестабильностью угла сдвига фазы согласующего усилителя;

Δφнлэ - абсолютная погрешность, вызванная влиянием амплитуды измеряемого сигнала на угол сдвига фазы эталонного канала;

ΔφнлСУ - абсолютная погрешность, вызванная влиянием амплитуды измеряемого сигнала на угол сдвига фазы согласующего усилителя.

Примечание - Границы основной относительной погрешности определения ФЧХ рассчитывают для частот, амплитуд и положений переключателей согласующего усиления и среза частот усиления, при которых проводят поверку.

Приложение Д
(рекомендуемое)

Форма записи на оборотной стороне свидетельства о поверке виброметра

Виброметр модификации _______________________ № __________ поверен в комплекте с вибропреобразователем модификации _______________ № __________.

РЕЗУЛЬТАТЫ ПОВЕРКИ

1 Границы основной относительной погрешности виброметра в рабочих диапазонах частот и амплитуд при доверительной вероятности 0,95:

- при измерении виброускорения ± . . . %;

- при измерении виброскорости ± . . . %;

- при измерении виброперемещения ± . . . %.

Поверитель _____________________________________________________

подпись                        инициалы, фамилия

Дата

 

Приложение Е
(рекомендуемое)

Форма записи на оборотной стороне свидетельства о поверке вибропреобразователя

Вибропреобразователь модификации _______________ № ________поверен в комплекте с согласующим усилителем модификации _______________ № ________.

РЕЗУЛЬТАТЫ ПОВЕРКИ

1 Действительное значение коэффициента преобразования на базовой частоте ……… Гц:

Кд = ……………. пКл/(м·с-2) [мВ/( м·с-2)]

2 Неравномерность частотной характеристики:

- в диапазоне частот от ………. до ………. Гц        γ = ………..%;

- в диапазоне частот от ………. до ………. Гц        γ = ………..%;

3 Границы основной относительной погрешности вибропреобразователя при доверительной вероятности 0,95:

- в диапазоне частот от ……….до ………. Гц           δВип = ± …………..;

- в диапазоне частот от ……….до ………. Гц           δВип = ± …………...

Поверитель _____________________________________________________

подпись                        инициалы, фамилия

Дата

Библиография

[1] Рекомендации по межгосударственной стандартизации

РМГ 29-99

Государственная система обеспечения единства измерений. Метрология. Основные термины и определения

[2] Рекомендации по метрологии

МИ 2070-90

Государственная система обеспечения единства измерений. Государственная поверочная схема для средств измерений виброперемещений, виброскорости и виброускорения в диапазоне частот 3·10-1 - 2·104 Гц

[3] Рекомендации по метрологии

МИ 1949-88

Государственная система обеспечения единства измерений. Государственная поверочная схема для средств измерений угла сдвига фаз между двумя электрическими напряжениями в диапазоне частот 1·10-3÷2·107 Гц

[4] Правила по охране труда

ПОТ РМ-016-2001,

РД 153-34.0-03.150-00

Межотраслевые правила по охране труда (правила безопасности) при эксплуатации электроустановок, утверждены приказом Минэнерго России от 27.12.2000 г. № 13, постановлением Минтруда России от 05.01.2000 г. № 3

[5] ИСО 1683-2008

Акустика. Предпочтительные опорные значения для вычисления уровней акустических величин

[6] Правила по метрологии

ПР 50.2.006-94

Государственная система обеспечения единства измерений. Порядок проведения поверки средств измерений

 

Ключевые слова: виброметр, пьезоэлектрический вибропреобразователь, индукционный вибропреобразователь, вихретоковый вибропреобразователь, полосовой фильтр, согласующий усилитель, коэффициент преобразования, базовая частота, поверочная виброустановка, нелинейность, амплитудная характеристика, неравномерность, частотная характеристика, установочный резонанс, погрешность

 

 




ГОСТЫ, СТРОИТЕЛЬНЫЕ и ТЕХНИЧЕСКИЕ НОРМАТИВЫ.
Некоммерческая онлайн система, содержащая все Российские Госты, национальные Стандарты и нормативы.
В Системе содержится более 150000 файлов нормативно-технической документации, действующей на территории РФ.
Система предназначена для широкого круга инженерно-технических специалистов.

Рейтинг@Mail.ru Яндекс цитирования

Copyright © www.gostrf.com, 2008 - 2026