Крупнейшая бесплатная информационно-справочная система онлайн доступа к полному собранию технических нормативно-правовых актов РФ. Огромная база технических нормативов (более 150 тысяч документов) и полное собрание национальных стандартов, аутентичное официальной базе Госстандарта. GOSTRF.com - это более 1 Терабайта бесплатной технической информации для всех пользователей интернета. Все электронные копии представленных здесь документов могут распространяться без каких-либо ограничений. Поощряется распространение информации с этого сайта на любых других ресурсах. Каждый человек имеет право на неограниченный доступ к этим документам! Каждый человек имеет право на знание требований, изложенных в данных нормативно-правовых актах!

  


 

МИНИСТЕРСТВО ВНУТРЕННИХ ДЕЛ РОССИЙСКОЙ ФЕДЕРАЦИИ

ГЛАВНОЕ УПРАВЛЕНИЕ ВНЕВЕДОМСТВЕННОЙ ОХРАНЫ

РЕКОМЕНДАЦИИ
ПО ОБОРУДОВАНИЮ ЦЕРКВЕЙ
СОВРЕМЕННЫМИ ТЕХНИЧЕСКИМИ
СРЕДСТВАМИ ОХРАННОЙ СИГНАЛИЗАЦИИ

Р 78.36.001-99

Москва 1999

Рекомендации разработаны сотрудниками НИЦ "Охрана" ГУВО МВД России Е.П. Тюриным, Л.II. Савчук под руководством В.Г. Синилова и утверждены ГУВО МВД России 12 января 1994 года.

Рассмотрены особенности выбора и применения средств охранно-пожарной сигнализации (ОПС) и средств технической укрепленности в церквях.

Предназначены для инженерно-технических работников подразделений охраны, проектно-монтажных групп и центров вневедомственной охраны, а также специалистов служб безопасности организаций, занимающихся вопросами проектирования и монтажа средств охраны, ОПС и технической укрепленности объектов.

Резкий рост преступных посягательств на материальные и художественные ценности остро поставил проблему обеспечения надежной охраны старинных икон и другого церковного антиквариата, находящегося в церквах, соборах, монастырях и других культовых учреждениях (в дальнейшем - церквах).

В настоящее время многие церкви не оборудованы охранной сигнализацией, технически слабо укреплены и не обеспечены физической охраной. Эти факторы и то, что находящиеся в церквах ценности пользуются спросом в России и за рубежом, привлекают преступников и способствуют практически беспрепятственно им совершать кражи и хищения.

Широкое внедрение технических средств охранной сигнализации (ТС ОС) в церквах, конструктивные элементы зданий которых представляют собой художественную или историческую ценность, требует особого подхода к решению проблем их охраны, определяет тактику защиты, то есть структуру охраны, количество рубежей, правильный выбор и грамотное размещение технических средств охранной сигнализации, как в целом, так и в каждом рубеже в отдельности.

Технические средства сигнализации, которые установлены без тщательного изучения этих факторов, могут оказаться неэффективными.

Отсутствие научно-обоснованных рекомендаций по эффективному применению технических средств охраны в церквах не позволяет проектным, монтажным организациям и подразделениям охраны оптимально использовать технические средства и обеспечивать требуемый уровень надежности защиты ценностей.

В целях усиления мер по обеспечению сохранности исторического наследия России материальных, духовных и художественных ценностей в церквах, охраняемых подразделениями вневедомственной охраны при органах внутренних дел, либо имеющих другие виды охраны, необходимо руководствоваться настоящими рекомендациями, определяющими основные требования к технической укрепленности и оборудованию этих объектов современными ТС ОС.

1 ОБЩИЕ ПОЛОЖЕНИЯ

1.1 Настоящие "Рекомендации" распространяются на церкви, соборы, монастыри и другие культовые учреждения, передаваемые под охрану и охраняемые подразделениями вневедомственной охраны при органах внутренних дел (в дальнейшем - подразделения охраны).

Техническую укрепленность церквей, договора об охране которых уже заключены, следует привести в соответствие настоящим рекомендациям в сроки, оговоренные в актах обследования.

1.2 Для определения необходимых мер усиления технической укрепленности и оснащения средствами охранной сигнализации церквей проводится их обследование с участием представителя подразделения охраны и. при необходимости, других служб органов внутренних дел. По завершению обследования составляют акт, в котором должны быть отражены:

вид охраны, штатная численность личного состава, количество и дислокация постов, мероприятия по технической укрепленности, предложения по составу систем и комплексов охранной, охранно-пожарной и тревожной сигнализации, характер и условия размещения материальных, духовных и художественных ценностей, другие функциональные и строительные особенности.

1.3 Заказчик совместно с проектной организацией и по согласованию с подразделениями охраны составляет техническое задание на укрепленность и оснащение средствами ОПС церкви, подлежащей передаче под охрану. Разработанную на основе технического задания проектную документацию согласовывают с подразделениями охраны.

1.4 Подготовка и выполнение работ по оборудованию церквей средствами ОПС должны осуществляться в соответствии с:

- Рекомендациями по выбору и применению современных технических средств охранно-пожарной сигнализации на объектах народного хозяйства. М. ВНИИПО МВД СССР, 1991 г.;

- РД 78.147-93 Единые требования по технической укрепленности и оборудованию сигнализацией охраняемых объектов;

- Методическими рекомендациями по использованию в музеях технических средств охранной и пожарной сигнализации. М. ВНИИР МК СССР. 1985г.;

- Рекомендациями по маскировке и скрытой установке аппаратуры охранно-пожарной сигнализации на объектах народного хозяйства и защите капитальных строительных конструкций. М. ВНИИПО МВД СССР, 1986 г.;

- РД 78.143-92 Системы и комплексы охранной сигнализации. Элементы технической укрепленности объектов. Нормы проектирования;

- РД 78.148-94 Защитное остекление. Классификация. Методы испытаний. Применение;

- нормами и типовыми материалами для проектирования;

- технологическими картами и инструкциями по монтажу систем и приборов охранной сигнализации;

- РД 78.145-93 Руководящий документ. Системы и комплексы охранной, пожарной и охранно-пожарной сигнализации. Правила производства и приемки работ;

- технической документацией на изделия ОПС;

- требованиями ПУЭ, СНиП 2.04.09-84 и СНиП 3.05.06-85.

1.5 Церкви и их помещения, принимаемые под охрану, должны - по конструктивному архитектурно-планировочному исполнению, наличию различных механических средств защиты (запорных устройств, замков, решеток и т.п.) и оснащению ТС ОС - в совокупности, обеспечивать надлежащую защиту культурного наследия России, духовных и художественных ценностей.

1.6 При выборе средств защиты следует иметь ввиду, что наилучшие результаты защиты достигаются только в оптимальном и рациональном сочетании механических и технических средств.

В разделах настоящих рекомендаций рассмотрены способы усиления механической и технической защиты конструктивных элементов зданий и помещений церквей.

2 ТЕХНИЧЕСКАЯ УКРЕПЛЕННОСТЬ КОНСТРУКТИВНЫХ ЭЛЕМЕНТОВ ЦЕРКВЕЙ И ИХ ПОМЕЩЕНИЙ

2.1 Стены, перекрытия, перегородки, двери, окна и т. д., не представляющие архитектурной или исторической ценности, следует укреплять механическими средствами защиты в соответствии с требованиями изложенными в:

- РД 78.147-93. Единые требования по технической укрепленности и оборудованию сигнализацией охраняемых объектов;

- Типовых требованиях по технической укрепленности и оборудованию сигнализацией учреждений культуры, расположенных в зданиях, не являющихся историческими и архитектурными памятниками.

2.2 При наличии конструктивных элементов, представляющих архитектурную или историческую ценность, а также конструктивных элементов, техническое укрепление которых создает определенные неудобства в проведении служб и привлекает к себе внимание верующих, в каждом конкретном случае следует использовать и сочетать оригинальные методы механической и технической защиты несвойственной обычным объектам, а при невозможности механического укрепления - использовать только технические средства сигнализации.

Например, вместо решеток на оконных проемах или для защиты других остекленных поверхностей (киота, иконы), можно использовать защитное остекление устойчивое к удару или пробиванию (классы А и Б в соответствии с РД 78.148-94).

2.2.1 Входные (выходные) двери церквей, чердачные двери, двери выходов на колокольни, входные двери в места хранения старинных икон и другой уникальной церковной утвари (запасники, хранилища, алтари и т. п.), изготовленные из досок твердых пород дерева (дуб, бук и т. л), толщиной не менее 40 мм, хорошо противостоят ударным воздействиям - пролому и нет необходимости обивать их стальным листом. При использовании таких дверей следует обращать особое внимание на то, чтобы деревянные двери церквей были исправными, хорошо подогнанными под дверную коробку, полнотелыми и имели бы надежные запоры:

- входные (выходные) двери церквей, входные двери в места хранения старинных икон и другой уникальной церковной утвари следует оборудовать врезными несамозащелкивающимися замками (не менее 2-х), установленными на расстоянии не менее 300 мм друг от друга;

- чердачные двери, двери выходов на колокольни следует закрывать изнутри на прочные замки, задвижки, накладки и т. п.

Старинные металлические (кованные) двери следует оборудовать только навесными замками амбарного типа.

2.2.2 Оконные проемы первого этажа церквей и помещений, в которых хранятся старинные иконы, и другая уникальная церковная утварь, следует оборудовать металлическими решетками. В зависимости от архитектуры церквей и их оконных проемов допускается устанавливать решетки с внутренней и с внешней стороны оконного проема. При использовании решеток с диаметром прутьев менее 16 мм и (или) расстоянием между прутьями по вертикали и горизонтали более 150 мм рекомендуется прутья решеток дополнительно обвивать проводом НВМ и подключать его к первому рубежу охраны.

2.2.3 Достаточно эффективным способом защиты оконных проемов (вместо решеток) является установка на них защитных щитов и ставень, которые можно устанавливать, как с внутренней, так и с внешней стороны окна.

Оконные проемы, стекла которых представляют историческую или художественную ценность, следует защищать щитами или ставнями, установленными с внешней стороны окна. Такая установка щитов или ставень обеспечивает надежную защиту стекол от разбития и других преступных и хулиганских посягательств.

Если защиту осуществлять с внешней стороны, защитные щиты и ставни следует запирать на засовы и (или) навесные замки.

Если защиту осуществлять с внутренней стороны окна, то защитные щиты и ставни можно запирать только на засовы.

2.2.4 Воздуховоды, дымоходы, бойницы и другие отверстия диаметром более 200 мм по которым возможно проникновение в охраняемые помещения церквей следует оборудовать на входе (выходе) в помещения металлическими решетками.

Решетки воздуховодов, недействующих дымоходов и бойниц рекомендуется изготовлять из прутка диаметром не менее 5 мм с расстоянием между прутьями по вертикали и горизонтали не более 100 мм или прочной металлической сетки с последующей обвивкой решетки или сетки проводом для подключения к охранной сигнализации.

Допускается использовать фальшрешетки, сваренные из металлических труб, через которые пропущен провод шлейфа сигнализации.

Решетки действующих дымоходов следует изготавливать из стальных прутьев диаметром не менее 16 мм и расстоянием между прутьями по вертикали и горизонтали не более 100 мм без последующей обвивки проводом.

2.2.5 Для запирания входных дверей церквей, а также внутренних дверей помещений (запасников, хранилищ, алтарей, ризниц и т. п.), в которых хранятся старинные иконы и другая уникальная церковная утварь, следует использовать врезные несамозащелкивающиеся замки повышенной секретности. Для запирания внутренних дверей вспомогательных (подсобных) помещений церквей можно использовать врезные замки с пониженной секретностью и накладные замки.

Навесные замки следует использовать в основном для дополнительного запирания дверей, ворот, решеток, ставень,

3 ТЕХНИЧЕСКАЯ УКРЕПЛЕННОСТЬ ВНЕШНИХ ОГРАЖДАЮЩИХ КОНСТРУКЦИЙ

3.1 Ограждение по периметру территории церквей (соборов, монастырей и т. п.) следует выполнять так, чтобы оно препятствовало свободному проходу лиц и проезду, транспорта на территорию церкви и с нее, минуя сторожевой пост.

Внешнее ограждение не должно иметь лазов, проломов и других повреждений, а также незапираемых дверей, ворот, калиток и т. д.

3.2 При необходимости укрепления внешних ограждений механическими и техническими средствами защиты, следует руководствоваться материалами, изложенными в РД 78.147-93. Единые требования по технической укрепленности и оборудованию сигнализацией охраняемых объектов.

4 ОСНАЩЕНИЕ ЦЕРКВЕЙ ТЕХНИЧЕСКИМИ СРЕДСТВАМИ ОХРАННОЙ СИГНАЛИЗАЦИИ

4.1 Блокировка церковных помещений

4.1.1 Одним из основных факторов, определяющих уровень надежности охраны церкви, оборудованной техническими средствами, является структура комплекса охранной сигнализации, которая определяет необходимое количество рубежей охраны, охраняемых зон, шлейфов сигнализации в каждом рубеже, количество и типы используемых технических средств.

В церквах, охраняемых подразделениями вневедомственной охраны, рекомендуется применять только ТС ОС, приведенные в Перечне технических средств охранной и охранно-пожарной сигнализации, разрешенных к применению на охраняемых объектах различной формы собственности и квартирах или подлежащих передаче под охрану подразделениям вневедомственной охраны при органах внутренних дел на территории России.

4.1.2 Помещения, в которых хранятся старинные иконы, другая уникальная церковная утварь (запасники, хранилища, алтари, ризницы и т. п.), следует оборудовать многорубежной охраной и блокировать периметр, объем, площадь) помещения и (или) отдельные предметы.

Вспомогательные (подсобные) помещения достаточно оборудовать только одним рубежом охраны - периметр охраняемого помещения.

4.1.3 Для надежной работы сигнализации электропитание каждого из рубежей охраны следует осуществлять от независимого источника, причем структура сигнализации должна быть построена таким образом и использованы такие приборы охранно-пожарной сигнализации, чтобы хотя бы один рубеж из многорубежной охраны данного помещения сохранял свои функции при отключении электроэнергии.

4.1.4 В первом рубеже охраны, который, как правило, представляет собой периметр охраняемого помещения, следует блокировать:

- деревянные двери, люки, ворота - на "открывание" и при необходимости на "пролом";

- металлические двери, ворота - на "открывание" и ударное воздействие;

- остекленные конструкции - на "открывание" и разрушение стекла;

- некапитальные, стены, потолки, перегородки и места ввода коммуникаций - на "пролом";

- капитальные стены, воздуховоды и дымоходы при необходимости - на разрушение и ударное воздействие.

4.1.5 Блокировку строительных конструкций на "открывание" рекомендуют осуществлять извещателями типа СМК-1, СМК-3, И0102-4, И0102-5, И0102-6 (двери, остекленные конструкции), выключателями конечными серии ВК-200, ВК-300 и им подобными (ворота, люки, и т.п.).

При невозможности прокладки шлейфов сигнализации из-за нарушения архитектурной композиции помещений, а также для защиты отдельных предметов, к которым затруднена прокладка ШС, следует использовать извещатели 5711 WМ фирмы Ademco, работающие по радиоканалу в системе VISTA фирмы Ademco.

Помещения церкви, в которые разрешен доступ узкому кругу лиц (алтарное помещение, хранилище, и т.п.), рекомендуется оборудовать шифро-устройствами, а для помещений, в которых установлены извещатели, работающие по радиоканалу (фирмы Ademco) - ключи бесшумного входа/выхода 5727.

4.1.6 Для блокировки остекленных конструкций, неподверженных промерзанию (оконные проемы с двойными рамами) и имеющих большие площади остекления рекомендуется использовать фольгу, извещатели типа "Окно" или аналогичные.

При наличии на этих конструкциях решеток, их следует блокировать проводом ПЭЛ, ПЭВ, НВМ на разрушение (двойной оплеткой).

Если в церквах оконные проемы имеют одинарные рамы, а также если окна имеют большое количество мелких стекол, целесообразно использовать оптико-электронные извещатели "Фотон-2", "Фотон-5", "Фотон-6", "Фотон-7" или им аналогичные для блокировки остекленных конструкций.

4.1.7 Блокировку дверей, некапитальных стен (перегородок) на "пролом" следует проводить проводом ПЭЛ, ПЭВ, НВМ или аналогичным.

4.1.8 Возможно использование для блокировки дверей на "пролом" и "открывание" линейных оптико-электронных извещателей типа "Вектор-3" и пассивных оптико-электронных извещателей типа "Фотон-1М", "Фотон-2", "Фотон-5", "Фотон-6", "Фотон-7" или им аналогичных, а также оптико-электронного извещателя 5775 фирмы Ademco, работающего по радиоканалу.

4.1.9 При необходимости блокировки капитальных стен и потолков помещений, целесообразно использовать извещатель типа "Грань".

4.1.10 При отсутствии элементов технической укрепленности периметра помещения (решетки, ставни, металлические двери и т.п.) или их недостаточности необходимо использовать оптико-электронные извещатели типа "Фотон-2", "Фотон-5", "Фотон-6", "Фотон-7", формирующие зону обнаружения в виде вертикального барьера и контролирующие зону вдоль стены, оконного проема, перекрытия внутри помещения.

4.1.11 Для дополнительных рубежей охраны церкви выбор извещателей определяется характером и размещением ценностей в помещениях, а также специфическими особенностями данного помещения и сложностью монтажа без нарушения интерьера церкви. При этом не должно оставаться ни одного охраняемого предмета вне зоны действия извещателей.

4.2 Блокировки отдельных предметов

4.2.1 Помещения церкви необходимо оборудовать такими техническими средствами охраны, которые обеспечат необходимый уровень надежности охраны при минимальных расходах на приобретение, монтаж и эксплуатацию.

4.2.2 Для защиты церковных и материальных ценностей расположенных в помещениях алтарей, крестилен, пределов, ризниц и т п. следует использовать извещатели различного принципа действия и реагирующие на:

- приближение к защищаемому предмету;

- перемещение защищаемого предмета;

- разбитие стекла киота, иконы и т.д.;

- вырезание полотна иконы;

- прикосновение к защищаемому предмету.

4.2.3 Рубежи охранной сигнализации, обеспечивающие защиту наиболее ценных предметов и отдельных помещений, рекомендуют строить таким образом, чтобы имелась возможность осуществлять их охрану как в ночное, так и в дневное время, т.е. круглосуточно.

4.2.4 Защита на приближение к охраняемым предметам может быть осуществлена как с помощью извещателей, контролирующих площадь (объем) помещения, так и с помощью извещателей, создающих "заградительный" барьер.

Указанный способ блокировки рекомендуют применять для:

- защиты иконостасов алтарей;

- защиты стеллажей с иконами или другими церковными предметами в алтарных и других помещениях (в хранилищах);

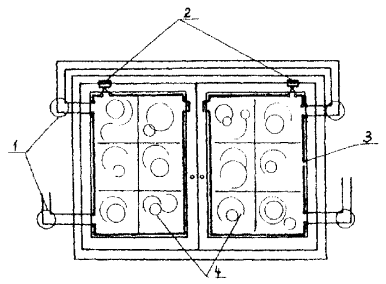
- защиты киотов, икон и других предметов, расположенных вдоль стен. На рис. 1, рис. 2, рис. 3 приведены варианты блокировки иконостасов алтарей с помощью использования пассивных оптико-электронных извещателей.

4.2.5 При размещении иконостасов алтарей (центральный и в пределах) в ряд, целесообразно защищать подходы к ним извещателями типа "Вектор-2", "Фотон-2" или "Фотон-6", "Фотон-7" с линейной зоной обнаружения, причем для создания надежного защитного барьера необходимо использовать несколько извещателей "Вектор-2".

При блокировке извещателями "Фотон-2", "Фотон-6", "Фотон-7" участка помещения размером более 15 м для надёжной защиты рекомендуют использовать два извещателя, установленных навстречу друг другу (рис. 1, 2).

Рис. 1 - Вариант блокировки иконостасов алтарей, размещенных в ряд

1 - помещение алтаря северного предела; 2 - помещение центрального алтаря; 3 - помещение алтаря южного предела; 4 - боковая входная, дверь в алтарные помещения; 5 - царские ворота иконостасов; 6 - иконостасы алтарей; 7 - извещатели "Фотон-6" ("Фотон-7"); 8 - элементарные зоны обнаружения извещателями.

Рис. 2 - Зона блокировки извещателями "Фотон-6" ("Фотон-7") иконостасов алтарей

1 - иконостасы алтарей; 2 - иконы; 3 - царские ворота; 4 - боковые двери в алтарное помещение; 5 - элементарные зоны обнаружения извещателей; 6 - извещатели "Фотон-6" ("Фотон-7").

4.2.6. Для защиты иконостасов алтарей в отдельных помещениях целесообразно использовать извещатели, контролирующие площадь (объем) помещения. К таким извещателям относятся:

- оптико-электронные типа "Фотон-6", "Фотон-7" с объемными зонами обнаружения, "Фотон-1М", "Фотон-4", "Фотон-5", "Квант-3" или аналогичные, а также извещатели 5775 фирмы Ademco, работающие по радиоканалу;

- ультразвуковые типа "Эхо-2", "Эхо-3" или аналогичные;

- радиоволновые типа "Волна-2", "Волна-М", "Аргус" или аналогичные:

- комбинированные типа "Сокол-1" или аналогичные.

На рис. 3 приведен вариант блокировки иконостаса алтаря с помощью извещателя "Фотон-4".

Рис. 3 - Вариант блокировки иконостаса алтаря извещателем "Фотон-4"

1 - извещатель "Фотон-4"; 2 - элементарные зоны обнаружения извещателя; 3 - царские ворота; 4 - настенный киот.

Такой вариант обеспечивает надежную защиту не только иконостаса, но и объема всего помещения вместе с другими церковными предметами и предотвращает проникновение в охраняемое помещение через пол, потолок, стены и окна.

При блокировке церковных помещений, объем которых заполнен большим количеством предметов церковной утвари, а также помещений (алтарные помещения, хранилища икон, ризницы и т.п.), имеющих легкие деревянные перегородки, целесообразно использовать радиоволновые извещатели. Это позволит надежно защитить пространство перед предметами (иконами, перегородками и т.п.) и за ними.

На рис. 4 приведен вариант блокировки радиоволновым извещателем "Волна-М" стеллажей с иконами в алтарном помещении.

Рис. 4 - Вариант блокировки церковных ценностей в алтарном помещении извещателем "Волна-М"

1 - стеллажи с иконами, 2 - извещатель "Волна-М", 3 - зона обнаружения извещателя.

4.2.7 Для защиты церковных предметов (икон на стенах и в киотах, подсвечников, лампад и т. п.) на перемещение можно использовать простейшие извещатели типа СМК, И0102 (для неметаллических предметов), провод НВМ, ПЭЛ, однако для этих целей наиболее эффективными являются извещатели поверхностные электростатические типа "Гюрза-050", а также извещатели, контролирующие площадь (объем) помещения, указанные в п. 4.2.6. Использование данных типов извещателей обеспечивает надежную защиту церковных предметов, не требует больших затрат на монтаж, не нарушает архитектурной композиции церковного помещения и не отвлекает внимание верующих во время проведения служб.

На рис. 5, 6, 7, 8 приведены варианты блокировки предметов церковной утвари с использованием поверхностного электростатического извещателя "Гюрза-050". Данный извещатель имеет чувствительность, обеспечивающую выдачу сигнала тревоги при подъеме или смещении охраняемых предметов церковной утвари весом от 0,05 до 20 кг. При блокировке других церковных предметов, например, висячих лампад, светильников, люстр и т. п. зажимы и сенсоры должны подключаться к элементам подвеса этих предметов.

Рис. 5 - Вариант блокировки извещателем "Гюрза-050" одной иконы

1 - зажим; 2 - сенсор N1; 3 - струна; 4 - кабель РК; 5 - шнур подвеса иконы; 6 - извещатель.

Рис. 6 - Вариант блокировки извещателем "Гюрза-050" нескольких икон.

1 - зажим; 2 - сенсор N1; 3 - струна; 4 - кабель РК; 5 - шнур подвеса икон; 6 - извещатель.

Рис. 7 - Вариант блокировки извещателем "Гюрза-050" отдельных предметов (библия, крест)

1 - сенсор N3; 2 - кабель РК к извещателю; 3 - библия, 4 - тканевое покрытие; 5 - стол (тумба).

Рис. 8 - Вариант блокировки напольного подсвечника извещателем "Гюрза-050"

1 - шайбы; 2 - сенсор N1; 3 - пол; 4 - кабель РК к извещателю.

4.2.8 Для зашиты стеклянной поверхности иконы, киота и т. и. следует применять извещатели типа "Гюрза-050", провод ПЭЛ диаметром 0,12...0,15 мм, алюминиевую фольгу шириной 3 мм, а также извещатели, контролирующие площадь (объем) помещения, указанные в п. 4.2.6.

На рис. 9 приведен вариант зашиты дверцы киота на разбитие стекла с использованием алюминиевой фольги.

Рис 9. Вариант блокировки на разбитие стекла дверцы киота с использованием алюминиевой фольги

1 - коробка соединительная К-14; 2 - извещатель магнитоконтактный СМК-1 (ИО102-4); 3 - алюминиевая фольга; 4 - стекло дверцы киота.

Для защиты стеклянной поверхности икон и киотов, расположенных в ряд, рекомендуют применять оптико-электронный извещатель "Фотон-5". Извещатель формирует зону обнаружения в виде сплошного вертикального барьера и обеспечивает достаточно высокую надежность охраны при сравнительно малых затратах на монтаж, имеет малые габариты, легко маскируется.

4.2.9 Для защиты металлических церковных предметов (подсвечников, лампад, окладов икон, металлических шкафов, сейфов и т. п.) на прикосновение следует использовать емкостные извещатели типа "Риф-М", "Пик", а также извещатели, контролирующие площадь (объем) помещения, указанные в п. 4.2.6.

4.2.10 Для усиления охраны целесообразно применять дополнительные технические средства - ловушки. Ловушками оборудуются локальные участки (тамбуры между дверьми, коридоры, внутренние двери, выходы из подвальных и чердачных помещений, вентиляционные короба, дымоходы и т.п.). В качестве ловушек применяют, как правило, магнитоконтактные типа СМК оптико-электронные извещатели типа "Вектор-2", "Вектор-3" и им аналогичные. В этих же целях можно использовать извещатели, контролирующие площадь (объем) помещений.

4.2.11 Для повышения надежности срабатывания охранной сигнализации при блокировке помещений церкви необходимо использовать совместно извещатели различного принципа действия, например, оптико-электронные с ультразвуковыми или радиоволновыми, ультразвуковые с радиоволновыми, а также объемные комбинированные извещатели типа "Сокол-1".

4.2.12 Преимущества комбинированного извещателя "Сокол-1" перед другими типами извещателей заключаются в том, что данный извещатель сочетает в себе функции пассивного оптико-электронного извещателя и радиоволнового, причем сигнал тревоги вырабатывается только в том случае, когда произойдет последовательное срабатывание ИК и СВЧ датчиков извещателя.

Извещатель имеет высокую защищенность от воздействия различного вида помех, в том числе: насекомых, мелких животных, движения людей вне охраняемого помещения, вибраций и колебаний местных предметов излучения нагревательных приборов и т. д.

4.3 Блокировка периметра (ограждения) церкви

4.3.1 Средства периметральной охранной сигнализации необходимо размещать на ограждении или в полосе отчуждения вдоль ограждения. Выбор конкретных типов средств охранной сигнализации производится в зависимости от рельефа местности, наличия полосы отчуждения и ее ширины, протяженности периметра.

4.3.2 В качестве аппаратуры периметральной охранной сигнализации рекомендуется использовать устройства типа "Рубеж-1М", "Рубеж-3М" "Мак", "Радий-1" или аналогичные.

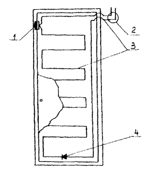
На рис. 10. приведен вариант блокировки внешнего ограждения церкви по периметру извещателем "Рубеж-3М".

Извещатель оптико-электронный "Рубеж-1М" формирует четырехлучевой ИК-барьер высотой 1,5 м и блокирует участок длиной до 200 м а "Рубеж-3М" соответственно - два отдельных независимых однолучевых или один совместный двухлучевой и блокирует участок до 300 м.

Извещатель радиоволновой линейный "Радий-1" блокирует участок длиной от 20 до 200 м, шириной не более 6 м и высотой до 2,5 м.

4.3.3 Для усиления охраны периметра церкви, а также ее помещении, в которых сосредоточено значительное количество уникальных и особо ценных экспонатов и материальных ценностей, могут быть использованы телевизионные системы наблюдения.

Рис. 10 - Вариант блокировки периметра внешнего ограждения церкви

1 - излучатели извещателей "Рубеж-3М"; 2 - приемники извещателей "Рубеж-3М".

4.3.4 Телевизионные системы наблюдения предназначены для передачи визуальной информации о состоянии охраняемого периметра, территории или помещений церкви на пост охраны. Применение телевизионного контроля позволяет, в случае получения сигнала о нарушении, определить характер и место нарушения, направление движения нарушителя и принять необходимые меры.

Комплекс технических средств телевизионных систем наблюдения состоит из:

- передающих телевизионных камер, видеоконтрольных устройств и пульта управления:

- линий связи, устройства электропитания и дополнительных устройств, обеспечивающих необходимое освещение охраняемой территории или помещении.

4.3.5 Выбор типа и количества применяемых телевизионных камер и их размещение следует выполнять с учетом конкретных особенностей охраняемой церкви.

4.3.6 Пульт управления и видеоконтрольные устройства телевизионной системы наблюдения следует размешать в помещении поста охраны.

4.4 Размещение и монтаж охранной сигнализации в помещениях церквей

4.4.1 Магнитоконтактные извещатели типа СМК, И0102 рекомендуют устанавливать по одному на каждый блокируемый элемент скрытым или открытым способом.

В обоснованных случаях, при блокировке на открывание внутренних дверей, на них можно устанавливать по два извещателя СМК, И0102 на каждый блокируемый элемент.

Извещатели следует размещать в верхней части блокируемого элемента на расстоянии до 200 мм от вертикальной линии раствора с внутренней стороны охраняемого помещения.

Магнитоуправляемый контакт должен быть установлен на неподвижной части блокируемого элемента, а узел постоянного магнита на его подвижной части (с учетом параллельности и допустимым расстоянием между узлами не более 8 мм).

4.4.2 Извещатели охранные поверхностные ударноконтактные типа "Окно-1", "Окно-2", "Окно-4" должны быть размещены с внутренней стороны стекол блокируемых конструкций таким образом, чтобы исключалась возможность умышленного или случайного повреждения составных частей извещателя или соединительных линий.

На стеклах площадью до 3 м2, если диагональ полотна не более 2,5 м, датчики разрушения стекла (ДРС) должны быть установлены на расстоянии 10-15 см от обвязки в средней точке верхней стороны полотна. Допускают устанавливать ДРС в одном из углов у верхних боковых сторон полотна, на том же расстоянии от обвязки, если при этом обеспечена минимальная длина линии от ДРС до блока обработки сигнала (БОС) и количество соединительных коробок.

4.4.3 В охраняемых помещениях, подверженных действию вибрационных и ударных помех, а также, где требуется сохранить декор внутренних помещений для блокировки остекленных поверхностей, следует применять алюминиевую фольгу толщиной 0,008 - 0,01 мм шириной 6-8 мм - для зашиты оконных проемов и шириной 3 мм - для защиты стекол киотов и икон.

Для исключения возможности "закорачивания" шлейфов сигнализации с целью деблокирования застекленных проемов рекомендуют к блокируемой конструкции подводить две линии шлейфа сигнализации (см. рис. 9). В местах переходов с одного участка фольги на другой, в непосредственной близости друг от друга должны находиться только линии разных участков шлейфа сигнализации.

4.4.4 Блокировку строительных конструкций (дверей, люков, ворот, некапитальных стен, перегородок, потолков и т.п.) на пролом производят проводом типа НВМ сечением 0,2 мм2, ПЭЛ, ПЭВ диаметром 0,18 - 0,25 мм или аналогичным, скрытым или открытым способом.

Для исключения возможности "закорачивания" шлейфов сигнализации с целью деблокирования строительных конструкций рекомендуется к блокируемой конструкции подводить две линии шлейфа сигнализации или включать в шлейф сигнализации диод, как показано на рис. 11.

Рис. 11 - Вариант блокировки двери проводом на "пролом"

1 - извещатель СМК-1 (И0102-1), 2 - коробка соединительная К-14; 3 - провод НВМ, 4 - диод.

Провод должен быть проложен по внутренней стороне блокируемых строительных конструкций, по всей площади параллельно контурным линиям с шагом не более 200 мм и крепиться скобами. Расстояние между скобами - не более 200 мм.

При открытом способе прокладки провода крепятся непосредственно к поверхности элементов строительных конструкций с последующей защитой их от случайных повреждений фанерой, оргалитом и другими токонепроводящими, декоративными материалами.

При скрытом способе провод прокладывают и крепят в штробах с последующей клеевой шпатлевкой и закрашиванием. Глубина и ширина штроба должны быть не менее двух диаметров провода.

4.4.5 Блокируемые емкостными извещателями металлические предметы, шкафы, сейфы должны быть установлены на полу с хорошим изоляционным покрытием. При установке блокируемых предметов на каменных, бетонных и других полах с низким сопротивлением изоляции, необходимо размещать под ними резиновый коврик или другой аналогичный изоляционный материал.

4.4.6 При блокировке предметов поверхностным электростатическим извещателем "Гюрза-050" необходимо учитывать следующие требования:

- все сенсоры рекомендуют подключать к извещателю посредством линии подключения параллельно;

- линии подключения рекомендуют выполнять радиочастотным кабелем типа РК-50-1,5, РК-75-1,5;

- подключение сенсоров к линии осуществлять пайкой припоем ПОС-40, ПОС-60 с бескислотным флюсом;

- длина неэкранированного участка центрального проводника кабеля должна быть не более 5 мм.

4.4.7 При выборе места установки радиоволновых извещателей в охраняемых помещениях церквей необходимо учитывать следующие требования:

- установку извещателя необходимо производить на жестких, устойчивых к вибрации опорах (капитальных стенах, колоннах и т.п.);

- извещатель должен быть ориентирован в помещении таким образом, чтобы он не был направлен прямо на оконные проемы, вытяжные воздуховоды, тонкие перегородки за которыми в период охраны возможно движение людей;

- в зоне обнаружения извещателя не должно быть предметов больших габаритов, крупных металлических поверхностей (шкафов, перегородок), которые могут создавать "радиотени" (зоны нечувствительности);

- на период охраны в охраняемом помещении не допускают включение люминесцентных ламп, расположенных к извещателю ближе 12 м, оставлять кошек, собак и других домашних животных:

- при использовании двух или более извещателей в одном помещении извещатели должны иметь различные частотные литеры.

Высота установки извещателя, в зависимости от размеров охраняемого помещения, должна быть в пределах 2-3 м от пола.

4.4.8 При выборе места установки ультразвуковых извещателей в охраняемых помещениях церквей необходимо соблюдать следующие требования:

- различные ограждающие поверхности (шиты, перегородки, стены, шкафы, и т.п.) должны находиться не ближе 2 м от лицевой части блоков извещателей и не ближе 1 метра от каждой боковой стенки блока (т. е. охраняемое помещение не должно иметь длину, ширину и высоту менее 2 м);

- высота установки извещателей от пола должна быть в пределах 1,5-2,5м;

- необходимо ориентировать зону обнаружения извещателя таким образом, чтобы перед ней находилась большая часть охраняемой площади помещения.

Не допускается установка извещателей непосредственно над батареями отопления, над форточками, вблизи штор, занавесок и печей, вблизи декоративных растений и цветов, ветви которых могут колебаться под действием движения воздуха в помещении.

При выполнении монтажных работ следует учитывать, что соединения ведутся неэкранированным проводом. Для повышения устойчивой работы извещателя соединительные провода между блоками извещателей должны быть проложены на расстоянии не менее 0,2 м от силовых сетевых линий и от линий, которыми производится подключение сетевых световых и звуковых оповещателей к приемно-контрольным приборам.

4.4.9 При установке в охраняемых помещениях церквей оптико-электронных активных извещателей должны быть выполнены следующие общие требования:

- излучатель и приемник следует устанавливать на жестких, устойчивых к вибрации опорах (капитальные стены, колонны и т. п.);

- недопустимо попадание на объективы прямых солнечных лучей, приводящих к перегреву и преждевременному выходу из строя фото- и светодиодов;

- недопустимо, чтобы на объектив приемника попадали солнечные блики и свет автомобильных фар:

- пространство, по которому проходит луч, по ширине и высоте на 0,5 м должно быть свободно от посторонних предметов.

4.4.10 При выборе места установки пассивных извещателей в охраняемых помещениях церквей необходимо руководствоваться следующими положениями:

- извещатель в процессе эксплуатации не должен освещаться солнцем, особенно если перед окном имеются деревья, крона которых может создавать световые блики;

- извещатель не следует устанавливать так, чтобы он (или стена, икона, киот напротив него) освещалась автомобильными фарами или прожекторами;

- извещатель не следует устанавливать на расстоянии менее 1,5 м от вентиляционного отверстия, от батареи отопления или печи. При этом не рекомендуется устанавливать извещатель над батареей отопления.

В исключительных случаях, когда охраняемое помещение, имеющее большие остекленные проемы, расположено на первом этаже церкви, где возможны засветки отраженным светом от фар проезжающего автотранспорта, на извещатель необходимо устанавливать светозащитный фильтр.

4.4.11 Допустимая длина линии питания от извещателей до блоков питания "Электроника Д2-27" должна быть не более 50 м. Проводка питающей линии от блока питания к извещателю должна быть выполнена проводом марки ТРП, ТРВ, АГРП, АГРВ с диаметром жилы 0,4-0,7 мм.

Блок питания "Электроника Д2-27" совместно с резервным источником постоянного тока устанавливают на приборном щите (в шкафу) в специально выделенном помещении, где установлены все приемно-контрольные приборы, либо в охраняемом помещении, в котором на стене, на высоте 1-2 м от уровня пола размещен питаемый им извещатель.

Длина соединительного сетевого провода от розетки до блока питания не должна превышать 2 м. При невозможности соблюдения данного условия, в охраняемом помещении допускают установку дополнительной стационарной розетки в соответствии с требованиями ПУЭ.

При использовании в качестве резервного источника питания резервной аккумуляторной батареи или сухих элементов, должна быть обеспечена работа технических средств сигнализации в течение не менее одних суток - в дежурном режиме и не менее 3 часов - в режиме тревоги.

4.4.12 В помещениях церкви, где возможны механические повреждения электропроводки, необходимо применять скрытую электропроводку, открыто проложенные провода и кабели должны быть защищены защитными оболочками, трубами, коробами, ограждениями.

4.4.13 Для монтажа электропроводок шлейфа сигнализации применяют провода марок ТРП, ТРВ, а выводы от блокируемых элементов до ответвительных коробок типа УК-2П - проводами марки НВМ, МСВ или аналогичными по параметрам.

4.4.14 Соединительные силовые цепи электропроводок выполняются, как правило, кабелями марки ТГ, ТБ, ТПВЭП, ТППЭП, ТППБ с жилами диаметром не менее 0,4 мм и емкостью от пяти пар и более.

4.4.15 Электропроводки, проходящие по наружным стенам па высоте менее 2,5 м или через помещения, которые не подлежат защите, должны быть выполнены скрытым способом или в металлических трубах.

4.4.16 При открытой параллельной прокладке расстояние между проводами и кабелями шлейфа сигнализации и соединительных линий с силовыми и осветительными проводами и кабелями должны быть не менее 0,5 м.

При необходимости прокладки этих проводов и кабелей на расстоянии менее 0,5 м от силовых и осветительных проводов они должны иметь защиту от наводок.

Допускается уменьшение расстояния до 0,25 м от проводов и кабелей шлейфов сигнализации и соединительных линий до одиночных осветительных проводов и контрольных кабелей без защиты от наводок.

4.4.17 При пересечении силовых и осветительных сетей кабели и провода шлейфа сигнализации и соединительных линий в местах пересечения на каждый провод должна быть наложена дополнительная изоляция (резиновая или полихлорвиниловая трубка, концы которой должны выступать на 4-5 мм с каждой стороны перехода).

4.4.18 При прокладке кабеля в местах поворота под углом 90 град или близких к нему радиус изгиба должен быть не менее семи диаметров кабеля.

4.4.19 Кабели и провода должны быть закреплены к строительным конструкциям при помощи скреп или скоб из тонколистовой оцинкованной стали, полиэтиленовых, эластичных скоб. Установка крепежных деталей должна быть произведена с помощью шурупов или клея.

4.4.20 Крепление проводов следует выполнять:

- с разделительными основаниями типа ТРВ, ТРП - стальными гвоздями при условии, что диаметр шляпки гвоздя не больше расстояния между жилами провода;

- без разделительного основания НВМ, ПМВГ - скобами.

В местах крепления провода под скобы должна подкладываться неразрезанная или разрезанная, но большего диаметра полихлорвиниловая трубка длиной не менее 10 мм.

Шаг крепления при горизонтальных прокладках - 0,25 м, при вертикальных - 0,35 м.

Сращивание и ответвление проводов марок ТРП, ТРВ и аналогичные им следует производить в коробах методом пайки или под винт.

4.4.21 При прокладке нескольких проводов по одной трассе допускают располагать их вплотную друг к другу. Гвоздики скобы, крепящие провод, располагать в шахматном или последовательном порядке (взаимно сдвинутые по длине провода на 20 мм).

4.4.22 При выполнении скрытой проводки в полу и между этажных перекрытиях кабели должны быть проложены в каналах и трубах. Заделка кабелей в строительные конструкции наглухо не допускается.

4.4.23 Приемно-контрольные приборы должны быть установлены в помещениях церкви, куда исключен доступ посторонних лиц.

4.4.24 Для исключения доступа посторонних лиц к извещателям объемного обнаружения, размещенных в помещениях, коридорах, других местах церкви должны быть приняты меры по их маскировке и скрытой установке.

4.5 Размещение и монтаж периметральной охранной сигнализации

4.5.1 Излучатели и фотоприемники периметральных извещателей должны быть установлены на границах блокируемого участка на жестких устойчивых к вибрациям опорах (капитальных стенах, столбах диаметром от 60 до 120 мм), обеспечивающих отсутствие колебаний амплитудой более 0,1 мм при воздействии внешних возмущающих воздействий.

В зоне действия извещателей не должно быть построек, кустарника, деревьев и т.п.

В зависимости от структуры блокируемого участка извещатели следует использовать в двух вариантах размещения на охраняемой территории: вдоль забора, над забором.

Для защиты блоков извещателей от посторонних лиц рекомендуется размещать блоки в специальных кожухах.

Соединительные и сетевые провода должны быть проложены в трубах или металлорукавах.

4.5.2 Телевизионные системы наблюдения должны иметь защиту от механических повреждений и устанавливаться в местах, исключающих возможность их умышленного повреждения и позволяющих осуществлять обзор участков охраняемого периметра и территории.

4.5.3 Прокладку коаксиальных кабелей, кабелей питания и управления, заземляющих проводников телевизионных систем наблюдения производят в соответствии с требованиями "Правил устройства электроустановок" (ПУЭ-87) и "Инструкцией по монтажу сооружений устройств связи радиовещания и телевидения" ВСН-600-81 Минсвязи РФ.

4.6 Виды сигнализации и выдача тревожного сообщения

4.6.1 В охраняемых церквах следует использовать три вида сигнализации:

- централизованная;

- совмещенная;

- автономная.

4.6.2 Централизованную сигнализацию (предподчительную) следует строить так, чтобы все рубежи охраны церкви (в зависимости от сосредоточения ценностей) выходили на приемно-контрольные приборы (ПКП) малой или средней информативной емкости, а с них на пульт централизованного наблюдения (ПЦН). Передача тревожного сообщения на ПЦН может осуществляться как по телефонным линиям, так и по радиоканалу с использованием аппаратуры "Струна" или "Струна-2".

Указанная аппаратура очень эффективна при организации централизованной и автономной охраны нетелефонизированных церквей (в сельской местности), находящихся на расстоянии до 3-х км от пункта охраны. Имеет высокую помехозащищенность и обеспечивает:

- централизованную охрану до 20 объектов ("Струна") и до 7 объектов ("Струна-2");

- автоматизацию процессов сдачи объектов под охрану и снятия с охраны;

- многорубежную охрану;

- высокую информативность;

- оперативность и простоту развертывания аппаратуры:

- возможность подключения световых и звуковых оповещателей к объектовому устройству.

4.6.3 Совмещенная сигнализация строится следующим образом:

- все рубежи, как указано в п. 4.6.2, должны быть выведены на ПКП;

- сигнал тревоги должен быть выведен с ПКП в помещение сторожа (смотрителя);

- передача на ПЦН может быть осуществлена аналогично п. 4.6.2 из помещения сторожа.

4.6.4 Данный вид сигнализации допускается использовать в случае, когда территория церкви имеет внешнее ограждение и внутреннюю (круглосуточную) сторожевую охрану. При этом в помещении сторожа должна быть установлена кнопка тревожной сигнализации, предназначенная для передачи сигналов треноги по телефонным линиям, а при их отсутствии - по радиоканалу на ПЦП или в дежурные части органов внутренних дел для принятия своевременных мер в случае попыток проникновения в охраняемые помещения церкви.

4.6.5 Кнопки тревожной сигнализации следует также устанавливать в охраняемых помещениях церкви и в местах возможного проникновения нарушителя (около входных дверей, дверей алтарей, оконных проемов и т. п.) для того, чтобы при обходе сторожем помещений церкви, в случае поступления сигнала тревоги, можно было своевременно вызвать группу задержания.

4.6.6 Автономная сигнализация строится следующим образом:

- все рубежи, как и п. 4.6.2 должны быть выведены на ПКП;

- сигнал тревоги должен быть выведен с ПКП в помещение сторожа, если такое имеется и (или) на световые и звуковые оповещатели.

4.6.7 Данный вид сигнализации допускается использовать при охране церквей, расположенных в малонаселенных городах или сельской местности. Звуковая и световая сигнализация при этом служит для привлечения внимания служителей церкви, работников милиции, охраны и населения при срабатывании ПКП.

4.6. В качестве световых оповещателей используются лампы накаливания и неоновые лампы, а в качестве звуковых оповещателей - различные звонки и сирены. Оповещатели следует, как правило, устанавливать на охраняемой церкви с фасадной стороны в местах, удобных для визуального и звукового контроля (наружные стены, межоконные пространства, тамбуры выходных дверей).

Оповещатели останавливают на высоте не менее 2,5 м. Место установки светового оповещателя выбирают с учетом минимального расстояния от ПКП и возможности визуального контроля за оповещателем с максимального расстояния при закрытой двери церкви.

Способ установки светового оповещателя должен обеспечивать его защиту от механических повреждений: при наружной установке лампа устанавливается в защитной металлической арматуре, укрепленной на металлическом кронштейне или стене церкви.

СОДЕРЖАНИЕ

1 общие положения. 1

2 техническая укрепленность конструктивных элементов церквей и их помещений. 2

3 техническая укрепленность внешних ограждающих конструкций. 4

4 оснащение церквей техническими средствами охранной сигнализации. 4

4.1 блокировка церковных помещений. 4

4.2 блокировки отдельных предметов. 5

4.3 блокировка периметра (ограждения) церкви. 10

4.4 Размещение и монтаж охранной сигнализации в помещениях церквей. 11

4.5 Размещение и монтаж периметральной охранной сигнализации. 14

4.6 виды сигнализации и выдача тревожного сообщения. 15

 

 




ГОСТЫ, СТРОИТЕЛЬНЫЕ и ТЕХНИЧЕСКИЕ НОРМАТИВЫ.
Некоммерческая онлайн система, содержащая все Российские Госты, национальные Стандарты и нормативы.
В Системе содержится более 150000 файлов нормативно-технической документации, действующей на территории РФ.
Система предназначена для широкого круга инженерно-технических специалистов.

Рейтинг@Mail.ru Яндекс цитирования

Copyright © www.gostrf.com, 2008 - 2026