Крупнейшая бесплатная информационно-справочная система онлайн доступа к полному собранию технических нормативно-правовых актов РФ. Огромная база технических нормативов (более 150 тысяч документов) и полное собрание национальных стандартов, аутентичное официальной базе Госстандарта. GOSTRF.com - это более 1 Терабайта бесплатной технической информации для всех пользователей интернета. Все электронные копии представленных здесь документов могут распространяться без каких-либо ограничений. Поощряется распространение информации с этого сайта на любых других ресурсах. Каждый человек имеет право на неограниченный доступ к этим документам! Каждый человек имеет право на знание требований, изложенных в данных нормативно-правовых актах!

  


 

МИНИСТЕРСТВО ЭНЕРГЕТИКИ И ЭЛЕКТРИФИКАЦИИ СССР
ГЛАВТЕХСТРОЙ

ВСЕСОЮЗНЫЙ ОРДЕНА ТРУДОВОГО КРАСНОГО ЗНАМЕНИ
НАУЧНО-ИССЛЕДОВАТЕЛЬСКИЙ ИНСТИТУТ ГИДРОТЕХНИКИ
имени Б.Е. ВЕДЕНЕЕВА

МЕТОДИКА СОСТАВЛЕНИЯ
ГЕОСТРУКТУРНЫХ СХЕМ (МОДЕЛЕЙ)
СКАЛЬНЫХ МАССИВОВ В ОСНОВАНИЯХ
ГИДРОСООРУЖЕНИЙ

ПОСОБИЕ К СНиП 2.02.02-85

П 55-90
ВНИИГ

ЛЕНИНГРАД. 1991

Работа содержит методику (и ее обоснование) выделения в скальном массиве объемных инженерно-геологических элементов, а также примеры построения геоструктурных схем (моделей) оснований сооружений.

Методика базируется на представлениях о трещиноватых скальных породах в массивах, служащих основаниями или средой размещения крупных инженерных сооружений, в общем случае как о дискретной, неоднородной и анизотропной среде зонально-блочного строения. При этом учитывается, что изменчивость минерального состава, структуры, текстуры, состояния и свойств пород определяется их генезисом, историей и закономерностями формирования, развития и дезинтеграции горных пород во времени.

Методика составлена в лаборатории инженерной геологии и геокриологии ВНИИГ им. Б.Е. Веденеева и предназначена для инженеров-геологов, геомехаников, гидрогеологов, геофизиков, проектировщиков, занимающихся обоснованием гидротехнического, гражданского и шахтного строительств.

ПРЕДИСЛОВИЕ

Проектирование и строительство крупных инженерных сооружений, в том числе гидротехнических (энергетического, транспортного, водохозяйственного и ирригационного назначения), особенно в горных районах с повышенной сейсмической активностью и сложным геологическим строением, требуют надежного инженерно-геологического обоснования проектных решений, базирующихся на расчетах прочности и устойчивости системы сооружение-основание. Для проведения расчетов или физического моделирования этих систем необходима инженерно-геологическая схема (модель) основания, содержащая информацию о структуре массива (геоструктурная модель) и физико-механических свойствах среды (модели свойств) с соответствующей для расчетов и экспериментов степенью упрощения (схематизации), но без нарушения принципиальных особенностей среды.

Геоструктурная модель основания отражает состав, структуру и состояние массива. По форме она представляет собой систему разрезов и карт, на которых выделены контуры квазиоднородных инженерно-геологических элементов. Геоструктурная модель составляется на основе результатов инженерно-геологических изысканий и исследований скальных массивов комплексом методов: геолого-съемочных, геофизических, горно-буровых, полевых и лабораторных исследований состава и свойств пород. Представляется, что в программе инженерно-геологических изысканий необходимо предусматривать целенаправленные геоструктурные исследования для участков основных сооружений, обеспечивающие составление с требуемой детальностью расчетных схем и моделей систем основание-сооружение.

В настоящее время общепризнано, что любой скальный массив как основание инженерного сооружения (будучи расчлененным нарушениями сплошности разного генезиса, в том числе экзогенными трещинами выветривания и разгрузки) - в общем случае дискретная, неоднородная и анизотропная среда зонально-блочного строения. Концепция о зонально-блочном строении скальных массивов разрабатывалась одним из старейших инженеров-геологов нашей страны А.М. Гуреевым, начиная с шестидесятых годов [18 - 22]. Под его руководством созданы геоструктурные модели оснований: Кассебской (Тунис), Токтогульской, Красноярской, Ингурской, Саяно-Шушенской, Могилев-Подольской, Нурекской ГЭС, Стрыйского гидроузла и др. Подавляющая часть этих разработок в виде фондовых материалов использовалась для расчетов и экспериментального моделирования, в частности, на уникальной большой геомеханической модели скального основания арочной плотины Ингури ГЭС в масштабе 1:150. Эта модель, созданная и исследованная во ВНИИГе канд. техн. наук Антоновым С.С. на геоструктурной основе (А.М. Гуреев, И.С. Брюн), была сложена из прямоугольных и треугольных призматических блоков двенадцати типоразмеров, число которых превышало 300 тысяч. Однако все эти разработки ВНИИГа по методике геоструктурного моделирования до настоящего времени не были обобщены и изданы в виде нормативно-методического документа.

В последние годы во ВНИИГе были разработаны модели оснований и выполнены модельные исследования надежности систем основание-сооружение для важнейших отечественных гидроузлов, в том числе: Рогунского, Колымского, Бурейского, Богучанского, Тельмамского и др. (В.С. Владимирский, Н.М. Карпов, А.А. Никитин и др.). О некоторых из них сказано в Приложении 6 настоящей Методики.

Параллельно с работами ВНИИГа инженерно-геологическое моделирование скальных массивов развивалось другими исследователями в нашей стране (А.А. Варга, В.В. Каякин, А.В. Количко, А.Г. Лыкошин, Л.С. Мирошникова, Н.Ф. Новиков, И.А. Пирогов, М.В. Рац, С.Б. Ухов, С.Н. Чернышев и др.) и за рубежом (Л. Мюллер, Ф. Пахер, Дж. Стини, У. Крамбейн и Ф. Грейбилл и др.).

Настоящая Методика подготовлена в лаборатории инженерной геологии и геокриологии А.М. Гуреевым, О.К. Воронковым, И.С. Брюном, В.С. Владимирским.

Научное редактирование выполнено Д.Д. Сапегиным и Н.Ф. Кривоноговой.

При составлении Методики были учтены замечания и предложения ряда организаций: Гидропроекта им. С.Я. Жука, ЛГТУ, Ленгидропроекта, а также специалистов ВНИИГ им. Б.Е. Веденеева. Авторы благодарят А.А. Варгу, Н.М. Карпова, Н.Ф. Кривоногову, А.П. Митрофанова, И.А. Пирогова, Д.Д. Сапегина, способствовавших своими советами и помощью выполнению данной работы.

Замечания и пожелания просьба направлять в адрес ВНИИГ им. Б.Е. Веденеева - 195220, Ленинград, Гжатская ул., 21, лаборатория инженерной геологии и геокриологии.

Министерство энергетики и электрификации СССР

Методика составления геоструктурных схем (моделей) скальных массивов в основаниях гидросооружений

П 55-90

ВНИИГ

1. ОБЩИЕ ПОЛОЖЕНИЯ

1.1. Настоящей Методикой целесообразно руководствоваться при составлении геоструктурных моделей (ГСМ) скальных массивов как основы для построения частных (специализированных) моделей их физико-механических свойств (деформационных, прочностных, фильтрационных и т.д.). Комплекс ГСМ и специализированных моделей образует инженерно-геологическую модель скального основания (рис. 1) (по [49] с дополнениями). Методику можно использовать также: а) при обработке, интерпретации и обобщении материалов изысканий и исследований скальных и полускальных оснований плотин, туннелей, камер подземных ГЭС и т.д.; б) при составлении расчетных схем работы системы сооружение-основание; в) при разработке проектов физических моделей основания (геомеханических, гидравлических, фильтрационных); г) при разработке проектов специальных видов исследований массива: геофизических, геомеханических, опытно-фильтрационных и др.

Рис. 1. Принципиальная схема инженерно-геологической модели основания гидротехнического сооружения.

Внесена Всесоюзным ордена Трудового Красного Знамени научно-исследовательским институтом гидротехники им. Б.Е. Веденеева

Утверждена ВНИИГ им. Б.Е. Веденеева решением № 21
от 6 ноября 1990 г.

Срок введения III кв. 1991 г.

Примечания: 1. Основные положения методики составления ГСМ скальных массивов в основаниях гидросооружений применимы для инженерно-геологического обоснования проектов любых крупных инженерных сооружений.

2. При пользовании положениями настоящей Методики следует также соблюдать требования СНиП на проектирование оснований сооружений (2.02.02-85, II-7-81), на инженерные изыскания (1.02.07-87), ГОСТ 20522-75, 25100-82 и других общесоюзных и ведомственных нормативно-методических документов, относящихся к вопросу инженерно-геологического изучения скальных оснований сооружений и массивов.

3. Рис. 1 содержит необходимый перечень инженерно-геологических аспектов изучения скального основания и последовательность анализа материалов изысканий. Приведенный здесь набор частных моделей не является обязательным во всех случаях. Как правило, для решения основных задач проектирования достаточно ограничиться моделями деформационных, прочностных и фильтрационных характеристик свойств.

Основные понятия, принятая терминология, условные обозначения и единицы измерения

1.2. Геоструктурная модель (ГСМ) характеризует пространственное распределение (в том числе: условия залегания, структурно-петрологические особенности, структурно-тектонические и стратиграфические взаимоотношения) инженерно-геологических элементов массива - однородных или квазиоднородных по своим физическим свойствам.

Инженерно-геологический элемент (ИГЭ) - некоторый объем грунта одного и того же номенклатурного вида при выполнении одного из условий: 1) характеристики грунта изменяются в пределах ИГЭ незакономерно; 2) существующая закономерность в изменении характеристик такова, что ею можно пренебречь (ГОСТ 20522-75).

В качестве инженерно-геологических элементов скального основания (на разных масштабах изучения) могут выступать:

а) структурно-петрологические зоны (СПЗ) и блоки (СПБ) (каждый из этих элементов квазиоднороден по составу и строению);

б) инженерно-геологические зоны (ИГЗ) и блоки (ИГБ) (каждый из этих элементов квазиоднороден по составу, строению, состоянию и свойствам пород в массиве);

в) элементарные породные блоки (ЭПБ) и разделяющие их элементарные зоны ослабления или трещины (ЭПЗ) (каждый из этих элементов квазиоднороден по составу, строению, состоянию, а их свойства идентичны свойствам образцов ненарушенного сложения, находящихся в одинаковом напряженном состоянии с ЭПБ и ЭПЗ в массиве).

Литолого-структурные элементы массива

Слоек - элементарная единица слоистости горной породы, литологически однороден; мощность Н = (10-4 ¸ 10-2) м.

Прослой (прослоек) - тонкий слой, заключенный между основными слоями; может подразделяться на слойки; литологически однороден; Н = (10-3 ¸ 10-2) м.

Слой - тело плоской формы, однородное по литологическим особенностям; подразделяется на прослои; Н = (10-2 ¸ 1) м.

Пласт - геологическое тело плоской формы, мощность которого во много раз меньше линейных размеров площади его распространения, а в подошве и кровле его развиты трещины напластования. Обычно литологически однороден и может состоять из слоев и прослоев; блокообразующими трещинами пласт расчленен на ЭПБ; Н = (10-1 ¸ 10) м.

Пакет пластов - совокупность пластов осадочных или метаморфических парапород, однотипных по составу, ограниченных разрывами или прослоями другого состава; Н = (1 ¸ 10) м.

Пачка слоистых пород - ограниченная прослоями совокупность однородных слоев, характеризующихся общностью фациально-литологических признаков; Н = (1 ¸ 10) м.

Комплексы магматических пород и ортопород - совокупность сменяющих друг друга разновидностей пород, связанных общностью происхождения и различающихся по текстурным и структурным особенностям; разделяются на пакеты пластов; Н = (10 ¸ 103) м.

Свита слоистых или расслоенных метаморфических пород - совокупность пород, выделяемых по фациально-литологическим признакам; имеет четкие стратиграфическое и географическое наименования; может подразделяться на подсвиты или пачки однотипных пород, ритмы разного масштаба флишоидного или флишевого типа; Н = (10 ¸ 103) м.

Расслоенность толщ магматических пород и метаморфических ортопород - чередование в разрезе различных по минеральному составу, структуре, текстуре пород, вызванное различными процессами дифференциации магмы; Н = (10-1 ¸ 102) м.

Слоистость толщ осадочных пород и метаморфических парапород - чередование в разрезе слоев различной мощности, параллельных друг другу; различают: градационную, ритмичную, флишоидную, флишевую и др.; Н = (10-2 ¸ 1) м.

Толща пород - совокупность одного или нескольких генетических типов пород, характеризующихся некоторой общностью входящих в нее пород (в частности, фациальным единством) или характером их чередования в разрезе; Н = (102 ¸ 103) м. С прочими терминами, встречающимися в Методике, при необходимости можно ознакомиться по справочникам и словарям [14, 15, 70].

1.3. В Методике используются следующие физические величины:

Н - мощность (слоя, пласта, пачки и др.),м;

х, у, z - координаты пространства: z - вертикальный компонент; у - горизонтальный (запад-восток); х - горизонтальный (север-юг);

s - напряжение и его составляющие: sz - вертикальная, sг min - горизонтальная (минимальное значение), sг max - горизонтальная (максимальное значение);

апр - азимут простирания, град;

a - азимут падения, град;

b - угол падения, град;

а - расстояние (шаг) между параллельными трещинами одной системы, см, м;

Dа - ширина раскрытия трещины, мм, см;

L - длина трещины, см, м;

DL - длина «мостиков» (целиков) между концами параллельных и кулисных трещин, м;

aв - «угол встречи» (угол между направлением разреза и простиранием системы трещин), град;

V - объем блока, м3;

F - площадь, м2;

Ктп - коэффициент трещинной пористости (пустотности), площадной, %;

n - общая пористость, %;

nмин - пористость минералов, %;

nзакр - пористость закрытая, %;

nоткр - пористость открытая, сообщающаяся, %;

a* - угол наклона выступов неровностей стенок трещины, град;

l - длина волны (расстояние между соседними выступами) неровностей стенок трещины, см, м;

h - высота выступов неровностей, мм, см;

Ф - фракционный состав блоков (ЭПБ), %;

d10 - диаметр ЭПБ по кривой обеспеченности при вероятности Р = 10 %, дм, м;

d60 - то же при Р = 60 %, дм, м;

Kн = d60/d10 - коэффициент неоднородности фракционного состава ЭПБ;

W - влажность породы (весовая), %;

g - объемный вес породы, Н/м3;

dмин - истинная плотность (минеральная) породы, кг/м3;

d - плотность породы, кг/м3;

dс - плотность сухой породы, кг/м3;

Квыв - степень выветрелости (отношение плотности выветрелой и невыветрелой пород);

Кв - коэффициент водонасыщения породы, %;

Кр - коэффициент размокания (размягчаемости) породы, %;

Кф - коэффициент фильтрации, м/сут;

q - удельное водопоглощение, л/мин;

Rсж, Rск, Rp, Rнаг - временное сопротивление пород соответственно: сжатию, скалыванию, растяжению, изгибу, МПа;

Е - модуль упругости породы: Ес - статический, Ед - динамический, МПа;

Е0 - статический модуль общей деформации, МПа;

Ко - статический коэффициент отпора, МПа/м;

m - коэффициент Пуассона: mс - статический, mд - динамический;

j - угол внутреннего трения пород, град;

С - сцепление пород, МПа;

vp, vs - скорость распространения продольной (Р) и поперечной (S) волн, км/с;

RQD - отношение общей длины сохранных кусков керна длиной более 10 см к длине пробуренного интервала в скважине, %;

Р = rвп/rв - относительное электрическое сопротивление породы, где rвп - удельное электрическое сопротивление водонасыщенной породы, rв - то же воды, Ом×м.

1.4. Геоструктурные схемы (модели) скальных массивов должны составляться на основе анализа и обобщения результатов инженерно-геологических изысканий и исследований, включающих комплекс геолого-съемочных и горно-буровых работ, геофизических, гидрогеологических и геомеханических исследований (полевых и лабораторных).

Термины «схема» и «модель» имеют близкое смысловое значение (как итоговая форма обобщения материалов изысканий и исследований на разных этапах проектирования), но разные оттенки достоверности. На начальной стадии изучения массива (предпроектная документация: схема использования реки и технико-экономическое обоснование ТЭО) предпочтительно употребление термина «схема», а на стадиях «проекта (рабочего проекта)» и «рабочей документации» - термина «модель». При рассмотрении методических вопросов схематизации допустимо употребление терминов «схема» и «модель» как синонимов.

1.5. Геоструктурные модели должны качественно и количественно характеризовать особенности геологического строения и горную геометрию скального массива для обеспечения возможности систематизировать результаты полевых и лабораторных исследований свойств пород и распространить нормативные (расчетные) значения показателей этих свойств на его объемные элементы, квазиоднородные по составу, строению и состоянию. Таким образом, ГСМ должна служить основой для составления специализированных моделей характеристик свойств. Подробность ГСМ должна быть выше, чем специализированных моделей свойств, и не вся информация, содержащаяся в ГСМ, используется в дальнейшем в специализированных моделях (например, стратиграфические и литолого-петрологические особенности). Тем не менее эта «излишняя», более подробная информация необходима и служит обосновывающим материалом для выделения ИГЭ.

В связи с тем, что разные свойства массива контролируются различными наборами геологических параметров с различной шкалой их относительной значимости, схемы (модели) по деформационным, прочностным, фильтрационным и другим свойствам существенно отличаются друг от друга (по конфигурации квазиоднородных элементов), несмотря на то что в своей основе они имеют единую ГСМ.

1.6. Формой представления геоструктурной модели массива является комплект документации: масштабные карты, разрезы и срезы массива, а также вспомогательный, графический и табличный материал. В частности, ГСМ должна включать в себя:

а) сводный литолого-стратиграфический разрез (колонка в масштабе 1:50 - 1:100), на основе которого послойно систематизируются и обобщаются характеристики трещиноватости, блочности и физико-механических свойств;

б) вертикальные геологические разрезы, построенные в неискаженном масштабе, по характерным и нужным для проектных расчетов сечениям массива. На разрезах показывают контуры квазиоднородных структурно-петрологических, структурно-тектонических и инженерно-геологических элементов массива, а также средние значения и диапазон изменения параметров трещиноватости, блочности и характеристик свойств. Минимальное число разноориентированных разрезов 6: три - вдоль реки (левый и правый берега, русло) и три поперечника. Желательно совпадение разрезов с геофизическими линиями разведки;

в) карты-срезы на разных отметках, содержащие контуры структурно-геологических элементов, средние значения параметров трещиноватости, блочности и характеристик свойств;

г) пояснительную записку, включающую таблицы, графический материал и общую оценку структурно-петрологических и структурно-тектонических особенностей основания с выделением тех из них, которые могут вызвать осложнения при строительстве и эксплуатации сооружения и поэтому требуют специального изучения.

1.7. Отображение структурно-геологических элементов на разрезах и картах-срезах позволяет наглядно (качественно, без численных оценок) характеризовать неоднородность, анизотропность и дискретность массива (табл. 1).

Таблица 1

Классификация пород и массивов по однородности и изотропности (по П.Н. Панюкову с дополнениями)

Породы или массивы

Однородные

Неоднородные и дискретные *

Изотропные

Характеристики свойств породы не зависят от направления и координат точки опробования

Характеристики свойств пород не зависят от направления, но зависят от координат точки опробования

Анизотропные

Характеристики свойств пород зависят от направления, но в любом заданном направлении остаются неизменными

Характеристики свойств пород зависят от направления и координат точки опробования

* Дискретная среда - неоднородная, с резкими изменениями характеристик свойств в соседних структурных элементах, в частности, сложенная из отдельностей, не связанных между собой значительными силами сцепления. Сцепление отдельностей на один - два порядка меньше сцепления той же породы в монолитном образце. Примеры дискретных сред - зернистая и блочная среды. Дискретность среды по одной из характеристик свойств не всегда сопровождается дискретностью среды по другим характеристикам.

Неоднородность массива в той или иной степени связана с факторами различного генезиса, возраста, условиями залегания, литолого-петрологическим составом, структурой, текстурой, слоистостью, блочностью, трещиноватостью, естественным напряженным состоянием, заполнителем трещин и пор, выветриванием и другими.

Количественная оценка неоднородности массива выполняется обычно путем статистической обработки характеристик строения (средний объем блоков, их фракционный состав) или свойств (упругие, деформационные, прочностные, фильтрационные и др.) на основе известных критериев по среднеквадратичному отклонению, коэффициенту вариации (изменчивости), отношению квартилей. Следует иметь в виду, что количественные оценки неоднородности массива по разным характеристикам строения и свойств могут не совпадать, поскольку влияние неоднородности на каждую из этих характеристик различно.

Применением методов инженерной сейсмики в широком диапазоне частот (от единиц герц до сотен килогерц) можно оценить неоднородность массива на разных базах и выделить характерные для него размеры неоднородностей [44, 67].

Зависимость характеристик строения от размеров области опробования (масштабный эффект) вынуждает при оценке неоднородности массива как основания (или среды размещения) инженерного сооружения акцентировать внимание на элементах неоднородности, соизмеримых с конструктивными или технологическими элементами сооружений (секций, блоков бетонирования и т.д.), т.е. базах порядка 5 - 10 м и более.

Геологической причиной анизотропии массива является упорядоченная (ориентированная) неоднородность его структурных элементов, связанная с преобладающим направлением трещиноватости, со слоистостью и сланцеватостью пород. Анизотропию массива или его частей обычно оценивают коэффициентом анизотропии Ка = Xmax/Xmin, где Хmах, Хmin - соответственно большая и малая полуось эллипса анизотропии каждой характеристики строения или свойств. Значение Ка одного и того же элемента массива, вычисленное по разным характеристикам свойств, может отличаться. Кроме того, Ка зависит от размеров области опробования массива.

Для количественной оценки анизотропии массивов наиболее перспективны геофизические методы, в частности, сейсмические [44, 63, 67].

При проектировании гидротехнических сооружений основание можно считать изотропным по деформируемости и прочности, если значение Ка < 1,5 (СНиП 2.02.02-85). Это примерно соответствует Ka (vp) < 1,22 (по скорости распространения продольной волны) в неводонасыщенном массиве.

1.8. Геоструктурные схемы (модели) скальных массивов должны составляться на каждом этапе проектирования с нарастающей подробностью и обоснованностью в соответствии с рекомендуемым масштабом чертежей:

а) исходная схема масштаба 1:25000 - 1:10000 (предпроектная документация, схема использования реки);

б) предварительная схема масштаба 1:10000 - 1:1000 (предпроектная документация, ТЭО);

в) основная модель масштаба 1:1000 - 1:600 (проект);

г) уточненная модель масштаба 1:1000 - 1:500 (рабочая документация);

д) расчетные модели склонов, откосов и др. масштаба 1:500 - 1:200 и крупнее (решение конкретных задач строительства и эксплуатации сооружений).

Предварительные схемы рекомендуется составлять в основном на материале геолого-съемочных и геофизических работ (в условиях ограниченного объема бурения). На основе этих схем разрабатывается программа дальнейших изысканий с применением всего комплекса работ согласно п. 1.4. Построение геоструктурных моделей на всех этапах проектирования базируется на материалах комплекса инженерно-геологических изысканий, основными задачами которых по-прежнему остаются: составление инженерно-геологической карты и разрезов, оценка свойств и состояния массива, прогноз взаимодействия его с сооружением, составление инженерно-геологических рекомендаций по выбору основных проектных решений и др.

2. СКАЛЬНЫЕ МАССИВЫ КАК ГЕОМЕХАНИЧЕСКАЯ СРЕДА

2.1. При составлении геоструктурных моделей скальных массивов следует изучать и анализировать условия закономерного развития основных особенностей их строения как естественно-исторических образований. Одновременно необходимо выявлять и учитывать инженерное значение особенностей строения массивов как геомеханической среды, служащей основанием гидротехнических сооружений, особенно высоконапорных бетонных плотин (см. Приложения 1 - 5).

2.2. Практически все естественные скальные массивы трещиноваты. Неравномерность развития трещин в массивах определяется многими факторами, в частности, неоднородностью и анизотропностью структуры, текстуры пород, элементов залегания и физико-механических свойств литолого-петрологических разновидностей пород, слагающих различные прослои, слои, пакеты, комплексы, толщи. При тектонических деформациях слои и прослои относительно слабых по прочности и повышенно деформируемых пород являются первичными зонами (первого рода) местного ослабления массива. Такие зоны с линейно-плоскостной формой развития способствуют проскальзыванию пластов по напластованию. Это проскальзывание нередко переходит в межформационные срывы, а местами - в тектонические нарушения, преимущественно согласные со складчатостью и сопровождаемые оперяющими трещинами.

2.3. В каждом скальном массиве присутствует пространственная неравномерная сеть тектонических разрывных нарушений и трещин разных размеров, играющих роль зон местной деконцентрации естественных напряжений, повышения водопроницаемости, уменьшения характеристик прочностных и деформационных свойств массива.

Такие зоны вторичного (второго рода), местного ослабления и ухудшения свойств массива характеризуются обычно линейно-плоскостной формой развития, а располагающиеся в ячеях этой сети блоки скальных пород имеют различные размеры, форму и ориентацию. Такое, повсеместно проявляющееся в массивах любого генезиса, сочетание сети зон относительного ослабления с расположенными в ее ячеях блоками позволяет считать зонально-блочное строение (рис. 2) характерной особенностью массива как геомеханической среды.

Зонально-блочное строение скальных массивов с элементами неоднородности различных порядков является наиболее характерной особенностью структуры верхней части Земной Коры, в том числе в условиях различных типов складок, куполов, жил, даек, структур напластования и др. Наиболее отчетливо оно проявляется как результат суммарного воздействия ряда геологических процессов: тектонических, разгрузки естественных напряжений, выветривания и др. Вместе с тем необходимо отметить, что концепция зонально-блочного строения не всегда полностью отражает сложную картину пространственной изменчивости геологических факторов и их параметров, как, например, в случае периодического повторения в распределении трещинных параметров и некоторых других. Таким образом, зонально-блочная модель учитывает в основном разрывные и слоистые структуры, но недоучитывает особенности складчатых, инъективных структур и некоторые другие факторы.

Рис. 2. Генетические объемные элементы геоструктурной модели скального массива (а) и схема зонально-блочного строения скального массива (б).

2.4. Системные мелкие и общие трещины (VII - IX порядков) - ЭПЗ различной ориентации ограниченных размеров с ничтожной амплитудой смещений - образуют пространственную сравнительно равномерную сеть, в ячеях которой находятся свободные от визуально различимых трещин элементарные породные блоки (ЭПБ). Их линейные размеры обычно дециметры - метры.

Сети более протяженных трещин и разрывных смещений высоких (VI - IV) порядков будут иметь более крупные размеры ячей, стороны которых измеряются десятками и сотнями метров (соответственно порядкам масштабной классификации тектонических разрывных смещений и трещин - см. Приложение 1), а находящиеся в них блоки сложены скальными породами, расчлененными системными трещинами. Квазиоднородность таких крупных блоков по всем признакам геологического строения возрастает по мере уменьшения их объема.

2.5. По мере выхода скальных горных пород на дневную поверхность они подвергаются разрушающему воздействию комплекса экзогенных и эндогенных процессов: разгрузке естественных напряжений и, как следствие, расширению старых и появлению новых трещин; физическому и химическому выветриванию; денудации; обрушению вследствие сейсмических процессов и т.д. Влияние всех этих процессов на массивы приводит к существенному изменению их физико-механических свойств, которое, идет избирательно и зависит от состава пород, структуры массива, климата, форм и порядка рельефа и др. Это обусловливает вертикальную зональность скальных массивов по состоянию или степени сохранности образующих их скальных пород в виде четырех подзон:

А - очень сильного влияния разгрузки и выветривания с дезинтеграцией пород до элювия;

Б, В, Г - соответственно сильного, среднего и слабого влияний этих процессов.

Общая мощность зоны влияния перечисленного комплекса экзогенных процессов измеряется десятками метров (иногда 100 м и более). Породы подзон А и Б обычно удаляются из основания крупных сооружений, а породы подзоны В, как правило, используются в качестве их оснований, частично укрепленных инженерными мероприятиями.

2.6. Приведенные выше основные особенности геологического строения характерны для всех скальных массивов как естественно-исторических образований. В конкретных массивах эти особенности проявляются по-разному в зависимости от генезиса, возраста и условий развития слагающих их горных пород во времени вплоть до дезинтеграции и денудации. Эти же особенности обусловливают необходимость рассматривать скальные массивы как дискретную неоднородную анизотропную среду зонально-блочного строения с двумя основными случаями симметрии:

а) гексагональной или трансверсальной (осесимметричная анизотропия); сюда относится большая часть скальных массивов, сложенных слоистыми или сланцеватыми осадочными породами и частично - рассланцованными и трещиноватыми метаморфическими и изверженными породами;

б) ортотропной; сюда относятся скальные массивы, сложенные интрузивными и глубокометаморфизованными нерасслоенными породами с четко выраженными ортогональными системами трещин и различной их частотой по ортогональным направлениям.

2.7. Поведение скального массива как геомеханической среды (основания или среды размещения сооружения) зависит от его естественного напряженного состояния, которое обусловливается гравитацией, тектоникой, эрозией и зависит от масштабного фактора. Зонально-блочное строение массива влияет на конфигурацию, структуру поля естественных напряжений, локальные зоны концентрации и деконцентрации напряжений, причем в зонах ослабления (разломы, крупные трещины и т.д.) массива вертикальная sz и горизонтальная sг составляющие естественного поля напряжений существенно отличаются от значений, получаемых в соответствии с гипотезой А. Гейма:

sz = gH; sг » sz

и с гипотезой А. Динника - К. Терцаги:

2.8. Скальный массив как геомеханическая среда наряду с геоструктурной моделью должен иметь следующие основные характеристики свойств и состояния:

в массиве: Ес, Е0, mс, Ко, Ед, mд, tgj, С; Кф, q; sг min, sг max, sz, Кa (по разным характеристикам);

в образце: gмин, d, п, nоткр; Rсж, Rp, Кp; Kвыв; Ед, Ес, mд, mc; Ка (по разным характеристикам).

В ряде случаев необходимо также определение других характеристик свойств и состояния.

Геомеханические характеристики скальных пород в образце и массиве различны. Показатели свойств образца скальной породы, как правило, близки к характеристикам монолитных частей массива - ЭПБ - при сравнении их в идентичном состоянии (обводненность, напряженное состояние).

Справочные данные о геомеханических характеристиках скальных пород и массивов помещены в Приложениях 3, 4.

2.9. Руководствуясь изложенными выше особенностями скального массива как геомеханической среды, необходимо учитывать, что расчетная схема может зависеть также от типа инженерного сооружения и расчетной величины нагрузки на основание. Для сравнительно легких инженерных сооружений (s £ 1 МПа) скальное основание зонально-блочного строения зачастую может рассматриваться как квазиоднородное линейно-деформируемое или упругопластичное полупространство (либо слой на полупространстве) с заданными по материалам изысканий интегральными расчетными характеристиками. Для крупных инженерных сооружений с большими напряжениями в основании тот же массив следует рассматривать как неоднородную, зонально-блочную среду с разными типами связи блоков [42]: «агрегатным», «кирпичной кладки», «вразбежку», «плотным» (рис. 3). При возведении бетонных плотин с блоками бетонирования площадью от нескольких десятков до нескольких сотен квадратных метров это означает выделение элементов неоднородности с линейными размерами не менее 5 - 10 м.

Блочный массив можно считать квазисплошной геомеханической средой в отношении деформируемости (например, по модулю деформации) на базе D, м, если выполняется критерий С.Б. Ухова:

где dЭПБ - линейный размер ЭПБ, м; D - заданная точность определения среднего значения E0, %.

Например, при D = 10 % значение D > 11dЭПБ, т.е. линейные размеры области опробования и ЭПБ различаются приблизительно на порядок.

Индивидуального учета при расчетах устойчивости береговых примыканий плотин, деформируемости и прочности системы плотина - основание и т.д. требуют структурно-петрологические зоны тектонического происхождения (разломы II - IV порядков, особенно сейсмогенные), а также крупные трещины V порядка. При этом первостепенное значение имеет учет ориентации плоскости сместителя разрывного нарушения относительно оси водоподпорного сооружения, а также плоскости склона при оценке устойчивости береговых примыканий и т.д.

Рис. 3. Форма связи блоков в массиве (а) и классификация их форм (б) (по Л. Мюллеру [42] с дополнениями).

3. КВАЗИОДНОРОДНЫЕ ОБЪЕМНЫЕ ЭЛЕМЕНТЫ СКАЛЬНЫХ МАССИВОВ

3.1. Если некоторый объем массива Vм включает в себя ряд элементов неоднородности, объем Vн каждой из которых много меньше, чем Vм, то последний можно считать квазиоднородным по одному или нескольким признакам. Например, монопородный одновозрастный массив одного генезиса и единого строения без крупных структурных нарушений, находящийся в одном состоянии (по степени выветрелости, напряженному состоянию и заполнителю трещин), может целиком рассматриваться как квазиоднородный (если Vм >> Vн). Очевидно, что такое сочетание мало вероятно. Наличие в массиве разновозрастных пород различного состава, строения, состояния при всевозможных сочетаниях приводит к необходимости расчленения массива на множество квазиоднородных элементов с объемами Vм1, Vм2, …, Vмn (при прежнем условии: Vмi >> Vн).

3.2. В основе выделения контуров квазиоднородных элементов массива на ГСМ лежат следующие принципы:

- контуры квазиоднородных элементов должны совпадать с основными геологическими границами: стратиграфическими, литолого-петрологическими и тектоническими контактами;

- контуры квазиоднородных элементов должны совпадать с границами подзон А, Б, В, Г различной степени выветривания и разгрузки естественного напряженного состояния массива;

- контуры квазиоднородных элементов должны совпадать с резкими температурно-влажностными границами раздела:

а) сухих пород в зоне аэрации; б) водонасыщенных пород ниже уровня подземных вод;

- контуры квазиоднородных элементов и размеры последних должны учитывать площади конструктивных и технологических элементов проектируемого сооружения. Применительно к секции крупной бетонной плотины это означает (см. п. 1.6), что квазиоднородный элемент с максимальным (из трех) линейным размером менее 10 м может не выделяться, а значит может быть объединен с соседними.

3.3. В процессе инженерно-геологических изысканий рекомендуется производить постадийно уточняемое районирование изучаемой территории, выделение границ квазиоднородных элементов-блоков и зон последовательно уменьшающегося объема, а именно: структурно-тектонических, структурно-петрологических и инженерно-геологических.

Границами СТБ будут служить плоскости СТЗ, представляющие собой глубинные разломы II - I порядков, значительная часть которых может оказаться сейсмогенной с повышенной вероятностью проявления современных дифференциальных тектонических движений, вызывающих землетрясения и сопровождающихся остаточными деформациями пород. СТБ обычно имеют крупные линейные и площадные размеры, так как глубинные разломы находятся на сравнительно больших расстояниях друг от друга (десятки - сотни километров). Они могут быть сложены одним или несколькими генетическими типами и разновидностями пород различного состава и структурно-текстурных особенностей, причем в пределах СТБ могут находиться тектонические нарушения III - VI порядков и системные трещины VII - IX порядков.

Структурно-тектоническое районирование следует рассматривать как один из важнейших этапов предстадийного проектирования, особенно в районах с повышенной сейсмической активностью. Этот этап позволяет при разработке схем каскада гидроузлов избежать размещения участков гидростроительства в опасной близости от сейсмогенных разломов I - II порядков. Обычно крупные размеры СТБ позволяют найти на их площади участки, достаточные для размещения всех основных сооружений гидроузлов разного назначения, не приближаясь к ограничивающим их разломам I - II порядков. При выборе участков створов следует учитывать также состав, строение и состояние пород структурно-петрологических блоков и зон, из которых состоят СТБ и СТЗ.

Границами СПБ являются зоны тектонических разрывных нарушений V - IV порядков, стратиграфические и литолого-петрологические контакты, протяженные трещины гравитационного происхождения и др. СПБ и СПЗ должны быть квазиоднородными по генезису, возрасту, литолого-петрологическому составу, структуре и текстуре пород.

Границами инженерно-геологических блоков как частей СПБ является ИГЗ - границы подзон А, Б, В, Г различной степени выветривания и разгрузки естественного напряженного состояния. ИГБ квазиоднородны по составу, строению и состоянию.

3.4. Зонально-блочное строение скальных массивов связано с различиями в условиях формирования, развития и разрушения скальных пород во времени и пространстве, подчиненных ряду закономерностей, для выявления которых необходимо изучение следующих факторов, определяющих современные инженерно-геологические особенности оснований:

а) минеральный состав, структура и текстура пород, влияющие на анизотропию, характеристики свойств и способность к делимости;

б) характер сингенетических и постгенетических тектонических напряжений и деформаций, определяющих видоизменение в составе, структуре, текстуре пород, а также их трещиноватость и условия залегания;

в) физико-механические свойства пород как материала, от которых зависит характер тектонических деформаций массива, избирательность дезинтеграции под влиянием выветривания и разгрузки и т.д.

Перечисленные факторы должны анализироваться на основе данных полевых и лабораторных исследований пород изучаемого основания, систематизироваться и подвергаться статистической обработке отдельно для каждого типа квазиоднородного инженерно-геологического объемного элемента. Для получения таких данных требуются: целенаправленное инженерно-геологическое опробование; использование наземных и каротажных геофизических методов разведки; специальное количественное изучение трещиноватости и блочности массива; определение геомеханических и фильтрационных характеристик прямыми и косвенными методами.

3.5. Необходимо соблюдать следующие стадийность и целенаправленность инженерно-геологического районирования массивов как оснований крупных инженерных сооружений:

- Структурно-тектоническое районирование геологического региона должно производиться с целью выявления общей структуры района проектируемого гидроузла, включая оценку сейсмогенных разломов II - I порядков и выбор структурно-тектонического блока, в контуре которого имеются оптимальные условия для размещения гидроузла. Задача решается методами структурной геологии путем анализа карт государственной геологической съемки разного масштаба (1:1000000 - 1:50000), дешифрования материалов космической и аэрофотосъемки, аэромагнитной съемки, дополненных инженерно-геологической съемкой масштаба 1:25000 - 1:10000 и поверочными маршрутами на территории намеченных вариантов участка гидроузла.

- Структурно-петрологическое районирование скального массива участка гидроузла должно производиться с целью выявления и уточнения расположения зон относительного ослабления в виде: слоев и пакетов пород пониженной прочности (СПЗ первого рода); тектонических нарушений IV - VI порядков (СПЗ второго рода); стратиграфических и литолого-петрологических контактов; зон учащенной мелкой трещиноватости различного генезиса. Задача решается методами структурной и инженерной геологии, применением геофизических методов в сочетании с геолого-съемочными, горно-буровыми, опытно-фильтрационными работами, инженерно-геологическим опробованием разреза пород, а также лабораторным изучением образцов пород.

- Инженерно-геологическое районирование массива на участке гидроузла производится с целью выявления границ подзон А, Б, В, Г внутри СПБ и СПЗ. Задача решается применением наземных и каротажных геофизических методов, анализом данных горно-буровых работ, а также из эмпирических графиков связи d, п, q, Кф, vp и т.д. с заглублением в массив (раздельно для СПБ и СПЗ).

3.6. Следует иметь в виду, что по количеству выделяемых квазиоднородных объемных элементов массива ГСМ - наиболее детальная в сравнении с другими моделями, входящими в понятие «инженерно-геологическая модель». Это объясняется, во-первых, тем, что ГСМ является исходной для построения всех специализированных моделей, а значит содержит детали, необходимые каждой из этих моделей. Во-вторых, критерии выделения квазиоднородных элементов на специализированных моделях позволяют объединять несколько элементов, показанных на ГСМ. Например, критериями выделения квазиоднородных элементов на специализированных моделях служат:

- на моделях деформационных и прочностных свойств - отличие характеристик в соседних элементах более чем на 25 %;

- на фильтрационной модели - отличие характеристик водопроницаемости в соседних элементах на 0,5 - 1 порядок;

- на геофизической модели - отличие характеристик скорости волн в элементах (сечение изотах) составляет 0,5 - 1 км/с.

Составление ГСМ и переход от нее к моделям различных свойств основания возможны на базе структурно-петрологических, геомеханических, геофизических и гидрогеологических исследований, а также выявления парных корреляционных связей между тремя группами характеристик:

- показателями трещиноватости, пористости, блочности;

- геофизическими характеристиками (скорость упругих волн, относительное электрическое сопротивление и др.);

- характеристиками деформируемости, прочности, водопроницаемости и т.д.

4. ВЫДЕЛЕНИЕ ГРАНИЦ ИНЖЕНЕРНО-ГЕОЛОГИЧЕСКИХ ЭЛЕМЕНТОВ В СКАЛЬНЫХ МАССИВАХ И ПРОГНОЗНАЯ ОЦЕНКА ИХ СВОЙСТВ

4.1. Следует учитывать, что методика выделения границ структурно-петрологических и инженерно-геологических элементов зависит от вида симметрии геологического строения толщи, частью которой является изучаемый массив.

В массивах, состоящих из слоистых, сильно расслоенных и рассланцованных пород (трансверсально-изотропная симметрия), определение границ СПБ и СПЗ должно производиться с использованием колонки сводного литолого-стратиграфического разреза, составленной, например, в масштабе 1:50 - 1:100 и позволяющей построить эпюры мощности Н слоев и пластов (обычно до 1 - 2 м, а в массивных породах до 4 - 6 м). Толщи осадочных пород и преобразованных метаморфизмом слоистых или сильно расслоенных пород обычно проявляют ритмичность в чередовании слоев двух, трех, реже четырех литологических компонентов, в той или иной степени закономерно чередующихся в разрезе, что обычно хорошо видно на эпюрах мощности пластов (или слоев). Эти эпюры, а также положение низкопрочных литотипов (например, мергелей и аргиллитов среди песчаников) позволяют выделить слабые слои как СПЗ первого рода, а заключенные между ними однородные пласты или пакеты слоев сравнительно большей прочности интерпретировать как СПБ. При этом в качестве градационного признака может быть использовано средневзвешенное значение («вес» - мощность слоя) процентного содержания низкопрочных слоев в выделенной на разрезе мощности пакета.

4.2. Графическая колонка сводного литолого-стратиграфического разреза изучаемого массива должна служить ординатой для систематизации средних и предельных значений характеристик различных свойств и состава литолого-петрографических разновидностей (см. рис. 3-2). На основе таких графиков можно проследить изменения по литолого-стратиграфическому разрезу следующих характеристик: gmin, d, п, поткр, Rсж, Rp, Rск, Ес, Ед, vp и др.

Подобные систематизация и статистическая обработка данных позволяют выявить корреляционные связи отдельных характеристик, в ряде случаев установить геологические причины таких связей и на основе этого уточнить границы СПБ на колонке.

4.3. Для скальных массивов, сложенных нерасслоенными массивными породами с ортотропной симметрией, например массивными гранитоидами, в качестве эквивалентов плоскостей контактов разновидностей слоев пород могут быть использованы плоскости трещин пластовой отдельности, которые обычно залегают полого, и шаг между ними определяет высоту ЭПБ.

Для расслоенных магматических и метаморфических пород, залегающих с крутым падением, выделение СПБ и СПЗ должно производиться аналогично слоистой толще по нормали к плоскости их расслоения или сланцеватости.

4.4. СПЗ второго рода, т.е. элементы мелких пликативных форм в виде складок и их частей, а также тектонических разрывных смещений разных кинематических типов и размеров, должны выделяться на разрезах и картах по порядкам и параметрам количественных показателей масштабной классификации тектонических разрывных смещений и трещин (см. табл. 1-2).

4.5. Многообразие разновидностей пород при их переслаивании нередко приводит к образованию сложных по конфигурации структурно-петрологических элементов, не имеющих резко очерченных границ по составу, строению и состоянию. В таких слоистых толщах для выявления квазиоднородных структурно-петрологических элементов следует использовать средневзвешенное значение содержания в пакете слабых и прочных пород (см. табл. 3-4, 3-5).

Зависимость показателей физико-механических свойств от состава, строения и состояния пород позволяет использовать табл. 3-5 также для приближенной оценки деформационных, прочностных и фильтрационных характеристик основания применительно к стадии ТЭО.

4.6. Границы ИГЗ и ИГБ следует проводить на вертикальных геоструктурных разрезах с нанесенными контурами СПЗ и СПБ, используя при этом всю совокупность изыскательской информации, обеспечивающей выделение на этих разрезах границ подзон А, Б, В, Г выветривания и разгрузки массива.

Учитывая возможные значительные изменения мощности подзон выветривания и разгрузки А, Б, В в различных частях изучаемого массива, следует наносить границы этих подзон не в среднем по массиву, а определять их по линии разреза на основе данных сейсмопрофилирования, каротажных измерений, статистической обработки свойств кернов и т.д.

4.7. При построении ГСМ рекомендуется соблюдать основные методические этапы работ в такой последовательности:

- структурно-тектоническое районирование региона и территории проектируемого гидроузла;

- структурно-петрологическое районирование и моделирование скального массива на участке выбранного створа;

- инженерно-геологическое моделирование скальных массивов на участке выбранного створа.

Этапы этой методики и примеры ее реализации изложены в Приложениях 2 - 5.

4.8. Необходимо учитывать, что процесс построения ГСМ не может быть автоматизирован в силу индивидуальных особенностей природных условий каждого массива, что обусловливает применение не только общих методических приемов (которые в принципе могут быть формализованы), но и глубокой исследовательской работы, успех которой во многом определяется опытом, знаниями и интуицией геолога. Наиболее целесообразно применение вычислительной техники на этапах статистической обработки данных полевых и лабораторных наблюдений, нахождения корреляционных связей характеристик свойств, строения и состояния массива. Перспективы совершенствования методики и автоматизации отдельных процедур создания ГСМ связаны с более широким применением геофизических методов, в частности, с развитием методов сейсмической томографии и реальной компьютеризацией инженерно-геологических изысканий и исследований.

ПРИЛОЖЕНИЯ

Приложение 1

ПРИНЦИПЫ ИЗУЧЕНИЯ ГЕОЛОГИЧЕСКОГО СТРОЕНИЯ СКАЛЬНЫХ МАССИВОВ ДЛЯ ПОСТРОЕНИЯ ИХ ГЕОСТРУКТУРНЫХ МОДЕЛЕЙ

Скальные массивы как расчлененная трещинами среда зонально-блочного строения

Под скальным массивом понимают приповерхностную часть Земной Коры, сложенную прочными (Rсж. вод > 5 МПа) изверженными, метаморфическими и осадочными породами. Скальный массив обладает определенными внутренней структурой, составом, состоянием пород и конкретными характеристиками свойств.

Скальным массивам присуща различная трещиноватость, являющаяся результатом длительной истории их формирования, развития и разрушения, этапы которой нередко повторялись во времени.

Выделяют следующие этапы истории каждой из образующих массив породы:

- сингенетический, охватывающий период ее формирования;

- постгенетический, охватывающий дальнейшую историю ее видоизменений под влиянием тектогенеза и метаморфизма, которые являются определенными подэтапами формирования массива;

- экзогипергенетический - период дезинтеграции пород под влиянием процессов: разгрузки естественных напряжений, выветривания и денудации.

Трещиноватость любого скального массива включает системы трещин1 различного генезиса (табл. 1-1), возраста, размеров и ориентации; она развивается во времени, подчиняясь следующим закономерностям:

1 Система трещин - совокупность генетически однородных трещин, свойственная какой-либо тектонической структуре или определенной ее части и обладающая одинаковыми или близкими элементами залегания. Трещины относят к одной системе, если они имеют азимуты и углы падения, отклоняющиеся от среднего значения не более чем на 10°.

Таблица 1-1

Генетическая классификация трещин горных пород

Генетические типы и разновидности трещин

Характерные признаки

Преобладающая ориентация плоскостей тектонических разрывных смещений и трещин

Характер объемных напряжений

СИНГЕНЕТИЧЕСКИЕ

 

 

 

I. Прототектонические

 

Ориентация трещин подчинена осям эллипсоида тектонических напряжений и кристаллизационной слоистости;

продольные - в плоскости кристаллизационной слоистости;

поперечные - нормально к кристаллизационной слоистости;

диагональные - под углом 45°;

пологие - пластовые;

краевые - вдоль контактов с вмещающими породами

1 Тектонические, температурные, молекулярные и гравитационные напряжения

а) трещины в породах интрузий

Расположение трещин связано с кристаллизационной слоистостью

б) зоны дробления -

сингенетические тектонические разрывные смещения в процессе кристаллизации магмы при интрузии

Зоны учащенной трещиноватости типа кливажа

То же

II. Контракционные

в эффузивных породах (лавах)

Характерны отдельности: столбчатая в наземных, шаровая в подводных излияниях

Столбчатая - вертикальная, агломератная по уклону ложа и течения лавы

Молекулярные, гравитационные и температурные напряжения

III. Петрогенетические

в эксплозивных породах (пеплах, туфах)

Сочетание с излияниями лав. Примеси терригенного материала

Беспорядочная или с выраженным напластованием и закономерной мелкой трещиноватостью

То же

IV. Литогенетические

в осадочных-карбонатных и терригенных породах

Слоистые породы. Мелкие трещины в пластах ограничены трещинами напластования, частота зависит от прочности и мощности слоев

Скалывание по напластованию, нормально пластам отрыва и частично скалывания. Ориентация зависит от элементов залегания толщи пород

Молекулярные, гравитационные и тектонические напряжения в процессе накопления и диагенеза

ПОСТГЕНЕТИЧЕСКИЕ

 

 

 

Va. Тектонические разрывные смещения

I - V порядков во всех породах; глубинные, соскладчатые и последующих циклов тектогенеза. Подзоны строения тектонических разрывных смещений: сбрасыватель, разлинзования, оперения

Взбросы - скалывание,

сдвиги - скалывание,

сбросы-раздвиги - отрыв;

межформационные срывы, будинаж и проскальзывание по напластованию - скалывание;

кливаж - течения, скалывания, разлома, сопровождающий разрывные смещения

Ориентация тектонических разрывов подчинена осям эллипсоида тектонических напряжений и взаимосвязана с осями складок и строением толщи. Приразрывные трещины скалывания и отрыва в подзонах разрывов

Периодическое усиление тектонических напряжений и тепловых потоков по циклам тектогенеза

Vб. Тектонические мелкие трещины VI - IX порядков, локализованные в пластах

z - проскальзывания по напластованию;

у - секущие пласт по линии простирания;

х - секущие пласт по линии падения

То же. Частота развития мелких трещин связана с прочностью пород и мощностью пластов.

То же

НАЛОЖЕННЫЕ

 

 

 

VIa. Разгрузки гравитационные и выветривания

Загиба пластов

Отслаивания

Бортового отрыва

Отседания

Осовов

Оползней

Выветривания Температурные

Физико-химические изменения минерального состава, дезинтеграция пород (на склонах, на поверхности, вдоль склонов, ограничены базисом эрозии)

Развиваются преимущественно по трещинам всех порядков и генетических типов в зависимости от климатических и геоморфологических условий и энергии рельефа

Разгрузка естественных напряжений, гравитационные напряжения, выветривание пород

VIб. Сейсмогенные

При землетрясениях

Остаточные деформации и смещения пород на дневной поверхности

Связаны с ориентацией глубинных разломов I - III порядков

Сотрясения, разрывы и смещения пород при землетрясениях

VII. Техногенные

При взрывных работах

Трещины вокруг пунктов закладки зарядов взрывчатых веществ

Преимущественно радиальные трещины разрыва и раскрытие остальных типов трещин

Сотрясение и разрыв пород при взрывах

- образование и развитие почти всех типов трещин происходит в условиях переменных по интенсивности и направлению тектонических напряжений, повторяющихся во времени, поэтому тектоническая трещиноватость играет доминирующую роль; напряженно-деформированное состояние определяет форму, размер и ориентацию ЭПБ (рис. 1-1, 1-2);

Рис. 1-1. Схемы расположения трещин отрыва и скалывания при различных видах нагрузок (по Я.Б. Фридману [78]).

- ориентация трещин последующей генерации в значительной степени наследует и использует ориентацию предыдущих генераций;

- ориентация серий параллельных друг другу плоскостей тектонических разрывных смещений и трещин разных порядков имеет системный характер;

- ориентация серий тектонических разрывных смещений и мелких трещин в пространстве совпадает или очень близка друг к другу;

- каждая трещина нарушает сплошность скальной породы и представляет собой зону относительного ослабления, способствующую изменению ее напряженного состояния и проявлению процессов выветривания.

Трещиноватость, включающая в себя разноориентированные системы трещин разных порядков, образует в массиве различные по размеру и форме ячей «сети зон» ослабления, причем в каждой из ячей располагается блок относительно сохранных пород. Форма и размер блока определяются характером сочленения плоскостей трещин, развитых в конкретной части изучаемого массива. Такой характер горной геометрии обязывает рассматривать скальный массив как расчлененную трещинами среду зонально-блочного строения. Свойства этой среды определяются соответствующими характеристиками пород (как материала), а также параметрами трещиноватости. При этом существенную роль играют размеры нарушений сплошности, представленные в табл. 1-2, являющейся развитием классификации СНиП 2.02.02-85 (табл. 5). Из мелких трещин особое значение имеют трещины кливажа разлома, скалывания и течения IX порядка в случае их массового развития - типа сланцеватости и локализованные в пакетах слоев - типа будинажа или зон дробления. Самостоятельное инженерное значение имеют тектонические разрывные смещения всех порядков (I - VI). Плоскости их сместителей сопровождаются дополнительными трещинами разлинзования и оперения, образующими примерно симметричную зону ослабления пород, мощность которой связана с порядками разрывов. Дизъюнктивные дислокации и пликативные деформации в натуре кинематически взаимосвязаны, поэтому складки также могут быть разделены на порядки по признаку порядков плоскостей разрывов, ограничивающих площадь данной части складки.

Рис. 1-2. Образование трещин при сдвиге (схема напряжений)

а - расположение главных осей растяжения +sтmax и сжатия -smax; б - направление максимальных касательных напряжений tmax и трещин отрыва (толстая диагональ). Толстые сплошные стрелки - пара активных внешних сил; тонкие штрихпунктирные - пара реактивных сил, удерживающих тело от вращения. Малые стрелки внутри фигуры - направление напряжений и смещений.

Таблица 1-2

Классификация по характеру нарушения сплошности массива (СНиП 2.02.02-85 с дополнениями)

Характер нарушения сплошности массива

Мощность зоны дробления разлома или ширина трещин

Протяженность нарушения

Разломы I порядка - глубинные, сейсмогенные

Сотни и тысячи метров

Сотни и тысячи километров

Разломы II порядка - глубинные, частично сейсмогенные

Десятки и сотни метров

Десятки и сотни километров

Разломы III порядка

Метры и десятки метров

Километры и десятки километров

Разломы IV порядка

Десятки и сотни сантиметров

Сотни и тысячи метров

Крупные трещины V порядка

Свыше 20 мм

Свыше 10 м

Средние трещины VI порядка

10 - 20 мм

1 - 10 м

Мелкие трещины VII порядка

2 - 10 мм

Менее 1 м

Тонкие трещины VIII порядка

1 - 2 мм

Менее 1 м

Локальные трещины IX порядка - внутри пластов, слоев, породных блоков

Менее 1 мм

Менее 1 м

Примечания: 1. Мощность зоны влияния нарушения оценивается на порядок больше мощности зоны дробления или ширины трещины; амплитуда смещения (Ас, км) разломов на 1 - 1,5 порядка меньше протяженности нарушения (L, км) в соответствии с формулой А. Кайо [83]: lgAc = -1,73 + 1,25lgL при L = 0,1 ¸ 1000 км.

2. Классификация носит приближенный (оценочный) характер; конкретный массив может характеризоваться местной системой разрывов; соотношение мощности зоны дробления и протяженности нарушения массива может отличаться от классификационной характеристики.

К глубинным разломам I - II порядков часто приурочены очаги землетрясений, поэтому они рассматриваются как сейсмогенные разломы, способные к проявлению остаточных деформаций пород при землетрясениях большой интенсивности. Разломы I - II порядков (СТЗ) делят литосферу на структурно-тектонические блоки (СТБ), которые расчленены сходной системой нарушений III - VI порядков (СПЗ) на структурно-петрологические блоки (СПБ), а последние - трещинами VII - IX порядков (ЭПЗ) на элементарные породные блоки (ЭПБ) (рис. 1-3).

Все СПБ, СПЗ, ИГБ и ИГЗ скальных массивов состоят из элементарных породных блоков (ЭПБ), формы, размеры и укладка которых определяются пространственной решеткой блокообразующих трещин - элементарных зон ослабления пород (ЭПЗ).

В соответствии с порядками нарушений, образующих структурно-тектонические и структурно-петрологические блоки, целесообразно придавать этим блокам такие же порядки (например, СТБ II порядка, СПБ III порядка и т.д.).

В пределах контура СТБ могут быть выделены их части, сложенные породами одного генетического типа и литолого-петрологического состава. Каждая из таких частей должна иметь единый характер трещиноватости (квазиоднородные системы трещин) и выделяется как СПБ. В СТБ, сложенных слоистыми толщами, встречается ритмичность слоистости со слоями или пакетами слоев пород пониженной прочности. При тектонических деформациях по таким слоям и пакетам могут происходить проскальзывание, будинаж, межформационные срывы и образование мелких складок волочения. Такие слои и пакеты именуются СПЗ-1 (первого рода) и чаще всего имеют значительную протяженность при ограниченной мощности. Между ними находятся СПБ-1 (первого рода), сложенные более прочными, массивными или массивно-слоистыми породами.

Рис. 1-3. Схема зонально-блочного строения скальных массивов в основаниях сооружений

А, Б, В, Г - подзоны влияния процессов разгрузки естественных напряжений и выветривания: А - очень сильного, Б - сильного, В - среднего, Г - слабого (сохранные породы).

Нарушения VI - IX порядков в слоистых толщах могут быть двух видов: СПЗ-2р (второго рода разрывные, секущие толщу) и СПЗ-2п (второго рода пликативные, согласные с толщей). Сочетание в массиве СПЗ-1, СПЗ-2 и СПЗ-2п образует сеть, в ячеях которой будут находиться СПБ того или иного генетического типа, однородные по составу, структуре, текстуре и трещиноватости. Сочетание в пространстве СПБ и СПЗ трех (иногда четырех и более) систем трещин VI - IX порядков образует систему ЭПБ. Для ЭПБ характерно отсутствие в нем визуально различимых трещин. Наличие четырех и более систем блокообразующих трещин нередко приводит к образованию ЭПБ малых размеров и неправильной формы.

Принципы структурного анализа геологического строения территорий разного масштаба

В горных районах, обязанных своим происхождением тектоническим процессам, особенно завершающимся альпийским орогенезом, горные породы обычно сильно деформированы. В этих условиях выявление геологического строения региона, района и участка створа гидроузла требует определенной системы изучения взаимосвязей пликативных и дизъюнктивных форм тектонических деформаций, исходящих из общих закономерностей орогенических процессов, а именно:

1) особенностей процесса деформирования в условиях сложного напряженного состояния, протекающего по законам механики твердого тела, которые определяют характер деформаций (хрупких, вязких) и кинематику движений взаимодействующих сложно построенных горных массивов;

2) унаследованности развития форм тектонических деформаций толщ пород, проявляющейся в последовательном их развитии по этапам орогенеза;

3) взаимосвязи тектонических процессов в Земной Коре с движением магматических масс и взаимодействия последних с деформируемыми породами.

Тектонические деформации сложно построенных толщ горных пород проявляются избирательно в зависимости от интенсивности процесса орогенеза, ориентации осей эллипсоида тектонических напряжений относительно осей ранее сложившихся структур, строения и свойств самих толщ, неоднородности и анизотропии массива. Поэтому унаследованность в развитии пликативных форм деформации проявляется в усложнении складок, сопровождающемся разрывами сплошности пород. Для дизъюнктивных форм деформаций унаследованность развития проявляется в избирательном росте размеров некоторых из зон тектонических разрывных смещений. Пликативные и дизъюнктивные формы тектонических деформаций являются, результатом одного или нескольких этапов процесса орогенеза. Поэтому формирование тех и других может быть синхронным (соскладчатым) или асинхронным (несоскладчатым) в зависимости от времени их формирования. Отсюда вытекает необходимость структурного анализа региона, района и участка как единого комплекса с одновременным рассмотрением обеих форм тектонических деформаций всех порядков, выявлением последовательности их формирования и развития во времени.

Пликативные формы тектонических деформаций - складки

Структурные формы складок, согласно В.В. Белоусову [5, 6], определяются перераспределением материала в толщах деформируемых пород в зависимости от строения толщ, прочности слагающих их пород и кинематических типов складок («глыбовых», связанных с радиальными движениями Земной Коры; «нагнетания» и «общего смятия», связанных с тангенциальными движениями). Радиальные и тангенциальные движения могут сочетаться во времени и в пространстве, поэтому складки могут иметь различные морфологические типы: острые, округлые, изоклинальные, веерообразные, коробчатые. По условиям залегания пластов пород и основных элементов складок (осевых плоскостей, шарниров, крыльев и т.д.) различают складки: прямые симметричные, асимметричные, наклонные, опрокинутые, лежачие и ныряющие.

В инженерно-геологическом отношении особое значение имеют разновидности складок «нагнетания», например, диапировых, часто связанных с присутствием в разрезе пластов и залежей водорастворимых солей, а также складки «облекания», характерные для районов развития неотектонических движений.

Размеры складчатых структур обычно велики, и морфологические типы складок могут быть определены лишь для крупного региона или района. На участке основания сооружения, занимающего обычно лишь часть одной из складок, должны выявляться и расшифровываться элементы усложнения складчатой структуры: микроскладки; складки «волочения» и межформационные; межпластовые проскальзывания; зоны послойного будинажа и другие пликативные формы, местами развивающиеся в тектонические разрывные смещения, залегающие согласно с напластованием. При этом исходной базой является характер складки и ее положение в системе складчатости данного региона, а также возможное сочетание структурных форм, в частности: несогласное залегание структурных этажей района, наложенные складчатые структуры верхнего (более молодого) этажа района и региона, сочетание пликативных и дизъюнктивных форм, развивающихся по унаследованным направлениям в нижнем, более древнем, структурном этаже.

Дизъюнктивные формы тектонических деформаций - разрывные смещения

Тектонические разрывные смещения представляют собой нарушения сплошности породы, выражающиеся в ее хрупком разрушении и характеризующиеся протяженностью, мощностью (шириной), амплитудой смещения и строением сместителя. Разрыв сплошности с ничтожно малой амплитудой смещения блоков называется трещиной.

А. Кайо [83] установил, что в подавляющем большинстве случаев амплитуда смещения составляет примерно 10 % от его протяженности (см. табл. 1-2). Строение сместителя включает симметричное расположение относительно плоскости сместителя подзон разлинзования и оперяющих трещин - отрыва и скалывания.

При любых видах деформации (растяжение, сжатие, изгиб, кручение) нарушение сплошности пород относится по кинематике движения к двум типам - трещинам отрыва и скалывания независимо от амплитуды смещения. Для тектонических разрывных смещений приняты специальные термины, характеризующие кинематику движения и связанные с элементами горной геометрии складок.

Сбросы соответствуют трещинам отрыва, развивающимся при деформациях растяжения горных масс, преимущественно в результате радиальных движений Земной Коры.

Сдвиги и взбросы соответствуют трещинам скалывания, развивающимся при различных деформациях массивов, преимущественно в результате сжатия при тангенциальных напряжениях.

Рис. 1-4. Схема расположения возможных плоскостей тектонических разрывных смещений и трещин в слоистых скальных породах при формировании симметричных складок в плане (а) и в пространстве (б)

Трещины скалывания (взбросы, сдвиги): системы 1, 2 - параллельно оси у, падение 45°; 3, 4 - параллельно оси z, падение 90°; 5, 6 - параллельно оси х, падение 45°; трещины растяжения (сбросы, раздвиги): система 7 - в плоскости zy, падение 90°; 9 - в плоскости zx, падение 90°; 9 - в плоскости ух, падение 0°.

В любом скальном массиве имеются трещины обоих основных типов - отрыва и скалывания. В относительно слабых по прочности породах преобладают трещины скалывания, а в жестких высокопрочных компонентах толщ при интенсивных деформациях - трещины отрыва. Это связано со значительно большей прочностью пород на сжатие по сравнению с прочностью на разрыв и скалывание.

Согласно схеме А.А. Белицкого [4] (рис. 1-4) при формировании складки можно ожидать развития скалывающих и растягивающих напряжений в соответствии с направлением оси эллипсоида деформации относительно элементов горной геометрии, а именно:

а) развитие разрывных смещений типа сбросов, раздвигов и трещин отрыва вдоль осей эллипсоида деформации: 7 - вдоль осевой плоскости складки под углом падения 90°; 8 - поперек складки под углом 90°; 9 - субгоризонтально, нормально к осевой плоскости складки;

б) развитие трех пар трещин скалывания (1 - 6), перерастающих нередко в разрывные смещения типа сдвига: их простирание вдоль оси х эллипсоида деформации (5, 6) с встречным падением парных плоскостей под углом около 45°; вдоль оси z (3, 4) с падением 90°; вдоль оси у (1, 2) с падением 45° (эти трещины могут сопровождаться проскальзыванием по напластованию и перерастать в межпластовые срывы и взбросы). При перерастании тектонических трещин в разрывные смещения поле тектонических напряжений резко меняется и дальнейшее развитие трещин по исходной схеме нарушается. Развитие первого во времени разрывного смещения (при сохранении общего положения эллипсоида деформации) усиливается, а развитие трещиноватости других направлений ослабевает.

Для целей инженерной геологии наибольшее значение имеет мощность зон тектонических разрывных смещений, в частности, суммарная мощность подзон сместителя и разлинзования, в пределах которых скальные породы раздроблены и даже перетерты до состояния рыхлых грунтов, брекчий, «орешника» (каккирита), милонита и глинки трения. Такие подзоны характеризуются повышенной деформируемостью и пониженной водопроницаемостью. Подзоны оперяющих трещин обычно имеют повышенную водопроницаемость и деформируемость. Существенное инженерное значение имеет ориентация плоскостей тектонических разрывных смещений и протяженных трещин относительно векторов приложения нагрузок от сооружения (плотины и др.), при неблагоприятной ориентации снижается его устойчивость. Области сопряжения - стыка тектонических разрывных смещений - являются областями повышенной водопроницаемости, к которым часто приурочиваются сосредоточенные пути фильтрации, распространяющиеся на подзону оперяющих трещин. Все подзоны тектонических смещений требуют их наиболее полной инженерно-геологической характеристики и тщательного отражения пространственного положения на ГСМ. Выявление этих элементов производится последовательным анализом, начиная с разрывов высоких порядков, затем оперяющих их трещин и т.д.

В условиях, когда основанием плотин служат слоистые скальные породы, крутопадающие в сторону верхнего бьефа, существенное инженерное значение имеют протяженные полого-падающие трещины отрыва или скалывания. Они развиваются часто примерно под углами 45 - 90° к плоскости падения пластов в результате пластической деформации и трансляционных сдвигов пластов слабых пород по плоскостям напластования. Вкрест простирания пород их протяженность лимитируется сингенетическими зонами ослабления (СПЗ-1), представленными либо плитчатыми разновидностями пород, либо пакетами пластов и слоев пониженной прочности. Развитие таких протяженных трещин в глубь массива может продолжаться с кулисообразными перерывами или без них. Пологие протяженные трещины в известняках и песчано-аргиллитовых толщах с крутым падением слоев установлены на ряде объектов: Ингурской, Токтогульской, Папанской, Рогунской ГЭС и др. (рис. 1-5).

Тектонические разрывные смещения зачастую развиваются системно с близкой ориентацией плоскостей их сместителей в пространстве. Сочетание согласных с простиранием пород крупных разрывных смещений с другими, секущими породы под разными углами, расчленяет толщи на СТБ. Ориентация систем мелких трещин связана с ориентацией элементов залегания пород, а также более крупных трещин и тектонических разрывных смещений. Это создает условия подобия ориентации трещин и разрывных смещений разных порядков. Так как СТБ смещены относительно друг друга, то ориентация систем мелких трещин отклоняется по своим элементам залегания даже в смежных СТБ и может отличаться также и в СПБ, являющихся частями одного СТБ, но сложенных разными генетическими типами пород. Поэтому необходимо анализировать ориентацию нарушений сплошности разных порядков применительно к каждому из выделенных СТБ и СПБ в последовательности от высших порядков к низшим. Такая последовательность предъявляет различные требования к детальности информации о литолого-стратиграфическом разрезе региона и участка основания сооружения. Для структурного анализа региона на сводных разрезах достаточно выделить ярусы, подъярусы и отдельные крупные горизонты; для анализа района - толщи, горизонты и пачки пород; для анализа участка гидроузла - пачки и крупные пакеты пластов; для анализа основания сооружения - пакеты пластов внутри пачек и даже характерные отдельные пласты.

Графические материалы структурного анализа региона, района и участка гидроузла должны служить основой для нанесения контуров зон А, Б, В, Г - экзогенных изменений массива. При этом следует учитывать; процессы выветривания, разгрузки и т.д. подчинены структурным особенностям скальных массивов; крупные протяженные трещины разгрузки в основном наследуют направления первичных и тектонических трещин; трещины выветривания развиваются преимущественно по трещинам различного генезиса, а также по плоскостям напластования, сланцеватости и различным микро- и макродефектам. Геоморфологические элементы долин рек развиваются в зависимости от суммарного воздействия тектонических, структурно-петрологических особенностей массивов, наложенных процессов разгрузки и выветривания, а также процессов эрозии.

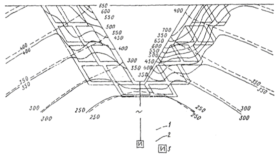
Рис. 1-5. Разрезы по линиям ABC (продольник, правый берег р. Акбуры) и DEF (продольник, левый берег р. Акбуры) к схеме тектонического строения участка Папанского гидроузла

ВII-1 и другие - тектоническое нарушение (В - взброс, С - сброс, СС - сбросо-сдвиг, Н - надвиг, Ф - внутриформационный срыв) второго порядка, номер 1; I - зона развития складок волочения, интенсивного дробления, разлинзования; II - зона интенсивного разлинзования; III - зона разлинзования; IV - зона развития внутриформационных срывов; точками показаны границы зон.

В свете изложенного структурный анализ и построение ГСМ осуществляются для каждой стадии проектирования по следующим этапам:

1. Составление региональной структурно-тектонической схемы в масштабе 1:100000 - 1:250000 с целью выявления контуров СТБ и СТЗ, что необходимо для общей оценки участка предполагаемого строительства.

2. Структурно-петрологическое районирование участка гидроузла в масштабе 1:2000 - 1:5000 с целью выявления контуров СПБ и СПЗ. Построение фрагментов ГСМ, на основе которых планируют участки геомеханических, опытно-фильтрационных, детальных геофизических и других видов исследования в массиве.

3. Инженерно-геологическое районирование скального основания в масштабе 1:1000 - 1:2000 и крупнее, имеющее целью выявление уточненных контуров ИГБ и ИГЗ. На этой основе составляется прогнозная характеристика типов ИГБ и ИГЗ по данным аналогов, а также полевых и лабораторных исследований, результаты которых статистически обрабатываются применительно к выделенным ИГБ и ИГЗ. В результате этого этапа строится ГСМ как основа для составления специализированных моделей. Детальность, состав тематических целенаправленных исследований и графических отображений их результатов в значительной степени определяются уровнем геоструктурной сложности и классом исследуемого объекта.

Приложение 2

СТРУКТУРНО-ТЕКТОНИЧЕСКОЕ РАЙОНИРОВАНИЕ ТЕРРИТОРИИ ПРОЕКТИРУЕМОГО ГИДРОУЗЛА

На стадии предпроектной документации гидроузла в районе со сложным геологическим строением следует определить участок строительства основных сооружений, причем желательно вдали от глубинных сейсмогенных разломов I - II порядков. При сильных землетрясениях подвижки не исключены и по разломам низших порядков, однако их вероятность и амплитуда смещений при этом меньше. Ряд низконапорных земляных плотин США, построенных в зоне сейсмогенного разлома I порядка Сен-Андреаса, претерпели смещения своих частей с амплитудой в несколько метров.

В задачу структурно-тектонического районирования региона и участков конкурирующих створов входит:

1. Выявить систему сейсмогенных разломов I - II порядков и по возможности оценить кинематику движения крупных тектонических нарушений низших порядков.

2. Выявить сейсмическую активность региона и района.

3. Выявить участки пересечения рекой структурно-тектонических блоков, имеющих размеры, достаточные для размещения основных сооружений гидроузла.

4. Изучить и оценить возможные проявления неотектоники в районе гидроузла.

Эти задачи решаются методами структурного и неотектонического анализа региона, района и участка гидроузла. Принципиальные ответы на эти вопросы следует получить на стадии предпроектной документации, хотя соответствующие исследования необходимо предусмотреть и на последующих стадиях.

Структурный анализ региона заключается в изучении крупных геологических структур значительной по площади территории, включающей в себя районы и участки вариантов створов гидроузла. Он проводится на основе литературных данных, нормативно-методических документов, а также государственных, геоморфологических, геологических, тектонических карт, схем сейсмического районирования в масштабах 1:1000000 - 1:100000 и крупнее.

При этом необходимо выявить взаимосвязи региональных геологических структур, тектонических разрывов I - III порядков и зон их влияния с подобными структурами и разрывами низших порядков, проявляющихся на участке проектируемого гидроузла. В практике гидростроительства имеются случаи наличия в основаниях сооружений разломов высшего порядка (Асуанские плотины в АРЕ, плотины Кировского гидроузла в СССР и др.), либо основания находятся в непосредственной близости от таких разломов (Чиркейская, Ингурская ГЭС в СССР, Кассебская ГЭС в Тунисе и др.). В горных районах не всегда удается найти СТБ, свободные от разрывных нарушений III - IV порядков, наличие которых в основании требует индивидуального учета и инженерно-геологической оценки.

Для структурного анализа региона и района следует использовать материалы аэрофотосъемки [47] в виде фотомонтажа и стереопар снимков, аэро- и космической инфракрасной съемки, а на выбранном участке створа - крупномасштабной (1:1000 и крупнее) фототеодолитной съемки. Методика геоструктурного и геоморфологического дешифрования материалов фотосъемок изложена в [1, 3 - 8], где подчеркивается, что процесс геологического дешифрирования индивидуализирован и требует тесной взаимоувязки с наземными наблюдениями.

Схематическая структурно-геологическая карта юго-восточного борта водохранилища Кассеб

1 - глауконитовые песчаники с прослоями мергелей; 2 - глауконитовые мергели с прослоями глауконитовых песчаников; 3 - глауконитовые песчаники и мергели нерасчлененные; 4 - темно-серые мергели с прослоями ракушечников и глинистые известняки с прослоями глауконитовых песчаников; 5 - склоновые брекчии из эоценовых песчаников; 6 - флишоидные битуминозные известняки; 7 - черные мергели с прослоями глинистых известняков; 8 - предполагаемые контуры коренных пород под четвертичными образованиями; 9 - элементы залегания пластов; 10 - элементы залегания для запрокинутых пластов; 11 - взбросо-сдвиги и взбросы установленные; 12 - то же предполагаемые; 13 - сбросо-сдвиги и сбросы установленные; 14 - то же предполагаемые; 15 - главные структурно-тектонические блоки.

В процессе геоструктурного дешифрирования фотосъемки выделяется несколько этапов последовательного опознавания сперва крупных геоструктурных элементов, а затем все более мелких форм и деталей:

1. Изучение контактной печати и фотопланов аэрофотосъемки в масштабе 1:20000 - 1:10000 с помощью линзовых и зеркально-линзовых стереоскопов, сопоставление их с геологическими картами близкого к снимкам масштаба. Нахождение дешифровочных признаков крупных геоструктурных и геоморфологических элементов: основных складчатых структур, тектонических разрывных смещений I - III порядков, обвалов, селей характера обнаженности, простирания и падения пород, слои и комплексы которых различаются по цвету и тональности.

2. Аэровизуальное наблюдение с самолета (вертолета), позволяющее уточнить восприятие опознавательных признаков при сличении натуры с фотоматериалами.

3. Наземное сопоставление геоструктурных, геоморфологических и геоботанических элементов с фотоснимками (аэро- и фототеодолитной съемки), позволяющее детализировать дешифровочные признаки.

4. В сейсмически активных районах геоморфологическое дешифрирование аэросъемки позволяет выявить места для наземных инструментальных исследований неотектоники, проявляющейся в изменениях высотного положения характерных точек террас, и построения эпейрогенических спектров долин рек.

5. На базе геоструктурного и геоморфологического дешифрирования и геологических карт масштаба 1:200000 - 1:20000 строится структурно-тектоническая схема района и участка створа в масштабе 1:10000 - 1:25000. Используя также данные инженерно-геологической съемки, следует предварительно классифицировать разрывные смещения, определить их порядок, подразделить на кинематические типы, дать элементы залегания, протяженность, мощность подзоны сместителя, состав и состояние заполнителя, мощность подзон разлинзования и оперяющих трещин. Составленная структурно-тектоническая схема позволяет целенаправленно запроектировать комплекс геофизических, буровых и горно-проходческих работ для уточнения структурно-тектонических и структурно-петрологических особенностей основания.

На рисунке показана структурно-тектоническая карта юго-восточного борта водохранилища Кассеб, составленная на основе аэрофотосъемки, маршрутной съемки и ограниченного объема горно-буровых работ.

Приложение 3

СТРУКТУРНО-ПЕТРОЛОГИЧЕСКОЕ РАЙОНИРОВАНИЕ СКАЛЬНЫХ МАССИВОВ

Задачи районирования

Структурно-петрологическое районирование скальных оснований является вторым и основным этапом геоструктурного изучения выбранного участка строительства гидроузла в пределах одного СТБ.

Основная задача структурно-петрологического районирования скального массива состоит в его расчленении на генетические структурно-петрологические элементы, квазиоднородные по составу, строению и состоянию, в частности, СПБ-1, СПЗ-1, СПЗ-2р, СПЗ-2п, ЭПБ (см. рис. 1-3).

Выделяют следующие этапы структурно-петрологического районирования:

а) послойное литолого-петрологическое изучение разреза в масштабе 1:100 - 1:500;

б) опробование разреза, лабораторные исследования минерального состава и физико-механических свойств разновидностей пород в образцах;

в) изучение строения и состояния пород (условия залегания, блочность, трещиноватость, обводненность и т.д.) в СПБ и СПЗ;

г) составление предварительного нормального сводного литолого-стратиграфического разреза (колонки) с систематизацией на его основе результатов исследований по этапам б) и в); выделение на нем границ сингенетических структурно-петрологических элементов: СПБ-1, СПЗ-1;

д) составление на основе материалов инженерно-геологических съемки и разведки (включая геофизические исследования) инженерно-геологических разрезов, на которых показаны границы сингенетических и постгенетических СПБ и СПЗ, а также приближенное положение границ подзон А, Б, В, Г;

е) систематизация и статистическая обработка результатов лабораторных исследований свойств пород на образцах по выделенным СПБ, СПЗ и их частям; оценка изменений характеристик свойств с заглублением в скальный массив;

ж) составление (кроме разрезов) горизонтальных срезок с нанесением на них контуров СПБ и СПЗ; соответствующие характеристики состава, строения, состояния и изученных показателей свойств наносят на разрезы и срезы либо показывают в таблице.

Эти этапы повторяются по стадиям проектирования: предварительные (ТЭО), основные (проект), уточненные (РД).

Изучение сводного литолого-стратиграфического разреза массива

Опорной базой инженерной геологии являются методы исторической геологии, стратиграфии, литологии, тектоники, структурной геологии, структурной петрологии и динамической геологии. Без использования этих методов невозможны оценка условий формирования и развития массивов, понимание природы их неоднородности, анизотропии, прогнозирование физико-геологических процессов и явлений и многое другое.

Использование методов литологии и стратиграфии при инженерно-геологической съемке позволяет построить сводный литолого-стратиграфический разрез (колонку) изучаемой толщи - основу структурного анализа скального основания.

Нередко наблюдающийся в практике изысканий недоучет литолого-стратиграфического разреза пород участка, района и региона и соответствия его подробности масштабу инженерно-геологической съемки приводит зачастую к неприятным «сюрпризам» при вскрытии котлованов. Поэтому целесообразны первоочередное изучение литолого-стратиграфического разреза и составление его колонки в масштабе в 10 - 20 раз более крупном, чем масштаб инженерно-геологической съемки. Составленный на стадии ТЭО в масштабе 1:200 - 1:100, на последующих стадиях он может уточняться, детализироваться (вплоть до масштаба 1:20). Это обусловлено необходимостью учета слабых по прочности и маломощных (0,1 м и менее) слоев, влияющих на прочность, деформируемость бетонных сооружений, устойчивость откосов, фильтрационную неоднородность и т.д.

Рис. 3-1. Коннексия разреза известняков на участке арочной плотины Кассеб

А, В, 8а, 9а - маркирующие горизонты; I-VIII - номера пачек.

Все это приводит к необходимости послойного изучения литолого-стратиграфического разреза, особенно в тех случаях, когда массив сложен тонкослоистыми породами типа терригенного или карбонатного флиша, различными по мощности плитчатыми пластами осадочных и метаморфических пород или сильнонарушенными слоистыми породами, в которых необходимо выявить зоны мелких тектонических разрывных смещений и протяженных трещин V - VI порядков. Послойное изучение разреза и составление на его ординате эпюр мощности пластов вскрывают закономерности чередования и ритмичности строения толщ. Это позволяет решить задачу идентификации сложно построенных пакетов пластов и пачек в фациальноизменчивых толщах по их положению в литолого-стратиграфическом разрезе. Такие вопросы часто возникают при инженерно-геологической съемке участков створов гидроузла, основания которых сложены тектонически деформированными толщами слоистых пород, прорезаемыми рекой вкрест их простирания. Идентификация опорных пакетов, пачек и отдельных маркирующих горизонтов, неоднократно повторяющихся в разрезе, обеспечивает выявление согласных и секущих тектонических нарушений.

Рис. 3-2. Литолого-стратиграфический разрез известняков эоцена (Pg2) участка арочной плотины Кассеб (масштаб 1:200)

Условные обозначения к рис. 3-2.

1 - известняки массивно-, толсто- и среднеслоистые; 2 - известняки тонкослоистые мощностью более 0,20 м; 3 - то же мощностью от 0,10 до 0,20 м; 4 - листоватослоистые мощностью от 0,02 до 0,10 м; 5 - маркирующие горизонты; А - переслаивание мелкозернистых средне- и толстослоистых, реже массивнослоистых, преимущественно битуминозных известняков мощностью 0,35 - 1,0 м (средняя мощность 0,6 м) с тонкослоистыми, редко листоватыми битуминозными известняками мощностью 0,06 - 0,5 м. Содержание средне-, толсто- и массивнослоистых известняков 75 %, тонкослоистых - 25 %; Б - слои мелкозернистых, средне- и толстослоистых битуминозных и слабобитуминозных известняков мощностью 0,3 - 0,8 м, разделенные тонкими (0,02 - 0,06 м) прослоями листоватых слабобитуминозных известняков. Содержание средне- и толстослоистых известняков 92 %, листоватых и тонкослоистых - 8 %; В - переслаивание мелкозернистых средне- и толстослоистых слабобитуминозных, реже битуминозных известняков мощностью 0,3 - 0,7 м (средняя мощность 0,5 м) с листоватыми известняками мощностью 0,02 м и тонкослоистыми известняками мощностью 0,2 - 0,3 м битуминозными, редко сильнобитуминозными. Содержание средне- и толстослоистых известняков 85 %, листоватых и тонкослоистых - 15 %; Г - переслаивание мелкозернистых преимущественно тонкослоистых, массивно- и среднеслоистьтх битуминозных, реже слабобитуминозных известняков мощностью от 0,3 до 1,0 м (в среднем 0,55 м) с тонко-, иногда листоватослоистыми сильнобитуминозными известняками мощностью 0,02 - 0,25 м. Содержание массивно-, толсто- и среднеслоистых известняков 83 %, тонко- и листоватослоистых - 17 %; Д - слои мелкозернистых, массивно- и толстослоистых битуминозных и слабобитуминозных известняков мощностью 0,5 - 1,0 м, разделенные тонкими (0,02 - 0,03 м) прослоями листоватых битуминозных известняков. Содержание массивно- и толстослоистых известняков 97 %, листоватослоистых - 3 %; Е - переслаивание мелкозернистых массивнослоистых битуминозных и слабобитуминозных известняков мощностью до 1,3 м (в среднем 1,0 м) с тонкослоистыми сильнобитуминозными известняками мощностью 0,1 - 0,3 м. Содержание массивнослоистых известняков 86 %, тонкослоистых - 14 %; Ж - слои известняков мелкозернистых толсто- и среднеслоистых слабобитуминозных мощностью 0,25 - 0,8 м, разделенные тонкими (мощностью 0,02 - 0,05 м) прослоями листоватых битуминозных известняков. Содержание толсто- и среднеслоистых известняков 94 %, листоватослоистых - 6 %; З - переслаивание мелкозернистых массивно-, толсто- и среднеслоистых слабобитуминозных известняков мощностью 0,3 - 0,8 м (в среднем 0,65 м) с тонкослоистыми битуминозными известняками мощностью 0,15 - 0,30 м. Содержание толсто- и среднеслоистых известняков 73 %, тонкослоистых - 27 %.

Рис. 3-4. Типы зарисовок трещин в керне буровых скважин

а - зарисовка и график выхода керна по скважине 387 (район Могилев-Подольской ГЭС); б - зарисовка керна по скважине 1074 (район Енисейской ГЭС); 1 - граниты; II - пегматиты; III - гнейсы биотитовые; IV - гнейсы мусковитовые; V - плоскости трещин; VI - граница плоскостей трещин; VII - ориентировка полосчатости; А - трещины 1 - 5 открытые, стенки ровные и бугристые, покрытые известковистой корочкой до 1 мм; Б - трещины 6 - 8 открытые, стенки ровные, покрытые известковистой корочкой, слабо хлоритизированы.

Послойное или, точнее, «попластовое» изучение разреза слоистых пород включает измерение пластов в стратиграфической последовательности (от древних к молодым) по разрезу нормально к простиранию пород. Такие измерения следует проводить на естественных и искусственных обнажениях, а также по керну буровых скважин, пройденных вкрест простирания пород. Целесообразно использовать также масштабированные фотопанорамы обнажений.

В результате послойного изучения литолого-стратиграфического разреза слоистых пород выявляется характер условий накопления осадков и последующих процессов их уплотнения и литогенеза, а также инженерно-геологическое значение отдельных элементов разреза.

На рис. 3-1 показана коннексия ритмически чередующихся пластов битуминозных глинистых известняков и чистых известняков в разрезе, характеризующаяся изменениями мощности каждой пары пластов этого двухкомпонентного флишоида. На основе данной коннексии были выделены границы пачек пород с различным соотношением в них компонентов. Построение сводного литолого-стратиграфического разреза на этой основе позволило характеризовать каждую из пачек процентным содержанием более податливых тонкоплитчатых глинистых известняков (рис. 3-2). На этих графиках выделены в разрезе известняков пачки слабых глинистых и пластов чистых известняков (пачки II - VI). Последние были выбраны в качестве основания Кассебской ГЭС как породы с наименьшей деформируемостью. Метод коннексии успешно используется при составлении разрезов слоистых толщ ритмического строения для их взаимоувязки, например, для ленточных глин Скандинавии (Де-Геер). Другим примером могут служить эпюры мощности пластов толстоплитчатых известняков основания Ингури ГЭС по выделенным укрупненным пачкам I - VI (рис. 3-3). График построен на базе фотодокументации обнажений с контрольными измерениями мощности характерных его частей в натуре. Ритмическое чередование пластов различной мощности обусловило неоднородность деформируемости основания. Сопоставление графика и положения зафиксированных в натуре тектонических смещений (8, 15 и др.) типа межформационных срывов по напластованию позволило установить, что в 60 - 65 % случаев они приурочены к пакетам известняков с минимальной мощностью пластов (от 0,1 до 0,4 м).


Рис. 3-3. Сводная ритмограмма разреза карбонатных пород по мощности пластов в основании плотины Ингури ГЭС

1 - раздробленность пород очень сильная; 2 - то же сильная; 3 - то же средняя; 4 - номерная трещина; 5 - граница пачек; 6 - граница ритмов; 7 - толстослоистые известняки (доломиты) мощностью более 100 см; 8 - среднеслоистые известняки (доломиты) мощностью 40 - 100 см; 9 - тонкослоистые известняки (доломиты) мощностью менее 40 см; I - VI - номера пачек; 1 - 43 - номера ритмов. Общее простирание СВ 50°; падение на ЮВ 50 - 70°.


Рис. 3-5. График комплексного исследования скважин (при изысканиях для гидротехнического строительства)

I - выход керна, %; II - скорость чистого бурения, см/ч; III - удельное водопоглощенне, л/мин; IV - ориентировочный коэффициент фильтрации по данным расходометрии, м/сут; V - удельное электрическое сопротивление, Ом×м; VI - скорость распространения упругих волн по данным сейсмокаротажа, м/с; 1 - падение преобладающих трещин (для вертикальных скважин); 2 - число трещин на 1 м (по данным описания керна); 3 - зоны дробления и интенсивной тектонической трещиноватости; 4 - удельное водопоглощение при поинтервальных нагнетаниях; 5 - то же при откачках.

Для уточнения и дополнения сводной колонки, полученной на основе документации обнажений и расчисток, следует использовать описание кернов «структурных» скважин, причем проходку последних желательно осуществлять с помощью алмазных коронок, наименее разрушающих керн при бурении. Зарисовки и фотографии керна, а также обобщение колонки разрезов должны отражать состав, текстуру, трещиноватость пород, элементы залегания трещин (рис. 3-4). Рекомендуется систематизировать и группировать вдоль разреза скважины данные: опытно-фильтрационного опробования, скорости проходки, геофизического каротажа и др. Наличие таких разрезов в сочетании с колонкой сводного литолого-стратиграфического разреза массива обеспечивает рациональный отбор проб для лабораторных исследований состава и свойств пород по их генетическим типам и стратиграфическому положению (рис. 3-5).

Инженерно-геологическое опробование горных пород сводного разреза массива

Инженерно-геологическое опробование разреза горных пород имеет целью получение обобщенных характеристик минерального состава, структуры, текстуры, состояния и физико-механических свойств. В общем случае опробование предполагает сочетание лабораторных (на образцах) и полевых (в массиве) методов исследования. Причем общепризнано, что для скальных массивов при изучении основных характеристик основания: деформационных, прочностных и фильтрационных - главенствующую роль играют полевые методы. Однако в данном параграфе в основном говорится о лабораторном аспекте опробования - исключительно важного и необходимого для целей построения ГСМ этапа количественного определения состава пород, являющегося начальной стадией изучения свойств пород (dмин, d, п, nоткр, Rсж и др.) на выбранном участке створа.

Исследуемый в лаборатории образец имеет заданную форму и размеры, на нем выполняется единичное определение показателя одной или нескольких характеристик свойств. Проба состоит из нескольких (3 и более) образцов. Результаты опробования будут представительными, если пробы характеризуют все основные генетические и структурно-текстурные типы, слагающие исследуемый разрез, их изменения по простиранию и падению, а также под влиянием процессов разгрузки и выветривания.

Опробование может считаться выполненным рационально и экономично, если все типы пород и их разновидности, имеющие инженерное значение, представлены минимальным числом образцов n*, обеспечивающим возможность получения выборочного среднего значения, отличающегося от генерального среднего не более, чем на величину D при заданной вероятности Р.

Отсюда требование к числу п*:

где s2 - дисперсия генеральной совокупности, связанная с дисперсией выборки S2 и числом определений п1 в выборке соотношением  ta - величина, зависящая от заданной доверительной вероятности Р и числа определений п1; определяется по таблице любого справочника по статистической обработке или теории вероятности [32, 70]. Комплекс опробования включает три основных этапа:

1. Определение точек отбора проб, а также необходимого и достаточного количества образцов.

2. Отбор проб.

3. Лабораторные исследования по определению физико-механических свойств пород; статистическая обработка данных экспериментов.

Основные принципы опробования разреза на выбранном участке створа сводятся к следующему [70]:

1) опробование следует проводить послойно и с учетом подзон выветривания и разгрузки А, Б, В, Г (рис. 3-6);

2) опробуется каждый слой пород мощностью не менее 50 мм;

3) при опробовании с большой точностью должны быть учтены геологические данные - генезис пород, геологическое строение, структурные и текстурные особенности опробуемого слоя;

4) детальность опробования толщи сравнительно однородных (в пределах активной зоны) пород увеличивается по направлению к поверхности приложения деформирующих усилий;

5) наиболее детально опробуется слой, оказывающий наибольшее влияние на прочность, деформируемость и устойчивость основания.

При опробовании отбираются последовательно пробы двух видов: а) поисковые - одиночные штуфы и керны стратифицированного послойного опробования для предварительного изучения разреза; б) статистические - систематического опробования для комплексного изучения состава и свойств, требующие указанного выше необходимого и достаточного числа образцов п*.

Рис. 3-6. Принципиальная схема опробования литолого-стратиграфического разреза основания плотины, сложенного слоистыми осадочными породами

А, Б, В, Г - подзоны разгрузки и выветривания пород; 1 - толстоплитчатые песчаники; 2 - среднеплитчатые песчаники с прослоями аргиллитов; 3 - аргиллиты с прослоями тонкоплитчатых песчаников; • - места отбора проб для лабораторных исследований.

Отбор поисковых проб - образцов и кернов - производится одновременно с полевым послойным литолого-петрологическим изучением обнажений и керна первых скважин. Комплекс предварительных лабораторных исследований включает: а) изучение минерального состава разновидностей пород под микроскопом в шлифах, а в случае необходимости - химическими методами; б) определение ряда характеристик свойств: истинной плотности (выборочно), плотности, пористости, прочности на одноосное сжатие, скорости продольной ультразвуковой волны (выборочно). Задачей поискового этапа опробования является установление основных типов и разновидностей пород разреза, а также выявление тех из них, которые по инженерному значению требуют более детального последующего изучения.

Изучение статистических проб включает, помимо перечисленных характеристик на поисковом этапе, выборочные определения модуля деформации и характеристик сопротивляемости пород сдвигу по трещинам. Эти определения проводят в двух состояниях - сухом и водонасыщенном.

В результате статистической обработки данных этих исследований, установления корреляционных связей (между характеристиками разных свойств, между отдельными характеристиками и показателями состава, структурно-текстурными особенностями, а также между характеристиками свойств пород и глубиной их залегания) выявляются и уточняются:

1. Сходство и различие в составе и свойствах разновидностей пород основания, отдельных слоев, пластов, пакетов и пачек.

2. Изменчивость в составе и свойствах по простиранию пластов, слоев и комплексов, вызванная изменениями условий осадконакопления, кристаллизации или метаморфизма, а также наложенными процессами разгрузки и выветривания.

3. Положение границ подзон А, Б, В, Г.

4. Возможность объединения отдельных слоев, пластов, пакетов, пачек и т.д. в квазиоднородный инженерно-геологический элемент с учетом их статистической однородности (близость четырех моментов распределения: среднего значения, среднеквадратичного отклонения, асимметрии и эксцесса), а также с учетом типа и конструктивных особенностей сооружения.

Следует отметить, что определяющее влияние на достоверность результатов статистической обработки данных опробования (как в лабораторном, так и в полевом аспекте) имеет геологическая обоснованность группировки исходных характеристик. В ряде случаев на ошибки в такой группировке может указать бимодальный или полимодальный вид распределения.

Рассмотренный выше цикл исследований выполняется на первом этапе стадии проекта. В дальнейшем акцент делается на полевые методы опробования с целью уточнения деформационных, прочностных и фильтрационных характеристик массива.

Изучение и характеристика блочности и трещиноватости массива

Как известно, характеристики свойств пород в образце и массиве существенно различны, что связано с дискретностью и трещиноватостью массива. Трещиноватость скальных массивов подчинена определенным закономерностям их формирования, развития и тесно связана с внутренним строением пород, характером тектонических структур и последующими наложенными процессами разгрузки и выветривания. Расчлененность скальных пород трещинами отдельности и другого генезиса на элементарные породные блоки позволяет рассматривать скальное основание как дискретную среду или «систему многих тел», «структуру многих тел» [42].

Согласно Л. Мюллеру [42] имеются 4 вида «структуры тел, ограниченных трещинами», различающихся типами связи:

- «агрегатная»: блоки полностью отделены друг от друга системой ортогональных трещин без перевязки;

- «кирпичная кладка»: блоки полностью отделены друг от друга и уложены в виде кирпичной кладки;

- «вразбежку»: блоки не полностью отделены друг от друга из-за наличия «трещинных мостиков» при укладке блоков по «агрегатному» типу связи;

Таблица 3-1

Характеристики трещиноватости и блочности квазиоднородных ИГЭ скальных оснований

Группа и вид показателя

Характеристика показателя

Методика определения показателя

Индекс и размерность

А. ОРИЕНТАЦИЯ В ПРОСТРАНСТВЕ ИНЖЕНЕРНО- ГЕОЛОГИЧЕСКИХ ЭЛЕМЕНТОВ СКАЛЬНОГО МАССИВА

Простирание, направление и углы падения горных пород, трещин

Элементы залегания: пластов пород, систем параллельных трещин, тектонических нарушений, осей структур борозд и штрихов скольжения

В натуре: горным компасом, геодезическими методами; координаты географические с учетом магнитного склонения

Азимуты простирания, румбы и углы падения, град.; погрешность ± 5°

Б. ТРЕЩИНОВАТОСТЬ ПОРОД

Среднее расстояние между трещинами (шаг трещин) одной системы

Вкрест напластованию (мощность пласта) по оси z, параллельно простиранию - ось у, по падению - ось х

В натуре: промеры рулеткой по нормали к простиранию плоскостей параллельных трещин каждой из систем на эталонных площадках

az, aу, ax, см

Модуль трещиноватости для каждой из систем раздельно

Среднее число трещин данной системы на 1 м линии промера по осям z, у, х

То же

Mтz, Мту, Мтх, 1/м

Среднее расстояние между параллельными плоскостями кристаллических жилок по системам трещин

 

То же

ажz, ажу, ажх, см

Модуль жильчатости (цементирующий породу заполнитель)

Аналогично Мт

То же

Мжz, Мжy, Мжх, 1/м

Длина трещин каждой системы (средняя и предельные)

Для мелких трещин средняя, предельные для протяженных трещин

В натуре: на эталонных площадках или по картам разных масштабов

Lz, Ly, Lx, м

Средняя ширина раскрытия полостей блокообразующих трещин каждой системы

 

В натуре: щелемерами для каждой из серий

Dаz, Day, Dах, мм

Характер минерального заполнителя полостей трещин, не цементирующего породу, по каждой системе раздельно и в среднем

Мощность, состав и физико-механические свойства

Осредненные наблюдения в натуре, лабораторные исследования свойств

Описание в виде краткой характеристики, % заполнения полости

Коэффициент трещинной пористости («пустотности»), площадной

Отношение суммарной площади полостей трещин к площади эталонной площадки изучения трещин

Изучение в натуре на эталонных площадках ограниченной площади; подсчет по масштабным зарисовкам или фотографиям

Ктп, %

Коэффициент трещинной пористости, объемный

Отношение суммарного объема полостей трещин к измеренному объему трещиноватой породы

Изучение в штольнях на трех взаимоперпендикулярных сечениях по ряду эталонных площадок

Kтпv, %

Показатель прерывистости трещин (ПТ):

Отношение средней длины в системе к среднему шагу трещин

Расчет по зарисовкам или фотографиям:

 

непрерывная ПТ > 5;

прерывистая ПТ = 1 ¸ 5;

разорванная ПТ < 1

 

ПТ = L/а

ПТ

В. БЛОЧНОСТЬ ПОРОД - РАЗМЕРЫ, ФОРМА, ОРИЕНТАЦИЯ, СРЕДНИЙ ОБЪЕМ ЭПБ

Средний объем ЭПБ

Средний объем ЭПБ для их характерных форм в каждом ИГБ и ИГЗ

Расчет: az ´ ay ´ ax - подсчет частных объемов ЭПБ в развалах пород с выделением преобладающей фракции - более 50 %

Форма, размеры и ориентация ЭПБ относительно средней мощности пластов az, дм, для каждого типоразмера и формы ЭПБ

Формы ЭПБ (см. рис. 2); привязка к аz, ау, ax необходима для ориентации формы блока в пространстве

Размеры относительно az

az : ау : аx = 1 : az/az : аx/аz

Коэффициент перевязки ЭПБ осредненных форм и типоразмеров по простиранию и падению

Соотношение плечей ЭПБ выявленных формы и типоразмеров одного пласта по положению ЭПБ, нижележащего последовательно: сверху вниз, на глубину активной зоны сооружения

Измерения в натуре или по масштабированным фотографиям и зарисовкам обнажений, ориентированных по азимутам простирания и падения пластов

-

Г. МОРФОЛОГИЯ ПОВЕРХНОСТИ ТРЕЩИН

Длина линии профилограммы мега-, мезо-, макро-, микро-, ультрашероховатости

Длина кривой линии профиля шероховатости поверхностей трещин разных порядков

Промер от опорной линии - прибор ПИМТ, иглоскопы, бинокуляры, микроскоп

lкр, м, дм, см, мм

Длина линии промера

Горизонтальное проложение линии профилограммы

Равна длине опорной поверхности по линии промера

lпр, м, дм, см, мм

Длина волны

Расстояние между соседними выступами одного порядка

Определяется по профилограммам в зависимости от порядков шероховатости (I - V)

l, м, дм, см, мм

Коэффициент извилистости шероховатости (линейный)

Отношение длины линии профилограммы к длине линии промера (lкр/lпр)

Определяется по профилограммам

Кизв

Модуль неровностей шероховатости

Число выступов неровностей соответствующих порядков на 1 м

То же

Миш, 1/м

Высота выступов шероховатости

Средняя высота выступов и предельные значения по порядкам шероховатости

То же от опорной плоскости или базисной линии

h, м, дм, см, мм

Углы наклона выступов шероховатости

Средние и предельные углы наклона выступов по их порядкам в градусах по линии промера

То же от главной и вспомогательных опорных линий профилограммы

a, град

Симметрия углов выступов шероховатости (слева направо и справа налево)

Предельные и средние углы наклона выступов на встречных линиях промеров по одному азимуту

То же

Направление в румбах СЗ-ЮВ, ЮВ-СЗ

Ориентация элементов шероховатости на плоскости стенок трещин каждой системы

Ориентация упорядоченной шероховатости стенок трещин каждой системы

В натуре: горным компасом

Румбы, азимуты, углы наклона, град

Процент контактов выступов обеих поверхностей стенок трещины (линейный)

Отношение длины площадок контакта на профилограмме к длине последней, среднее по ряду профилограмм

По профилограммам и в натуре для протяженных трещин

KB, %

Наличие и характеристика каймы выветривания на поверхности трещин

Мощность каймы выветривания; минеральный состав, прочность

Визуально в натуре: под микроскопом в лаборатории; пенетрация стандартной иглой при разной нагрузке

Мощность каймы, дм, см, мм; изменения минсостава, глубина внедрения

- «плотная»: блоки не полностью отделены друг от друга из-за наличия «трещинных мостиков» при укладке по типу «кирпичной кладки».

В природном скальпом массиве чаще всего наблюдается сочетание двух и более типов связи. В магматических породах чаще встречается сочетание «вразбежку» и «агрегатной» (базальтическая или столбчатая отдельность и др.); в осадочных скальных породах - связь «кирпичная кладка», а в зонах учащенной трещиноватости - сочетание «агрегатной» и «вразбежку». В подзонах А и Б большинства массивов наблюдаются связи «агрегатная» и «кирпичная кладка».

Наличие «трещинных мостиков» обнаруживают подзоны В и особенно Г. Следует иметь в виду, что при проходке туннелей, выемок, разработке котлованов плотин взрывным способом зачастую происходит разрушение «трещинных мостиков» в подзонах В и Г вследствие бризантного действия взрыва. Этому же способствует процесс техногенной разгрузки (возникающие при этом растягивающие напряжения оцениваются примерно в 1 - 10 МПа, что соизмеримо с прочностью трещиноватой скальной породы на разрыв).

Поэтому в пределах значительной части активной зоны основания плотины «трещинные мостики» будут существенно нарушены, а значит структура связей ЭПБ может существенно приближаться к «агрегатной» или «кирпичной кладке» в подзоне В, обычно служащей основанием бетонных плотин. Для плотин из грунтовых материалов заглубление котлованов меньше, поэтому скальным основанием служат более расчлененные породы подзон Б и В.

Таблица 3-2

Рекомендуемая нумерация систем трещин применительно к антиклинальной складке (см. рис. 1-4)

Кинематический тип трещины

Номер системы

Простирание

Падение

Угол падения, град

Скалывания по напластованию

1

С-Ю

В

40 - 50

2

С-Ю

З

40 - 50

Скалывания, секущие пласты

3

СЗ-ЮВ

Вертикальное

90

4

СВ-ЮЗ

То же

90

5

З-В

С

40 - 50

6

В-З

Ю

40 - 50

Отрыва, секущие пласты

7

С-Ю

Вертикальное

90

8

В-З

То же

90

9

З-В

Горизонтальное

0

Трещиноватость и блочность скальных оснований требуют всесторонней и детальной количественной характеристики (табл. 3-1). На основе этой информации судят об особенностях строения, состояния и оценивают влияние структуры (горной геометрии) массива на прочностные деформационные и фильтрационные характеристики, а также на анизотропию массива по этим показателям свойств.

Трещины различных систем рекомендуется нумеровать не произвольно (как это делается на большинстве объектов), а с учетом их кинематического типа и ориентации пород в геологической структуре. Применительно к симметричной антиклинальной складке (см. рис. 1-4, где ось z - z отвечает направлению юг - север) рекомендуется нумерация согласно табл. 3-2. При обработке замеров элементов залегания трещин сочетаются графическая (карты, разрезы, диаграммы трещиноватости) и табличная формы. Из диаграмм трещиноватости наиболее употребительны розы-диаграммы и круговые точечные диаграммы. Первые строятся по азимутам простирания плоскостей трещин, а круговые точечные - по азимутам и углам падения в виде проекций точек пересечения перпендикуляров к плоскостям трещин с верхней полусферой. В последнем случае используются различные стереографические сетки (Г.В. Вульфа, В. Шмидта, В. Сухоручкина, Каврайского и др.) [42, 43, 62, 80]. Достаточно трудоемкую работу по построению диаграмм трещиноватости на основе стереографических сеток можно упростить и в случае массовой обработки замеров трещиноватости и блочности, систематизированных по СПБ, СПЗ, ИГБ, ИГЗ, рекомендовать использовать упрощенную систему диаграмм, а именно: круговую розу по схеме А.М. Гуреева либо круговую точечную на основе равноплощадной полярной сетки (рис. 3-7). В последнем случае густоту распределения точек можно обобщать в виде изолиний числа точек. На круговой розе-диаграмме (см. рис. 3-7, а) следует отражать не только ориентацию, простирание, направление и углы падения трещин, но и другие характеристики: шаг трещин каждой блокообразующей системы, ориентацию штрихов скольжения. Нижнюю половину розы диаграммы можно использовать для нанесения ориентации разрывных смещений с подразделением их на порядки и кинематические типы. Нанесение на эту же диаграмму направления течения реки, осей ориентации геоморфологических элементов долины, а также осей проектируемых сооружений позволяет рассматривать вопросы устойчивости откосов, сооружений и т.д. во взаимосвязи со структурой массива и его отдельных элементов.

Рис. 3-7. Диаграммы ориентации трещин и тектонических разрывных смещений в массиве основания Стрыйского гидроузла

а - круговая роза: А - трещин; Б - тектонических разрывных смещений (по А.М. Гурееву); б - круговая точечная (проекция равнопромежуточная-полюсная); I - IV -основные системы тектонических нарушений.

Таблица 3-3

Классификация скальных и полускальных оснований по характеру блочного строения («Технических фаций» массива)

Блочное строение

Генетические типы пород

Мощность пластов, дм

Рекомендации по упрочнению пород при проектировании основания

Диапазон

Средняя

Массивное, крупноблочное, толстоплитчатое

Интрузивные породы, метаморфические ортопороды, толстослоистые осадочные и метаморфические парапороды

5 - 50

10

Обычно специальной подготовки не требуют

Блочное, столбчатое, мелкоблочное

Магматические эффузивные и жильные породы, среднеслоистые осадочные и метаморфические парапороды

1 - 10

5

Иногда требуют укрепления инъекцией и местной расчистки ослабленных участков или зон

Неравномерно-плитчатое

Слоистые осадочные и метаморфические парапороды; некоторые эффузивные расслоенные породы, зоны тектонических нарушений разных порядков

0,5 - 5

3

Обычно требуют частичной анкеровки, укрепления инъекцией и выборочного удаления

Плитчатое, тонкоплитчатое

Слоистые и тонкослоистые осадочные, метаморфические парапороды типа различных сланцев или рассланцованных пород

0,1 - 3

1

Требуют удаления или очень тщательной инъекции под бетонными плотинами или создания противофильтрационных элементов в основания грунтовых плотин

Ориентация ЭПБ в пространстве массива определяется относительно опорной плоскости с известной ориентацией. Для осадочных, а также рассланцованных метаморфических пород в качестве опорной плоскости рекомендуется использовать плоскость трещин напластования (сланцеватости). Для интрузивных пород - хорошо выраженную пластовую отдельность или кристаллизационную слоистость, полосчатость и т.д. Для эффузивных пород (лав, туфолав) - плоскости анизотропии массива, выраженные в текстуре, структуре, прослоенности туфовым и туффитовым материалом, особенностях состава и т.д. - следствиях смены фаз и этапов излияний и эксплозий. В зонах тектонических нарушений форма, размеры и ориентация ЭПБ отличаются от таковых для ненарушенного массива. При этом выбор опорных плоскостей определяется конкретной обстановкой: ориентацией пластов и плоскости их разрыва.

Естественные ЭПБ в редких случаях имеют идеально правильные геометрические формы, поэтому для практических целей их следует схематизировать упрощенными формами и типоразмерами - в пределах 6 форм и 30 типоразмеров (см. рис. 2). Первые три формы чаще всего характерны для нормально слоистых пород осадочного происхождения, а также массивных интрузивных пород и метаморфических парапород. Формы 4, 5 характеризуют зоны тектонических разрывных смещений, а 6 - столбчатую отдельность базальтов, не подвергавшихся тектоническим деформациям.

В зависимости от характера блочного строения массива (табл. 3-3) можно рекомендовать различные мероприятия при проектировании подготовки основания гидротехнического сооружения.

Значительный интерес к изучению морфологии поверхности трещин (см. табл. 3-1) обусловлен ее влиянием на параметры сопротивляемости пород сдвигу по трещинам. В настоящее время по вопросу изучения морфологии поверхности трещин имеются подробные методические документы, изданные Международным обществом по механике скальных пород [38] и ВНИИГом [59]; поэтому настоящая Методика ограничивается табл. 3-1. Что касается подробностей методики определения и обработки параметров трещиноватости, то в дополнение к табл. 3-1 следует рекомендовать работы Л.И. Нейштадт, И.А. Пирогова [43], Л.С. Мирошниковой [64], М.В. Раца и др. [56, 62], А.В. Количко [29, 30], А.А. Варги [35 - 37, 39], С.Н. Чернышева [79, 80] и др.

Предварительное выделение в скальном массиве границ структурно-петрологических элементов

Основными признаками для выделения в скальном массиве контуров квазиоднородных структурно-петрологических элементов, кроме генезиса, стратиграфического положения и условий залегания горных пород, являются: их состав, прочность, структура, текстура и трещиноватость.

Толщи осадочных пород, как правило, слоисты, магматических - нередко расслоены, метаморфических - рассланцованы. Слоистое или квазислоистое строение большей части массивов обусловлено различием в составе, структуре, текстуре, состоянии и свойствах слагающих разновидностей пород, чередующихся в разрезе толщи в разных соотношениях пластов, пакетов и т.д., причем Rсж соседних разновидностей может отличаться в 2 - 5 и более раз. Такое строение обусловливает неоднородность и анизотропность толщи. Даже мало различающиеся по составу и по Rсж компоненты слоистого разреза, но имеющие разные мощности пластов, а значит, и блочности, неоднородны по свойствам в массиве.

Изложенное выше позволяет обосновать классификацию СПБ слоистых или расслоенных толщ как квазиоднородных по соотношению слабых и прочных компонентов в характерных по масштабу объемных частях скального массива. Их линейные размеры выбираются в соответствии с размерами конструктивных и технологических элементов сооружений - плотин, шлюзов, зданий ГЭС и др. Минимальные размеры этих элементов составляют 5 - 20 м, поэтому будем считать их минимальной мощностью элементов, на которые следует расчленять массив при составлении ГСМ. Другие линейные размеры СПБ могут быть больше этих значений, так как протяженность пластов обычно достаточно велика и не лимитирует длину конструктивных и технологических элементов гидросооружения. Масштабные соотношения линейных размеров квазиоднородных элементов массива с конструктивными и технологическими элементами бетонных плотин показаны на рис. 3-8 (по [78, 64] с дополнениями).

Рис. 3-8. Масштабные соотношения линейных размеров квазиоднородных элементов Lм скальных массивов и конструктивных и технологических элементов Lc плотин, объектов полевых и лабораторных экспериментов.

Основное инженерное значение СПЗ-2, имеющих тектоническое происхождение, определяется порядком нарушения, близостью к сооружению и ориентацией плоскости нарушения относительно оси плотины. Если нарушение нормально к оси плотины, то можно ожидать вдоль нарушения сосредоточенного пути фильтрации и повышенной деформируемости подзоны дробления. Если оно параллельно оси плотины, то такая крутопадающая зона будет иметь меньшее значение для фильтрационного контура, но повышенная ее деформируемость, возможно, будет требовать цементации на некоторую глубину, зависящую от условий проекта.

Особенности строения скальных массивов разного генезиса индивидуальны, но практически всегда имеют выдержанные черты анизотропии и неоднородности. Наличие таких закономерностей в слоистых, расслоенных и сланцеватых толщах послужило основой для составления классификации основных типов квазиоднородных генетических структурно-петрологических элементов (табл. 3-4). Приведенные в ней значения Rсж, структурных признаков толщ даны применительно к породам подзоны Г. Учет влияния подзон экзогенных изменений пород на состояние и оценочные характеристики физико-механических свойств приведены в табл. 3-5.

Классификация (см. табл. 3-4) разъясняет принцип выделения предварительных контуров элементов I рода на основе сводного литолого-стратиграфического разреза участка гидроузла, оформленного в виде колонки, геологических разрезов и карт. Элементы II рода выделяются по их порядкам на основе разрезов и карт. По сумме постепенно накапливающихся данных комплексного изучения скального массива по стадиям проектирования уточняются контуры СПБ и СПЗ, а применительно к ним систематизируются и подвергаются статистической обработке данные исследований свойств пород в образце и в массиве с учетом их естественного состояния (водонасыщенность, трещиноватость, выветрелость, естественные напряжения) в пределах активной зоны основания.


Таблица 3-4

Классификация типов квазиоднородных структурно-петрологических элементов скальных массивов

Признаки, характеристики

Сингенетические элементы, их типы

Квазиоднородные структурно-петрологические блоки (СПБ-1) и зоны ослабления (СПЗ-1) I рода

I

II

III

IV

V

VI

VII

По прочности образцов, МПа

Прочные, Rсж = 40 ¸ 250

Неравномерно прочные, Rсж = 20 ¸ 150

Малопрочные, Rсж < 30

По содержанию, %, в разрезе пластов пород с Rсж < 30 МПа

0 - 10

10 - 25

25 - 40

40 - 60

60 - 75

75 - 90

90 - 100

По отношению Rсж прочных и слабых пород

(1 - 2) : 1

(2 - 3) : 1

(3 - 4) : 1

> 4 : 1

(4 - 3) : 1

(3 - 2) : 1

(2 - 1) : 1

По блочному строению

Массивное

Толстоплитчатое

Среднеплитчатое

Неравномерно-плитчатое

Плитчатое

Тонкоплитчатое

Листоватое

По преобладающей мощности пластов пород, дм

прочных

50 - 10

20 - 5

10 - 2

5 - 1

3,0 - 0,5

2,0 - 0,1

1 - 0,1

слабых

5 - 1

2 - 0,5

5 - 2 ¸ 1 - 0,5

0,5 - 0,1

0,1

По преобладающему (> 60 %) объему ЭПБ, дм3

2000 - 100

1000 - 100

500 - 5

200 - 2

100 - 1

50 - 0,1

10 - 0,1

По однородности

Однородные

Малооднородные

Неоднородные

Разнородные

Неоднородные

Малооднородные

Однородные

А ОСАДОЧНЫЕ ОБЛОМОЧНЫЕ ПОРОДЫ

Конгломераты, гравелиты, песчаники к/з

Гравелиты, песчаники р/з, алевролиты

Песчаники ср/з, алевролиты, аргиллиты

Аргиллиты, алевролиты, песчаники р/з

Аргиллиты, алевролиты, песчаники м/з

Аргиллиты, алевролиты, песчаники т/з

Аргиллиты, алевролиты

Преобладающий состав цемента

Кварцевый, кремнистый, карбонатный, железистый

Кремнистый, карбонатный, железистый

Кремнисто-глинистый, карбонатно-глинистый

Кремнисто-карбонатно-глинистый

Кремнисто-глинистый

Глинистый

Преобладающий тип цемента

Базальный

Базальный, поровый и соприкосновения или смешанный

Поровый

Соприкосновения

Б ОСАДОЧНЫЕ КАРБОНАТНЫЕ ПОРОДЫ

Мраморизованные известняки и доломиты (чистые)

Микрозернистые известняки и доломиты, доломитизир. известняки

Кристаллические и кремнистые известняки и доломиты

Неполнокристаллические доломиты и известняки

Частично кристаллизованные известняки и доломиты, чистые и глинистые мергели

Сильно глинистые органогенные, оолитовые известняки, мергели, карбонатные глины

Мергели, карбонаты, глины, мелоподобные породы

Структура карбонатных пород

Гранобластовая, полнокристаллическая

Кристаллическая, порфиробластовая

Гранобластовая, мозаичная, полнокристаллическая

Зернистая, неполнокристаллическая, примеси терригенного материала

Зернистая, частично кристаллическая, примеси песка, глины, органич. остатков

Зернистая, органогенная, оолитовая с примесью песчано-глинист. частиц; цемент карбонатно-глинистый типа порового

В МЕТАМОРФИЧЕСКИЕ ПОРОДЫ

Прочные, Rсж > 50 ¸ 250 МПа

Неравномерно прочные, Rсж = 30 ¸ 150 МПа

Малопрочные, Rсж < 30 МПа

 

Регионально и локально метаморфизованные осадочные (пара) породы

Мраморы, кварциты, кварцито-песчаники, скарны, роговики, кристаллические сланцы

Пара-гнейсы, мигматиты и кристаллические сланцы: кварцитовые, кварцево-серицитовые, слюдяные, скарновые, роговиковые, кремнистые и др.

Филлиты, карбонатно-глинистые и глинистые сланцы

Регионально и локально метаморфизованные магматические (орто) породы

Гранито-гнейсы, зеленокаменные породы, амфиболиты, грейзены, роговики, скарны, оливиновые породы, гранулиты и др.

Орто-гнейсы, мигматиты и кристаллические сланцы: кварцево-слюдяные, амфиболитовые, зеленые, альбитэпидотовые, роговиковые, скарновые, гранулитовые и др.

Сланцы: роговообманковые, серпентинитовые, хлоритовые, тальковые, оливиновые и др.

Г МАГМАТИЧЕСКИЕ ПОРОДЫ

Интрузивные глубинные: граниты, сиениты, гранодиориты, диориты, габбронориты, перидотиты

Интрузивные полуглубинные: граниты, сиениты, гранодиорит-порфиры, диоритпорфиры, габбродиабазы, пикриты

Интрузивные расслоенные или инъецированные: жильчатые или расслоенные породы разного состава с кристаллизационной слоистостью или сланцеватостью

Интрузивные приконтактовые: краевые зоны интрузий, включающие ксенолиты вмещающих пород, приконтактовые новообразования, жилы и апофизы мощностью > 5 м

Магматические жилы и апофизы: пегматитовые, аплитовые, порфиритовые жилы

Эффузивные: лавы липарита, трахита, дацита, андезита, базальта, диабаза, базанита

Эксплозивные: туфолавы и туфобрекчии, туфы, туффиты разного хим. состава с различной степенью цементации или консолидации

Содержание, %, в разрезе пород с Rсж < 50 МПа

0 - 5

5 - 20

20 - 40

40 - 50

0 - 25

75 - 100

Отношение Rсж прочных и слабых пород

(1 - 1,5) : 1

(1 - 2) : 1

(2 - 3) : 1

(2 - 4) : 1

(2 - 5) : 1

(3 - 1) : 1

Блочное строение

Массивное крупноблочное

Толстоплитчатое

Среднеплитчатое

Блочное или плитчатое

Блочное или плитчатое разных размеров

Столбчатое или агломератное, мелкоблочное

Плитчатое, листоватое, агломератное

 

Постгенетические элементы II рода

Структурно-петрологические зоны ослабления (СПЗ) II рода

Тектонические разрывные смещения и трещины I - VI порядков

Деформируют и разрушают все породы в зависимости от кинематических типов трещин, их частоты и ориентации относительно складчатых структур, элементов залегания и прочности пород

 

Экзогипергенетические элементы III рода в скальных массивах

Инженерно-геологические блоки (ИГБ) и зоны (ИГЗ), квазиоднородные по состоянию и свойствам (по подзонам влияния процессов разгрузки и выветривания - А, Б, В, Г)

Степень и глубина развития в массиве процессов разгрузки и выветривания зависит от:

а) климатических и геоморфологических условий;

б) генезиса пород - магматические и метаморфические выветриваются быстрее, чем осадочные;

в) блочного строения - развитие трещиноватости ускоряет выветривание пород;

г) прочности скальных пород - менее прочные разрушаются быстрее;

геологических процессов на поверхности земли.

Таблица 3-5

Приближенные диапазоны характеристик квазиоднородных инженерно-геологических блоков (ИГБ) и зон ослабления (ИГЗ) скальных массивов

Признаки, характеристики

Сингенетические элементы, их типы

Квазиоднородные структурно-петрологические блоки (СПБ) и зоны ослабления (СПЗ-1) I рода

I

II

III

IV

V

VI

VII

По прочности

Прочные

Неравномерно-прочные

Малопрочные

По блочности

Массивные крупноблочные

Толстоплитчатые крупноблочные

Среднеплитчатые и среднеблочные

Равномерно-плитчатые или блочные

Плитчатые или блочные

Столбчатые или тонкоплитчатые

Агломератные или сланцеватые

По однородности

Квазиоднородные по свойствам части СПБ и СПЗ - инженерно-геологические блоки (ИГБ) и зоны (ИГЗ)

По подзонам влияния выветривания и разгрузки

Очень слабое Г

слабое В

среднее Б

Г

В

Б

Г

В

Б

Обломочные породы

VЭПБ, дм3

5000 - 100

1000 - 100

300 - 30

100 - 1,0

100 - 1,0

80 - 1,0

1 - 0,1

0,5 - 0,1

< 0,1

Ктп, %

0,2 - 0,5

0,5 - 2,0

1,0 - 5,0

0,5 - 0,7

0,7 - 3,0

2 - 8

0,7 - 1,0

1 - 2

2 - 5

vp, км

5,5 - 3,5

4,0 - 3,5

3,5 - 3,0

3,5 - 3,0

3,0 - 2,0

2,5 - 2

2 - 1,5

< 1,5

< 1,0

Кф, м/сут

0,01 - 0,05

0,05 - 1,0

1 - 10

0,05 - 5,0

1 - 10

5 - 0,5

2 - 0,01

3 - 0,05

5 - 0,05

Е0, 102 МПа

100 - 60

90 - 60

70 - 50

80 - 60

60 - 40

50 - 30

30 - 20

20 - 10

< 10

tgj

0,8 - 0,7

0,8 - 0,65

0,65 - 0,6

0,65 - 0,5

0,55 - 0,40

0,45 - 0,35

0,40 - 0,35

0,35 - 0,30

< 0,3

С, МПа

0,25 - 0,2

0,2 - 0,15

< 0,15

0,15 - 0,02

0,05 - 0,03

0,03 - 0,02

0,02 - 0,01

< 0,02

< 0,01

Карбонатные породы

VЭПБ, дм3

1500 - 100

1000 - 100

300 - 30

100 - 1,0

100 - 1,0

80 - 1,0

1,0 - 0,1

0,5 - 0,1

< 0,1

Ктп, %

0,2 - 0,5

0,5 - 2,0

1,0 - 5

0,5 - 0,7

0,7 - 3,0

2,0 - 10,0

0,7 - 1,0

1 - 2

2 - 5

vp, км

5,0 - 4,0

4,0 - 3,5

3,5 - 3,0

3,5 - 2,5

3,0 - 2,5

2,5 - 2,0

2,0 - 1,5

1,5 - 1,0

< 1,0

Кф, м/сут

0,01 - 0,5

0,5 - 50*

5 - 100*

0,5 - 2,0

2,0 - 10,0*

2,0 - 0,5*

0,5 - 0,01

0,1 - 5,0

< 0,1

Е0, 102 МПа

140 - 80

120 - 60

80 - 50

80 - 40

60 - 40

40 - 30

30 - 20

20 - 10

< 10

tgj

0,9 - 0,7

0,7 - 0,6

0,6 - 0,5

0,6 - 0,5

0,5 - 0,4

0,4 - 0,35

0,35 - 0,3

0,3 - 0,25

< 0,25

С, МПа

0,3 - 0,25

0,15 - 0,1

0,1 - 0,05

0,1 - 0,05

0,05 - 0,03

0,03 - 0,02

0,02 - 0,04

< 0,01

< 0,01

Метаморфические породы

VЭПБ, дм3

2000 - 100

1000 - 100

500 - 50

100 - 1,0

100 - 1,0

50 - 0,5

1,0 - 0,1

1,0 - 0,1

0,5 - 0,05

Ктп, %

0,2 - 0,5

0,5 - 1,0

1,0 - 2,0

0,5 - 0,7

0,7 - 1,0

1 - 2

0,7 - 1,0

1 - 2

2 - 5

vp, км

6,5 - 5,5

5,5 - 4,5

4,5 - 3,5

4,0 - 3,5

4,0 - 3,0

3,5 - 2,5

3,5 - 2,5

3,0 - 2,5

< 2,5

Кф, м/сут

0,01 - 0,5

0,5 - 1,0*

1 - 50*

0,1 - 1,0

1 - 50*

5 - 100*

0,01 - 0,5

0,5 - 1,0

1 - 5

Е0, 102 МПа

250 - 180

180 - 120

120 - 70

100 - 70

100 - 50

70 - 40

70 - 30

40 - 30

< 30

tgj

1,0 - 0,8

0,9 - 0,8

0,8 - 0,7

0,8 - 0,7

0,7 - 0,6

0,6 - 0,5

0,6 - 0,5

0,55 - 0,45

< 0,45

С, МПа

0,4 - 0,3

0,3 - 0,25

0,25 - 0,2

0,25 - 0,2

0,2 - 0,15

0,15 - 0,05

0,2 - 0,15

0,15 - 0,05

< 0,05

Магматические породы

VЭПБ, дм3

2500 - 100

1000 - 100

500 - 50

100 - 1,0

100 - 1,0

50 - 0,5

1 - 0,1

1,0 - 0,1

0,5 - 0,05

Ктп, %

0,2 - 0,5

0,5 - 1,0

1,0 - 2,0

0,5 - 0,7

0,7 - 1,0

1 - 2

0,7 - 1,0

1 - 2

2 - 5

vp, км

6,5 - 5,5

5,5 - 4,5

4,5 - 3,5

4,0 - 3,5

4,0 - 3,0

3,5 - 2,5

3,5 - 2,5

3,0 - 2,5

< 2,5

Кф, м/сут

0,01 - 0,5

0,5 - 1,0

1 - 150**

0,1 - 1,0

1 - 50**

5 - 100**

0,1 - 5

5 - 10

0,1 - 10

Е0, 102 МПа

250 - 180

180 - 120

120 - 70

100 - 70

100 - 50

70 - 40

70 - 30

40 - 30

< 30

tgj

1,0 - 0,8

0,9 - 0,8

0,8 - 0,7

0,9 - 0,7

0,7 - 0,6

0,6 - 0,5

0,6 - 0,5

0,55 - 0,45

< 0,45

С, МПа

0,4 - 0,3

0,3 - 0,25

0,25 - 0,2

0,3 - 0,25

0,25 - 0,2

0,15 - 0,05

0,2 - 0,15

0,15 - 0,05

< 0,05

Постгенетические тектонические элементы. Квазиоднородные тектонические структурно-петрологические зоны дробления (СПЗ-2) разломов III - V порядков в различных типах сингенетических элементов скальных массивов

Подзоны сместителя и разлинования

VЭПБ, дм3

300 - 10

200 - 5

100 - 1

50 - 5

40 - 5

20 - 1

1 - 0,01

1 - 0,01

< 0,1

Ктп, %

1 - 2

2 - 5

5 - 10

0,5 - 1

1 - 3

3 - 5

0,5 - 1,0

1,0 - 1,5

1,0 - 2,0

vp, км

3,5 - 2,0

3,0 - 1,5

1,5

2,5 - 2,0

2,0 - 1,5

< 1,5

2,0 - 1,5

< 1,5

< 1,5

Кф, м/сут

0,1 - 1,0

1 - 5*

1 - 10*

0,1 - 1,0

1 - 5*

> 5*

< 10

< 1,0

< 1,0

Е0, 102 МПа

40 - 20

30 - 10

10

30 - 20

20 - 10

< 10

< 10

< 10

< 10

tgj

0,7 - 0,6

0,6 - 0,5

0,5 - 0,4

0,5 - 0,4

0,5 - 0,4

< 0,4

< 0,5

< 0,4

< 0,4

С, МПа

0,1 - 0,05

< 0,05

0

0,1 - 0,05

< 0,05

0

< 0,01

0

0

Подзоны трещин оперения

VЭПБ, дм3

500 - 50

400 - 20

200 - 10

100 - 10

80 - 5

50 - 1

1,0 - 0,1

1,0 - 0,01

< 0,10

Ктп, %

0,5 - 1,0

1 - 2

2 - 10

0,5 - 1,0

0,7 - 2

2 - 10

0,7 - 1,0

1 - 2

2 - 3

vp, км

4,0 - 3,0

3,0 - 2,5

< 2,5

3,0 - 2,5

3,0 - 2,0

< 2,0

< 2,0

< 1,5

< 1,5

Кф, м/сут

0,5 - 1,0

5 - 50*, **

5 - 100*, **

0,5 - 10

1,0 - 15*, **

0,5 - 10*, **

0,1 - 5,0

0,1 - 5,0

0,1 - 10,0

Е0, 102 МПа

80 - 50

60 - 30

< 40

60 - 30

50 - 20

30 - 10

30 - 20

< 20

< 10

tgj

0,8 - 0,7

0,8 - 0,7

< 0,7

0,7 - 0,6

0,7 - 0,6

0,7 - 0,6

< 0,6

< 0,5

< 0,4

С, МПа

0,25 - 0,2

0,2 - 0,15

< 0,15

0,2 - 0,15

< 0,15

< 0,1

< 0,05

0

0

Примечания: 1. Сопротивление сдвигу (tgj, С) может снижаться при наличии в подзоне смесителя и в трещинах слабого заполнителя (глинки трения и др.);

2. Значения vp даны применительно к зоне аэрации массива (неводонасыщенное состояние).

* Вероятно резкое увеличение водопроницаемости в зоне развития карста, зачастую связанного с тектоническими нарушениями в карбонатных скальных массивах;

** Возможно резкое увеличение водопроницаемости в подрусловой зоне разгрузки массива и в бортах долины.


Приложение 4

ИНЖЕНЕРНО-ГЕОЛОГИЧЕСКОЕ РАЙОНИРОВАНИЕ СКАЛЬНЫХ МАССИВОВ

Инженерно-геологическое районирование является третьим большим этапом изучения скальных массивов с целью построения ГСМ. Практически этот этап следует выполнять параллельно с этапом структурно-петрологического районирования.

Основными задачами инженерно-геологического районирования массива являются установление внутри СПБ и СПЗ границ подзон А, Б, В, Г, различающихся по степени выветривания и разгрузки естественного напряженного состояния, а также оценка показателей физико-механических свойств выделенных таким образом квазиоднородных инженерно-геологических элементов.

Влияние разгрузки и выветривания массивов выражается в раскрытии существующих и образовании дополнительных трещин, а также в снижении прочности пород. Перераспределение естественных напряжений в бортах и днище долины, связанное с эрозионным врезом, способствует развитию протяженных трещин разных типов: пологонаклонных отслаивания («донного отпора»), крутопадающих («бортового отпора») и отседания бортов, способствующих обвалам и оползням. Развитие таких протяженных трещин зачастую происходит по плоскостям тектонических разрывных смещений, имеющих падение в сторону местных базисов эрозии, а также по системам трещин подобной ориентации. Реже происходит скалывание по цельной породе.

Установление границ ИГБ и ИГЗ производится по комплексу данных, полученных при геолого-съемочных, горно-буровых, опытно-фильтрационных и геофизических работах. Особенно полезны наземные сейсморазведочные и комплексные каротажные исследования. Границы подзон А, Б, В, Г на вертикальных разрезах, как правило, имеют извилистые очертания, характеризующие неоднородность разновидностей пород по прочности и степени трещиноватости. В сечениях вкрест простирания крутопадающих пород или нормально к плоскостям разрывных смещений границы подзон имеют нередко пилообразную форму.

Характеристика состояния массива по подзонам А, Б, В, Г

Развитие процессов выветривания и разгрузки напряженного состояния в массиве зависит от генезиса, состава, структуры, степени трещиноватости, условий залегания пород, активности процессов эрозии и физико-химических обменных реакций, зависящих, в свою очередь, от климатических факторов. Поэтому наблюдается избирательный характер проявления этих процессов на различной глубине. Остановимся на характеристике подзон А, Б, В, Г.

Подзона А - очень сильного проявления процессов выветривания массива. Породы сильно выветрены, дезинтегрированы до состояния щебня, дресвы с песчано-глинисто-суглинистым заполнителем. Характерно сильное изменение минерального и химического составов пород. Количественным показателем степени выветрелости является Квыв = dвыв/dневыв, для пород подзоны А его значение менее 0,8. Следует учитывать, что подзона элювированных пород для условий тропического и аридного климата может быть представлена сапролитами. В средних широтах подзона А развита меньше, и ее мощность на пологих склонах может достигать 10 м; на склонах средней крутизны - обычно 1 - 2 м, редко более, а на крутых склонах может отсутствовать вовсе вследствие сноса, смыва и т.д. По свойствам (упругим, электрическим и др.) подзона А ближе к четвертичным крупнообломочным отложениям, чем к скальным породам. Под бетонными плотинами и ядром грунтовых плотин подзона А подлежит полному удалению.

Подзона Б - сильного проявления разгрузки и выветривания. Породы сохраняют облик своей структуры и текстуры, но сильно изменены по цвету (в частности, окрашены гидроокислами железа). Трещины учащены и расширены, заполнены полностью или частично мелкоземом. Минеральный и химический составы в ЭПБ изменены сравнительно мало. Прочность монолитных образцов заметно ниже, чем в подзонах В и Г. По зонам ослабленных и повышенно-трещиноватых пород отмечается интенсивное избирательное выветривание (состояние пород здесь близко к таковому в подзоне А). В рассматриваемой подзоне Б значение Квыв = 0,8 ¸ 0,9. Мощность подзоны Б может варьироваться в широких пределах: от единиц до нескольких десятков метров. В массивах изверженных и метаморфических пород она зачастую не превышает 5 - 10 м. При строительстве наиболее выветриваемые породы этой подзоны подлежат удалению, остальные - укреплению инъекцией.

Подзона В - слабого проявления площадного выветривания и умеренного проявления разгрузки. Трещины здесь несколько учащены и более раскрыты (по сравнению с подзоной Т). Прочность монолитных образцов близка к таковой в подзоне Г. Вдоль крупных субвертикальных трещин есть признаки выветривания (линейное выветривание), формирующего местные зоны ослабления. Значение Квыв = 0,9 ¸ 1,0. Мощность подзоны В может достигать нескольких десятков метров. Наибольшая мощность подзоны В отмечена в бортах долин с глубоким эрозионным врезом (например, в долине р. Туполанг она составляет 60 - 70 м). Для многих объектов гидростроительства со склонами средней и малой крутизны она достигает 10 - 15 м. При проектировании и строительстве местные зоны ослабления подлежат укреплению инъекцией.

Подзона Г - породы практически не выветрелые, имеются лишь признаки линейного выветривания по субвертикальным тектоническим нарушениям и крупным трещинам. Привнесенный извне дисперсный заполнитель полостей трещин обычно отсутствует; Квыв = 1. При строительстве плотин в зоне фильтрационного контура, как правило, могут потребоваться противофильтрационные мероприятия.

Границы подзон могут отчетливо проявляться в керне скважин, по стенкам шурфов и штолен. Наземными геофизическими методами уверенно отбивается контакт подзон А и Б, а подзоны Б и В часто интерпретируются как один слой (квазиоднородный или градиентный). При каротаже скважин все подзоны расчленяются достаточно уверенно. Показанные на рис. 4-1 зависимости скорости продольных упругих волн от глубины (от поверхности подзоны Б) говорят о том, что суммарная мощность подзон Б и В в долине р. Мамакан, в гранитоидном массиве, достигает 20 - 25 м (по выходу на асимптоту кривых 1 и 2).

Систематизация данных исследований строения, состояния и свойств скальных пород по ИГЭ

Сводный литолого-стратиграфический разрез, на котором выделены структурно-петрологические элементы, рекомендуется использовать для группировки накопленных качественных и количественных характеристик пород (рис. 4-2 и табл. 4-1) по следующим разделам:

- состав и генезис пород;

- трещиноватость и блочность пород;

- физико-механические свойства образцов пород;

- предварительная оценка свойств пород в массиве;

- дополнения и примечания.

Рис. 4-1. Изменение скорости продольных волн vp с глубиной h в гранитоидном массиве основания Тельмамского гидроузла

1 - левый берег (штольня 100, породы в зоне поверхностного выветривания и разгрузки); 2 - правый берег (сейсмокаротаж скважин, сейсмопрофилирование в штольне 1); 3 - зоны повышенной трещиноватости.

Рис. 4-2. Фрагмент сводного литолого-стратиграфического разреза основания плотины на р. Стрый

А - грубослоистые кварцевые песчаники с маломощными слоями аргиллитов и редкими слоями кварцевых гравелитов; Б - грубослоистые кварцевые песчаники и аргиллиты примерно в равных соотношениях; В - преобладание грубослоистых кварцевых песчаников над аргиллитами, нередко содержащими линзы песчаников. Пачка характеризуется наибольшим развитием в ней кварцевых гравелитов.


сооружения (на примере пачки VII в основании Стрыйского гидроузла; Приложение к рис. 4-2)

Порода

Типы генетических элементов

Мощность пород в пачке, дм

Средняя мощность пластов, дм

Образцы

Средняя блочностъ в подзонах Б и В массива

dмин, 103 кг/м3

d, 103 кг/м3

n, %

W, %

vр сух, км/с

Rсж. сух, МПа

Кр

Rр, МПа

z : у : х

Песчаник

СПБ

136

4,8

2,65

2,55

4

1,5

4,1

174

0,91

15

280

1 : 1,9 : 1,4

Аргиллит

СПЗ-1

24

0,6

2,70

2,25

16

6,0

3,0

29

0,42

1,0

0,12

1 : 1,5 : 1,3

Песчаник + + аргиллит

СПБ + СПЗ-1

160

2,9

-

-

-

-

-

-

-

-

250

1 : 1,8 : 1,4

То же в тектонических зонах V порядка

СПЗ-2

менее 100

-

-

-

-

-

-

-

-

< 100

-

Продолжение таблицы 4-1

Подзона В массива

Подзона Б массива

Подзона А массива

Ктп, %

vр сух, км/с

Ед, 102 МПа

Е0, 102 МПа

Кф, м/сут

tgj

С, МПа

Ктп, %

vр сух, км/с

Ед, 102 МПа

Е0, 102 МПа

Кф, м/сут

tgj

С, МПа

Ктп, %

vр сух, км/с

Ед, 102 МПа

Е0, 102 МПа

Кф, м/сут

tgj

С, МПа

0,6

3,8

260

100

0,03

0,80

0,2

1,1

3,0

150

60

0,3

0,70

0,1

3,0

2,0

80

35

3,0

0,5

0,05

0,5

2,4

120

40

0,01

0,45

0,05

0,8

2,0

80

20

0,15

0,3

0,02

1,6

1,5

40

10

1,6

0,3

0,01

0,6

3,6

240

80

0,02

0,6

0,1

1,0

2,9

130

50

0,3

0,5

0,05

3,0

1,8

60

25

2,5

0,4

0,02

< 1

2,6

120

40

0,1

0,4

0,01

3,0

2,0

80

20

3,0

0,4

0,01

< 5

1,3

30

8

30

0,3

0,01


Состав и генезис пород

Правила составления литолого-стратиграфического разреза описаны в Приложении 3. Отметим, что сводная колонка может быть выполнена в более мелком, чем частные разрезы, масштабе (1:500 - 1:1000). Наибольшее внимание следует уделять слоям и прослоям ослабленных по прочности пород: аргиллитов, глин, мергелей и т.п., а в массивах магматических пород - зонам мигматитов, расслоения, пегматитов, переслаивания эффузивов с туфами, пеплами и т.д. В основу разделения сводного разреза на характерные элементы берутся признаки стратиграфии, литологии и состояния (трещиноватости). В качестве стратиграфических признаков используют палеонтологические находки, особенности стратиграфического несогласия, ритмичность накопления осадков, маркирующие горизонты и т.д. В качестве литологических признаков используются генетические типы и разновидности пород, слагающих каждый из прослоев, слоев, пластов, пакетов пластов и пачек пород, состоящих из однородных или разнородных по составу, цвету, структуре, текстуре, типу и составу цемента и т.д.

Трещиноватость и блочность пород

Этот раздел включает эпюру мощности пластов (отделенных трещинами по напластованию), соотношения длин сторон ЭПБ,  Ктп (по подзонам Б, В, Г), а также шероховатость стенок трещин (по высоте выступов и углам наклона по простиранию и падению блокообразующих трещин).

В сводную таблицу рекомендуется помещать результаты статистической обработки характеристик: средние значения и пределы изменения (при вероятности 5 и 95 % на кумулятивных кривых).

Физико-механические свойства пород (в образце, в массиве)

Соответствующие графы этих разделов содержат информацию о средних и предельных значениях характеристик:

а) для образцов пород: Кр, dмин, d, n, W, vp, Rсж, Ед, tgj, С;

б) для массива: Е0, Ед, vр, q, tgj, С.

Перечисленные характеристики (образцов и массива) желательно получить раздельно для пород подзон Б, В, Г.

Прогнозная оценка свойств скальных пород в массиве

Прогнозная оценка деформационных, прочностных и фильтрационных характеристик базируется на использовании аналогов, а также корреляционных связей показателей трещиноватости, блочности, скорости упругих волн, относительного электрического сопротивления между собой, а также с характеристиками свойств.

При подборе природного аналога необходимо помнить, что между ним и изучаемым объектом должно быть установлено геологическое подобие на основе рассмотрения основных факторов:

Рис. 4-3. Расчетная зависимость объема блоков горных пород V от коэффициента трещинной пустотности Ктп

1 - для кубической формы блоков; 2 - для призматической формы блоков; 3 - для пластинчатой формы блоков; исходный объем породы равен 1 м3; раскрытие трещин 1 мм.

- генетического типа породы и ее минерального состава;

- геологической истории района;

- состояния породы;

- условий залегания пород (ориентировка элементов залегания и основных систем трещин относительно долины реки или направления сил, передаваемых на основание сооружением);

Рис. 4-4. Связи модуля деформации Е0 со средним объемом ЭПБ V и Ктп для известняков эоцена в Тунисе по данным полевых опытов при первом цикле нагружения.

- характера современного рельефа и геоморфологических особенностей.

Различные корреляционные связи характеристик состояния и свойств показаны на рис. 4-3 - 4-10.

Рис. 4-3 иллюстрирует зависимость среднего объема ЭПБ от Ктп. На рис. 4-4 показаны связи статического модуля деформации со средним объемом ЭПБ и значением Ктп в известняках основания Кассебского гидроузла. На рис. 4-5 показано влияние различного сочетания пластов разной мощности (от 0,4 до 5,0 м), типов ритмов, удельного содержания маломощных пластов в пачках известняков основания Ингурской ГЭС на величину удельного водопоглощения q. Основание характеризовалось шестью типами ритмов с преобладанием соответственно пластов мощностью: Н1 (первый тип) < 0,4 м; Н2 = 0,44 ¸ 1,0 м; Н3 = 0,4 ¸ 1,0 м и Н3 = 1,0 ¸ 2,0 м; Н4 = 1,0 ¸ 2,0 м; Н5 = 0,4 ¸ 1,0 м и Н5 = 2,0 ¸ 3,0 м; Н6 ³ 2,0 ¸ 3,0 м.

Рис. 4-5. Связь водопроницаемости q известняков основания Ингури ГЭС с характеристиками их состава и строения

а - с содержанием маломощных пластов известняка, %, в ритмичной толще; б - со средней мощностью пластов ритма (0 - 2,0 м); в - с типами ритмов (I - VI); г - распределение значений q; 1 - тектонические нарушения; 2 - мелкие трещины и тектонические нарушения; 3 - мелкие трещины в массиве вне тектонических зон.

Резко повышенная водопроницаемость зон тектонических нарушений в скальных массивах, в частности известняках, выявляется путем построения графиков связи удельного водопоглощения q и заглубления в массив по вертикали h (рис. 4-6). По характеру кривых в верхней части разреза скального массива можно судить о мощности зоны выветривания и разгрузки пород, а также качественно оценить закольматированность полостей трещин на различных интервалах глубин.

Рис. 4-6. Изменение значений q карбонатных пород в массиве основания Ингури ГЭС в зависимости от геоморфологии долины, заглубления h в массив и типов его генетических элементов

а - опытное опробование массива на высоких отметках (Нусл = 415 ¸ 470 м); б - то же на средних отметках (Нусл = 350 ¸ 415 м); в - то же на низких отметках (Нусл = 280 ¸ 350 м); г - массив в целом и с учетом его элементов; 1 - экспериментальные значения q; 2 - среднеарифметические значения  в интервалах h; 3 - скользящее осреднение среднеарифметических значений ; 4 - среднегеометрические значения  в интервалах h; 5 - кривая среднеарифметических значений  в сохранных породах СПБ; 6 - то же в подзонах смесителей; 7 - то же в подзонах оперения тектонических смещений.

Рис. 4-7. Связь удельного водопоглощения q с обратной величиной относительного электрического сопротивления Р = rвп/rв в массиве диоритов основания Зейской ГЭС.

Рис. 4-8. Осредняющие взаимосвязей Ед (Е0) (и области наиболее вероятных значений) для различных скальных пород, рекомендуемые А.И. Савичем

I, II - значения E0, определенные соответственно по первому и по второму циклам нагружения.

Оценка водопроницаемости массива может быть приближенно выполнена по данным геофизических исследований, в частности, по корреляционным связям lgq и vp [63] либо lgq и lg(rв/rвп) (рис. 4-7). Кроме того, могут использоваться специальные геофизические исследования для изучения фильтрационных свойств массива: резистивиметрия при наливах, модификации метода заряженного тела, метод естественного поля и др.

Рис. 4-9. Связь статического модуля деформации Е0 и скорости продольных упругих волн vp в массивах скальных пород (данные прямой корреляции)

1 - разные породы по М.Ф. Болло; 2 - то же по X. Масуда; 3 - кристаллические сланцы (основание Саяно-Шушенской ГЭС); 4 - известняки (основание Ингури ГЭС); 5 - то же (основание Токтогульской ГЭС); 6 - диориты (основание Зейской ГЭС).

В настоящее время для оценки деформационных характеристик скальных массивов широко применяются разночастотные сейсмические методы исследований [44, 63, 67]. Примеры графиков связи Е0 с vp и Ед приведены, на рис. 4-8 и 4-9.

Используя парные корреляции q(vp) и Е0(vp), для фиксированных значений vp можно получить сопряженные пары значений q и Е0, позволяющие построить графики связи этих величин (рис. 4-10), и впоследствии их использовать для приближенных оценок.

Во всех приведенных выше примерах необходимо отметить индивидуальный вид связи различных характеристик, что обусловлено конкретными литолого-петрологическими и структурными особенностями изучаемого массива.

Характеристики сопротивляемости пород сдвигу, как правило, определяют путем проведения полевых или лабораторных опытов и лишь в редких случаях используют корреляционные связи с геофизическими или статическими деформационными характеристиками (рис. 4-11).

Рис. 4-10. Связь удельного водопоглощения q и модуля деформации Е0 в массивах скальных пород

1 - известняки основания Чиркейской ГЭС; 2 - то же Ингури ГЭС; 3 - кристаллические сланцы основания Саяно-Шушенской ГЭС.

Таблица 4-2

Тип блочности пород в массиве

vр, км/с (в зоне аэрации)

Мт, 1/м

Крупноблочный

6,0 - 4,5

менее 1,0

более 1000

Блочный массивный

6,0 - 3,5

0,8 - 2,0

1000 - 100

Толстоплитчатый

3,5 - 2,4

2,0 - 5,0

100 - 10

Среднеплитчатый

2,4 - 2,0

5 - 10

10 - 1

Мелкоплитчатый

2,0 - 1,5

10 - 20

1 - 0,1

Пластинчатый (сланцеватый)

менее 1,5

более 20

менее 1,0

Таблица 4-3

Подзоны выветривания и разгрузки естественного напряженного состояния

Квыв

Кф, м/сут

Ктп, %

Раскрытие трещин Dа, мм

А

менее 0,8

более 10

более 3

более 5

Б

0,8 - 0,9

5 - 10

3 - 1

1 - 5

В

0,9 - 1,0

1 - 5

1 - 0,5

0,5 - 1,0

Г

1,0

менее 1,0

менее 0,5

0,1 - 0,5

Для самой общей оценки состояния и некоторых характеристик свойств скальных массивов (без подразделения на генетические типы пород) можно воспользоваться данными табл. 4-2 - 4-4. В табл. 4-4 использованы рекомендации А.И. Савича и А.Д. Михайлова [66].

Таблица 4-4

Классификация массивов скальных пород по трещиноватости и относительным характеристикам свойств (по СНиП 2.02.02-85 с дополнениями)

Степень трещиноватости пород

Модуль трещиноватости Мт, 1/м

Объем блоков V, дм3

Ктп, %

Показатель качества породы RQD, %

Относительная деформируемость Е0/Е0 max, %

Относительная прочность Rсж/Rсж max, %

Относительная скорость упругих волн vp/vp max, %

Очень слаботрещиноватые

менее 1,5

тысячи

менее 0,5

90 - 100

70 - 100

70 - 100

95 - 100

Слаботрещиноватые

1,5 - 5

сотни

0,5 - 1,0

75 - 90

50 - 70

45 - 70

85 - 95

Среднетрещиноватые

5 - 10

десятки - сотни

1,0 - 1,5

50 - 75

25 - 50

18 - 15

65 - 85

Сильнотрещиноватые

10 - 30

единицы - десятки

1,5 - 2,5

25 - 50

10 - 25

7 - 18

48 - 65

Очень сильнотрещиноватые

более 30

менее 1

более 2,5

0 - 25

3 - 10

2 - 7

33 - 48

Примечание. Относительные значения деформируемости, прочности и скорости волн даны для сухих и водонасыщенных пород (немерзлых). Е0 max, Rсж mах, vp max - среднемаксимальные значения, полученные на монолитных образцах соответствующего состояния (сухого, водонасыщенного).

Рис. 4-11. Приближенная связь коэффициента сдвига (tgy с модулем деформации Е0 и коэффициентом отпора Кo в массивах скальных и полускальных пород (по Ю.А. Фишману)

I - tgyпр = tпр/s опытах на сдвиг бетонных штампов (1) и целиков (2); II - tgy расчетные, принятые в рабочих чертежах плотин ГЭС: 3 - Саяно-Шушенской; 4 - Наглу; 5 - Токтогульской; 6 - Усть-Илимской; 7 - Константиновской; 8 - Андижанской; 9 - Гримзель; 10 - Миатлинской; 11 - Ингурской; III, IV, V - соответственно максимальные, средние и минимальные расчетные значения tgy для стадии ТЭО по классификации оснований плотин при s = 2,0 МПа.

С целью предварительной оценки инженерно-геологической пригодности скального массива как основания или среды размещения сооружения и сравнительной характеристики конкурирующих створов на ранних стадиях изысканий можно воспользоваться классификацией З. Бенявского и К. Орра [82] (табл. 4-5). Эта классификация включает в себя 6 характеристик: 1) ориентацию трещин и тектонических нарушений; 2) «кубиковую» прочность породы; 3) выход керна скважин; 4) расстояние между трещинами; 5) раскрытие трещин и состояние поверхностей их стенок; 6) гидрогеологические условия. Наличие зависимости «суммарного балла» от величины Е0/Е0 mаx создает определенную связь приводимых здесь классификаций (см. табл. 4-4 и 4-5).

Таблица 4-5

Классификация скальных массивов как оснований или среды размещения инженерного сооружения по сумме инженерно-геологических характеристик (по З. Бенявскому и К. Орру [82])

Сумма баллов (Б1 + Б2 + Б3 + Б4 + Б5 + Б6) по табл. 4-5а - 4-5е

100 - 81

80 - 61

60 - 41

40 - 21

Менее 20

«Строительное качество» массива

Очень хорошее

Хорошее

Удовлетворительное

Слабое

Очень плохое

Среднее Е0/Е0 max, %

75

40

20

15

Менее 12

Таблица 4-5а

Баллы (Б1) за ориентацию трещин и тектонических нарушений

Угол падения трещин и нарушений, град

Оценка

Баллы (Б1)

Туннели

Основания

Откосы

0 - 10

Очень благоприятно

0

0

0

10 - 30 в сторону нижнего бьефа

Не благоприятно

-10

-15

-50

10 - 30 в сторону верхнего бьефа

Удовлетворительно

-5

-7

-25

30 - 60

Благоприятно

-2

-2

-5

60 - 90

Очень не благоприятно

-12

-25

-60

Таблица 4-5б

Баллы (Б2) за прочность породы (в образце)

Характеристика

Скальные породы

Полускальные породы

Rр, МПа

Более 8

4 - 8

2 - 4

1 - 2

-

-

-

Rсж, МПа

Более 200

100 - 200

50 - 100

25 - 50

10 - 25

3 - 10

1 - 3

Баллы (Б2)

15

12

7

4

2

1

0

Таблица 4-5в

Баллы (Б3) за качество керна скважин

Выход керна, %

90 - 100

75 - 90

50 - 75

25 - 50

Менее 25

Баллы (Б3)

20

17

13

8

3

Таблица 4-5г

Баллы (Б4) за густоту трещин

Расстояние между трещинами, м

Более 3

1 - 3

0,3 - 1

0,05 - 0,3

Менее 0,05

Баллы (Б4)

30

25

20

10

5

Таблица 4-5д

Баллы (Б5) за состояние трещин

Состояние трещин

Очень грубая поверхность, трещины сомкнутые, стенки очень прочные

Шероховатая поверхность, стенки прочные, раскрытие трещин, Dа < 1 мм

Шероховатая поверхность, стенки мягкие, Dа < 1 мм

Скользкая поверхность, Dа < 5 мм

Dа > 5 мм

Баллы (Б5)

25

20

12

6

0

Таблица 4-5е

Баллы (Б6) за гидрогеологические условия

Приток воды на 10 м длины туннеля, л/мин

0

Менее 25

25 - 125

Более 125

Отношение давления воды в трещинах к максимальным главным напряжениям

0

0,0 - 0,2

0,2 - 0,5

Более 0,5

Общее состояние

Сухо

Влажно

Напорные воды

Тяжелые фильтрационные условия

Баллы (Б6)

10

7

4

0

Выделение в скальном массиве контуров квазиоднородных инженерно-геологических объемных элементов

В естественном скальном массиве каждые СПБ, ИГБ, СПЗ и ИГЗ имеют определенные объем, форму и положение в пространстве. Масштабная схема (см. рис. 3-8) накладывает ограничения на детальность выявляемых ИГБ и ИГЗ. Например, в случае размеров площади блоков бетонирования 10 ´ 10 м линейные размеры ИГБ и ИГЗ могут представлять собой пакет однотипных квазиоднородных пластов мощностью 10 - 12 м. Следовательно, его необходимо показать как ИГЭ на ГСМ. Соседние ИГЭ, квазиоднородные по составу, строению, состоянию и свойствам, могут быть объединены в более крупные элементы (пакет пластов, пачка).

Задача выделения ИГЭ предполагает уже выполненное районирование массива на СПБ и СПЗ по следующим признакам: а) стратиграфическое положение; б) генетическая группа или тип пород; в) литолого-петрологические особенности пород, слагающих однородные по составу пакеты пластов или более сложные элементы разреза, представленные переслаиванием разнородных пород, но квазиоднородные по блочности; г) блочность пород в данном элементе разреза, образованном однородными по составу породами. Инженерно-геологическое районирование скального массива технически заключается в нанесении на разрезы (с выделением СПБ и СПЗ) границ подзон А, Б, В, Г по сумме данных: внешнего вида и цвета породы, трещиноватости, раскрытия трещин, полученных при бурении, документации горных выработок, геофизических, опытно-фильтрационных исследований в массиве, результатов изучения образцов пород.

Выделенные ИГБ и ИГЗ, помимо отражения их на разрезах, могут быть пронумерованы, а их характерные особенности, не поддающиеся графическому изображению, должны быть привечены в таблице с оценками блочности, Ктп, раскрытия трещин, параметров шероховатости стенок, состава и свойств заполнителя трещин и др.

Рекомендуемая классификация заполнителя полостей трещин дана в табл. 4-6, на основе которой приводится описание заполнителя, и последний оценивается с точки зрения способности к суффозии и влияния на параметры сопротивляемости пород сдвигу.

Отражение количественных характеристик блочности на разрезах позволяет, во-первых, оценить особенности скального массива как дискретной среды и, во-вторых, использовать такие разрезы для целей геомеханического и гидравлического моделирования.

На рис. 4-12 приведена схема блочности основания Могилев-Подольской ГЭС, сложенного гранито-гнейсами. Средний объем блоков определяется по методике ВНИИГа [21, 34], предполагающей измерение высоты блока h по керну скважины и последующее использование корреляционной связи VЭПБ(h). Осреднение значений VЭПБ в пределах пятиметровых интервалов опытно-фильтрационного опробования позволяет сопоставить контуры изолиний VЭПБ и q (рис. 4-12, 4-13) в двух вариантах: «формализованном» (только по фактическим значениям VЭПБ и q) и «геоструктурном» (с учетом мелких тектонических нарушений, установленных в ходе изысканий). Оба рисунка обнаруживают определенное сходство как в общей конфигурации изолиний VЭПБ и q, так и в приуроченности повышенных значений q к элементам массива с малыми значениями VЭПБ, хотя корреляционная связь этих величин на данном объекте оценивается невысокими значениями коэффициента корреляции (около 0,5).


Рис. 4-12. Этапы «формализованной» (а) и «геоструктурной» (б) интерпретаций данных блочности  дм3, по пятиметровым интервалам зон опытных нагнетаний воды в буровые скважины

1 - менее 50; 2 - 50 ¸ 100; 3 - 100 ¸ 200; 4 - 200 ¸ 300; 5 - 300 ¸ 1000; 6 - изолинии блочности; 7 - то же предполагаемые; 8 - дробленый керн на интервалах длиной, м; 9 - мелкие сбросы V - VI порядков; 10 - то же предполагаемые.

Рис. 4-13. Этапы «формализованной» (а) и «геоструктурной» (б) интерпретаций данных удельных водопоглощений q, л/мин

1 - более 10; 2 - 1 ¸ 10; 3 - 1 ¸ 0,1; 4 - 0,1 ¸ 0,01; 5 - 0,01 ¸ 0,001; 6 - изолинии водопроницаемости; 7 - то же предполагаемые; 8 - дробленый керн на интервалах длиной, м; 9 - мелкие сбросы V - VI порядков; 10 - то же предполагаемые.

Таблица 4-6

Предварительная классификация заполнителей полостей трещин и карстовых полостей в скальных основаниях гидротехнических сооружений

Тип заполнителя по фильтрационной прочности

Цементирующие породы

Термоустойчивые, способные к механической суффозии

Нецементирующие породы рыхлые и связные

Способны к перемещению в зависимости от вязкости

Характеристика заполнителя

Водонерастворимые суффозионно устойчивые

Водорастворимые, способные к химической и механической суффозии

Способны к механической суффозии

Слабо

Сильно

Образованные на месте

Привнесенные извне

Генетические группы заполнителей

Жилы магматические, метасоматические и гидротермальные

Жилы гидротермальные и гидатогенные

Жилы и вкрапления гидатогенные

Жилы и вкрапления криогенные

Тектонические

Элювиальные

Делювиальные

Аллювиальные

Пролювиальные

Ледниковые и флювиогляциальные

Эоловые

Каустобиолиты

Литологический состав заполнителей

Жильные магматические породы. Рудные и безрудные жилы, кварцевые и из других нерастворимых в воде минералов. Вторичные жилки, заполненные водонерастворимыми минералами: хлоритоидами, эпидотом, палыгорскитом, окислами железа и т.п.

Жилы кальцита, арагонита, доломита и др. карбонатных соединений чистых и в сочетании с хлоритоидами и др. нерастворимыми минералами

Жилы ангидрита, гипса, каменной соли и др. сильно растворимых в воде сульфатных и галоидных солей, щелочей и щелочных земель. Ветречаются в виде: вкраплений в рыхлых и связных заполнителях

Чистый лед и лед, цементирующий рыхлый заполнитель

Разные фракции брекчий трения смешанных пород разного состава

Дресва и глинистые минералы сапролитов: каолинит, монтмориллонит и др. Мука карбонатных пород. Дресва и др. фракции продуктов выветривания разных пород

Галька, гравий, пески, супеси, суглинки, глины различного минералогического и гранулометрического состава, состоящие из перемещенных продуктов выветривания разных типов - бокситового, латеритового и др., характер которых определяется климатическими условиями. В аридном климате возможны вкрапления сильно водорастворимых солей.

Лессы, пески мелких фракций

Озокерит, битумы, нефти (в нефтеносных районах). Каменные угли и гумус в рыхлых и связных грунтах заполнителей

Степень неоднородности заполнителей

Неоднородны в приконтактовых зонах вмещающих пород

Мономинеральные, однородны; полиминеральные, неоднородны

Жильные образования, чаще однородны. Вкрапления, неоднородны

Часто неоднородны

Сильно неоднородны

Неоднородные несортированные

Менее неоднородные более сортированные

Неоднородны

Сравнительно однородны

Неоднородны

Взаимосвязь с зонально-блочным строением массива

Влияют на характер зонально-блочного строения скальных массивов

Нецементирующие породу рыхлые и связные заполнители распространены на более значительную глубину в структурно-петрологических зонах (СПЗ), особенно в тектонических, и в меньшей степени в мелких трещинах СПЗ и СПБ

Имеется

Взаимосвязь с зоной разгрузки и выветривания

Влияют на процессы разгрузки и выветривания

Нецементирующие породу заполнители распространены преимущественно в подзонах А и Б, в меньшей степени в подзоне В и еще меньше в подзоне Г зоны влияния процессов разгрузки и выветривания

Озокерит и битумы в подзонах А - Г. Нефть глубже

Взаимосвязь с геоморфологией

Влияют на развитие рельефа

В бортах долин рек. В руслах рек талики

Влияют на развитие рельефа

Отчетливые связи с формами рельефа

Явной связи не наблюдается

Не имеется

В основном в бортах долин

В основном на склонах

Под террасами и руслами рек

В равнинах предгорий

В отрицательных формах рельефа

Взаимосвязь с климатом

Не имеется

С аридным климатом в древности и в настоящее время

С арктическим и субарктическим климатом

Влияет на развитие рельефа

С влажным, умеренным, тропическим и субтропическим климатом

Не имеется

Не имеется

Преимущественно с аридным климатом

С арктическим на континентах и высокогорьях

С аридным климатом

Не имеется

Взаимосвязь с гидрогеологией

Влияют на гидрогеологические условия

Нецементирующие породу заполнители распространены преимущественно в зоне аэрации, в меньшей степени в зоне колебаний зеркала грунтовых вод и еще меньше в зоне постоянного водонасыщения

Имеется

Взаимосвязь с водопроницаемостью, деформируемостью и прочностью скальных массивов

Влияют на водопроницаемость, деформируемость скальных пород в массиве и на сопротивление сдвигу по трещинам

Способность к суффозии нецементирующих породу заполнителей усиливается с повышением водопроницаемости и фильтрационной неоднородности массива и самого заполнителя и определяется местными градиентами фильтрации и режимом фильтрационного потока, особенно в местах, где трещины и карст заполнены рыхлым материалом лишь частично. Существенно повышают деформируемость скальных массивов и сильно снижают сопротивление сдвигу по трещинам

Имеется


Приложение 5

ПРИМЕРЫ ГЕОСТРУКТУРНЫХ СХЕМ (МОДЕЛЕЙ) СКАЛЬНЫХ МАССИВОВ

Разнообразие генетических типов пород, их литолого-петрологических разновидностей, индивидуальность структуры массива и т.д. в сочетании с типами и размерами проектируемых сооружений, а также с различиями в степени изученности скальных оснований - все это создает предпосылки разного подхода к анализу, пестроту возможностей обобщения, особенности и индивидуальный характер конечного результата - ГСМ. Приводимые ниже примеры относятся к основным генетическим группам скальных пород (магматическим, метаморфическим, осадочным) и характеризуют уровень разведанности массива на стадии проекта.

Геоструктурная модель массива гранито-гнейсов

Район проектируемого Константиновского гидроузла на р. Южный Буг расположен в южной части Украинского кристаллического щита, в области развития комплекса метаморфических и магматических пород, разнообразных по составу, структурно-текстурным особенностям, форме и размерам блоков. На участке створа плотины породы залегают моноклинально с простиранием СЗ 315 - 345° и падением на СВ под углом 60 - 80° и представлены следующими петрологическими группами пород.

Плагиоклазовые граниты и диориты, а также их переходные разновидности: гранодиориты, кварцевые диориты. Породы этой группы имеют постепенные переходы и совместное пространственное развитие. Они слагают в основном русловую часть долины и ее левый берег. Общими признаками этих пород являются массивная или слабогнейсовидная текстура, равномерная зернистость при средней и мелкой зернистости породообразующих минералов, цвет пород от серого (плагиоклазовые граниты) до темно-серого и черного в зависимости от содержания гиперстена и пироксена (диориты, чарнокиты). Породы рассматриваемой группы образуют небольшие линзовидные тела, окаймленные контактово-измененными породами и мигматитами или заключенные в поле развития мигматитов, образование которых связано с инъекцией магмы розовых плагиоклаз-микроклиновых гранитов. Все это свидетельствует о том, что бывшие когда-то тела пород гранит-диоритового состава были подвержены воздействию более поздних магматических процессов с расчленением на более мелкие бескорневые тела, ориентированные согласно с элементами залегания пород участка в целом.

Граниты среднезернистые плагиоклаз-микроклиновые. Они слагают значительную часть русла выше створа, образуя вытянутые зоны иногда линзовидной формы в плане, имеющие глубоко уходящие корни. Породы представляют собой более мелкозернистую (краевую) фацию интрузии крупнозернистых порфировидных розовых микроклиновых гранитов, расположенной в непосредственной близости от участка створа. Граниты имеют розовый, реже желтоватый цвет, средний размер зернистости, массивную или слабогнейсовую текстуру. В рассматриваемом районе они являются наиболее молодыми, интрудирующими все остальные породы. Они активно инъектируют породы, образуя поля мигматитов, содержат в себе их ксенолиты, образуют на контактах породы типа красных фаций с проявлением процессов ассимиляции, гибридизации, огнейсованности и т.п.

Гнейсо-граниты полосчатые среднезернистые. Слагают крутосклонную часть правого борта долины в створе плотины. Они того же состава и цвета, что и микроклин-плагиоклазовые граниты, но имеют полосчатую текстуру, обусловленную неравномерным, послойным распределением биотита. Пространственно гнейсо-граниты расположены между мигматитами и розовыми плагиоклаз-микроклиновыми гранитами, являясь, по-видимому, разновидностью краевой фации этих гранитов.

Таблица 5-1

Петрологическое и блочное строение скального массива в зоне размыва Константиновской ГЭС

Индекс на рис. 5-1, I

Порода

Размер и форма блоков

Индекс на рис. 5-1, II

Отношение сторон L : l : h

Фракционный состав, %, по диапазонам изменения объема блоков V, дм3

менее 25

25 - 250

250 - 500

500 - 1000

1000 - 2000

2000 - 4000

4000 - 8000

более 8000

1

Массивные среднезернистые граниты

Крупная блочность изометрической формы

1

1,3 : 1,0 : 1,0

1

3

6

10

17

28

28

7

2

Массивные среднезернистые диориты

3

Полосчатые гнейсовидные граниты толстоплитчатые

Крупная блочность плитчатой формы

2

2,4 : 1,0 : 3,0

4

2

10

16

15

24

29

-

4

Мигматиты тонкоплитчатые

Мелкая блочность плитчатой формы

3

1,3 : 1,0 : 1,6

50

50

-

-

-

-

-

-

5

Зоны поверхностной разгрузки

Очень мелкая блочность различной формы

4

-

100

-

-

-

-

-

-

-

6

Зоны повышенной трещиноватости

Мигматиты, возникающие вследствие инъекции магмы розовых плагиоклаз-микроклиновых гранитов в породы гранит-диоритового и чарнокитового состава, в результате чего образовались сложные по строению и составу породы типа агматитов, артерититов, небулитов и т.п. Они имеют грубополосчатый облик, обусловленный чередованием плоскопараллельных или сильно вытянутых линзовидных выклинивающихся тел пород, различных по составу, структурно-текстурных признакам и цвету, в основном розовых и серых тонов. Преобладают тела мощностью 0,5 - 1,5 м и разнообразными размерами по падению и простиранию. Породы в значительной степени разгнейсованы, слагают в массиве вытянутые зоны и находятся на границе розовых гранитов с серыми гранодиоритами и чарнокитами. В пространственном отношении они слагают в районе створа значительную часть левого борта и большую часть днища долины.

Во всех типах пород рассматриваемого скального массива развиты 3 ортогональные системы блокообразующих трещин, одна из которых (L) ориентирована согласно с гнейсовидностью, вторая (l) - субгоризонтально, а третья (h) - субперпендикулярно первым двум (табл. 5-1). Основную массу трещин скального основания составляют мелкие (фоновые) блокообразующие трещины. Они имеют длину 0,5 - 0,6 м, располагаются кулисообразно с амплитудой кулис от 0,1 до 0,5 м. Стенки трещин в целом ровные или слегка бугристые; раскрытие фоновых трещин за пределами подзоны Б не превышает 1 мм; их густота неодинакова и зависит от текстурных особенностей пород.

В связи с этим описанные выше 6 петрологических разновидностей пород подразделяются на четыре группы бледности (рис. 5-1). Помимо фоновой трещиноватости в массиве имеются редкие зоны тектонической трещиноватости мощностью 0,5 - 2,0 м и протяженностью в несколько десятков метров. Ориентировка этих зон совпадает с ориентировкой систем трещин, они не сопровождаются заметными смещениями. Более поздней разновидностью трещиноватости в массиве является зона приповерхностной разгрузки и выветривания. Для обоих этих генетических типов зон ослабления пород в массиве характерна примерно одинаково густая сеть трещин с расстоянием между ними до 10 см.

Таким образом, в строении гранитоидного массива участвуют 6 петрологических разновидностей. Сочетание состава с типами блочности образует в массиве структурно-петрологические элементы (см. табл. 5-1, рис. 5-1): элементы 1-3 могут рассматриваться как СПБ, 4 - как СПЗ-1, 6 - как СПЗ-2. Элементы 5 характеризуют состояние СПБ и СПЗ, т.е. степень трещиноватости и выветрелости их частей - инженерно-геологических блоков и зон.

Рис. 5-1. Разрез скального массива в зоне размыва русла р. Ю. Буг (Константиновский гидроузел)

I - петрологическое строение: 1 - массивные среднезернистые граниты; 2 - то же диориты; 3 - полосчатые гнейсовидные граниты (толстоплитчатые); 4 - мигматиты тонкоплитчатые; 5 - зона поверхностной разгрузки и выветривания; 6 - зона повышенной трещиноватости; II - блочное строение: 1 - крупная блочность изометрической формы; 2 - то же плитчатой формы; 3 - мелкая блочность плитчатой формы; 4 - очень мелкая блочность различной формы.

Геоструктурная модель массива известняков

Скальный массив в основании плотины на р. Кассеб (Тунис) представляет собой часть западного крыла крупной антиклинали, сложенной известняками эоцена (Pg2). Эта антиклиналь разорвана по простиранию взбросом, и ее западное крыло надвинуто на восточное. Амплитуда смещения по взбросу около 1000 м. Известняки эоцена надвинуты на более молодые породы олигоцена (Pg3) и миоцена, представленные глауконитовыми песчаниками, мергелями и сланцами, которые смяты в сложные изоклинальные запрокинутые складки (рис. 5-2 и рис. к Прил. 2). Известняки эоцена на участке плотины имеют субмеридианальное простирание с падением на запад в сторону верхнего бьефа под углом 50 - 70°. Толща известняков мощностью около 250 м имеет явно выраженное ритмичное строение двухкомпонентного флишоида (массивные скрытослоистые и слоистые битуминозные известняки). Флишоидная толща известняков расчленена на 8 пачек (см. рис. 3-1, 3-2), различающихся процентным содержанием тонкослоистых и листоватых известняков (3 - 27 %).

Рис. 5-2. Схематический геологический разрез вдоль долины Уэд-Кассеб

Q - четвертичные отложения; Pg1 - черные глинистые сланцы; Pg2 - известняки; Pg3 - глауконитовые породы; К - мергели и известняки; жирным пунктиром обозначены тектонические разрывные смещения.

В составе восьми пачек выделены 4 литологических типа известняков: 1) толсто- и среднеплитчатые слабобитуминозные мощностью Н = 0,2 ¸ 1,0 м; 2) тонкослоистые слабобитуминозные, Н < 0,2 м; 3) тонкослоистые битуминозные, Н = 0,1 ¸ 0,2 м; 4) листоватые сильнобитуминозные, Н < 0,1 м. Эти разновидности в различных сочетаниях, пульсируя по мощности, слагают выделенные пачки флишоидной толщи. В пачках V и III прослежены два четко выраженных маркирующих горизонта, представленных выдержанными слоями небольшой мощности (в несколько сантиметров) известняка с галькой, гравием и фауной. Наличие этих горизонтов обосновало расчленение и корреляцию частных разрезов на участке гидроузла.

На участке арочной плотины в результате нескольких фаз тектонических напряжений массив известняков сильно деформирован и расчленен разрывными смещениями разных порядков. По трем главным для изучаемого участка тектоническим разломам типа сдвигов 1-3 массив известняков на стадии ТЭО был расчленен на 4 СТБ, условно названных А*, Б*, В*, Г* (рис. 5-3). По этим сдвигам ЗСЗ простирания с падением на СВ под углами 45 - 90° происходили неоднократные подвижки, в результате которых амплитуды относительных смещений основных блоков измеряются в плане сравнительно небольшими значениями (до 10 - 12 м). Каждый из СТБ рассечен частными разрывными нарушениями типа сбросо-сдвигов 4-14 (азимут простирания АП = 320 ¸ 340°, угол падения УП = 80 ¸ 90°) и мелких сбросов 15-24 (АП = 280 ¸ 300°, субвертикальные). Амплитуды смещений этих разрывов не превышают долей метра. Сбросы приурочены в основном к правому берегу, их протяженность более 100 м. Местами они кулисообразные, иногда сопрягаются друг с другом в плане и разрезе, рассекая пакеты пластов примерно вкрест простирания. Заполнителем разрывных нарушений является жильный кальцит в ассоциации с корочками битума. В зонах сбрасывателей основных сдвигов 1-3 присутствует брекчия известняков, сцементированная кальцитом. Мощность брекчии трения составляет 0,15 - 2,0 м. В зонах оперения основных нарушений 1-3 усиливается разлинзование, прослеживающееся в ряде межпластовых срывов и смещений. В меньшей степени разлинзование присутствует в прочих разрывных нарушениях, в зонах оперения которых развиты вторичные кальцитовые жилки мощностью до нескольких сантиметров, заполняющие трещины отрыва и скалывания.

Рис. 5-3. Схематическая геологическая карта участка арочной плотины Кассеб (Тунис)

1 - пачки эоценовых известняков; 2 - маркирующие горизонты; 3 - взбросо-сдвиги - смещения в плане до 10 - 12 м, мощность брекчии трения до 2 м; 4 - взбросо-сдвиги смещения в плане порядка 1 - 3 м, мощность брекчии трения менее 1 м; 5 - нормальные мелкие сбросы с амплитудами смещений менее 1 м; 6 - сдвиги и сбросо-сдвиги с малыми смещениями в плане порядка 1 - 5 м; 7 - будинаж по межслоевым срывам в зонах ореолов взбросов; 8 - структурно-тектонические блоки; содержание в пачках известняков листоватых слоистых разновидностей, % от мощности: 9 - менее 5; 10 - 5 ¸ 10; 11 - 10 ¸ 20; 12 - более 20; БЭП-1 - большая эталонная площадка; 13 - линия и отрезки измерения модуля трещиноватости; 14 - опытные площадки; 15 - скважина и ее номер; 16 - номер тектонического нарушения.

Рис. 5-4. Структурная схема участка основания арочной плотины Кассеб

1 - известняки, переслаивающиеся с мергелями; 2 - темно-серые толстослоистые и серые массивные известняки; 3 - прослои известняков с гравием, галькой, обломками макрофауны; 4 - границы литологических пачек; 5 - диагональные тектонические нарушения; 6 - межпластовые тектонические нарушения; 7 - поперечные тектонические нарушения; 8 - тектонические трещины; 9 - направление смещения по тектоническим нарушениям; 10 - элементы залегания тектонических нарушений; 11 - элементы залегания слоистости.

Рис. 5-5. Диаграмма тектонических нарушений (тн) и трещин (тр) на участке арочной плотины Кассеб.

На рис. 5-4 показана структурная схема участка арочной плотины на р. Кассеб, уточненная А.А. Варгой на стадии техпроекта [9]. Помимо тектонических нарушений, в известняках участка развиты 6 систем трещин, ориентировка которых совпадает с ориентацией тектонических нарушений (рис. 5-5).

Первая система трещин проскальзывания по напластованию имеет в блоке В* АП = 5 ¸ 10°, падение на запад, УП = 60 ¸ 75°; в блоке Б* АП = 40 ¸ 50°, УП = 45 ¸ 60°. На плоскостях трещин развиты штрихи скольжения, совпадающие по направлению с азимутом падения пластов. Разлинзование развито в основном в глинистых и битуминозных известняках.

Вторая система трещин отрыва северо-восточного простирания, совпадающего с простиранием трещин проскальзывания, падает на восток, УП = 28 ¸ 30°.

Третья система трещин отрыва имеет АП = 280 ¸ 300°, субвертикальная. Трещины отрыва ограничены мощностью пластов, каждый из которых они обычно пересекают полностью.

Четвертая и шестая системы блокообразующих трещин скалывания; у четвертой системы широтное простирание, УП = 45 ¸ 60°; у шестой системы АП = 30 ¸ 40°, падение на запад, УП = 40 ¸ 50°.

Рис. 5-6. Связь модуля трещиноватости Mт трещин отрыва в жестких пластах известняков с тектоническими разрывными смещениями на участке плотины Кассеб

Кинематические типы тектонических разрывных смещений: 1 - 4 - взбросо-сдвиги; 5 - 14 - сбросо-сдвиги; 15 - 24 - мелкие нормальные сбросы.

Пятая система трещин приразрывного кливажа, связанного со сбросо-сдвигами, имеет АП = 320 ¸ 330° и субвертикальное падение. Эти трещины длинные и секут пакеты пластов.

Значения модуля трещиноватости Мт варьируются в широком диапазоне. Для трещин проскальзывания средний Мт = 2 ¸ 3, достигая в тонкослоистых известняках значения Mт = 10. Для трещин отрыва Мт меняется в широких пределах (рис. 5-6) в зависимости от близости к зонам тектонических нарушений.

Рис. 5-7. Фрагмент сводного литолого-стратиграфического разреза известняков эоцена (Pg2) участка арочной плотины Кассеб (М 1 : 1000)

А - переслаивание мелко- и среднезернистых толстослоистых известняков (содержание 85 %) с листоватыми известняками (15 %); Б - переслаивание мелкозернистых преимущественно толсто- и среднеслоистых битуминозных известняков (83 %) мощностью 0,3 - 1,0 м (в среднем 0,55 м) с тонкослоистыми битуминозными известняками мощностью 0,02 - 0,25 м; В - слои мелкозернистых массивно- и толстослоистых слабобитуминозных известняков (97 %) мощностью 0,5 - 1,0 м с прослоями листоватых битуминозных известняков (3 %); Г - переслаивание мелкозернистых массивных слабобитуминозных известняков (86 %) мощностью до 13 м (в среднем 1,0 м) с тонкослоистыми битуминозными известняками (14 %) мощностью 0,1 - 0,13 м.

На рис. 5-7 приведен фрагмент сводного литолого-стратиграфического разреза известняков, расчлененного на структурно-петрологические элементы - пачки СПЗ-1 и СПБ. На колонке с выделенными пачками по процентному содержанию в них слабых тонкослоистых известняков отмечены маркирующие элементы. Результаты лабораторных и полевых исследований физико-механических свойств пород приведены применительно к выделенным пачкам и по возможности привязаны к конкретным пластам (на эпюре мощности). Выделенные две основные разновидности известняков (массивно-толстослоистые и тонкослоистые) различаются по значениям Rсж, Ес, Е0 и др., причем первая имеет большие значения этих характеристик.

Приведенный на рис. 5-7 фрагмент литолого-стратиграфического разреза известняков характеризует именно те сингенетические структурно-петрологические элементы массива (пачки III - VI), которые служат основанием плотины.

Геоструктурная модель массива песчаников и аргиллитов

Ровинский створ Стрыйского гидроузла находится в Карпатской складчатой области, в пределах северной краевой, так называемой скибовой зоны, характеризующейся широким развитием скиб - крупных чешуй, надвинутых последовательно одна на другую с юго-запада на северо-восток. Нередко соседние чешуи-скибы нацело перекрывают друг друга. Район Ровинского створа расположен в пределах Сколевской скибы, ограниченной двумя крупными надвигами второго порядка. Сколевская скиба характеризуется интенсивной складчатостью слагающих ее толщ и наличием тектонических нарушений двух кинематических типов: 1) продольные взбросы, ориентированные параллельно скибообразующим надвигам, с амплитудой смещения в плане от единиц до сотен метров; 2) поперечные сбросо-сдвиги, по масштабам проявления относящиеся к нарушениям четвертого и пятого порядков, с амплитудами смещения в плане и в вертикальном разрезе от единиц до десятков метров.

Взбросы приурочены к области перегиба между лежачими (северо-восточными) и висячими (юго-западными) крыльями синклинальных запрокинутых складок, в результате чего крылья складок срезаны. Сбросо-сдвиги являются, по-видимому, результатом неравномерного движения отдельных частей скибы или ее чешуи по надвигам и взбросам, вследствие чего они раскалывались на отдельные структурно-тектонические блоки. Все разломы рассматриваемого типа в районе Ровинского створа представляют собой правые сдвиги; при этом каждый северозападный блок, образованный ими, является относительно опущенным. Складчатая структура Сколевской скибы в районе створа представлена крупной антиклиналью типа небольшого антиклинория, крылья которого осложнены антиклинальными и синклинальными складками более мелких порядков.

Участок Ровинского створа расположен в пределах тектонической чешуи, ограниченной внутрискибовыми взбросами I и III, и удален от них соответственно на 870 и 500 м. На рассматриваемом участке развиты флишевые отложения среднестрыйской подсвиты верхнего мела, представленные песчано-аргиллитовыми породами, имеющими моноклинальное залегание с АП 310°, падением на ЮВ и УП < 45 ¸ 55°. Песчано-аргиллитовая толща вскрыта расчисткой на левобережье, где прослеживаются 5 пачек флиша, характеризующегося разной мощностью слоев песчаников и аргиллитов, а также их соотношением в разрезе.

Первая пачка - чередование пакетов флиша с преобладанием толстослоистых песчаников мощностью Н = 4 ¸ 25 см и маломощных слоев аргиллитов; содержание аргиллитов в пачке составляет 30 - 40 %.

Вторая пачка - с преобладанием тонкослоистых аргиллитов и маломощными прослоями глауконитово-кварцевых песчаников Н = 1 ¸ 10 см; содержание аргиллитов до 80 %, мощность пачки 30 м.

Третья пачка - с преобладанием толстослоистых песчаников, средняя Н = 10 ¸ 25 см; содержание маломощных слоев аргиллитов до 10 %, мощность пачки 30 м.

Четвертая пачка - с преобладанием аргиллитов, переслаивающихся с маломощными (2 - 5 см) прослоями глауконитово-кварцевых песчаников. Верхняя часть пачки характеризуется большим содержанием (до 50 %) и большой мощностью прослоев песчаников, мощность пачки 38 м.

Пятая пачка - с преобладанием толстостенных глауконитово-кварцевых кальцитизированных песчаников; содержание аргиллита до 10 %; подразделяется на три подпачки: нижнюю мощностью около 10 м, среднюю - 45 м, верхнюю - 30 м.

По минеральному составу песчаники кварцевые, глауконитово-кварцевые в разной степени кальцитизированные с примесью полевых шпатов, слюд и углистого вещества. Структура песчаников разнозернистая с преобладанием мелкозернистой разности. Текстура массивная, реже тонкослоистая. Небольшим развитием в разрезе пользуются гравелиты (маркирующие горизонты) мощностью от единицы до десятков сантиметров.

Аргиллиты содержат примесь песчано-алевритового материала, представленного кварцем, полевыми шпатами, глауконитом, слюдами, углистыми остатками и гидроокислами железа. Полосчатая текстура аргиллитов обусловлена послойным распределением песчано-алевролитового и углистого материала, а также полосчато-пятнистым окрашиванием гидроокислами железа. Глауконитово-кварцевые песчаники, преимущественно толстослоистые, подразделяются на 7 разновидностей:

1) с кальцитовым цементом базального типа, Rсж = 160 МПа; 2) с кварцево-кальцитовым цементом, Rсж = 157 МПа; 3) с глинисто-кварцево-кальцитовым цементом, Rсж = 157 МПа; 4) с глинисто-кальцитовым цементом, Rсж = 130 МПа; 5) с глинисто-кварцевым цементом, Rсж = 106 МПа; 6) с глинистым цементом, Rсж = 104 МПа; 7) с глинисто-глауконитовым цементом, Rсж = 102 МПа. Окварцевание и кальцитизация способствуют упрочнению пород.

Рис. 5-8. Структурно-литологическая карта участка створа «Ровин»

I - чередование пакетов флиша с преобладанием крупно- и средне-слоистых песчаников; II - флиш с резким преобладанием аргиллитов; III - флиш с преобладанием крупнослоистых песчаников; IV - флиш с преобладанием аргиллитов; V - флиш с резким преобладанием грубослоистых песчаников и прослоями кварцевых гравелитов; VI - флиш с равным соотношением грубослоистых песчаников и аргиллитов; VII - флиш с резким преобладанием грубослоистых песчаников; 1 - границы пачек; 2 - обрывистый склон; 3 - тектонические нарушения, их номер и порядок; 4 - проекция скважины на горизонтальную плоскость.

На участке Ровинского створа геофизическими исследованиями установлено 9 тектонических нарушений двух направлений: СВ и СЗ (рис. 5-8). Первые сбросо-сдвиги (1, 2) являются секущими к простиранию пород и субпараллельными руслу реки. В нижнем бьефе они смыкаются, образуя блок 2 клиновидной формы, литологический разрез которого отличается от разреза левобережного блока 9. Амплитуда смещения в плане вдоль тектонического нарушения 2 составляет 100 - 110 м. К разрывам этого типа относятся нарушения 3, 4, 6, 9 на левом берегу, имеющие амплитуды смещения в плане 10 - 12 м.

Разрывные нарушения северо-западного направления 5, 7, 8 ориентированы под углом к простиранию пород и являются взбросами (возможное оперение скибообразующих надвигов). В инженерно-геологическом отношении наибольшую опасность представляют тектонические нарушения 1-4, ориентированные поперек створа, как возможные пути сосредоточенной фильтрации и потенциально сдвигоопасные.

На геоструктурном разрезе (рис. 5-9) показаны границы пачек I - VII, подзон экзогенного изменения пород и ряд тектонических нарушений типа сбросо-сдвигов с небольшими амплитудами по вертикали (от 1 до 20 м).

Рис. 5-9. Геоструктурный разрез I-I с реконструкцией (тонкая пунктирная линия) размытой его части

1 - граница подзоны выветривания Б - В; 2 - то же В - Г. См. также условные обозначения рис. 5-8.

На участке Ровинского створа прослеживаются 3 системы трещин: первая - АП 310°, падение на ЮВ, УП = 40 ¸ 45°; вторая - АП 260°, падение на СЗ, УП = 50°; третья - АП 10°, падение на СЗ, УП = 80 ¸ 90° (см. рис. 3-7).

Трещины первой системы - трещины напластования с большой протяженностью и слабошероховатыми поверхностями, сомкнутые или раскрытием в доли миллиметра. На контакте с аргиллитами на их поверхности развиты гиероглифы.

Трещины второй системы не выдержаны по простиранию, располагаются кулисообразно; как по падению, так и по простиранию прослеживаются на расстоянии от нескольких дециметров до нескольких метров. Имеют слабоволнистую поверхность, раскрытие до 3 см. Эти трещины наиболее неблагоприятны, так как способствуют фильтрации в нижний бьеф и являются наиболее сдвигоопасными.

Трещины третьей системы имеют протяженность до 10 м (в пределах мощности отдельных пластов). Поверхность трещин слабоволнистая, раскрытие до 1 мм, реже до 1 см. Заполнитель трещин - пластичная глина.

Эти три системы трещин расчленяют песчаники и аргиллиты на ЭПБ параллелепипедальной формы со скошенными углами, соотношение сторон блоков 1:2:3. Результаты изучения разреза толщи с инженерно-геологической характеристикой генетических элементов приведены на рис. 4-2 и в табл. 4-1, где даны: фрагменты сводного литолого-стратиграфического разреза, трещиноватость и блочность, характеристики физико-механических свойств применительно к ИГЭ, прогнозные значения показателей прочности, деформационных и фильтрационных характеристик. Границы подзон выветривания и разгрузки установлены по данным геофизических работ.

Таблица 5-2

Блочность и трещиноватость пород участка Ровинского створа

№ литотипа

Пачка

Порода

Ктп, %

Объем ЭПБ, дм3

Диапазон

Преобладающий

1

Первая

Третья

Песчаник

То же

1,14

0,3 - 9,4

6,0 - 94

6,0

20

2

Вторая

Четвертая

Аргиллит

То же

0,66

0,1 - 6,0

0,01 - 3,0

0,5

0,4

3

Пятая

Песчаник

1,1

160 - 6000

380

В разрезе флишевой толщи Ровинского створа по эпюре мощности пластов выделены 3 литологических типа пачек: 1 (первая и третья пачки), 2 (вторая и четвертая пачки), 3 (пятая пачка), которые охарактеризованы применительно к подзоне В (относительно слабого проявления процессов выветривания и разгрузки) значениями блочности и Ктп (табл. 5-2).

Приложение 6

ПРИМЕРЫ ИСПОЛЬЗОВАНИЯ ГЕОСТРУКТУРНЫХ СХЕМ ДЛЯ ЦЕЛЕЙ ФИЗИЧЕСКОГО МОДЕЛИРОВАНИЯ, РАСЧЕТОВ И НАТУРНЫХ НАБЛЮДЕНИЙ

Как уже говорилось в п. 1.1 основного текста, ГСМ используются как основа при построении геомеханических (деформационных и прочностных), фильтрационных, геофизических и других схем, без которых невозможно решать вопросы экспериментального моделирования и расчетов.

Во ВНИИГ им. Б.Е. Веденеева, Гидропроекте им. С.Я. Жука, МИСИ им. В.В. Куйбышева и других организациях накоплен большой опыт использования геоструктурных моделей для целей геомеханического, гидравлического, фильтрационного, геосейсмического и других видов моделирования на масштабных физических моделях и для выполнения аналитических расчетов.

Применение такого подхода к рассмотрению скального основания как дискретной среды зонально-блочного строения позволяет резюмировать следующее:

1. Учет при экспериментальном моделировании и расчетах дискретного строения основания приводит к существенно новым выводам (по сравнению со схемой сплошной квазиоднородной или неоднородной среды), объясняющим особенности поведения реального скального массива в отношении его: размыва за водосбросами, несущей способности, устойчивости, местной прочности, напряженно-деформированного состояния системы плотина-основание, фильтрационной прочности, фильтрационного расхода, оценки сейсмических воздействий и т.д.

2. При расчетах и физическом моделировании геоструктурную модель изучаемого основания часто дополнительно схематизируют, выделенные элементы укрупняют, а контуры генерализуют по сравнению с исходной ГСМ в зависимости от решаемой задачи, возможностей и используемых методов расчета или экспериментального моделирования. Несмотря на эти упрощения, исследование зонально-блочных сред значительно более трудоемко, чем однородных или слоистых с квазиоднородными характеристиками слоев. Поэтому продолжают оставаться актуальными как разработка новых методов расчетов, физического и других видов моделирования, так и вопросы совершенствования методики инженерно-геологического моделирования применительно к решению конкретных инженерных задач в двумерной и пространственной постановке.

Приведенные ниже примеры использования ГСМ носят информационный характер. С деталями методики и полученными результатами этих работ в каждом случае можно ознакомиться по цитируемым литературным источникам.

Геомеханические исследования на моделях

В лаборатории бетонных и железобетонных конструкций ВНИИГа [2] была создана крупномасштабная (1:150) зонально-блочная модель скального основания и арочной плотины Ингури ГЭС (рис. 6-1). Эта модель имитировала распределение и свойства основных структурных элементов основания, выделенных на ГСМ. Воспроизведение на хрупкой модели характеристик основания в виде зональных участков монолитного однородного материала представляет трудно разрешимую задачу. Действительно, изыскание материала, обладающего модулем деформации как изотропного тела и в то же время анизотропией по параметрам сопротивляемости сдвигу, нереально [2]. Поэтому крупномасштабная модель основания была сложена из прямоугольных и треугольных призматических блоков двенадцати типоразмеров (размеры ребра 3 - 10 см), число которых превышало 300 тысяч. Блоки изготавливались из гипсового вяжущего материала с наполнителем в виде молотого диатомита, молотого кирпичного боя с добавлением 10 % портландцемента марки 400. В качестве замедлителя схватывания применялся малярный клей. Склейка блоков (частичная и полная) в зависимости от параметров сопротивляемости сдвигу выполнялась эпоксидной смолой с красящим заполнителем. Исследования показали, что прочность основания (несмотря на возможность смещения по трещинам и разлому) резко возросла в условиях объемного напряженного состояния, и разрушение основания, начавшись в зоне разлома, произошло при трехкратной перегрузке. На основе этих исследований выданы рекомендации по сокращению объема арматуры.

Рис. 6-1. Физическая модель скального основания и арочной плотины Ингури ГЭС (по С.С. Антонову).

В лаборатории скальных оснований ВНИИГа выполнены исследования устойчивости и местной прочности левого берега водохранилища Рогунской ГЭС [26, 41]. Борт долины на этом участке крутизной около 40° и высотой 500 м характеризуется сложным геологическим строением: складчатым залеганием нижнемеловых неравномерно переслаивающихся песчаников, аргиллитов и алевролитов с крутым падением (65 - 75°) слоев в глубь массива, интенсивной трещиноватостью пород, наличием в Русловой части долины крупного крутопадающего (под углом 70 - 75°) Ионахшского разлома, вмещающего пласт каменной соли, развитием вблизи поверхности склона и крупного разлома зон разгрузки выветривания мощностью до 80 м.

Методом геомеханического моделирования на плоской и объемной моделях в масштабе 1:1500 изучалось влияние размыва соляного пласта на устойчивость и прочность склона, а также на устойчивость системы основание-сооружение. В соответствии с ГСМ геомеханические модели состояли из призматических блоков различных типоразмеров. Блоки изготавливались из тяжелого, хрупкого и низкопрочного материала; с целью моделирования сопротивления сдвигу пород по трещинам в процессе укладки блоков швы пересыпались молотой слюдой. Для определения деформации на поверхности и во внутренних точках модель была оборудована измерительной системой, состоящей из 72 датчиков. В результате исследований выявлены условия потери устойчивости склона, получены зависимости опасного деформированного состояния от размеров области размыва пласта соли и рекомендованы инженерные мероприятия по защите этого пласта от размыва.

Модель зонально-блочного строения основания Богучанской ГЭС была изучена коллективом той же лаборатории [40] с целью обоснования расчетных значений характеристик сопротивляемости сдвигу двух типов скальных пород: изверженных (долериты) и осадочных (комплекс аргиллитов, алевролитов и песчаников). Внутренняя структура массива долеритов имеет столбчато-плитчатый характер. Несущая способность основания из долеритов определяется в основном субгоризонтальными трещинами, имеющими перевязку на половине толщины блоков. Столбчато-плитчатая структура достигалась путем укладки прямоугольных блоков размерами 4 ´ 1,5 ´ 0,5 см, изготовленных прессованием порошкообразной смеси, состоящей из окиси цинка (21 %), мелкоизмельченного сернокислого бария (70 %) и вазелинового масла (9 %). Для уменьшения сопротивляемости сдвигу по контакту между блоками была использована слюда. Результаты испытаний свидетельствовали о значительном влиянии на сопротивляемость сдвигу долеритов по субгоризонтальным трещинам перевязки последних.

Слоистая структура осадочного комплекса пород схематизирована в отдельной модели в виде комплекса сквозных трещин напластования и нормальных к напластованию трещин с перевязкой. Использовался тот же модельный материал для двух вариантов модели: с графитовым покрытием межблочных швов и без покрытия. Опыты свидетельствовали о существенной нелинейности связи при определении характеристик вкрест напластования, что диктует необходимость определения расчетных характеристик только в диапазоне напряжений, соответствующих эксплуатационным условиям [40].

Аналогичные исследования выполнены на плоской модели системы плотина - основание Усть-Илимской ГЭС [25]. В модели основания схематично отражена структура пород, характеризуемая наличием систем вертикальных и горизонтальных трещин, т.е. придана соответствующая массиву анизотропия прочностных и деформационных характеристик, а также нелинейный характер деформируемости. Выполненные исследования подтвердили возможность разуплотнения основания высоких плотин с обжатым профилем и, как следствие этого, возможность нарушения противофильтрационных устройств при традиционных конструкциях подземного контура [25].

Гидравлическое моделирование

За водосбросами многих крупных гидротехнических сооружений происходят значительные разрушения скального русла, достигающие часто столь крупных размеров, что нарушается нормальное функционирование гидроузла в целом. В связи с этим прогнозирование размыва скальных массивов в нижнем бьефе является актуальной задачей, решаемой методом гидравлического моделирования. Размыв скальных пород в зоне водобоя высоконапорных плотин - процесс в основном механический, происходит под воздействием энергии падающей воды и, возможно, фильтрационного противодавления.

Пульсация давлений возрастает с увеличением удельных расходов. По глубине скального массива проходит интенсивное затухание пульсаций. Первоначально размыв в натуре происходит за счет выламывания небольших отдельностей объемом до 1 дм3. Таким образом, механизм разрушения скального массива потоком состоит в расшатывании, отрыве и выносе блоков пород. Достоверное прогнозирование размыва скального массива невозможно без достаточно полноценных данных о его характеристиках, влияющих на этот процесс. Важнейшим из инженерно-геологических факторов, определяющих конечный результат размыва скального массива, является его блочное строение, т.е. размеры, форма, ориентировка в пространстве, тип кладки, характер распределения в массиве различных фракций породных блоков [21, 34].

В лаборатории гидравлики ВНИИГа на основе разработанных в лаборатории инженерной геологии схем блочного строения скальных массивов были выполнены модельные прогнозные исследования процессов размыва в нижних бьефах ряда гидроузлов: Могилев-Подольского, Константиновского, Чиркейского, Миатлинского, Колымского и Бурейского. Исследования на моделях скальных оснований, выполненных с воспроизведением их естественной структуры и породной блочности, закрепленной известковым молоком, позволили получить более достоверные Результаты развития форморазмеров воронки размыва, образования в ней отмостки крупной фракции породных блоков, обложения бара ниже воронки, а также процессов размыва в нижнем бьефе в целом [10, 50]. Результаты этих исследований позволили внести существенные изменения в конструктивные решения водосбросных сооружений и в общую компоновку гидроузлов, обеспечившие их более высокую надежность и экономичность. Рассматриваемые модели скальных оснований при гидравлических исследованиях позволяют учитывать структурные особенности массива и, в частности, фракционный состав блоков, однако недостаточно учитывают естественное напряженное состояние и сцепление.

Фильтрационные исследования на моделях

В лаборатории фильтрационных исследований ВНИИГа выполнены эксперименты методом ЭГДА на плоских разнородно-проницаемых электрических моделях, отражающих (по характеристикам водопроницаемости) зонально-блочное строение основания Константиновского гидроузла [71]. Интерпретация характеристик водопроницаемости на геоструктурной основе позволила выявить сосредоточенные пути повышенной водопроницаемости, приуроченные к сочленению крутопадающих и пологих зон повышенной трещиноватости в гранито-гнейсах.

В результате исследований методом ЭГДА определены основные параметры фильтрационного потока в основании бетонных сооружений: градиенты напора в теле цементационной завесы, градиенты напора на выходе фильтрационного потока в дренаже и нижнем бьефе, противодавление на подошву плотины, фильтрационные расходы; форма и основные параметры фильтрационного потока в береговых примыканиях и др. Детализация строения среды и выделение контрастных элементов с различной водопроницаемостью повышают достоверность полученных результатов. Вместе с тем авторы отмечают возросшую трудоемкость исследований зонально-блочной модели по сравнению с традиционной методикой и считают ее не всегда оправданной. В частности, при мелкомасштабном моделировании потока на большой базе (продольный разрез вдоль русла) предпочтение следует отдавать традиционной методике, использующей средние значения характеристик водопроницаемости по подзонам выветривания и разгрузки массива и позволяющей получать практически тот же результат, но с меньшими трудозатратами. Напротив, повышенная трудоемкость оправдана при крупномасштабном моделировании методом ЭГДА на зонально-блочных фрагментах основания в элементах массива с резко изменчивыми характеристиками водопроницаемости вблизи сооружения и в береговых примыканиях плотины. В частности, особенности «зонально-блочной» модели сказались на различиях в режиме обходной фильтрации вдоль примыканий к бортам.

В Гидропроекте им. С.Я. Жука исследовано движение потока в анизотропной блочной среде с постоянным для каждой системы трещин раскрытием [13]. Выявлены фильтрационные особенности блочной среды и показано, что ее анизотропия по значениям Кф в общем случае имеет вид овалов Кассини («двухлепестковый цветок»), а не эллипсов, обычно используемых на практике.

Геофизические модели

Под геофизической моделью скального основания понимается пространственная характеристика распределения физических свойств, которые определяются методами геофизической разведки. Геофизические модели служат основой для составления ГСМ. Кроме того, они могут иметь самостоятельное значение при изучении зонально-блочного строения массива и проведении сейсмомикрорайонирования, а также для правильной постановки модельных лабораторных исследований на геосейсмических моделях. На основании корреляционных связей между показателями различных свойств и состояния скальных пород, с одной стороны, и геофизическими параметрами, с другой стороны, геофизические модели могут трансформироваться в частные модели по деформационным, прочностным, фильтрационным и другим свойствам [44, 63 и др.].

Рис. 6-2. Геоструктурный разрез основания Токтогульской ГЭС (по В.В. Каякину и др.)

1 - аллювий и делювий; 2 - пласт темных известняков с линзами и прослоями; 3 - тектонические трещины III порядка; 4 - тектонические трещины IV - VI порядков; 5 - трещины IV - VI порядков, развитые по напластованию; 6 - трещины бортового и донного отпоров.

На рис. 6-2 показан геоструктурный разрез основания Токтогульской ГЭС как один из элементов геоструктурной схемы, на основе которой во ВНИИГе [63] построена сейсмогеологическая схема (фрагмент ее приведен на рис. 6-3). Для перехода от геоструктурной схемы к сейсмогеологической использованы данные сейсмопрозвучивания, сейсмопрофилирования и зависимости vs(h) (рис. 6-4), проинтерпретированные с учетом структуры массива.

Рис. 6-3. Сейсмогеологический разрез скального массива на участке плотины Токтогульской ГЭС

1 - аллювий и делювий; 2 - область значений 1,0 км/с < vs < 1,5 км/с; 3 - область значений 1,5 км/с < vs < 2,0 км/с; 4 - область значений 2,0 км/с < vs < 2,5 км/с; 5 - область значений vs > 2,5 км/с; 6 - изолинии скоростей поперечных сейсмических волн.

Сейсмогеологические схемы используются непосредственно для целей ультразвукового моделирования (УЗМ) волновых полей в основаниях крупных гидротехнических сооружений в сейсмоопасных районах. УЗМ на геосейсмических моделях оснований проводилось в лаборатории инженерной геологии ВНИИГа. Исследовались плоские твердые модели зонального и зонально-блочного строения оснований Токтогульской и Ингурской ГЭС в масштабе 1:3500 - 1:4000. Использовались гипсо-песчано-цементные материалы с различными добавками.

Эти работы позволили оценить влияние особенностей строения массива на поле изохрон (рис. 6-5), амплитуды и периоды упругих волн при различных вариантах расположения источника упругих колебаний (возможного гипоцентра землетрясения) относительно долины реки и оси проектируемого сооружения [81].

Необходимо отметить и определенные недостатки метода УЗМ, связанные с большими трудностями подбора эквивалентных материалов, одновременно удовлетворяющих критериям подобия по кинематическим и динамическим характеристикам. Хорошо известны и физические ограничения двумерного моделирования, от которых можно избавиться лишь переходом на объемные модели. В силу этого выводы, полученные на плоских геосейсмических моделях при УЗМ, носят в большинстве случаев качественный характер.

Рис. 6-4. Связь значений скорости поперечных упругих волн vs с глубиной h в массиве мраморизированных известняков основания Токтогульской ГЭС

1 - зоны ослабления типа тектонических разрывных смещений III - IV порядков; 2 - массив вне зон тектонических разрывных смещений; 3 - массив в целом.

Интересным и важным аспектом применения геофизических схем (моделей) является их использование при постановке натурных наблюдений за системой плотина - основание, в частности, долговременных геофизических наблюдений. Примером таких исследований служат работы Гидропроекта на Ингурской ГЭС.

Рис. 6-5. Исследование волновой картины в скальных основаниях при землетрясениях. Поле изохрон в модели каньона с зонально-блочным строением бортов и положением эпицентра в каньоне

1 - изохроны в модели однородного строения и состава, мкс; 2 - то же зонально-блочного строения и неоднородного состава, мкс; 3 - излучатель ультразвуковых колебаний.

Расчеты устойчивости, местной прочности, напряженно-деформированного состояния системы основание - сооружение

Важным аспектом использования геоструктурной модели является построение на ее основе масштабных деформационной и прочностной схем, и в дальнейшем - переход от них к расчетным схемам.

В масштабных деформационных схемах, используемых при физическом моделировании, показывают:

а) элементы основания с различной деформируемостью на глубину не менее трехкратной ширины (3В) подошвы плотины; выбор градации значений E0 в деформационной схеме зависит от точности определения средних Е0 в элементах массива и от неоднородности последнего. Например, для массивов с Е0 » 100×102 МПа - рекомендуется градация Е0 = 25×102 МПа; минимальный линейный размер элемента неоднородности массива, отображаемого в модели, равен 10 м;

б) характеристику возможной анизотропии деформируемости в каждом элементе (в виде эллипсоидов либо векторов);

в) оценку статического модуля сдвига приповерхностной зоны основания (на глубину около 20 м).

В масштабных деформационных схемах, используемых для расчетов НДС системы плотина - основание, зачастую выделяют элементы основания с различными Е0, осредненными на всю рассматриваемую глубину (от поверхности основания до глубины 3В, где В - ширина подошвы плотины); указывают плотность массива в зоне аэрации и во взвешенном состоянии в зоне водонасыщения; оценивают анизотропию массива по деформируемости; выделяют участки основания с различным допускаемым удельным давлением; дают параметры фильтрационного потока (пьезометрические уровни и напоры) по этапам строительства и эксплуатации сооружения; представляют данные о характере естественных напряжений в массиве, а также данные сейсмомикрорайонирования.

Масштабная прочностная схема основания должна обоснованно выделять элементы скального массива для оценки их устойчивости, включая геометрические параметры; устанавливать характеристики сопротивления сдвигу, силовые воздействия (силы и моменты) на элементы массива. Кроме того, прочностная схема должна давать представление о плотности элементов, о пьезометрических уровнях фильтрационного потока и градиентах напора в строительный и эксплуатационный периоды при всех режимах наполнения водохранилища; о допускаемых давлениях от сооружения на основание: о характере естественных напряжений в массиве.

Применительно к одному комплекту моделей (геоструктурной, деформационной, прочностной) возможно большое число расчетных схем, что обусловлено: различными типами сооружений (наземных, подземных), конкретными задачами расчетов в плоской или пространственной постановке, используемыми методами расчетов.

В настоящее время отсутствуют нормативно-методические документы по составлению расчетных схем. Различные аспекты методики составления расчетных схем и примеры расчетных моделей содержатся в работах Э.Г. Газиева [12], С.Б. Ухова с соавторами [72, 73], Л.С. Мирошниковой [64, 75], Э.А. Фрейберга [16, 76, 77] и др. Методика включает ряд общих позиций независимо от целевого назначения расчетных схем. При этом на заданные сечения или план наносят:

- контуры или оси сооружения;

- контуры расчетной области основания;

- основные элементы геоструктурной схемы (крупные нарушения сплошности массива, границы подзон А, Б, В, Г разгрузки и выветривания, уровень подземных вод и т.д.);

- контуры геомеханических схем и соответствующие характеристики свойств.

После этого применительно к конкретной задаче и методу ее решения расчетная схема может быть упрощена. В зависимости от степени изученности массива расчетные схемы могут в соответствии со стадиями проектирования дополняться и детализироваться. Как отмечают многие авторы, составление предварительных расчетных схем, обоснованных на ранних стадиях прогнозными инженерно-геологическими моделями, и выполнение на их основе расчетов позволяет оптимизировать не только проектные решения, но также состав и объемы изысканий и исследований.

Во ВНИИГ им. Б.Е. Веденеева выполнен ряд расчетов устойчивости склонов, местной прочности и напряженно-деформированного состояния системы сооружение-основание для Богучанской, Колымской, Тельмамской, Хадита (Ирак) и других гидроузлов с использованием геоструктурных схем зонально-блочного строения скального массива [76, 77].

СПИСОК ЛИТЕРАТУРЫ

1. Ажгирей Г.Д. Структурная геология. - М.: МГУ, 1966.

2. Антонов С.С., Коган Л.Е. Исследование инженерных мероприятий по укреплению основания на геомеханической модели плотины Ингури // Известия ВНИИГ им. Б.Е. Веденеева: Сборник научных трудов. - 1978. - Т. 124. - С. 83 - 86.

3. Апродов В.А. Геологическое картирование. - М.: Госгеолиздат, 1962.

4. Белицкий А.А. К вопросу о механизме образования кливажных трещин: Труды Горно-геологического института Сиб. филиала АН СССР.- Новосибирск, 1949.

5. Белоусов В.В. Структурная геология. - М.: МГУ, 1971.

6. Белоусов В.В. Основные вопросы геотектоники. - М.: Госгеолиздат, 1954.

7. Богданов А.А. Зависимость интенсивности кливажа от мощности пласта // Советская геология. - 1947. - Вып. 16. - С. 102 - 104.

8. Буялов И.И. Структурная и полевая геология. - М.: Гостоптехиздат, 1956.

9. Варга А.А., Ростиславлев А.В. Плотина Кассеб на р. Кассеб // Геология и плотины. - М.: Энергия, 1972. - Т. VI. - С. 139 - 154.

10. Войнович А.П., Глускин Я.Э., Петров В.Г. Лабораторные гидравлические исследования Колымского гидроузла // Материалы конференций и совещаний по гидротехнике: Гидравлика высоконапорных водосбросных сооружений / ВНИИГ им. Б.Е. Веденеева. - 1978. - Вып. 120. - С. 104 - 111.

11. Воронков О.К., Ушакова Л.Ф. Изучение курумов с целью оценки блочности скального массива // Известия ВНИИГ им. Б.Е. Веденеева: Сборник научных трудов. - 1980. - Т. 137. - С. 116 - 121.

12. Газиев Э.Г. Устойчивость скальных массивов и методы их закрепления. - М.: Стройиздат, 1977.

13. Газиев Э.Г., Речицкий В.И., Боровых Т.Н. Исследование фильтрационного потока в блочной среде применительно к проектированию сооружений в скальных массивах // Труды Гидропроекта. - 1980. - Вып. 68. - С. 137 - 147.

14. Геологический словарь. - М.: Недра, 1973. -Т. 1.

15. Геологический словарь. - М.: Недра, 1973. - Т. 2.

16. Гольдин А.Л., Фрейберг Э.А., Прокопович В.С. Исследование устойчивости скальных склонов при упругопластическом деформировании массива пород // Известия ВНИИГ им. Б.Е. Веденеева: Сборник научных трудов. - 1982. - Т. 158. - С. 24 - 29.

17. ГОСТ 25100-82. Грунты: Классификация. - М.: Издательство стандартов, 1982.

18. Гуреев А.М. Инженерно-геологическая модель скального массива в основании гидротехнического сооружения // Материалы конференций и совещаний по гидротехнике: Дискретные среды в гидротехническом строительстве / ВНИИГ им. Б.Е. Веденеева. - 1972. - Вып. 77. - С. 5 - 14.

19. Гуреев А.М. К вопросу о методике изучения трещиноватых скальных горных пород как оснований гидротехнических сооружений // Проблемы инженерной геологии в строительстве. - М.: АСИА СССР - ВОДГЕО, 1960. - с. 65 - 87.

20. Гуреев А.М. К оценке деформируемости скальных оснований плотин // Гидротехническое строительство. - 1967. - № 2. - С. 52 - 56.

21. Гуреев А.М. Об инженерно-геологической характеристике скального основания при оценке его устойчивости в отношении размыва высокоскоростным потоком // Труды координационных совещаний по гидротехнике / ВНИИГ им. Б.Е. Веденеева. - 1969. - Вып. 52. - С. 552 - 565.

22. Гуреев А.М. Принципы инженерно-геологического районирования скальных массивов на участках строительства высоких плотин // Вопросы инженерной геологии и грунтоведения. - М.: МГУ, 1968. - Сб. 2. - С. 213 - 223.

23. Евдокимов П.Д., Сапегин Д.Д. Прочность, сопротивляемость сдвигу и деформируемость оснований сооружений на скальных породах. - М.: Энергия, 1964.

24. Инженерно-геологические изыскания для гидроэнергетических сооружений: ВСН 34.2-88 / Минэнерго СССР. - М., 1989.

25. Исследование статической работы скального основания бетонной гравитационной плотины / Д.Д. Сапегин, А.А. Храпков. Р.А. Ширяев, Г.С. Гейнац, А.А. Никитин // Известия ВНИИГ им. Б.Е. Веденеева: Сборник научных трудов. - 1978. - Т. 124. - С. 104 - 111.

26. Карпов Н.М. Исследование механизма разрушения трещиноватых скальных склонов // Известия ВНИИГ им. Б.Е. Веденеева: Сборник научных трудов. - 1984. - Т. 172. - С. 70 - 73.

27. Каякин В.В. Инженерно-геологическое районирование скальных массивов в области их взаимодействия с сооружениями // Сборник научных трудов Гидропроекта. - 1985. - Вып. 103. - С. 74 - 90.

28. Каякин В.В. К вопросу методики построения инженерно-геологических моделей скального основания высоких плотин // Труды Гидропроекта. - 1977. - № 50. - С. 127 - 140.

29. Количко А.В. Опыт оценки блочности трещиноватого массива скальных пород // Труды Гидропроекта. - 1966. - Сб. 14. - С. 122 - 128.

30. Количко А.В. Универсальная модель сети трещин // Тезисы докладов и сообщений VII конференции изыскателей института «Гидропроект». - Л., 1981, - С. 127 - 129.

31. Коломенский Н.В. Методические указания по изучению процессов выветривания горных пород для инженерно-геологических целей. - М.: Госгеолиздат, 1952.

32. Крамбейн У., Грейбилл Ф. Статистические модели в геологии. - М.: Мир, 1969.

33. Ломтадзе В.Д. Инженерная геология. Инженерная петрология. - Л.: Недра, 1970.

34. Методические рекомендации по изучению блочного строения массива интрузивных пород для целей прогнозирования их размыва за водосбросами: П40-75 / ВНИИГ им. Б.Е. Веденеева. - Л., 1976.

35. Методические рекомендации по изучению дизъюнктивных структур при инженерно-геологических изысканиях для гидротехнического строительства. - М.: Энергоатомиздат, 1983.

36. Методические рекомендации по изучению инъективных структур при инженерно-геологических изысканиях для гидротехнического строительства. - М.: Энергоатомиздат, 1982.

37. Методические рекомендации по изучению мелкой трещиноватости скальных пород при изысканиях для гидротехнического строительства. - М.: Энергоиздат, 1981.

38. Методические рекомендации по методам исследований скальных пород и массивов / Советский комитет по участию в Международном обществе по механике скальных пород (СК МОМСП): Пер. с англ. / Под ред. В.И. Речицкого. - М., 1984.

39. Методическое пособие по изучению структур напластования при инженерно-геологических изысканиях для гидротехнического строительства. - М.: Энергия, 1979.

40. Модельные исследования сопротивляемости сдвигу скального основания Богучанской ГЭС / Д.Д. Сапегин, Р.А. Ширяев, Н.М. Карпов, А.Д. Никитин, И.В. Мкртчян // Известия ВНИИГ им. Б.Е. Веденеева: Сборник научных трудов. - 1986. - Т. 193. - С. 36 - 41.

41. Модельные исследования статической работы скального борта водохранилища Рогунской ГЭС / Д.Д. Сапегин, Р.А. Ширяев, Н.М. Карпов, Г.И. Сидоров // Известия ВНИИГ им. Б.Е. Веденеева: Сборник научных трудов. - 1985. - Т. 182. - С. 32 - 36.

42. Мюллер Л. Механика скальных массивов. - М.: Мир, 1971.

43. Нейштадт Л.И., Пирогов И.А. Методы инженерно-геологического изучения трещиноватости горных пород. - М.: Энергия, 1969.

44. Никитин В.Н. Основы инженерной сейсмики. - М.: МГУ, 1981.

45. Оллиер К. Выветривание: Пер. с англ. - М.: Недра, 1987.

46. Панюков П.Н. Инженерная геология. - М.: Госгортехиздат, 1978.

47. Петрусевич М.Н. Аэрометоды при геологических исследованиях. - М. Госгеолиздат, 1962.

48. Пирогов И.А. Тектонические структуры оснований высоких бетонных плотин. - М.: Энергоатомиздат, 1987.

49. Принципы инженерно-геологического моделирования для гидротехнического строительства / А.Г. Лыкошин, Н.Л. Шешеня, Е.С. Карпышев, В.В. Каякин, Ю.А. Фишман // Гидротехническое строительство. - 1972. - № 3. - С. 7 - 11.

50. Проворова Т.П., Войнович А.П., Наймарк Л.И. Гашение энергии в нижних бьефах сооружений в случаях водобойных стенок и водобойного колодца при больших удельных расходах воды // Известия ВНИИГ им. Б.Е. Веденеева: Сборник научных трудов. - 1982. - Т. 145. - С. 93 - 99.

51. Прочухан Д.П. Тектоническая трещиноватость изверженных горных пород, слагающих основания бетонных плотин // Труды Ленгидропроекта. - 1966. - Сб. 4. - С. 3 - 26.

52. Прочухан Д.П., Фрид С.А., Доманский Л.К. Скальные основания гидротехнических сооружений. - Л.: Стройиздат, 1971.

53. Пэк А.В. Трещинная тектоника и структурный анализ. - М.: АН СССР, 1939.

54. Рац М.В. Неоднородность горных пород и их физических свойств. - М.: Наука, 1968.

55. Рац М.В. Структурные модели в инженерной геологии. - М.: Недра, 1973.

56. Рац М.В., Иванова Н.Б., Русин Г.Л. Автоматизированная система обработки данных (АСОД) по трещиноватости горных пород для инженерно-теологических целей // Инженерная геология. - 1979. - Вып. 5. - С. 78 - 89.

57. Рац М.В., Чернышев С.Н. Трещиноватость и свойства трещиноватых горных пород. - М.: Недра, 1970.

58. Рекомендации. Комплексная система исследований геомеханических характеристик скальных массивов в гидротехническом строительстве: П86-79 / Гидропроект. - М., 1989.

59. Рекомендации по изучению морфологии поверхности трещин в скальных породах в полевых и лабораторных условиях: П86-79 / ВНИИГ им. Б.Е. Веденеева. - Л., 1980.

60. Рекомендации по изучению напряженного состояния пород сейсмоакустическими методами // Гидропроект, СССР, Водохозяйственный ин-т, СФРЮ. - М., 1986.

61. Рекомендации по изучению складчатой структуры скальных массивов при инженерно-геологических изысканиях для гидротехнического строительства: П827-85 / Гидропроект. - М., 1987.

62. Рекомендации по изучению трещиноватости горных пород при инженерно-геологических изысканиях для строительства / ПНИИИС ГОССТРОЯ СССР. - М., 1974.

63. Рекомендации по методике составления геофизических схем (моделей) скальных массивов в основаниях бетонных плотин: П96-81 / ВНИИГ им. Б.Е. Веденеева. - Л., 1981.

64. Рекомендации по методике составления специализированных инженерно-геологических моделей трещиноватости для расчетов и исследований скальных массивов: П830-85 / Гидропроект. - М., 1985.

65. Руководство по полевой инженерно-геологической документации: П787-83 / Гидропроект. - М., 1984.

66. Савич А.И., Михайлов А.Д. Принципы инженерно-геологической классификация скальных горных пород по сейсмоакустическим свойствам // Тезисы докладов и сообщений VI конференции изыскателей института «Гидропроект». - М., 1978. - Вып. 2. - С. 80 - 84.

67. Сейсмоакустические методы изучения массивов скальных пород / А.И. Савич, В.И. Коптев, В.Н. Никитин, З.Г. Ященко. - М.: Недра, 1969.

68. СНиП 1.02.07-87. Инженерные изыскания для строительства. - М.: ЦИТП Госстроя СССР, 1986.

69. СНиП 2.02.02-85. Основания гидротехнических сооружений. - М.: ЦИТП Госстроя СССР, 1986.

70. Справочник по инженерной геологии. - М.: Недра, 1968.

71. Стулькевич А.В., Антонова Л.И., Григорьева В.А. Исследования фильтрации в основании и в обход сооружений Константиновского гидроузла // Научные исследования по гидротехнике в 1971 году. - Л.: Энергия, 1973. - Т. 2. - С. 130 - 131.

72. Ухов С.Б. Скальные основания гидротехнических сооружений. - М.: Энергия. 1975.

73. Ухов С.Б., Газиев Э.Г., Лыкошин А.Г. Построение инженерно-геологических и геомеханических моделей массивов горных пород для решения инженерных задач // Гидротехническое строительство. - 1981. - № 3. - С. 25 - 29.

74. Фишман Ю.А. Сравнение характеристик прочности и деформируемости скальных оснований и бетонных плотин // Труды Гидропроекта. - 1976. - № 50. - С. 3 - 28.

75. Фишман Ю.А., Мирошникова Л.С. Опыт разработки и применения инженерно-геологических моделей в практике гидротехнического строительства // Инженерная геология. - 1984. - № 5. - С. 24 - 37.

76. Фрейберг Э.А. Устойчивость скального откоса с рассеченной природными поверхностями ослабления призмой обрушения // Известия ВНИИГ им. В.Е. Веденеева: Сборник научных трудов. - 1979. - Т. 130. - С. 14 - 25.

77. Фрейберг Э.А., Кауфман М.Д. Расчеты устойчивости скальных склонов и откосов // Известия ВНИИГ им. Б.Е. Веденеева: Сборник научных трудов. - 1981. - Т. 147. - С. 114 - 123.

78. Фридман Я.Б. Диаграмма структурной неоднородности // ДАН СССР. - 1956. - Т. 106. № 2.- С. 258 - 261.

79. Чернышев С.Н. Трещиноватость горных пород и ее влияние на устойчивость откосов. - М.: Недра, 1984.

80. Чернышев С.Н. Трещины горных пород. - М.: Наука, 1983.

81. Ярышев Б.П., Липовская В.Я., Шушлебин А.И. Ультразвуковое моделирование продольных сейсмических волн в массивах скальных оснований плотин сложного геологического строения // Известия ВНИИГ им. Б.Е. Веденеева. - 1973. - Т. 102. - С. 257 - 265.

82. Bieniawski Z.Т., Orr С.М. Rapid site appraisal for dam foundations by the geomechanics classification // XIIIth Congress of ICOLD. - Delhi. 1979.

83. Cailleaux A. Etude quantitative de failles // Rev. geom. dynam. - 1958. - Vol. 9, № 9 - 10.

СОДЕРЖАНИЕ

Предисловие. 1

1. Общие положения. 2

2. Скальные массивы как геомеханическая среда. 8

3. Квазиоднородные объемные элементы скальных массивов. 12

4. Выделение границ инженерно-геологических элементов в скальных массивах и прогнозная оценка их свойств. 15

Приложение 1 Принципы изучения геологического строения скальных массивов для построения их геоструктурных моделей. 16

Скальные массивы как расчлененная трещинами среда зонально-блочного строения. 16

Принципы структурного анализа геологического строения территорий разного масштаба. 22

Приложение 2 Структурно-тектоническое районирование территории проектируемого гидроузла. 27

Приложение 3 Структурно-петрологическое районирование скальных массивов. 29

Задачи районирования. 29

Изучение сводного литолого-стратиграфического разреза массива. 30

Инженерно-геологическое опробование горных пород сводного разреза массива. 35

Изучение и характеристика блочности и трещиноватости массива. 38

Предварительное выделение в скальном массиве границ структурно-петрологических элементов. 43

Приложение 4 Инженерно-геологическое районирование скальных массивов. 51

Характеристика состояния массива по подзонам А, Б, В, Г. 51

Систематизация данных исследований строения, состояния и свойств скальных пород по ИГЭ.. 52

Прогнозная оценка свойств скальных пород в массиве. 55

Выделение в скальном массиве контуров квазиоднородных инженерно-геологических объемных элементов. 64

Приложение 5 Примеры геоструктурных схем (моделей) скальных массивов. 71

Геоструктурная модель массива гранито-гнейсов. 71

Геоструктурная модель массива известняков. 73

Геоструктурная модель массива песчаников и аргиллитов. 79

Приложение 6 Примеры использования геоструктурных схем для целей физического моделирования, расчетов и натурных наблюдений. 83

Геомеханические исследования на моделях. 83

Гидравлическое моделирование. 85

Фильтрационные исследования на моделях. 86

Геофизические модели. 86

Расчеты устойчивости, местной прочности, напряженно-деформированного состояния системы основание - сооружение. 90

Список литературы.. 91

 

 




ГОСТЫ, СТРОИТЕЛЬНЫЕ и ТЕХНИЧЕСКИЕ НОРМАТИВЫ.
Некоммерческая онлайн система, содержащая все Российские Госты, национальные Стандарты и нормативы.
В Системе содержится более 150000 файлов нормативно-технической документации, действующей на территории РФ.
Система предназначена для широкого круга инженерно-технических специалистов.

Рейтинг@Mail.ru Яндекс цитирования

Copyright © www.gostrf.com, 2008 - 2026