Крупнейшая бесплатная информационно-справочная система онлайн доступа к полному собранию технических нормативно-правовых актов РФ. Огромная база технических нормативов (более 150 тысяч документов) и полное собрание национальных стандартов, аутентичное официальной базе Госстандарта. GOSTRF.com - это более 1 Терабайта бесплатной технической информации для всех пользователей интернета. Все электронные копии представленных здесь документов могут распространяться без каких-либо ограничений. Поощряется распространение информации с этого сайта на любых других ресурсах. Каждый человек имеет право на неограниченный доступ к этим документам! Каждый человек имеет право на знание требований, изложенных в данных нормативно-правовых актах!

  


 

ГОСТ 30539-97

(ИСО 6150-88)

МЕЖГОСУДАРСТВЕННЫЙ СТАНДАРТ

Пневмоприводы

СОЕДИНЕНИЯ БЫСТРОРАЗЪЕМНЫЕ
НА НОМИНАЛЬНЫЕ ДАВЛЕНИЯ
1,0; 1,6 и 2,5 МПа

Присоединительные размеры,
технические требования и методы испытаний

МЕЖГОСУДАРСТВЕННЫЙ СОВЕТ
ПО СТАНДАРТИЗАЦИИ, МЕТРОЛОГИИ И СЕРТИФИКАЦИИ

Минск

Предисловие

1 РАЗРАБОТАН Межгосударственным техническим комитетом по стандартизации МТК 76 «Гидроприводы объемные, пневмоприводы и смазочные системы», Научно-исследовательским и проектно-конструкторским институтом промышленных гидроприводов и гидроавтоматики (НИИГидропривод)

ВНЕСЕН Государственным комитетом Украины по стандартизации, метрологии и сертификации

2 ПРИНЯТ Межгосударственным Советом по стандартизации, метрологии и сертификации (протокол № 12 от 20 ноября 1997 г.)

За принятие проголосовали:

Наименование государства

Наименование национального органа по стандартизации

Азербайджанская Республика

Азгосстандарт

Республика Армения

Армгосстандарт

Республика Беларусь

Госстандарт Республики Беларусь

Республика Казахстан

Госстандарт Республики Казахстан

Кыргызская Республика

Кыргызстандарт

Республика Молдова

Молдовастандарт

Российская Федерация

Госстандарт России

Республика Таджикистан

Таджикстандарт

Туркменистан

Главгосинспекция Туркменистана

Республика Узбекистан

Узгосстандарт

Украина

Госстандарт Украины

3 Введение, разделы 1, 3-9 представляют собой полный аутентичный текст межгосударственного стандарта ИСО 6150-88 «Цилиндрические быстроразъемные соединения на максимальное рабочее давление 10, 16 и 25 бар (1, 1,6 и 2,5 МПа). Присоединительные размеры втычной части, технические требования, указания по применению и методы испытаний». Настоящий стандарт содержит дополнительные требования, отражающие потребности экономики страны

4 Постановлением Государственного комитета Российской Федерации по стандартизации и метрологии от 14 июня 2001 г. № 231-ст межгосударственный стандарт ГОСТ 30539-97 (ИСО 6150-88) введен в действие непосредственно в качестве государственного стандарта Российской Федерации с 1 января 2002 г.

5 ВВЕДЕН ВПЕРВЫЕ

СОДЕРЖАНИЕ

1 Область применения. 2

2 Нормативные ссылки. 2

3 Определения. 2

4 Размеры и допуски. 3

5 Обозначение. 4

6 Технические требования. 5

6.1 Материал. 5

6.2 Твердость. 5

6.3 Шероховатость поверхности. 5

6.4 Защита от коррозии. 5

6.5 Количество циклов соединения и рассоединения. 5

6.6 Испытательные давления. 5

6.7 Предельные рабочие температуры.. 5

6.8 Ограниченное вращение для самоцентровки. 5

6.9 Жесткость конструкции. 5

6.10 Утечка. 6

7 Указания по применению.. 6

7.1 Установка с вибрирующими ручными машинами. 6

7.2 Безопасность при соединении и рассоединении. 6

8 Испытания. 6

8.1 Погрешность испытательного оборудования и приборов. 6

8.2 Проверка соответствия. 8

8.3 Гидравлические испытания. 8

8.4 Испытания на коррозионную стойкость. 8

8.5 Испытания на жесткость конструкции. 8

8.6 Испытания на работоспособность. 8

9 Форма записи при ссылке на настоящий стандарт. 10

Приложение А Дополнительные требования, отражающие потребности экономики страны.. 10

ГОСТ 30539-97

(ИСО 6150-88)

МЕЖГОСУДАРСТВЕННЫЙ СТАНДАРТ

Пневмоприводы

СОЕДИНЕНИЯ БЫСТРОРАЗЪЕМНЫЕ
НА НОМИНАЛЬНЫЕ ДАВЛЕНИЯ 1,0; 1,6 и 2,5 МПа

Присоединительные размеры, технические требования и методы испытаний

Pneumatic fluid power. Quick-action couplings for nominal pressures 1,0; 1,6 and 2,5 МРа.
Connecting dimensions, technical requirements and test methods

Дата введения 2002-01-01

1 Область применения

Настоящий стандарт устанавливает размеры и допуски втычной части пневматических быстроразъемных соединений для обеспечения их взаимозаменяемости, а также технические требования, указания по применению и методы испытаний втычной части совместно с приемной частью.

Примечание - Конструкция и размеры приемной части оставлены на выбор изготовителя.

Настоящий стандарт распространяется на цилиндрические быстроразъемные соединения на номинальные давления 1,0; 1,6 и 2,5 МПа, применяемые в пневматических приводах.

Стандарт не распространяется на быстроразъемные соединения с отсечными клапанами для сварочного резального оборудования и смежных производств.

Настоящий стандарт распространяется только на размерные параметры изделий, изготовленных в соответствии с настоящим стандартом, и не распространяется на их функциональные характеристики.

Дополнительные требования, отражающие потребности экономики страны, приведены в приложении А.

Обязательные требования к качеству продукции изложены в 4.1, 4.2.1 - 4.2.3, разделе 5, 6.5, 6.6.1, 6.6.2, 6.8, 8.2.1, 8.3, 8.5.2, 8.6.1, 8.6.2.

2 Нормативные ссылки

В настоящем стандарте использованы ссылки на следующие стандарты:

ГОСТ 9.905-82 Единая система защиты от коррозии и старения. Методы коррозионных испытаний. Общие требования

ГОСТ 12.2.101-84 Система стандартов безопасности труда. Пневмоприводы. Общие требования безопасности к конструкции

ГОСТ 12.3.001-85 Система стандартов безопасности труда. Пневмоприводы. Общие требования безопасности к монтажу, испытаниям и эксплуатации

ГОСТ 6357-81 Основные нормы взаимозаменяемости. Резьба трубная цилиндрическая

ГОСТ 8724-81 Основные нормы взаимозаменяемости. Резьба метрическая. Диаметры и шаги

ГОСТ 9833-73 Кольца резиновые уплотнительные круглого сечения для гидравлических и пневматических устройств. Конструкция и размеры

ГОСТ 15150-69 Машины, приборы и другие технические изделия. Исполнения для различных климатических районов. Категории, условия эксплуатации, хранения и транспортирования в части воздействия климатических факторов внешней среды

ГОСТ 17752-81 Гидропривод объемный и пневмопривод. Термины и определения

ГОСТ 18460-91 Пневмоприводы. Общие технические требования

ГОСТ 19862-93* Пневмоприводы. Методы измерений параметров

* На территории Российской Федерации действует ГОСТ 19862-87.

3 Определения

В настоящем стандарте применяют термины по ГОСТ 17752.

4 Размеры и допуски

4.1 Цилиндрические быстроразъемные соединения для пневмоприводов разделяют в соответствии с их номинальным давлением на три типа:

- А - цилиндрические быстроразъемные соединения на номинальное давление 1,0 МПа;

- В - цилиндрические быстроразъемные соединения на номинальное давление 1,6 МПа;

- С - цилиндрические быстроразъемные соединения на номинальное давление 2,5 МПа.

4.2 На рисунках 1-3 и в таблицах 1-3 приведены размеры и допуски только втычной части. Приемная часть оставлена на выбор изготовителя. К концу втычной части применяют одинаковые требования для присоединения к пневмоустройству, трубе или рукаву.

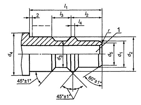
4.2.1 Размеры и допуски втычной части цилиндрических быстроразъемных соединений типа А приведены на рисунке 1 и в таблице 1.

1 - внутренний диаметр (должен быть как можно больше); 2 - расстояние между уступом втычной части и концевой поверхностью приемной части (в соединенном состоянии не должно превышать 1 мм)

Рисунок 1 - Втычная часть для номинального давления 1,0 МПа (тип А)

Таблица 1- Размеры втычной части для номинального давления 1,0 МПа (тип А)

В миллиметрах

Номинальный диаметр

d1

h11

d2

d11

d3

d4, не менее

d5

l1+0,2

l2

l3

l4

r

6

4,5

6

4,5

11

3,9

16

7+0,2

3+0,15

0,5

0,2-0,3

10

8

10

8

15

7

20

8,5+0,3

5,5+0,2

1

0,3-0,5

13

11

13

11

18

10

21

15

13

15

13

20

12

24

18

16

18

16

23

15

27

4.2.2 Размеры и допуски втычной части цилиндрических быстроразъемных соединений типа В приведены на рисунке 2 и в таблице 2.

1 - внутренний диаметр (должен быть как можно больше); округление кромки не более 0,5 мм. Следует обеспечить достаточный расход воздуха и прочность втычной части; 2 - расстояние между уступом втычной части и концевой поверхностью приемной части (в соединенном состоянии не должно превышать 1 мм)

Рисунок 2 - Втычная часть для номинального давления 1,6 М Па (тип В)

Таблица 2 - Размеры втычной части для номинального давления 1,6 МПа (тип В)

В миллиметрах

Номинальный диаметр

d1

-0,1

-0,2

d2

-0,1

-0,2

d3

-0,05

-0,15

d4

-0,1

-0,2

l1, не менее

l5

+0,10

-0,15

l6

+0,10

-0,15

l7

+0,10

-0,15

r

+0,10

-0,15

7

4,55

6,5

4,45

7

20

5

8

2,5

0,4

12

8,2

11

7,9

11,9

23,6

5,4

9,4

2,8

15

11

14,4

11,6

15,2

26,1

7,65

12,3

2,6

1

17

14,4

16,8

14,3

16,8

34,8

9,55

14,7

2,8

0,4

23

20,55

23

20,45

23

35

6,5

10,7

3

1

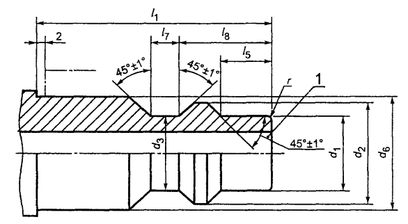
4.2.3 Размеры и допуски втычной части цилиндрических быстроразъемных соединений типа С приведены на рисунке 3 и в таблице 3.

1 - внутренний диаметр (должен быть как можно больше); 2 - расстояние между уступом втычной части и концевой поверхностью приемной части (в соединенном состоянии не должно превышать 1 мм)

Рисунок 3 - Втычная часть для номинального давления 2,5 МПа (тип С)

Таблица 3 - Размеры втычной части для номинального давления 2,5 МПа (тип С)

В миллиметрах

Номинальный диаметр

d1

f8

d2

jS11

d3

±0,15

d6

f8

l1, не менее

l2

±0,1

l3

jS13

l4

±0,1

r,

не более

8

5

7,4

5

7,5

25

10

4,5

0,7

0,3

10

7,5

9,7

7,4

10

27,5

12

7

0,75

1

14

11

13,7

11

14

36,5

17

9,5

1,5

17

14

16,7

14

17

41

18

12,5

2

27

23

26,7

23

27

61

27

16

2,5

2

Примечание - Дополнение по А.1.

5 Обозначение

Обозначение быстроразъемного соединения должно включать следующую информацию, расположенную в приведенном порядке:

а) наименование, т.е. слово «Соединение»;

б) обозначение настоящего стандарта;

в) букву, обозначающую тип соединения (т.е. А, В или С);

г) номинальный диаметр.

Примечание - Дополнение по А.2.

Пример условного обозначения цилиндрического быстроразъемного соединения на номинальное давление 1,6 МПа, т.е. типа В, номинальным диаметром 15 мм:

Соединение ГОСТ 30539-97-В-15

Примечание - Дополнение по А.3.

6 Технические требования

6.1 Материал

Материал деталей соединений выбирает изготовитель в зависимости от предполагаемых условий применения.

6.2 Твердость

Втычная часть должна иметь твердость, соответствующую условиям применения и определяемую изготовителем.

6.3 Шероховатость поверхности

Параметры шероховатости поверхности втычной части выбирает изготовитель, однако шероховатость Ra уплотняемой поверхности, показанной на рисунке 4, должна быть не грубее 3,2 мкм.

Примечания

1 Требования к шероховатости поверхности втычной части соединения, находящейся в контакте с уплотнителем, зависят от условий применения и требований к долговечности; рекомендуется, чтобы такие требования были согласованы между изготовителем и потребителем.

2 Дополнение по А.4.

А - уплотняемая поверхность

Рисунок 4 - Определение уплотняемой поверхности

6.4 Защита от коррозии

Втычная часть быстроразъемного соединения должна удовлетворять требованиям к испытаниям, изложенным в 8.4.

6.5 Количество циклов соединения и рассоединения

Быстроразъемные соединения должны удовлетворять требованиям, указанным в технической характеристике, после 5000 циклов соединения и рассоединения.

6.6 Испытательные давления

6.6.1 Быстроразъемные соединения должны быть пригодны для применения после того, как их подвергли испытанию давлением, превышающим номинальное в 1,5 раза, согласно 8.3.

6.6.2 Быстроразъемные соединения должны выдерживать давление, превышающее номинальное давление в 4 раза.

6.7 Предельные рабочие температуры

6.7.1 Соединение подвергают в соответствии с процедурой согласно 8.6.4 воздействию рекомендованных изготовителем предельных рабочих температур в обоих состояниях (соединенном и рассоединенном):

- в течение 6 ч при максимальной рабочей температуре;

- в течение 4 ч при минимальной рабочей температуре.

6.7.2 Записывают любые признаки утечки, деформации или нарушения функции.

6.8 Ограниченное вращение для самоцентровки

Втычная часть или приемная часть должны быть устроены таким образом, чтобы при номинальном давлении отводящий рукав или инструмент могли проворачиваться для центровки, позволяющей избежать крутящей нагрузки на рукав или соединение.

6.9 Жесткость конструкции

Быстроразъемное соединение в соединенном состоянии должно выдерживать:

а) радиальную нагрузку 2200 Н;

б) осевую нагрузку 2200 Н.

Примечания

1 Для соединений, изготовленных из пластмасс, нагрузку рекомендуется ограничивать значением 440 Н.

2 Дополнение по А.5.

6.10 Утечка

Быстроразъемное соединение в соединенном состоянии или приемная часть не должны иметь утечку, превышающую значение, указанное изготовителем при номинальном давлении. Это требование следует проверять методом 8.6.3.

Примечание - Дополнения по А.6 и А.7.

7 Указания по применению

7.1 Установка с вибрирующими ручными машинами

Длина гибкого рукава для подвода сжатого воздуха между вибрирующей ручной машиной и быстроразъемным соединением рекомендуется не менее 300 мм.

7.2 Безопасность при соединении и рассоединении

Проектировщику системы и (или) потребителю следует учесть, что для повышения безопасности при соединении и рассоединении необходимо предусмотреть снятие давления в системе в соответствии с ГОСТ 12.2.101, ГОСТ 12.3.001, ГОСТ 18460 для того, чтобы, например:

- избежать опасного действия силы от давления на втычную часть;

- избежать опасного выброса сжатого воздуха или частиц;

- обеспечить соединение и рассоединение при безопасном уровне давления.

Примечание - Дополнение по А.8.

8 Испытания

Методы испытаний, установленные в данном разделе, распространяются на втычную часть, изготовленную в соответствии с настоящим стандартом, совместно с приемной частью.

Указанные методы испытаний предназначены для периодических испытаний быстроразъемных соединений.

Схемы испытаний и испытательных установок, приведенные на рисунках 5-11, не являются обязательными.

8.1 Погрешность испытательного оборудования и приборов

Погрешность испытательного оборудования и приборов следует выбирать, настраивать и поддерживать в пределах, установленных в таблице 4.

Таблица 4 - Погрешность испытательного оборудования и приборов

Параметр

Погрешность

Температура

±5°С

Утечка

±2%

Боковая нагрузка

±2%

Давление

±2%

Расход

±2%

Примечание - Дополнение по А.9.

1 - устройство для присоединения динамометра к запирающей втулке втычной части; 2 - защитная плита; 3 - динамометр; 4 - основание приспособления, показывающего, что функцию можно изменить, чтобы наилучшим образом приспособить к испытываемому соединению

Рисунок 5 - Установка для испытаний силы рассоединения

1 - приемная часть соединения; 2 - втычная часть соединения; 3 - направляющий стержень, передающий силу на динамометр и соединяющий источник давления с втычной частью; 4 - динамометр

Рисунок 6 - Установка для испытаний силы соединения

1 - сосуд, наполненный изопропиловым спиртом или другой соответствующей жидкостью, 2 - перевернутый мерный цилиндр для сбора пузырьков, наполненный жидкостью, 3 - испытуемое соединение

Рисунок 7 - Установка для испытаний утечки

1 - стержень, присоединенный к части соединения, не закрепленной в приспособлении, 2 - приспособление для закрепления части соединения, 3 - испытуемое соединение, 4 - ось запорного устройства

Рисунок 8 - Установка для приложения боковой нагрузки

1 - нагревательная или холодильная камера; 2 - части испытуемого соединения

Рисунок 9 - Установка для испытаний предельной температуры

1 - испытуемое соединение; 2 - стальные держатели

Рисунок 10 - Установка для приложения радиальной силы при испытаниях жесткости конструкции

1 - динамометр; 2 - испытуемое соединение; 3 - приспособление для закрепления части соединения

Рисунок 11 - Установка для приложения осевой силы при испытаниях жесткости конструкции

8.2 Проверка соответствия

8.2.1 Каждый тип соединения проверяют на соответствие чертежам изготовителя, каталожным листам и таблицам 1-3 настоящего стандарта.

8.2.2 На каждое соединение наносят маркировку, которая не мешает его нормальной работе и позволяет соотносить это соединение с процедурами испытаний и (или) с записями в протоколе.

8.2.3 Измеряют и записывают действительные значения стандартизованных размеров соединения для использования в протоколе испытаний. Измерения выполняют при температуре 20 °С.

Примечание - Дополнение по А.10.

8.3 Гидравлические испытания

8.3.1 Втычная часть быстроразъемного соединения должна быть подобрана и соединена с соответствующей приемной частью.

8.3.2 Приемную часть присоединяют к источнику гидравлического давления.

8.3.3 Открытый конец приемной части закрывают.

8.3.4 Давление внутри приемной части быстроразъемного соединения повышают до уровня, превышающего в 4 раза давление, рекомендуемое изготовителем.

Примечание - После испытаний длительностью 1 мин не должно быть разрушения или остаточной деформации.

8.4 Испытания на коррозионную стойкость

8.4.1 Этим испытаниям подвергают только плунжер соединения. Испытания проводят согласно ГОСТ 9.905.

8.4.2 Испытания проводят в течение 24 ч. Результаты испытаний считают приемлемыми, если по окончании испытаний не наблюдают признаков коррозии на наружных поверхностях после удаления испытательного материала.

8.5 Испытания на жесткость конструкции

8.5.1 Собранные соединения подвергают действию радиальной нагрузки согласно 6.9, прикладывая ее к рабочей втулке или основной части корпуса с использованием испытательной установки, показанной на рисунке 10. После 1 мин испытаний не должно быть деформаций и разрушений.

Примечание - Испытание предназначено для имитации непредусмотренной радиальной нагрузки, например в случае переезда тележки через соединение.

8.5.2 Собранные соединения подвергают действию осевой нагрузки согласно 6.9, прикладывая ее непосредственно к втычной части, вставленной в приемную часть, как показано на рисунке 11.

В течение испытаний втычная и приемная части не должны рассоединяться, деформироваться или выходить из строя.

После этих испытаний соединение испытывают на утечку согласно 8.6.3.

Утечка должна отсутствовать.

Примечание - Дополнение по А.11.

8.6 Испытания на работоспособность

Испытания проводят на быстроразъемном соединении, слегка смазанном смазочным материалом, совместимым с материалом уплотнителей.

Примечание - Дополнение по А.12.

8.6.1 Сила рассоединения

8.6.1.1 Соединение устанавливают на соответствующей испытательной установке (рисунок 5).

8.6.1.2 Поддерживают рекомендуемое изготовителем рабочее давление в качестве испытательного давления.

8.6.1.3 Прикладывают силу и (или) крутящий момент к запирающему механизму до тех пор, пока соединение не рассоединится.

8.6.1.4 Измеряют силу и (или) крутящий момент, необходимые для рассоединения.

8.6.1.5 Повторяют испытание пять раз в течение 10 мин. Оставляют собранные соединения на 1 ч, затем рассоединяют, проверяют и записывают силу и (или) крутящий момент, необходимые для рассоединения, а также среднеарифметическое первых пяти измерений силы и (или) крутящего момента.

8.6.1.6 Записывают любые признаки блокировки потока, повреждения или неисправности.

8.6.2 Сила соединения

8.6.2.1 Соединение устанавливают на соответствующей испытательной установке (рисунок 6).

8.6.2.2 Поддерживают рекомендуемое изготовителем рабочее давление в качестве испытательного давления.

8.6.2.3 Прикладывают силу и (или) крутящий момент к втычной части до тех пор, пока втычная часть полностью соединится.

Примечание - В процессе этой операции можно, если необходимо, управлять запирающим механизмом вручную, чтобы обе части могли нормально соединиться.

8.6.2.4 Измеряют силу и (или) крутящий момент, необходимые для соединения.

8.6.2.5 Повторяют испытание пять раз в течение 10 мин.

8.6.2.6 Для определения силы и (или) крутящего момента для соединения находят среднеарифметическое пяти измерений.

8.6.2.7 Записывают любые признаки блокировки потока, повреждения или неисправности.

8.6.3 Измерение утечки при номинальном давлении

8.6.3.1 В рассоединенном состоянии

8.6.3.1.1 Устанавливают снабженную клапаном приемную часть в испытательный сосуд, как показано на рисунке 7.

8.6.3.1.2 Держат перевернутый мерный цилиндр над соединением так, чтобы горловина была ниже поверхности жидкости.

8.6.3.1.3 Поддерживают испытательное давление, равное номинальному.

8.6.3.1.4 Измеряют утечку с погрешностью, соответствующей таблице 4, путем, например, собирания выходящего воздуха перевернутым мерным цилиндром и записывают результат.

8.6.3.1.5 Измеряют объем воздуха, когда уровни жидкости внутри и снаружи мерного цилиндра совпадают.

8.6.3.2 В соединенном состоянии

8.6.3.2.1 Устанавливают соединение в испытательный сосуд, как показано на рисунке 7 (выход из соединения заглушен).

8.6.3.2.2 Прикладывают боковую нагрузку 40 Н, как показано на рисунке 8.

8.6.3.2.3 Поддерживают номинальное давление в течение 5 мин.

8.6.3.2.4 Измеряют и записывают утечку согласно 8.6.3.1.4 и 8.6.3.1.5.

Примечание - Дополнения по А.9 и А. 13.

8.6.4 Испытание предельной температуры при номинальном давлении

8.6.4.1 Максимальная рабочая температура (рассоединенное состояние)

8.6.4.1.1 Используют испытательную установку, подобную показанной на рисунке 9.

8.6.4.1.2 Подвергают приемную часть воздействию максимальной постоянной температуры и номинального давления, рекомендованных изготовителем, в течение 6 ч.

8.6.4.1.3 Позволяют температуре вернуться к уровню температуры окружающей среды (не снижая давления).

8.6.4.1.4 Определяют утечку согласно 8.6.3.1.

8.6.4.2 Максимальная рабочая температура (соединенное состояние)

8.6.4.2.1 Используют испытательную установку, подобную показанной на рисунке 9.

8.6.4.2.2 Подвергают соединение в соединенном состоянии воздействию максимальной постоянной температуры и номинального давления, рекомендованных изготовителем, в течение 6 ч.

8.6.4.2.3 Позволяют температуре вернуться к уровню температуры окружающей среды (не снижая давления).

8.6.4.2.4 Определяют утечку согласно 8.6.3.2.

8.6.4.2.5 Рассоединяют и соединяют соединение, затем перепроверяют утечку.

8.6.4.2.6 Записывают любые признаки деформации или неисправности.

8.6.4.3 Минимальная рабочая температура (рассоединенное состояние)

8.6.4.3.1 Используют испытательную установку, подобную показанной на рисунке 9.

8.6.4.3.2 Подвергают приемную часть воздействию минимальной постоянной температуры и номинального давления, рекомендованных изготовителем, в течение 4 ч.

8.6.4.3.3 Позволяют температуре вернуться к уровню температуры окружающей среды (не снижая давления).

8.6.4.3.4 Определяют утечку согласно 8.6.3.1.

8.6.4.3.5 Соединяют и рассоединяют соединение, затем перепроверяют утечку.

8.6.4.3.6 Записывают любые признаки деформации или неисправности.

8.6.4.4 Минимальная рабочая температура (соединенное состояние)

8.6.4.4.1 Используют испытательную установку, подобную показанной на рисунке 9.

8.6.4.4.2 Подвергают соединение в соединенном состоянии воздействию минимальной постоянной температуры и номинального давления, рекомендованных изготовителем, в течение 4 ч.

8.6.4.4.3 Позволяют температуре вернуться к уровню температуры окружающей среды (не снижая давления).

8.6.4.4.4 Определяют утечку согласно 8.6.3.2.

8.6.4.4.5 Рассоединяют и соединяют соединение, затем перепроверяют утечку.

8.6.4.4.6 Записывают любые признаки деформации или неисправности.

9 Форма записи при ссылке на настоящий стандарт

При ссылке на настоящий стандарт в отчетах об испытаниях, каталогах и торговых проспектах используют следующую форму записи:

«Быстроразъемные соединения соответствуют требованиям ГОСТ 30539-97 «Пневмоприводы. Соединения быстроразъемные на номинальные давления 1,0; 1,6 и 2,5 МПа. Присоединительные размеры, технические требования и методы испытаний».

ПРИЛОЖЕНИЕ А

(рекомендуемое)

Дополнительные требования, отражающие потребности экономики страны

А.1 В быстроразъемных соединениях на 1 МПа типа А, применение которых является предпочтительным по сравнению с типами В и С, должны быть (таблица А.1):

1) допуск на уплотняемый размер d1- h9 (в соответствии с ГОСТ 9833);

2) допуски на размеры; d3 - h11; d5 - h12; l4 - минус 0,1 мм.

Фаску в отверстии (рисунок 1) при герметизации втычной части по диаметру d1 допускается не выполнять.

Значения условного прохода и диаметра отверстия d втычной части соединения типа А приведены в таблице А.1.

Таблица А.1                                                                                                       В миллиметрах

Номинальный размер

6

10

13

15

18

Условный проход DN (Dy)

3

6

8

10

12

Диаметр отверстия d H12

2,8

5,7

7,2

9,5

12

Сторону втычной части для присоединения рукава следует выполнять:

- в виде ниппеля (ерша);

- с наружной резьбой;

- с внутренней резьбой.

Присоединительная резьба - метрическая по ГОСТ 8724; для соединений, поставляемых на экспорт или для замены импортного оборудования, допускается трубная цилиндрическая резьба по ГОСТ 6357.

Любое исполнение конца втычной части для присоединения рукава не должно приводить к сужению отверстия втычной части.

Примечание - Ниппель предназначен для непосредственного присоединения рукава, наружная или внутренняя резьба - для присоединения рукавов, заранее оснащенных соответствующей арматурой.

А.2 В обозначение быстроразъемных соединений следует включить:

- климатическое исполнение по ГОСТ 15150;

- обозначение нормативного документа, по которому изготавливают соединение.

А.3 Пример условного обозначения быстроразъемного соединения с учетом раздела 5 и А.2, выпускаемого по техническим условиям ТУ . . . , климатического исполнения УХЛ4:

Соединение В-15 УХЛ4 ТУ...

А.4 Шероховатость уплотняемой поверхности (рисунок 4) в соответствии с ГОСТ 9833 должна быть не грубее Ra 1,25 мкм.

А.5 С целью обеспечения прочности при приемлемом значении условного прохода для быстроразъемного соединения типа А с номинальным размером 6 мм нагрузку следует ограничить до 1200 Н.

А.6 Герметизация втычной части по диаметру d1 является предпочтительной по сравнению с герметизацией по торцу (рисунки 1-4).

Примечание - В случае герметизации по диаметру d1 торец втычной части не является уплотняемой поверхностью (рисунок 4), и требований по шероховатости к нему не предъявляют.

А.7 В приемной части соединения следует устанавливать запорный клапан.

А.8 Наличие запорного клапана в приемной части исключает необходимость снятия давления при соединении или рассоединении быстроразъемного соединения.

А.9 Допускаемая суммарная погрешность измерений - по ГОСТ 19862.

А.10 Измерения следует проводить при нормальных климатических условиях по ГОСТ 15150; температура (25 ± 10) °С.

А.11 Утечка не должна превышать значения, установленного в соответствии с 6.10.

А.12 Испытания на функционирование проводят путем соединения и рассоединения быстроразъемного соединения не менее трех раз при давлении 0,2 МПа и запертой втычной части. Результаты испытаний оценивают визуально.

А.13 Измерение утечки следует проводить по ГОСТ 19862. Предпочтительным следует считать газовый манометрический компрессионный метод измерения утечки.

Ключевые слова: пневмоприводы, быстроразъемные соединения, размеры, технические требования, методы испытаний

 




ГОСТЫ, СТРОИТЕЛЬНЫЕ и ТЕХНИЧЕСКИЕ НОРМАТИВЫ.
Некоммерческая онлайн система, содержащая все Российские Госты, национальные Стандарты и нормативы.
В Системе содержится более 150000 файлов нормативно-технической документации, действующей на территории РФ.
Система предназначена для широкого круга инженерно-технических специалистов.

Рейтинг@Mail.ru Яндекс цитирования

Copyright © www.gostrf.com, 2008 - 2026