Крупнейшая бесплатная информационно-справочная система онлайн доступа к полному собранию технических нормативно-правовых актов РФ. Огромная база технических нормативов (более 150 тысяч документов) и полное собрание национальных стандартов, аутентичное официальной базе Госстандарта. GOSTRF.com - это более 1 Терабайта бесплатной технической информации для всех пользователей интернета. Все электронные копии представленных здесь документов могут распространяться без каких-либо ограничений. Поощряется распространение информации с этого сайта на любых других ресурсах. Каждый человек имеет право на неограниченный доступ к этим документам! Каждый человек имеет право на знание требований, изложенных в данных нормативно-правовых актах!

  


 

ГОСТ 20321-74

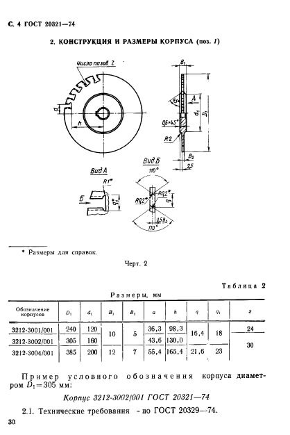
Фрезы дисковые со вставными ножами, оснащенные твердосплавными пластинами, для разрезки пластмасс типов гетинакс, текстолит и стеклопластиков. Конструкция и размеры

Обозначение:ГОСТ 20321-74
Текущий статус документа: действующий
Название документа рус.:Фрезы дисковые со вставными ножами, оснащенные твердосплавными пластинами, для разрезки пластмасс типов гетинакс, текстолит и стеклопластиков. Конструкция и размеры
Название документа англ.:Disk type milling cutters with inserted carbide blades for cutting plastics micarta, textolite and glass plastics types. Construction and dimensions
Дата актуализации текста:01.12.2013
Дата издания:01.12.1987
Дата введения:01.01.1976
Дата последнего изменения:22.05.2013
Переиздание:переиздание с изм. 1
Взамен:МН 3644-62
Область применения:Настоящий стандарт распространяется на дисковые фрезы со вставными ножами, оснащенными твердосплавными пластинами, диаметром от 250 до 400 мм, предназначенные для разрезки пластмасс типов гетинакс, текстолит и стеклопластиков на основе стеклотканей, стекловолокна и асботекстолита
Список изменений:№1 от 01.03.1981 (рег. 30.09.1989) «Срок действия продлен»
ГОСТ 20321-74ГОСТ 20321-74ГОСТ 20321-74ГОСТ 20321-74
 




ГОСТЫ, СТРОИТЕЛЬНЫЕ и ТЕХНИЧЕСКИЕ НОРМАТИВЫ.
Некоммерческая онлайн система, содержащая все Российские Госты, национальные Стандарты и нормативы.
В Системе содержится более 150000 файлов нормативно-технической документации, действующей на территории РФ.
Система предназначена для широкого круга инженерно-технических специалистов.

Рейтинг@Mail.ru Яндекс цитирования

Copyright © www.gostrf.com, 2008 - 2026