Крупнейшая бесплатная информационно-справочная система онлайн доступа к полному собранию технических нормативно-правовых актов РФ. Огромная база технических нормативов (более 150 тысяч документов) и полное собрание национальных стандартов, аутентичное официальной базе Госстандарта. GOSTRF.com - это более 1 Терабайта бесплатной технической информации для всех пользователей интернета. Все электронные копии представленных здесь документов могут распространяться без каких-либо ограничений. Поощряется распространение информации с этого сайта на любых других ресурсах. Каждый человек имеет право на неограниченный доступ к этим документам! Каждый человек имеет право на знание требований, изложенных в данных нормативно-правовых актах!

  


 

ГОСТ 19191-73

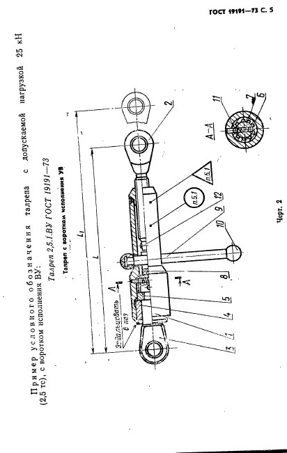
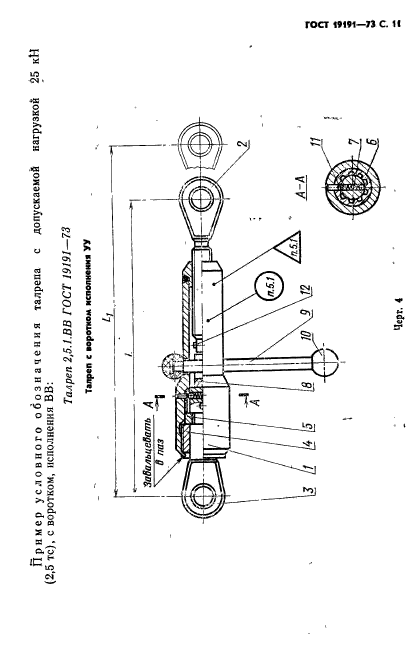
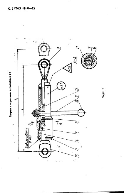
Талрепы с автоматическим стопорением. Технические условия

Обозначение:ГОСТ 19191-73
Текущий статус документа: действующий
Название документа рус.:Талрепы с автоматическим стопорением. Технические условия
Название документа англ.:Rigging screws with automatic stopping. Specifications
Дата актуализации текста:01.12.2013
Дата издания:01.07.1989
Дата введения:01.01.1975
Дата последнего изменения:22.05.2013
Переиздание:переиздание с изм. 1
Область применения:Настоящий стандарт распространяется на талрепы с автоматическим стопорением от самоотвинчивания, предназначенные для жесткого разъемного закрепления контейнеров и других подобных грузов, работающие при температуре от плюс 50 до минус 50 град. С.
Стандарт не распространяется на талрепы, скрепляющие контейнеры гибкими связями (канатами, тросами, цепями и т.д.), а также на талрепы, работающие в условиях тропического климата, агрессивных средствах и влажности более 98% при 20 град. С
Список изменений:№1 от 01.01.1984 (рег. 14.02.1983) «Срок действия продлен»
№2 от 01.01.1989 (рег. 24.06.1988) «Срок действия продлен»
ГОСТ 19191-73ГОСТ 19191-73ГОСТ 19191-73ГОСТ 19191-73ГОСТ 19191-73ГОСТ 19191-73ГОСТ 19191-73ГОСТ 19191-73ГОСТ 19191-73ГОСТ 19191-73ГОСТ 19191-73ГОСТ 19191-73ГОСТ 19191-73ГОСТ 19191-73ГОСТ 19191-73ГОСТ 19191-73ГОСТ 19191-73ГОСТ 19191-73ГОСТ 19191-73ГОСТ 19191-73ГОСТ 19191-73ГОСТ 19191-73ГОСТ 19191-73ГОСТ 19191-73ГОСТ 19191-73ГОСТ 19191-73ГОСТ 19191-73ГОСТ 19191-73ГОСТ 19191-73ГОСТ 19191-73ГОСТ 19191-73ГОСТ 19191-73ГОСТ 19191-73ГОСТ 19191-73ГОСТ 19191-73ГОСТ 19191-73ГОСТ 19191-73ГОСТ 19191-73ГОСТ 19191-73ГОСТ 19191-73ГОСТ 19191-73ГОСТ 19191-73ГОСТ 19191-73ГОСТ 19191-73
 




ГОСТЫ, СТРОИТЕЛЬНЫЕ и ТЕХНИЧЕСКИЕ НОРМАТИВЫ.
Некоммерческая онлайн система, содержащая все Российские Госты, национальные Стандарты и нормативы.
В Системе содержится более 150000 файлов нормативно-технической документации, действующей на территории РФ.
Система предназначена для широкого круга инженерно-технических специалистов.

Рейтинг@Mail.ru Яндекс цитирования

Copyright © www.gostrf.com, 2008 - 2026