Крупнейшая бесплатная информационно-справочная система онлайн доступа к полному собранию технических нормативно-правовых актов РФ. Огромная база технических нормативов (более 150 тысяч документов) и полное собрание национальных стандартов, аутентичное официальной базе Госстандарта. GOSTRF.com - это более 1 Терабайта бесплатной технической информации для всех пользователей интернета. Все электронные копии представленных здесь документов могут распространяться без каких-либо ограничений. Поощряется распространение информации с этого сайта на любых других ресурсах. Каждый человек имеет право на неограниченный доступ к этим документам! Каждый человек имеет право на знание требований, изложенных в данных нормативно-правовых актах!

  


 

ГОСТ 18210-72

Пилы дисковые сегментные для легких сплавов. Технические условия

Обозначение:ГОСТ 18210-72
Текущий статус документа: действующий
Название документа рус.:Пилы дисковые сегментные для легких сплавов. Технические условия
Название документа англ.:Disk segment saws for light alloys. Specifications
Дата актуализации текста:01.12.2013
Дата издания:15.01.1973
Дата введения:01.01.1974
Дата последнего изменения:22.05.2013
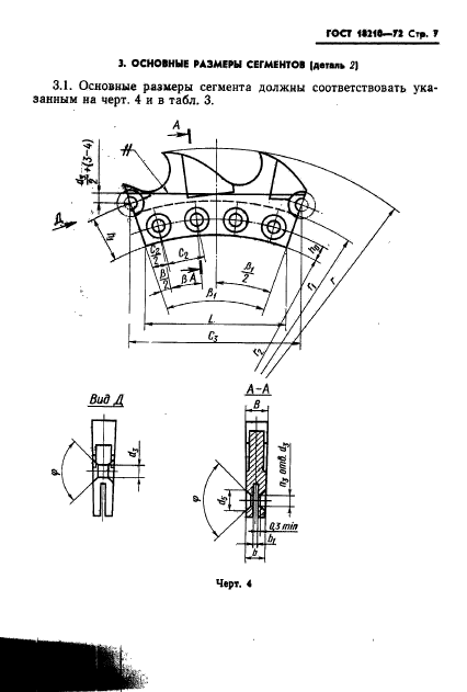
Область применения:Настоящий стандарт распространяется на пилы круглые сегментные диаметром от 710 до 3000 мм, предназначенные для разрезки заготовок из легких сплавов
Список изменений:№1 от 01.04.1979 (рег. 15.11.1978) «Срок действия продлен»
№2 от 01.09.1984 (рег. 20.04.1984) «Срок действия продлен»
№3 от 01.09.1990 (рег. 22.01.1990) «Поправка»
ГОСТ 18210-72ГОСТ 18210-72ГОСТ 18210-72ГОСТ 18210-72ГОСТ 18210-72ГОСТ 18210-72ГОСТ 18210-72ГОСТ 18210-72ГОСТ 18210-72ГОСТ 18210-72ГОСТ 18210-72ГОСТ 18210-72ГОСТ 18210-72ГОСТ 18210-72ГОСТ 18210-72ГОСТ 18210-72ГОСТ 18210-72ГОСТ 18210-72ГОСТ 18210-72ГОСТ 18210-72ГОСТ 18210-72ГОСТ 18210-72ГОСТ 18210-72ГОСТ 18210-72ГОСТ 18210-72ГОСТ 18210-72ГОСТ 18210-72ГОСТ 18210-72ГОСТ 18210-72ГОСТ 18210-72ГОСТ 18210-72
 




ГОСТЫ, СТРОИТЕЛЬНЫЕ и ТЕХНИЧЕСКИЕ НОРМАТИВЫ.
Некоммерческая онлайн система, содержащая все Российские Госты, национальные Стандарты и нормативы.
В Системе содержится более 150000 файлов нормативно-технической документации, действующей на территории РФ.
Система предназначена для широкого круга инженерно-технических специалистов.

Рейтинг@Mail.ru Яндекс цитирования

Copyright © www.gostrf.com, 2008 - 2026