Крупнейшая бесплатная информационно-справочная система онлайн доступа к полному собранию технических нормативно-правовых актов РФ. Огромная база технических нормативов (более 150 тысяч документов) и полное собрание национальных стандартов, аутентичное официальной базе Госстандарта. GOSTRF.com - это более 1 Терабайта бесплатной технической информации для всех пользователей интернета. Все электронные копии представленных здесь документов могут распространяться без каких-либо ограничений. Поощряется распространение информации с этого сайта на любых других ресурсах. Каждый человек имеет право на неограниченный доступ к этим документам! Каждый человек имеет право на знание требований, изложенных в данных нормативно-правовых актах!

  


 

ГОСТ 19871-83

Каналы изображения аппаратно-студийного комплекса и передвижной телевизионной станции вещательного телевидения. Основные параметры и методы измерений

Обозначение:ГОСТ 19871-83
Текущий статус документа: действующий
Название документа рус.:Каналы изображения аппаратно-студийного комплекса и передвижной телевизионной станции вещательного телевидения. Основные параметры и методы измерений
Название документа англ.:Picture channels of production apparatus area and outside broadcast unit of broadcast television. Basic parameters and measuring methods
Дата актуализации текста:01.12.2013
Дата издания:26.10.1983
Дата введения:30.06.1984
Дата последнего изменения:22.05.2013
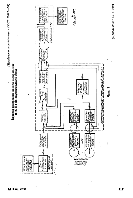
Область применения:Настоящий стандарт распространяется на каналы изображения аппаратно-студийных комплексов (АСК ЦТ) и передвижных телевизионных станций (ПТС ЦТ) аналогового цветного вещательного телевидения, разработанных до 1985 г., и устанавливает основные параметры каналов изображения АСК ЦТ и ПТС ЦТ и методы их измерений.
Стандарт не распространяется на:
каналы изображения, в которых производятся запись и воспроизведение телевизионных сигналов;
каналы изображения, в которых производится преобразование систем цветного телевидения;
каналы изображения, в которых используются репортажные телевизионные датчики;
каналы изображения репортажных телевизионных станций
Список изменений:№0 от 23.12.1988 (рег. 23.12.1988) «Срок действия продлен»
№1 от 01.04.1990 (рег. 17.10.1989) «Срок действия продлен»
ГОСТ 19871-83ГОСТ 19871-83ГОСТ 19871-83ГОСТ 19871-83ГОСТ 19871-83ГОСТ 19871-83ГОСТ 19871-83ГОСТ 19871-83ГОСТ 19871-83ГОСТ 19871-83ГОСТ 19871-83ГОСТ 19871-83ГОСТ 19871-83ГОСТ 19871-83ГОСТ 19871-83ГОСТ 19871-83ГОСТ 19871-83ГОСТ 19871-83ГОСТ 19871-83ГОСТ 19871-83ГОСТ 19871-83ГОСТ 19871-83ГОСТ 19871-83ГОСТ 19871-83ГОСТ 19871-83ГОСТ 19871-83ГОСТ 19871-83ГОСТ 19871-83ГОСТ 19871-83ГОСТ 19871-83ГОСТ 19871-83ГОСТ 19871-83ГОСТ 19871-83ГОСТ 19871-83ГОСТ 19871-83ГОСТ 19871-83ГОСТ 19871-83ГОСТ 19871-83ГОСТ 19871-83ГОСТ 19871-83ГОСТ 19871-83ГОСТ 19871-83ГОСТ 19871-83ГОСТ 19871-83ГОСТ 19871-83ГОСТ 19871-83ГОСТ 19871-83
 




ГОСТЫ, СТРОИТЕЛЬНЫЕ и ТЕХНИЧЕСКИЕ НОРМАТИВЫ.
Некоммерческая онлайн система, содержащая все Российские Госты, национальные Стандарты и нормативы.
В Системе содержится более 150000 файлов нормативно-технической документации, действующей на территории РФ.
Система предназначена для широкого круга инженерно-технических специалистов.

Рейтинг@Mail.ru Яндекс цитирования

Copyright © www.gostrf.com, 2008 - 2026