Крупнейшая бесплатная информационно-справочная система онлайн доступа к полному собранию технических нормативно-правовых актов РФ. Огромная база технических нормативов (более 150 тысяч документов) и полное собрание национальных стандартов, аутентичное официальной базе Госстандарта. GOSTRF.com - это более 1 Терабайта бесплатной технической информации для всех пользователей интернета. Все электронные копии представленных здесь документов могут распространяться без каких-либо ограничений. Поощряется распространение информации с этого сайта на любых других ресурсах. Каждый человек имеет право на неограниченный доступ к этим документам! Каждый человек имеет право на знание требований, изложенных в данных нормативно-правовых актах!

  


 

ГОСТ Р 53442-2009

Основные нормы взаимозаменяемости. Характеристики изделий геометрические. Допуски формы, ориентации, месторасположения и биения

Обозначение:ГОСТ Р 53442-2009
Текущий статус документа: действующий
Название документа рус.:Основные нормы взаимозаменяемости. Характеристики изделий геометрические. Допуски формы, ориентации, месторасположения и биения
Название документа англ.:Basic norms of interchangeability. Geometrical product specifications. Tolerances of form, orientation, location and run-out
Дата актуализации текста:01.12.2013
Дата издания:04.10.2010
Дата введения:01.01.2012
Дата последнего изменения:20.06.2013
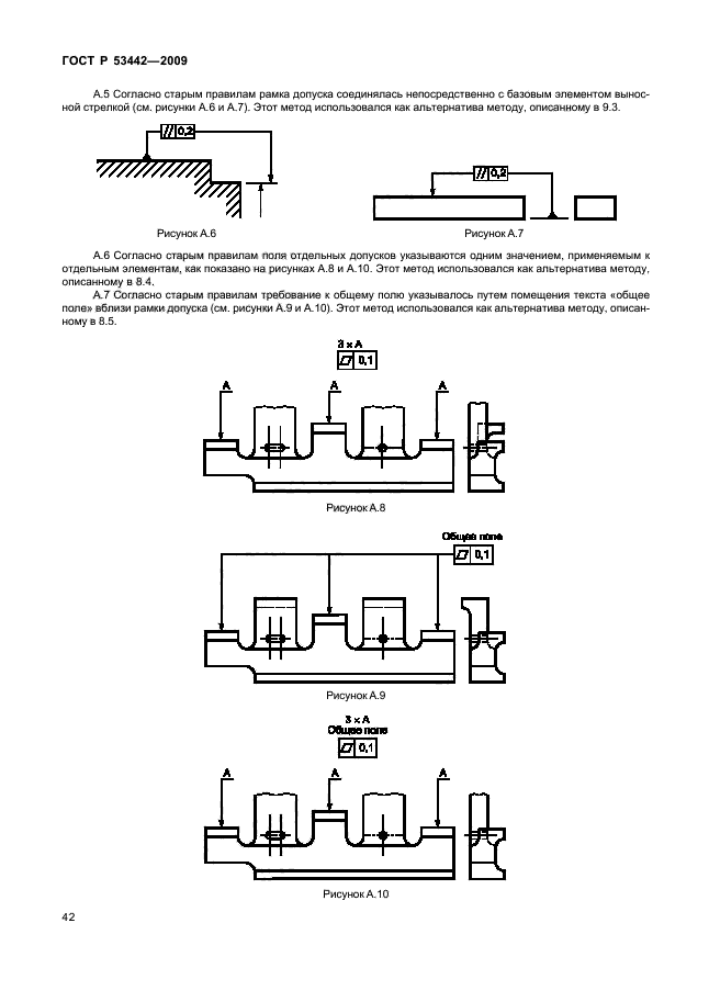
Область применения:Настоящий стандарт распространяется на нормирование геометрических характеристик изделий и устанавливает определения и правила указания на чертежах допусков формы, ориентации, месторасположения и биения
ГОСТ Р 53442-2009ГОСТ Р 53442-2009ГОСТ Р 53442-2009ГОСТ Р 53442-2009ГОСТ Р 53442-2009ГОСТ Р 53442-2009ГОСТ Р 53442-2009ГОСТ Р 53442-2009ГОСТ Р 53442-2009ГОСТ Р 53442-2009ГОСТ Р 53442-2009ГОСТ Р 53442-2009ГОСТ Р 53442-2009ГОСТ Р 53442-2009ГОСТ Р 53442-2009ГОСТ Р 53442-2009ГОСТ Р 53442-2009ГОСТ Р 53442-2009ГОСТ Р 53442-2009ГОСТ Р 53442-2009ГОСТ Р 53442-2009ГОСТ Р 53442-2009ГОСТ Р 53442-2009ГОСТ Р 53442-2009ГОСТ Р 53442-2009ГОСТ Р 53442-2009ГОСТ Р 53442-2009ГОСТ Р 53442-2009ГОСТ Р 53442-2009ГОСТ Р 53442-2009ГОСТ Р 53442-2009ГОСТ Р 53442-2009ГОСТ Р 53442-2009ГОСТ Р 53442-2009ГОСТ Р 53442-2009ГОСТ Р 53442-2009ГОСТ Р 53442-2009ГОСТ Р 53442-2009ГОСТ Р 53442-2009ГОСТ Р 53442-2009ГОСТ Р 53442-2009ГОСТ Р 53442-2009ГОСТ Р 53442-2009ГОСТ Р 53442-2009ГОСТ Р 53442-2009ГОСТ Р 53442-2009ГОСТ Р 53442-2009ГОСТ Р 53442-2009ГОСТ Р 53442-2009ГОСТ Р 53442-2009ГОСТ Р 53442-2009
 




ГОСТЫ, СТРОИТЕЛЬНЫЕ и ТЕХНИЧЕСКИЕ НОРМАТИВЫ.
Некоммерческая онлайн система, содержащая все Российские Госты, национальные Стандарты и нормативы.
В Системе содержится более 150000 файлов нормативно-технической документации, действующей на территории РФ.
Система предназначена для широкого круга инженерно-технических специалистов.

Рейтинг@Mail.ru Яндекс цитирования

Copyright © www.gostrf.com, 2008 - 2026