| |
МЕЖГОСУДАРСТВЕННЫЙ СОВЕТ ПО СТАНДАРТИЗАЦИИ,
МЕТРОЛОГИИ И СЕРТИФИКАЦИИ
(МГС)
INTERSTATE COUNCIL FOR
STANDARDIZATION,
METROLOGY AND CERTIFICATION
(ISC)
|
МЕЖГОСУДАРСТВЕННЫЙ
СТАНДАРТ
|
ГОСТ
24705-
2004
(ИСО 724:1993)
|
ОСНОВНЫЕ
НОРМЫ ВЗАИМОЗАМЕНЯЕМОСТИ
РЕЗЬБА МЕТРИЧЕСКАЯ
ОСНОВНЫЕ
РАЗМЕРЫ
ISO 724:1993
ISO GENERAL-PURPOSE METRIC SCREW THREADS -
BASIC DIMENSIONS
(MOD)
Москва
Стандартинформ
2005
Предисловие
Цели, основные принципы и основной порядок
проведения работ по межгосударственной стандартизации установлены ГОСТ
1.0-92 «Межгосударственная система стандартизации. Основные положения», ГОСТ
1.2-97 «Межгосударственная система стандартизации. Стандарты
межгосударственные, правила, рекомендации по межгосударственной стандартизации.
Порядок разработки, принятия, применения, обновления и отмены»
Сведения
о стандарте
1 РАЗРАБОТАН Открытым акционерным обществом
«Научно-исследовательским и конструкторским институтом средств измерения в
машиностроении» (ОАО «НИИизмерения»)
2 ВНЕСЕН Госстандартом России
3 ПРИНЯТ
Межгосударственным советом по стандартизации, метрологии и сертификации
(протокол № 25 от 26 мая 2004 г.)
За принятие проголосовали:
|
Краткое наименование
страны по МК(ИСО 3166) 004-97
|
Код страны по МК (ИСО
3166) 004-97
|
Сокращенное наименование
национального органа по стандартизации
|
|
Азербайджан
|
AZ
|
Азстандарт
|
|
Армения
|
AM
|
Армстандарт
|
|
Беларусь
|
BY
|
Госстандарт
Республики Беларусь
|
|
Грузия
|
GE
|
Грузстандарт
|
|
Казахстан
|
KZ
|
Госстандарт
Республики Казахстан
|
|
Кыргызстан
|
KG
|
Кыргызстандарт
|
|
Молдова
|
MD
|
Молдова-Стандарт
|
|
Российская
Федерация
|
RU
|
Госстандарт
России
|
|
Таджикистан
|
TJ
|
Таджикстандарт
|
|
Туркменистан
|
TM
|
Главгосслужба
«Туркменстандартлары»
|
|
Узбекистан
|
UZ
|
Узстандарт
|
|
Украина
|
UA
|
Госпотребстандарт
Украины
|
4
Настоящий стандарт является модифицированным по отношению к международному
стандарту ИСО 724:1993 «Резьба метрическая ИСО общего назначения. Основные размеры» (ISO 724:1993 «ISO general-purpose metric
screw threads - Basic dimensions». При этом дополнительные положения,
учитывающие потребности национальной экономики указанных выше государств и
особенности межгосударственной стандартизации, выделены курсивом
5 Приказом Федерального агентства по техническому
регулированию и метрологии от 2 марта 2005 г. № 36-ст межгосударственный
стандарт ГОСТ 24705-2004 введен в действие непосредственно в качестве
национального стандарта Российской Федерации с 1 июля 2005 г.
6 ВЗАМЕН ГОСТ
24705-81
Информация о введении в
действие (прекращении действия) настоящего стандарта публикуется в указателе
«Национальные стандарты».
Информация об изменениях к
настоящему стандарту публикуется в указателе «Национальные стандарты», а текст
изменений - в информационных
указателях «Национальные стандарты». В случае пересмотра или отмены настоящего
стандарта соответствующая информация будет опубликована в информационном
указателе «Национальные стандарты»
СОДЕРЖАНИЕ
ГОСТ 24705-2004
(ИСО 724:1993)
МЕЖГОСУДАРСТВЕННЫЙ СТАНДАРТ
Основные нормы
взаимозаменяемости
РЕЗЬБА
МЕТРИЧЕСКАЯ
Основные
размеры
Basic norms
of interchangeability. Metric screw thread. Basic dimensions
Дата введения - 2005-07-01
Настоящий стандарт распространяется на метрические резьбы общего
назначения с профилем по ГОСТ
9150, диаметрами и шагами по ГОСТ
8724.
2 Нормативные ссылки
В настоящем стандарте использованы ссылки на следующие
межгосударственные стандарты:
ГОСТ
8724-2002 Основные нормы взаимозаменяемости. Резьба метрическая. Диаметры и
шаги (ИСО 261-1998 «Метрическая резьба ИСО общего применения - Диаметры и шаги»
(NEQ))
ГОСТ
9150-2002 Основные нормы взаимозаменяемости. Резьба метрическая. Профиль
(ИСО 68-1:1998 «Резьбы ИСО общего назначения - Основной профиль - Часть 1:
Метрическая резьба» (NEQ))
ГОСТ
11708-82 Основные нормы взаимозаменяемости. Резьба. Термины и определения
ГОСТ
16093-2004 Основные нормы взаимозаменяемости. Резьба метрическая. Допуски.
Посадки с зазором (ИСО 965-1:1998 «Резьба метрическая ИСО общего назначения - Допуски
- Часть 1: Общие положения и основные данные» (NEQ), ИСО 965-3:1998 «Резьба метрическая
ИСО общего назначения - Допуски - Часть 3: Предельные отклонения для
конструкционных резьб» (NEQ))
Примечание - При пользовании настоящим стандартом
целесообразно проверить действие ссылочных стандартов по указателю
«Национальные стандарты, составленному по состоянию на 1 января текущего года и
по соответствующим информационным указателям, опубликованным в текущем году. Если
ссылочный стандарт заменен (изменен), то при пользовании настоящим стандартом
следует руководствоваться замененным (измененным) стандартом. Если ссылочный
стандарт отменен без замены, то положение, в котором дана ссылка на него,
применяется в части, не затрагивающей эту ссылку.
3.1 Термины и определения для резьбы: по ГОСТ
11708.
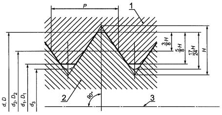
3.2 В настоящем стандарте приняты следующие обозначения:
D - номинальный наружный диаметр внутренней резьбы (номинальный
диаметр резьбы), мм;
d - номинальный наружный диаметр наружной резьбы (номинальный
диаметр резьбы), мм;
D2 - номинальный средний диаметр внутренней резьбы, мм;
d2 - номинальный средний диаметр наружной резьбы, мм;
D1 - номинальный внутренний диаметр внутренней резьбы,
мм;
d1 - номинальный внутренний диаметр наружной резьбы,
мм;
d3 - номинальный внутренний диаметр наружной резьбы по
дну впадины (для расчета напряжений), мм;
Н - высота исходного треугольника резьбы, мм;
Р - шаг резьбы, мм.
4.1 Номинальные значения наружного, среднего и внутреннего диаметров
резьбы должны соответствовать указанным на рисунке 1 и в таблице 1.

1 - внутренняя резьба; 2 - наружная резьба; 3 - ось резьбы
Рисунок 1
4.2 Значения диаметров вычисляют по формулам:
(1)
(2)
(3)
(4)
(5)
Примечание - Номинальные значения
диаметра d3 приведены для расчетов прочности и определены
исходя из среза по впадине наружной резьбы . При расчетах прочности следует учитывать верхнее
отклонение es среднего диаметра d2 по ГОСТ
16093:
(6)
Таблица 1
В
миллиметрах
|
Номинальный диаметр
резьбы D, наружный диаметр резьбы d
|
Шаг Р
|
Средний
диаметр D2, d2
|
Внутренний
диаметр, D1, d1
|
Внутренний
диаметр по дну впадины d3
|
|
0,25
|
0,075
|
0,201
|
0,169
|
0,158
|
|
0,3
|
0,08
|
0,248
|
0,213
|
0,202
|
|
0,35
|
0,09
|
0,292
|
0,253
|
0,240
|
|
0,4
|
0,1
|
0,335
|
0,292
|
0,277
|
|
0,45
|
0,1
|
0,385
|
0,342
|
0,327
|
|
0,5
|
0,125
|
0,419
|
0,365
|
0,347
|
|
0,55
|
0,125
|
0,469
|
0,415
|
0,397
|
|
0,6
|
0,15
|
0,503
|
0,438
|
0,416
|
|
0,7
|
0,175
|
0,586
|
0,511
|
0,485
|
|
0,8
|
0,2
|
0,670
|
0,583
|
0,555
|
|
0,9
|
0,225
|
0,754
|
0,656
|
0,624
|
|
1
|
0,25
|
0,838
|
0,729
|
0,693
|
|
0,2
|
0,870
|
0,783
|
0,755
|
|
1,1
|
0,25
|
0,938
|
0,829
|
0,793
|
|
0,2
|
0,970
|
0,883
|
0,855
|
|
1,2
|
0,25
|
1,038
|
0,929
|
0,893
|
|
0,2
|
1,070
|
0,983
|
0,955
|
|
1,4
|
0,3
|
1,205
|
1,075
|
1,032
|
|
0,2
|
1,270
|
1,183
|
1,155
|
|
1,6
|
0,35
|
1,373
|
1,221
|
1,171
|
|
0,2
|
1,470
|
1,383
|
1,355
|
|
1,8
|
0,35
|
1,573
|
1,421
|
1,371
|
|
0,2
|
1,670
|
1,583
|
1,555
|
|
2
|
0,4
|
1,740
|
1,567
|
1,509
|
|
0,25
|
1,838
|
1,729
|
1,693
|
|
2,2
|
0,45
|
1,908
|
1,713
|
1,648
|
|
0,25
|
2,038
|
1,929
|
1,893
|
|
2,5
|
0,45
|
2,208
|
2,013
|
1,948
|
|
0,35
|
2,273
|
2,121
|
2,071
|
|
3
|
0,5
|
2,675
|
2,459
|
2,387
|
|
0,35
|
2,773
|
2,621
|
2,571
|
|
3,5
|
0,6
|
3,110
|
2,850
|
2,764
|
|
0,35
|
3,273
|
3,121
|
3,071
|
|
4
|
0,7
|
3,545
|
3,242
|
3,141
|
|
0,5
|
3,675
|
3,459
|
3,387
|
|
4,5
|
0,75
|
4,013
|
3,688
|
3,580
|
|
0,5
|
4,175
|
3,959
|
3,887
|
|
5
|
0,8
|
4,480
|
4,134
|
4,019
|
|
0,5
|
4,675
|
4,459
|
4,387
|
|
5,5
|
0,5
|
5,175
|
4,959
|
4,887
|
|
6
|
1
|
5,350
|
4,917
|
4,773
|
|
0,75
|
5,513
|
5,188
|
5,080
|
|
0,5
|
5,675
|
5,459
|
5,387
|
|
7
|
1
|
6,350
|
5,917
|
5,773
|
|
0,75
|
6,513
|
6,188
|
6,080
|
|
0,5
|
6,675
|
6,459
|
6,387
|
|
8
|
1,25
|
7,188
|
6,647
|
6,466
|
|
1
|
7,350
|
6,917
|
6,773
|
|
0,75
|
7,513
|
7,188
|
7,080
|
|
0,5
|
7,675
|
7,459
|
7,387
|
|
9
|
1,25
|
8,188
|
7,647
|
7,466
|
|
1
|
8,350
|
7,917
|
7,773
|
|
0,75
|
8,513
|
8,188
|
8,080
|
|
0,5
|
8,675
|
8,459
|
8,387
|
|
10
|
1,5
|
9,026
|
8,376
|
8,160
|
|
1,25
|
9,188
|
8,647
|
8,466
|
|
1
|
9,350
|
8,917
|
8,773
|
|
0,75
|
9,513
|
9,188
|
9,080
|
|
0,5
|
9,675
|
9,459
|
9,387
|
|
11
|
1,5
|
10,026
|
9,376
|
9,160
|
|
1
|
10,350
|
9,917
|
9,773
|
|
0,75
|
10,513
|
10,188
|
10,080
|
|
0,5
|
10,675
|
10,459
|
10,387
|
|
12
|
1,75
|
10,863
|
10,106
|
9,853
|
|
1,5
|
11,026
|
10,376
|
10,160
|
|
1,25
|
11,188
|
10,647
|
10,466
|
|
1
|
11,350
|
10,917
|
10,773
|
|
0,75
|
11,513
|
11,188
|
11,080
|
|
0,5
|
11,675
|
11,459
|
11,387
|
|
14
|
2
|
12,701
|
11,835
|
11,546
|
|
1,5
|
13,026
|
12,376
|
12,160
|
|
1,25
|
13,188
|
12,647
|
12,466
|
|
1
|
13,350
|
12,917
|
12,773
|
|
0,75
|
13,513
|
13,188
|
13,080
|
|
0,5
|
13,675
|
13,459
|
13,387
|
|
15
|
1,5
|
14,026
|
13,376
|
13,160
|
|
1
|
14,350
|
13,917
|
13,773
|
|
16
|
2
|
14,701
|
13,835
|
13,546
|
|
1,5
|
15,026
|
14,376
|
14,160
|
|
1
|
15,350
|
14,917
|
14,773
|
|
0,75
|
15,513
|
15,188
|
15,080
|
|
0,5
|
15,675
|
15,459
|
15,387
|
|
17
|
1,5
|
16,026
|
15,376
|
15,160
|
|
1
|
16,350
|
15,917
|
15,773
|
|
18
|
2,5
|
16,376
|
15,294
|
14,933
|
|
2
|
16,701
|
15,835
|
15,546
|
|
1,5
|
17,026
|
16,376
|
16,160
|
|
1
|
17,350
|
16,917
|
16,773
|
|
0,75
|
17,513
|
17,188
|
17,080
|
|
0,5
|
17,675
|
17,459
|
17,387
|
|
20
|
2,5
|
18,376
|
17,294
|
16,933
|
|
2
|
18,701
|
17,835
|
17,546
|
|
1,5
|
19,026
|
18,376
|
18,160
|
|
1
|
19,350
|
18,917
|
18,773
|
|
0,75
|
19,513
|
19,188
|
19,080
|
|
0,5
|
19,675
|
19,459
|
19,387
|
|
22
|
2,5
|
20,376
|
19,294
|
18,933
|
|
2
|
20,701
|
19,835
|
19,546
|
|
1,5
|
21,026
|
20,376
|
20,160
|
|
1
|
21,350
|
20,917
|
20,773
|
|
0,75
|
21,513
|
21,188
|
21,080
|
|
0,5
|
21,675
|
21,459
|
21,387
|
|
24
|
3
|
22,051
|
20,752
|
20,319
|
|
2
|
22,701
|
21,835
|
21,546
|
|
1,5
|
23,026
|
22,376
|
22,160
|
|
1
|
23,350
|
22,917
|
22,773
|
|
0,75
|
23,513
|
23,188
|
23,080
|
|
25
|
2
|
23,701
|
22,835
|
22,546
|
|
1,5
|
24,026
|
23,376
|
23,160
|
|
1
|
24,350
|
23,917
|
23,773
|
|
26
|
1,5
|
25,026
|
24,376
|
24,160
|
|
27
|
3
|
25,051
|
23,752
|
23,319
|
|
2
|
25,701
|
24,835
|
24,546
|
|
1,5
|
26,026
|
25,376
|
25,160
|
|
1
|
26,350
|
25,917
|
25,773
|
|
0,75
|
26,513
|
26,188
|
26,080
|
|
28
|
2
|
26,701
|
25,835
|
25,546
|
|
1,5
|
27,026
|
26,376
|
26,160
|
|
1
|
27,350
|
26,917
|
26,773
|
|
30
|
3,5
|
27,727
|
26,211
|
25,706
|
|
3
|
28,051
|
26,752
|
26,319
|
|
2
|
28,701
|
27,835
|
27,546
|
|
1,5
|
29,026
|
28,376
|
28,160
|
|
1
|
29,350
|
28,917
|
28,773
|
|
0,75
|
29,513
|
29,188
|
29,080
|
|
32
|
2
|
30,701
|
29,835
|
29,546
|
|
1,5
|
31,026
|
30,376
|
30,160
|
|
33
|
3,5
|
30,727
|
29,211
|
28,706
|
|
3
|
31,051
|
29,752
|
29,319
|
|
2
|
31,701
|
30,835
|
30,546
|
|
1,5
|
32,026
|
31,376
|
31,160
|
|
1
|
32,350
|
31,917
|
31,773
|
|
0,75
|
32,513
|
32,188
|
32,080
|
|
35
|
1,5
|
34,026
|
33,376
|
33,160
|
|
36
|
4
|
33,402
|
31,670
|
31,093
|
|
3
|
34,051
|
32,752
|
32,319
|
|
2
|
34,701
|
33,835
|
33,546
|
|
1,5
|
35,026
|
34,376
|
34,160
|
|
1
|
35,350
|
34,917
|
34,773
|
|
38
|
1,5
|
37,026
|
36,376
|
36,160
|
|
39
|
4
|
36,402
|
34,670
|
34,093
|
|
3
|
37,051
|
35,752
|
35,319
|
|
2
|
37,701
|
36,835
|
36,546
|
|
1,5
|
38,026
|
37,376
|
37,160
|
|
1
|
38,350
|
37,917
|
37,773
|
|
40
|
3
|
38,051
|
36,752
|
36,319
|
|
2
|
38,701
|
37,835
|
37,546
|
|
1,5
|
39,026
|
38,376
|
38,160
|
|
42
|
4,5
|
39,077
|
37,129
|
36,479
|
|
4
|
39,402
|
37,670
|
37,093
|
|
3
|
40,051
|
38,752
|
38,319
|
|
2
|
40,701
|
39,835
|
39,546
|
|
1,5
|
41,026
|
40,376
|
40,160
|
|
1
|
41,350
|
40,917
|
40,773
|
|
45
|
4,5
|
42,077
|
40,129
|
39,479
|
|
4
|
42,402
|
40,670
|
40,093
|
|
3
|
43,051
|
41,752
|
41,319
|
|
2
|
43,701
|
42,835
|
42,546
|
|
1,5
|
44,026
|
43,376
|
43,160
|
|
1
|
44,350
|
43,917
|
43,773
|
|
48
|
5
|
44,752
|
42,587
|
41,866
|
|
4
|
45,402
|
43,670
|
43,093
|
|
3
|
46,051
|
44,752
|
44,319
|
|
2
|
46,701
|
45,835
|
45,546
|
|
1,5
|
47,026
|
46,376
|
46,160
|
|
1
|
47,350
|
46,917
|
46,773
|
|
50
|
3
|
48,051
|
46,752
|
46,319
|
|
2
|
48,701
|
47,835
|
47,546
|
|
1,5
|
49,026
|
48,376
|
48,160
|
|
52
|
5
|
48,752
|
46,587
|
45,866
|
|
4
|
49,402
|
47,670
|
47,093
|
|
3
|
50,051
|
48,752
|
48,319
|
|
2
|
50,701
|
49,835
|
49,546
|
|
1,5
|
51,026
|
50,376
|
50,160
|
|
1
|
51,350
|
50,917
|
50,773
|
|
55
|
4
|
52,402
|
51,670
|
50,093
|
|
3
|
53,051
|
51,752
|
51,319
|
|
2
|
53,701
|
52,835
|
52,546
|
|
1,5
|
54,026
|
53,376
|
53,160
|
|
56
|
5,5
|
52,428
|
50,046
|
49,252
|
|
4
|
53,402
|
51,670
|
51,093
|
|
3
|
54,051
|
52,752
|
52,319
|
|
2
|
54,701
|
53,835
|
53,546
|
|
1,5
|
55,026
|
54,376
|
54,160
|
|
1
|
55,350
|
54,917
|
54,773
|
|
58
|
4
|
55,402
|
53,670
|
53,093
|
|
3
|
56,051
|
54,752
|
54,319
|
|
2
|
56,701
|
55,835
|
55,546
|
|
1,5
|
57,026
|
56,376
|
56,160
|
|
60
|
5,5
|
56,428
|
54,046
|
53,252
|
|
4
|
57,402
|
55,670
|
55,093
|
|
3
|
58,051
|
56,752
|
56,319
|
|
2
|
58,701
|
57,835
|
57,546
|
|
1,5
|
59,026
|
58,376
|
58,160
|
|
1
|
59,350
|
58,917
|
58,773
|
|
62
|
4
|
59,402
|
57,670
|
57,093
|
|
3
|
60,051
|
58,752
|
58,319
|
|
2
|
60,701
|
59,835
|
59,546
|
|
1,5
|
61,026
|
60,376
|
60,160
|
|
64
|
6
|
60,103
|
57,505
|
56,639
|
|
4
|
61,402
|
59,670
|
59,093
|
|
3
|
62,051
|
60,752
|
60,319
|
|
2
|
62,701
|
61,835
|
61,546
|
|
1,5
|
63,026
|
62,376
|
62,160
|
|
1
|
63,350
|
62,917
|
62,773
|
|
65
|
4
|
62,402
|
60,670
|
60,093
|
|
3
|
63,051
|
61,752
|
61,319
|
|
2
|
63,701
|
62,835
|
62,546
|
|
1,5
|
64,026
|
63,376
|
63,160
|
|
68
|
6
|
64,103
|
61,505
|
60,639
|
|
4
|
65,402
|
63,670
|
63,093
|
|
3
|
66,051
|
64,752
|
64,319
|
|
2
|
66,701
|
65,835
|
65,546
|
|
1,5
|
67,026
|
66,376
|
66,160
|
|
1
|
67,350
|
66,917
|
66,773
|
|
70
|
6
|
66,103
|
63,505
|
62,639
|
|
4
|
67,402
|
65,670
|
65,093
|
|
3
|
68,051
|
66,752
|
66,319
|
|
2
|
68,701
|
67,835
|
67,546
|
|
1,5
|
69,026
|
68,376
|
68,160
|
|
72
|
6
|
68,103
|
65,505
|
64,639
|
|
4
|
69,402
|
67,670
|
67,093
|
|
3
|
70,051
|
68,752
|
68,319
|
|
2
|
70,701
|
69,835
|
69,546
|
|
1,5
|
71,026
|
70,376
|
70,160
|
|
1
|
71,350
|
70,917
|
70,773
|
|
75
|
4
|
72,402
|
70,670
|
70,093
|
|
3
|
73,051
|
71,752
|
71,319
|
|
2
|
73,701
|
72,835
|
72,546
|
|
1,5
|
74,026
|
73,376
|
73,160
|
|
76
|
6
|
72,103
|
69,505
|
68,639
|
|
4
|
73,402
|
71,670
|
71,093
|
|
3
|
74,051
|
72,752
|
72,319
|
|
2
|
74,701
|
73,835
|
73,546
|
|
1,5
|
75,026
|
74,376
|
74,160
|
|
1
|
75,350
|
74,917
|
74,773
|
|
78
|
2
|
76,701
|
75,835
|
75,546
|
|
80
|
6
|
76,103
|
73,505
|
72,639
|
|
4
|
77,402
|
75,670
|
75,093
|
|
3
|
78,051
|
76,752
|
76,319
|
|
2
|
78,701
|
77,835
|
77,546
|
|
1,5
|
79,026
|
78,376
|
78,160
|
|
1
|
79,350
|
78,917
|
78,773
|
|
82
|
2
|
80,701
|
79,835
|
79,546
|
|
85
|
6
|
81,103
|
78,505
|
77,639
|
|
4
|
82,402
|
80,670
|
80,093
|
|
3
|
83,051
|
81,752
|
81,319
|
|
2
|
83,701
|
82,835
|
82,546
|
|
1,5
|
84,026
|
83,376
|
83,160
|
|
90
|
6
|
86,103
|
83,505
|
82,639
|
|
4
|
87,402
|
85,670
|
85,093
|
|
3
|
88,051
|
86,752
|
86,319
|
|
2
|
88,701
|
87,835
|
87,546
|
|
1,5
|
89,026
|
88,376
|
88,160
|
|
95
|
6
|
91,103
|
88,505
|
87,639
|
|
4
|
92,402
|
90,670
|
90,093
|
|
3
|
93,051
|
91,752
|
91,319
|
|
2
|
93,701
|
92,835
|
92,546
|
|
1,5
|
94,026
|
93,376
|
93,160
|
|
100
|
6
|
96,103
|
93,505
|
92,639
|
|
4
|
97,402
|
95,670
|
95,093
|
|
3
|
98,051
|
96,752
|
96,319
|
|
2
|
98,701
|
97,835
|
97,546
|
|
1,5
|
99,026
|
98,376
|
98,160
|
|
105
|
6
|
101,103
|
98,505
|
97,639
|
|
4
|
102,402
|
100,670
|
100,093
|
|
3
|
103,051
|
101,752
|
101,319
|
|
2
|
103,701
|
102,835
|
102,546
|
|
1,5
|
104,026
|
103,376
|
103,160
|
|
110
|
6
|
106,103
|
103,505
|
102,639
|
|
4
|
107,402
|
105,670
|
105,093
|
|
3
|
108,051
|
106,752
|
106,319
|
|
2
|
108,701
|
107,835
|
107,546
|
|
1,5
|
109,026
|
108,376
|
108,160
|
|
115
|
6
|
111,103
|
108,505
|
107,639
|
|
4
|
112,402
|
110,670
|
110,093
|
|
3
|
113,051
|
111,752
|
111,319
|
|
2
|
113,701
|
112,835
|
112,546
|
|
1,5
|
114,026
|
113,376
|
113,160
|
|
120
|
6
|
116,103
|
113,505
|
112,639
|
|
4
|
117,402
|
115,670
|
115,093
|
|
3
|
118,051
|
116,752
|
116,319
|
|
2
|
118,701
|
117,835
|
117,546
|
|
1,5
|
119,026
|
118,376
|
118,160
|
|
125
|
8
|
119,804
|
116,340
|
115,185
|
|
6
|
121,103
|
128,505
|
127,639
|
|
4
|
122,402
|
120,670
|
120,093
|
|
3
|
123,051
|
121,752
|
121,319
|
|
2
|
123,701
|
122,835
|
122,546
|
|
1,5
|
124,026
|
123,376
|
123,160
|
|
130
|
8
|
124,804
|
121,340
|
120,185
|
|
6
|
126,103
|
123,505
|
122,639
|
|
4
|
127,402
|
125,670
|
125,093
|
|
3
|
128,051
|
126,752
|
126,319
|
|
2
|
128,701
|
127,835
|
127,546
|
|
1,5
|
129,026
|
128,376
|
128,160
|
|
135
|
6
|
131,103
|
128,505
|
127,639
|
|
4
|
132,402
|
130,670
|
130,093
|
|
3
|
133,051
|
131,752
|
131,319
|
|
2
|
133,701
|
132,835
|
132,546
|
|
1,5
|
134,026
|
133,376
|
133,160
|
|
140
|
8
|
134,804
|
131,340
|
130,185
|
|
6
|
136,103
|
133,505
|
132,639
|
|
4
|
137,402
|
135,670
|
135,093
|
|
3
|
138,051
|
136,752
|
136,319
|
|
2
|
138,701
|
137,835
|
137,546
|
|
1,5
|
139,026
|
138,376
|
138,160
|
|
145
|
6
|
141,103
|
138,505
|
137,639
|
|
4
|
142,402
|
140,670
|
140,093
|
|
3
|
143,051
|
141,752
|
141,319
|
|
2
|
143,701
|
142,835
|
142,546
|
|
1,5
|
144,026
|
143,376
|
143,160
|
|
150
|
8
|
144,804
|
141,340
|
140,185
|
|
6
|
146,103
|
143,505
|
142,639
|
|
4
|
147,402
|
145,670
|
145,093
|
|
3
|
148,051
|
146,752
|
146,319
|
|
2
|
148,701
|
147,835
|
147,546
|
|
1,5
|
149,026
|
148,376
|
148,160
|
|
155
|
6
|
151,103
|
148,505
|
147,639
|
|
4
|
152,402
|
150,670
|
150,093
|
|
3
|
153,051
|
151,752
|
151,319
|
|
2
|
153,701
|
152,835
|
152,546
|
|
160
|
8
|
154,804
|
151,340
|
150,185
|
|
6
|
156,103
|
153,505
|
152,639
|
|
4
|
157,402
|
155,670
|
155,093
|
|
3
|
158,051
|
156,752
|
156,319
|
|
2
|
158,701
|
157,835
|
157,546
|
|
165
|
6
|
161,103
|
158,505
|
157,639
|
|
4
|
162,402
|
160,670
|
160,093
|
|
3
|
163,051
|
161,752
|
161,319
|
|
2
|
163,701
|
162,835
|
162,546
|
|
170
|
8
|
164,804
|
161,340
|
160,185
|
|
6
|
166,103
|
163,505
|
162,639
|
|
4
|
167,402
|
165,670
|
165,093
|
|
3
|
168,051
|
166,752
|
166,319
|
|
2
|
168,701
|
167,835
|
167,546
|
|
175
|
6
|
171,103
|
168,505
|
167,639
|
|
4
|
172,402
|
170,670
|
170,093
|
|
3
|
173,051
|
171,752
|
171,319
|
|
2
|
173,701
|
172,835
|
172,546
|
|
180
|
8
|
174,804
|
171,340
|
170,185
|
|
6
|
176,103
|
173,505
|
172,639
|
|
4
|
177,402
|
175,670
|
175,093
|
|
3
|
178,051
|
176,752
|
176,319
|
|
2
|
178,701
|
177,835
|
177,546
|
|
185
|
6
|
181,103
|
178,505
|
177,639
|
|
4
|
182,402
|
180,670
|
180,093
|
|
3
|
183,051
|
181,752
|
181,319
|
|
2
|
183,701
|
182,835
|
182,546
|
|
190
|
8
|
184,804
|
181,340
|
180,185
|
|
6
|
186,103
|
183,505
|
182,639
|
|
4
|
187,402
|
185,670
|
185,093
|
|
3
|
188,051
|
186,752
|
186,319
|
|
2
|
188,701
|
187,835
|
187,546
|
|
195
|
6
|
191,103
|
188,505
|
187,639
|
|
4
|
192,402
|
190,670
|
190,093
|
|
3
|
193,051
|
191,752
|
191,319
|
|
2
|
193,701
|
192,835
|
192,546
|
|
200
|
8
|
194,804
|
191,340
|
190,185
|
|
6
|
196,103
|
193,505
|
192,639
|
|
4
|
197,402
|
195,670
|
195,093
|
|
3
|
198,051
|
196,752
|
196,319
|
|
2
|
198,701
|
197,835
|
197,546
|
|
205
|
6
|
201,103
|
198,505
|
197,639
|
|
4
|
202,402
|
200,670
|
200,093
|
|
3
|
203,051
|
201,752
|
201,319
|
|
210
|
8
|
204,804
|
201,340
|
200,185
|
|
6
|
206,103
|
203,505
|
202,639
|
|
4
|
207,402
|
205,670
|
205,093
|
|
3
|
208,051
|
206,752
|
206,319
|
|
215
|
6
|
211,103
|
208,505
|
207,639
|
|
4
|
212,402
|
210,670
|
210,093
|
|
3
|
213,051
|
211,752
|
211,319
|
|
220
|
8
|
214,804
|
211,340
|
210,185
|
|
6
|
216,103
|
213,505
|
212,639
|
|
4
|
217,402
|
215,670
|
215,093
|
|
3
|
218,051
|
216,752
|
216,319
|
|
225
|
6
|
221,103
|
218,505
|
217,639
|
|
4
|
222,402
|
220,670
|
220,093
|
|
3
|
223,051
|
221,752
|
221,319
|
|
230
|
8
|
224,804
|
221,340
|
220,185
|
|
6
|
226,103
|
223,505
|
222,639
|
|
4
|
227,402
|
205,670
|
225,093
|
|
3
|
228,051
|
226,752
|
226,319
|
|
235
|
6
|
231,103
|
228,505
|
227,639
|
|
4
|
232,402
|
230,670
|
230,093
|
|
3
|
233,051
|
231,752
|
231,319
|
|
240
|
8
|
234,804
|
231,340
|
230,185
|
|
6
|
236,103
|
233,505
|
232,639
|
|
4
|
237,402
|
235,670
|
235,093
|
|
3
|
238,051
|
236,752
|
236,319
|
|
245
|
6
|
241,103
|
238,505
|
237,639
|
|
4
|
242,402
|
240,670
|
240,093
|
|
3
|
243,051
|
241,752
|
241,319
|
|
250
|
8
|
244,804
|
241,340
|
240,185
|
|
6
|
246,103
|
243,505
|
242,639
|
|
4
|
247,402
|
245,670
|
245,093
|
|
3
|
248,051
|
246,752
|
246,319
|
|
255
|
6
|
251,103
|
248,505
|
247,639
|
|
4
|
252,402
|
250,670
|
250,093
|
|
3
|
253,051
|
251,752
|
251,319
|
|
260
|
8
|
254,804
|
251,340
|
250,185
|
|
6
|
256,103
|
253,505
|
252,639
|
|
4
|
257,402
|
255,670
|
255,093
|
|
3
|
258,051
|
256,752
|
256,319
|
|
265
|
6
|
261,103
|
258,505
|
257,639
|
|
4
|
262,402
|
260,670
|
260,093
|
|
3
|
263,051
|
261,752
|
261,319
|
|
270
|
8
|
264,804
|
261,340
|
260,185
|
|
6
|
266,103
|
263,505
|
262,639
|
|
4
|
267,402
|
265,670
|
265,093
|
|
3
|
268,051
|
266,752
|
266,319
|
|
275
|
6
|
271,103
|
268,505
|
267,639
|
|
4
|
272,402
|
270,670
|
270,093
|
|
3
|
273,051
|
271,752
|
271,319
|
|
280
|
8
|
274,804
|
271,340
|
270,185
|
|
6
|
276,103
|
273,505
|
272,639
|
|
4
|
277,402
|
275,670
|
275,093
|
|
3
|
278,051
|
276,752
|
276,319
|
|
285
|
6
|
281,103
|
278,505
|
277,639
|
|
4
|
282,402
|
280,670
|
280,093
|
|
3
|
283,051
|
281,752
|
281,319
|
|
290
|
8
|
284,804
|
281,340
|
280,185
|
|
6
|
286,103
|
283,505
|
282,639
|
|
4
|
287,402
|
285,670
|
285,093
|
|
3
|
288,051
|
206,752
|
286,319
|
|
295
|
6
|
291,103
|
288,505
|
287,639
|
|
4
|
292,402
|
290,670
|
290,093
|
|
3
|
293,051
|
291,752
|
291,319
|
|
300
|
8
|
294,804
|
291,340
|
290,185
|
|
6
|
296,103
|
293,505
|
292,639
|
|
4
|
297,402
|
295,670
|
295,093
|
|
3
|
298,051
|
296,752
|
296,319
|
|
310
|
6
|
306,103
|
303,505
|
302,639
|
|
4
|
307,402
|
305,670
|
305,093
|
|
320
|
8
|
314,804
|
311,340
|
310,185
|
|
6
|
316,103
|
313,505
|
312,639
|
|
4
|
317,402
|
315,670
|
315,093
|
|
330
|
6
|
326,103
|
323,505
|
322,639
|
|
4
|
327,402
|
325,670
|
325,093
|
|
340
|
8
|
334,804
|
331,340
|
330,185
|
|
6
|
336,103
|
333,505
|
332,639
|
|
4
|
337,402
|
335,670
|
335,093
|
|
350
|
6
|
346,103
|
343,505
|
342,639
|
|
4
|
347,402
|
345,670
|
345,093
|
|
360
|
8
|
354,804
|
351,340
|
350,185
|
|
6
|
356,103
|
353,505
|
352,639
|
|
4
|
357,402
|
355,670
|
355,093
|
|
370
|
6
|
366,103
|
363,505
|
362,639
|
|
4
|
367,402
|
365,670
|
365,093
|
|
380
|
8
|
374,804
|
371,340
|
370,185
|
|
6
|
376,103
|
373,505
|
372,639
|
|
4
|
377,402
|
375,670
|
375,093
|
|
390
|
6
|
386,103
|
383,505
|
382,639
|
|
4
|
387,402
|
385,670
|
385,093
|
|
400
|
8
|
394,804
|
391,340
|
390,185
|
|
6
|
396,103
|
393,505
|
392,639
|
|
4
|
397,402
|
395,670
|
395,093
|
|
410
|
6
|
406,103
|
403,505
|
402,639
|
|
420
|
8
|
414,804
|
411,340
|
410,185
|
|
6
|
416,103
|
413,505
|
412,639
|
|
430
|
6
|
426,103
|
423,505
|
422,639
|
|
440
|
8
|
434,804
|
431,340
|
430,185
|
|
6
|
436,103
|
433,505
|
432,639
|
|
450
|
6
|
446,103
|
443,505
|
442,639
|
|
460
|
8
|
454,804
|
451,340
|
450,185
|
|
6
|
456,103
|
453,505
|
452,639
|
|
470
|
6
|
466,103
|
463,505
|
462,639
|
|
480
|
8
|
474,804
|
471,340
|
470,185
|
|
6
|
476,103
|
473,505
|
472,639
|
|
490
|
6
|
486,103
|
483,505
|
482,639
|
|
500
|
8
|
494,804
|
491,340
|
490,185
|
|
6
|
496,103
|
493,505
|
492,639
|
|
510
|
6
|
506,103
|
503,505
|
502,639
|
|
520
|
8
|
514,804
|
511,340
|
510,185
|
|
6
|
516,103
|
513,505
|
512,639
|
|
530
|
6
|
526,103
|
523,505
|
522,639
|
|
540
|
8
|
534,804
|
531,340
|
530,185
|
|
6
|
536,103
|
533,505
|
532,639
|
|
550
|
6
|
546,103
|
543,505
|
542,639
|
|
560
|
8
|
554,804
|
551,340
|
550,185
|
|
6
|
556,103
|
553,505
|
552,639
|
|
570
|
6
|
566,103
|
563,505
|
562,639
|
|
580
|
8
|
574,804
|
571,340
|
570,185
|
|
6
|
576,103
|
573,505
|
572,639
|
|
590
|
6
|
586,103
|
583,505
|
582,639
|
|
600
|
8
|
594,804
|
591,340
|
590,185
|
|
6
|
596,103
|
593,505
|
592,639
|
Ключевые слова:
резьба, метрическая резьба, размеры
|
|