|
|
|
Министерство
труда Государственная
научная консультационно-внедренческая фирма РЕКОМЕНДАЦИИ Утверждены председателем Научно-технического совета, С.В. Николаевым (протокол № 29 от 24.XII.1990 г.) Москва - 1991 Рекомендации содержат основные требования к проектированию нового типа зданий - жилого комплекса для проживания и реабилитации молодых инвалидов на креслах-колясках. В них рассмотрены вопросы архитектурно-планировочных решений жилых помещений для постоянного и временного проживания инвалидов, а также для их обслуживания. Рекомендации предназначены для архитекторов, инженеров, занимающихся проектированием, строительством и эксплуатацией жилых комплексов для инвалидов. Рекомендации разработаны В.Г. Страшновым (руководитель темы), канд. арх. Е.Ю. Пересветовым, арх. А.С. Милославской (ЦНИИЭП жилища), канд. мед. наук А.Г. Козловой (ЦИЭТИН), врачом Э.А. Трофимовой и арх. А.Ю. Изоскиным ( ГипроНИИздрав). Рекомендации одобрены Главным управлением социального обеспечения исполкома Моссовета (Мосгорсо). Консультант - директор фирмы "Социальная инновация" А.Г. Дмитриев. Содержание ВВЕДЕНИЕ Передвижение инвалидов в современных городах - одна из проблем, остро стоящих в нашей стране. Среда обитания и проживания, планировка квартир и жилых домов, общественных и производственных зданий не учитывают физического состояния и эргонометрических возможностей инвалидов, кроме того отсутствуют и качественные кресла-коляски. Только в РСФСР среди 4 млн. инвалидов почти четверть миллиона - без ног. Число их увеличивается из года в год. Современные дома-интерна ты, отвечающие нормативным требованиям комфорта проживания, к сожалению, не служат универсальной формой оказания социально-бытовой помощи всем нетрудоспособным гражданам. Поэтому важнейшей задачей следует считать превращение домов-интернатов в учреждения, предоставляющие широкие возможности по осуществлению социально-реабилитационной помощи, социальной интеграции и адаптации престарелых и инвалидов. В связи с принятием ''Закона об основных началах социальной защищенности инвалидов в СССР" предстоит активно развивать медицинскую и социально-трудовую реабилитацию. В 1990 году в специально приспособленных цехах работало около 70 тыс. инвалидов, т.е. всего 7-8 %. Почти каждый второй из них нуждается в профессиональной переподготовке в условиях производства. Сейчас такой возможностью пользуются лишь два инвалида из десяти. Большие сложности возникают при реализации индивидуальных программ по бытовой адаптации. В стране отсутствует современная промышленная база для производства бытовых реабилитационных приспособлений, а также материальная база для реализации жилищно-бытовой, транспортной и коммуникативной реабилитационной инфраструктуры. Развитие системы реабилитации инвалидов должно предусматривать создание региональных реабилитационных научно-производственных комплексов, состоящих из функционально и организационно взаимосвязанных научных подразделений, занимающихся проблемами реабилитации, собственно реабилитационных центров и опытно-промышленного производства, предназначенного для разработки и изготовления реабилитационных средств профессионального и бытового назначения. Один из возможных типов специализированного жилища с полным набором услуг, включающих медико-реабилитационную службу для молодых инвалидов, является жилой комплекс, где могут жить инвалиды с семьями, получая комплексное обслуживание. Благодаря медико-реабилитационным мерам молодой инвалид включается в активную жизнь - может учиться, работать, заниматься спортом. Проживание в квартире вместе с семьей делает его жизнь полноценной. Оборудование жилых комплексов специальной мебелью, устройствами и приспособлениями дает возможность инвалиду обходиться без посторонней помощи. Инвалидам на креслах-колясках обеспечен доступ во все помещения, входящие в комплекс. Для разработки Рекомендаций институт провел комплексные обследования ряда домов-интернатов и домов квартирного типа для престарелых и инвалидов. За последние пять лет в стране по программам, предложенным ЦНИИЭП жилища, проектируется и строится примерно 85-90 % всех специализированных типов жилища. В 1987-1990гг. разработана серия специальных жилых домов квартирного типа с обслуживанием» Кроме того, созданы два проекта: на 59 квартир (5 этажей), и на 152 (9 этажей). В конце 70-х годов специалисты института разработали блок-секцию в составе серии 85 с квартирами для инвалидов на креслах-колясках, расположенными на первом этаже рядового жилого дома. 1. ОБЩИЕ ПОЛОЖЕНИЯ1.1. Для молодых инвалидов, как одиноких, так и семейных, передвигающихся с помощью протезов и в креслах-колясках, следует проектировать специальные жилые комплексы с помещениями обслуживания, дающими возможность вести самостоятельный образ жизни, и реабилитационным центром, обеспечивающим проведение восстановительного лечения, позволяющим вернуть утраченную трудоспособность инвалидам, а также предоставляющим возможность заниматься спортом и физкультурой. 1.2. Комплекс рассчитывается на проживание не более 180-200 человек, из них 90-100 - инвалиды на креслах-колясках. Предусмотрены примерно 90-100 квартир разного типа -одно, двух- и трехкомнатные. 1.3. Жилища квартирного типа в составе жилых комплексов для молодых инвалидов могут иметь секционную, коридорную или смешанную планировочную структуру в зависимости от конкретных условий строительства. 1.4. В составе комплекса может быть жилище гостиничного типа на 8-12 номеров (половина из них - одноместные, другая - двухместные). Они предназначены для пациентов, приезжающих для прохождения курса реабилитации, и сопровождающих их родственников. 1.5. В состав жилого комплекса для молодых инвалидов входят: - жилище квартирного типа для инвалидов на креслах-колясках с семьей; для временного проживания - гостиничные номера; - помещения культурно-бытового обслуживания; - учебно-производственные помещения; - центр реабилитации с залом для тренажеров; - помещения для занятий спортом и физкультурой. Помещения общественного назначения могут быть частично встроенно-пристроенными или размещаться в отдельном блоке, связанном с основным зданием теплым переходом. Реабилитационный центр, как правило, соединяется с жилым корпусом. Основными видами услуг по обслуживанию, учебно-производственными помещениями и центром реабилитации могут пользоваться и живущие в районе, где располагается комплекс. Жилой комплекс должен быть связан кратчайшими путями с помещениями общественного назначения и реабилитационным центром. 1.6. Размещать жилые комплексы для молодых инвалидов можно как в районах старой, так и новой городской застройки. 2. УЧАСТОК ЖИЛОГО КОМПЛЕКСА2.1. Площадь земельного участка определяется, исходя из нормы площади на одного инвалида на кресле-коляске 125 м2, на одного члена семьи - 100 м2. 2.2. На участке жилого комплекса следует предусматривать место для закрытых надземных или подземных гаражей для автомашин и велоколясок, принадлежащих инвалидам. Рекомендуемое расстояние от подъезда дома до гаража не более 50 м. Количество мест в гаражах для автомобилей согласуется с местным (районным) отделом социального обеспечения: рекомендуется одно место на две квартиры. 2.3. Следует предусматривать площадки для лечебной физкультуры и спортивно-оздоровительных игр, а также кольцевые и прямые дорожки для спортивной лечебной ходьбы, зеленые насаждения, кустарники, деревья, газоны. 2.4. Размер лечебно-физкультурной площадки зависит от вместимости комплекса и контингента проживающих. Для 50-70 человек, занимающихся лечебной физкультурой, отводится площадка размером 150 м, для 100 человек - 250 м. 2.5. Комплексная площадка с полями (зонами) предназначается для баскетбола, волейбола, городков, настольного тенниса, "бега" на креслах-колясках и других спортивно-оздоровительных игр. Вокруг площадки необходимо предусматривать зоны проезда колясок (ширина не менее 120 см). Рекомендуемая ее площадь 60×35 м. 3. ОБЪЕМНО-ПЛАНИРОВОЧНЫЕ ТРЕБОВАНИЯ3.1. Инвалид на кресле-коляске должен иметь свободный доступ в здание комплекса и во все помещения квартиры и гостиницы. Помещения культурно-бытового реабилитационного назначения, учебно-производственные мастерские должны быть обеспечены всеми техническими средствами для самостоятельного проезда в них инвалидов. 3.2. В специальных жилых домах квартирного типа для молодых инвалидов заселение квартир рекомендуется осуществлять по формуле N = М (соответствие количества комнат числу проживающих) и принимать следующее соотношение квартир:
Для супружеских пар с двумя разнополыми детьми рекомендуется предусматривать квартиры типа 4А. Общую площадь одно- и двухкомнатных квартир рекомендуется увеличить на 15 % относительно соответствующих типов квартир согласно СНиП 2.08.01-89 ''Жилые здания". 3.3. Жилые и подсобные помещения квартиры, гостиничные номера следует проектировать с учетом передвижения и разворота кресел-колясок на 180°.
Сбоку от кровати для инвалида должно быть предусмотрено место для разворота кресла-коляски на 180°. 3.4. Все квартиры, кроме однокомнатных, оборудуются раздельными санитарными узлами, в которых предусмотрены специальные устройства и оборудование. Для самостоятельного пользования ванной возле нее устраивается пересадочная площадка, над которой закрепляют металлические штанги: с их помощью инвалид, подтягиваясь на руках, переносит себя из кресла-коляски на пересадочную площадку, а с нее - в ванну, 3.5. В подвальном или цокольном этаже жилого дома в расчете на каждую квартиру инвалида, пользующегося креслом-коляской, следует предусматривать стоянку, предназначенную для хранения уличной коляски» проведения технического ухода за коляской и ее ремонта*. Помещение для стоянки уличной коляски с учетом места для пересадки в нее должно быть 200×215 см. При этом лифт должен доходить до уровня пола подвала, а для въезда и выезда уличных колясок необходим пандус с уклоном не более 5% (1:20). Стоянки оборудуются опорными напольными поручнями или подвесными ручками, траншеями для пересаживания инвалида. 3.6. Для временного проживания предназначены гостиничные номера первого и второго разряда на одного человека (площадь не менее 11 м2), на двух человек (не менее 18,5 м2), при каждом номере проектируется санитарный узел и прихожая. *Если при жилом комплексе запроектирован закрытый гараж для автомобилей инвалидов, стоянка для уличных колясок не предусматривается. 3.7. В санитарных узлах размещаются унитаз, умывальник, полибан или душ с трапом - для одноместных номеров; площадь его не менее 4,5 м2. Санитарные узлы при двухместных номерах площадью не менее 5,3 м2 оборудуются унитазом, биде, умывальником, полибаном или душем с трапом. 3.8. Все санитарные узлы, помещения кухонь в квартирах и гостиничных номерах оборудуются специальными устройствами и приспособлениями, что позволяет инвалидам быть самостоятельными и обходиться без посторонней помощи. 4. ПОМЕЩЕНИЯ КУЛЬТУРНО-БЫТОВОГО ОБСЛУЖИВАНИЯ, АДМИНИСТРАЦИИ И УЧЕБНО-ПРОИЗВОДСТВЕННОГО НАЗНАЧЕНИЯ4.1. В жилом комплексе для молодых инвалидов предусматриваются следующие помещения общественного назначения: зрительный зал с комнатами для артистов и фойе; библиотека-читальня и кружковые комнаты; кафе-столовая (с магазином кулинарии и столом заказов); кухня для самообслуживания и холл для отдыха при гостиничных номерах; помещения учебно-производственного назначения; служебные и обслуживающие помещения. 4.2. Число мест в зрительном зале необходимо принимать из расчета 70-80 % проживающих, из них около половины - для инвалидов на креслах-колясках. 4.3. Стационарные полумягкие кресла в зале устанавливаются таким образом, чтобы за их спинками, в соответствии с разметкой, оставалась свободная зона для размещения инвалидов на креслах-колясках. Такое распределение мест позволит инвалиду быть вместе со здоровыми членами семьи, а также четко разграничить потоки въезда и выезда колясочников из зала. Количество мест в ряду должно быть при односторонней эвакуации ряда не более 12, при двухсторонней - не более 25, ширина прохода между рядами - не менее 0,55 м. Площадь зала принимается, исходя из того, что на одного инвалида на кресле-коляске приходится 2,4 м2, передвигающегося с помощью костылей - 1,2 м2, на одного здорового человека - 0,9-1 м2. 4.4. Для подъема инвалида на кресле-коляске на сцену устанавливается специальный пандус шириной 80 см, 4.5. Зрительный зал следует располагать на первом этаже и он должен иметь выход (выезд) на прилегающий участок. 4.6. В экстремальных условиях эвакуация инвалидов из зрительного зала обеспечивается с помощью дверных проемов, которые следует располагать в боковых стенах (3 проема) и в торцевой стене (2 проема). Ширина проема не менее 160 см. 4.7. Состав и площади помещений зрительного зала - в табл. 1. Таблица 1
4.8. В жилом комплексе для молодых инвалидов следует предусматривать библиотеку с читальным залом на 10 тысяч томов, площадью 42 м2, а также две комнаты для кружковой работы по 18 м2. 4.9. Состав и площади служебных и обслуживающих помещений приведены в табл. 2. Таблица 2
4.10. Состав и площади помещений кафе-столовой, магазина кулинарии, стола продовольственных заказов - в табл. 3 Таблица 3
* В дневное время кафе-столовая может работать для одиноких инвалидов, а также для тех, кто проживает в гостиничных номерах. 4.11. Состав и площади помещений обслуживания при гостиничных номерах приведены в табл. 4. Таблица 4
4.12. В кухне, рассчитанной на самообслуживание живущих в гостиничных номерах, оборудование может быть расставлено по боковым стенам или сконцентрировано в центре помещения. Расстояние от оборудования до противоположной стены должно быть не менее 180 см, что обеспечивает свободный подъезд и разворот кресла-коляски. 4.13. Состав и площади помещений учебно-производственного назначения приведены в табл. 5. Таблица 5
* При размещении помещений учебно-производственного назначения в одном блоке рекомендуется проектировать два санитарных узла: для инвалидов на креслах-колясках и стандартный санузел. 5. ЦЕНТР РЕАБИЛИТАЦИОННОГО И ВОССТАНОВИТЕЛЬНОГО ЛЕЧЕНИЯ5.1. Общие помещения5.1.1. Реабилитационный центр в составе жилого комплекса должен осуществлять: регулярное восстановительное лечение (реабилитацию) инвалидов, в том числе с поражением опорно-двигательного аппарата; оздоровительные мероприятия; медицинскую помощь инвалидам при обострениях основных и сопутствующих заболеваний, максимально приближенную к месту их проживания. 5.1.2. Реабилитационный центр не является самостоятельным лечебным учреждением, а должен функционировать на правах отделения, филиала более крупного центра или территориальной поликлиники, которые обеспечивают его своими диагностическими, вспомогательными и административными службами. 5.1.3. Состав помещений реабилитационного центра определяется минимальным набором процедур, необходимых для комплексного лечения. Некоторые виды восстановительного лечения (водо-, грязелечение, вытяжение позвоночника). * Предусматривать отдельные щитовые для коммуникаций сетевого напряжения мощностью до 50 кВт, заземление, разводку отдельных телефонных пар местной связи с жилыми помещениями (компьютеры на дому). В случае, когда в них нуждается небольшое число живущих в комплексе, могут осуществляться вне центра. Единовременная суммарная пропускная способность всех процедурных мест - около 40, а с учетом мест для оздоровительных занятий физкультурой - около 60 (прил. 1). Пропускная способность за одну смену может быть определена только при эксплуатации, в зависимости от соотношения групповых и индивидуальных процедур (прил.2). 5.1.4 Реабилитационный центр рассчитан не только на живущих в комплексе инвалидов, но и на обслуживание инвалидов из прилегающих районов. Его численность или обслуживаемая территория уточняются местными органами здравоохранения и социального обеспечения. 5.1.5. Для обеспечения оптимального режима лечения предусматривается обслуживание пациентов только в одну (утреннюю; смену. Вместе с тем, для более полноценного и эффективного использования оборудования центра он может быть занят в две смены: проведением группового и индивидуального лечения работающих инвалидов, занятых в утреннее время; обслуживанием членов семей инвалидов, проживающих в комплексе; за счёт аренды помещений и оборудования другими учреждениями; за счёт использования спортивного зала и частично тренажеров для оздоровительных занятий здоровых людей, проживающих вне комплекса. 5.2. Требования к объемно-планировочным решениям реабилитационного центра5.2.1. Реабилитационный центр* рекомендуется проектировать не более 3 этажей. Спортивный зал, бассейн и массажный кабинет располагаются на первом этаже. Остальные помещения могут размещаться выше первого этажа, но при обеспечении удобной вертикальной связи для инвалидов на креслах-колясках. * Состав и площади помещений реабилитационного центра приведены в табл.1. 5.2.2. Вестибюль может быть предусмотрен общим как для проживающих в комплексе, так и для посетителей, либо - два вестибюля, один из которых только для посетителей. Количество мест в вестибюле-гардеробной следует предусматривать:
* Для инвалидов, проживающих вне центра, следует предусматривать места для пересаживания с уличных колясок (велоколясок) на кресла-коляски. 5.2.3. Помещения для оздоровительных и реабилитационных занятий лечебной физкультурой условно подразделяются на "сухую" и "влажную зоны". "Сухая зона" включает универсальный спортивный зал и зал для тренажеров и механотерапии, "влажная зона" - лечебно-плавательный бассейн и помещение для подводного душа-массажа. 5.2.4. Универсальный спортивный зал предназначен для спортивных игр (настольный теннис, волейбол - сидя, баскетбол на креслах-колясках), общеоздоровительных занятий, а также может использоваться для занятий реабилитационных групп. Зал оборудуется гимнастическими стенками, скамейками, матами. Стены зала покрывают мягкими матами до высоты 1,5-2 м от пола, по периметру зала на высоте 1 м монтируют 'поручни, утопленные в стену. Высоту зала следует принимать не менее 6 м. 5.2.5. Оборудование зала для занятий на тренажерах для механотерапии включает две универсальные установку разработанные В.И. Дикулем, серию тренажеров фирмы "Нейро", гребные тренажеры, комплекс "Здоровье", велотренажер, две стойки для аппаратов механотерапии. В зале выделяется зона для обучения ходьбе инвалидов с тяжелой патологией (параллельные брусья, укрепленные на расстоянии 65-70 см, с регулируемой высотой 75-90 см, над которыми помещена тельферная установка с поддерживающим устройством). На стенах монтируются зеркала. Площадь зала рассчитана на проезды и повороты кресел-колясок во время занятий. В нем предусматривается зона для работы инструктора. Высоту зала следует принимать не менее 3,0 м. 5.2.6. При залах следует предусматривать помещение для переодевания, которое оборудуется двухъярусными шкафчиками (20 шкафчиков размером 0,6×0,3, нижние предназначены для использования инвалидами, а при занятиях групп для здоровых используются оба яруса). 5.3. Лечебно-плавательный бассейн5.3.7. Лечебно-плавательный бассейн проектируется зеркалом воды 8,5×5 м и глубиной 1,2 - 1,5 м. Вокруг бассейна следует предусматривать обходную дорожку шириной не менее 2 м для проезда инвалидов, со стороны входа в бассейн предусматривается площадка шириной не менее 5 м для установки подъемника, поворота кресел-колясок и хранения их во время занятий, а также организации рабочего места персонала. Параллельно длинной стороне бассейна на потолке на расстоянии 1 м от границы бортика бассейна необходимо смонтировать тельферную установку для погружения инвалида с поражением опорно-двигательного аппарата в воду и перемещения его в бассейне при помощи подвесного оборудования. На противоположной стороне от входа в бассейн проектируется площадка шириной 3 м. Здесь же следует предусматривать углубление дна бассейна до 2,2 м от уровня воды на площади 2×1,5 м, которое используется для процедур вертикального вытяжения позвоночника в воде. При разработке конструкций ванны бассейна следует обеспечить уровень воды не менее, чем на 30 см выше уровня обходной дорожки. Место выпуска воды следует снабжать трапом или решеткой с уклоном в его сторону 0,01-0,015. На уровне воды по периметру бассейна проектируется переливной желоб. На высоте 0,95 м от дна бассейна следует предусматривать поручень из нержавеющей стали диаметром 25 мм, который крепится к борту бассейна. Внутренняя поверхность дна и стенок бассейна облицовывается гладкой водонепроницаемой плиткой светлых тонов, нескользкой, обеспечивающей сопротивление размыву и устойчивой к химическим реагентам. Для входа в бассейн и выхода из него проектируется лестница шириной 0,9-1 м с поручнями с обеих сторон высотой 0,8 м. Перед лестницей для спуска в бассейн устраивается проходная ножная ванна размерами не менее 1×0,6 м, глубиной 0,1 м. 5.3.8. В помещении для подводного душа-массажа монтируется специальная ванна емкостью 400-600 литров с подходом к ней с трех сторон. Аппарат для душа-массажа располагается в торцовом конце ванны. Следует предусматривать место для разворота кресла-коляски с поручнями для перемещения инвалида в ванну. Электромагнитный пускатель и корпус аппарата должны быть заземлены. 5.3.9. В раздевальнях для помещений бассейна и душа-массажа предусматриваются четыре индивидуальных кабины, каждая для переодевания двух человек. Проектируются также два санузла с умывальными и унитазами. 5.3.10. Помещения массажной и мануальной терапии размещаются в непосредственной близости от помещения душа-массажа, так как процедуры могут проводиться комплексно. 5.3.11. Комната дежурной медсестры должна быть непосредственно связана с помещениями залов и бассейна, где в процессе занятий может потребоваться экстренная помощь. 5.3.12. Одна из комнат для отдыха должна быть расположена рядом с местом для проведения процедур вертикального вытяжения в воде, так как непосредственно после этой процедуры необходим отдых в горизонтальном положении. 5.3.13. Комнаты инструкторов и инвентарная должны размещаться смежно с залом бассейна. 5.3.14. Кабинеты электро- и светолечения проектируются с размещением в них кабин с кушетками и аппаратуры. Кабины (2,2×2×2) отгорожены легкими перегородками и имеют один стационарный или два портативных аппарата и светильник. Площадь на одно место принята 8 м2 с учетом проезда инвалида на кресле-коляске, ее разворота и размещения во время процедур. Пол кабинета должен быть деревянным или покрыт линолеумом, стены на высоту 2 м окрашены масляной краской, выше - клеевой. Запрещается облицовка стен керамической плиткой. Нагревательные приборы систем центрального отопления, трубы отопительной, водопроводной систем должны быть закрыты щитами из электроизолирующих материалов на высоту 2 м от пола, металлические конструкции кабин - изолированы от стен и пола. Рекомендуется установка аппаратов "Тонус", "Стимул", "Амплипульс", аппаратов для ультразвуковой терапии, ультрафиолетового облучения, УВЧ. При кабинете электро- и светолечения предусматривается отдельное помещение для обработки прокладок и выполнения других подготовительных работ для проведения процедур, оборудованное вытяжным шкафом. 5.3.15. Кабинет теплолечения проектируется вместе с подсобным помещением для подогревания парафина и озокерита, оборудованным вытяжным шкафом. Пол кабинета теплолечения должен быть покрыт линолеумом, в подсобном помещении - метлахской плиткой, стены на высоту 2,5 м - глазурованной плиткой. 5.3.16. Кабинет рефлексотерапии состоит из двух смежно-изолированных помещений - кабинета врача и четырех процедурных мест, из которых три устраиваются на кушетках, одно - на кресле, с возможностью двухстороннего подхода персонала. Рабочее место медсестры оборудуется стерилизатором для игл. 5.3.17. Кабинет групповой психотерапии для лучшей звукоизоляции размещается в непроходной зоне, со шлюзом при входе с ориентацией окон в сторону, свободную от проезда транспорта. Следует предусматривать возможность затемнения. Пациенты во время сеанса размещаются на креслах (или собственных креслах-колясках). Рабочее место психотерапевта должно быть устроено с удобным обзором всех пациентов, оборудуется магнитофоном, аппаратом для демонстрации слайдов, 5.3.18. Помещения для общих лечебных мероприятий рекомендуется проектировать единой зоной, так как они могут использоваться для комплексных диспансерных осмотров. Кабинеты врача-терапевта, патронажной медсестры могут использоваться для работы врачей-консультантов. 5.3.19. В процедурной, перевязочной, кабинете рефлексотерапии следует предусматривать установку бактерицидных излучателей. 5.3.20. Помещения для примерки и подгонки протезов рекомендуется размещать вблизи спортивного зала, где можно апробировать протез при ходьбе. ПРИЛОЖЕНИЯ Приложение 1
|
|||||||||||||||||||||||||||||||||||||||||||||||||||||||||||||||||||||||||||||||||||||||||||||||||||||||||||||||||||||||||||||||||||||||||||||||||||||||||||||||||||||||||||||||||||||||||||||||||||||||||||||||||||||||||||||||||||||||||||||||||||||||||||||||||||||||||||||||||||||||||||||||||||||||||||||||||||||||||||||||||||||||||||||||||||||||||||||||||||||||||||||||||||||||||||||||||||||||||||||||||||||||||||||||||||||||||||||||||||||||||||||||||||||||||||||
|
Помещения |
Площадь, м2 |
|
1 |
2 |
|
Помещения для оздоровительных мероприятий и занятий лечебной физкультурой в залах и бассейнах для массажа |
|
|
Универсальный зал для спортивных игр и занятий общей физической подготовкой, 24×12, высотой не менее 6 м, для занятий 20 инвалидов или 35 здоровых |
288 |
|
Зал для занятий на тренажерах (6 мест), механотерапии (2 места), обучения ходьбе (1 место) |
72 |
|
Вспомогательные помещения при залах: |
|
|
- раздевальня с 20 двухъярусными шкафчиками для хранения домашней одежды, с учетом использования 20 инвалидами на креслах-колясках или 40 здоровыми |
60 |
|
- душевые кабины с возможностью использования инвалидами (5 кабин, 4×5) |
20 |
|
- санитарные узлы (умывальник, унитаз) с возможностью использования инвалидами (2 санузла, 4×2) |
8 |
|
- инвентарная для хранения спортивных снарядов при универсальном зале |
9 |
|
- комната инструкторов |
9 |
|
Лечебно-плавательный бассейн с зеркалом воды 8,3× 5, глубиной 1,2 - 1,5 м, с размерами помещения не менее 16,5×8×5, оборудованный тельферной установкой и подъемником для занятий 7 человек |
142 |
|
Помещение ванны подводного душа-массажа |
36 |
|
Вспомогательные помещения при бассейне и помещении душа-массажа: |
|
|
- индивидуальные раздевальни (с двумя шкафчиками для хранения домашней одежды и проходными душевыми кабинами - 4 раздевальни, 5×5) |
20 |
|
- санитарные узлы (умывальник, унитаз) с возможностью использования инвалидами (2 санузла , 4×2) |
8 |
|
- комната инструктора |
9 |
|
Кабинет для массажа и мануальной терапии на 3 кушетки |
36 |
|
Комната дежурной медсестры с местом для лабораторного исследования проб воды |
16 |
|
Итого: |
733 |
|
Кабинеты электро, свето-, теплолечения, кабинет психотерапии |
|
|
Кабинет электро- и светолечения на 6 кушеток (в кабинах) с местом для кресел-колясок (6×6+2×6) |
48 |
|
- помещение для обработки прокладок |
8 |
|
Кабинет теплолечения на 2 кушетки (6×2) |
12 |
|
- помещение для подогревания парафина и озокерита |
8 |
|
Кабинет рефлексотерапии: |
|
|
- процедурная на 4 места с местом для кресел-колясок |
36 |
|
- кабинет врача |
12 |
|
Комната персонала |
8 |
|
Помещение для хранения переносной аппаратуры |
12 |
|
Кабинет групповой психотерапии на 10 человек |
|
|
со шлюзом (4×10) + 2 |
42 |
|
Итого: |
186 |
|
Помещения для общих лечебных мероприятий |
|
|
Процедурная |
12 |
|
Перевязочная |
22 |
|
Процедурная для кишечных промываний со сливом |
18 |
|
Кабинет врача-терапевта с картотекой |
18 |
|
Кабинет патронажной медсестры |
18 |
|
Кабинет врача-стоматолога |
18 |
|
Помещение приема, регистрации и сортировки проб для лабораторных исследований |
4 |
|
Помещение для взятия проб крови |
10 |
|
Итого: |
120 |
|
Общие помещения центра |
|
|
Регистратура-справочная |
12 |
|
Ожидальные: |
|
|
- при помещениях для оздоровительных мероприятий и ЛФК (1,5×55) |
83 |
|
- при кабинетах электро-, свето-, теплолечения, психотерапии (1,5×22) |
33 |
|
- при помещениях для общих лечебных мероприятий (1,5×18) |
27 |
|
Комнаты отдыха (3 комнаты на 4 чел., 4×4×3) |
48 |
|
Уборные для инвалидов (5×4) |
20 |
|
Помещения для примерки и подгонки протезов (12+12) |
24 |
|
Итого: |
235 |
|
Служебные и бытовые помещения персонала |
|
|
Кабинет заведующего центром |
12 |
|
Комната старшей сестры |
12 |
|
Комната персонала (8×2) |
16 |
|
Кладовая чистого белья |
4 |
|
Кладовая временного хранения грязного белья |
4 |
|
Помещения хранения уборочного инвентаря с трапом, поливочным краном и сушкой (4×3) |
12 |
|
Уборные персонала с кабиной личной гигиены при одной из уборных |
9 |
|
Итого: |
69 |
|
Всего по реабилитационному центру |
1343 |
|
1.1. Помещения залов, бассейна, массажа: |
|
|
Универсальный зал |
- 20 |
|
Зал тренажеров |
- 9 |
|
Бассейн |
- 7 |
|
Подводный душ-массаж |
- 1 |
|
Массаж, мануальная терапия |
- 3 |
|
Итого: |
40 |
|
1.2. Помещения электро, свето-, теплолечения, психотерапии: |
|
|
Кабинет электро-, светолечения |
- 6 |
|
Кабинет теплолечения |
- 2 |
|
Кабинет рефлексотерапии |
- 4 |
|
Кабинет психотерапии |
- 10 |
|
Итого: |
22 |
Примечания: 1. Из 62 процедурных мест этой группы (24 места в универсальном зале и 4 в зале тренажеров следует считать преимущественно оздоровительными), 38 - используется преимущественно для реабилитации.
2. Количество мест в помещениях для ожидания соответствует количеству процедурных мест.
|
Процедурная |
- 8 |
|
Перевязочная |
- 3 |
|
Процедурная для кишечных промываний |
- 1 |
|
Кабинет терапевта |
- 5 |
|
Кабинет стоматолога |
- 2 |
|
Итого: |
19 |
Оптимальная численность одной группы - 10 человек.
Среднее количество процедур на 1 человека при групповых курсах - 4.
Единовременная пропускная способность - 40 процедурных мест.
|
Кол-во групп |
К-во инвалидов, получающих групповое лечение |
К-во процедур при групповом лечении |
К-во индивидуальных процедур |
Общее к-во пациентов |
|
1 |
10 |
40 |
120 |
130 |
|
2 |
20 |
80 |
80 |
100 |
|
3 |
30 |
120 |
40 |
70 |
|
4 |
40 |
160 |
- |
40 |
|
|
Виды процедур |
|||
|
ЛФК |
Физиотерапия |
Психотерапия |
Трудотерапия, консультации врачей |
|
|
1-я группа |
9 ч - 10 ч 30 мин |
10 ч 30 мин - 12 ч |
12 ч - 13 ч 30 мин |
13 ч 30 мин - 15 ч |
|
2-я группа |
13 ч 30 мин - 15 ч |
9 ч - 10 ч 30 мин |
10 ч 30 мин - 12 ч |
12 ч - 13 ч 30 мин |
|
3-я группа |
12 ч - 13 ч 30 мин |
13 ч 30 мин - 15 ч |
9 ч - 10 ч 30 мин |
10 ч 30 мин - 12 ч |
|
Индивидуальные процедуры |
10 ч 30 мин - 12 ч |
12 ч - 13 ч 30 мин |
13 ч 30 мин - 15 ч |
9 ч - 10 ч 30 мин |
В настоящее время Минздравом СССР штатная численность персонала учреждений и их подразделений не регламентируется, она определяется местными органами здравоохранения и администрацией учреждений. Численность персонала реабилитационного центра, используемая для расчетов, является ориентировочной, и основана только на необходимости обеспечить функционирование основных помещений. Учтен вариант работы в одну смену. Не учтена численность консультантов, работающих эпизодически.
|
Заведующий центром |
1 |
|
Старшая медсестра |
1 |
|
Инструкторы ЛФК для работы в залах |
2 |
|
Инструкторы ЛФК для работы в бассейнах |
1 |
|
Медсестры физиотерапевтических кабинетов (в том числе подводного душа-массажа) |
3 |
|
Врач-стоматолог |
0,25 |
|
Врач-терапевт |
0,5 |
|
Медсестра процедурного кабинета, перевязочной |
- 0,25+0,25 |
|
Патронажная медсестра |
1 |
|
Регистратор |
1 |
|
Врач-рефлексотерапевт |
1 |
|
Врач-психотерапевт |
1 |
|
Врач ЛФК |
0,25 |
|
Врач-физиотерапевт |
0,25 |
|
Гардеробщик |
1 |
|
Уборщицы |
4 |
|
Всего: |
18,75 |

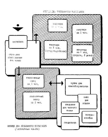
Рис 1. Схема взаимосвязи помещений жилого комплекса с обслуживанием и центром реабилитации для молодых инвалидов

Рис. 2. Схема взаимосвязи групп жилых помещений

Рис. 3. Устройство для подъема инвалида на кресле-коляске, состоящее из платформы, аппарели и механизма для подъема: А - разрез; Б - общий вид

Рис. 4. Вертикальный подъемник на один этаж для инвалидов на креслах-колясках: А - разрез; Б - план подъемника

Рис. 5. Площади (в см), необходимые для открывания дверей: А, Б, В - навесных; Г – раздвижных
Примечание. Стрелками указаны направления подъезда к двери кресла-коляски

Рис. 7. Ширина прямоугольного коридора (в см) (в скобках дан размер коридора в специальных домах с обслуживанием для инвалидов). Размеры коридора при повороте кресла-коляски на 90°

Рис. 9. Размеры функциональных зон у кровати: а - для инвалидов, не нуждающихся в уходе; б - для инвалидов, нуждающихся в уходе; в - для родителей (один из них инвалид)

Рис. 11. Расположение дверных ручек Примечание. Максимальное усилие для открывания и закрывания двери должно быть не более 2,5 кг

Рис. 12. Размещение мебели, оборудования и пути проезда и поворотов кресла-коляски в жилой комнате

Рис 13. Устройство для пересадки инвалида с кресла-коляски на кровать: 1 - кровать; 2 - сидение для пересадки

Рис 14. Мебель и оборудование жилой комнаты: 1 - шкаф с раздвижными створками; 2 - выдвижная вешалка; 3 - выдвижные полки; 4 - выдвижная вешалка (вариант); 5 - тумбочка

Рис. 15. Примеры решения кухонь: А и Б - для квартир из двух и более комнат; В - для однокомнатных квартир; Г - разрез

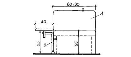
Рис. 16. Пример размещения мебели и оборудования в кухне, которой пользуется инвалид на кресле - коляске

Рис. 17. Выдвигаемые напольные шкафы и полки позволяют инвалиду на кресле-коляске максимально приблизиться к кухонному оборудованию

Рис. 18. Размещение в кухне настенного оборудования, которым может самостоятельно пользоваться инвалид на кресле-коляске

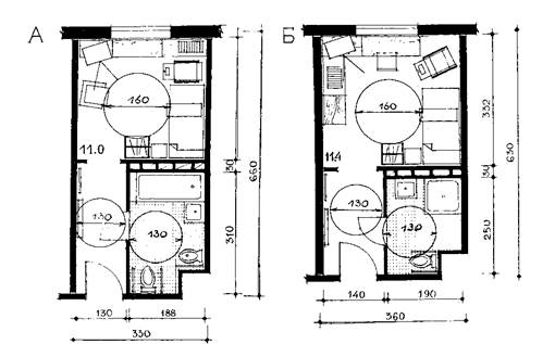
Рис. 19. Временное жилище жилого комплекса - гостиничные номера на одного человека - инвалида на кресле-коляске. Варианты: А - с поперечным шагом 330 см (санитарный узел состоит из ванны, умывальника, унитаза и бидэ); Б - с поперечным шагом 360 см (санитарный узел состоит из полибана, умывальника, унитаза)

Рис. 20. Вариант размещения обеденных столов в помещении кафе-буфета: А - въезд и выезд инвалидов на креслах-колясках; Б - вход и зона обслуживания для официантов с тележками

Рис. 21. Размещение инвалидов на креслах-колясках в зрительном зале:
А, Б -варианты расстановки кресел и кресел-колясок (планы)

Рис. 22. Кабинет массажа, мануальной
терапии и горизонтального вытяжения позвоночника:
А - кабинет горизонтального
вытяжения позвоночника; Б - кабинет массажа и мануальной терапии; 1 - стол для
лечебной гимнастики, массажа и вытяжения позвоночника; 2 - кушетка массажная; 3
-кушетка физиотерапевтическая; 4 - тумбочка прикроватная; 5 - табурет винтовой;
6 - стол палатный; 7 - стул полумягкий; 8 - умывальник прямоугольный

Рис. 23. Кабинет функциональной диагностики:
1 - стол однотумбовый; 2 - стул полумягкий; 3 - стол для аппаратуры; 4 - кушетка; 5 - ширма; 6 - вешалка; 7 - умывальник прямоугольный; 8 - электрокардиограф; 9 - электроэнцефалограф; 10 -осциллограф; 11 - шкаф для кабинета врача

А - раздевальня; Б - место для хранения специальных кресел-колясок для сауны; В - душевая; Г - кабина сухого жара; Д - санузел; Е - комната отдыха; 1 - скамейка гимнастическая; 2 - шкафчик для хранения одежды; 3 - поручень; 4 - сиденье откидное; 5 - поручень откидной: 6 -стол; 7 - кресло для отдыха; 8 - стол палатный; 9 - стул полумягкий

Рис. 25. Кабинет
психотерапии:
А - кабинет; Б - звукоизолирующий тамбур; 1 - стол однотумбовый; 2 - стул
полумягкий; 3 - стол палатный; А -
диапроектор; 5 - шкаф медицинский одностворчатый; 6 - экран; 7 -умывальник
прямоугольный; 8 - кресло-коляска

Рис. 26. Ванны лечебных бассейнов: Для обучения ходьбе: А - план, Б - разрез;

для подводного вытяжения: В - план Г - разрезы; 1 - ванна для дезинфекции ног; 2 - поручень

Рис. 27. Конструкция бассейна с опускающимся дном и перилами для поддержки инвалидов

Рис. 28. Бассейн с наклонным дном для принятия водных процедур

Pис. 29. Тренажер для развития плечевых и грудных мышц
|
ГОСТЫ, СТРОИТЕЛЬНЫЕ и ТЕХНИЧЕСКИЕ НОРМАТИВЫ. Некоммерческая онлайн система, содержащая все Российские Госты, национальные Стандарты и нормативы. В Системе содержится более 150000 файлов нормативно-технической документации, действующей на территории РФ. Система предназначена для широкого круга инженерно-технических специалистов. Copyright © www.gostrf.com, 2008 - 2025 |