|
|
|
МИНИСТЕРСТВО ПУТЕЙ СООБЩЕНИЯ
РОССИЙСКОЙ ФЕДЕРАЦИИ РУКОВОДСТВО по определению грузоподъемности опор железнодорожных мостов МОСКВА «ТРАНСПОРТ» 1995 Содержание Приведены основные положения, нормы и методические указания по определению грузоподъемности опор эксплуатируемых железнодорожных мостов. Изложенные нормы и методы расчета предназначены для классификации массивных мостовых опор, сооруженных из монолитного или сборного бетона, железобетона, каменной или кирпичной кладки, но могут быть распространены и на сквозные железобетонные или металлические мостовые опоры. Расчетные формулы выведены на основе действующих корм расчета инженерных сооружений по предельным состояниям. Руководство составили В.В. Пименов и А.Ф. Лунин (Гипротранспуть). В состав Руководства включены (в виде Приложений) систематизированные данные по основным типам мостовых опор, металлических и железобетонных пролетных строений, составленные Лобановым А. Е. (MИИТ) и Антиповым А.С. (ВНИИЖТ). ПРЕДИСЛОВИЕНастоящее Руководство по определению грузоподъемности опор эксплуатируемых железнодорожных мостов разработано на основе принципа классификации и методики расчета сооружений по предельным состояниям первой группы с сохранением единичной эталонной нагрузки по схеме Н1. Использование общего принципа классификации и эталонной нагрузки Н1 позволяет сравнивать классы опор с классами подвижного состава определяемыми в соответствии с Руководством по пропуску подвижного состава по железнодорожным мостам. Расчетные сопротивления кладки мостовых опор, грунтовых оснований и другие нормативы, заложенные в Руководстве, приняты на основе изучения и обобщения многолетнего опыта эксплуатации мостовых опор и научно-исследовательских работ, проведенных МИИТом, ЛИИЖТом и др. В Руководстве обобщены и обоснованы особенности классификации мостовых опор проявившиеся в наибольшей степени при расчете грузоподъемности устоев. Основные положения и принципиальные вопросы методики классификации мостовых опор рассмотрены комиссией инженерных сооружений и строительства научно-технического совета МПС. Замечания, отзывы и вопросы, возникающие при классификации мостовых опор по настоящему Руководству, следует направлять в отдел инженерных сооружений Главного управления пути МПС или в институт Гипротранспуть. Зам. начальника Главного управления пути МПС А.В. Бушин 1. ОБЩИЕ УКАЗАНИЯОсновные положения классификации опор по грузоподъемности1.1. В соответствии с требованиями Правил технической эксплуатации железных дорог Российской Федерации (п. 3.11) все мосты должны быть проклассифицированы по грузоподъемности. Опоры мостов классифицируют с целью определения условий пропуска по ним различных подвижных нагрузок и решения вопросов, связанных с реконструкцией опор, их усилением, ремонтом или заменой опирающихся на них пролетных строений. 1.2. Классификацию опор осуществляют на основании Основных положений по расчету надежности строительных конструкций и оснований (ГОСТ 27751-88) по предельным состояниям первой группы. Классификация подвижных нагрузок по воздействию их на опоры выполняется на основании Руководства по определению грузоподъемности металлических пролетных строений железнодорожных мостов и Руководства по пропуску подвижного состава по железнодорожным мостам с учетом динамических коэффициентов, применяемых по п. 1.6 настоящего Руководства. Руководство разработано применительно к массивным однопутным и многопутным мостовым опорам из монолитного или сборного бетона, железобетона, бутовой, кирпичной или каменной кладки, но может быть использовано и для классификации сквозных металлических или железобетонных мостовых опор. 1.3. При определении грузоподъемности опор следует учитывать: конструкцию и размеры опор, их оснований и фундаментов; способы и условия возведения; прочностные характеристики материалов всех частей опор; физико-механические характеристики грунтов в основании опор и подходных насыпей в пределах призмы обрушения; физическое состояние опор в надводной и подводной части, т.е. наличие в них повреждений, появившихся в процессе эксплуатации, атмосферных воздействий и других причин, а также вследствие конструктивных и строительных недостатков и дефектов; поведение опор под поездными нагрузками в период паводков, ледоходов и других воздействий; эффективность и качество проведенных ремонтов. 1.4. Грузоподъемность мостовых опор определяется по предельным состояниям: на прочность кладки тела опоры и фундамента; на прочность грунтового основания с проверкой положения равнодействующей нагрузок в уровне подошвы фундамента; на устойчивость положения против опрокидывания и сдвига. За предельное состояние опоры принято достижение в рассматриваемом сечении напряжения, равного расчетному сопротивлению кладки или грунта, а также равенство удерживающих и сдвигающих сил или опрокидывающих и удерживающих моментов. В каждом расчетном сечении опоры грузоподъемность определяется по фактическим размерам поперечных сечений и механическим характеристикам кладки, а в сечении по подошве фундамента - по физико-механическим характеристикам грунтов. 1.5. Для каждого расчетного сечения определяется максимальная интенсивность временной вертикальной равномерно распределенной нагрузки (допускаемая временная нагрузка), которая не превышает предельной нагрузки, вызывающей наступление предельного состояния опоры. Интенсивность допускаемой временной нагрузки k, выраженная в единицах эталонной нагрузки kн с соответствующим ей динамическим коэффициентом (1 + m), представляет собой класс опоры К в определенном сечении: Значения интенсивностей равномерно распределенных нагрузок k и kн определяются для одной и той же линии влияния (по ее длине и положению вершины). В качестве эталонной нагрузки принимается временная вертикальная нагрузка H1 (приложение 1); динамический коэффициент к этой нагрузке принимается для паровозной тяги по табл. 1.1 соответственно для металла или железобетона. При одновременном загружении единичной нагрузкой пролетных строений, опирающихся на промежуточную опору с обеих ее сторон (в том числе с разными расчетными пролетами и изготовленными из разных материалов - металла и железобетона), необходимо определить приведенную единичную нагрузку с соответствующим динамическим воздействием: где Таблица 1.1. Значения динамического коэффициента (1 + m0)
Для расчетных схем с
загруженном обоих примыкающих к опоре пролетных строений вычисленное значение 1.6. Подвижной состав (локомотивы, вагоны, транспортеры, краны и другие нагрузки) классифицируются по воздействию на опоры с выражением эквивалентной нагрузки от подвижного состава k0 в единицах той же эталонной нагрузки kн с динамическим коэффициентом (1 + m), что и при определении классов опор. Число единиц эквивалентной подвижной нагрузки, выраженное в долях эталонной нагрузки, является классом подвижного состава K0:
где k0 - эквивалентная нагрузка от классифицируемого подвижного состава, принимаемая по Руководству по пропуску подвижного состава по железнодорожным мостам; (1 + m0) - динамический коэффициент, характеризующий воздействие подвижного состава на пролетное строение, опирающееся на опору и определяемый по табл. 1.1. При загружении
подвижным составом пролетных строений, опирающихся на промежуточную опору с
обеих ее сторон, класс нагрузки определяют с учетом приведенного воздействия на
опору классифицируемого подвижного состава. Приведенная эквивалентная нагрузка Приведенный
класс подвижного состава 1.7. При
определении грузоподъемности устоев используется треугольно-прямоугольная линия
влияния (рис. 1.1). Эквивалентную где k0
и k0np - табличные значения эквивалентных нагрузок
треугольных линий влияния соответственно длиной l и lпр
при коэффициенте a,
определяющем положение вершины линий влияния, равном 0; kн и Значения
единичных и эквивалентных нагрузок k0 и kн;
Рис. 1.1. Треугольно-прямоугольная линия влияния 1.8. Грузоподъемность опор в расчетных сечениях определяется с учетом постоянных и временных нагрузок, перечисленных в табл. 3.3 настоящего Руководства, включая прочие воздействия в виде ветровой и ледовой нагрузки и нагрузки от навала судов. Горизонтальные удары подвижного состава, так же как и при классификации пролетных строений мостов, не учитываются. 1.9. Расчетные сечения назначаются по обрезу и по подошве фундамента, а также в сечениях с резким изменением конфигурации или площади поперечного сечения. Промежуточные опоры рассчитываются в двух расчетных плоскостях: в плоскости продольной оси моста и в плоскости перпендикулярной к ней (поперечной фасаду моста); грузоподъемность устоев проверяют только в плоскости продольной оси моста. 1.10. Для определения грузоподъемности опор используют следующие исходные уравнения предельных состояний: по среднему давлению (на прочность кладки и несущую способность грунта): SNП + SNК = mnRA; (1.5) по максимальному давлению (для наиболее загруженной грани): (SNП + SNК)r + SMП + SMК = mnRW; (1.6) по положению равнодействующей относительно центра тяжести сечения с учетом ограничений эксцентриситета равнодействующей нагрузок (определяется только по подошве фундамента): (SNП + SNК)r'e = SMП + SMК; (1.7) по устойчивости положения против опрокидывания:
по устойчивости опоры против сдвига по грунту:
В приведенных и последующих формулах: NП, NК - вертикальные усилия соответственно от постоянных и временных (допускаемых) нагрузок; MП, MК - моменты в сечениях соответственно от постоянных нагрузок и временных вертикальных и горизонтальных воздействий; nRA - несущая способность сечения; m - коэффициент условий работы (см. п. 3.19); n - коэффициент надежности по назначению (см. п. 3.18); R - расчетное сопротивление кладки или несущая способность грунта (см. гл. 2); А - рабочая площадь поперечного сечения; W - момент сопротивления для наиболее нагруженной грани;
W¢ - момент сопротивления для наименее нагруженной грани;
е0 - эксцентриситет приложения равнодействующей относительно центра тяжести; Мo; Му - моменты соответственно опрокидывающих и удерживающих сил относительно оси возможного поворота опоры; ту - коэффициент условий работы при проверке устойчивости на сдвиг и опрокидывание (см. п. 3.20); nу - коэффициент надежности при проверке устойчивости (см. п. 3.18); Nc; Nу - соответственно сдвигающие горизонтальные нагрузки и удерживающие силы при расчете опор на сдвиг по грунту основания; f - коэффициент трения кладки по поверхности грунта (см. п. 2.5). 1.11. Используя исходные уравнения предельных состояний, вычисляют допускаемые временные вертикальные нагрузки k; по среднему давлению по максимальному давлению по устойчивости против опрокидывания по устойчивости против сдвига по положению равнодействующей находят относительный эксцентриситет ek - доля вертикальной нагрузки от подвижного состава, передающаяся на многопутную опору (см. п. 3.11); пk - коэффициент надежности к временным нагрузкам (см. табл. 3.3); hk - коэффициент сочетания временных нагрузок (см. табл. 3.4); W - площадь линии влияния усилий. На основании приведенных общих формул в соответствующих разделах Руководства используются частные формулы, учитывающие конкретные условия расчета промежуточных опор и устоев. Геометрические характеристики сечений опор1.12. Геометрические характеристики рассматриваемых сечений опор принимаются по фактическим размерам поперечных сечений с учетом ослабления их трещинами, вывалами камней и другими разрушениями и повреждениями. 1.13. При облицовке опор камнем твердых пород геометрические характеристики сечений следует определять по наружным контурам облицовки, а расчетные сопротивления кладки принимать по материалу ядра кладки без учета разницы модулей упругости камней облицовки и ядра кладки. Формулы для подсчета геометрических характеристик (площадей поперечного сечения, моментов инерции, моментов сопротивления, положения центров тяжести сечения) для наиболее характерных сечений устоев и промежуточных опор приведены в приложении 2. 1.14. Грузоподъемность опор, пораженных сквозными вертикальными трещинами) следует определять с учетом наличия таких трещин, при этом геометрические характеристики расчетных сечений необходимо рассчитывать для отдельных столбчатых массивов (см. п. 7 - Учет дефектов опор). 2. РАСЧЕТНЫЕ СОПРОТИВЛЕНИЯ КЛАДКИ И УСЛОВНЫЕ СОПРОТИВЛЕНИЯ ГРУНТОВ В ОСНОВАНИИ ФУНДАМЕНТОВ МОСТОВЫХ ОПОР2.1. Расчетные сопротивления кладки мостовых опор, расположенных в умеренной климатической зоне принимаются по табл. 2.1 при удовлетворительном состоянии кладки без выщелачивания, шелушения, размораживания и др. дефектов. Значения расчетных сопротивлений и коэффициентов условий работы, приведенные в табл. 2.1, соответствуют надземным частям опор; для подземных частей опор расчетные сопротивления кладки принимаются с повышающим коэффициентом 1,1, а для зоны переменного уровня воды - с понижающим коэффициентом 0,9. Таблица 2.1. Расчетные сопротивления кладки мостовых опор по прочности на сжатие и коэффициенты условий ее работы
Примечание. Прочность растворов приведена в 28-дневном возрасте, а прочность бутовой кладки - в трехмесячном возрасте. 2.2. Снижение прочностных характеристик кладки в результате многолетнего воздействия климатических факторов учитывается понижающим климатическим коэффициентом kK, зависящим от суровости климатической зоны и продолжительности эксплуатации (табл. 2.2). Таблица 2.2. Значения климатических коэффициентов kK в зависимости от продолжительности эксплуатации мостовых опор
2.3. При неудовлетворительном состоянии кладки, отсутствии архивно-исполнительной документации или при наличии сомнительных противоречивых исходных данных расчетные сопротивления кладки следует определять по результатам лабораторных испытаний керновых проб, желательно в комплексе с ультразвуковыми исследованиями прочности кладки приборами и по методике НИИ Мостов. Ориентировочные данные о прочности кладки мостовых опор можно получить по показаниям отскока ударной массы склерометра Шмидта, однако для повышения достоверности ударных испытаний проводить их следует также при одновременном контрольном взятии и испытании керновых проб. Выбуривание кернов, как в надводной, так и в подводной части мостовых опор, рекомендуется осуществлять с помощью компактной буровой установки, разработанной и изготовленной в НИИ Мостов. Рабочий орган установки комплектуется кольцевыми алмазными сверлами диаметром 60-100 мм. Размеры кернов и методика их испытаний должны соответствовать требованиям ГОСТ 10180-78* "Бетоны. Методы определения прочности на сжатие и растяжение". 2.4. Расчетные сопротивления грунтов в основании мостовых опор определяются по приложению 3. Для мостовых опор, заложенных на глинистых грунтах и эксплуатируемых свыше 20 лет, а для опор, заложенных на песчаных грунтах и эксплуатируемых свыше 10 лет (время полной стабилизации, уплотнения и упрочнения грунтов основания) при отсутствии в опорах осадок, кренов, сдвигов и других дефектов расчетные сопротивления грунтов могут быть повышены, но не более чем на 50 %, по сравнению с подсчитанными по формулам приложения 3. Если фундамент опоры заключен в сплошное шпунтовое ограждение, то расчетное сопротивление грунта может быть повышено до 75 %. 2.5. При расчетах на устойчивость мостовых опор против плоского сдвига (скольжения) по грунту в расчет принимают следующие значения коэффициента трения f кладки по поверхности: Глины во влажном состоянии..................... 0,25; Глины в сухом состоянии........................... 0,30; Суглинки и супеси....................................... 0,30; Пески............................................................ 0,40; Гравелистые и галечниковые грунты.......... 0,50; Скальные грунты.......................................... 0,60. 2.6. При наличии проселочных грунтов, плавунов и других слабых отложений, а также при нарастающих (незатухающих) осадках или кренах опор расчетные сопротивления следует принимать по данным лабораторных испытаний образцов грунтов, результатам штамповых и других испытаний. 2.7. При отсутствии архивно-исполнительной документации и затруднениях с выполнением инженерно-геологических обследований ориентировочные условные сопротивления песчаных грунтов средней плотности можно принять по табл. 2.3, а пылевато-глинистых (непросадочных) грунтов - по табл. 2.4, при этом для глинистых грунтов учтено уплотнение в процессе эксплуатации (коэффициент пористости принят равным 0,6-0,7); условное сопротивление всех глинистых грунтов в текуче-пластичном состоянии следует принимать равным 98 кПа (10 тс/м2). Для получения расчетных сопротивлений необходимо условные сопротивления, приведенные в табл. 2.3 и 2.4, подставить в формулу (1) приложения 3 и произвести вычисления. Таблица 2.3. Условное сопротивление песчаных грунтов средней плотности под фундаментами мостовых опор R0, кПа (тс/м2)
Таблица 2.4. Условные сопротивления пылевато-глинистых грунтов под фундаментами мостовых опор R0, кПа (тс/м2)
2.8. Расчетные сопротивления осевому сжатию скальных грунтов определяют по формуле (2) приложения 3 на основании предельной прочности на сжатие образцов скального грунта. При отсутствии лабораторных данных о прочности образцов скального основания ориентировочно можно принять следующие расчетные сопротивления: Скала твердая сплошная.........………….... 2000 кПа (200 тс/м2) Песчаники и известняки среднетвердые .. 1200 кПа (120 тс/м2) Песчаники и известняки слаботвердые …. 800 кПа (80 тс/м2) 3. НАГРУЗКИ, ИХ СОЧЕТАНИЯ И КОЭФФИЦИЕНТЫПостоянные нагрузки и воздействия3.1. Постоянными нагрузками для мостовых опор являются: собственный вес опоры, включающий вес фундамента, надфундаментной части и подферменной площадки; вес пролетных строений (включая опорные части), опирающихся на опору, мостового полотна, смотровых приспособлений, коммуникаций и других обустройств, расположенных на пролетном строении; вес балласта с частями пути в пределах длины устоя; вертикальное давление от собственного веса грунта, расположенного на уступах фундамента и в пазухах между обратными стенками устоя; горизонтальная составляющая от веса грунта, расположенного в пределах призмы обрушения, а также грунта, лежащего ниже естественной поверхности земли (до подошвы фундамента). 3.2. Собственный вес опор и опирающихся на них пролетных строений определяют по исполнительной документации или архивным чертежам, а при их отсутствии по натурным обмерам. Справочные данные по конструкции и объему кладки мостовых опор старых лет постройки приведены в приложении 4. Вес наиболее распространенных металлических и железобетонных пролетных строений можно принять по данным приложений 5 и 6. Объемный вес материалов, используемых при сооружении опор, приведен в приложении 7, а вес различных типов мостового полотна в приложении 8. Вес балласта с частями верхнего строения пути на железобетонных пролетных строениях и устоях во всех случаях следует определять по фактическим размерам балластной призмы со средней плотностью балласта (объемным весом) не менее 20 кН/м3 (2,0 тс/м3). 3.3. Нормативное вертикальное давление от веса насыпанного на уступы опор и в пазухи устоев грунта pv, кПа (тс/м2), определяется по формуле: pv = gnh. (3.1) где gn - нормативный удельный вес грунта, кН/м3 (тс/м3); h - высота засыпки, м, определяемая для устоев относительно уровня подошвы рельсов. 3.4. Нормативное горизонтальное (боковое) давление от собственного веса грунта примыкающей к опоре насыпи (призмы обрушения) определяется по формуле: pn = gnhtn (3.2) где tn - коэффициент нормативного бокового давления грунта засыпки береговых опор. В свою очередь,
где jn - нормативный угол внутреннего трения грунта, град. Значения нормативного удельного веса и нормативного утла внутреннего трения насыпного грунта следует принимать по лабораторным исследованиям образцов грунтов, взятых из насыпи. При отсутствии таких исследований допускается принимать удельный вес засыпки gn - 17,7 кН/м3 (1,80 тс/м3), нормативный угол внутреннего трения jn = 35° (при засыпке песчаным - дренирующим - грунтом). Методика определения равнодействующей нормативного горизонтального (бокового) давления от собственного веса насыпного грунта, а также грунта, лежащего ниже естественной поверхности земли, на опоры мостов приведена в приложении 9. При наличии характеристик грунтов, полученных по данным лабораторных исследований, расчетные значения угла внутреннего трения, средней плотности и др. можно принимать по приложению 10. Временные нагрузки от подвижного состава3.5. Временная вертикальная допускаемая нагрузка должна быть определена в результате классификации мостовой опоры. Эта нагрузка является равномерно распределенной и выражается в т/м длины линии влияния. Основные формулы вычисления допускаемых временных вертикальных нагрузок приведены в пп. 1.11, более подробная методика расчетов рассмотрена в п. 4-6 настоящего Руководства. 3.6. При воздействии временной подвижной нагрузки на опоры мостов учитывается также горизонтальная продольная нагрузка от торможения или тягового усилия t, принимаемая в виде равномерно распределенной продольной нагрузки на всей длине пролета L в размере 10 % от временной нагрузки k или t = 0,1kL. (3.4) Считается, что приложена тормозная сила в центре шарниров опорных частей. При расчете устоев горизонтальную тормозную нагрузку от движущегося подвижного состава допускается прикладывать в уровне проезжей части. При расположении над опорой двух железнодорожных путей тормозную нагрузку на опору принимают с одного из них (1t), а при расположении трех и более путей - с двух путей (2t). От подвижной нагрузки на призме обрушения продольное тормозное (тяговое) усилие в расчетах не учитывается. 3.7. Продольные усилия, передаваемые с пролетных строений на неподвижные опорные части, следует принимать в размере 100 % полного продольного усилия (b = 1), собираемого на длине пролетного строения или устоя; при этом не учитывается продольное усилие от установленных на той же опоре подвижных опорных частей соседнего пролета, кроме случая расположения неподвижных опорных частей со стороны меньшего из примыкающих к опоре пролетов. Усилие на опору в указанном случае следует принимать равным сумме продольных усилий, передаваемых через опорные части обоих пролетов, но не более усилия, передаваемого со стороны большего пролета при неподвижном его опирают. При расположении на одной промежуточной опоре подвижных опорных частей двух соседних пролетов или подвижной опорной части неразрезного пролетного строения необходимо производить проверки на случай передачи скользящими опорными частями 50 % (b = 0,5), а Катковыми, секторными или валковыми - 25 % (b = 0,25) всего продольного усилия. 3.8. Нормативную горизонтальную поперечную нагрузку от центробежной силы учитывают при расположении мостов на кривых участках пути в виде равномерно распределенной поперечной нагрузки, приложенной на высоте 2,2 м от головки рельса и направленной по радиусу от центра кривой. Нагрузка от центробежной силы c0 учитывается при радиусе кривой равном 3000 м и менее, величина ее определяется по формуле (3.5), но в любом случае она не должна превышать 15 % от искомой допускаемой нагрузки k или
где v - расчетная скорость движения поездов на участке. 3.9. При классификации опор тормозную и центробежную нагрузки вводят в расчет без учета динамического воздействия, поэтому нормативные нагрузки t и c0 необходимо умножить на понижающий коэффициент x, приведенный в табл. 3.1. Таблице 3.1. Значения коэффициента x, учитывающего снятие динамических добавок к тормозным и центробежным силам
Примечание.
Значения коэффициента 3.10. Нормативное горизонтальное продольное давление грунта на устои мостов (и промежуточные опоры, расположенные внутри конусов насыпи) от допускаемой временной вертикальной нагрузки, находящейся на призме обрушения, следует определять согласно приложению 11. 3.11. Во всех расчетах однопутных или многопутных опор временную вертикальную нагрузку с одного пути следует принимать с коэффициентом ek = 1,0, а нагрузку с остальных путей многопутной опоры с коэффициентом ek равным 1,0 при длине загружения 15 м и менее и равным 0,7 при длине загружения 25 м и более; для промежуточных длин загружения - по интерполяции. Прочие временные нагрузки3.12. Нормативную интенсивность ветровой нагрузки в соответствии с измененным в 1991 г. СНиП 2.05.03-84, следует определять, как сумму нормативных значений средней (wm) и пульсационной (wp) составляющих: wП = wm + wp (3.6) Методические указания по определению интенсивности временной нормативной ветровой нагрузки приведены в приложении 12. Ориентировочно нормативную интенсивность полной ветровой нагрузки (wП) для железных дорог Российской Федерации, в большинстве своем проходящих по средне-умеренным ветровым районам (не выше IV по карте 3 приложения 5 к СНиП 2.01.07-85 "Районирование территории СССР по давлению ветра"), можно принять в размере 0,59 кПа (60 кгс/см2). 3.13. Горизонтальную поперечную ветровую нагрузку (sg) на мостовые опоры, пролетные строения и на подвижной состав, находящийся на мосту, следует принимать равной произведению нормативной интенсивности ветровой нагрузки на рабочую площадь конструкций моста и подвижного состава (Fpaб) или Рабочую ветровую поверхность для элементов моста и подвижного состава следует принимать равной: для главных ферм сквозных пролетных строений и сквозных опор в размере 20 % площади, ограниченной контурами фермы или опоры; для пролетных строений со сплошными балками - боковой поверхности наветренной главной балки; для сплошных опор - площади проекции тела опоры от уровня грунта или воды на плоскость перпендикулярную направлению ветра; для железнодорожного подвижного состава - площади сплошной полосы высотой 3 м с центром давления на высоте 2 м от головки рельса. Распределение ветровой нагрузки по длине пролета следует принимать равномерным. 3.14. Нормативную горизонтальную продольную ветровую нагрузку на опоры мостов выше уровня грунта или межени принимают равной поперечной ветровой нагрузке. Продольная нормативная горизонтальная ветровая нагрузка для сквозных пролетных строений принимается в размере 60 %, а для пролетных строений со сплошными балками - в размере 20 % составляющей полной нормативной поперечной ветровой нагрузки. Продольная ветровая нагрузка на транспортные средства, находящиеся на мосту, не учитывается. Горизонтальное усилие от продольной ветровой нагрузки, действующей на пролетное строение, следует принимать передающимся на опоры в уровне центра опорных частей. Распределение усилий между опорами принимают (с учетом подвижности опорных частей) таким же, как и горизонтального усилия от торможения, в соответствии с п. 3.7. 3.15. Нормативная ледовая нагрузка от давления льда на опоры мостов принимается в виде сил, определяемых согласно приложению 14. 3.16. Нормативную нагрузку от навала судов на опоры мостов принимают в виде сосредоточенной продольной или поперечной силы и ограничивают в зависимости от класса внутреннего водного пути значениями, установленными СНиП 2.05.03-84 и приведенными в табл. 3.2. Таблица 3.2. Нормативные нагрузки от навала судов
Нагрузка от навала судов должна прикладываться к опоре на высоте 2 м от расчетного судоходного уровня, за исключением случаев, когда опора имеет выступы, фиксирующие уровень действия этой нагрузки. Для опор, защищенных от навала судов (штунтовым ограждением или островком с пологим откосом) нагрузку от навала судов не учитывают. Коэффициенты надежности по нагрузкам, назначению сооружений и условиям работы3.17. В соответствии с общими принципами обеспечения надежности строительных конструкций все нагрузки при расчетах грузоподъемности опор принимаются с коэффициентами надежности по нагрузкам, приведенными в табл. 3.3. Таблица 3.3. Нагрузки, воздействия и коэффициенты надежности по нагрузке, принимаемые при классификации опор
Примечание. Значения, большие или меньшие единицы (в скобках), принимаются в расчет в зависимости от того, какое из них повышает абсолютную величину суммарного воздействия. * При определении веса пролетного строения по ведомостям исчисления металла принимают пр = 1,05 (0,95). ** Независимо от длины загружения. *** Промежуточные значения пk и пT принимают по интерполяции. 3.18. Коэффициент надежности по назначению п в расчетах по среднему и максимальному давлению (формулы 1.10 и 1.11) принимается равным 0,72 для сечения по подошве фундамента и равным 1,0 - для сечений по кладке опор. В расчетах на сдвиг и опрокидывание (формулы 1.13 и 1.12) коэффициент надежности по назначению nу принимается равным 1,1. 3.19. Коэффициенты условий работы т при расчетах по максимальному и среднему давлению (формулы 1.10 и 1.11) принимаются: для сечений по кладке опор по табл. 2.1; для сечений по подошве фундамента т = 1,0 при определении несущей способности нескальных оснований в случае действия, кроме постоянных, только временных нагрузок №№ 6 - 8 (см. табл. 3.3) и для всех грунтов по среднему давлению; т = 1,2 при скальных основаниях во всех случаях и при нескальных основаниях в случае действия, кроме постоянных и временных нагрузок №№ 6 - 8, одной или нескольких временных нагрузок №№ 9 - 12. 3.20. При расчете опор на устойчивость против опрокидывания (формула 1.12) коэффициент условий работы ту принимается равным 0,9 на скальном основании и 0,8 на нескальном. При расчете устоев на устойчивость против сдвига (формула 1.13) коэффициент ту = 0,9; при этом сдвигающие силы следует принимать с коэффициентами надежности по нагрузке (см. табл. 3.3) большими единицы, а удерживающие силы - с коэффициентами меньшими единицы. Сочетания нагрузок3.21. Грузоподъемность опор проверяется на различные сочетания нагрузок и воздействий, принимаемых с коэффициентами сочетаний hk, учитывающими уменьшение вероятности одновременного появления расчетных нагрузок. 3.22. Коэффициенты сочетаний к постоянным нагрузкам во всех расчетах следует принимать равным 1,0; при действии только одной поездной нагрузки (нагрузки 6 - 8, см. табл. 3.3) коэффициент сочетаний также принимают равным 1,0. При действии двух или более временных нагрузок к одной из них принимают hk = 0,8, а к остальным - hk = 0,7. Значения коэффициентов hk для различных видов расчетов и вариантов сочетаний временных нагрузок приведены в табл. 3.4. Таблица 3.4. Коэффициенты сочетаний hk временных нагрузок и воздействии
Примечание. Номера нагрузок без скобок соответствуют табл. 3.3, в скобках - СНиП 2.05.03-84. 3.23. Ветровая нагрузка (10) в сочетании с вертикальной поездной (6) учитывается с коэффициентом hk = 0,5. Во всех сочетаниях нагрузок коэффициент hk к нагрузкам 6-8 необходимо принимать одинаковым, а к нагрузке 9 - не более, чем к нагрузке 6. Нагрузки ледовая (11) и от навала судов (12) совместно не учитываются. 3.24. Приведенные в табл. 3.4 расчетные сочетания нагрузок предусматривают проверку грузоподъемности промежуточных опор и устоев против опрокидывания и сдвига по подошве фундамента, а все остальные виды расчета, кроме оценки прочности грунтового основания в уровне подошвы фундамента, включают проверку прочности кладки в поперечных сечениях с резким изменением конфигурации и площади. 4. ОПРЕДЕЛЕНИЕ ГРУЗОПОДЪЕМНОСТИ ПРОМЕЖУТОЧНЫХ ОПОРОбщие положенияГрузоподъемность промежуточных опор определяют: по среднему давлению; по максимальному давлению; по эксцентриситету приложения равнодействующей нагрузок с нахождением относительного эксцентриситета; по устойчивости против опрокидывания. Максимальное давление (у наиболее загруженной грани) определяют как в продольном, так и в поперечном направлении к оси моста, а эксцентриситет приложения равнодействующей в поперечном направлении к оси моста - только для двухпутных и многопутных опор, а также для опор с ледорезами. Все опоры по среднему давлению и симметричные однопутные опоры по эксцентриситету приложения равнодействующей рассчитывают только в продольном относительно оси моста направлении. Расчетные сопротивления кладки мостовых опор на порядок больше расчетных сопротивлений грунтов основания, поэтому при небольшой разнице площадей сечений по подошве и по обрезу фундамента классы по кладке можно не определять. Проверять грузоподъемность опор по прочности кладки необходимо лишь при значительном снижении расчетного сопротивления материала кладки и при наличии дефектов в виде вывалов камней, трещин и других разрушений, уменьшающих площадь сечения и изменяющих другие геометрические характеристики проверяемых поперечных сечений. Расчет опор со среднему давлению4.1. Расчетная схема промежуточной опоры (быка) по среднему давлению (рис. 4.1) предусматривает загружение временной вертикальной нагрузкой обоих опирающихся на нее пролетных строений. В расчет по среднему давлению вводят только вертикальные постоянные нагрузки и искомую временную нагрузку 6 (см. табл. 3.4), величину которой находят по формуле (1.10), в которой применительно к расчету промежуточной опоры, где
Рис. 4.1. Схема загружения промежуточной
опоры для расчета по среднему давлению: В свою очередь ll = lp1 + eк1; l2 = lp2 + eк2, где eк1; eк2 - длина консолей продольных балок; lp1; lp2 - расчетный пролет пролетных строений, опирающихся на опору. Определение допускаемой нагрузки по прочности кладки Вычисляя допускаемую эквивалентную нагрузку по прочности кладки принимают: m - по табл. 2.1; п = 1,0 по п. 3.18; R - по табл. 2.1 с учетом климатического коэффициента по табл. 2.2; А - вычисляют по формулам приложения 2; ek – по п. 3.11. Определение допускаемой временной нагрузки по несущей способности основания (по подошве фундамента) При оценке несущей способности грунтового основания принимают: п = 0,72; m = 1,0 в соответствии с пп. 3.18 и 3.19; R - по табл. 2.3, 2.4 и приложению 3. Остальные величины принимаются такими же, как и в расчетах на прочность кладки. Расчет опор по максимальному давлению4.2. Грузоподъемность промежуточных опор по максимальному давлению определяют как в продольном, так и в поперечном направлении. Расчет в продольном направлении На
максимальное давление промежуточную опору следует проверять по двум расчетным
схемам, загружая временной нагрузкой оба пролета (см. рис. 4.1)
или один (больший) пролет (рис. 4.2). Допускаемую временную нагрузку определяют
по формуле (1.11) в которой,
применительно к расчету промежуточной опоры: W - момент сопротивления сечения для
наиболее сжатой грани; А - площадь поперечного сечения по формулам
приложения 2;
Рис. 4.2. Схема загружения промежуточной опоры на максимальную
нагрузку в продольном направлении: Площади линий влияния нормальных сил и изгибающих моментов определяют по формулам: при загружении одного пролета при загружении двух пролетов При расположении на промежуточной опоре неподвижных
опорных частей обоих опирающихся на нее пролетов или при неподвижном опирании
на опору неразрезного пролетного строения тормозное усилие необходимо учитывать
с обоих примыкающих пролетов и определять Сумма моментов от постоянных нагрузок вычисляется с учетом действия прочих временных нагрузок по формуле В формулах (4.3 - 4.6): e1,
e2,
sl - ледовая нагрузка, подсчитываемая по приложению 14; ss - нагрузка от навала судов по п. 3.16;
b - коэффициент передачи продольного усилия через опорные части по п. 3.7;
L1, L2 - полные длины пролетных строений. Остальные буквенные обозначения те же, что и в расчетах по среднему давлению (см. п. 4.1). Грузоподъемность опор по максимальному давлению следует определять при трех комбинациях временных нагрузок, приведенных в табл. 3.4, принимая их с соответствующими коэффициентами сочетаний hk. В формулу (4.6) вводят только те нагрузки, которые входят в рассматриваемую комбинацию. В расчетах на прочность кладки и по несущей способности грунтов основания коэффициент надежности по назначению п принимают таким же, как и в расчетах по среднему давлению (см. п. 4.1). Коэффициент условий работы кладки т берут по табл. 2.1, а по грунту основания принимают в соответствии с п. 3.19. Расчет в поперечном направлении Временной вертикальной нагрузкой по схеме загружения промежуточной опоры в поперечном направлении загружают оба пролета (рис. 4.3). Величину допускаемой временной вертикальной нагрузки вычисляют по той же формуле (1.11), что и для расчета в продольном направлении. Применительно к расчету опоры в поперечном направлении значения моментов и площадей линии влияния подсчитывают по следующим формулам: где zc - плечо центробежной силы с0.
Рис. 4.3. Схема загружения промежуточной
опоры на максимальную нагрузку в поперечном направлении: Сумму вертикальных усилий SNП определяют по формуле (4.2); а сумму моментов от постоянных сил по формуле: где Остальные буквенные обозначения те же, что и в формулах (4.5) и (4.6), только нагрузки действуют в поперечном направлении к оси моста. Комбинации сочетаний временных нагрузок с соответствующими коэффициентами (hk) принимают по табл. 3.4, а коэффициенты надежности по назначению (п) и по условиям работы (m) берут те же, что и в расчетах в продольном направлении. Проверка положения равнодействующей нагрузок4.3. Проверку положения равнодействующей постоянных и временных нагрузок производят для эксцентрично загруженных опор с целью выяснения попадания равнодействующей в ядро сечения. Фактический
эксцентриситет положения равнодействующей определяется только в сечении по
подошве фундамента, как в продольном, так и в поперечном направлении по тем же
схемам загружения (см. рис. 4.1-4.3),
что и в расчетах по максимальному давлению. Величина эксцентриситета
определяется по общей формуле (1.14),
в которой Если подсчитанный эксцентриситет е < 1, т.е. равнодействующая не выходит за пределы ядра сечения, то растяжения у наименее загруженной грани не возникает, а в сечении по подошве не происходит ''отлипания'' грунта и все сечение работает на сжатие (верхняя эпюра на рис. 4.4). В этом случае уточнять класс по максимальному давлению не требуется. Если же эксцентриситет е > 1, т.е. равнодействующая выходит за пределы ядра сечения, то у менее загруженной грани возникает растяжение, а на сжатие работает только часть сечения на длине ус (нижняя эпюра на рис. 4.4). В этом случае класс по максимальному давлению необходимо уточнить, пересчитав его с учетом только сжатой части площади поперечного сечения основания. Размер сжимаемой части основания
Рис. 4.4. Положение равнодействующей нагрузок
и эпюры напряжений по подошве фундамента: Зная размер сжатой части основания, определяют площадь сжатого поперечного сечения Аc и соответствующий ему радиус ядра сечения:
Значение откорректированной допускаемой нагрузки по максимальному давлению по подошве фундамента с учетом выхода равнодействующей всех нагрузок за пределы ядра сечения определяют по формуле (1.11), подставляя в нее значение r, определенное по формуле (4.10). Расчет опор на опрокидывание4.4. Расчет на опрокидывание производится на одну комбинацию временных нагрузок в продольном направлении (см. табл. 3.4) и на две комбинации в поперечном; допускаемая нагрузка в этом расчете определяется по общей формуле (1.12). Числитель в формуле (1.12) должен быть положительным, в противном случае у опоры не обеспечена устойчивость на опрокидывание от действия только постоянных сил и, следовательно, пропуск временных нагрузок не возможен. Расчет в продольном направлении Применительно к расчету на опрокидывание в продольном направлении (рис. 4.5) имеем в формуле (1.12): ту - коэффициент условий работы, принимаемый по п. 3.20 равным 0,8 для нескальных грунтов и 0,9 - для скальных; nу - коэффициент надежности по назначению, равный 1,1 по п. 3.18;
Рис. 4.5. Расчетная схема загружаем промежуточной опоры на
опрокидывание в продольном направлении: В формуле
(4.13) коэффициенты надежности к удерживающим нагрузкам Расчет в поперечном направлении В этом случае (рис. 4.6) в общую расчетную формулу (1.12) для оценки грузоподъемности в поперечном направлении подставляют:
Рис. 4.6. Расчетная схема загружения промежуточной опоры на
опрокидывание в поперечном направлении: Здесь, так же
как и в расчете на продольное опрокидывание, коэффициенты надежности к
удерживающим нагрузкам Проверку опор на опрокидывание в поперечном направлении рекомендуется производить при zc более 10 м для опор под пролетные строения с ездой поверху и zc более 18 м для опор под пролетные строения с ездой понизу. 5. ОПРЕДЕЛЕНИЕ ГРУЗОПОДЪЕМНОСТИ УСТОЕВОбщие положенияУстои моста рассчитывают только в продольном к оси моста направлении, при этом грузоподъемность определяют: по среднему давлению; по максимальному давлению; по эксцентриситету приложения равнодействующей с нахождением относительного эксцентриситета от максимально допустимой нагрузки; по устойчивости против опрокидывания; на сдвиг по грунту основания. Расчет устоев по среднему давлении5.1. Допускаемая временная вертикальная нагрузка при этом расчете (рис. 5.1) определяется по общей формуле (1.10). Применительно к устою в формуле (1.10). где
Рис. 5.1. Схема загружения устоя для расчета
по среднему давлению: Коэффициент надежности по назначению (п) принимают по п. 3.18, а коэффициент условий работы (т) - по п. 3.19. Расчет устоев на прочность по максимальному давлению5.2. Максимальное давление определяется по наиболее загруженной грани устоя. Для передней грани оно возникает при загружении временной нагрузкой пролетного строения, самого устоя и призмы обрушения (рис. 5.2). Допускаемая временная нагрузка на устой по максимальному давлению определяется по формуле (1.11), в которой плечи нормальных сил для определения моментов от временной и постоянных нагрузок определяются относительно оси, проходящей через центр тяжести (ц.т.) рассчитываемого сечения. Моменты сил (относительно ц.т.) вводят в формулу с учетом принятого правила знаков: "Моменты сил, вращающие устой в пролет (против часовой стрелки) берутся со знаком "плюс", а моменты сил, вращающие устой в сторону насыпи (по часовой стрелке) - со знаком "минус". Для устоя, показанного на рис. 5.2, имеем:
SNП определяют так же, как и в расчете по среднему давлению, по формуле (5.2);
Рис. 5.2. Схема загружения устоя для расчета
по максимальному давлению: где Fh, zh -
равнодействующая и плечо действия горизонтального (бокового давления от
собственного веса грунта, примыкающей к устою насыпи, определяемые по
приложению 9;
Остальные буквенные обозначения показаны на рис. 5.2 или пояснены выше в разделе 5.1. В расчетах устоев на максимальное давление при высоте насыпи свыше 12 м следует учитывать дополнительное вертикальное давление на грунтовое основание от веса примыкающей части подходной насыпи, определяемое согласно приложения 27 к СНиП 2.05.03-84; величину этого давления следует вычитать из расчетного сопротивления R1, определяемого по приложению 4. Расчет устоев по эксцентриситету положения равнодействующей нагрузок5.3. Схема
загружения устоя по положению равнодействующей та же, что и при расчете по
максимальному давлению (см. рис. 5.2).
Эксцентриситет вычисляется по общей формуле (1.14), в которой k - допускаемая нагрузка по максимальному давлению,
подсчитанная в предыдущем п. 5.2
по формуле (1.11); r'
- радиус ядра сечения, вычисляемый по моменту сопротивления W' для
наименее напряженной грани: Если величина эксцентриситета приложения равнодействующей нагрузок, вычисленная по формуле (1.14), окажется больше единицы (е > 1), т.е. равнодействующая выходит за пределы ядра сечения, то допускаемую нагрузку на устой по максимальному давлению следует откорректировать по методике, изложенной в п. 4.3. Расчет устоя на опрокидывание5.4. Устой на опрокидывание загружают невыгоднейшим образом, располагая, например, временную нагрузку только на призме обрушения (рис. 5.3), при этом в соответствии с п. 2.16 и табл. 2 приложения 5 к СНиП 2.05.03-84, длину загружения призмы обрушения принимают равной половине, высоты от подошвы шпал до рассматриваемого сечения опоры. Линия влияния подвижной временной нагрузки имеет треугольное очертание с вершиной в середине (a = 0,5). Допускаемая нагрузка по опрокидыванию устоя определяется по общей формуле (1.12), в которой, применительно к устою:
Рис. 5.3. Расчетная схема загружения устоя
для расчета на опрокидывание:
В формулах (5.5) - (5.7): my - коэффициент условий работы, принимаемый равным 0,8 для нескальных оснований и 0,9 - для скальных; ny - коэффициент надежности по назначению, равный 1,1;
пF, пг, пg - коэффициенты надежности к опрокидывающим нагрузкам, принимаются по табл. 3.3 больше единицы (значения без скобок);
Остальные буквенные обозначения пояснены в разделе 5.2 и на рис. 5.3. Расчет устоя на сдвиг5.5. Схема загружения устоя на сдвиг по грунту та же, что и на опрокидывание (см. рис. 5.3). Допускаемая временная нагрузка определяется по преобразованной (расшифрованной) формуле (1.13), получившей для расчета устоя следующее выражение: где my
- коэффициент условий работы, принимаемый равным 0,9; ny - коэффициент
надежности по назначению, принимаемый равным 1,1; f -
коэффициент трения по поверхности грунта, определяемый по п. 2.5;
Fh,
sg
- горизонтальное боковое давление и ветровая нагрузка, определяемые так же, как
и в расчете на опрокидывание по приложениям 9
и 12;
Приведенная
площадь линии влияния 6. определение грузоподъемности по грунту фундаментов из свай или опускных колодцев, как условного фундамента мелкого заложенияОбщие положенияНесущую способность основания в уровне низа свай или низа (ножа) опускного колодца требуется проверять как для условного фундамента согласно приложению 15. Грузоподъемность опор по грунту основания условного фундамента проверяют: по среднему давлению подошвы условного фундамента, при этом по максимальному давлению, с соблюдением условия В формулах (6.1) и (6.2): pcp, pтах - соответственно среднее и максимальное давление подошвы условного фундамента на основание; n - коэффициент надежности по назначению сооружения, принимаемый по п. 3.18 равным 0,72; т - коэффициент условий работы, определяемый по п. 3.19; R - расчетное сопротивление грунтового основания осевому сжатию, определяемое по приложению 3 или ориентировочно по табл. 2.3 и 2.4 и пп. 2.7 и 2.8 Расчет промежуточных опор по среднему давлению6.1. Расчетная схема загружения промежуточной опоры на свайном основании по среднему давлению (рис. 6.1) теоретически не отличается от схемы, приведенной на рис. 4.1 для расчета опор на естественном основании. Детальная схема условного грунтового фундамента с буквенными обозначениями приведена на рис. 6.2.
Рис. 6.1. Схема загружения промежуточной
опоры на свайном основании для расчета по среднему давлению как условного
фундамента мелкого заложения:
Рис. 6.2. Схема условного грунтового фундамента: В расчет по среднему давлению вводят только вертикальные нагрузки, допускаемую временную нагрузку к вычисляют по общей формуле (1.10), в которой, применительно к расчету условного грунтового фундамента, принимают: где а, b - размеры в плане условного фундамента в направлении соответственно параллельном плоскости действия временной нагрузки и перпендикулярном к ней. В свою очередь
где Значения Расчет опор по максимальному давлению6.2. Промежуточные опоры по максимальному давлению рассчитывают как в продольном, так и в поперечном направлении. Расчет в продольном направлении Величину допускаемой временной нагрузки для схемы загружения опоры по максимальному давлению (рис. 6.3) можно получить из формулы (4) приложения 15, выделив в ней предварительно отдельно воздействия от постоянных и временных нагрузок:
Рис. 6.3. Расчетная схема загружения
промежуточной опоры на свайном основании для расчета на максимальное давление в
продольном направлении как условного фундамента мелкого заложения: В формуле (6.6):
с - коэффициент постели грунта в уровне подошвы условного фундамента; k' - коэффициент, определяющий нарастание с с глубиной по табл. приложения 15; SNП - определяется по формуле (4.2) Площадь линии
влияния нормальных сил Площадь линии влияния изгибающих моментов при загружении двух пролетов вычисляют по формуле:
где ei - горизонтальные
расстояния (плечи) от центра тяжести сечения до соответствующих нагрузок (см.
пояснения к обозначениям e1, e2, Остальные буквенные обозначения пояснены ранее в разделах 4-6 и на черт. 6.1-6.3. Грузоподъемность опор по максимальному давлению на грунт основания следует определять при трех комбинациях временных нагрузок, приведенных в табл. 3.4, принимая их с соответствующими коэффициентами сочетаний h в формулы (6.6-6.10) вводят только те нагрузки, которые входят в рассматриваемую комбинацию. Расчет в поперечном направлении По расчетной схеме загружения промежуточной опоры на максимальное давление в поперечном направлении (рис. 6.4) к временным нагрузкам, рассмотренным в плоскости продольной оси моста, добавляется усилие от центробежной сипы sc при расположении моста на кривой радиусом менее 3000 м. Величину допускаемой временной нагрузки определяют по той же формуле (6.6), что и при расчете в продольном направлении, однако в этом случае:
Рис. 6.4. Расчетная схема загружения промежуточной опоры на свайном
основании для расчета на максимальное давление в поперечном направлении как
условного фундамента мелкого заложения:
Суммарный
момент от постоянных и прочих временных нагрузок дополнительно к нагрузкам,
перечисленным в формуле (6.10),
учитывает ветровую нагрузку на подвижной состав, находящийся на пролетных
строениях:
В приведенных формулах буквенные обозначения пояснены выше в разделе 4.2. Комбинации сочетаний временных нагрузок принимают по табл. 3.4, а коэффициенты надежности по назначению и по условиям работы берут те же, что и при расчетах в продольном направлении. Расчет устоя по среднему давлению6.3. Схема загружения устоя по среднему давлению показана на рис. 5.1; допускаемая временная вертикальная нагрузка на грунт свайного основания определяется по общей формуле (1.10). Методика расчета условного грунто-свайного фундамента по среднему давлению приведена в разделе 6.1 формулы (6.3-6.5). Расчет устоя по максимальному давлению6.4. Схема загружения устоя по максимальному давлению та же, что и в п. 5.2 (см. рис. 5.2); допускаемая временная нагрузка по максимальному давлению на грунт определяется по формуле (6.6), в которой:
Fh, пг - пояснены в п. 5.2;
SNП - подсчитывают по формуле (5.2). Остальные обозначения в формуле (6.6) те же, что и в п. 6.2. 7. УЧЕТ ВЛИЯНИЯ ДЕФЕКТОВ ОПОР7.1. Все дефекты мостовых опор, включая отслоение поверхностного слоя, выколы, вывалы облицовочных камней и др. должны быть учтены при определении расчетных геометрических характеристик рассматриваемого сечения. В каждом ослабленном сечении необходимо определить расчетную рабочую площадь за вычетом дефектов, положение центра тяжести и моменты сопротивления. 7.2. При наличии на боковых гранях опор вертикальных сквозных трещин, проходящих по всей высоте опоры, расчетную рабочую площадь ограничивают трещиной и наиболее сжатой гранью опоры (заштрихованная часть сечения на рис. 7.1). Для этой части сечения, кроме площади, определяют положение центра тяжести и момент сопротивления для наиболее сжатой (передней) грани.
Рис. 7.1. Расчетная схема загружения устоя со сквозной вертикальной
трещиной на боковой поверхности: 7.3. При сквозных трещинах, проходящих не на всю высоту опоры, необходимо проверять сечение по низу сквозной трещины (сечение II-II на рис. 7.2), учитывая ослабление так же, как и в п. 7.2. 7.4. При наличии вертикальных не сквозных трещин на боковой поверхности опор ослабление учитывается определением геометрических характеристик для заштрихованной части сечения III-III. 7.5. Загружение устоя при определении максимального давления по п. 7.2 и 7.3 производится без учета постоянных и временных нагрузок, находящихся за трещиной на устое и призме обрушения (см. рис. 7.1), а по п. 7.4 не учитываются постоянные и временные нагрузки, действующие на незаштрихованную часть сечения III-III (см. рис. 7.2). При загружении на максимальное давление промежуточной опоры с вертикальной трещиной на фасаде, по аналогии с устоем, не учитывают постоянные и временные нагрузки со стороны меньшего пролета, включая ветровую, ледовую и нагрузку от навала судов, действующие на незаштрихованную часть сечения. 7.6. Наличие трещин в теле опоры приводит к выщелачиванию цементного раствора, разрыхлению кладки и снижению расчетного сопротивления материала тела опоры. В этих случаях необходимо брать керны для определения фактического снижения расчетного сопротивления кладки, учитывая тем самым влияние на грузоподъемность неудовлетворительного состояния кладки опоры. 7.7. При затруднениях с взятием керна для ориентировочной оценки грузоподъемности опоры можно понижать расчетное сопротивление кладки на основании имеющегося опыта обследования и статистических данных.
Рис. 7.2. Расчетная схема устоя с трещиной, распространяющейся не
на всю высоту боковой грани: 7.8. При наличии других дефектов, не упомянутых выше, но снижающих грузоподъемность опор, применяется осмысленный субъективный подход к оценке грузоподъемности, заключающийся в снижении геометрических характеристик, с учетом ослабления сечений, выявленными дефектами и (или) в понижении расчетных сопротивлений материала кладки опор. 7.9. Горизонтальные трещины по передней стенке устоя и на боковой поверхности промежуточной опоры, расположенные в уровне концов вертикальных сквозных трещин по фасаду моста, являются наиболее опасными и, наряду с косыми трещинами на выкол, требуют незамедлительного принятия мер по усилению опоры. ПРИЛОЖЕНИЕ 1ЭТАЛОННАЯ НАГРУЗКАВ качестве эталонной временной вертикальной нагрузки при классификации мостов принята нагрузка H1, схема которой показана на рисунке. Нагрузки, эквивалентные эталонной для треугольных линий влияния, приведены в табл. 1, а для треугольно-прямоугольных - в табл. 2.
Рис. Схема эталонной временной вертикальной нагрузки H1: Таблица 1. Эквивалентные нагрузки kн для треугольных линий влияния (без учета динамики) и динамические коэффициенты этой нагрузки
*Коэффициент a, определяющий положение вершины линии влияния, вычисляется по формуле: a = a0/l, где a0 - расстояние от вершины до ближайшего конца линии влияния. Табл. 1 справедлива для загружаемых на всей длине однозначных линий влияния. Для промежуточных значений a нужно принимать большие значения эквивалентных нагрузок. **Динамические коэффициенты
эталонной нагрузки определены по формуле Таблица 2. Эквивалентные нагрузки
Продолжение табл. 2
Окончание табл. 2
ПРИЛОЖЕНИЕ 2ОПРЕДЕЛЕНИЕ ГЕОМЕТРИЧЕСКИХ ХАРАКТЕРИСТИК НАИБОЛЕЕ РАСПРОСТРАНЕННЫХ ОПОР
Поперечные сечения наиболее распространенных опор: ПРИЛОЖЕНИЕ 3РАСЧЕТНОЕ СОПРОТИВЛЕНИЕ ГРУНТОВ ОСНОВАНИЯ ОСЕВОМУ
СЖАТИЮ
|
|||||||||||||||||||||||||||||||||||||||||||||||||||||||||||||||||||||||||||||||||||||||||||||||||||||||||||||||||||||||||||||||||||||||||||||||||||||||||||||||||||||||||||||||||||||||||||||||||||||||||||||||||||||||||||||||||||||||||||||||||||||||||||||||||||||||||||||||||||||||||||||||||||||||||||||||||||||||||||||||||||||||||||||||||||||||||||||||||||||||||||||||||||||||||||||||||||||||||||||||||||||||||||||||||||||||||||||||||||||||||||||||||||||||||||||||||||||||||||||||||||||||||||||||||||||||||||||||||||||||||||||||||||||||||||||||||||||||||||||||||||||||||||||||||||||||||||||||||||||||||||||||||||||||||||||||||||||||||||||||||||||||||||||||||||||||||||||||||||||||||||||||||||||||||||||||||||||||||||||||||||||||||||||||||||||||||||||||||||||||||||||||||||||||||||||||||||||||||||||||||||||||||||||||||||||||||||||||||||||||||||||||||||||||||||||||||||||||||||||||||||||||||||||||||||||||||||||||||||||||||||||||||||||||||||||||||||||||||||||||||||||||||||||||||||||||||||||||||||||||
|
Грунты |
Коэффициент пористости е |
Условное сопротивление R0 пылевато-глинистых (непросадочных) грунтов основания, кПа (тс/м2) в зависимости от показателя текучести IL |
||||||
|
|
0 |
0,1 |
0,2 |
0,3 |
0,4 |
0,5 |
0,6 |
|
|
Супеси при Ip £ 5 |
0,5 |
343 (35) |
294 (30) |
245 (25) |
196 (20) |
147 (15) |
98 (10) |
- |
|
0,7 |
294 (30) |
245 (25) |
196 (20) |
147 (15) |
98 (10) |
- |
- |
|
|
Суглинки при 10 £ Ip £ 15 |
0,5 |
392 (40) |
343 (35) |
294 (30) |
245 (25) |
196 (20) |
147 (15) |
98 (10) |
|
0,7 |
343 (35) |
294 (30) |
245 (25) |
196 (20) |
147 (15) |
98 (10) |
- |
|
|
1,0 |
294 (30) |
245 (25) |
196 (20) |
147 (15) |
98 (10) |
- |
- |
|
|
Глины при Ip ³ 20 |
0,5 |
588 (60) |
441 (45) |
343 (45) |
294 (30) |
245 (25) |
196 (20) |
147 (15) |
|
0,6 |
490 (50) |
343 (35) |
294 (30) |
245 (25) |
196 (20) |
147 (15) |
98 (10) |
|
|
0,8 |
392 (40) |
294 (30) |
245 (25) |
196 (20) |
147 (15) |
98 (10) |
- |
|
|
1,1 |
294 (30) |
245 (25) |
196 (20) |
147 (15) |
98 (10) |
- |
- |
|
Примечания. 1. Для промежуточных значений IL и е R0 определяется по интерполяции. 2. При значениях числа пластичности Ip в пределах 5-10 и 15-20 следует принимать средние значения R0, приведенные в табл. 1 соответственно для супесей, суглинков и глин
Расчетное сопротивление осевому сжатию оснований из невыветрелых скальных грунтов R, кПа (тс/м2), следует определять по формуле
где gg - коэффициент надежности по грунту, принимаемый равным 1,4; Rc - предел прочности на одноосное сжатие образцов скального грунта, кПа (тс/м2).
Если основания состоят из однородных по глубине слабовыветрелых, выветрелых или сильновыветрелых скальных грунтов, их расчетное сопротивление осевому сжатию следует определять, пользуясь результатами статических испытаний грунтов штампом. При отсутствии таких результатов допускается значение R принимать для слабовыветрелых и выветрелых скальных грунтов - по формуле (2), принимая значение Rc с понижающим коэффициентом, равным соответственно 0,6 и 0,3; для сильновыветрелых скальных грунтов - по формуле (1) и табл. 3 как для крупнообломочных грунтов.
2. При определении расчетного сопротивления оснований из нескальных грунтов по формуле (1) заглубление фундамента мелкого заложения или фундамента из опускного колодца следует принимать:
а) для промежуточных опор мостов - от поверхности грунта у опоры на уровне срезки в пределах контура фундамента, а в русле рек - от дна водотока у опоры после понижения его уровня на глубину общего и половину местного размыва грунта при расчетном расходе;
б) для обсыпных устоев - от естественной поверхности грунта с увеличением на половину высоты конуса насыпи у передней грани фундамента по оси моста;
3. Расчетные сопротивления, вычисленные по формуле (1) для глин или суглинков в основаниях фундаментов мостов, расположенных в пределах постоянных водотоков, следует повышать на величину, равную 14,7dW, кПа (1,5dW, тс/м2), где dW – глубина воды, м, от наинизшего уровня межени до уровня, принимаемого по п. 2а.
Таблица 2
|
Песчаные грунты и их влажность |
Условное сопротивление R0 песчаных грунтов средней плотности в основаниях, кПа (тс/м2) |
|
Гравелистые и крупные независимо от их влажности |
343 (35) |
|
Средней крупности: |
|
|
маловлажные |
294 (30) |
|
влажные и насыщенные водой |
245 (25) |
|
Мелкие: |
|
|
маловлажные |
196 (20) |
|
влажные и насыщенные водой |
147 (15) |
|
Пылеватые: |
|
|
маловлажные |
196 (20) |
|
влажные |
147 (15) |
|
насыщенные водой |
98 (10) |
Примечание. Для плотных песков приведенные значения R0 следует увеличивать на 100 %, если их плотность определена статическим зондированием, и на 60 %, если их плотность определена по результатам лабораторных испытаний грунтов.
|
Грунт |
Условное сопротивление R0 крупнообломочных грунтов в основаниях, кПа (тс/м2) |
|
Галечниковый (щебенистый) из обломков пород: |
|
|
кристаллических |
1470 (150) |
|
осадочных |
980 (100) |
|
Гравийный (дресвяной) из обломков пород: |
|
|
кристаллических |
785 (80) |
|
осадочных |
490 (50) |
Примечание. Приведенные в табл. 3 условные сопротивления даны для крупнообломочных грунтов с песчаным заполнителем. Если в крупнообломочном грунте содержится свыше 40 % глинистого заполнителя, то значения R0 для такого грунта должны приниматься по табл. 1 в зависимости от Ip и IL заполнителя.
|
Грунт |
Коэффициенты |
|
|
k1, м-1 |
k2 |
|
|
Гравий, галька, песок гравелистый крупный и средней крупности |
0,10 |
3,0 |
|
Песок мелкий |
0,08 |
2,5 |
|
Песок пылеватый, супесь |
0,06 |
2,0 |
|
Суглинок и глина твердые и полутвердые |
0,04 |
2,0 |
|
Суглинок и глина тугопластичные и мягкопластичные |
0,02 |
1,5 |
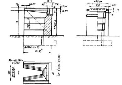
Конструкция и размеры устоев постройки 1870-1908 гг. (табл. 1-3) (рис. 1-6) приведены по данным обобщения С.О. Джигит, П.М. Зелевича и Г.И. Маркова, 1947 г.
Материалом типовых устоев, разработанных в 1928 г. (рис. 7) служит бутовая кладка на цементно-песчаном растворе состава 1:4 с временным сопротивлением бутового камня сжатию не менее 300 кгс/см2. Глубина заложения фундаментов и число уступов назначались в зависимости от грунтовых условий, при этом размер уступов (ступенек) р принимался равным от 35 до 65 см.
Тело и фундамент типовых устоев, разработанных в 1930 г. (рис. 8), выполнены из бутовой кладки; углы до подферменной площадки облицованы штучным камнем, видимые поверхности оштукатурены цементно-песчаным раствором. Размеры уступов обратных стенок назначались по следующим формулам:

Размеры шкафной части устоев в зависимости от отверстия в свету между устоем и первой опорой приведены в табл. 4.
Кладка тавровых устоев проектировки 1931 г. (рис. 9) ниже уровня меженных вод и выше карниза выполнялась из бетона марки 130, выше уровня меженных вод и до карниза - из бетона марки 110, подферменных площадок - из бетона марки 170. Размеры шкафной части устоев приведены в табл. 5, объемы кладки - в табл. 6 и 7.
Материал кладки типовых промежуточных опор (быков) разработки 1931 г. (рис. 10) тот же, что и тавровых устоев проектировки 1931 г. Объемы кладки промежуточных опор приведены в табл. 8 и 9.
Таблица 1. Основные размеры устоев постройки 1870-1908 гг.
|
Годы постройки |
Вид устоя (рис.) |
Высота насыпи Н, м |
Отверстие в свету, м |
Ширина устоя, м |
Длина устоя, м |
Суммарная ширина уступов со стороны пробега Sd, м |
Глубина заложения фундамента h1, м |
||
|
выше обреза b |
по фундаменту b1 |
по обрезу L |
по фундаменту L1 |
||||||
|
Двухпутные устои с обратными стенками |
|||||||||
|
1870 - 1881 |
Рис. 1,а,б |
2,30 |
2,13 |
8,60 |
9,00 |
2,64 |
3,06 |
0,21 |
1,40 |
|
4,38 |
3,20 |
8,00 |
8,45 |
4,48 |
4,70 |
0,11 |
1,84 |
||
|
4,26 |
6,39 |
8,00 |
8,22 |
4,90 |
5,22 |
0,15 |
1,43 |
||
|
6,99 |
6,20 |
8,65 |
9,05 |
- |
- |
0,25 |
1,80 |
||
|
1881 - 1890 |
Рис. 2, а |
3,14 |
2,13 |
9,52 |
9,94 |
3,76 |
4,20 |
0,21 |
1,80 |
|
4,05 |
2,13 |
- |
- |
3,61 |
4,04 |
0,21 |
- |
||
|
5,85 |
6,39 |
8,95 |
9,37 |
6,35 |
6,80 |
0,21 |
1,80 |
||
|
1890 - 1901 |
Рис. 3, а, б, в |
2,13 |
1,07 |
8,52 |
8,95 |
Н+0,53 |
Н+0,53 |
0,21 |
Не менее 1,70 |
|
3,09 |
6,39 |
8,52 |
8,95 |
Н+0,53 |
Н+1,28 |
0,53 |
» 1,70 |
||
|
4,26 |
6,39 |
8,52 |
8,95 |
Н+0,53 |
Н+1,28 |
0,53 |
» 1,70 |
||
|
1902 - 1908 |
Рис. 4 |
3,09 |
6,39 |
8,52 |
8,95 |
Н+0,43 |
Н+1,02 |
0,32 |
» 1,70 |
|
4,26 |
6,39 |
8,52 |
8,95 |
Н+0,43 |
Н+0,86 |
0,21 |
» 1,70 |
||
|
8,52 |
4,06 |
8.52 |
8,95 |
1,25Н+l/30 |
1,25Н+l/30 |
0,21 |
» 1,70 |
||
|
Однопутное устои с обратными стенками |
|||||||||
|
1881 - 1888 |
Рис. 2, б |
1,60 |
2,13 |
4,69 |
5,11 |
1,92 |
2,34 |
0,21 |
1,40 |
|
3,30 |
4,27 |
4,69 |
5,11 |
3,85 |
4,38 |
0,32 |
1,50 |
||
|
4,62 |
6,39 |
4,50 |
4,90 |
4,90 |
5,11 |
0,10 |
1,50 |
||
|
3,86 |
8,52 |
4,85 |
5,25 |
4,52 |
4,80 |
0,10 |
1,80 |
||
|
1889 - 1900 |
Рис. 3, г |
3,84 |
2,13 |
4,49 |
4,91 |
Н+0,43 |
Н+0,63 |
0,21 |
1,40 |
|
6,40 |
8,54 |
4,49 |
4,91 |
Н+0,43 |
Н+0,88 |
0,21 |
Не менее 1,40 |
||
|
6,40 |
4,27 |
4,69 |
4,91 |
Н+0,43 |
Н+0,64 |
0,10 |
1,40 |
||
|
1901 - 1908 |
Рис.5 |
4,05 |
- |
4,26 |
4,69 |
Н+0,42 |
Н+0,84 |
0,21 |
1,60 |
|
6,00 |
- |
4,70 |
5,12 |
Н+0,42 |
Н+1,06 |
0,21 |
Не менее 1,60 |
||
|
8,52 |
- |
4,70 |
5,12 |
1,25Н-1,06 |
1,25Н-0,63 |
0,21 |
» 1,60 |
||
|
Массивные однопутные устои с проемами |
|||||||||
|
1900 |
Рис. 6 |
6,4 |
- |
4,69 |
4,91 |
Н+0,43 |
Н+0,64 |
0,10 |
Не менее 1,60 |
|
1902 |
» |
8,52 |
- |
4,70 |
5,55 |
Н+0,64 |
Н+1,50 |
0,43 |
» 2,13 |
|
1908 |
» |
10,6 |
- |
4,26 |
5,11 |
Н+0,53+Н/36 |
Н+1,16+Н/36 |
0,21 |
» 2,13 |
Таблица 2. Дополнительные размеры, см, двухпутных устоев с обратными стенками постройки 1870-1908 гг.
|
Годы постройки |
D |
k |
h'1 |
h |
f |
a1 |
c1 |
с2 |
с3 |
с4 |
c'1 |
с'2 |
с'3 |
с'4 |
f1 |
|
До 1881 |
380 |
45 |
80-90 |
- |
- |
11-21 |
64-107 |
- |
- |
- |
149-180 |
- |
- |
- |
- |
|
" 1881 |
380 |
43-53 |
80-90 |
107 |
21-31 |
11-21 |
64-107 |
c1+ f1 |
- |
- |
149 |
c'1 + f1 |
с'2 + f1 |
- |
11-21 |
|
1881-1888 |
380-485 |
43-62 |
107 |
100-171 |
21 |
11-69 |
70-85 |
91-107 |
- |
- |
107-128 |
130-149 |
- |
- |
21 H - 188 |
|
1889-1900 |
383 |
68 |
53 |
128 |
53 |
11-21 |
75 |
89-96 |
- |
- |
128 |
128 + f1 |
- |
- |
H |
|
1901-1908 |
380 |
43-69 |
95 |
107-149 |
11-53 |
11-32 |
75 |
85-96 |
96 |
107 |
149-192 |
c'1 + f1 |
с'2 + f1 |
с'3 + f1 |
1-53 |
Таблица 3. Дополнительные размеры, см, однопутных устоев постройки 1881-1908 гг.
|
Годы постройки |
D |
k |
h1 |
h |
f |
a1 |
с2 |
с3 |
с4 |
c'1 |
с'2 |
с'3 |
с'4 |
|
1881-1888 |
- |
30-66 |
- |
107-150 |
10-21 |
10-32 |
64 |
74 |
-38 |
107-128 |
131 |
151 |
171 |
|
1889-1900 |
- |
30-42 |
- |
180-213 |
0,5 H |
10-32 |
- |
- |
- |
0,1 H |
- |
- |
- |
|
1901-1908 |
107-197 |
126-392 |
151-213 |
85 |
- |
10-21 |
68-72 |
79-83 |
89-94 |
- |
134-145 |
155-166 |
94-104 |
Дополнительные значения размеров k1 и d0, см, для однопутных устоев с обратными стенками
k1 126 160 190 213 234 254 276 298 318 340 362 392
d0 107 118 128 138 150 160 163 169 172 176 181 197

Рис. 1. Схемы устоев, построенных до
1881 г.:
а - с плавным изменением толщины передней стенки; б - со ступенчатым изменением
толщины передней стенки

Рис. 2. Схемы устоев, построенных с 1881
по 1890 гг.:
а - двухпутных; б - однопутных


Рис. 3. Схемы устоев, построенных с 1889
по 1901 гг.:
а - двухпутный с постоянной толщиной передней стенки; б - двухпутный с
одноступенчатым изменением толщины передней стенки; в - двухпутный с
двухступенчатым изменением толщины обратной стенки; г - однопутный


Рис. 4. Схемы двухпутных устоев,
построенных с 1902 по 1908 гг.:
а - с постоянной толщиной передней стенки; б - с двухступенчатым изменением
толщины обратных стенок; в - с четырехступенчатым изменением толщины обратных
стенок



Рис. 5. Схемы однопутных устоев,
построенных с 1901 по 1908 гг.:
а - с трехступенчатым изменением толщины обратных стенок; б - с обратным
уклоном передней стенки; в - с развитым в сторону примыкающей насыпи
фундаментом; г - с четырехступенчатым изменением толщины обратных стенок

Рис. 6. Схема однопутных массивных устоев с проемами, построенных с 1900 по 1908 гг.

Рис. 7. Схема типовых устоев, разработанных в 1928 г., для насыпей высотой до 6,5 м под мосты с пролетами до 12,0 м


Рис. 8. Схемы типовых устоев,
разработанных в 1930 г.:
а - для насыпей высотой от 3,45 до 4,45 м; б - то же от 4,5 до 6,0 м
Таблица 4. Размеры шкафной стенки (а) и подферменной площадки (b) устоев проектировки 1930 г.
|
Обозначение размера |
Размер, м, при отверстии в свету между устоем и первой опорой м |
||||||||
|
2 |
3 |
4 |
5 |
6 |
8 |
10 |
12 |
15 |
|
|
а |
0,33 |
0,39 |
0,53 |
0,92 |
1,02 |
1,22 |
1,37 |
1,62 |
1,97 |
|
b |
0,41 |
0,46 |
0,46 |
0,46 |
0,46 |
0,49 |
0,77 |
0,77 |
0,77 |

Рис. 9. Схема и размеры тавровых устоев типовой проектировки 1931 г.
Таблица 5. Размеры шкафной части устоев проектировки 1931 г.
|
Отверстие в свету между устоем и первой опорой, м |
Размеры а и h, м, при типе пролетного строения |
|||
|
плитном |
ребристом |
|||
|
а |
h |
а |
h |
|
|
2 |
0,42 |
0,83 |
- |
- |
|
3 |
0,47 |
0,89 |
- |
- |
|
4 |
0,47 |
1,00 |
- |
- |
|
5 |
0,47 |
1,11 |
0,47 |
1,42 |
|
6 |
0,47 |
1,25 |
0,47 |
1,52 |
|
8 |
- |
- |
0,52 |
1,72 |
|
10 |
- |
- |
0,77 |
1,87 |
|
12 |
- |
- |
0,77 |
2,12 |
|
15 |
- |
- |
0,77 |
2,47 |
Таблица 6. Объемы кладки фундамента устоя проектировки 1931 г.
|
Глубина заложения, м |
Высота уступа, м |
Ширина уступа, м |
Число уступов |
Объемы кладки, м3, при высоте насыпи Н, м |
|||
|
вперед |
в сторону |
2 |
6 |
12 |
|||
|
|
|
0,30 |
|
|
22,30 |
48,90 |
98,90 |
|
|
|
0,40 |
|
|
24,80 |
51,40 |
102,70 |
|
2,00 |
1,00 |
0,50 |
2 |
2 |
26,70 |
54,00 |
106,70 |
|
|
|
0,60 |
|
|
28,70 |
56,70 |
110,70 |
|
|
|
0,375 |
|
|
30,40 |
63,40 |
127,10 |
|
|
|
0,50 |
2 |
2 |
33,40 |
67,60 |
133,40 |
|
2,50 |
1,25 |
0,625 |
2 |
2 |
36,50 |
71,80 |
139,80 |
|
|
|
0,75 |
|
|
39,80 |
76,10 |
145,00 |
|
|
|
0,30 |
|
|
37,10 |
77,10 |
154,10 |
|
|
|
0,40 |
|
|
40,90 |
82,20 |
161,90 |
|
3,00 |
1,00 |
0,50 |
3 |
2 |
44,90 |
87,70 |
170,10 |
|
|
|
0,60 |
|
|
49,10 |
93,20 |
178,30 |
Примечание. При промежуточных значениях Н объемы кладки фундамента определяются по интерполяции.
Таблица 7. Объемы кладки тела устоя проектировки 1931 г.
|
Высота насыпи, м |
Объем кладки тела устоя, м3 |
Объем кладки консолей, м3 |
|
|
короткой |
длинной |
||
|
2,0 |
12 |
1,00 |
1,25 |
|
2,5 |
20 |
|
|
|
3,0 |
29 |
1,30 |
1,75 |
|
3,5 |
39 |
|
|
|
4,0 |
49 |
1,70 |
2,40 |
|
4,5 |
59 |
|
|
|
5,0 |
70 |
2,10 |
3,00 |
|
5,5 |
81 |
|
|
|
6,0 |
112 |
|
|
|
7,0 |
131 |
3,00 |
4,00 |
|
7,5 |
150 |
|
|
|
8,0 |
171 |
3,50 |
5,00 |
|
8,5 |
195 |
|
|
|
9,0 |
21? |
4,10 |
5,80 |
|
9,5 |
245 |
|
|
|
10,0 |
270 |
4,60 |
6,50 |
|
10,5 |
300 |
|
|
|
11,5 |
362 |
|
|
|
12,0 |
393 |
5,60 |
8,00 |

Рис. 10. Схемы и размеры типовых
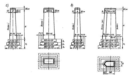
промежуточных опор, разработанных в 1931 г.:
а - без водорезов; б - с водорезами
Таблица 8. Объемы кладки фундамента промежуточной опоры проектировки 1931 г.
|
Ширина опоры В, м |
Высота опоры H, м |
Уклон граней i |
Объем кладки, м3, при глубине заложения подошвы H1, м, высоте уступов h1, м и ширине уступа р, м |
|||||
|
H1 = 2,0; h1 = 1,0 |
H1 = 2,5; h1 = 1,25 |
H1 = 3,0; h1 = 1,0 |
||||||
|
р = 0,5 |
р = 0,4 |
р = 0,5 |
р = 0,4 |
р = 0,5 |
р = 0,4 |
|||
|
1,00 |
2 |
1/30 |
24,9 |
21,6 |
31,1 |
26,0 |
59,2 |
42,0 |
|
|
8 |
|
31,0 |
28,0 |
38,7 |
34,0 |
60,6 |
52,6 |
|
|
До 5 |
0 |
25,3 |
22,5 |
31,5 |
27,0 |
50,8 |
43,5 |
|
1,25 |
5 |
1/30 |
30,3 |
28,2 |
37,9 |
34,0 |
59,3 |
52,9 |
|
|
10 |
|
36,8 |
33,4 |
44,9 |
40,5 |
68,6 |
61,4 |
|
|
До 5 |
0 |
27,5 |
25,4 |
34,4 |
30,5 |
54,5 |
48,2 |
|
1,50 |
6 |
1/30 |
33,9 |
32,1 |
42,3 |
39,0 |
65,3 |
59,3 |
|
|
12 |
|
40,8 |
39,6 |
51,0 |
48,0 |
76,8 |
71,6 |
Примечание. При промежуточных значениях Н объемы устанавливаются по интерполяции.
Таблица 9. Объемы кладки тела промежуточной опоры (без карнизного ряда и фундамента) проектировки 1931 г.
|
Высота опоры Н, м |
Объем кладки, м3, при ширине опоры В, м, и уклоне граней i |
||||||||
|
В = 1,0: i = 1/30 |
В = 1,25 |
В =1,5 |
|||||||
|
с водорезами |
без водорезов |
i = 0 |
i = 1/30 |
i' = 0 |
i = 1/30 |
||||
|
без водорезов |
с водорезами |
без водорезов |
с водорезами |
без водорезов |
с водорезами |
без водорезов |
|||
|
1 |
3,3 |
3,0 |
4,0 |
|
|
5,0 |
4,5 |
|
|
|
2 |
6,6 |
7,0 |
8,5 |
|
|
10,0 |
9,0 |
|
|
|
3 |
10,6 |
10,5 |
11,6 |
|
|
15,0 |
14,0 |
|
|
|
4 |
14,7 |
14,5 |
15,6 |
|
|
19,7 |
18,0 |
|
|
|
5 |
19,5 |
19,0 |
19,6 |
23,6 |
23,0 |
23,4 |
22,6 |
|
|
|
6 |
24,0 |
23,5 |
|
30,0 |
28,5 |
28,8 |
27,0 |
35,0 |
33,5 |
|
7 |
29,0 |
28,5 |
|
35,6 |
34,0 |
|
|
41,5 |
40,0 |
|
8 |
33,5 |
33,5 |
|
42,0 |
40,5 |
|
|
49,4 |
47,0 |
|
9 |
|
|
|
48,8 |
47,0 |
|
|
56,5 |
55,0 |
|
10 |
|
|
|
55,0 |
54,0 |
|
|
65,0 |
62,0 |
|
11 |
|
|
|
|
|
|
|
75,0 |
70,0 |
|
12 |
|
|
|
|
|
|
|
86,0 |
80,0 |
Таблица 1. Характеристики пролетных строений расчетных норм 1884 г.
|
Схема фермы |
Расчетный пролет, м |
Высота ферм в середине пролета, м |
Строительная высота в пролете от подошвы рельса до низа конструкции, м |
Расстояние между осями ферм, м |
Постоянная нагрузка, тс, приходящаяся на 1 м длины пролетного строения от веса |
|||
|
главных ферм и связей |
продольных и поперечных балок |
мостового полотна |
полная |
|||||
|
Пролетные строения с ездой поверху |
||||||||
|
|
2,7 |
0,50 |
0,70 |
1,83 |
0,273 |
- |
0,700 |
0,973 |
|
4,8 |
0,60 |
0,81 |
1,83 |
0,410 |
- |
0,700 |
1,110 |
|
|
|
6,9 |
0,82 |
1,06 |
1,83 |
0,483 |
- |
0,700 |
1,183 |
|
9,2 |
1,06 |
1,30 |
1,83 |
0,603 |
- |
0,700 |
1,303 |
|
|
11,5 |
1,12 |
1,38 |
i,83 |
0,676 |
- |
0,700 |
1,376 |
|
|
13,8 |
1,34 |
1,58 |
1,83 |
0,744 |
- |
0,700 |
1,444 |
|
|
15,8 |
1,54 |
1,90 |
1,98 |
0,719 |
- |
0,700 |
1,419 |
|
|
|
18,2 |
2,30 |
2,53 |
1,98 |
0,837 |
- |
0,700 |
1,537 |
|
22,8 |
2,40 |
2,64 |
2,13 |
0,987 |
- |
0,700 |
1,687 |
|
|
|
27,0 |
3,30 |
3,57 |
2,13 |
1,055 |
- |
0,700 |
1,755 |
|
33,1 |
4,08 |
4,33 |
2,44 |
1,331 |
- |
0,700 |
2,031 |
|
|
|
44,5 |
4,45 |
4,69 |
3,34 |
1,654 |
0,543 |
0,700 |
2,897 |
|
|
55,1 |
7,70 |
7,96 |
3,20 |
2,100 |
0,558 |
0,700 |
3,358 |
|
|
66,1 |
6,40 |
6,60 |
4,267 |
2,738 |
0,593 |
0,700 |
3,331 |
|
|
87,1 |
10,90 |
11,12 |
4,27 |
3,965 |
0,591 |
0,700 |
5,256 |
|
|
97,5 |
10,50 |
10,76 |
4,88 |
4,575 |
0,631 |
0,700 |
5,906 |
|
|
108,97 |
12,25 |
12,25 |
5,50 |
5,375 |
0,703 |
0,700 |
6,778 |
|
Пролетные строения с ездой понизу |
||||||||
|
|
9,2 |
1,12 |
0,60 |
4,85 |
0,478 |
0,492 |
0,700 |
1,670 |
|
11,5 |
1,24 |
0,68 |
4,85 |
0,703 |
0,724 |
0,700 |
2,127 |
|
|
|
22,14 |
2,44 |
0,98 |
4,84 |
0,907 |
0,618 |
0,700 |
2,225 |
|
33,12 |
3,66 |
1,10 |
5,283 |
1,138 |
0,558 |
0,700 |
2,396 |
|
|
|
44,5 |
4,69 |
1,40 |
5,334 |
1,687 |
0,638 |
0,700 |
3,025 |
|
|
54,87 |
6,50 |
1,47 |
5,49 |
2,110 |
0,641 |
0,700 |
3,451 |
|
|
66,5 |
8,45 |
1,53 |
5,58 |
2,427 |
0,678 |
0,700 |
3,805 |
|
77,28 |
9,31 |
1,58 |
5,84 |
3,098 |
0,607 |
0,700 |
4,405 |
|
|
|
87,48 |
10,61 |
1,60 |
6,0 |
3,691 |
0,721 |
0,700 |
5,112 |
|
|
109,2 |
11,982 |
1,52 |
6,80 |
4,651 |
0,698 |
0,700 |
6,049 |
Таблица 2. Характеристики пролетных строении расчетных норм 1896 г.
|
Схема фермы |
Расчетный пролет, м |
Высота ферм в середине пролета, м |
Строительная высота в пролете от подошвы рельса до низа конструкции, м |
Расстояние между осями ферм, м |
Постоянная нагрузка, тс, приходящаяся на 1 м длины пролетного строения от веса |
||||
|
главных ферм |
связей |
продольных и поперечных балок |
мостового полотна |
полная |
|||||
|
Пролетное строение с ездой поверху |
|||||||||
|
|
2,8 |
0,48 |
0,68 |
1,83 |
0,243 |
0,085 |
- |
0,700 |
1,028 |
|
3,8 |
0,60 |
0,80 |
1,83 |
0,269 |
0,103 |
- |
0,700 |
1,072 |
|
|
5,0 |
0,62 |
0,82 |
1,83 |
0,344 |
0,085 |
- |
0,700 |
1,129 |
|
|
6,9 |
0,82 |
1,06 |
1,83 |
0,414 |
0,095 |
- |
0,700 |
1,209 |
|
|
9,1 |
1,10 |
1,32 |
1,83 |
0,457 |
0,110 |
- |
0,700 |
1,267 |
|
|
11,5 |
1,15 |
1,38 |
1,83 |
0,625 |
0,121 |
- |
0,700 |
1,446 |
|
|
13,7 |
1,80 |
2,02 |
1,83 |
0,713 |
0,135 |
- |
0,700 |
1,548 |
|
|
15,8 |
1,56 |
1,80 |
1,98 |
0,836 |
0,162 |
- |
0,700 |
1,698 |
|
|
18,0 |
1,64 |
1,88 |
1,93 |
0,875 |
0,113 |
- |
0,700 |
1,688 |
|
|
19,2 |
2,10 |
2,33 |
2,13 |
1,025 |
0,154 |
- |
0,700 |
1,879 |
|
|
|
19,5 |
2,47 |
2,67 |
1,83 |
1,001 |
0,126 |
- |
0,700 |
1,827 |
|
|
22,6 |
2,80 |
3,02 |
2,0 |
1,040 |
0,091 |
- |
0,700 |
1,831 |
|
27,0 |
3,23 |
3,57 |
2,13 |
1,047 |
0,107 |
- |
0,700 |
1,854 |
|
|
33,1 |
4,00 |
4,23 |
2,13 |
1,296 |
0,094 |
- |
0,700 |
2,090 |
|
|
39,6 |
4,83 |
5,07 |
2,44 |
1,704 |
0,190 |
- |
0,700 |
2,594 |
|
|
44,7 |
4,93 |
5,17 |
2,44 |
1,910 |
0,189 |
- |
0,700 |
2,799 |
|
|
|
43,9 |
5,44 |
5,68 |
3,34 |
1,547 |
0,155 |
0,470 |
0,700 |
2,872 |
|
|
55,3 |
6,94 |
7,18 |
2,72 |
1,982 |
0,196 |
0,420 |
0,700 |
3,298 |
|
|
65,7 |
6,34 |
6,58 |
3,60 |
2,600 |
0,303 |
- |
0,700 |
- |
|
|
87,5 |
12,52 |
12,75 |
4,25 |
2,773 |
0,394 |
0,648 |
0,700 |
4,515 |
|
Пролетное строение с ездой понизу |
|||||||||
|
|
11,5 |
1,10 |
0,60 |
5,3 |
0,601 |
0,044 |
0,475 |
0,700 |
1,820 |
|
13,6 |
1,25 |
0,68 |
5,18 |
0,626 |
0,053 |
0,882 |
0,700 |
2,261 |
|
|
15,9 |
1,56 |
0,70 |
5,3 |
0,758 |
0,090 |
0,441 |
0,700 |
1,989 |
|
|
18,0 |
1,64 |
0,76 |
5,2 |
1,022 |
0,059 |
0,611 |
0,700 |
2,392 |
|
|
22,7 |
2,80 |
0,83 |
4,26 |
1,250 |
0,066 |
0,832 |
0,700 |
2,848 |
|
|
|
17,0 |
2,27 |
0,90 |
5,23 |
0,834 |
0,039 |
0,666 |
0,700 |
2,239 |
|
|
22,8 |
3,55 |
0,92 |
5,40 |
0,818 |
0,046 |
0,591 |
0,700 |
2,155 |
|
|
30,9 |
4,13 |
0,98 |
5,41 |
1,087 |
0,045 |
0,638 |
0,700 |
2,470 |
|
33,3 |
5,62 |
0,98 |
5,38 |
1,172 |
0,064 |
0,615 |
0,700 |
2,551 |
|
|
|
40,1 |
6,41 |
1,47 |
5,39 |
1,680 |
0,194 |
0,680 |
0,700 |
3,254 |
|
45 |
6,90 |
1,47 |
5,44 |
1,670 |
0,240 |
0,630 |
0,700 |
3,240 |
|
|
49,8 |
6,19 |
1,47 |
5,44 |
1,700 |
0,228 |
0,675 |
0,700 |
3,313 |
|
|
55,1 |
7,50 |
1,54 |
5,49 |
1,800 |
0,179 |
0,613 |
0,700 |
3,292 |
|
|
|
66,1 |
10,0 |
1,75 |
5,58 |
2,000 |
0,248 |
0,623 |
0,700 |
3,571 |
|
78,0 |
11,0 |
1,75 |
5,58 |
2,311 |
0,270 |
0,653 |
0,700 |
3,934 |
|
|
|
87,3 |
15,6 |
1,52 |
5,6 |
2,738 |
0,593 |
0,726 |
0,70f |
4,757 |
|
98,0 |
15,0 |
1,52 |
6,0 |
2,758 |
0,309 |
0,818 |
0,700 |
4,585 |
|
|
109,2 |
16,2 |
15,2 |
6,0 |
2,848 |
0,324 |
0,876 |
0,700 |
4,748 |
|
|
129,6 |
19,9 |
1,52 |
6,8 |
3,355 |
0,443 |
0,906 |
0,700 |
5,404 |
|
|
|
150,3 |
24,0 |
1,83 |
7,5 |
4,320 |
0,359 |
0,833 |
0,700 |
6,212 |
|
165,0 |
25,0 |
1,83 |
8,2 |
5,170 |
0,607 |
1,047 |
0,700 |
7,524 |
|
|
192,5 |
29,9 |
1,83 |
9,6 |
6,440 |
0,571 |
1,032 |
0,700 |
8,743 |
|
Таблица 3. Характеристики пролетных строений расчетных норм 1907г.
|
Схема фермы |
Расчетный пролет, м |
Высота ферма середине пролета, м |
Строительная высота в пролете от подошвы рельса до низа конструкции, м |
Расстояние между осями ферм, м |
Постоянная нагрузка, тс, приходящаяся на 1 м длины пролетного строения от веса |
||||
|
главных ферм |
связей |
продольных и поперечных балок |
постового полотна |
полная |
|||||
|
Пролетные строения с ездой поверху |
|||||||||
|
|
2,5 |
0,40 |
0,60 |
1,83 |
0,281 |
0,121 |
- |
0,700 |
1,102 |
|
3,5 |
0,60 |
0,80 |
1,83 |
0,319 |
0,107 |
- |
0,700 |
1,126 |
|
|
3,9 |
0,54 |
0,78 |
1,83 |
0,324 |
0,067 |
- |
0,700 |
1,091 |
|
|
4,7 |
0,63 |
0,87 |
1,83 |
0,350 |
0,107 |
- |
0,700 |
1,157 |
|
|
5,5 |
0,75 |
0,98 |
1,83 |
0,407 |
0,120 |
- |
0,700 |
1,227 |
|
|
6,0 |
0,78 |
1,00 |
1,83 |
0,400 |
0,112 |
|
0,700 |
1,212 |
|
|
6,6 |
0,84 |
1,08 |
1,83 |
0,439 |
0,105 |
- |
0,700 |
1,244 |
|
|
7,0 |
0,83 |
1,12 |
1,83 |
0,433 |
0,099 |
- |
0,700 |
1,232 |
|
|
9,2 |
1,06 |
1,30 |
1,83 |
0,532 |
0,109 |
- |
0,700 |
1,341 |
|
|
10,9 |
1,50 |
1,73 |
1,83 |
0,646 |
0,103 |
- |
0,700 |
1,449 |
|
|
11,5 |
1,50 |
1,73 |
1,83 |
0,643 |
0,098 |
- |
0,700 |
1,441 |
|
|
12,0 |
1,62 |
1,86 |
1,83 |
0,696 |
0,110 |
- |
0,700 |
1,506 |
|
|
13,9 |
1,62 |
1,86 |
1,83 |
0,809 |
0,143 |
- |
0,700 |
1,652 |
|
|
15,7 |
1,66 |
1,90 |
1,83 |
1,008 |
0,143 |
- |
0,700 |
1,851 |
|
|
18,2 |
2,26 |
2,50 |
1,83 |
1,045 |
0,132 |
- |
0,700 |
1,877 |
|
|
21,7 |
2,67 |
2,91 |
1,83 |
1,205 |
0,183 |
- |
0,700 |
2,088 |
|
|
|
18,24 |
2,37 |
2,67 |
2,05 |
1,083 |
1,138 |
- |
0,700 |
1,921 |
|
|
22,2 |
2,48 |
3,70 |
2,00 |
1,090 |
0,278 |
|
0,700 |
2,068 |
|
25,2 |
3,10 |
3,30 |
2,20 |
1,639 |
0,282 |
- |
0,700 |
2,621 |
|
|
27,2 |
3,70 |
3,93 |
2,40 |
1,628 |
0,169 |
- |
0,700 |
2,497 |
|
|
|
33,7 |
5,00 |
5,20 |
2,00 |
2,022 |
0,193 |
- |
0,700 |
2,915 |
|
33,5 |
5,64 |
5,88 |
2,13 |
1,654 |
0,213 |
- |
0,700 |
2,566 |
|
|
|
44,7 |
5,36 |
5,60 |
2,50 |
2,431 |
0,204 |
- |
0,700 |
3,335 |
|
44,4 |
6,70 |
6,94 |
2,75 |
1,771 |
0,174 |
0,536 |
0,700 |
3,181 |
|
|
|
55,2 |
6,05 |
6,30 |
2,80 |
2,675 |
0,219 |
0,565 |
0,700 |
4,159 |
|
55,3 |
5,54 |
5,79 |
3,05 |
2,724 |
0,233 |
0,544 |
0,700 |
4,201 |
|
|
Пролетные строения с ездой понизу |
|||||||||
|
|
11,5 |
1,70 |
0,76 |
3,30 |
0,776 |
0,059 |
0,580 |
0,700 |
2,115 |
|
17,0 |
1,90 |
0,87 |
5,13 |
0,993 |
0,046 |
0,806 |
0,700 |
2,545 |
|
|
|
18,0 |
2,10 |
0,83 |
5,50 |
1,039 |
0,051 |
0,802 |
0,700 |
2,592 |
|
22,6 |
2,30 |
0,87 |
5,48 |
1,129 |
0,107 |
0,823 |
0,700 |
2,759 |
|
|
27,2 |
8,50 |
0,90 |
5,50 |
1,436 |
0,060 |
0,785 |
0,700 |
2,981 |
|
|
|
33,2 |
8,50 |
0,98 |
5,50 |
1,532 |
0,090 |
0,783 |
0,700 |
3,105 |
|
39,6 |
8,50 |
0,98 |
5,42 |
1,729 |
0,198 |
0,751 |
0,700 |
3,378 |
|
|
|
44,5 |
6,84 |
1,47 |
5,50 |
1,890 |
0,242 |
0,843 |
0,700 |
3,675 |
|
48,4 |
6,89 |
1,47 |
5,50 |
2,115 |
0,231 |
0,738 |
0,700 |
3,784 |
|
|
|
55,1 |
7,45 |
1,75 |
5,50 |
2,072 |
0,258 |
0,791 |
0,700 |
3,821 |
|
65,9 |
7,79 |
1,78 |
5,50 |
2,505 |
0,228 |
0,701 |
0,700 |
4,134 |
|
|
|
78,0 |
13,0 |
1,40 |
5,63 |
2,801 |
0,368 |
0,970 |
0,700 |
4,839 |
|
80,5 |
13,5 |
1,47 |
5,64 |
3,146 |
0,332 |
0,610 |
0,700 |
4,788 |
|
|
87,0 |
15,0 |
1,47 |
6,00 |
2,903 |
0,425 |
0,885 |
0,700 |
4,973 |
|
|
|
109,2 |
18,0 |
1,53 |
5,80 |
3,803 |
0,432 |
0,851 |
0,700 |
5,786 |
|
126,0 |
19,0 |
1,53 |
6,80 |
4,413 |
0,473 |
1,035 |
0,700 |
6,621 |
|
|
|
145,6 |
23,0 |
1,83 |
7,70 |
5,759 |
0,763 |
1,393 |
0,700 |
8,615 |
|
158,4 |
24,0 |
1,83 |
8,00 |
6,660 |
0,037 |
2,181 |
0,700 |
10,478 |
|
Таблица 4. Характеристики пролетных строений из стали Cт.3 под нагрузку Н7 по расчетным нормам 1931 г.
|
Схема фермы |
Расчетный пролет, м |
Высота ферм в середине пролета, м |
Строительная высота в пролете от подошвы рельса до низа конструкции, м |
Расстояние между осями ферм, м |
Постоянная нагрузка, тс, приходящаяся на 1 м длины пролетного строения от веса |
||||
|
главных ферм |
связей |
продольных и поперечных балок |
мостового полотна |
полная |
|||||
|
Пролетные строения с ездой поверху |
|||||||||
|
|
9,50 |
1,22 |
1,28 |
2,00 |
0,68 |
0,11 |
- |
0,70 |
1,49 |
|
11,75 |
1,41 |
1,49 |
2,00 |
0,77 |
0,10 |
- |
0,10 |
1,57 |
|
|
14,00 |
1,79 |
1,84 |
2,00 |
0,93 |
0,11 |
- |
0,70 |
1,74 |
|
|
16,50 |
2,09 |
2,15 |
2,00 |
1,09 |
0,13 |
- |
0,70 |
1,92 |
|
|
18,20 |
2,08 |
2,14 |
2,00 |
1,13 |
0,13 |
- |
0,70 |
1,96 |
|
|
23,00 |
2,16 |
2,26 |
2,10 |
1,29 |
0,14 |
- |
0,70 |
2,13 |
|
|
27,00 |
2,57 |
2,68 |
2,20 |
1,58 |
0,15 |
- |
0,70 |
2,43 |
|
|
|
27,00 |
4,0 |
4,39 |
2,20 |
1,37 |
0,15 |
- |
0,70 |
2,22 |
|
|
33,60 |
5,0 |
5,40 |
2,20 |
1,57 |
0,16 |
- |
0,70 |
2,43 |
|
|
34,00 |
5,0 |
5,40 |
2,20 |
1,58 |
0,16 |
- |
0,70 |
2,44 |
|
|
45,00 |
6,0 |
7,27 |
3,00 |
1,95 |
0,24 |
0,60 |
0,70 |
3,49 |
|
|
45,00 |
6,0 |
7,27 |
3,00 |
1,76 |
0,22 |
1,61 |
0,70 |
3,29 |
|
|
55,00 |
7,60 |
8,56 |
4,00 |
2,23 |
0,35 |
0,72 |
0,70 |
4,00 |
|
|
55,00 |
7,60 |
8,56 |
4,00 |
2,05 |
0,31 |
0,72 |
0,70 |
3,78 |
|
|
66,00 |
9,60 |
10,94 |
4,40 |
2,50 |
0,29 |
0,79 |
0,70 |
4,28 |
|
|
66,00 |
9,60 |
10,94 |
4,40 |
2,29 |
0,26 |
0,79 |
0,70 |
4,04 |
|
Пролетные строения с ездой понизу |
|||||||||
|
|
14,0 |
1,75 |
0,92 |
4,80 |
0,92 |
0,08 |
0,74 |
0,70 |
2,44 |
|
|
16,5 |
1,91 |
1.03 |
4,80 |
1,08 |
0,11 |
0,81 |
0,70 |
2,70 |
|
|
18,2 |
2,11 |
1,03 |
5,00 |
1,22 |
0,11 |
0,81 |
0,70 |
2,84 |
|
|
23,0 |
2,31 |
1,11 |
5,30 |
1,47 |
0,09 |
0,94 |
0,70 |
3,20 |
|
|
27,0 |
2,81 |
1,26 |
5,50 |
1,81 |
0,11 |
0,92 |
0,70 |
3,54 |
|
|
27,0 |
4,5 |
1,31 |
5,50 |
1,23 |
0,08 |
0,85 |
0,70 |
2,86 |
|
|
33,6 |
8,0 |
1,11 |
5,50 |
1,18 |
0,20 |
0,80 |
0,70 |
2,88 |
|
|
45,0 |
9,0 |
1,47 |
5,60 |
1,45 |
0,24 |
0,86 |
0,70 |
3,25 |
|
|
55,0 |
10,0 |
1,54 |
5,55 |
1,66 |
0,33 |
0,86 |
0,70 |
3,55 |
|
|
66,0 |
12,0 |
1,60 |
5,70 |
1,97 |
0,36 |
0,85 |
0,70 |
3,88 |
|
|
76,8 |
13,0 |
1,71 |
5,70 |
2,43 |
0,42 |
0,88 |
0,70 |
4,43 |
|
|
87,6 |
15,0 |
1,75 |
5,80 |
2,66 |
0,44 |
0,91 |
0,70 |
4,71 |
|
|
109,2 |
18,0 |
1,52 |
6,10 |
3,43 |
0,45 |
0,88 |
0,70 |
5,46 |
|
|
126,0 |
20,0 |
1,83 |
6,80 |
4,07 |
0,45 |
0,99 |
0,70 |
6,21 |
|
|
127,4 |
20,0 |
1,83 |
6,80 |
4,09 |
0,45 |
1,01 |
0,70 |
6,25 |
Таблица 5. Характеристики пролетных строении из стали Ст.3 под нагрузку Н8 по расчетным нормам 1931 г.
|
Схема фермы |
Расчетный пролет, м |
Высота ферм в середине пролета, м |
Строительная высота в пролете от подошвы рельса до низа конструкции, м |
Расстояние между осями ферм, м |
Постоянная нагрузка, тс, приходящаяся на 1 м длины пролетного строения от веса |
||||
|
главных ферм |
связей |
продольных и поперечных балок |
мостового полотна |
полная |
|||||
|
Пролетные строения с ездой поверху |
|||||||||
|
|
14,0 |
1,79 |
1,86 |
2,00 |
0,93 |
0,11 |
- |
0,80 |
1,84 |
|
18,2 |
2,30 |
2,36 |
2,00 |
1,19 |
0,15 |
- |
0,80 |
2,14 |
|
|
23,0 |
2,55 |
2,64 |
2,00 |
1,38 |
0,15 |
- |
0,80 |
2,33 |
|
|
|
27,0 |
4,00 |
4,45 |
2,20 |
1,54 |
0,17 |
- |
0,80 |
2,51 |
|
|
33,6 |
5,00 |
5,51 |
2,20 |
1,78 |
0,20 |
- |
0,80 |
2,78 |
|
|
34,0 |
5,00 |
5,51 |
2,20 |
1,76 |
0,20 |
- |
0,80 |
2,76 |
|
|
45,0 |
6,00 |
7,32 |
3,20 |
2,15 |
0,31 |
0,65 |
0,80 |
3,91 |
|
|
45,0 |
6,00 |
7,32 |
3,20 |
1,99 |
0,28 |
0,65 |
0,80 |
3,72 |
|
|
55,0 |
7,50 |
8,57 |
4,00 |
2,51 |
0,29 |
0,76 |
0,80 |
4,36 |
|
|
55,0 |
7,50 |
8,57 |
4,00 |
2,32 |
0,25 |
0,75 |
0,80 |
4,12 |
|
Пролетные строения с ездой понизу |
|||||||||
|
|
23,0 |
2,25 |
1,26 |
5,30 |
1,58 |
0,10 |
0,94 |
0,80 |
3,42 |
|
|
33,6 |
8,00 |
1,21 |
5,50 |
1,36 |
0,25 |
0,84 |
0,80 |
3,25 |
|
|
45,0 |
9,00 |
1,47 |
5,60 |
1,57 |
0,31 |
0,90 |
0,80 |
3,58 |
|
|
55,0 |
10,00 |
1,76 |
5,60 |
1,87 |
0,36 |
0,90 |
0,80 |
3,93 |
|
|
66,0 |
12,00 |
1,63 |
5,70 |
2,29 |
0,36 |
0,93 |
0,80 |
4,38 |
|
|
76,8 |
13,00 |
1,75 |
5,80 |
2,75 |
0,36 |
0,95 |
0,80 |
4,86 |
|
|
87,6 |
15,0 |
1,62 |
5,80 |
2,89 |
0,34 |
0,97 |
0,80 |
5,00 |
|
|
98,4 |
16,5 |
1,85 |
6,00 |
3,58 |
0,55 |
1,01 |
0,80 |
5,94 |
|
|
109,2 |
18,0 |
1,66 |
6,10 |
3,86 |
0,44 |
0,97 |
0,80 |
6,07 |
|
|
127,0 |
20,0 |
1,90 |
7,00 |
4,62 |
0,57 |
1,15 |
0,80 |
7,14 |
|
|
144,8 |
23,0 |
1,94 |
7,80 |
5,54 |
0,75 |
1,25 |
0,80 |
8,34 |
|
|
158,4 |
25,0 |
2,02 |
8,20 |
5,80 |
0,63 |
1,28 |
0,80 |
8,51 |
Таблица 6. Характеристики типовых пролетных строений под нагрузку Н8 по расчетный нормам 1931 г.
|
Схема фермы |
Расчетный пролет, м |
Высота ферм в середине пролета, м |
Строительная высота в пролете от подошвы рельса до низа конструкции, м |
Расстояние между осями ферм, м |
Постоянная нагрузка, тс, приходящаяся на 1 м длины пролетного строения от веса |
||||
|
пролетного строения |
опорных частей |
мостового полотна |
смотровых приспособлений |
полная |
|||||
|
Сварные пролетные строения с ездой поверху на поперечинах (№ 6506, 6507, 7247) |
|||||||||
|
|
27,0 |
2,10 |
2,10 |
2,0 |
1,37 |
0,09 |
0,80 |
0,07 |
2,33 |
|
33,6 |
2,71 |
2,71 |
2,0 |
1,65 |
0,07 |
0,80 |
0,07 |
2,59 |
|
|
|
45,0 |
4,77 |
4,771 |
2,2 |
2,81 |
0,08 |
0,80 |
0,01 |
3,70 |
|
Сварные пролетные строения с ездой поверху на балласте (№ 7567, 7568, 7248, 7249) |
|||||||||
|
|
33,6 |
3,36 |
3,36 |
2,0 |
1,38 |
0,10 |
7,20 |
0,04 |
8,72 |
|
|
45,0 |
4,70 |
4,70 |
2,2 |
1,86 |
0,09 |
7,20 |
0,03 |
9,18 |
|
|
55,0 |
5,57 |
5,572 |
2,4 |
2,72 |
0,11 |
7,20 |
0,09 |
10,12 |
|
|
66,0 |
6,29 |
6,291 |
2,4 |
3,15 |
0,13 |
7,20 |
0,09 |
10,57 |
|
Унифицированные клепаные пролетные строения с ездой понизу на поперечинах (№ 6883, 6885, 7104-7107) |
|||||||||
|
|
33,00 1 |
8,50 |
1,285 |
5,6 |
2,61 |
0,1 |
0,80 |
0,04 |
3,55 |
|
|
33,80 |
8,50 |
1,285 |
5,6 |
2,57 |
0,1 |
0,80 |
0,04 |
3,51 |
|
|
44,00 |
8,50 |
1,285 |
5,6 |
2,76 |
0,09 |
0,80 |
0,03 |
3,68 |
|
|
44,80 |
8,50 |
1,285 |
5,6 |
2,76 |
0,09 |
0,80 |
0,03 |
3,68 |
|
|
55,00 |
8,50 |
1,285 |
5,6 |
3,13 |
0,07 |
0,80 |
0,03 |
4,03 |
|
|
66,00 |
11,25 |
1,68 |
5,7 |
3,17 |
0,09 |
0,80 |
0,12 |
4,18 |
|
|
77,00 |
12,50 |
1,68 |
5,7 |
3,69 |
0,08 |
0,80 |
0,11 |
4,68 |
|
|
88,00 |
15,00 |
1,81 |
5,8 |
4,09 |
0,10 |
0,80 |
0,13 |
5,12 |
|
|
87,52 |
15,00 |
1,81 |
5,8 |
4,11 |
0,10 |
0,80 |
0,13 |
5,14 |
|
|
110,00 |
15,00 |
1,81 |
5,8 |
4,96 |
0,08 |
0,80 |
0,12 |
5,96 |
|
|
109,52 |
15,00 |
1,81 |
5,8 |
4,98 |
0,08 |
0,80 |
0,12 |
5,98 |
|
Унифицированные клепано-сварные пролетные строения с ездой понизу на поперечинах (№ 7101-7103, 7569, 7570) |
|||||||||
|
|
33,00 |
8,50 |
1,275 |
5,6 |
2,35 |
0,10 |
0,80 |
0,12 |
3,37 |
|
|
33,80 |
8,50 |
1,275 |
5,6 |
2,35 |
0,10 |
0,80 |
0,12 |
2,37 |
|
|
44,00 |
8,50 |
1,295 |
5,6 |
2,59 |
0,09 |
0,80 |
0,10 |
3,58 |
|
|
44,8 |
8,50 |
1,295 |
5,6 |
2,60 |
0,09 |
0,80 |
0,10 |
3,59 |
|
|
55,0 |
8,50 |
1,295 |
5,6 |
2,90 |
0,07 |
0,80 |
0,10 |
3,87 |
|
|
66,0 |
11,25 |
1,67 |
5,7 |
2,90 |
0,09 |
0,80 |
0,15 |
3,94 |
|
|
88,0 |
15,0 |
1,80 |
5,8 |
3,61 |
0,10 |
0,80 |
0,13 |
4,64 |
|
Клепаные пролетные строения из стали 15 ХСНД с ездой понизу под нагрузку Н8 (№ 9051, 9052, 8797) |
|||||||||
|
|
88,0 |
15,0 |
1,815 |
5.78 |
3,65 |
0,10 |
0,80 |
0,13 |
4,68 |
|
|
87,52 |
15,0 |
1,815 |
5,78 |
3,66 |
0,10 |
0,80 |
0,13 |
4,69 |
|
|
110,0 |
15,0 |
1,815 |
5,78 |
4,24 |
0,08 |
0,80 |
0,12 |
5,24 |
|
|
109,52 |
15,0 |
1,815 |
5,78 |
4,25 |
0,08 |
0,80 |
0,12 |
5,25 |
|
|
127,40 |
21,0 |
1,85 |
7,50 |
5,32 |
0,08 |
0,80 |
0,12 |
6,33 |
Таблица 7. Характеристики болтосварных пролетных строений под нагрузку С14 по расчетным нормам 1962 г.
|
Схема фермы |
Расчетный пролет, м |
Высота ферм в середине пролета, м |
Расстояние между осями ферм, м |
Строительная высота от подошвы рельса до низа конструкции, м |
Постоянная нагрузка, тс, приходящаяся на 1 м длины пролетного строения от веса |
|||
|
пролетного строения |
мостового полотна |
смотровых приспособлений |
полная |
|||||
|
Сварные балочные пролетные строения с ездой поверху на поперечинах |
||||||||
|
|
18,2 |
1,38 |
2,0 |
1,68 |
1,10 |
1,1 |
0,04 |
2,24 |
|
|
23,0 |
1,98 |
2,0 |
2,28 |
1,20 |
1,1 |
0,04 |
2,34 |
|
|
27,0 |
1,98 |
2,0 |
2,33 |
1,55 |
1,1 |
0,04 |
2,69 |
|
|
33,6 |
2,48 |
2,0 |
2,84 |
1,90 |
1,1 |
0,04 |
3,04 |
|
Сварные балочные пролетные строения с ездой на балласте |
||||||||
|
|
27,0 |
1,98 |
2,0 |
2,94 |
1,16 |
7,2 |
0,03 |
8,39 |
|
|
33,6 |
1,98 |
2,0 |
2,97 |
1,45 |
7,2 |
0,03 |
8,68 |
|
|
45,0 |
3,60 |
2,3 |
4,86 |
1,80 |
7,2 |
0,03 |
9,03 |
|
|
55,0 |
3,60 |
2,3 |
4,81 |
2,17 |
7,2 |
0,03 |
9,40 |
|
Сварные балочные открытые пролетные строения с ездой понизу на металлических поперечинах |
||||||||
|
|
18,2 |
1,98 |
5,6 |
0,80 |
2,42 |
0,59 |
- |
3,01 |
|
|
23,0 |
1,98 |
5,6 |
0,82 |
2,62 |
0,62 |
- |
3,24 |
|
|
27,0 |
2,48 |
5,6 |
0,82 |
2,79 |
0,59 |
0,01 |
3,39 |
|
|
33,6 |
2,48 |
5,6 |
0,84 |
3,08 |
0,60 |
0,01 |
3,69 |
|
Сквозные пролетные строения из сварных элементов с монтажными соединениями на высокопрочных болтах с ездой понизу |
||||||||
|
|
55,0 |
8,50 |
5,70 |
1,20 |
2,54 |
1,1 |
0,14 |
3,78 |
|
|
66,0 |
11,25 |
5,70 |
1,57 |
2,65 |
1,1 |
0,14 |
3,89 |
|
|
77,0 |
11,25 |
5,70 |
1,57 |
2,96 |
1,1 |
0,14 |
4,20 |
|
|
88,0 |
15,00 |
5,80 |
1,85 |
3,47 |
1,1 |
0,16 |
4,72 |
|
|
110,0 |
15,00 |
5,80 |
1,85 |
4,00 |
1,1 |
0,15 |
5,25 |
|
|
2´110,9 |
15,00 |
5,80 |
1,85 |
3,77 |
1,1 |
0,12 |
4,99 |
|
|
2´132,0 |
15,0 |
5,80 |
1,85 |
4,55 |
1,1 |
0,12 |
5,77 |
|
|
110+132+110 |
15,0 |
5,80 |
1,85 |
4,00 |
1,1 |
0,12 |
5,22 |
|
|
132+154+132 |
21,0 |
5,80 |
1,85 |
4,73 |
1,1 |
0,12 |
5,95 |
Таблица 1. Характеристики пролетных строений из обычного железобетона
|
Поперечный разрез пролетного строения в пролете (слева) и на опоре (справа) (размеры в см) |
Расчетный пролет, м |
Полная длина, м |
Расчетная высота в пролете h, см |
Вес пролетного строения, тс |
|
Балластные, ребристые пролетные строения для мостов на вторых путях линии Байкал-Танхой Забайкальской ж. д., 1911-1915 гг. |
||||
|
|
2,43 |
3,04 |
44 |
9,88 |
|
|
4,67 |
5,337 |
62,5 |
20,3 |
|
|
6,89 |
7,809 |
96 |
41,97 |
|
9,02 |
9,985 |
114 |
61,27 |
|
|
11,06 |
12,16 |
138 |
103,06 |
|
|
Балластные плитные и ребристые пролетные строения по проектам общества Троицкой ж.д. для Оренбург-Орской ж.д. 1911 г. |
||||
|
|
|
2,90 |
37 |
9,93 |
|
|
|
5,48 |
61 |
22,05 |
|
Балластные ребристые пролетные строения разработки ЦУЖЕЛ НКПС 1928 г. |
||||
|
|
3,50 |
3,90 |
49 |
12,43 |
|
4,50 |
4,90 |
61 |
17,64 |
|
|
5,50 |
5,90 |
93 |
30,39 |
|
|
|
6,50 |
6,90 |
93 |
40,80 |
|
|
8,50 |
8,90 |
114 |
62,97 |
|
12,80 |
13,90 |
167 |
120,15 |
|
|
15,80 |
16,54 |
215 |
181,94 |
|
|
Балластные плитные пролетные строения разработки Мостового бюро НКПС, 1929 г. |
||||
|
|
3,50 |
3,90 |
48 |
19,6 |
|
|
5,00 |
5,40 |
65 |
32,87 |
|
Балластные плитные и ребристые пролетные строения разработки Гипротранса, 1931 г. |
||||
|
|
2,40 |
2,80 |
33 |
8,61 |
|
3,50 |
3,90 |
39 |
13,46 |
|
|
4,50 |
4,90 |
53 |
20,95 |
|
|
5,50 |
5,90 |
61 |
28,03 |
|
|
6,50 |
6,90 |
75 |
38,64 |
|
|
|
5,50 |
5,90 |
92 |
22,72 25,08 |
|
6,50 |
6,90 |
102 |
30,19 33,64 |
|
|
8,50 |
8,95 |
122 |
46,32 51,02 |
|
|
10,80 |
11,50 |
137 |
68,43 74,18 |
|
|
12,80 |
13,50 |
162 |
90,11 97,20 |
|
|
|
15,80 |
16,50 |
197 |
138,39 |
|
Балластные плитные и ребристые пролетные строения разработки Ленпроектпути, 1934 г. |
||||
|
|
2,40 |
2,80 |
45 |
11,62 12,88 |
|
2,58 |
3,03 |
45 |
12,57 13,94 |
|
|
3,50 |
4,00 |
56 |
19,20 21,00 |
|
|
4,50 |
5,00 |
70 |
28,25 30,05 |
|
|
4,77 |
5,27 |
75 |
31,36 33,73 |
|
|
5,50 |
6,00 |
85 |
39,30 42,00 |
|
|
6,50 |
7,00 |
100 |
52,15 53,30 |
|
|
6,90 |
7,40 |
105 |
57,35 60,68 |
|
|
|
5,70 |
6,30 |
100 |
33,23 36,07 |
|
6,70 |
7,30 |
115 |
41,75 45,08 |
|
|
7,10 |
7,70 |
133 |
48,32 51,78 |
|
|
8,70 |
9,30 |
140 |
63,01 67,19 |
|
|
9,30 |
10,00 |
150 |
71,00 75,50 |
|
|
10,80 |
11,50 |
170 |
93,15 98,33 |
|
|
11,50 |
12,50 |
170 |
107,67 113,16 |
|
|
13,60 |
14,30 |
210 |
149,08 155,51 |
|
|
|
12,80 |
13,50 |
175 |
89,10 95,18 |
|
13,60 |
14,30 |
185 |
94,74 101,17 |
|
|
Балластные плитные и ребристые пролетные строения разработки ЦУЖЕЛ Дорстроя, 1936 г. |
||||
|
|
2,40 |
2,80 |
40 |
10,6 12,2 |
|
3,50 |
4,00 |
50 |
17,7 19,9 |
|
|
4,50 |
5,00 |
60 |
25,2 28,0 |
|
|
5,50 |
6,00 |
75 |
35,9 39,2 |
|
|
6,50 |
7,00 |
90 |
48,4 52,3 |
|
|
|
6,60 |
7,10 |
150 |
37,7 41,7 |
|
8,70 |
9,30 |
170 |
57,5 62,8 |
|
|
10,80 |
11,30 |
200 |
84,0 90,4 |
|
|
12,80 |
13,50 |
230 |
119,3 126,9 |
|
|
15,80 |
16,50 |
275 |
179,4 188,7 |
|
|
Балластные плитные, монолитные, балочные пролетные строения разработки Лентрансмостпроекта, 1937 г. |
||||
|
|
1,32 |
1,70 |
25 |
4,8 |
|
1,90 |
2,20 |
30 |
7,4 |
|
|
|
1,32 |
1,70 |
25 |
2´2,4 |
|
1,90 |
2,20 |
30 |
2´3,7 |
|
|
|
|
3,10 |
|
13,5 |
|
2,60 |
3,30 |
40 |
14,4 |
|
|
|
3,65 |
|
15,9 |
|
|
3,60 |
4,15 |
40 |
18,1 |
|
|
|
4,30 |
|
18,7 |
|
|
|
|
5,20 |
|
27,8 |
|
4,75 |
5,35 |
50 |
28,6 |
|
|
|
5,60 |
|
30,0 |
|
|
|
2,40 |
2,8 |
35 |
10,3 |
|
3,50 |
4,0 |
45 |
18,7 |
|
|
|
4,50 |
5,00 |
55 |
28,3 |
|
Балластные плитные и ребристые, монолитные пролетные строения разработки Лентрансмостпроекта, 1938 г. (№ 7175) |
||||
|
|
2,40 |
2,80 |
40 |
11,0 - |
|
2,53 |
2,93 |
40 |
11,5 - |
|
|
3,50 |
4,00 |
50 |
18,5 - |
|
|
4,50 |
5,00 |
65 |
28,25 31,20 |
|
|
4,77 |
5,27 |
70 |
32,0 34,8 |
|
|
5,50 |
6,00 |
80 |
37,5 45,7 |
|
|
|
6,7 |
7,3 |
120 |
37,7 41,5 |
|
7,1 |
7,8 |
125 |
41,5 45,4 |
|
|
8,7 |
9,3 |
140 |
57,6 80,0 |
|
|
9,3 |
10,0 |
140 |
64,5 67,0 |
|
|
10,8 |
11,5 |
170 |
89,0 92,0 |
|
|
11,5 |
12,2 |
175 |
97,0 100,0 |
|
|
12,8 |
13,5 |
200 |
129,0 132,0 |
|
|
13,6 |
14,3 |
210 |
148,0 152,0 |
|
|
15,85 |
16,5 |
235 |
195,0 200,0 |
|
|
Балластные ребристые и плитные, монолитные пролетные строения разработки Лентрансмостпроекта, 1941 г. (№ 0473 и 0474) |
||||
|
|
6,7 |
7,3 |
115 |
36,2 38,8 |
|
7,1 |
7,8 |
120 |
40,3 42,3 |
|
|
8,7 |
9,3 |
140 |
52,5 55,0 |
|
|
9,3 |
10,0 |
140 |
57,5 60,7 |
|
|
10,8 |
11,5 |
155 |
72,0 75,0 |
|
|
11,5 |
12,2 |
160 |
78,0 81,0 |
|
|
12,8 |
13,5 |
180 |
97,0 104,0 |
|
|
13,6 |
14,3 |
185 |
104,5 112,5 |
|
|
15,85 |
16,5 |
215 |
136,0 146,0 |
|
|
|
2,30 |
2,60 |
40 |
6,05 |
|
2,43 |
2,731 |
40 |
6,55 |
|
|
3,30 |
3,60 |
50 |
10,25 |
|
|
4,35 |
4,70 |
65 |
17,25 19,25 |
|
|
4,64 |
5,00 |
70 |
19,00 21,40 |
|
|
Балластные, плитные и ребристые, блочные пролетные строения разработки Лентрансмостпроекта, 1945 г. (№2076) |
||||
|
|
3,5 |
4,0 |
35 |
2´8,6 |
|
|
4,5 |
5,0 |
60 |
2´9,2 |
|
4,77 |
5,27 |
60 |
2´9,7 |
|
|
5,5 |
660 |
65 |
2´10,6 |
|
|
|
6,5 |
7,0 |
70 |
4´8,1 |
|
6,9 |
7,4 |
75 |
4´8,8 |
|
|
Балластные, плитные и ребристые, блочные и цельноперевозимые с круглой арматурой (периодического профиля) пролетные строения разработки ЦПКБ, 1946 г. |
||||
|
|
2,40 |
2,80 |
30 (25) |
8,4 (8,6) |
|
2,50 |
2,90 |
30 (25) |
8,7 (8,9) |
|
|
|
3,4 |
3,8 |
35 (30) |
2´5,6 (2´5,5) |
|
3,6 |
4,0 |
35 (30) |
2´5,98 (2´5,8) |
|
|
4,5 |
5,0 |
45 (40) |
2´9,34 (2´8,5) |
|
|
4,8 |
5,3 |
45 (40) |
2´9,86 (2´9,0) |
|
|
|
4,5 |
5,0 |
65 (70) |
2´8,7 (2´8,1) |
|
4,8 |
5,3 |
65 (70) |
2´9,3 (2´8,6) |
|
|
5,5 |
6,0 |
85 (80) |
2´11,5 (2´10,2) |
|
|
6,7 |
7,3 |
105 (100) |
2´15,8 (2´14,3) |
|
|
7,1 |
7,7 |
105 (100) |
2x16,9 (2x15,2) |
|
|
8,7 |
9,3 |
125 |
2´22,8 |
|
|
9,3 |
10,0 |
125 |
2´24,1 |
|
|
|
8,7 |
9,3 |
(120) |
(2´20,3) |
|
9,3 |
10,0 |
(120) |
(2´21,7) 2´31,2 |
|
|
10,8 |
11,5 |
165 (135) |
(2´27,0) |
|
|
11,5 |
12,2 |
165 |
2´33,1 (2´28,0) |
|
|
12,8 |
13,5 |
185 (150) |
2´40,6 (2´33,8) |
|
|
13,6 |
14,3 |
185 (150) |
2´43,0 (2´35,7) |
|
|
15,8 |
16,5 |
(165) |
2´52,0 (2´46,4) |
|
|
Балластные, ребристые для пролетов 9,3-11,5 м (одноблочные) и 12,8-15,8 м (двухблочные и монолитные) пролетные строения разработки Лентрансмостпроекта, 1946 г. (№2891) |
||||
|
|
9,3 |
10,0 |
140 |
50,0 |
|
10,8 |
11,5 |
150 |
59,0 |
|
|
11,5 |
12,2 |
160 |
60,0 |
|
|
|
12,8 |
13,5 |
170 |
2´37,7 |
|
13,6 |
14,3 |
175 |
2´41,0 |
|
|
15,8 |
16,5 |
180 |
2´48,1 |
|
|
|
12,8 |
13,5 |
170 |
67,6 |
|
13,6 |
14,3 |
175 |
74,2 |
|
|
15,8 |
16,5 |
180 |
86,5 |
|
|
Балластные ребристые цельноперевозимые с арматурой из сварных каркасов пролетные строения конструкции инж. Матарова разработки Главжелдорстроя Запада, 1948 г. (№ 3740) |
||||
|
|
4,8 |
5,3 |
60 |
2´9,0 |
|
5,5 |
6,0 |
60 |
2´10,3 |
|
|
6,7 |
7,3 |
90 |
2´14,2 |
|
|
7,1 |
7,7 |
90 |
2´15,1 |
|
|
8,7 |
9,3 |
110 |
2´20,0 |
|
|
9,3 |
9,9 |
110 |
2´22,0 |
|
|
10,8 |
11,5 |
130 |
2´25,0 |
|
|
11,75 |
12,2 |
130 |
2´28,0 |
|
|
|
18,2 |
18,65 |
205 |
2´60,0 |
|
23,0 |
23,6 |
230 |
2´75,0 |
|
|
Безбалластные ребристые цельноперевозимые пролетные строения конструкции инж. Матарова разработки Главжелдорстроя Запада, 1948 г. (№ 4058) |
||||
|
|
10,8 |
11,5 |
130 |
32,0 |
|
11,5 |
12,2 |
130 |
34,2 |
|
|
12,8 |
13,5 |
145 |
40,7 |
|
|
13,6 |
14,3 |
145 |
43,0 |
|
|
15,8 |
16,5 |
185 |
59,8 |
|
|
18,2 |
18,9 |
205 |
72,8 |
|
|
Балластные плитные и ребристые цельноперевозимые пролетные строения с откидными консолями разработки Лентрансмостпроекта, 1952 г. (№ 4769) |
||||
|
|
2,40 |
2,8 |
35 |
9,3 - |
|
2,55 |
2,95 |
35 |
9,8 - |
|
|
3,40 |
3,80 |
35 |
12,6 - |
|
|
3,60 |
4,00 |
35 |
13,5 - |
|
|
4,50 |
5,00 |
45 |
19,8 21,0 |
|
|
4,80 |
5,30 |
45 |
21,0 22,0 |
|
|
|
4,5 |
5,0 |
70 |
17,5 18,5 |
|
4,8 |
5,3 |
70 |
18,3 19,5 |
|
|
5,5 |
6,0 |
80 |
22,2 23,5 |
|
|
6,7 |
7,3 |
100 |
29,0 30,8 |
|
|
7,1 |
7,7 |
100 |
30,8 32,5 |
|
|
8,7 |
9,3 |
125 |
41,2 43,5 |
|
|
9,25 |
9,85 |
125 |
43,5 45,8 |
|
|
10,8 |
11,5 |
145 |
51,3 53,8 |
|
|
11,5 |
12,2 |
145 |
54,8 57,5 |
|
|
|
12,8 |
13,5 |
165 |
57,0 - |
|
13,6 |
14,3 |
165 |
60,0 - |
|
|
15,8 |
16,5 |
173 |
77,0 - |
|
|
Балластные ребристые блочные пролетные строения с откидными консолями с пониженной строительной высотой разработки Лентрансмостпроекта, 1954 г. (№ 6503) |
||||
|
|
6,1 |
7,3 |
75 |
25,1 26,3 |
|
8,7 |
9,3 |
95 |
36,2 37,9 |
|
|
10,8 |
11,5 |
110 |
47,4 49,6 |
|
|
11,5 |
12,2 |
110 |
52,2 54,2 |
|
|
12,8 |
13,5 |
125 |
58,8 61,3 |
|
|
13,6 |
14,3 |
125 |
63,8 66,3 |
|
|
15,8 |
16,5 |
145 |
80,0 83,0 |
|
|
|
12,8 |
13,5 |
125 |
2´31,8 2´33,2 |
|
13,6 |
14,3 |
125 |
2´34,6 2´36,4 |
|
|
15,8 |
16,5 |
145 |
2´42,6 2´44,4 |
|
|
Балластные сборные унифицированные плитные пролетные строения разработки Ленгипротрансмоста, 1964 г. (№ 384/3) |
||||
|
|
2,55 |
2,95 |
45 |
2´5,9´0,85 |
|
3,60 |
4,00 |
45 |
2´7,9´0,97 |
|
|
4,50 |
4,80 |
60 |
2´11,5´1,12 |
|
|
5,00 |
5,30 |
60 |
2´12,1´1,17 |
|
|
Примечание. Там, где вес пролетного строения дан дробью, цифра в числителе относится к пролетному строению с двумя короткими консолями, в знаменателе - с двумя длинными |
||||
Таблица 2. Характеристики пролетных строений из предварительно напряженного железобетона
|
Поперечный разрез пролетного строения в пролете (слева) и на опоре (справа) (размеры в см) |
Расчетный пролет, м |
Полная длина, м |
Расчетная высота в пролете h, см |
Вес пролетного строения, тс |
|
Балластные, ребристые одноблочные и двухблочные пролетные строения разработки Ленгипротрансмоста, 1952 г. (№ 5390) |
||||
|
|
10,8 |
11,5 |
114 |
44,6 |
|
12,8 |
13,5 |
129 |
53,6 |
|
|
13,6 |
14,3 |
139 |
58,1 |
|
|
|
15,8 |
16.5 |
149 |
60,4 |
|
18,0 |
18,7 |
174 |
77,6 |
|
|
|
18,0 |
18,7 |
170 |
2´41,8 |
|
22,9 |
23,6 |
200 |
2´60,0 |
|
|
26,9 |
27,60 |
225 |
2´75,5 |
|
|
Балластные ребристые одноблочные и двухблочные пролетные строения разработки Ленгипротрансмоста, 1955 г. (№ 7169 и 7257) |
||||
|
|
12,8 |
13,5 |
125 |
2´50,4 2´53,5 |
|
15,8 |
16,5 |
145 |
2´60,8 2´65,3 |
|
|
18,0 |
18,7 |
150 |
2´77,0 2´81,9 |
|
|
|
18,0 |
18,7 |
145 |
2´45,5 |
|
22,9 |
23,6 |
185 |
2´60,4 |
|
|
26,9 |
27,6 |
225 |
2´76,5 |
|
|
Балластные ребристые одноблочные и двухблочные пролетные строения разработки Ленгипротрансмоста, 1957 г. (№ 7881) |
||||
|
|
12,8 |
13,5 |
125 |
50,5 54,0 |
|
15,8 |
16,5 |
149 |
62,6 67,1 |
|
|
|
18,0 |
18,7 |
145 |
2´49,6 |
|
22,9 |
23,6 |
185 |
2´62,8 |
|
|
26,9 |
27,6 |
225 |
2´79,0 |
|
|
Балластные ребристые двухблочные пролетные строения разработки Лентрансмостпроекта, 1958 г. (№ 9037-9042) |
||||
|
|
12,8 |
13,5 |
145 |
2´32,1 |
|
15,8 |
16,5 |
145 |
2´40,5 |
|
|
|
18,0 |
18,7 |
145 |
2´48,6 |
|
22,9 |
23,6 |
185 |
2´64,9 |
|
|
26,9 |
27,6 |
225 |
2´83,3 |
|
|
33,5 |
34,2 |
245 |
2´117,6 |
|
|
Балластные двухблочные пролетные строения разработки Лентрансмостпроекта, 1959 г. (№ 9578) |
||||
|
|
8,7 |
9,3 |
60 |
2´20,8 |
|
10,8 |
11,5 |
70 |
2´25,9 |
|
|
12,8 |
13,5 |
80 |
2´32,4 |
|
|
15,8 |
16,5 |
100 |
2´50,3 |
|
|
18,0 |
18,7 |
110 |
2´61,6 |
|
|
22,9 |
23,6 |
140 |
2´91,3 |
|
|
Балластные ребристые двухблочные пролетные строения (с расположением пучков в закрытых каналах), разработки Лентрансмостпроекта, 1959 г. (№ 9535) |
||||
|
|
18,0 |
18,7 |
150 |
2´48,5 |
|
|
22,9 |
23,6 |
185 |
2´72,2 |
|
26,9 |
27,6 |
225 |
2´95,0 |
|
|
33,5 |
34,2 |
240 |
2´117,5 |
|
|
Балластные ребристые двухблочные пролетные строения (с криволинейными пучками) разработки Лентрансмостпроекта, 1960 г. (№9640-9643) |
||||
|
|
18,0 |
18,7 |
145 |
2´49,5 |
|
|
22,9 |
23,6 |
185 |
2´70,4 |
|
26,9 |
27,6 |
225 |
2´90,8 |
|
|
33,5 |
34,2 |
240 |
2´115 |
|
|
Балластные ребристые двухблочные пролетные строения (с криволинейными пучками) разработки Лентрансмостпроекта (№ 185/1-185/4) |
||||
|
|
22,9 |
23,6 |
188 |
2´74, |
|
26,9 |
27,6 |
228 |
2´94, |
|
|
33,5 |
34,2 |
248 |
2´114, |
|
|
22,9 |
23,6 |
191 |
2´65, |
|
|
Балластные двухблочные пролетные строения (с криволинейными пучками) для опытного строительства разработки Лентрансмостпроекта , 1957, 1958 и 1962 гг. |
||||
|
|
18,0 |
18,7 |
145 |
2´48, |
|
22,9 |
23,6 |
185 |
2´62, |
|
|
18,0 |
18,7 |
145 |
2´45, |
|
|
22,9 |
23,6 |
185 |
2´62, |
|
|
18,0 |
18,7 |
145 |
2´48, |
|
|
22,9 |
23,6 |
185 |
2´63,8 |
|
|
Балластные двухблочные пролетные строения (с прямолинейными пучками) разработки Лентрансмостпроекта, 1962 г. (№ 161/1 - 161/6) |
||||
|
|
15,8 |
16,5 |
148 |
2´42,8 |
|
|
18,0 |
18,7 |
148 |
2´51,4 |
|
22,9 |
23,6 |
190 |
2´70,8 |
|
|
26,9 |
27,6 |
230 |
2´90,2 |
|
|
33,5 |
34,2 |
249 |
2´114,8 |
|
|
18,0 |
18.7 |
148 |
2´52,7 |
|
|
23,0 |
23,7 |
190 |
2´72,6 |
|
|
Балластные сборно-монолитные пролетные строения с ездой посередине разработки Гипротрансмоста, 1962 г. (№ 80/1 - 80/5) |
||||
|
|
11,3 |
12,0 |
125 |
91,14 |
|
14,3 |
15,0 |
165 |
124,7 |
|
|
17,3 |
18,0 |
205 |
170,84 |
|
|
23,3 |
24,0 |
260 |
253,6 |
|
|
Балластные сборные унифицированные плитные и ребристые пролетные строения разработки Лентрансмостпроекта, 1964 г. (№384/3) |
||||
|
|
6,7 |
7,3 |
60 |
2´16,6+1,5 |
|
7,1 |
7,7 |
60 |
2´17,4+2,55 |
|
|
8,7 |
9,3 |
60 |
2´20,8+1,75 |
|
|
9,25 |
9,85 |
75 |
2´25,0+1,8 |
|
|
10,8 |
11,5 |
75 |
2´29,2+2,15 |
|
|
|
10,8 |
11,5 |
120 |
2´27,5+2,32 |
|
11,5 |
12,2 |
120 |
2´29,2+2,4 |
|
|
12,8 |
13,5 |
120 |
2´31,8+2,55 |
|
|
13,6 |
14,3 |
150 |
2´37,6+2,82 |
|
|
15,8 |
16,5 |
150 |
2´46,7+3,2 |
|
|
18,0 |
18,7 |
150 |
2´53,0+3,5 |
|
|
22,9 |
23,6 |
210 |
2´80,1+4,45 |
|
|
26,9 |
27,6 |
210 |
2´91,0+5,0 |
|
|
33,5 |
34,2 |
240 |
2´115+5,85 |
|
|
15,8 |
16,5 |
150 |
2´46,1+3,2 |
|
|
Балластные сборные ребристые пролетные строения разработки Лентрансмостпроекта, 1967 г. (№№ 556/1-556/5, № 556/11-556/16) |
||||
|
|
15,8 |
16,5 |
140 |
2´46,9+3,2 |
|
18,0 |
18,7 |
155 |
2´58,7+3,5 |
|
|
22,9 |
23,6 |
185 |
2´82,9+4,45 |
|
|
26,9 |
27,6 |
215 |
2´107,6+5,0 |
|
|
Балластные ребристые пролетные строения разработки Лентрансмостпроекта, 1976 г. (№ 556/11 - 556/16) |
||||
|
|
18,0 |
18,7 |
155 |
2´60,9 |
|
22,9 |
23,6 |
185 |
2´82,9 |
|
|
26,9 |
27,6 |
225 |
2´107,6 |
|
|
Балластные ребристые двухблочные пролетные строения без диафрагм разработки Лентрансмостпроекта, 1956, 1957 гг. (№№ 7905, 7908) |
||||
|
|
15,8 |
16,5 |
145 |
2´41,1 |
|
|
22,9 |
23,6 |
185 |
2´62,4 |
|
18,0 |
18,7 |
145 |
2´45,9 |
|
|
Примечание. Там, где вес пролетного строения дан дробью, цифра в числителе относится к пролетному строению с двумя короткими консолями, в знаменателе - с двумя длинными. |
||||
|
Материал |
Средняя плотность, кН/м3 (тс/м3) |
|
Бетон вибрированный на гравии или щебне из природного камня |
23,5 (2,4) |
|
Железобетон при коэффициенте армирования |
|
|
до 0,03 |
23,5 (2,4) |
|
То, же более 0,03 |
24,5 (2,5) |
|
Кладка из тесаных или грубооколотых камней: |
|
|
гранита |
26,5 (2,7) |
|
песчаника |
23,5 (2,4) |
|
известняка |
21,6 (2,2) |
|
Кладка бутовая и бутобетонная: |
|
|
на тяжелом известняковом камне |
22,6 (2,3) |
|
на легком известняковом камне |
19,6 (2,0) |
|
на песчаниках и кварцитах |
21,6 (2,2) |
|
на граните и базальте |
23,5 (2,4) |
|
Кладка кирпичная: |
|
|
из клинкера |
18,6 (1,9) |
|
обыкновенного кирпича |
17,6 (1,8) |
|
пустотелого кирпича |
12,7 (1,3) |
|
пористого кирпича |
11,8 (1,2) |
|
из пористого пустотелого кирпича |
9,81 (1,0) |
|
Кладка бетонная: |
|
|
на гравии или щебне из природного камня |
21,6 (2,2) |
|
на кирпичном щебне |
17,6 (1,8) |
|
на шлаке доменных печей |
15,7 (1,6) |
|
на угольном шлаке или пемзе |
11,8 (1,2) |
|
на коксовом шлаке |
10,8 (1,1) |
|
Балласт щебеночный |
16,7 (1,7) |
|
Балласт с частями верхнего строения пути |
19,6 (2,0) |
|
Засыпка между обратными стенками устоев |
17,6 (1,8) |
|
Конструкция мостового полотна |
Вес, кН/м (тс/м) |
|
Без тротуара на поперечинах (мостовых брусьях) |
6,87 (0,7) |
|
С двумя тротуарами на длинных поперечинах при настиле из досок |
8,83 (0,9) |
|
С двумя раздельными тротуарами при настиле из досок |
8,83 (0,9) |
|
То же, но при настиле из железобетонных плит |
10,8 (1,1) |
|
На безбалластных железобетонных плитах: |
|
|
без тротуаров |
15,7(1,6) |
|
с двумя тротуарами при настиле из железобетонных плит |
19,6 (2,0) |
Примечания. 1. При мостовых брусьях сечением более 22´26 см к данным значениям добавляется 0,98 кН/м (0,1 тс/м) пути. 2. Вес мостового полотна на металлических поперечинах и с ездой на балласте (в железобетонном балластном корыте) принимается по фактическим или стандартным размерам, приведенным в "Указаниях по устройству и конструкциях мостового полотна на железнодорожных мостах". М.: Транспорт, 1989 г.
1. Равнодействующую нормативного горизонтального (бокового) давления Fh на опоры мостов от собственного веса насыпного грунта, а также грунта, лежащего ниже естественной поверхности земли при глубине заложения подошвы фундамента 3 м и менее (рис. а), следует определять по формуле:
(1)
где рп - нормативное горизонтальное (боковое) давление грунта на уровне нижней поверхности рассматриваемого слоя, принимаемое согласно п. 3.4; hx - высота засыпки, считая от подошвы рельсов или верха дорожного покрытия, м; b - приведенная (средняя по высоте hx) ширина опоры в плоскости задних граней, на которую распределяется горизонтальное (боковое) давление грунта, м.
Рис. Схема эпюр давления грунта на опоры моста для определения
равнодействующей нормативного горизонтального (бокового) давления на опоры:
а - при глубине заложения подошвы фундамента 3 м и менее; 5 - то же свыше 3 м;
1 - первый слой; 2 - второй слой; 3 - третий слой
Плечо
равнодействующей Fh от подошвы фундамента следует принимать равным ![]()
Для массивных (в том числе с обратными стенками) и пустотелых (с продольными проемами) устоев, если ширина проема b1 равна или менее двойной ширины обратной стенки b2, а также для сплошных (без проемов) фундаментов ширину b следует принимать равной расстоянию между внешними гранями конструкций.
Для пустотелых (с продольными проемами) устоев или для раздельных (с проемами) фундаментов, если b1 > 2b2, ширину b следует принимать равной удвоенной суммарной ширине стенок или раздельных фундаментов.
Для свайных или стоечных устоев, если суммарная ширина свай (стоек) равна или более половины всей ширины, за ширину b следует принимать расстояние между внешними гранями свай (стоек); если суммарная ширина свай (стоек) менее половины всей ширины опоры, то за ширину b следует принимать для каждой сваи (стойки) двойную ее ширину.
Примечания. 1. Величины gп и jп при определении давления рп на всю высоту hx допускается принимать как для дренирующего грунта засыпки.
2. Для свай, забитых в ранее возведенную (уплотненную) насыпь, горизонтальное (боковое) давление учитывать не следует.
3. Горизонтальное (боковое) давление грунта на опоры моста со стороны пролета следует учитывать, если в проекте сооружения предусматриваются мероприятия, гарантирующие стабильность воздействия этого грунта при строительстве и эксплуатации моста.
4. Наклон задней грани устоя и силы трения между грунтом засыпки и этой гранью при определении силы Fh учитывать не следует.
2. При глубине заложения подошвы фундамента свыше 3 м равнодействующую нормативного горизонтального (бокового) давления каждого 1-го (снизу) слоя грунта, расположенного ниже естественной поверхности земли, следует определять по формуле
![]()
где gi - удельный вес грунта рассматриваемого слоя; hi - толщина рассматриваемого слоя; ti - коэффициент нормативного горизонтального (бокового) давления грунта для 1-го слоя, равный:
(2)
ji - нормативное значение угла внутреннего трения слоя грунта; hoi - приведенная к удельному весу грунта засыпки общая толщина слоев грунта, лежащих выше верхней поверхности рассматриваемого слоя. Например, для нижнего (первого) слоя приведенная на рис. б толщина составляет
(3)
Плечо равнодействующей давления i-го слоя Fi, от нижней поверхности рассматриваемого слоя следует принимать равным:
(4)
|
Виды грунтов |
Характеристики грунтов по данным лабораторных исследований |
Расчетные значения характеристик |
|||||
|
Коэффициент пористости е |
Природная влажность W, % |
Влажность на границе раскатывания Wp, % |
Сцепление Cтр, кгс/см2 |
Угол внутреннего трения |
Модуль деформации Е, кгс/см2 |
Средняя плотность gп, тс/м3 |
|
|
Пески: |
|
|
|
|
|
|
|
|
крупные |
0,4-0,5 |
15-18 |
- |
0 |
40 |
460 |
2,15 |
|
|
0,5-0,6 |
19-23 |
- |
0 |
38 |
400 |
2,05 |
|
|
0,6-0,7 |
23-25 |
- |
0 |
36 |
330 |
2,00 |
|
средней |
0,4-0,5 |
15-18 |
- |
0 |
38 |
460 |
2,15 |
|
крупности |
0,5-0,6 |
19-22 |
- |
0 |
36 |
400 |
2,05 |
|
|
0,6-0,7 |
23-25 |
- |
0 |
33 |
330 |
2,00 |
|
|
0,4-0,5 |
15-18 |
- |
0 |
36 |
370 |
2,15 |
|
мелкие |
0,5-0,6 |
18-22 |
- |
0 |
34 |
280 |
2,05 |
|
|
0,6-0,7 |
23-25 |
- |
0 |
30 |
240 |
2,00 |
|
|
0,5-0,6 |
15-18 |
- |
0,05 |
34 |
140 |
2,15 |
|
пылеватые |
0,6-0,7 |
19-22 |
- |
0,03 |
32 |
120 |
2,05 |
|
|
0,7-0,8 |
23-25 |
- |
0,02 |
26 |
100 |
2,00 |
|
Супеси |
0,4-0,5 |
15-18 |
|
0,06 |
28 |
180 |
2,20 |
|
пылеватые |
0,5-0,6 |
19-22 |
9,4 |
0,05 |
26 |
140 |
2,10 |
|
|
0,6-0,7 |
22-25 |
|
0,02 |
25 |
110 |
2,05 |
|
Суглинки: |
|
|
|
|
|
|
|
|
|
0,4-0,5 |
15-18 |
|
0,07 |
23 |
230 |
2,20 |
|
пылеватые |
0,5-0,6 |
19-22 |
9,5-12,4 |
0,05 |
22 |
160 |
2,10 |
|
|
0,6-0,7 |
23-25 |
|
0,02 |
21 |
130 |
2,05 |
|
|
0,4-0,5 |
15-18 |
|
0,25 |
22 |
450 |
2,20 |
|
сухие |
0,5-0,6 |
19-22 |
12,5-15,4 |
0,15 |
21 |
210 |
2,10 |
|
|
0,6-0,7 |
23-25 |
|
0,10 |
20 |
150 |
2,05 |
|
|
0,7-0,8 |
26-29 |
|
0,05 |
19 |
120 |
2,00 |
|
|
0,5-0,6 |
19-22 |
|
0,35 |
20 |
300 |
2,10 |
|
|
0,6-0,7 |
23-25 |
|
0,15 |
19 |
180 |
2,05 |
|
влажные |
0,7-0,8 |
26-29 |
15,5-18,4 |
0,10 |
18 |
150 |
2,00 |
|
|
0,8-0,9 |
30-34 |
|
9,08 |
17 |
130 |
1,95 |
|
|
0,9-1,0 |
35-40 |
|
0,05 |
16 |
80 |
1,90 |
|
|
0,6-0,7 |
23-25 |
|
0,40 |
18 |
330 |
2,05 |
|
насыщенные |
0,7-0,8 |
26-29 |
18,5-22,4 |
0,25 |
17 |
190 |
2,00 |
|
|
0,8-0,9 |
30-34 |
|
0,20 |
16 |
130 |
1,95 |
|
|
0,9-1,0 |
35-40 |
|
0,10 |
15 |
90 |
1,90 |
|
Глины: |
|
|
|
|
|
|
|
|
|
0,7-0,8 |
26-29 |
|
0,60 |
16 |
280 |
2,00 |
|
твердые |
0,8-0,9 |
30-34 |
22,5-26,4 |
0,30 |
15 |
160 |
1,95 |
|
|
0,9-1,0 |
35-40 |
|
0,25 |
14 |
110 |
1,90 |
|
пластичные |
0,8-0,9 |
30-34 |
26,5-30,4 |
0,65 |
14 |
240 |
1,95 |
|
|
0,9-1,1 |
36-40 |
|
0,35 |
13 |
140 |
1,90 |
Горизонтальное (боковое) давление на устои мостов от подвижного состава, находящегося на призме обрушения (F), определяют с учетом распространения нагрузки в грунте ниже подошвы рельсов через шпалы длиной 2,7 м, длину загружения призмы обрушения (l) принимают равной l = h/2, где h - расстояние от подошвы рельсов до рассматриваемого сечения. Площадь приведенной к вертикали линии влияния (WF) определяют по формулам:
а) для однопутных устоев при симметричной (относительно оси устоя) нагрузке (рис. а)
(1)
б) для многопутных устоев при несимметричной (относительно оси устоя) нагрузке (рис. б)
(2)
Если h2 = h, то принимается a2 = a.

Рис. Схема загружения для определения горизонтального (бокового)
давления грунта на береговые опоры (устои):
а - при расположении на призме обрушения подвижного состава железных дорог для
однопутных устоев при симметричной (относительно оси устоя) нагрузке; б - то же
для многопутных устоев при несимметричной (относительно оси устоя) нагрузке
Плечи сил F1, F2, F3 и F4, считая от рассматриваемого сечения (рис. б подошвы фундамента), следует определять по формулам:
![]()
![]()
где h1, h2 - высоты, в пределах которых площадь давления имеет переменную ширину, м; b - ширина однопутного устоя или удвоенное наименьшее расстояние от вертикальной оси нагрузки до ближайшей боковой грани устоя при несимметричном загружении, м; b1 = 2,70 + h2 - удвоенное расстояние от оси пути до точки пересечения линии распространения нагрузки с боковой удаленной от пути гранью, м, но не более удвоенного наибольшего расстояния от оси пути до боковой грани устоя; tп - коэффициент нормативного горизонтального (бокового) давления грунта засыпки, определяемый по п. 3.4.
Значения коэффициентов a, a1, a2 и x, x1, x2 в зависимости от соответствующих высот h, h1, h2 следует принимать по табл.
Примечание. Для многопутного устоя общее давление от временной нагрузки следует определять как сумму давлений, получаемых по формуле (2) для каждого из путей в отдельности при соответствующих значениях b, b1, h, h1, h2.
Таблица
|
h, h1, h2, м |
a, a1, a2 |
x, x1, x2 |
h, h1, h2, м |
a, a1, a2 |
x, x1, x2 |
|
1 |
0,85 |
0,53 |
16 |
0,33 |
0,65 |
|
2 |
0,75 |
0,55 |
17 |
0,32 |
0,66 |
|
3 |
0,67 |
0,56 |
18 |
0,31 |
0,66 |
|
4 |
0,61 |
0,58 |
19 |
0,30 |
0,66 |
|
5 |
0,57 |
0,59 |
20 |
0,29 |
0,67 |
|
6 |
0,53 |
0,60 |
21 |
0,28 |
0,67 |
|
7 |
0,49 |
0,60 |
22 |
0,27 |
0,67 |
|
8 |
0,46 |
0,61 |
23 |
0,27 |
0,67 |
|
9 |
0,44 |
0,62 |
24 |
0,26 |
0,68 |
|
10 |
0,42 |
0,62 |
25 |
0,25 |
0,68 |
|
11 |
0,40 |
0,63 |
26 |
0,25 |
0,68 |
|
12 |
0,38 |
0,64 |
27 |
0,24 |
0,68 |
|
13 |
0,37 |
0,64 |
28 |
0,23 |
0,69 |
|
14 |
0,35 |
0,64 |
29 |
0,23 |
0,69 |
|
15 |
0.34 |
0,65 |
30 |
0,22 |
0,69 |
Интенсивность нормативной ветровой нагрузки wП определяется по формуле:
wП = wm + wp,
где wm = w0kcw - средняя
составляющая; wp
= wmeLv -
пульсационная составляющая; w0 - нормативное ветровое
давление по СНиП 2.01.07-85
(см. ниже); k -
коэффициент, учитывающий давление ветра на различной высоте для открытой
местности (см. ниже); cw
- аэродинамический коэффициент лобового сопротивления, принимаемый по
приложению 13; e
- коэффициент динамичности, принимаемый равным 1,25 для разрезных
металлоконструкций, 1,20 - для неразрезных, 1,15 - для бетонных, каменных и
железобетонных; Lv
- произведение коэффициентов пульсации L и пространственной корреляции v,
которое принимают равным
, но не менее 0,30, где l - длина пролета или
высота опоры.
Значения нормативного ветрового давления w0 в зависимости от ветрового района приведены ниже.
|
Ветровые районы |
1а |
I |
II |
III |
|
w0, кПа (кгс/см2) |
0,17 (17) |
0,23 (23) |
0,30 (30) |
0,38 (38) |
|
Ветровые районы |
IV |
V |
VI |
VII |
|
w0, кПа (кгс/см2) |
0,48 (48) |
0,60 (60) |
0,73 (73) |
0,85 (85) |
Значения коэффициента изменения ветрового давления по высоте приведены ниже:
|
Высота сооружения, м |
5 |
10 |
20 |
40 |
60 |
80 |
100 |
150 |
200 |
|
Коэффициент изменения ветрового давления k |
0,75 |
1,6 |
1,25 |
1,5 |
1,7 |
1,85 |
2,0 |
2,25 |
2,45 |
|
Части или элементы пролетных строений и опор мостов |
Значения аэродинамического коэффициента |
|
1. Главные фермы сквозных пролетных строений балочной и арочной системы с ездой: |
|
|
понизу при наличии на них поезда |
2,15 |
|
понизу при отсутствии поезда |
2,55 |
|
поверху при расстоянии между осями ферм от 2 до 4 м |
2,15-2,45 |
|
2. Балочная клетка и мостовое полотно проезжей части пролетных строений |
1,85 |
|
3. Пролетные строения со сплошными балками: |
|
|
однопутные с ездой поверху |
1,90 |
|
два однопутных с ездой поверху, установленных на общих опорах двухпутного моста |
2,10 |
|
однопутные в виде замкнутой коробки |
1,50 |
|
однопутные с ездой понизу |
2,25 |
|
двухпутные с ездой понизу |
2,45 |
|
4. Прогоны деревянных мостов |
1.95 |
|
5. Железнодорожный подвижной состав, находящийся на пролетном строении с ездой: |
|
|
понизу |
1,50 |
|
поверху |
1,80 |
|
6. Каменные, бетонные и железобетонные опоры мостов: |
|
|
а) поперек моста: |
|
|
при прямоугольном сечении |
2,10 |
|
то же, но с обтекателями в носовой и кормовой частях |
1,75 |
|
при круглом сечении |
1,40 |
|
в виде двух круглых столбов |
1,80 |
|
б) вдоль моста при прямоугольном сечении |
2,10 |
|
7. Деревянные сквозные опоры мостов: |
|
|
а) башенного типа: |
|
|
поперек моста |
3,20 |
|
вдоль моста |
1,50 |
|
б) однорядные и сдвоенные: |
|
|
поперек моста |
2,50 |
|
вдоль моста |
1,50 |
|
8. Стальные опоры: |
|
|
а) однорядные: |
|
|
поперек моста |
2,50 |
|
вдоль моста |
1,80 |
|
б) башенные сквозные при числе плоскостей (поперек направления ветра) 2-4 |
2,10-3,00 |
Примечание. Для опор, состоящих по высоте из нескольких ярусов, имеющих различные конструктивные формы, ветровую нагрузку, необходимо определять для каждого яруса отдельно с учетом соответствующего аэродинамического коэффициента.
1. Нагрузку от льда на опоры мостов следует определять на основе исходных данных по ледовой обстановке в районе расположения сооружения для периода с наибольшими ледовыми воздействиями, при этом период натурных наблюдений должен быть не менее пяти лет.
Пределы прочности льда следует определять по опытным данным.
При отсутствии опытных данных допускается принимать:
для I района страны:
а) предел прочности льда на раздробление (с учетом местного смятия) Rz1;
в начальной стадии ледохода (при первой подвижке) - 735 кПа (75 тс/м2);
при наивысшем уровне ледохода - 441 кПа (45 тс/м2);
б) предел прочности льда на изгиб Rm1 - 70 % соответствующих значений прочности льда на раздробление (по подпункту „а");
для остальных районов страны - по формулам:
Rzn = KnRz1; (1)
Rmn = 0,7Rzn, (2)
где п - порядковый номер района страны; Kn - климатический коэффициент для данного района страны.
Границы районов и климатические коэффициенты, соответствующие районам, следует принимать по табл. 1 прил. 14. При этом для рек, вскрывающихся при отрицательной температуре, климатический коэффициент следует принимать не менее 2.
Таблица 1
|
Номер района |
Граница района |
Климатический коэффициент kп |
|
I |
Южнее линии Выборг - Смоленск - Камышин -Актюбинск - Балхаш |
1 |
|
II |
Южнее линии Архангельск - Киров - Уфа - Кустанай -Караганда - Усть-Каменогорск |
1,25 |
|
III |
Южнее линии Воркута - Ханты-Мансийск - Красноярск - Улан-Удэ - Николаевск-на-Амуре |
1,75 |
|
IV |
Севернее линии Воркута - Ханты-Мансийск - Красноярск - Улан-Удэ - Николаевск-на-Амуре |
2 |
Примечание. Для II и III районов южной границей является северная граница предыдущего района.
На промерзающих до дна реках, если ледоход начинается после прохода по льду весенних вод, предел прочности льда на раздробление следует принимать по фактическим данным (с учетом ослабления льда вследствие его протаивания), но не менее величин, установленных для ледохода при наивысшем уровне.
2. Равнодействующую ледовой нагрузки необходимо прикладывать в точке, расположенной ниже расчетного уровня воды на 0,3t, где t - расчетная толщина льда, м, принимаемая равной 0,8 максимальной за зимний период толщины льда обеспеченностью 1 %.
3. Нагрузку от движущихся ледяных полей на опоры мостов с вертикальной передней гранью необходимо принимать по наименьшему значению из определяемых по формулам:
при прорезании опорой льда
при остановке ледяного поля опорой
(4)
где y1, y2 - коэффициенты формы, определяемые по табл. 2; Rzn - сопротивление льда раздроблению для районов строительства, кПа (тс/м2); b - ширина опоры на уровне действия льда, м; t - толщина льда, м; v - скорость движения ледяного поля, м/с, определяемая по данным натурных наблюдений, а при их отсутствии принимаемая равной скорости течения воды; А - площадь ледяного поля, м3, устанавливаемая по натурным наблюдениям в месте перехода или вблизи от него.
Таблица 2
|
Коэффициент |
Значение коэффициента формы для опор с носовой частью, имеющей в плане форму |
|||||||
|
многоугольника |
прямоугольника |
треугольника с углом заострения в плане, град |
||||||
|
45 |
60 |
75 |
90 |
120 |
150 |
|||
|
y1 |
0,90 |
1,00 |
0,54 |
0,59 |
0,64 |
0,69 |
0,77 |
1,00 |
|
y2 |
2,4 |
2,7 |
0,2 |
0,5 |
0,8 |
1,0 |
1,3 |
2,7 |
При отсутствии натурных данных площадь ледяного поля допускается принимать A = 1,75l2, где l - величина пролета, м, а при уклонах участков водной поверхности i ³ 0,007
(5)
где Rmn - предел прочности льда на изгиб в районе расположения моста, кПа (тс/м2).
4. При движении ледяного поля под углом j £ 80° к оси моста нагрузку от льда на вертикальную грань опоры необходимо уменьшать путем умножения ее на sinj.
5. Давление льда на опору, имеющую в зоне действия льда наклонную поверхность, следует определять:
а) горизонтальную составляющую Sx, кН (тс), - по наименьшей из величин, полученных по формуле (3) настоящего приложения и по формуле
Sx = yRmnt2tgb; (6)
б) вертикальную составляющую Sz, кН (тс), - по формуле
(7)
где y
- коэффициент, принимаемый равным
, но не менее 1; b - угол наклона к
горизонту режущего ребра опоры; Rmn, b, t - принимаются по пп. 1-3.
6. При сложной ледовой обстановке в районе эксплуатируемого мостового перехода в необходимых случаях следует учитывать нагрузки от:
остановившегося при навале на опору ледяного поля, когда кроме течения воды происходит воздействие на поле ветра;
давления зажорных масс;
примерзшего к опоре (сваям или свайным кустам) ледяного покрова при колебаниях уровня воды;
ледяного покрова при его температурном расширении и наличии с одной стороны опоры поддерживаемой майны.
Указанные нагрузки следует определять по СНиП 2.06.04-82.
Условный фундамент следует принимать в форме прямоугольного параллелепипеда. Его размеры для свайного фундамента с заглубленным в грунт ростверком необходимо определять по рис. 1,в,б с расположенным над грунтом ростверком - по рис. 1,в,г, для фундамента из опускного колодца - по рис. 2.

Рис. 1. Условный свайный фундамент с ростверком:
а - заглубленным в грунт при угле наклона свай менее jm/4; б -
заглубленным в грунт при угле наклона свай более jm/4; в -
расположенным над грунтом при угле наклона свай менее jm/4; г - расположенным
над грунтом при угле наклона свай более jm/4

Рис. 2. Условный фундамент из опускного колодца:
а - без уступов; б - с уступами
Приведенное на рис. 1, 2 среднее значение расчетных углов трения грунтов jт, прорезанных сваями, следует определять по формуле
(1)
где ji - расчетный угол внутреннего трения i-го слоя грунта, расположенного в пределах глубины погружения свай в грунт; hi - толщина этого слоя, м; d - глубина погружения свой в грунт от его расчетной поверхности, м, положение которой следует принимать согласно указаниям, приведенным к формуле (6.5) в разделе 6.1.
Несущую способность основания условного фундамента проверяют по среднему рср и максимальному рмах [см. формулы (6.1) и (6.2)] давлению на грунт в сечении 3-4 по подошве условного фундамента:
или N £ RnA (2)
.
или подставляя А вместо аb [см. (6.3)] и обозначая через j:
(3)
получим
Nj + 6а2(3M + 2Fhd) £ RmnAj, (4)
где N - нормальная составляющая давления условного фундамента на грунт основания, кН (тс), определяемая с учетом веса грунтового массива 1-2-3-4 вместе с заключенными в нем ростверком и сваями или опускным колодцем; Fh, М - соответственно горизонтальная составляющая внешней нагрузки, кН (тс), и ее момент относительно главной оси горизонтального сечения условного фундамента в уровне расчетной поверхности грунта, кН·м (тс·м); d - глубина заложения условного фундамента по отношению к расчетной поверхности грунта, м; а, b - размеры в плане условного фундамента в направлении, параллельном плоскости действия нагрузки и перпендикулярном ей, м; k¢ - коэффициент пропорциональности, определяющий нарастание с глубиной коэффициента постели грунте, расположенного выше подошвы фундамента, и принимаемый по табл.; с – коэффициент постели грунта в уровне подошвы условного фундамента, кН/м3 (тс/м3), определяемый по формулам: при d1 £ 10 м с = 10k¢, кН/м3 (тс/м3); при d1 > 10 м с = k¢d1.
Таблица
|
Грунты |
Коэффициент k¢, кН/м4 (тс/м4) |
|
Текучепластичные глины и суглинки (0,75 < IL £ 1) |
490-1960 (50-200) |
|
Мягкопластичные глины и суглинки (0,5 < IL £ 0,75); пластичные супеси (0 £ IL £ 1); пылеватые пески (0,6 £ е £ 0,8) |
1961-3920 (200-400) |
|
Тугопластичные и полутвердые глины и суглинки (0 £ IL £ 0,5); твердые супеси (IL < 0); пески мелкие (0,4 £ е £ 0,75) и средней крупности (0,55 £ е £ 0,7) |
3921-5880 (400-600) |
|
Твердые глины и суглинки (IL < 0); пески крупные (0,55 £ е £ 0,7) |
5881-9800 (600-1000) |
|
Пески гравелистые (0,55 £ е £ 0,7) и галька с песчаным заполнителем |
9801-19600 (1000-2000) |
Исходные данные
Однопутный трехпролетный мост построен по расчетной схеме: 22,9 + 55,0 + 22,9 м. Все три пролетные строения балочные с ездой поверху на балласте. Русловое пролетное строение длиной 55,84 м сталежелезобетонное весом 321,6 тс; береговые пролетные строения длиной по 23,6 м железобетонные предварительно напряженные весом по 153,2 тс. Мост расположен на кривой радиусом 800 м. Река не судоходная, горная, незамерзающая.
Вес классифицируемой промежуточной опоры (рис. 1) выше подошвы фундамента Q1 = 1597,7 тс; вес опоры выше обреза фундамента Q2 = 1111,3 тс.
Расстояние от боковой грани до центра тяжести сечения dQi.
в продольном направлении dQ1 = 3,0 м;
в поперечном направлении dQ2 = 3,6 м.
Распределенная нагрузка от веса руслового пролетного строения - 6,49 тс/м; от веса берегового пролетного строения - 5,76 тс/м; от веса верхнего строения пути - 2,88 тс/м.
Расчетное сопротивление скального грунта в основании опоры R = 120 тс/м3. Высота железобетонного пролетного строения - 2,7 м, сталежелезобетонного - 5,0 м.
Расчетное сопротивление кладки опоры из бетона марки М250 Rб = 1050 тс/м2 (см. табл. 2.1); с учетом климатического коэффициента k = 0,95 (см. табл. 2.2) расчетное сопротивление R = 997,5 тс/м2. Размер е = еQ1 + еQ2 = 0,6 + 0,22 = 0,82 (см. рис 1). l1 = 22,9; l2 = 55,0; l1 = 22,9 + 0,35 = 23,25 м; l2 = 55,0 + 0,42 = 55,42 м.

Рис. 1. Схема промежуточной опоры моста

Рис. 2. Расчетные сечения промежуточной опоры моста:
а - сечение по подошве фундамента; б - сечение по обрезу фундамента
Геометрические характеристики расчетных сечений промежуточной опоры (рис. 2):
по подошве фундамента – А = 43,2 м2; у = 3,0 м; х = 3,6 м; rу = 1,2 м; Wx = 43,2 м3; Wу = 51,84 м3.
по обрезу фундамента - А = 24,64 м2; у = 2,2 и; х = 2,8 м; rх = 0,733 м; rу = 0,933 м; Wx = 18,07 м3; Wу = 22,99 м3.
1. Расчет по среднему давлению
Эквивалентная нагрузка (k) по среднему давлению вычисляется по формуле (1.10),
1.1. В сечении по подошве фундамента
В общей
формуле (1.10) применительно к
расчету промежуточной опоры
[см.(4.1)].
Сумму вертикальных сил от постоянных нагрузок вычисляют по формуле (4.2). Приняв коэффициенты надежности к нагрузкам по табл. 3.3, имеем:

Эквивалентная нагрузка
тс/м
1.2. В сечении по обрезу фундамента
![]()
тс/м
2. Расчет по максимальному давлению
Эквивалентную распределенную нагрузку по максимальному давлению вычисляют по формуле (1.11), принимая в ней т = 1,2 (п. 3.19) и п = 0,72 (п. 3.18). Для выявления минимального класса загружаем вначале один (больший) пролет, а затем оба пролета.
2.1. В сечении по подошве фундамента в продольном направлении
SNПrх = 2159·1,0 = 2159 тс·м.
Сумма моментов
от постоянных нагрузок вычисляется по формуле (4.6), в которой применительно к условиям заданного примера
отсутствуют ледовые нагрузки и навал судов, a
, т.к.
, интенсивность нагрузки от веса мостового полотна рр
и соответствующий ей коэффициент надежности пр заменяются на
интенсивность нагрузки от веса балласта с частями верхнего строения пути рб
и коэффициент надежности пб:
![]()
Ветровую нагрузку вычисляем по формуле (3.7): sg = wПFpaб, приняв в ней ориентировочно нормативную интенсивность, wП = 0,06 тс/м3. С учетом изложенного в пп. 3.12-3.14 ветровая нагрузка составит:
на опору -
; плечо ![]()
на пролет -
; плечо ![]()
SМП = 277,2·0,22 – 124,6·0,6 + (3,3·34,6 + 6,78·22,72)1,4´0,5 = 60,98 - 74,76 + 187,75 = 173,98 тс·м;
[см. (4.4)]
[см. (4.5)] при определении
принято: b = 1; x = 0,8; zt
= 34,6 м.
тс/м
2.2. В сечении по подошве фундамента в поперечном направлении
SNПrу = 2159·1,2 = 2590,8 тс·м.
Сумма моментов от постоянных нагрузок [см. (4.8)] для однопутной симметричной опоры без ледорезов и при отсутствии ледовых нагрузок и навала судов слагается только из ветровых воздействий:
![]()
Для классифицируемой опоры ветровые нагрузки составляют:
на пролеты
тс;
на подвижной
состав
тс;
на опору
тс;
![]()
SМП = (12,12·37,1 +14,17·39,3 + 4,9·22,72)1,4·0,5 = 782,5 тс·м.
Для подвижных временных нагрузок сумма площадей линий влияния нормальных сил определяется по формуле (4.1) и изгибающих моментов - по формуле (4.7). Плечо действия центробежной силы zc = 34,6 + 4,9 = 39,5 м.
Для классифицируемой опоры:
(4.7)
Первый член в формуле (4.7) для однопутной симметричной опоры равен 0, т.е. ek = 0.
Интенсивность искомой эквивалентной нагрузки
тс/м
2.3. В сечении по обрезу фундамента в продольном направлении
Сумме нормальных сил при расчете на максимальное давление та же, что и при расчете по среднему давлению:
SNП
= 1111,3·1,1 + 124,6 + 277,2 = 1624 тс; rх = 0,733
м; ![]()
Сумма моментов от постоянных нагрузок:
SМП = 277,2·0,22 - 124,6·0,6 + (3,3·34,6 + 6,78·17,12)·1,4·0,5 = 60,98 - 74,76 + 148,24 = 134,46 тс·м.
Суммы площадей линий влияния:
zt = 29 м.
тс/м
2.4. В сечении по обрезу фундамента в поперечной направлении
SNПrу = 1624·0,933 = 1515,2 тс·м;
![]()
SМП = (12,12·31,5 + 14,17·33,7 + 4,9·17,12)1,4·0,5 = 660,2 тс·м;
zс = 39,5 -
5,6 - 33,9 м.
тс/м
2.5. Загружение временной нагрузкой обоих пролетов в продольном направлении
В сечении по подошве фундамента
![]()
![]()
тс/м.
В сечении по обрезу фундамента
![]()
![]()
тс/м.
3. Проверка эксцентриситета положения равнодействующей по подошве фундамента
Эксцентриситет положения равнодействующей всех нагрузок е определяется по формуле (1.14). Приняв эквивалентную нагрузку k, вычисленную по максимальному давлению (см. пп. 2.1 и 2.2. настоящего примера) и подставляя найденные выше величины соответствующих буквенных обозначений, найдем е.
3.1. В продольном направлении
![]()
3.2. В поперечном направлении
![]()
Как в продольном, так и в поперечном направлении е < 1 и, следовательно, равнодействующая нагрузок не выходит за пределы ядра сечения, все сечение полностью работает на сжатие и уточнять (снижать) класс опоры по положению равнодействующей не требуется.
4. Расчет на опрокидывание
Эквивалентная нагрузка для оценки устойчивости опоры против опрокидывания подсчитывается по общей формуле (1.12), где коэффициент условий работы ту = 0,9 (по п. 3.20), а коэффициент надежности по назначению пу = 1,1 (по п. 3.18).
4.1. В продольном направлении
Сумма опрокидывающих моментов определяется по формуле (4.12):
тс·м.
Сумма удерживающих моментов от постоянных нагрузок по формуле (4.13):
Разность площадей дикий влияния опрокидывающих и удерживающих моментов от временных нагрузок по формуле (4.11):
![]()
Искомая эквивалентная нагрузка [см. (1.12)]
тс/м.
4.2. В поперечном направлении
Без учета ледовых нагрузок и навала судов сумма опрокидывающих моментов от постоянных нагрузок по формуле (4.15)
тс·м.
Сумму удерживающих моментов от постоянных нагрузок подсчитывают по формуле (4.16):
![]()
= 1597,7·3,6·0,9 + [(6,49·0,9 + 2,88·0,9)23,25 + (5,76·0,9 + 2,88·0,9)55,42]0,5·3,6 = 6294 тс·м. Разность площадей линий влияния по формуле (4.14):
![]()
Эквивалентная нагрузка [см. (1.12)]
тс/м.
5. Класс промежуточной опоры
Классы промежуточной опоры в расчетных сечениях вычисляются по общей формуле (1.1); результаты расчетов сведены в табл.
Минимальный класс опоры получен по максимальному давлению в сечении по подошве фундамента в направлении поперечном к продольной оси моста и составляет 2,65.
Таблица
|
Величины, необходимые для подсчета класса опоры, и условия схем загружения |
Расчетные значения |
|||||||||
|
по среднему давлению |
по максимальному давлению |
на опрокидывание |
||||||||
|
подошва |
обрез |
подошва |
обрез |
подошва |
обрез |
подошва |
||||
|
k |
36,84 |
537,5 |
5,51 |
13,35 |
123,5 |
62,6 |
12,81 |
124,4 |
50,79 |
18,24 |
|
|
2,08 |
2,08 |
2,08 |
1,545 |
1,545 |
2,08 |
2,08 |
2,08 |
1,545 |
2,08 |
|
К |
17,7 |
258,4 |
2,65 |
6,57 |
60,7 |
30,1 |
6,16 |
59,8 |
24,98 |
8,77 |
|
Число загружаемых пролетов |
Оба |
Один |
Оба |
Один |
Оба |
|||||
|
Плоскость расчёта (вдоль или поперек оси моста) |
Вдоль |
Поперек |
Вдоль |
Поперек |
Вдоль |
Поперек |
||||
При загружении обоих пролетов в формулу (1.1) вводится приведенная эквивалентная нагрузка, подсчитываемая по формуле (1.4):

Исходные данные
Однопутный однопролетный мост (рис. 1) построен в 1881 - 1882 гг. Устои выполнены из бутовой кладки, облицованы известняковым камнем, заложены на естественном основании. Пролетное строение железобетонное ребристое с ездой на балласте.
Вес опоры выше подошвы фундамента Q1 = 210,15 тс; вес опоры выше обреза фундамента Q1 = 136,8 тс.

Рис. 1. Однопролетный мост с устоями,
заложенными на естественном основании:
1 - линия влияния для расчета по среднему давлению; 2 - линия влияния для
расчета по максимальному давлению и положению равнодействующей; 3 - линия
влияния для расчета на опрокидывание и сдвиг

Рис. 2. Расчетные сечения устоя:
а - по подошве фундамента; б - по обрезу фундамента
Расстояния от
передней грани устоя до центров тяжести приложения Q1 и Q2 вычислены по рис. 1 и
составляют: ![]()
Распределенная нагрузка от веса пролетного строения p1 = 6,8 тс/м; распределенная нагрузка от веса верхнего строения пути р = 2,88 тс/м. Расчетные схемы загружения устоя временной нагрузкой по среднему давлению, максимальному давлению, опрокидыванию и сдвигу приведены на рис. 1; длины участков линии влияния при этом составляют: l1 = 7,1 м; l2 = 4,55 м; l3 = 0,5Н = 3,35 м.
Грунты в основании фундамента - твердые глины с расчетным сопротивлением (по приложению 3) R = 46,9 тс/м2; R0 = 30 тс/м2 (по табл. 2.4).
Расчетное сопротивление бутовой кладки на бетоне марки М200 по табл. 2.1 R = 300 т/м2 при климатическом коэффициенте kK = 0,75 по табл. 2.2.
Геометрические характеристики расчетных сечений устоя (рис. 2):
по подошве фундамента - А = 18,77 м2; у = 2,91 м; Wx = 14,43 м3; W1 = 10,86 м3; I1 = 190,5 м4; Ix = 31,6 м4; рх = 0,769 м; р' = 0,579 м.
по обрезу фундамента - А = 15,15 м2; у = 2,94 м; Wx = 12,91 м3; I1 = 156,26 м4; Ix = 25,31 м4; рх = 0,852 м.
1. Расчет по среднему давлению
Эквивалентная нагрузка по среднему давлению вычисляется по формуле (1.10).
1.1. В сечении по подошве фундамента
m = 1 по п. 3.19; п = 0,72 по п. 3.18;

![]()
тс/м.
1.2. В сечении по обрезу фундамента
m = 1,15 по табл. 2.1; п = 1 по п. 3.18;
SNП = 136,8·1,1 + (6,8·1,1 + 2,88·1,3)0,5·7,1 + 2,88·1,3·4,55 = 207,3 тс;
тс/м.
2. Расчет по максимальному давлению
Эквивалентная нагрузка вычисляется по формуле (1.11)
2.1. В сечении по подошве фундамента
SNПrх = 288·0,769 = 221,4 тс·м
![]()
где
, т.к. еQ = 0.
Равнодействующую горизонтального (бокового) давления от собственного веса грунта насыпи (Fh), примыкающей к устою, определяют по приложению 9 с помощью формулы:
![]()
в которой ширину фундамента b принимаем равной 2,32 м, т.к. средняя ширина проема b1 = 2,7 м больше удвоенной средней ширины обратной стенки b2 = 1,16 м или b1 > 2b2.
Тогда,
тс.
Плечо
приложения равнодействующей ![]()
Поперечная
ветровая нагрузка на пролетное строение
, в соответствии с п. 3.12
и формулой (3.7) настоящего
Руководства, составляет:
тс.
Продольную нормативную горизонтальную ветровую нагрузку для пролетных строений со сплошными балками принимают в размере 20 % полной нормативной поперечной ветровой нагрузки (п. 3.14):
тс.
Горизонтальное
усилие от продольной ветровой нагрузки, действующей на пролётное строение,
передается на опору в уровне центра опорных частей (п. 3.14),
поэтому плечо действия этой нагрузки ![]()
Продольная ветровая нагрузка на транспортные средства, находящиеся на мосту, в соответствии с п. 2.24 СНиП 2.05.03 не учитывается.
Принимая b = 1,0 (п. 3.7), пg = 1,4, пг = 1,4 (по табл. 3.3) и hg = 0,5 (по п. 3.23 и табл. 3.4) имеем:
МП = (6,8´1,1 + 2,88´1,3)1,74·0,5·7,1 - 2,88·1,3·0,54·4,55 + 19,92·2,23·1,4 + 0,155·1·1,4·0,5 =
= 62,2 - 9,2 + 72,37 + 0,54 = 125,9 тс·м.
Сумму площадей линий влияния моментов от временных нагрузок (см. п. 5.2) определяем по формуле:
![]()
где
- суммарная площадь
приведенной линии влияния горизонтального давления на устой от подвижного состава
на призме обрушения, подсчитываемая по приложению 11.
![]()
h1 = 4,27 - 2,7 = 1,57 м; h = 6,7 м; b = 4,27 м;
a =
0,52; a1
= 0,81; ![]()


![]()
Принимая nF = 1,2, пk = 1,14 (по табл. 3.3), п = 0,72 (по п. 3.18) и т = 1,2 (по п. 3.19) имеем:

тс/м.
2.2. В сечении по обрезу фундамента
SNПrх = 207,32·0,852 = 176,7 тс·м
тс;
![]()
SМП = (6,8·1,1 + 2,88·1,3)1,61·0,5·7,1 - 2,88·1,3·0,665·4,55 + 6,6·1,66·1,4 +
+ 0,155·3,3·1·1,4·0,5 = 63,93 - 11,33 + 15,34 + 0,36 = 68,3 тc·м.
h
= 5 м; h1 = 1,57 м; a' = 0,57; a1
= 0,81;
![]()

Приняв п = 1,0 (по п. 3.18) и m = 1,15 (по табл. 2.1), получим:
тс/м.
3. Проверка эксцентриситета приложения равнодействующей
Эксцентриситет приложения равнодействующей определяем по формуле (1.14):
![]()
Так как эксцентриситет приложения равнодействующей е > 1 - равнодействующая выходит за пределы ядра сечения и на сжатие работает только часть сечения по подошве фундамента на длине [см. формулу (4.9)]
![]()
Площадь сжатой
части сечения по подошве фундамента Ас при этом составит
16,74 м2 и радиус ядра сечения (r) с учетом только
сжатой площади будет равен
или ![]()
При выходе равнодействующей всех нагрузок за пределы ядра сечения необходимо откорректировать допускаемую нагрузку по максимальному давлению, подставив в формулу (1.11) новое значение r:
тс/м.
4. Расчет на опрокидывание
Для расчета устоя на опрокидывание, когда временной нагрузкой загружают только призму обрушения и удерживающие моменты от временных нагрузок отсутствуют, общая формула расчета опор на опрокидывание (1.12) принимает вид:

Вычислим значения входящих в формулу величин

тс·м.
![]()
Принимая mу = 0,8 (п. 3.20) и пу = 1,1 (п. 3.18) и подставляя найденные значения в преобразованную формулу (1.12), определим допускаемую нагрузку по опрокидыванию устоя:
тс/м.
5. Расчет на сдвиг
Допускаемая временная нагрузка по сдвигу опоры [см. формулу (5.8)] без учета отпора насыпного грунта у передней грани фундамента определяется по формуле:

Вычислим значения, входящих в формулу величин:
SNПf = 288·0,3 = 86,4 тс;
sgnghgb = 0,155·1,4·0,5·1,0 = 0,108 тс;
Fhnг = 19,92·1,4 = 27,89 тс;
(см. п. 2.1
настоящего примера).
тс/м.
6. Класс устоя
Классы устоя в расчетных сечениях вычисляются по общей формуле (1.1); результаты расчетов сведены в таблице.
Наименьший класс получен по максимальному давлению с учётом эксцентриситета приложения равнодействующей (с учетом выхода равнодействующей из ядра сечения) и составляет К = 4,25.
|
Величины, необходимые для подсчета класса устоя |
Расчетные значения |
|||||||
|
по среднему давлению |
по максимальному давлению |
на опрокидывание |
на сдвиг |
|||||
|
подошва |
обрез |
подошва |
обрез |
с учетом эксцентриситета приложения равнодействующей |
||||
|
подошва |
подошва |
|||||||
|
k |
37,74 |
534,4 |
12,89 |
288,0 |
12,71 |
69,30 |
41,56 |
|
|
l |
11,65 |
11,65 |
15,0 |
14,15 |
15,0 |
3,35 |
3,35 |
|
|
ly |
4,55 |
4,55 |
7,9 |
7,05 |
7,9 |
- |
- |
|
|
|
2,19 |
2,19 |
1,87 |
1,97 |
1,87 |
2,49 |
2,49 |
|
|
(1 + m) |
1,648 |
1,648 |
1,6 |
1,611 |
1,6 |
1,809 |
1,809 |
|
|
К |
10,37 |
150,5 |
4,31 |
90,7 |
4,25 |
15,38 |
9,23 |
|
* Эквивалентные нагрузки для
треугольно-прямоугольных линий влияния
подсчитаны по формуле
(1.4), а для треугольных линий
влияния при загружении только призмы обрушения (позиция 3 на рис. 1)
определены при положении вершины a = 0,5.
|
ГОСТЫ, СТРОИТЕЛЬНЫЕ и ТЕХНИЧЕСКИЕ НОРМАТИВЫ. Некоммерческая онлайн система, содержащая все Российские Госты, национальные Стандарты и нормативы. В Системе содержится более 150000 файлов нормативно-технической документации, действующей на территории РФ. Система предназначена для широкого круга инженерно-технических специалистов. Copyright © www.gostrf.com, 2008 - 2025 |