Крупнейшая бесплатная информационно-справочная система онлайн доступа к полному собранию технических нормативно-правовых актов РФ. Огромная база технических нормативов (более 150 тысяч документов) и полное собрание национальных стандартов, аутентичное официальной базе Госстандарта. GOSTRF.com - это более 1 Терабайта бесплатной технической информации для всех пользователей интернета. Все электронные копии представленных здесь документов могут распространяться без каких-либо ограничений. Поощряется распространение информации с этого сайта на любых других ресурсах. Каждый человек имеет право на неограниченный доступ к этим документам! Каждый человек имеет право на знание требований, изложенных в данных нормативно-правовых актах!

  


 

ТИПОВЫЕ ТЕХНОЛОГИЧЕСКИЕ КАРТЫ
НА ПРОИЗВОДСТВО ОТДЕЛЬНЫХ ВИДОВ РАБОТ

РАЗДЕЛ 07

ТИПОВАЯ
ТЕХНОЛОГИЧЕСКАЯ КАРТА

НА МОНТАЖ СТРОИТЕЛЬНЫХ КОНСТРУКЦИЙ

7.01.01.60

УСТАНОВКА МУСОРОПРОВОДА
СО СТВОЛОМ ИЗ АСБЕСТОЦЕМЕНТНЫХ ТРУБ
В ЖИЛЫХ МНОГОЭТАЖНЫХ ЗДАНИЯХ

МОСКВА-1989

РАЗРАБОТАНА

Институтом ПТИ Минсевзапстроя СССР

Главный инженер института Ю.И. Руднев

Заведующий отделом № 4 А.М. Гущин

Главный инженер проекта В.П. Одинцов

СОГЛАСОВАНО

Отделом механизации и технологии строительства Госстроя СССР

Письмо от 27.12.88 г. № 23-737

Введена в действие с 1 февраля 1989 г.

1. ОБЛАСТЬ ПРИМЕНЕНИЯ

Типовая технологическая карта разработана из расчета устройства 25 м мусоропровода девятиэтажного жилого дома.

Карта рекомендуется для применения при монтаже типовых асбестоцементных труб мусоропровода длиной до 4 м и диаметром 400 мм крупнопанельных многоэтажных жилых зданий серии 111-121.

При привязке типовой технологической карты к конкретному объекту и условиям строительства принятый в карте порядок выполнения работ по установке мусоропровода, размещение машин и оборудования, объемы работ, калькуляцию затрат труда, график выполнения работ, средства механизации уточняют в соответствии с проектными решениям.

2. ОРГАНИЗАЦИЯ И ТЕХНОЛОГИЯ ВЫПОЛНЕНИЯ РАБОТ

Монтаж труб мусоропровода осуществляют поэтажно по окончании монтажа плит перекрытия, лестничных маршей и площадок, установки нижней трубы мусоропровода в камеру мусороприёмника.

Трубы мусоропровода в зону монтажа доставляют в контейнерах на полуприцепах, буксируемых автомобилями-тягачами.

Монтаж труб мусоропровода с предварительно вырезанным окном под загрузочный клапан выполняют по технологии, описанной далее.

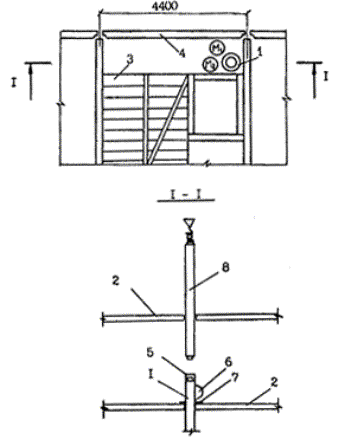
Монтажники М-1 и М-2 на нижеустановленную трубу мусоропровода надевают асбестоцементную муфту и визуально проверяют ее проектное положение. Просмоленную паклю помещают в зазор между трубой мусоропровода и муфтой и производят зачеканку, после чего укладывают резиновое кольцо по верхней грани нижней трубы мусоропровода. Крановщик подает строп к месту строповки трубы мусоропровода. Строповщик заводит нижнюю часть захвата в трубу мусоропровода 9 и вращением ручки 1 прижимает колодки захвата 5 к внутренней поверхности трубы. В строповочное звено 2 заводят грузовой крюк крана и переводят трубу из горизонтального положения в вертикальное. После чего строповщик дает команду на подъем. Подняв трубу на 0,5 м проверяют прочность строповки. Затем трубу транспортируют к месту установки. Схема строповки труб мусоропровода представлена на рис. 1.

СХЕМА СТРОПОВКИ ТРУБ МУСОРОПРОВОДА

Рис. 1

1 - ручка; 2 - строповочное звено; 3 - винт; 4 - муфта верхняя; 5 - колодки; 6 - звено; 7 - муфта нижняя; 8 - строп; 9 - труба мусоропровода

Расстроповку после установки осуществляют вращением ручки 1 в обратном направлении.

Остальное время такелажник на приобъектной площадке занимается выполнением работ по подготовке следующей трубы и захвата к строповке, а также совместно с крановщиком занимается другими работами, сопутствующими монтажу.

Крановщик останавливает опускание трубы на высоте 20 см от технологического отверстия в плите перекрытия лестничного узла. Монтажник М-1 принимает трубу, направляет в отверстие и даёт команду крановщику на опускание трубы. Крановщик плавно опускает трубу, а монтажник М-2, стоя на плите перекрытия смонтированного этажа, принимает трубу и направляет ее в муфту.

Выверку вертикальности трубы производят с помощью рейки с отвесом. Монтажник М-1 следит по рейке за вертикальностью трубы, а монтажник М-2 выравнивает имеющиеся отклонения, после чего монтажник М-1 расстроповывает трубу. Монтажник М-2 охватывает трубу полукольцами хомута на уровне лестничной площадки, затем, располагая зажимы хомута над закладными деталями площадки, вводит болты в отверстия зажимов, навинчивает на них гайки и затягивает ключом.

Монтажники М-1 и М-2 повторно укладывают просмолённую паклю в зазор между муфтой и установленной вновь трубой, затем выполняют зачеканку.

Схема организации рабочего места приведена на рис. 2.

СХЕМА ОРГАНИЗАЦИИ РАБОЧЕГО МЕСТА

Рис. 2

1 - установленная труба; 2 - лестничная площадка; 3 - лестничный марш; 4 - стеновая панель; 5 - муфта; 6 - загрузочный клапан; 7 - хомут; 8 - устанавливаемая труба

3. ТРЕБОВАНИЯ К КАЧЕСТВУ И ПРИЁМКЕ РАБОТ

При приёмке труб на объекте проверяют их размеры, внешний вид.

Технические критерии и средства контроля операций и процессов приводятся в табл. 1.

Приёмочный контроль смонтированного мусоропровода осуществляется согласно СНиП 3.05.01-85. При приёмке предъявляют журналы монтажных работ.

Таблица 1

Наименование процессов, подлежащих контролю

Предмет контроля

Инструмент и способ контроля

Периодичность контроля

Ответственный за контроль

Технические критерии оценки качества

Подготовительные предмонтажные работы

Соответствие загрузочного клапана заводской марке

Визуально

До начала монтажа

Мастер

Паспортные данные заводов-изготовителей

Монтажные работы

Вертикальность установки элементов ствола мусоропровода

Отвес, линейка

В процессе монтажа

То же

Отклонение ствола мусоропровода от вертикали не более 2 мм на 1 м высоты, но не более 25 мм на всю высоту ствола. Отклонения по осям отверстий в перекрытиях для прохода трубопроводов ± 10 мм

 

Правильность установки элементов по маркам и месту монтажа

Визуально

То же

«

Внешний осмотр

 

Соответствие нормативным требованиям стыков ствола мусоропровода

То же

«

«

Акты на скрытые работы

 

Правильность крепления нижней части ствола мусоропровода

«

«

«

То же

Испытания

Наличие тяги в стволе мусоропровода

Задымление при закрытых загрузочных клапанах

После монтажа мусоропровода и устройства кровли

Прораб

Акты на скрытые работы. Лабораторный контроль

 

Отсутствие подсоса воздуха через закрытые дверки загрузочных клапанов

Пламенем свечи по контуру дверки загрузочного клапана

После монтажа мусоропровода и устройства кровли

Прораб

Акты на скрытые работы. Лабораторный контроль

Приёмка работ

Надёжность и плотность сопряжения элементов ствола мусоропровода

Визуально

После окончания монтажа

То же

Акты на скрытые работы

 

Правильность установки и закрепления загрузочного клапана и кожуха

То же

То же

«

То же

 

Лёгкость и бесшумность работы загрузочных клапанов

Путем открывания

«

«

Внешний осмотр

 

Качество отделки мусоропровода

Визуально

После окончания монтажа и отделки мусоропровода

«

То же


4. КАЛЬКУЛЯЦИЯ ЗАТРАТ ТРУДА, МАШИННОГО ВРЕМЕНИ, ЗАРАБОТНОЙ ПЛАТЫ НА УСТРОЙСТВО 25 м МУСОРОПРОВОДА

Таблица 2

Наименование процесса

Единица измерения

Объём работ

Обоснование (ЕНиР и др. нормы)

Норма времени

Расценка, р.-к.

Затраты труда

Заработная плата, р.-к.

Время пребывания машины на объекте, маш.-ч

Заработная плата машиниста с учётом пребывания машины на объекте, р.-к.

 

рабочих, чел.-ч

машиниста, чел.-ч (маш.-ч)

рабочих

машиниста

рабочих, чел.-ч

машиниста, чел.-ч (маш.-ч)

рабочих

машиниста

 

Выгрузка контейнера с автомашин башенным краном

100 т

0,026

§ Е1-7, № 26

9,2

4,56

5-88,8

4-15,2

0,24

0,12

0-15

0-11

0,12

0-11

 

Установка труб мусоропровода

1 звено трубы (длиной до 3 м)

9

§ Е4-1-13, № 5

0,98

0,49

0-69,6

0-44,6

8,82

4,41

6-26

4-01

4,41

4-01

 

Итого:

9,06

4,53

6-41

4-12

4,53

4-12

 

5. ГРАФИК ПРОИЗВОДСТВА РАБОТ НА УСТРОЙСТВО 25 м МУСОРОПРОВОДА

Таблица 3


6. МАТЕРИАЛЬНО-ТЕХНИЧЕСКИЕ РЕСУРСЫ

Потребность в инструменте, инвентаре и приспособлениях приведена в табл. 4

Таблица 4

Наименование

Марка, техническая характеристика, ГОСТ, № чертежа

Количество

Назначение

Клещевой захват

К3-4

1

Перемещение труб мусоропровода

Торцевой захват

3.498.00.00.000

ПТИОМЭС Минсевзапстроя СССР

1

Монтаж труб мусоропровода

Строп 2-х ветвевой

2СК-2,0 2000

1

Подъём труб

Рейка-отвес

367.00.00.000

1

Выверка вертикальности

Лом монтажный

типа ЛМА (ЛМВ)

ГОСТ 1405-83

1

Рихтовка элементов

Ведро

ГОСТ 20558-82

1

Хранение раствора

Кельма

ГОСТ 9533-81

2

Разравнивание раствора

Ключ гаечный двухсторонний 12×14 мм

ГОСТ 10112-80*

1

Крепление стыка хомутом

Кувалда

ГОСТ 11402-75*

1

Рихтовка элементов

Заправщик жгутовых материалов

762.02.000

ЦНИИОМТП Госстроя СССР

2

Заправка жгутовых материалов

Зубило слесарное 20 × 60 мм

ГОСТ 7211-86Е

2

Центрирование труб

Потребность в материалах и полуфабрикатах для выполнения работ по установке труб мусоропровода приводится в табл. 5

Таблица 5

Наименование материала, полуфабриката, конструкции (марка, ГОСТ)

Исходные данные

Потребное количество

Единица измерения по нормам (чертежам)

Объём работ в нормативных единицах

Принятая норма расхода материалов на единицу измерения

Трубы асбестоцементные ВТ6 ГОСТ 539-80*

шт.

 

 

7

Муфты асбестоцементные САМ6 ГОСТ 539-80*

шт.

 

 

6

Резиновые кольца ГОСТ 5228-76*

шт.

 

 

6

Хомуты охватывающие ГОСТ 24194-80

шт.

 

 

9

Раствор цементный

1 стык

6

0,03 м3

0,18

Пакля

1 стык

6

0,146 кг

0,88

7. ТЕХНИКА БЕЗОПАСНОСТИ

Работы по установке мусоропровода со стволом из асбестоцементных труб в жилых многоэтажных зданиях выполнят с соблюдением СНиП III-4-80 «Техника безопасности в строительстве». Необходимо пользоваться инструкциями по эксплуатации применяемых машин. Все машины должны быть в исправном состоянии.

Грузовые крюки грузозахватных средств должны быть снабжены предохранительными замыкающими устройствами, предотвращающими самопроизвольное выпадение груза.

При выполнении погрузочно-разгрузочных работ не допускается строповка груза, находящегося в неустойчивом положении, а также смещение строповочных приспособлений на приподнятом грузе. Способы строповки должны исключать возможность падения или скольжения застропованного груза, а также обеспечивать его подачу к месту установки в положении, близком к проектному.

Установленные в проектное положение трубы мусоропровода должны быть закреплены так, чтобы обеспечивалась их устойчивость и геометрическая неизменяемость.

Монтаж труб каждого последующего яруса здания следует производить только после надёжного закрепления всех элементов предыдущего яруса согласно проекту.

В процессе монтажа труб мусоропровода монтажники должны находиться на ранее установленных и надёжно закреплённых конструкциях или средствах подмащивания.

Монтаж должен осуществляться одновременно с монтажом конструкций здания.

8. ТЕХНИКО-ЭКОНОМИЧЕСКИЕ ПОКАЗАТЕЛИ НА УСТРОЙСТВО 25 м МУСОРОПРОВОДА

Нормативные затраты труда рабочих, чел.-ч                                              9,06

Нормативные затраты машинного времени, маш.-ч                                  4,53

Заработная плата рабочих-монтажников, р.-к.                                          6-41

Заработная плата механизаторов, р.-к.                                                        4-12

Продолжительность выполнения работ, ч                                                  4,41

Выработка на одного рабочего, р.-к.                                                           1-35

СОДЕРЖАНИЕ

 

 




ГОСТЫ, СТРОИТЕЛЬНЫЕ и ТЕХНИЧЕСКИЕ НОРМАТИВЫ.
Некоммерческая онлайн система, содержащая все Российские Госты, национальные Стандарты и нормативы.
В Системе содержится более 150000 файлов нормативно-технической документации, действующей на территории РФ.
Система предназначена для широкого круга инженерно-технических специалистов.

Рейтинг@Mail.ru Яндекс цитирования

Copyright © www.gostrf.com, 2008 - 2026