Крупнейшая бесплатная информационно-справочная система онлайн доступа к полному собранию технических нормативно-правовых актов РФ. Огромная база технических нормативов (более 150 тысяч документов) и полное собрание национальных стандартов, аутентичное официальной базе Госстандарта. GOSTRF.com - это более 1 Терабайта бесплатной технической информации для всех пользователей интернета. Все электронные копии представленных здесь документов могут распространяться без каких-либо ограничений. Поощряется распространение информации с этого сайта на любых других ресурсах. Каждый человек имеет право на неограниченный доступ к этим документам! Каждый человек имеет право на знание требований, изложенных в данных нормативно-правовых актах!

  


 

Открытое акционерное общество

Проектно-конструкторский и технологический институт промышленного строительства

ОАО ПКТИпромстрой

 

 

 

 

УТВЕРЖДАЮ

Генеральный директор, к.т.н.

С.Ю.Едличка

ТЕХНОЛОГИЧЕСКАЯ КАРТА

НА УКЛАДКУ

ЧУГУННЫХ НАПОРНЫХ

ТРУБОПРОВОДОВ

НАРУЖНЫХ СЕТЕЙ

ВОДОПРОВОДА

ПРИ ПОМОЩИ

ТАЛЕЙ И ЛЕБЕДОК

124-05 ТК

Главный инженер

_________ А.В. Колобов

Начальник отдела

________ Б.И. Бычковский

 

 

2005

Содержание

В карте приведена технология укладки чугунных напорных трубопроводов наружных сетей водопровода при помощи талей и лебедок, представлены схемы механизации, освещены вопросы качества работ, безопасности и охраны труда, экологической и пожарной безопасности работ, приведены указания по организации рабочего места, дана потребность в материально-технических ресурсах, приведены технико-экономические показатели.

Карта может применяться самостоятельно, а также в составе проекта производства работ в качестве технологического документа при производстве работ на строительных объектах.

Настоящая карта разработана сотрудниками ОАО ПКТИпромстрой при участии ООО «Тектоплан»:

Новикова Е.И. - разработка карты, компьютерная обработка и графика;

Савина О.А. - компьютерная обработка и графика;

Черных В.В. - технологическое сопровождение разработки;

Бычковский Б.И. - разработка карты, техническое руководство, корректура и нормоконтроль;

Колобов А.В. - общее техническое руководство разработкой технологических карт;

к.т.н. Едличка С.Ю. - общее руководство разработкой технологической документацией;

К.Т.Н. Фельдман В.Д. - методическое руководство.

1 ОБЩИЕ ДАННЫЕ

1.1 Технологическая карта предназначена для использования линейным производственным и инженерно-техническим персоналом строительных организаций при укладке напорных трубопроводов наружных сетей водопровода из чугунных раструбных труб при помощи талей и лебедок.

1.2 Привязка технологической карты к местным условиям строительства заключается в уточнении объемов работ, средств механизации и потребности в материально-технических ресурсах, а также в уточнении схемы организации процесса соответственно фактическим условиям работ, калькуляции и календарного плана производства работ.

1.3 При привязке технологической карты к объекту строительства необходимо учитывать требования СНиП 3.05.04-85* «Наружные сети и сооружения водоснабжения и канализации», «Организационно-технологического регламента строительства (реконструкции) объектов в стесненных условиях существующей городской застройки», введенные в действие в 2002 г., и «Правил подготовки и производства земляных работ, обустройства и содержания строительных площадок в г. Москве», утвержденных постановлением Правительства Москвы № 857-ПП от 07.12.2004 г.

1.4 Производство работ по прокладке и переустройству инженерных сетей и коммуникаций разрешается выполнять при наличии ордера, оформленного уполномоченным органом Правительства Москвы.

1.5 Форма использования карты предусматривает обращение ее в сфере информационных технологий с включением в базу данных по технологии и организации строительных процессов автоматизированного рабочего места технолога строительного производства (АРМ ТСП), заказчика и подрядчика.

2 ОРГАНИЗАЦИЯ И ТЕХНОЛОГИЯ ВЬШОЛНЕНИЯ РАБОТ

2.1 До начала производства работ по укладке чугунных напорных трубопроводов наружных сетей водопровода необходимо:

- получить следующие документы:

а) проект производства работ или технологическую карту;

б) план расположения прокладываемого трубопровода с указанием существующих подземных коммуникаций, а также воздушных сетей, в том числе контактных сетей городского транспорта;

- установить инвентарные здания и сооружения согласно стройгенплану строительной площадки;

- ознакомить участников строительства с проектом производства работ и с правилами безопасности труда под расписку;

- разработать грунт в траншее;

- установить крепления откосов траншеи (при необходимости);

- обеспечить водоотлив из траншеи;

- проложить временные дороги;

- установить вдоль трассы временные реперы, связанные нивелирными ходами с постоянными реперами;

- закрепить оси раскладки чугунных труб на бровке траншеи с установкой вешек;

- установить по нивелиру две визирки на бровке траншеи с учетом заданного проектом уклона трубопровода и закрепить их на расстоянии 35-40 м одна от другой;

- вынести ось трубопровода с установкой в траншее вешек;

- выполнить временное электроосвещение;

- очистить концы труб от загрязнений;

- уложить вдоль трассы трехдневный запас труб;

- обеспечить рабочих инструментом и приспособлениями, монтажными механизмами, инвентарем и прочими материалами.

2.2 Технологической картой предусматривается следующая последовательность работ по укладке чугунных напорных трубопроводов наружных сетей водопровода:

- выравнивание и зачистка дна траншеи, рытье приямков в местах стыковки чугунных труб, устройство основания под трубы;

- строповка чугунных труб трубопровода;

- укладка труб трубопровода в траншею;

- проверка положения труб визированием и центрированием;

- закрепление труб путем подсыпки и уплотнения грунта;

- расстроповка труб;

- конопатка и уплотнение стыков между трубами;

- зачеканка стыков трубопровода асбестоцементом;

- испытание трубопровода;

- хлорирование и промывка трубопровода.

2.3 Для укладки наружных сетей водопровода используются чугунные напорные трубы двух типов, отличающиеся конструкцией раструбного стыкового соединения и применяемыми для его герметизации уплотнительными материалами:

- по ТУ 14-3-1247-83 диаметром 65-300 мм согласно рисунку 1 со стыковыми раструбными соединениями на резиновых уплотнительных манжетах, представленных на рисунке 2, без устройства замка;

- по ГОСТ 9583-75* диаметром 65-1000 мм со стыковыми соединениями, уплотняемыми пеньковой или пеньково-сизальской прядью с асбестоцементным «замком» или герметизируемыми полисульфидными (тиоколовыми) мастиками-герметиками, согласно рисунку 3.

1 - трапециевидный кольцевой паз; 2 - раструб; 3 - резиновая уплотнительная манжета; 4 - гладкий конец с фаской

Рисунок 1- Раструбное соединение чугунных напорных труб (ТУ 14-3-1247-83) без устройства замка

Чугунные трубы, выпускаемые по ТУ 14-3-1247-83 под резиновую уплотнительную манжету, предназначаются для строительства напорных трубопроводов с внутренним расчетным давлением Рр не более 0,4 от величины испытательного гидростатического давления Рисп труб, которым испытываются эти трубы на заводе-изготовителе. Трубы могут применяться также для строительства трубопроводов, работающих под вакуумом.

Чугунные трубы по ГОСТ 9583-75* (всех классов) с герметизацией раструбного соединения пеньковой или пеньково-сизальской прядью и устройством асбестоцементного замка предназначаются для строительства напорных трубопроводов с внутренним расчетным давлением Рр не более 1 МПа (10 кгс/см2 ).

а - манжета с «ласточкиным хвостом» Б-1 и Б-2 для труб по ТУ 14-3-1247-83; б - манжета укороченная 1-Б-1 и 1-Б-2 и универсальная облегченная БХ для труб по ТУ 14-3-1247-83

Рисунок 2 - Резиновая уплотнительная манжета (ТУ 38.105895-73).

1 - битумная мастика; 2 - асбестоцементный замок глубиной А; 3 - раструб; 4 - гладкий конец трубы; 5 - уплотнительная прядь.

Рисунок 3 - Раструбное стыковое соединение чугунных напорных труб (ГОСТ 9583-75*) с устройством замка

2.4 Торцы цилиндрической части труб должны быть перпендикулярны оси труб и иметь с наружной стороны фаску. Отклонение от перпендикулярности не должно превышать 0,5°.

2.5 Каждая поставляемая партия труб маркируется заводом-изготовителем, упаковывается и транспортируется в соответствии с техническими условиями на изготовление труб и требованиями ГОСТ 10692-80*.

На торцевой поверхности раструба каждой трубы должны быть указаны: товарный знак или сокращенное наименование предприятия-изготовителя, год изготовления и условный проход в мм.

2.6 Работы по укладке чугунного напорного трубопровода наружных сетей водопровода ведутся бригадой в составе:

монтажник наружных трубопроводов

5 разряда (M1)

-1 человек;

-«-

4 разряда (М2)

-1 человек;

-«-

3 разряда (М3, М4 и M5)

-3 человека;

-«-

2 разряда (М6)

-1 человек.

2.7 Погрузку труб и муфт на транспортные средства, а также разгрузку их производят при помощи механизмов (крана, талей, автопогрузчика, лебедок и др.) соответствующей грузоподъемности, оснащенных грузозахватными приспособлениями, удовлетворяющими требованиям Ростехнадзора России и исключающими повреждение труб. В качестве таких грузозахватных приспособлений можно использовать клещевые захваты.

На складе трубы и муфты следует хранить в штабелях, рассортированными по диаметрам, длине, классам (типам) прочности и уложенными рядами. Высоту деревянных подкладок или лежней необходимо принимать такой, чтобы был обеспечен доступ к трубам с торцов для внешнего осмотра и контрольного промера.

2.8 Монтаж трубопроводов должен производиться в соответствии с проектом производства работ и технологическими картами после проверки соответствия проекту размеров траншеи, крепления стенок, отметок дна, а при надземной прокладке - опорных конструкций. Результаты проверки должны быть отражены в журнале производства работ.

2.9 Перед укладкой трубопровода из чугунных труб необходимо подготовить основание и проверить соответствие уклона проекту. Рабочий-монтажник М4 ставит ходовую визирку на дно траншеи, следуя отвесу, удерживает ее в вертикальном положении. Монтажник М3, находясь у передней неподвижной визирки, наблюдает за тем, чтобы кромки постоянных и ходовых визирок находились в одной плоскости. По результатам визирования определяют на какую глубину необходимо снять грунт или подсыпать. После чего монтажники М5 и М6 лопатами снимают слой грунта или подсыпают песок с уплотнением, проверяя ровность с помощью рейки.

Рабочие M1 и М2 с помощью рулетки отмечают места для рытья приямков, представленных на рисунке 4, в которых будут соединяться чугунные трубы. Размеры приямков в зависимости от материала уплотнителя и диаметра трубопровода приведены в таблице 1.

Рисунок 4 - Схема организации приямков

Таблица 1 - Размеры приямков

Материал труб

Стыковое соединение

Уплотнитель

Условный проход трубопровода, мм

Размеры приямков, м

длина

ширина

глубина

Чугунные напорные

Раструбное

Пеньковая просмоленная прядь

До 300 включительно

0,5

Dн + 0,5

0,3

Более 300

1

Dн + 0,7

0,4

Резиновая манжета

До 300 включительно

0,5

Dн + 0,2

0,1

Герметик

До 300 включительно

0,5

Dн + 0,5

0,2

Более 300

1

Dн + 0,7

0,3

Примечание - Dн - наружный диаметр раструба.

2.10 При укладке труб необходимо соблюдать проектное положение трубопровода в плане и в профиле. Основание под трубы должно быть предварительно осушено и очищено. Не допускается производить укладку труб на промерзшее дно траншеи.

До опускания труб в траншею внутреннюю поверхность их следует очистить от загрязнений и посторонних предметов. Особенно тщательно очищают от загрязнений маслами внутреннюю поверхность раструбов и муфт, а также наружную поверхность гладких концов труб, входящих в раструб или муфту. Захват труб при опускании их в траншею следует осуществлять приспособлениями, обеспечивающими их сохранность в местах захвата.

Укладку и монтаж труб следует начинать, как правило, с участков пониженного профиля, наиболее удаленных от склада труб, расположенных ближе к действующим напорным трубопроводам или другим источникам водоснабжения, с тем, чтобы использовать заканчиваемые монтажом первые участки трубопровода для испытания последующих участков. Трубы раструбного типа при монтаже предпочтительно укладывать в траншею раструбом вперед по ходу укладки трубопровода.

Трубы вдоль траншеи следует располагать у ее бровки так, чтобы они не мешали механизмам, работающим на прокладке трубопровода, а осмотр их концов, надевание резиновых колец, захват и опускание труб в траншею были бы наиболее удобными. Трубы и механизмы должны быть размещены так, чтобы с каждой стоянки механизма возможно было опустить в траншею наибольшее количество труб. Раскладка труб по бровке траншеи производится против ее уклона раструбами вперед.

2.11 Укладка чугунных труб в траншею производится с помощью электротали типа ТЭ2-511 грузоподъемностью 2 т. Таль подвешивается к изготовленным по отдельным чертежам козлам, представляющим из себя металлическую раму на колесах, установленную на рельсы или уложенный по земле швеллер. В раме устраиваются специальные лежни и площадка для закатывания труб в траншею. Передвижение рамы с талью по рельсам осуществляется с помощью электрической монтажной лебедки грузоподъемностью 1,5 т и блочка. Трос от лебедки грузоподъемностью 1,5 т перекидывается через блочок, расположенный в противоположной стороне от электролебедки.

По лежням монтажники М3 и М4 доставляют трубу на площадку, устроенную на металлической площадке, далее производят строповку трубы. Строповка чугунных труб осуществляется с помощью клещевого захвата грузоподъемностью 2,0 т согласно рисунку 5 по центру тяжести трубы.

1 - клещевой захват; 2 - труба; 3 - гак подъемного механизма

Рисунок 5 - Строповка труб

С помощью электротали трубу по ГОСТ 9583-75 опускают в траншею. Монтажники M1 и М2, стоя на дне траншеи, принимают и направляют поданную трубу так, чтобы её ось в горизонтальной плоскости совпала с осью ранее уложенных труб. Трубу удерживают на весу на уровне ранее уложенной, на расстоянии 20-30 см от нее. Монтажник M1 задвигает находящуюся на весу трубу в раструб ранее уложенной. Монтажник М2 поднимает раструбный конец вверх, заводит нижнюю часть гладкого конца трубы в раструб и щупом, представленным на рисунке 6, проверяется внутренний зазор между трубами.

Рисунок 6 - Щуп для замера величины зазора между торцами стыкуемых труб

Зазоры между торцом трубы и внутренней упорной поверхностью раструба (независимо от материала заделки стыка) следует принимать для труб диаметром:

- до 300 мм - 5 мм;

- свыше 300 мм - 8-10 мм.

Монтаж труб по ТУ 14-3-12-4783, очередность которых показана на рисунке 7, производят в следующем порядке:

а) с помощью шаблона и мела на цилиндрической части укладываемой трубы на расстоянии lцк, равном (l-с), наносят линию ограничения (л.о.) ввода трубы в раструб;

б) в кольцевой паз раструба вкладывают резиновую уплотнительную манжету, при этом необходимо проверить правильность размещения гребня манжеты в кольцевом пазе. В случае загрязнения паза грунтом или отеками битумной изоляции его следует предварительно очистить;

в) наружную поверхность цилиндрической части монтируемой трубы до меловой отметки и внутреннюю поверхность манжеты смазывают графитоглицериновой смазкой следующего состава по объему: графит пластинчатый - 40-45 %, глицерин - 35-40 %; вода - 20-25 %. Расход смазки - 200 г на 1 м2 рабочей смазываемой поверхности;

г) монтируемая труба подается к ранее уложенной и центрируется, после чего с помощью монтажного приспособления (тали и лебедки) конец монтируемой трубы вводят в раструб уложенной до ограничительной отметки, нанесенной на цилиндрической части укладываемой трубы.

а - нанесение линии ограничения ввода цилиндрического конца трубы; б - установка манжеты в раструб; в - смазка наружной поверхности цилиндрического конца трубы и внутренней поверхности манжеты; г - смонтированный стык;

1 - линия ограничения ввода цилиндрического конца трубы; 2 - манжета; 3 - смазка;

lцк - длина цилиндрического конца трубы

Рисунок 7 - Порядок монтажа трубопроводов из чугунных труб со стыковым соединением на резиновой манжете

При опускании труб в траншею, а также при их укладке не должны допускаться удары труб друг о друга и о твердые предметы.

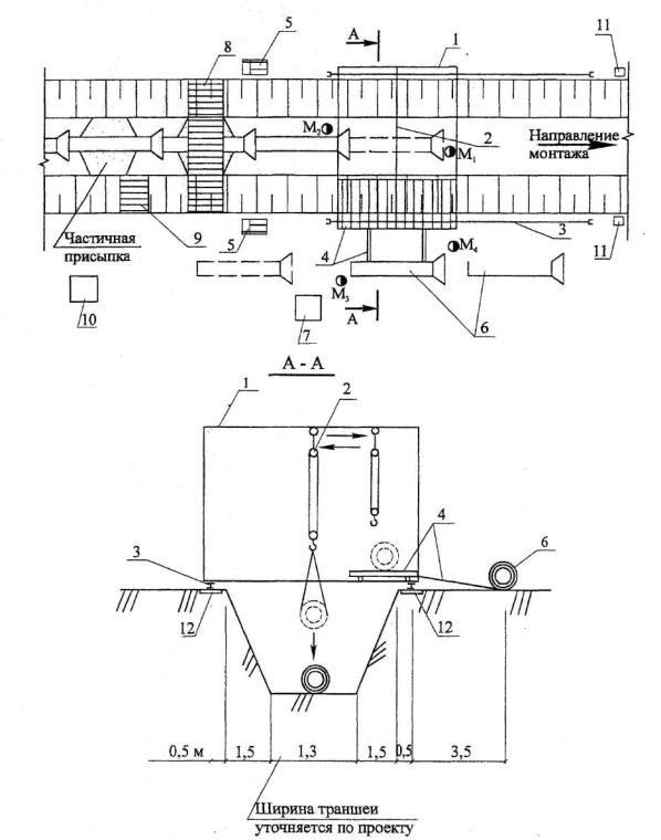
Примерная схема производства работ показана на рисунке 8.

Каждая труба при укладке на естественное основание во избежание неравномерной осадки должна по всей своей длине (кроме части, расположенной в приямках) опираться на ненарушенный грунт. При переборе грунта необходимо произвести его подсыпку и уплотнить до Купл. = 0,96. Применение каких-либо подкладок под трубы для их выравнивания не допускается.

2.12 Укладка первой трубы должна производится с особо тщательной проверкой проектного уклона, а укладка всех последующих труб проверяется с помощью визирок.

Монтажник M1 устанавливает на лоток укладываемой трубы ходовую визирку, а монтажник M2, находясь у передней неподвижной визирки, следит за тем, чтобы верх ходовой визирки находился на линии визирования. В зависимости от результатов визирования монтажники M5 и М6 подкапывают либо подсыпают грунт под трубу, а затем трамбуют его.

1 - металлическая рама; 2 - электроталь; 3 - рельсы; 4 - лежни с площадкой; 5 -электролебедка; 6 - чугунные трубы; 7 - ящик для цементного раствора; 8 - инвентарный переходный мостик; 9 - инвентарная лестница; 10 - передвижная электростанция; 11 - блочок; 12 – полушпалы

- рабочее место монтажников

Рисунок 8 - Схема производства работ

Центрирование последующих труб при укладке производится при помощи подвижного отвеса, подвешенного к натянутой по оси трубопровода причалке, и дощатого шаблона, вставляемого в торец трубы. Причалка натягивается по оси траншеи от колодца до колодца и крепится к инвентарной обноске. Центровка труб со стороны раструба показана на рисунке 9.

Рисунок 9 - Центровка труб со стороны раструба

2.13 Центровка гладкого конца трубы должна обеспечивать одинаковый зазор между наружной поверхностью гладкого конца укладываемой трубы и внутренней поверхностью раструба уложенной трубы, равный 10 мм. Центрирование укладываемой трубы производится путем временного закрепления ее клиньями. Монтажники кувалдами забивают деревянные клинья, размещаемые по окружности трубы на расстоянии примерно 25 см друг от друга, между раструбом ранее уложенной трубы и гладким концом укладываемой, добиваясь образования равномерного зазора. Примерная схема центровки чугунных труб при помощи клиньев (зубил), прокладываемых в кольцевое пространство, показана на рисунке 10.

а) положение трубы в раструбе до центрирования; б) подкладка зубил для центрирования; в) конечное положение трубы в раструбе при правильном центрировании, i - величина кольцевого зазора

Рисунок 10 - Центровка труб со стороны гладкого конца (в раструбе уложенной трубы)

Зазоры между торцом трубы и внутренней упорной поверхностью раструба проверяются проволочным щупом, как показано на рисунке 11, в следующей последовательности:

- вставляют щуп в щель между раструбом и гладким концом монтируемой трубы с частичным поворотом;

- поджимают щуп до упора к торцевой части укладываемой трубы и делают засечку;

- затем упирают щуп в ранее уложенную трубу и снова делают засечку;

- измеряют расстояние между засечками с прибавлением диаметра щупа.

1 - проволочный щуп; 2 - зазор между торцами стыкуемых труб (размер С)

Рисунок 11 - Схема замера величины зазора между торцами стыкуемых труб

2.14 Для проверки правильности расположения труб в плане монтажники M1 и М2 устанавливают на трубы по отвесу инвентарные вешки: одну - на конец укладываемой трубы, другую - на ранее уложенную. Монтажник M1, ориентируясь по неподвижной вешке, проверяет правильность укладки трубы в плане. При необходимости монтажники M5 и М6 ломами смещают раструбный конец трубы в нужную сторону. Схема проверки правильности укладки трубы в плане представлена на рисунке 12.

Рисунок 12 - Схема проверки правильности укладки трубы

2.15 При прокладке трубопроводов водоснабжения на прямолинейном участке трассы соединяемые концы смежных труб должны быть отцентрированы так, чтобы ширина раструбной щели была одинаковой по всей окружности.

После укладки и центровки трубы производится ее закрепление путем подсыпки и уплотнения грунта с обеих сторон на высоту не менее 0,5 диаметра трубы, при этом место строповки на трубе не засыпается. Затем монтажники расстроповывают трубу. Один монтажник осторожно освобождает строп из-под трубы, а другой придерживает трубу от возможного сдвига.

2.16 Прокладка напорных водопроводов по пологой кривой без применения фасонных частей допускается для раструбных труб со стыковыми соединениями на резиновых уплотнителях с углом поворота в каждом стыке не более 2 градусов для труб с условным диаметром до 600 мм и 1 градуса для труб с условным диаметром свыше 600 мм.

2.17 Монтаж чугунных труб, выпускаемых в соответствии с ГОСТ 9583-75*, следует осуществлять с уплотнением раструбных соединений пеньковой просмоленной или битуминизированной (или пеньково-сизальской) прядью и устройством асбестоцементного замка, или только герметиком, а труб, выпускаемых в соответствии с ТУ 14-3-1247-83, резиновыми уплотнительными манжетами, поставляемыми комплектно с трубами без устройства замка.

2.18 Водонепроницаемость стыкового соединения чугунных труб, изготовленных по ГОСТу 9583-75*, обеспечивается уплотнением раструбной щели пеньковой просмоленной или битуминизированной, а также пеньково-сизальской прядью согласно рисунку 13.

1 - уплотнение из пеньковой пряди; 2 - асбестоцементный замок (размер А);

А= 35-40 мм для труб диаметром 65-400 мм;

А= 50-60 мм для труб диаметром более 400 мм

Рисунок 13- Раструбные соединения с уплотнением из пеньковой пряди

Прядь до введения ее в раструбную щель должна быть плотно скручена в жгут; толщина жгута должна быть несколько больше ширины раструбной щели. Жгут можно изготовлять как в виде одного отрезка, рассчитанного на конопатку всей глубины раструбной щели, предназначенной для заполнения прядью, так и в виде отдельных коротких отрезков, равных длине окружности раструбной щели с припуском 5-10 см на перекрытие концов жгута. В последнем случае жгут должен закладываться так, чтобы стыкуемые концы его располагались в разбежку.

Пеньковая прядь для уплотнения стыковых соединений труб по ГОСТ 9583-75* должна быть просмоленной или битуминизированной. Непропитанную прядь применять запрещено. Промышленность выпускает прядь пеньковую прокладочную из пряжи длинного прядения бельную и пропитанную, отвечающую требованиям технических условий ТУ 17-05-044-77.

Битуминизирование пряди следует осуществлять централизованно путем пропитки ее в нефтяном битуме M-IV, разведенном в бензине II сорта (состав по весу: битума-5%, бензи-на-95%), при обеспечении надлежащего контроля за качеством.

Пеньковая прядь, применяемая для уплотнения раструбных стыков, должна быть сухой и не должна содержать костры и загрязнений маслом, землей и т. п.

В связи с дефицитностью пеньковой пряди для заделки стыков рекомендуется применять комбинированную пеньково-сизальскую прядь, изготовляемую по ТУ 17 РСФСР 40-9165-78. По сравнению с пеньковым волокном сизальское волокно характеризуется повышенной жесткостью и прочностью (σв=50-58 кгс/мм2) и поэтому хуже уплотняется.

Прядь, вводимую в раструбную щель, следует уплотнять (конопатить) послойно вручную сильными ударами молотка по конопатке или механизированным способом с помощью пневмоинструмента до отказа. Достаточность степени уплотнения каждого слоя пряди (из одного оборота жгута) в раструбной щели определяется по характерному упругому отскоку металлической конопатки при ударе по ней молотком.

Набор конопаток и чеканок для заделки стыков пеньковой прядью и асбестоцементом приводится на рисунке 14 и в таблице 2.

Таблица 2 - Размеры конопаток и чеканок, мм

Обозначения размеров

Номера конопаток и чеканок

1

2

3

4

5

6

7

8

9

10

11

12

13

l

120

105

100

80

65

60

45

45

45

45

45

45

45

s

9

8

7

9

7

8

8

9

10

11

12

14

16

к

5

4

3

7

5

7

7

8

9

10

11

13

14

Примечания

1 Для зачеканки раструбных стыков чугунных труб диаметром 400 мм и более рекомендуется применять чеканки кузнечного типа;

2 Конопатки и чеканки следует изготовлять из инструментальной стали. При механической обработке конопаток и чеканок особое внимание необходимо обращать на перпендикулярность торца рукоятки, по которому производят удары, к продольной оси инструмента и на перпендикулярность конца рабочей части инструмента к оси ударной части.

 3 После механической обработки инструмент должен быть термически обработан.

 4 При ручной заделке раструбных стыков должны применяться молотки-кувалдочки весом 1,5-2,5 кг. При применении чеканок кузнечного типа вес кувалдочки должен приниматься 4-5 кг.

5 В зависимости от диаметра трубопровода применяются следующие наборы конопаток и чеканок:

Условный проход труб, мм

Номера конопаток и чеканок

50-300

3, 5, 6, 7, 8, 13

350-700

2, 4, 5, 9, 10, 13

800-1200

1,4,10,11,12

Рисунок 14 - Конопатки и чеканки.

2.19 По окончании конопатки немедленно приступают к зачеканке стыка асбестоцементным раствором. Затворение сухой асбестоцементной смеси, приготовленной централизованно, состоящей из асбеста 30%, портландцемента 70%, водой производится на месте производства работ в количестве, необходимом для заделки стыка. Монтажник насыпает на противень часть асбестоцементной смеси, тщательно перемешивает ее и, увлажнив перед самым употреблением, подает к месту укладки. Увлажненная асбестоцементная смесь обладает вязкостью, благодаря которой из нее можно делать валики, сравнительно легко вводимые в кольцевой зазор.

Зачеканку кольцевой щели стыка производят слоями по 10 мм с зачеканкой каждого слоя. Монтажник закладывает увлажненную асбестоцементную смесь в раструб сначала руками, а затем, распределяя ее равномерно по окружности раструба, до отказа проталкивает в кольцевой зазор тупой конопаткой. Далее монтажник зачеканивает стык, ударяя кувалдой по чеканке. Зачеканенный стык прикрывают влажной мешковиной, рогожей или землей на 24 часа.

Раструбное соединение с уплотнителем из пеньковой пряди показано на рисунке 13.

2.20 Закончив подготовку основания и рытье приямка для следующей трубы, землекопы вслед за укладкой частично засыпают трубопровод одновременно с двух сторон. Приямки и стыки оставляют не засыпанными.

При засыпке трубопроводов следует принимать меры по предотвращению повреждений труб.

2.21 Строительство подземных переходов напорных трубопроводов через автодороги, трамвайные пути и городские проезды должны осуществляться специализированными организациями в соответствие с требованиями СНиП 3.02.01-87, раздела 8 СНиП III-42-80*, раздела 4 СНиП 3.05.04-85*. Способы прокладки трубопроводных подземных переходов определяются проектом.

2.22 По окончании работ по монтажу труб и заделке стыков проводят испытание трубопровода. При отсутствии в проекте указания о способе испытания напорные трубопроводы подлежат испытанию на прочность и герметичность, как правило, гидравлическим способом. В зависимости от климатических условий в районе строительства и при отсутствии воды может быть применен пневматический способ испытания для трубопроводов с внутренним расчетным давлением согласно СНиП 3.05.04-85* для подземных чугунных не более Рр ≈ 0,5 МПа (5 кгс/см2).

Трубопроводы из чугунных труб, независимо от способа испытания, следует испытывать при длине менее 1 км за один прием; при большей длине - участками не более 1 км. Длину испытательных участков чугунных трубопроводов при гидравлическом способе испытания разрешается применять свыше 1 км при условии, что величина допустимого расхода подкаченной воды должна определяться как для участка длиной 1 км.

2.23 Испытание чугунных напорных трубопроводов всех классов должно осуществляться строительно-монтажной организацией, как правило, в два этапа:

первый - предварительное испытание на прочность и герметичность, выполняемое после засыпки пазух с подбивкой грунта на половину вертикального диаметра и присыпкой труб в соответствии с требованиями СНиП 3.02.01-87, но до установки арматуры (гидрантов, предохранительных клапанов, вантузов), с оставленными открытыми для осмотра стыковыми соединениями; это испытание допускается выполнять без участия представителей заказчика и эксплутационной организации с составлением акта, утверждаемого главным инженером строительной организации. Предварительная проверка трубопровода испытательным давлением продолжается не менее 10 мин.;

второй - приемочное (окончательное) испытание на прочность и герметичность следует выполнять после полной засыпки траншеи и завершения всех работ на данном участке трубопровода при участии представителей заказчика и эксплуатационной организации с составлением акта о результатах испытания. Окончательное гидравлическое испытание может быть начато не ранее 24 часов после заполнения трубопровода водой. После окончания гидравлического испытания трубопровод заполняют водой, промывают до появления воды без мутных примесей. Затем воду спускают и производят хлорирование. Хлорная вода должна находиться в трубопроводе не менее суток. После хлорирования осуществляется вторичная промывка водой.

Оба этапа испытания должны выполняться до установки гидрантов, вантузов, предохранительных клапанов, вместо которых на время испытания следует устанавливать фланцевые заглушки. Предварительное испытание трубопроводов, доступных осмотру в рабочем состоянии или подлежащих в процессе строительства немедленной засыпке (производство работ в зимнее время, в стесненных условиях), при соответствующем обосновании в проектах допускается не производить.

До предварительного испытания трубопровод следует присыпать местным грунтом на половину его диаметра, тщательно уплотнить и подбить пазухи, оставляя стыки открытыми (не присыпанными), а затем после проведения предварительного испытания следует присыпать трубы этим же грунтом на 0,2 м выше их верха (первый этап засыпки) с уплотнением. Чтобы исключить смещение трубопровода при испытании, допускается дополнительная присыпка - на конус средней части каждой трубы.

2.24 Трубопроводы, прокладываемые на переходах через железные и автомобильные дороги I и II категорий, подлежат предварительному испытанию после укладки рабочего трубопровода в футляре (кожухе) до заполнения межтрубного пространства полости футляра и до засыпки рабочего и приемного котлованов перехода.

2.25 Предварительное и приемочное гидравлическое испытание чугунного напорного трубопровода на прочность и герметичность следует проводить в следующем порядке.

При проведении испытания на прочность:

- повысить давление в трубопроводе до испытательного Ри и путем подкачки воды поддерживать его в течение не менее 10 минут, не допуская снижения давления более чем на 0,1 МПа (1 кгс/см2);

- снизить испытательное давление до внутреннего расчетного давления Рр и, поддерживая его путем подкачивания воды, произвести осмотр трубопровода с целью выявления дефектов на нем в течение времени, необходимого для выполнения этого осмотра;

- в случае выявления дефектов устранить их и произвести повторное испытание трубопровода.

После окончания испытания трубопровода на прочность приступить к испытанию его на герметичность, для этого необходимо:

- давление в трубопроводе повысить до величины испытательного давления на герметичность Рг;

- зафиксировать время начала испытания Тн и замерить начальный уровень воды в мерном бачке hн;

- произвести наблюдение за падением давления в трубопроводе, при этом могут иметь место три варианта падения давления:

первый - если в течение 10 минут давление упадет не менее чем на два деления шкалы манометра, но не упадет ниже внутреннего расчетного давления Рр то на этом наблюдение за падением давления закончить;

второй - если в течение 10 минут давление упадет менее чем на два деления шкалы манометра, то наблюдение за снижением давления до внутреннего расчетного давления Рр следует продолжить до тех пор, пока давление упадет не менее чем на два деления шкалы манометра; при этом продолжительность наблюдения для чугунных трубопроводов не должна быть более 1 часа. Если по истечении этого времени давление не снизится до внутреннего расчетного давления Рр, то следует произвести сброс воды из трубопровода в мерный бачок или замерить объем сброшенной воды другим способом;

третий - если в течение 10 минут давление упадет ниже внутреннего расчетного давления Рр, то дальнейшее испытание трубопровода прекратить и принять меры для обнаружения и устранения скрытых дефектов трубопровода путем выдерживания его под внутренним расчетным давлением Рр до тех пор, пока при тщательном осмотре не будут выявлены дефекты, вызвавшие недопустимое падение давления в трубопроводе.

После окончания наблюдения за падением давления в трубопроводе по первому варианту и завершения сброса воды по второму варианту необходимо выполнить следующее:

- подкачкой воды из мерного бочка давление в трубопроводе повысить до величины испытательного давления на герметичность Рг, зафиксировать время окончания испытания на герметичность Тк и замерить конечный уровень воды в мерном бочке hк;

- определить продолжительность испытания трубопровода (Ткн), мин., объем подкаченной в трубопровод воды из мерного бачка Q (для первого варианта), разность между объемами подкаченной в трубопровод и сброшенной из него воды или объем дополнительно подкаченной в трубопроводе воды Q (для второго варианта) и рассчитать величину, фактического расхода дополнительного объема вкаченной воды qn, л/мин, по формуле: qn = Q/(Tk- Tн).

Величины внутреннего расчетного давления Рр и испытательного давления Ри для проведения предварительного и приемочного испытаний чугунного напорного трубопровода на прочность должны быть определены проектом в соответствии с требованиями СНиП 2.04.02-84 и указаны в рабочей документации.

Величина испытательного давления на герметичность Рг для проведения как предварительного, так и приемочного испытаний напорного трубопровода должна быть равной величине внутреннего расчетного давления Рр плюс величина ΔР, принимая в соответствии с таблицей 4 СНиП 3.05.04-85* в зависимости от верхнего предела измерения давления, класса точности и цены деления шкалы манометра. При этом величина Рг не должна превышать величины приемочного испытательного давления, класса точности и цены деления класса точности и цены деления, трубопровода на прочность Ри.

Для проведения испытания трубопроводы рекомендуется подключать к действующим напорным сетям с возможно большим напором, чтобы по возможности избежать применения специального насоса или пресса.

2.26 При отсутствии в проекте указаний о величине гидравлического испытательного давления Ри для выполнения предварительного испытания напорных трубопроводов на прочность величина принимается в соответствии с таблицей 3.

Таблица 3 - Величина испытательного давления при предварительном испытании (таблица 5* СНиП 3.05.04-85*)

Характеристика трубопровода

Величина испытательного давления при предварительном испытании, МПа (кгс/см2)

Чугунный со стыковыми соединениями под зачеканку (по ГОСТ 9583-75* для труб всех классов) с внутренним расчетным давлением до 1 МПа (10 кгс/см2)

Внутреннее расчетное давление плюс 0,5 (5), но не менее 1 (10) и не более 1,5 (15)

То же, со стыковыми соединениями на резиновых манжетах для труб всех классов

Внутреннее расчетное давление с коэффициентом 1,5, но не менее 1,5 (15) и не более 0,6 заводского испытательного гидравлического давления

3 ТРЕБОВАНИЯ К КАЧЕСТВУ И ПРИЕМКЕ РАБОТ

3.1 При производстве работ по устройству трубопроводов из чугунных труб должны соблюдаться требования СНиП 12-01-2004 «Организация строительства», СНиП 3.01.03-84 «Геодезические работы в строительстве» и СНиП 3.05.04-85* «Наружные сети и сооружения водоснабжения и канализации».

3.2 Монтаж трубопроводов должен производиться в соответствии с проектом производства работ и технологическими картами после проверки соответствия проекту размеров траншеи, крепления стенок и отметок дна. Результаты проверки должны быть отражены в журнале производства работ.

3.3 Производственный контроль качества работ по укладке напорных трубопроводов из чугунных труб включает входной контроль рабочей документации и используемых изделий, материалов и оборудования, операционный контроль отдельных технологических процессов и производственных операций и оценку соответствия выполненных работ по монтажу наружных сетей водопровода из чугунных напорных трубопроводов с оформлением акта скрытых работ и акта приемки.

3.4 При входном контроле рабочей документации должна производиться проверка ее комплектности и достаточности содержащейся в ней технической информации для производства работ. При входном контроле проверяются соответствие проекту размеров траншеи, крепления стенок, отметок дна, а при надземной прокладке - опорных конструкций. Результаты проверок должны быть занесены в журнал производства работ.

Трубы перед монтажом должны быть осмотрены и очищены изнутри и снаружи от грязи, снега, льда, масел и посторонних предметов.

Прокладываемые трубы должны соответствовать проекту и иметь сертификат соответствия.

Предельные отклонения от размеров труб, проверяемые при входном контроле, не должны превышать по длине мерной трубы L±20 мм по наружному диаметру цилиндрической части трубы Dн:

для труб с Dy до 300 мм включительно

± (4,5+0,0015 Dy) мм

для труб с Dy св. 300 мм

+ (4+0,0015 Dy) мм

 

- (5+0,0015 Dy) мм

по внутреннему диаметру раструба Dp

+ (2,5+ 0,002 Dy) мм

 

- (1,5+0,002 Dy) мм

по глубине раструба (l1 + l2):

 

для труб с Dy до 600 мм включительно

±5

для труб с Dy св. 600 мм

±10

Для труб с Dy 900 и 1000 мм допускается увеличение предельных отклонений по наружному диаметру цилиндрической части труб на стыкуемых участках до плюс (4+0,003 Dy) и минус (5+0,003 Dy) мм.

Участки труб с вмятинами свыше 3,5% диаметра трубы или имеющие надрывы должны быть удалены. Концы труб с забоинами или задирами фасок глубиной свыше 5 мм подлежат обрезке.

3.5 Качество монтажа раструбных чугунных труб определяется соблюдением допускаемых отклонений от проектного положения, которые приводятся в строительных нормах и правилах.

3.6 При прокладке трубопроводов на прямолинейном участке трассы соединяемые концы смежных труб должны быть отцентрированы так, чтобы ширина раструбной щели была одинаковой по всей окружности.

При прокладке подземных трубопроводов в футлярах отклонения оси защитных футляров переходов от проектного положения для напорных трубопроводов не должны превышать:

- по вертикали - 1 % от длины футляра при условии обеспечения проектного уклона;

- по горизонтали - 1,5% длины футляра.

3.7 Размеры элементов заделки стыкового соединения чугунных напорных труб должны соответствовать величинам, приведенным в таблице 4.

Таблица 4 - Глубина заделки чугунных напорных труб

Условный диаметр труб, Ду, мм

Глубина заделки, мм

при применении пеньковой пряди

при устройстве замка

при применении только герметика

65-200

35

30

50

250-400

45

30-35

60-65

600-1000

50-60

40-50

70-80

3.8 Для заделки (уплотнения) стыковых соединений трубопроводов следует применять уплотнительные или «замковые» материалы, а также герметики по проекту.

3.9 Зазор между трубопроводом и сборной частью бетонных или кирпичных упоров должен быть плотно заполнен бетонной смесью или цементным раствором.

Максимальные отклонения от проектного положения осей напорных трубопроводов не должны превышать ±100 мм в плане, а отметок верха напорных трубопроводов - ±30 мм, если другие нормы не обоснованы проектом.

3.10 При устройстве трубопровода из чугунных труб подлежат приемке с составлением актов освидетельствования скрытых работ по форме, приведенной в СНиП 12-01-2004, следующие этапы и элементы скрытых работ: подготовка основания под трубопроводы, устройство упоров, величина зазоров и выполнение уплотнений стыковых соединений, устройство колодцев и камер, противокоррозионная защита трубопроводов, герметизация мест прохода.

4 ТРЕБОВАНИЯ БЕЗОПАСНОСТИ И ОХРАНЫ ТРЭДА, ПОЖАРНОЙ И ЭКОЛОГИЧЕСКОЙ БЕЗОПАСНОСТИ

4.1 При производстве работ по укладке наружных сетей водопровода из чугунных напорных труб, связанных с размещением рабочих в траншее, могут возникнуть следующие опасные и вредные производственные факторы, связанные с характером работы:

- обрушающиеся горные породы (грунт);

- падающие предметы;

- движущиеся машины и их рабочие органы, а также передвигаемые ими предметы;

- расположение рабочего места вблизи перепада по высоте 1,3 м и более;

- повышенное напряжение в электрической цепи, замыкание которой может произойти через тело человека;

- химически опасные и вредные производственные факторы.

4.2 Для предупреждения воздействия на работников опасных и вредных производственных факторов безопасность работ при укладке трубопроводов и размещении рабочих мест в траншее должна быть обеспечена соблюдением следующих мероприятий по охране труда.:

- соблюдение безопасной крутизны незакрепленных откосов траншей с учетом нагрузки от машин и грунта;

- выбор типов машин и средств малой механизации, применяемых при укладке труб, и мест их установки;

- дополнительные мероприятия по контролю и обеспечению устойчивости откосов в связи с сезонными изменениями;

- определение мест установки и типов ограждений котлованов и траншей, а также лестниц для спуска работников к месту работ.

4.3 К выполнению работ по монтажу наружных сетей водопровода из чугунных напорных труб допускаются лица не моложе 18 лет, имеющие профессиональные навыки прошедшие медицинское освидетельствование и признанные годными, получившими знания по безопасным методам и приемам труда согласно ГОСТ 12.0.004-90 «ССБТ. Организация обучения безопасности труда. Общие положения», сдавшие экзамены квалификационной комиссии в установленном порядке и получившие соответствующие удостоверения.

4.4 Перед допуском к работам по монтажу наружных сетей необходимо провести первичный инструктаж на рабочем месте по безопасным методам труда с записью результатов инструктажа в «Журнал регистрации инструктажа на рабочем месте». Вновь принимаемые на работу должны пройти вводный инструктаж с записью в «Журнале регистрации вводного инструктажа по охране труда».

4.5 Производственные территории, участки работ должны быть обеспечены необходимыми средствами коллективной и индивидуальной защиты работающих, первичными средствами пожаротушения, а также средствами связи, сигнализации и другими техническими средствами обеспечения безопасных условий труда в соответствии с требованиями действующих нормативных документов и условиями соглашений.

4.6 Для движения пешеходов через траншеи устанавливаются переходные мостики шириной 1 м с перилами высотой 1,1 м, со сплошной обшивкой внизу на высоту 0,15 м и промежуточной планкой на высоте 0,5 м от настила.

4.7 Для прохода рабочих в траншеи и их подъема необходимо использовать трапы или маршевые лестницы шириной не менее 0,6 м, оборудованные перилами и установленными за границей опасной зоны.

4.8 При прокладке водопровода с выходом на проезжую часть улицы необходимо обеспечить сохранность сооружений контактной сети.

4.9 Материалы следует размещать в соответствии с требованиями СНиП 12-03-2001 «Безопасность труда в строительстве. Часть 1. Общие требования» и межотраслевых правил по охране труда на выровненных площадках, принимая меры против самопроизвольного смещения, просадки, осыпания и раскатывания складируемых материалов.

4.10 Перед допуском рабочих в траншеи глубиной более 1,3 м должна быть проверена устойчивость откосов или крепления стен. При появлении оползневых явлений или трещин принять меры против обрушения грунта.

Монтаж чугунных напорных трубопроводов наружных сетей водопровода разрешается производить только под руководством бригадира или мастера.

4.11 Рабочие и ИТР, занятые на работах по эксплуатации временных электроустановок, должны быть обучены безопасным приемам работ и знать приемы освобождения от тока пострадавших лиц и оказания им первой медицинской помощи.

4.12 Для подхода к талям и лебедкам должны быть устроены надежные подмости и переносные мостики.

4.13 Все пусковые устройства размещаются так, чтобы исключить возможность пуска механизмов посторонними лицами.

4.14 При укладке трубопроводов необходимо пользоваться только исправным оборудованием и приспособлениями.

4.15 Все токоведущие части машин и механизмов с электропитанием должны быть заземлены.

4.16 К управлению строительными машинами запрещается допускать рабочих, не имеющих удостоверений на право управления машиной.

4.17 При испытании чугунных напорных трубопроводов необходимо соблюдать требования СНиП 3.05.04-85*.

4.18 Установка, освидетельствование, прием в эксплуатацию грузоподъемных и такелажных устройств осуществляется согласно требований ПБ 10-382-00 «Правила устройства и безопасной эксплуатации грузоподъемных кранов» Госгортехнадзора России. Все грузоподъемные и такелажные средства перед началом эксплуатации, а также периодически в процессе работы должны проверяться и испытываться согласно требованиям Госгортехнадзора России.

4.19 Рабочие зоны и участки производства работ в населенных пунктах или на территории действующих организаций, которые выходят на улицу, проезды, во дворы населенных пунктов, а также в других местах возможного движения людей и транспорта во избежание доступа посторонних лиц, должны быть ограждены защитными ограждениями согласно ГОСТ 23407-78 с установкой на них хорошо видимых как днем, так и в темное время суток предупредительных надписей и знаков, а в ночное время - и сигнальное освещение.

4.20 Строительно-монтажные работы по укладке чугунных напорных водопроводов наружных сетей с применением машин в охранной зоне действующей линии электропередачи следует производить под непосредственным руководством лица, ответственного за безопасность производства работ, при наличии письменного разрешения организации - владельца линии и наряда-допуска, определяющего безопасные условия работ и выдаваемого в соответствии с требованиями п. 4.11 СНиП 12-03-2001 при выполнении следующих мер безопасности.

4.20.1 При установке строительных машин и применении транспортных средств с поднимаемым кузовом в охранной зоне воздушной линии электропередачи необходимо снять напряжение с воздушной линии электропередачи.

4.20.2 При обоснованной невозможности снятия напряжения с воздушной линии электропередачи работу строительных машин в охранной зоне линии электропередачи разрешается производить при условии выполнения следующих требований:

а) расстояние от подъемной или выдвижной части строительной машины в любом ее положении до находящейся под напряжением воздушной линии электропередачи должно быть не менее указанного в таблице 2 СНиП 12-03-2001;

б) корпуса машин, за исключением машин на гусеничном ходу, при их установке непосредственно на грунте должны быть заземлены при помощи инвентарного переносного заземления.

4.21 Временное электроосвещение строительной площади, участков работ, рабочих мест, проездов и проходов к ним в темное время суток должно отвечать требованиям ГОСТ 12.1.046-85. Освещенность рабочих мест должна быть не менее 30 лк, стройплощадки - не менее 10 лк. Ограждения должны быть освещены сигнальными электролампами напряжением не выше 42 В. Освещенность должна быть равномерной, без слепящего действия осветительных приспособлений на работающих. Строительное производство в неосвещенных местах не допускается. Проект временного электроосвещения выполняет специализированная организация по заказу подрядчика.

4.22 При работе в колодцах, камерах должны быть приняты меры, обеспечивающие полную безопасность людей.

4.23 К работе с электрифицированным инструментом допускаются только рабочие, прошедшие специальное обучение согласно ГОСТ 12.0.004-90 «ССБТ. Организация обучения безопасности труда. Общие положения» и первичный инструктаж на рабочем месте по безопасности и охране труда, имеющие третью группу по электробезопасности.

4.24 При работе следует соблюдать требования ППБ 01-03 «Правила пожарной безопасности в Российской Федерации» и ГОСТ 12.1.004-91* «ССБТ. Пожарная безопасность. Общие требования».

4.25 Вскрытие инженерных сетей разрешается при наличии ордера и наряд допуска в присутствии представителей эксплуатирующих организаций только после уточнения их расположения на трассе шурфованием. Работы следует производить вручную без применения лома или кирки.

4.26 При производстве работ по укладке напорных трубопроводов наружных сетей водопровода из чугунных раструбных труб в г. Москве следует дополнительно осуществлять мероприятия и работы по охране окружающей природной среды согласно «Правил подготовки и производства земляных работ, обустройства и содержания строительных площадок в г. Москве».

4.27 При производстве работ по укладке трубопровода из чугунных напорных труб следует руководствоваться требованиями СНиП 12-03-2001 и СНиП 12-04-2002.

5 ПОТРЕБНОСТЬ В МАТЕРИАЛЬНО-ТЕХНИЧЕСКИХ РЕСУРСАХ

5.1 Потребность в машинах, оборудовании, механизмах и инструментах определяется с зачетом выполняемых работ, назначения и технических характеристик в соответствии с таблицей 5.

Таблица 5 - Ведомость потребности машин, механизмов, приспособлений

п/п

Наименование

Тип, марка, ГОСТ

Техническая характеристика

Назначение

Количество

1 Машины, оборудование и инвентарь

1

Электроталь

ТЭ 2-511

Грузоподъемность, т     2

Монтаж трубопровода

1

2

Агрегат для опрессовки трубопровода

ЦА-320

Давление, кгс/см2     40-300

-

1

3

Электротрамбовка

ИЭ-4502

Глубина уплотнения, м     0,4 Производительность, м3/ч   45
Р = 81,0 кг

Уплотнение грунта

2

4

Передвижная электростанция

ПЭС-12

Напряжение, В     230

-

1

5

Лопата копальная

ЛКО-1 ГОСТ 19596-87*

-

Рытье приямков

3

6

Лопата подборочная

ЛП-2 ГОСТ 19596-87*

-

Доочистка дна, подбивка грунта

2

7

Кувалда

ГОСТ 11401-75*

Масса, кг     8

Центрирование труб, уплотнение, зачеканка стыков

2

8

Рулетка

РС-20 ГОСТ 7502-98

Длина, м     20

Измерительные работы

1

9

Уровень металлический

ГОСТ 9416-83

Длина, мм     700

 

2

10

Нивелир

ГОСТ 10528-90*

 

 

1

11

Молоток

А-5 ГОСТ 2310-77*

Масса, кг     2

Очистка, центрирование труб

2

12

Визирка ходовая и постоянная

Инвентарные

Длина, м     4

Визирование

2

13

Отвес металлический

ОТ-400 ГОСТ 7948-80

Масса, кг     2

Вертикальные измерения

2

14

Зубила слесарные

ГОСТ 7211-86*

Длина, мм     150

Центрирование труб

5

15

Набор конопаток и чеканок

-

-

Герметизация стыков

1

16

Ящик для раствора

-

Емкость, м3     0,5

Подача раствора

2

17

Противень стальной

-

-

Приготовление асбестоцементной смеси

2

18

Кельма штукатурная

КШ ГОСТ 9533-81

-

Зачеканка стыков

4

19

Ведра

Любые

-

Переноска, хранение жидкости

3

20

Захват клещевой

-

Грузоподъемность, т     2

Монтаж труб

2

21

Строп двухветвевой

2СК-4,0/2500 ГОСТ 25573-82*

Грузоподъемность, т     4
Длина, м     2,5

Строповка труб

1

22

Шаблон для центрирования труб

-

Длина, мм     600-800

Центрирование труб

1

23

Лестница с перилами

-

Длина, м     4,0
Ширина, м     0,6

Спуск людей в траншею

2

24

Заглушки стальные

-

-

Гидравлическое испытание

6

25

Рельсы

Р-24

Длина, м     12,5

Передвижение рамы с талью

4

26

Полушпалы

 

Длина, мм 700

84

27

Комплект металлической сборно-разборной рамы

-

-

Для подвески тали

1

28

Лом стальной

 

Длина, мм     1320

Расстроповка труб

2

29

Лебедка монтажная электрическая с блочком

 

Грузоподъемность, т     2

Для перемещения рамы с талью

2

30

Щуп

 

 

Для измерения величины зазора

1

31

Молоток рубильно-чеканочный электрический

 

 

Для чеканки стыков

3

32

Метр складной

ГОСТ 427-75*

 

Для измерительных работ

2

33

Причалка проволочная

 

 

 

1

34

Топор

А-2

 

 

2

35

Ключи разводные

ГОСТ 7275-75*

 

 

2

 

торцовые

ГОСТ 24372-80

 

 

2

 

трубные

№2, №4 ГОСТ 18981-73*

 

 

4

36

Полутерок деревянный

ИР-223А ТУ 22-3947-77

Длина, мм     350

 

3

37

Шаблон для проверки постели труб

 

Длина, м     5

 

1

38

Мостик инвентарный

 

Длина по месту

Для перехода через траншею

2

5.2 Потребность в основных материалах, изделиях и полуфабрикатах на укладку 100 м чугунных напорных трубопроводов приведена в таблице 6.

Таблица 6 - Ведомость потребности в материалах, изделиях и конструкциях

№ п/п

Наименование

Ед. изм.

Количество

Примечание

1

Трубы чугунные раструбные напорные Dу = 300 mm, L = 4 м ТУ 14-3-1247-83

шт.

25

 

2

Трубы чугунные раструбные напорные Dу = 500 mm, L = 5 м ГОСТ 9583-75*

шт.

20

 

3

Асбест для труб

кг

80

 

4

Резиновые уплотнительные манжеты Б-1 или Б-2, Dу = 300 мм

шт.

25

 

5

Прядь смоляная или битуминизированная, Dу = 500 мм

кг

23,2

 

6 ТЕХНИКО-ЭКОНОМИЧЕСКИЕ ПОКАЗАТЕЛИ

6.1 Калькуляция затрат труда и машинного времени и календарный график производства работ составлены на укладку напорного трубопровода протяженностью 100 м для двух вариантов:

- 1-й вариант: из чугунных труб по ТУ 14-3-1247-83 Dу = 300 мм, при длине 4 м;

- 2-й вариант: из чугунных труб по ГОСТ 9583-75* Dу = 500 мм, при длине 5 м.

Работы ведутся в летний период года в траншее без креплений глубиной 3 м, разработанной в сухих грунтах II группы.

6.2 Для выполнения работ по укладке чугунных напорных трубопроводов наружных сетей водопровода принять согласно таблице 7 следующий численно-квалификационный состав бригады по профессиям с распределением работы между звеньями:

Таблица 7 - Численно-квалификационный состав звеньев

№ звена

Состав звена по профессиям

Количество, чел.

Перечень работ

1

Монтажники наружных трубопроводов:

 

Зачистка дна траншеи, рытье приямков, монтаж трубопроводов, подбивка грунтом, заделка стыков, установка задвижек, устройство колодцев.

5 разряда

1

4 разряда

1

3 разряда

3

2 разряда

1

Итого:

6

2

Монтажники наружных трубопроводов:

 

Гидравлическое испытание трубопровода, хлорирование и промывка

5 разряда

1

4 разряда

1

2 разряда

2

Итого:

4

6.3 Затраты труда и машинного времени на устройство трубопровода подсчитаны по «Единым нормам и расценкам на строительные, монтажные и ремонтно-строительные работы», введенным в действие в 1987 г., и представлены в таблице 8.

6.4 Продолжительность работ на устройство трубопровода определяется календарным планом работ, представленным в таблице 9.

Таблица 8 - Калькуляция затрат труда и машинного времени

Измеритель конечной продукции - 100 м трубопровода

Обоснование (ЕНиР)

Наименование технологических процессов

Ед. изм.

Объем работ

Нормы времени

Затраты труда

рабочих, чел.-ч.

машиниста, чел-ч, (работа машин, маш.-ч.)

рабочих, чел.-ч.

машиниста, чел.-ч., (работа машин, маш.-ч.)

1-й вариант

Е2-1-60 №7б+9б

Выравнивание и зачистка дна траншеи

100 м2

1,00

6,0+8,4

-

14,4

-

Е9-2-3 №5б К=1,25 Вводная часть п. 15

Укладка чугунных труб (ТУ 14-3-1247-83) D=300 мм с уплотнительной манжетой при помощи тали и лебедки в траншее без распор глубиной до 3 м

м

100

0,38

-

47,5

-

Е2-1-47Б Табл. 2 №1е

Рытье приямков в грунте II группы

м3

2,5

1,3

-

3,25

-

Е2-1-58 Табл. 2 №2б

Подбивка труб грунтом с уплотнением по длине 2 м

м3

1,13

0,86

-

0,97

-

Е9-2-9 №3б

Гидравлическое испытание чугунного трубопровода участками до 500 м

м

100

0,14

-

14,0

-

Е9-29 №3д

Промывка и хлорирование трубопровода

м

100

0,07

-

7,0

-

 

ИТОГО:

 

 

 

 

87,12

 

2-й вариант

Е2-1-60 №7б+9б

Выравнивание и зачистка дна траншеи

100 м2

1,2

6,0+8,4

-

17,3

-

Е9-2-3 №8б К=1,25 вводная часть п. 15

Укладка чугунных труб (ГОСТ 9583-75*) D=500 мм с уплотнительной прядью при помощи тали и лебедки

м

100

0,67

-

83,75

-

Е2-1-47Б Табл. 2 №1е

Рытье приямков в грунте II группы

м3

2,4

1,3

-

3,12

-

Е2-1-58 Табл. 2 №3б

Подбивка труб грунтом с уплотнением по длине 2 м

м3

1,25

0,81

-

1,01

-

Е9-2-9 №5б

Гидравлическое испытание чугунного трубопровода участками до 500 м

м

100

0,22

-

22,0

-

Е9-2-9 №5д

Промывка и хлорирование трубопровода

м

100

0,11

-

11,0

-

 

ИТОГО:

 

 

 

 

138,18

 

6.5 Технико-экономические показатели.

6.5.1 Укладка чугунных труб (ТУ 14-3-1247-83) Dу = 300 мм:

- протяженность трубопровода, м

100,0

- затраты труда на один ввод, чел.- ч.

87,12

- продолжительность работ, ч.

20,75

6.5.2 Укладка чугунных труб (ГОСТ 9583-75*) Dу = 500 мм:

- протяженность трубопровода, м

100,0

- затраты труда на один ввод, чел.- ч.

138,18

- продолжительность работ, ч.

33,49

6.5.3 Нормами предусмотрена укладка чугунных труб в траншеях глубиной до 3 м с естественной влажностью грунта.

При большей глубине укладки чугунных труб норму времени умножить на 1,1 (ВЧ-1), а при укладке труб в траншеи в грунтах, насыщенных водой, т.е. в условиях налипания грунта на обувь, инструменты, трубы, детали, крепления и т.п. норму времени умножать на 1,2 (ВЧ-7).


Таблица 9 - Календарный план производства работ

Измеритель конечной продукции - 100 м трубопровода

 

 


7 ПЕРЕЧЕНЬ ИСПОЛЬЗОВАННОЙ НОРМАТИВНО-ТЕХНИЧЕСКОЙ ЛИТЕРАТУРЫ

1 СНиП 12-01-2004 «Организация строительства».

2 СНиП 3.01.03-84 «Геодезические работы в строительстве».

3 СНиП 12-03-2001 «Безопасность труда в строительстве. Часть 1. Общие требования»

4 СНиП 12-04-2002 «Безопасность труда в строительстве. Часть 2. Строительное производство».

5 СНиП 2.05.06-85* «Магистральные трубопроводы».

6 СНиП 23-05-95* «Естественное и искусственное освещение».

7 СНиП 3.02.01-87 «Земляные сооружения, основания и фундаменты».

8 СНиП 3.05.04-85* «Наружные сети и сооружения водоснабжения и канализации».

9 СНиП III-42-80* «Магистральные трубопроводы».

10 ГОСТ 12.0.004-90 «ССБТ. Организация обучения безопасности труда. Общие положения».

11 ГОСТ 12.1.004-91* «ССБТ. Пожарная безопасность. Общие требования».

12 ГОСТ 12.1.046-85 «ССБТ. Строительство. Нормы освещения строительных площадок».

13 ГОСТ 12.1.051-90 «ССБТ. Электробезопасность. Расстояние безопасности в охранной зоне линий электропередачи напряжением свыше 1000 В».

14 ГОСТ 12.4.011-89 «ССБТ. Средства защиты работающих. Общие требования и классификация».

15 ГОСТ Р 12.4.026-2001 «ССБТ. Цвета сигнальные, знаки безопасности и разметка сигнальная. Назначение и правила применения. Общине технические требования и характеристики. Методы испытаний».

16 ГОСТ 12.4.087-84 «ССБТ. Строительство. Каски строительные. Технические условия».

17 ГОСТ 23407-78 «Ограждения инвентарные строительных площадок и участков производства работ. Технические условия».

18 ГОСТ 10692-80* «Трубы стальные, чугунные и соединительные детали к ним. Приемка, маркировка, упаковка, транспортировка и хранение».

19 Организационно-технологический регламент строительства (реконструкции) объектов в стесненных условиях существующей городской застройки. ОАО ПКТИпромстрой, М, 2002.

20 Пособие по приемке и вводу в эксплуатацию объектов инженерной инфраструктуры коммунального хозяйства в г. Москве. ОАО ПКТИпромстрой., М., 2002.

21 ПОТ РМ-007-98 Правила по охране труда при погрузочно-разгрузочных работах и размещении грузов.

22 ПОТ РМ-016-2001 Межотраслевые правила по охране труда (правила безопасности) при эксплуатации электроустановок.

23 ППБ 01-03 «Правила пожарной безопасности в Российской Федерации». МЧС России, М, 2003

24 Правила подготовки и производства земляных работ, обустройства и содержания строительных площадок в г. Москве. Постановление правительства Москвы №857-ПП от 07.12.2004 г.

25 Примерный перечень законодательно-правовых, нормативных, справочно-методических и других документов, необходимых при проектировании, строительстве и эксплуатации инженерных сетей и сооружений. ОАО ПКТИпромстрой., М., 1999 г.

26 ПБ 10-382-00 «Правила устройства и безопасной эксплуатации грузоподъемных кранов». Госгортехнадзор России, М., 2000.

27 ЕНиР. Единые нормы и расценки на строительные, монтажные и ремонтно-строительные работы. Сборник Е9 «Сооружение систем теплоснабжения, водоснабжения, газоснабжения и канализации». Выпуск 2 «Наружные сети и сооружения».

28 ЕНиР. Единые нормы и расценки на строительные, монтажные и ремонтно-строительные работы. Сборник Е25. «Такелажные работы».

29 Пособие по укладке и монтажу чугунных, железобетонных и асбестоцементных трубопроводов водоснабжения и канализации (к СНиП 3.05.04-85). ВНИИ ВОДГЕО. М., 1989 г.

 




ГОСТЫ, СТРОИТЕЛЬНЫЕ и ТЕХНИЧЕСКИЕ НОРМАТИВЫ.
Некоммерческая онлайн система, содержащая все Российские Госты, национальные Стандарты и нормативы.
В Системе содержится более 150000 файлов нормативно-технической документации, действующей на территории РФ.
Система предназначена для широкого круга инженерно-технических специалистов.

Рейтинг@Mail.ru Яндекс цитирования

Copyright © www.gostrf.com, 2008 - 2026